Ministerio de Industria, Turismo y Comercio LogoMinisterior
 

Alerta

Resultados 1603 resultados
LastUpdate Última actualización 09/11/2025 [07:15:00]
pdfxls
Publicaciones de los últimos 15 días/Last 15 days publications (excluidas pubs. CN y JP /CN and JP pubs. excluded)
previousPage Resultados 750 a 775 de 1603 nextPage  

SECONDARY BATTERY AND PREPARATION METHOD THEREFOR, AND ELECTRIC DEVICE

NºPublicación:  WO2025222726A1 30/10/2025
Solicitante: 
CONTEMPORARY AMPEREX TECH CO LIMITED [CN]
\u5B81\u5FB7\u65F6\u4EE3\u65B0\u80FD\u6E90\u79D1\u6280\u80A1\u4EFD\u6709\u9650\u516C\u53F8
WO_2025222726_PA

Resumen de: WO2025222726A1

A secondary battery and a preparation method therefor, and an electric device. The secondary battery includes a positive electrode sheet, the positive electrode sheet includes a positive electrode active material, and the positive electrode active material includes a matrix material and a coating layer at least partially covering the matrix material. The coating layer includes a first coating layer and a second coating layer, wherein the first coating layer is located on the surface of the matrix material, and the second coating layer is located on the surface of the first coating layer, with the first coating layer comprising a lithium-supplementing material, and the second coating layer comprising a reductive material; or, the first coating layer comprising a reductive material, and the second coating layer comprising a lithium-supplementing material. The secondary battery has excellent cycle performance and a long service life.

BATTERY DEVICE AND ELECTRIC DEVICE

NºPublicación:  WO2025222861A1 30/10/2025
Solicitante: 
CONTEMPORARY AMPEREX TECH CO LIMITED [CN]
\u5B81\u5FB7\u65F6\u4EE3\u65B0\u80FD\u6E90\u79D1\u6280\u80A1\u4EFD\u6709\u9650\u516C\u53F8
WO_2025222861_PA

Resumen de: WO2025222861A1

A battery device (100) and an electric device. The battery device comprises: a case (10); a battery cell assembly (20) accommodated in the case; and a heat exchange assembly (30) accommodated in the case. The heat exchange assembly comprises: a heat exchange main body (31) comprising a plurality of heat exchange flow channels (301); and current collecting structures (32) arranged at two ends of the heat exchange main body, each current collecting structure comprising a blocking member (321), a current collecting member (322) and an adapter member (323), wherein the blocking member blocks at least one heat exchange flow channel, the current collecting member is provided with a current collecting cavity (3221), the current collecting member is in sealing fit with and connected to the heat exchange main body by means of the adapter member, the current collecting member is provided with a communication port (322a) communicated with the current collecting cavity, the communication port can be used for allowing the entry/exit of a heat exchange medium, and the adapter member is formed on the heat exchange main body and the current collecting member.

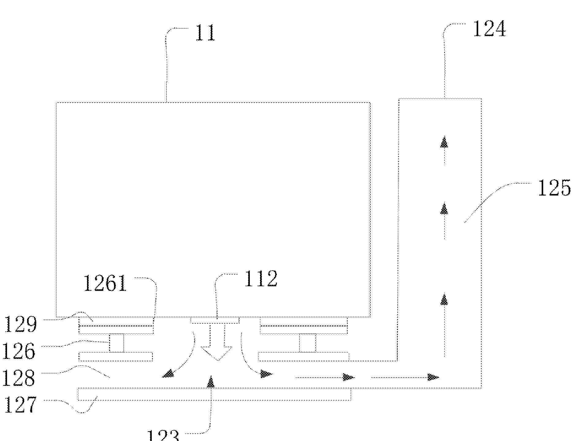
FILM INSPECTION MECHANISM, COATING DEVICE, AND FILM COATING METHOD

NºPublicación:  WO2025222706A1 30/10/2025
Solicitante: 
CONTEMPORARY AMPEREX TECH CO LIMITED [CN]
\u5B81\u5FB7\u65F6\u4EE3\u65B0\u80FD\u6E90\u79D1\u6280\u80A1\u4EFD\u6709\u9650\u516C\u53F8
WO_2025222706_PA

Resumen de: WO2025222706A1

A film inspection mechanism (100), comprising: a housing assembly (10), a weight measurement assembly (30), a moisture measurement member (20), and an isolation member (40). The housing assembly (10) defines a measurement cavity (13) used for placing a film under inspection; the weight measurement assembly (30) is mounted in the housing assembly (10) and is used for acquiring the weight of the film under inspection; the moisture measurement member (20) is mounted in the housing assembly (10) and is used for acquiring the moisture of the film under inspection; the housing assembly (10) comprises two housings; the weight measurement assembly (30) comprises a transmitting member (31) and a receiving member (32), and the transmitting member (31) and the receiving member (32) are respectively provided on the two housings; the isolation member (40) is provided on the housing assembly (10) provided with the moisture measurement member (20) and is located between the moisture measurement member (20) and the transmitting member (31) or the receiving member (32). Also provided are a coating device having the film inspection mechanism (100), and a film coating method.

BATTERY DEVICE AND ELECTRIC DEVICE

NºPublicación:  WO2025222859A1 30/10/2025
Solicitante: 
CONTEMPORARY AMPEREX TECH CO LIMITED [CN]
\u5B81\u5FB7\u65F6\u4EE3\u65B0\u80FD\u6E90\u79D1\u6280\u80A1\u4EFD\u6709\u9650\u516C\u53F8
WO_2025222859_PA

Resumen de: WO2025222859A1

The present application is suitable for the technical field of batteries, and provides a battery device and an electric device. The battery device comprises a case, and a battery cell assembly and a thermal management component which are provided in the case; the thermal management component is used for exchanging heat with the battery cell assembly, and comprises a heat exchange tube, a fluid collection component, and a conductive member; the heat exchange tube is a metal member and a heat exchange flow channel is provided in the heat exchange tube; the fluid collection component has a fluid collection cavity, and is connected to an end portion of the heat exchange tube; the fluid collection cavity is communicated with the heat exchange flow channel; the conductive member is fixed to the fluid collection component, abuts against and is electrically connected to the heat exchange tube, and is further electrically connected to the case. In the battery device provided in embodiments of the present application, the conductive member can reduce a potential difference between the heat exchange tube and the case, and good reliability of the battery device is achieved.

THERMAL MANAGEMENT COMPONENT, BATTERY, AND ELECTRIC DEVICE

NºPublicación:  WO2025222693A1 30/10/2025
Solicitante: 
CONTEMPORARY AMPEREX TECH CO LIMITED [CN]
\u5B81\u5FB7\u65F6\u4EE3\u65B0\u80FD\u6E90\u79D1\u6280\u80A1\u4EFD\u6709\u9650\u516C\u53F8
WO_2025222693_PA

Resumen de: WO2025222693A1

The present application relates to a thermal management component, a battery, and an electric device. The thermal management component comprises: a heat exchange tube provided with a heat exchange flow channel, wherein an end of the heat exchange tube is a port of the heat exchange flow channel; a manifold fitted to the end of the heat exchange tube and communicated with the port, wherein a heat exchange medium can flow into the heat exchange flow channel from the manifold or flow into the manifold from the heat exchange flow channel; and a connecting member connected between the heat exchange tube and the manifold and connected to the side walls or the peripheral walls of the manifold and the heat exchange tube. In the present application, the manifold is fitted to the end of the heat exchange tube, and the manifold is connected to the heat exchange tube by means of the connecting member; thus, the heat exchange tube can be well attached to the manifold by means of the surface of the end, and then the heat exchange tube is connected to the manifold by means of the connecting member, thereby improving the stability of the connection between the heat exchange tube and the manifold.

BATTERY PACK AND ELECTRONIC DEVICE

NºPublicación:  WO2025222661A1 30/10/2025
Solicitante: 
EVE ENERGY CO LTD [CN]
\u60E0\u5DDE\u4EBF\u7EAC\u9502\u80FD\u80A1\u4EFD\u6709\u9650\u516C\u53F8
WO_2025222661_PA

Resumen de: WO2025222661A1

A battery pack and an electronic device. The battery pack (100) comprises: a case body (10) having an accommodating cavity; a locking-attaching beam (11) detachably connected to the case body (10), the locking-attaching beam (11) dividing the accommodating cavity into a module area (41) and an electrical area (42); a battery module (20) disposed within the module area (41); and a first cover (31) connected to the case body (10) and covering the module area (41), wherein a gap is provided between the locking-attaching beam (11) and the bottom of the accommodating cavity, and a wire harness connected to the battery module (20) passes below the locking-attaching beam (11) and enters the electrical area (42).

SUPPORT FIXING ASSEMBLY AND BATTERY MODULE

NºPublicación:  WO2025222682A1 30/10/2025
Solicitante: 
EVE ENERGY CO LTD [CN]
\u60E0\u5DDE\u4EBF\u7EAC\u9502\u80FD\u80A1\u4EFD\u6709\u9650\u516C\u53F8
WO_2025222682_PA

Resumen de: WO2025222682A1

A support fixing assembly and a battery module. The support fixing assembly comprises a support (1) and a module upper cover (2). One of the support (1) and the module upper cover (2) is provided with positioning protrusions (11), the other one of the support (1) and the module upper cover (2) is provided with positioning slots (21), and the positioning protrusions (11) are inserted into the positioning slots (21); and one of the support (1) and the module upper cover (2) is provided with snaps (3) at least at two opposite sides, and the support (1) is connected to the module upper cover (2) by means of the snaps (3).

METHOD FOR PRODUCING A MONOCELL OF A BATTERY

NºPublicación:  US2025337101A1 30/10/2025
Solicitante: 
RENATA AG [CH]
Renata AG
US_2025337101_PA

Resumen de: US2025337101A1

A method for producing a monocell for a planar battery, the monocell including a first and second electrode, each electrode having a coated metal foil portion and a non-coated metal tab, the coated foil portions and the tabs having a predefined position relative to each other, as well as a predefined shape and surface area, wherein the first electrode is sandwiched between two separator sheets attached to each other along an attachment lane running along the perimeter of the coated foil portion of the first electrode except at the position of the tab of the first electrode, so that the separator sheets form a pocket with the coated foil portion of the first electrode inserted therein and a portion of the tab of the first electrode extending out of the pocket, and wherein the second electrode is attached to the pocket.

BATTERY ASSEMBLY

NºPublicación:  US2025337040A1 30/10/2025
Solicitante: 
SK ON CO LTD [KR]
SK On Co., Ltd
US_2025337040_A1

Resumen de: US2025337040A1

The present disclosure relates to a battery assembly comprising: a case; a cell stack in which a plurality of battery cells are stacked and accommodated inside the case; and a heat dissipation pad disposed between the cell stack and the case and comprising a metal foam layer and at least one insulating layer.

BATTERY PACK CORNER COOLING AND HEATING

NºPublicación:  US2025337036A1 30/10/2025
Solicitante: 
GM GLOBAL TECH OPERATIONS LLC [US]
GM GLOBAL TECHNOLOGY OPERATIONS LLC
US_2025337036_PA

Resumen de: US2025337036A1

A battery pack includes: prismatic battery cells arranged in two linear rows; a cooling plate disposed vertically below the battery cells; a thermal interface material disposed between the battery cells and the cooling plate; a thermal insulation material disposed at vertical bottoms of a linear space between the two linear rows of battery cells; a first cooling fluid channel that is configured to receive a cooling fluid, that extends linearly in the direction of the linear space, and that is disposed vertically above the thermal insulation material; and a second cooling fluid channel that is configured to receive the cooling fluid, that extends linearly in the direction of the linear space and parallel to the first cooling fluid channel, and that is disposed vertically above the thermal insulation material.

IMMERSION COOLING SYSTEMS AND METHODS FOR TRACTION BATTERY PACK SYSTEMS

NºPublicación:  US2025337046A1 30/10/2025
Solicitante: 
FORD GLOBAL TECH LLC [US]
FORD GLOBAL TECHNOLOGIES, LLC
US_2025337046_PA

Resumen de: US2025337046A1

Immersion cooling systems are provided for managing thermal energy levels within a traction battery pack system. An exemplary immersion cooling system may include an injection shield arranged to subdivide an interior volume of a battery enclosure assembly into a first interior volume section and a second interior volume section. The injection shield may include a plurality of injection holes configured to spray a cooling fluid (e.g., a dielectric fluid) onto portions of a battery module that is housed within the second interior volume section. The immersion cooling system may additionally include a fluid manifold extending outside of the interior volume of the battery enclosure assembly, and one or more runner pipes that fluidly connect the fluid manifold to the second interior volume section. Together, the fluid manifold and the runner pipe may establish a dedicated vent gas exit flow path for expelling battery vent byproducts from the enclosure assembly during a battery thermal event.

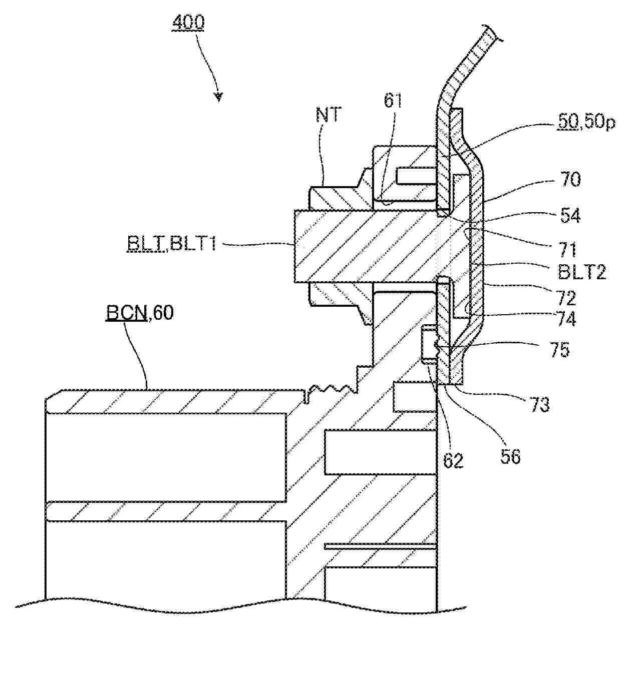
ASSEMBLY STRUCTURE OF BATTERY CONNECTOR, BATTERY UNIT, AND SUPPORT STRUCTURE OF BATTERY UNIT

NºPublicación:  US2025337077A1 30/10/2025
Solicitante: 
ISUZU MOTORS LTD [JP]
ISUZU MOTORS LIMITED
US_2025337077_PA

Resumen de: US2025337077A1

An assembly structure of a battery connector, a battery unit, and a support structure of a battery unit each including the following: a battery cover storing a battery pack and including a standing wall provided with an opened through-hole extending from the outer side to the inner side; a battery connector including a pilot hole at a position corresponding to the through-hole; a fastener including screw and head portions; and a plate including an outer surface to which the head portion is fixed at a position corresponding to the pilot hole. The battery connector is fastened to the outer side of the standing wall by the fastener with the screw portion passing through the through-hole and the pilot hole from the inner side to the outer side, and a waterproof section disposed between the battery cover and the plate so as to surround the through-hole is further included.

POUCH CELL, AND METHOD OF MAKING IMPROVED POUCH CELLS

NºPublicación:  US2025337059A1 30/10/2025
Solicitante: 
GM GLOBAL TECH OPERATIONS LLC [US]
GM GLOBAL TECHNOLOGY OPERATIONS LLC
US_2025337059_PA

Resumen de: US2025337059A1

A pouch cell formed of wall plies, each wall ply having a metal foil outer layer, and a polymeric inner layer. An external cathode lead tab with a polymer sealing film containing electrically conductive filler on at least one face of the external lead tab is heat-sealed between the edges of two wall plies. A method of making a pouch cell includes disposing a metallic external cathode lead tab with a polymer sealing film strip containing electrically conductive filler, between the edges of pouch wall plies, each pouch wall ply having a metal foil outer layer, and a polymeric inner layer, and applying heat and pressure to the wall plies to heat seal the external cathode lead tab and provide electrical connectivity between the metal foil layer of the wall ply and the external cathode lead tab.

FLOW DISTRIBUTION ASSEMBLY AND BATTERY RACK

NºPublicación:  US2025337037A1 30/10/2025
Solicitante: 
EVE ENERGY STORAGE CO LTD [CN]
EVE ENERGY STORAGE CO., LTD
US_2025337037_PA

Resumen de: US2025337037A1

A flow distribution assembly and a battery rack are provided. The flow distribution assembly includes a mounting component and a flow distribution component. The flow distribution component is provided with a flow guide hole. The flow distribution component is connected to the mounting component, and is capable of rotating relative to the mounting component to change a flow direction of a medium distributed through the flow guide hole.

COMPOSITIONS AND METHODS FOR FLUOROSURFACTANTS IN METAL ION BATTERIES

NºPublicación:  US2025337016A1 30/10/2025
Solicitante: 
EKK ADVANCED TECH LLC [US]
EKK ADVANCED TECHNOLOGIES, LLC
US_2025337016_PA

Resumen de: US2025337016A1

The present disclosure provides, inter alia, compositions and methods for improving metal ion battery performance. In some aspects, the present disclosure provides an electrolyte comprising a fluorosurfactant additive that is effective to improve battery lifetime, initial capacity, capacity fade, wetting time, and dendrite formation in a metal ion battery.

BATTERY, BATTERY PREPARATION METHOD, AND POWERED DEVICE

NºPublicación:  US2025337010A1 30/10/2025
Solicitante: 
CONTEMPORARY AMPEREX TECH CO LIMITED [CN]
CONTEMPORARY AMPEREX TECHNOLOGY CO., LIMITED
US_2025337010_PA

Resumen de: US2025337010A1

A battery, the preparation of a battery, and a powered device are described. The battery includes a negative electrode plate that includes a negative electrode current collector and an active layer. The active layer is located on at least one surface of the negative electrode current collector. The active layer includes an active substance, a gel electrolyte, and a liquid electrolyte. An expansion rate of the negative electrode plate is greater than or equal to 10%. When the active substance expands during cycling, the gel electrolyte can stably fix the liquid electrolyte in the negative electrode plate, thereby reducing the risk of squeezing-induced leakage of a liquid electrolyte solution due to the expansion of the active substance. Thus, the negative electrode plate can maintain a relatively stable kinetic performance, thereby improving the cycling performance of the battery.

ENERGY STORAGE DEVICE

NºPublicación:  US2025337073A1 30/10/2025
Solicitante: 
SHENZHEN HELLO TECH ENERGY CO LTD [CN]
Shenzhen Hello Tech Energy Co., Ltd
US_2025337073_PA

Resumen de: US2025337073A1

The present disclosure discloses an energy storage device, including a battery pack, a waterproof plug, and a short circuit detection unit. The battery pack includes a housing and a connection terminal. The housing has an opening, and the connection terminal is disposed at the opening. The waterproof plug includes an electrical connection member configured to, in response to the waterproof plug covering the opening, connect to the connection terminal to generate a second signal. The short circuit detection unit is configured to determine, by detecting the second signal, that the battery pack is located at a bottom of the energy storage device.

ELECTROLYTE AND LITHIUM ION BATTERIES MADE THEREWITH

NºPublicación:  US2025337015A1 30/10/2025
Solicitante: 
WILDCAT DISCOVERY TECH INC [US]
Wildcat Discovery Technologies, Inc
US_2025337015_PA

Resumen de: US2025337015A1

Electrolytes comprising a solvating solvent, lithium salt and a halogenated alkane in an amount of 0.05% to 5% by weight of the electrolyte improve the cycling performance of lithium ion batteries and in particular lithium ion batteries having lithium metal anodes or anode-less anodes with Li intercalating cathode (e.g., cathodes comprised of layered nickel, manganese cobalt oxides).

SAFETY COATING AND PREPARATION METHOD THEREFOR, AND COMPOSITE CURRENT COLLECTOR

NºPublicación:  WO2025222728A1 30/10/2025
Solicitante: 
EVE ENERGY CO LTD [CN]
\u60E0\u5DDE\u4EBF\u7EAC\u9502\u80FD\u80A1\u4EFD\u6709\u9650\u516C\u53F8
WO_2025222728_A1

Resumen de: WO2025222728A1

A safety coating and a preparation method therefor, and a composite current collector. The safety coating is mainly prepared from a phosphate material, a conductive agent, a binder, and a solvent, wherein the phosphate material is a lithium manganese iron phosphate material doped with at least one of the metals Cr, Mg, Ti, Al, Zn, W, Nb, and Zr. By controlling the addition ratio of each raw material, the adhesion between the safety coating and a current collector substrate can be increased, and the peel strength between an active material layer and the safety coating can be effectively enhanced, such that the prepared safety coating can effectively improve the safety performance of batteries without changing the material system, electrode sheet performance, and product performance; and the safety coating has little impact on energy density, can achieve good long-term cycle and high-rate discharge effects of batteries, and is suitable for promotion and application.

TRAY

NºPublicación:  WO2025222715A1 30/10/2025
Solicitante: 
CONTEMPORARY AMPEREX TECH CO LIMITED [CN]
CONTEMPORARY AMPEREX RUNZHI SOFTWARE TECH LIMITED [CN]
\u5B81\u5FB7\u65F6\u4EE3\u65B0\u80FD\u6E90\u79D1\u6280\u80A1\u4EFD\u6709\u9650\u516C\u53F8,
\u5B81\u5FB7\u65F6\u4EE3\u6DA6\u667A\u8F6F\u4EF6\u79D1\u6280\u6709\u9650\u516C\u53F8
WO_2025222715_PA

Resumen de: WO2025222715A1

Provided in the embodiments of the present application is a tray. The tray is used for carrying battery cells. The tray comprises a tray body and at least one row of bladder assemblies, the at least one row of bladder assemblies being disposed on the tray body, each row of the bladder assemblies comprising a plurality of bladder assemblies arranged at intervals in a first direction, and battery cells being placed between every two adjacent bladder assemblies. The bladder assemblies are arranged on the tray, and the battery cells are placed between every two adjacent bladders, such that the bladder assemblies can deform and swell by being filled with a fluid, so as to abut against the battery cells and fix same. The bladder assemblies can apply uniform pressure on the battery cells, thereby reducing the possibility of the battery cells being damaged, and improving the finished product quality of the battery cells.

BATTERY AND ELECTRIC DEVICE

NºPublicación:  WO2025222710A1 30/10/2025
Solicitante: 
CONTEMPORARY AMPEREX TECH CO LIMITED [CN]
\u5B81\u5FB7\u65F6\u4EE3\u65B0\u80FD\u6E90\u79D1\u6280\u80A1\u4EFD\u6709\u9650\u516C\u53F8
WO_2025222710_PA

Resumen de: WO2025222710A1

A battery (1000) and an electric device. The battery (1000) comprises: at least one battery row (10), which comprises a plurality of battery cells (11) arranged in a first direction (F1); and a signal collection assembly (20), which comprises a collector (21) and a plurality of connectors (22), wherein the collector (21) comprises a plurality of signal lines (211) and a plurality of collection terminals (212), the collection terminals (212) are connected to the battery cells (11) and are used for collecting signals of the battery cells (11), the signal lines (211) are connected to the collection terminals (212) and the connectors (22), and each connector (22) is connected to at least one signal line (211) and is used for receiving the signals collected by the collection terminals (212).

COLD START SYSTEM AND METHOD, AND ELECTRIC VEHICLE

NºPublicación:  WO2025222617A1 30/10/2025
Solicitante: 
EVE ENERGY CO LTD [CN]
\u60E0\u5DDE\u4EBF\u7EAC\u9502\u80FD\u80A1\u4EFD\u6709\u9650\u516C\u53F8
WO_2025222617_PA

Resumen de: WO2025222617A1

A cold start system and method and an electric vehicle. The cold start system (100) comprises a main energy supply module (110), a conversion module (120), a pulse module (130), and a start-up energy supply module (140). The main energy supply module (110) is configured to provide a first electric signal; the conversion module (120) is electrically connected to the main energy supply module (110) and is configured to convert the first electric signal into a second electric signal, a voltage value of the second electric signal being less than a voltage value of the first electric signal; the pulse module (130) is electrically connected to the conversion module (120) and is configured to convert the second electric signal into a pulse signal; and the start-up energy supply module (140) is electrically connected to the pulse module (130) and is configured to receive the pulse signal to work under the action of the pulse signal. The cold start system (100) can greatly improve the cold starting capability of the start-up energy supply module.

POLYANION SODIUM-CONTAINING POSITIVE ELECTRODE MATERIAL, PREPARATION METHOD THEREFOR, POSITIVE ELECTRODE SHEET, BATTERY AND ELECTRICAL APPARATUS

NºPublicación:  WO2025222813A1 30/10/2025
Solicitante: 
CONTEMPORARY AMPEREX TECH CO LIMITED [CN]
CHENGDU JINTANG TIMES NEW MATERIALS TECH CO LTD [CN]
\u5B81\u5FB7\u65F6\u4EE3\u65B0\u80FD\u6E90\u79D1\u6280\u80A1\u4EFD\u6709\u9650\u516C\u53F8,
\u6210\u90FD\u91D1\u5802\u65F6\u4EE3\u65B0\u6750\u6599\u79D1\u6280\u6709\u9650\u516C\u53F8
WO_2025222813_PA

Resumen de: WO2025222813A1

A polyanion sodium-containing positive electrode material, a preparation method therefor, a positive electrode sheet, a battery and an electrical apparatus. The polyanion sodium-containing positive electrode material is NaxRyPmOn, where 3.5≤x≤4.5, 2.5≤y≤3.5, 3.7

BATTERY BOX BODY AND BATTERY SYSTEM

NºPublicación:  WO2025222610A1 30/10/2025
Solicitante: 
EVE ENERGY CO LTD [CN]
\u60E0\u5DDE\u4EBF\u7EAC\u9502\u80FD\u80A1\u4EFD\u6709\u9650\u516C\u53F8
WO_2025222610_PA

Resumen de: WO2025222610A1

The present application relates to a battery box body and a battery system. A first accommodating chamber is defined between a support plate and a side plate assembly in the battery box body. The support plate is provided with a plurality of first through holes, the first through holes and explosion-proof valves of battery cells being arranged on an one-to-one basis. A first surface of the support plate is provided with a first thermal insulation layer, the first thermal insulation layer sealing each first through hole. A bottom plate is arranged to be spaced apart from the support plate, the bottom plate, the support plate and the side plate assembly defining a pressure relief chamber.

INSULATING FILM, BATTERY CELL, BATTERY, AND ELECTRIC DEVICE

Nº publicación: WO2025222767A1 30/10/2025

Solicitante:

CONTEMPORARY AMPEREX TECH CO LIMITED [CN]
\u5B81\u5FB7\u65F6\u4EE3\u65B0\u80FD\u6E90\u79D1\u6280\u80A1\u4EFD\u6709\u9650\u516C\u53F8

WO_2025222767_PA

Resumen de: WO2025222767A1

Provided in the embodiments of the present disclosure are an insulating film, a battery cell, a battery, and an electric device. The battery cell comprises an electrode assembly, a casing and an insulating film. The electrode assembly comprises a plurality of surfaces, the plurality of surfaces comprising a first surface, which is the surface with the largest area among the plurality of surfaces. The casing forms an accommodating space for accommodating the electrode assembly. The insulating film wraps around the periphery of the electrode assembly and is located between the electrode assembly and the casing, and the insulating film has a first thickness area and a second thickness area, wherein the thickness of the first thickness area is greater than that of the second thickness area, and the first thickness area is located in the area where the first surface of the electrode assembly is located.

traducir