Ministerio de Industria, Turismo y Comercio LogoMinisterior
 

Alerta

Resultados 1603 resultados
LastUpdate Última actualización 09/11/2025 [07:15:00]
pdfxls
Publicaciones de los últimos 15 días/Last 15 days publications (excluidas pubs. CN y JP /CN and JP pubs. excluded)
previousPage Resultados 775 a 800 de 1603 nextPage  

DRIVER CIRCUIT AND METHOD FOR A BATTERY MANAGEMENT SYSTEM

NºPublicación:  US2025337264A1 30/10/2025
Solicitante: 
NXP USA INC [US]
NXP USA, Inc
US_2025337264_PA

Resumen de: US2025337264A1

A driver circuit for a BMS and method are disclosed, comprising a series arrangement of at least a cell and at least a busbar, and comprising: a first and second voltage rail having a respective first and second terminals for connection to ends of one of the busbar and the cell; a power supply voltage rail, configured to operate at a voltage which is higher than the second voltage rail; a determination circuit, for detecting a lower of supply, LOS, being the one of the first and second voltage rail which is at a lower voltage, and drawing a first bias current from the power supply draw to the LOS; further analog circuit blocks drawing a second bias current from the power supply rail to the LOS; and a current sink circuit arrangement drawing the sum of the first and second bias currents, from the LOS to a ground.

PROTECTIVE APPARATUS, ENERGY STORAGE APPARATUS, AND METHOD FOR PROTECTING ENERGY STORAGE DEVICE

NºPublicación:  US2025337256A1 30/10/2025
Solicitante: 
GS YUASA INT LTD [JP]
GS Yuasa International Ltd
US_2025337256_PA

Resumen de: US2025337256A1

A protective apparatus of an energy storage device includes a current breaker that interrupts a current of the energy storage device, and a control part. The control part calculates a cumulative value of times during which the current exceeds a current threshold, and executes current interruption processing of interrupting the current when the calculated cumulative value exceeds a cumulative threshold associated with the current threshold, and the control part counts, as the cumulative value, times during which the current continuously exceeds the current threshold, and in a case where the current falls from a state of exceeding the current threshold, the control part does not reset the cumulative value when a time during which the current is below the current threshold is equal to or shorter than a reset time.

MOTOR CONTROL FOR GAS ENGINE REPLACEMENT DEVICE BASED ON BATTERY PACK CONFIGURATION DATA

NºPublicación:  US2025337302A1 30/10/2025
Solicitante: 
MILWAUKEE ELECTRIC TOOL CORP [US]
MILWAUKEE ELECTRIC TOOL CORPORATION
US_2025337302_PA

Resumen de: US2025337302A1

A gas engine replacement device includes a housing, a battery receptacle coupled to the housing and configured to removably connect to a battery pack having a memory storing battery pack configuration data, a motor located within the housing, a power take-off shaft receiving torque from the motor and protruding from a side of the housing, a power switching network configured to selectively provide power from the battery pack to the motor, and a first electronic processor coupled to the power switching network and configured to control the power switching network to rotate the motor. The first electronic processor is configured to receive the battery pack configuration data responsive to a connection of the battery pack to the battery receptacle and control the power switching network based on the battery pack configuration data.

BATTERY PACK CHARGING METHOD AND POWER STORAGE SYSTEM

NºPublicación:  US2025337254A1 30/10/2025
Solicitante: 
ENERGYWITH CO LTD [JP]
ENERGYWITH CO., LTD
US_2025337254_PA

Resumen de: US2025337254A1

A method of charging a battery pack is a method of charging a battery pack by charging, with one charger, a battery pack configured by connecting, in parallel, a plurality of storage batteries configured to store and release power, the method comprising: a detection step of detecting voltage and current values with respect to each of the storage batteries, which are connected in parallel; a determination step of determining whether or not a voltage detected for each of the storage batteries in the detecting step, is equal to or less than a first set voltage; and a charging step of charging the storage batteries, which are connected in parallel, wherein: in a first case, in which the voltages of all the storage batteries are determined to be equal to or less than the first set voltage in the determination step.

STAND-ALONE MULTI-FUNCTION BATTERY MANAGER

NºPublicación:  US2025337262A1 30/10/2025
Solicitante: 
CATERPILLAR INC [US]
Caterpillar Inc
US_2025337262_PA

Resumen de: US2025337262A1

A mobile battery manager for charging or discharging a stored battery system may include a converter, a resistive load, and a controller configured to charge or discharge the stored battery system to a desired state of charge determined at the mobile battery manager.

Robotic Thermal Runaway Gas Sensing Platform For Battery Energy Storage Systems

NºPublicación:  US2025337030A1 30/10/2025
Solicitante: 
THE REGENTS OF THE UNIV OF MICHIGAN [US]
AMPHENOL ADVANCED SENSORS [US]
UNIV POLITECNICA DE VALENCIA [ES]
THE REGENTS OF THE UNIVERSITY OF MICHIGAN,
AMPHENOL ADVANCED SENSORS,
Universitat Politecnica de Valencia
US_2025337030_PA

Resumen de: US2025337030A1

A battery energy storage system comprises: (i) a structure dimensioned to receive one or more battery modules, each battery module including one or more battery cells; (ii) an off-gas detector configured to obtain air samples adjacent at least one of the battery cells and to generate signals indicating whether off-gas is detected in each of the air samples, wherein the off-gas detector is mounted on a support of a motion system; and (iii) a controller in electrical communication with the off-gas detector and the motion system, the controller being configured to execute a program stored in the controller to: (i) move the off-gas detector adjacent the at least one of the battery cells, and (ii) receive the signals from the off-gas detector indicating whether off-gas is detected in each of the air samples.

BATTERY CELL, BATTERY AND ELECTRICAL DEVICE

NºPublicación:  US2025337033A1 30/10/2025
Solicitante: 
CONTEMPORARY AMPEREX TECH CO LIMITED [CN]
CONTEMPORARY AMPEREX TECHNOLOGY CO., LIMITED
US_2025337033_PA

Resumen de: US2025337033A1

A battery cell includes a shell, an electrode assembly and a detection sensor. The shell includes a wall portion, the wall portion being provided with a mounting hole in communication with inside and outside of the shell. The electrode assembly is accommodated inside the shell. The detection sensor includes a sampling module and an encapsulation housing configured to encapsulate the sampling module. At least part of the encapsulation housing is inserted into the mounting hole and blocks the mounting hole. The sampling module is configured to sample an environment inside the shell.

Electrochemical Device

NºPublicación:  US2025337056A1 30/10/2025
Solicitante: 
ABB SCHWEIZ AG [CH]
ABB Schweiz AG
US_2025337056_PA

Resumen de: US2025337056A1

An electrochemical device includes at least one enclosure for a stack of sheets of electrochemical device forming material including at least one sheet of a first type of electrode, at least one sheet of a second type of electrode and at least one separator sheet between the sheets of the two types of electrodes, where the enclosure includes a number of pieces including a first piece and a second piece, which pieces are joined to each other using welding, hemming, crimping or punchcrimping for forming an interior volume that houses the stack.

BATTERY AND ELECTRIC APPARATUS

NºPublicación:  US2025337031A1 30/10/2025
Solicitante: 
CONTEMPORARY AMPEREX TECH CO LIMITED [CN]
CONTEMPORARY AMPEREX TECHNOLOGY CO., LIMITED
US_2025337031_PA

Resumen de: US2025337031A1

A battery and an electric apparatus are provided. The battery includes: at least one battery pack, where each battery pack includes: a plurality of battery rows, each battery row includes a plurality of battery cells arranged along a first direction, electrical connection portions of two adjacent battery cells in each battery row are connected by a first electrical connection member, and the plurality of battery rows are arranged along a second direction; and an information collection member, where the information collection member is disposed on one side of the plurality of battery rows in a third direction, the third direction, the second direction, and the first direction are perpendicular to each other, and the information collection member is electrically connected to a plurality of first electrical connection members corresponding to at least two battery rows.

BATTERY PACK FOR POWERING A POWER TOOL

NºPublicación:  US2025337032A1 30/10/2025
Solicitante: 
NANJING CHERVON IND CO LTD [CN]
Nanjing Chervon Industry Co., Ltd
US_2025337032_PA

Resumen de: US2025337032A1

A battery pack for powering an electronic device is provided. The battery pack for powering an electronic device includes a housing assembly, a cell module, at least one temperature detection apparatus, and a detection support. The housing assembly is mounted to the electronic device and supported by the electronic device. The cell module includes multiple cells and a cell support supporting the multiple cells, where the cell module is disposed in the housing assembly. Multiple temperature detection apparatuses are configured to detect temperatures of the multiple cells. The detection support is configured to support a temperature detection apparatus to cause the position of the temperature detection apparatus in the housing assembly to be fixed.

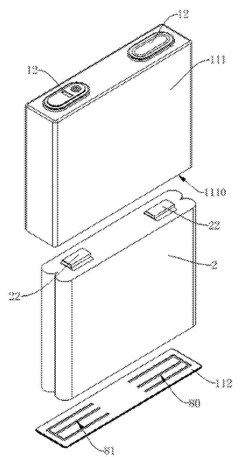
BATTERY CELL, BATTERY AND ELECTRIC APPARATUS

NºPublicación:  WO2025222733A1 30/10/2025
Solicitante: 
CONTEMPORARY AMPEREX TECH CO LIMITED [CN]
\u5B81\u5FB7\u65F6\u4EE3\u65B0\u80FD\u6E90\u79D1\u6280\u80A1\u4EFD\u6709\u9650\u516C\u53F8
WO_2025222733_PA

Resumen de: WO2025222733A1

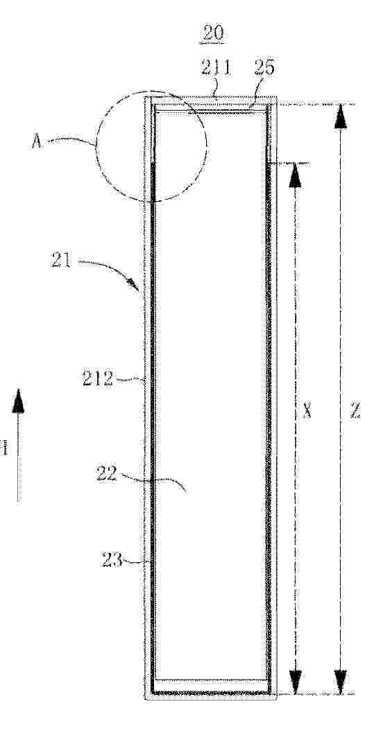
A battery cell (2), a battery (100) and an electric apparatus. The battery cell (2) comprises a casing (21), electrode terminals (22) and an electrode assembly (23), wherein the electrode terminals (22) are disposed on the casing (21); the electrode assembly (23) is accommodated in the casing (21), a thinned portion (232) of the electrode assembly (23) is connected to an end portion of a main body portion (231) in a first direction (Y), and tabs (233) are led out from the thinned portion (232) and are connected to the electrode terminals (22); and the casing (21) comprises a wall body (213) surrounding the electrode assembly (23), the wall body (213) comprising a first portion (2113) and a second portion (2114) that are connected to each other, the first portion (2113) being located on the outer side of the thinned portion (232) in the radial direction of the electrode assembly (23), and the thickness of the first portion (2113) being greater than that of the second portion (2114). The thickness of the first portion (2113) of the wall body (213) surrounding the electrode assembly (12) is greater than the thickness of the second portion (2114), and the first portion (2113) is located on the outer side of the thinned portion (232) in the radial direction of the electrode assembly (23), such that during the expansion of the electrode assembly (23), the first portion (2113) can provide a relatively large binding force to restrict the expansion of the electrode assembly (23), and

FORMATION APPARATUS

NºPublicación:  WO2025222727A1 30/10/2025
Solicitante: 
CONTEMPORARY AMPEREX TECH CO LIMITED [CN]
CONTEMPORARY AMPEREX RUNZHI SOFTWARE TECH LIMITED [CN]
\u5B81\u5FB7\u65F6\u4EE3\u65B0\u80FD\u6E90\u79D1\u6280\u80A1\u4EFD\u6709\u9650\u516C\u53F8,
\u5B81\u5FB7\u65F6\u4EE3\u6DA6\u667A\u8F6F\u4EF6\u79D1\u6280\u6709\u9650\u516C\u53F8
WO_2025222727_PA

Resumen de: WO2025222727A1

Provided in the embodiment of the present application is a formation apparatus. The formation apparatus comprises a tray and a negative-pressure device, wherein the tray comprises a tray body and at least one row of capsule assemblies, the capsule assemblies being arranged on the tray body, each row of capsule assemblies comprising a plurality of capsule assemblies arranged at intervals in a first direction, and a battery cell being placed between every two adjacent capsule assemblies; and the negative-pressure device comprises a support and negative-pressure cups, the support being connected to the tray body, the negative-pressure cups being arranged on the support, and the negative-pressure cups being configured to connect to battery cells. The capsule assemblies can deform and expand by means of being filled with a fluid, so as to abut against the battery cells and fix the battery cells, and the pressure exerted by the capsule assemblies on the battery cells is uniform, so that the possibility of damage to the battery cells can be reduced, thereby facilitating an improvement in the final product quality of the battery cells. By means of connecting the negative-pressure cups of the negative-pressure device to the battery cells, a negative pressure can be provided for the battery cells, so as to assist in the formation of the battery cells.

BATTERY AND ELECTRIC DEVICE

NºPublicación:  WO2025222699A1 30/10/2025
Solicitante: 
CONTEMPORARY AMPEREX TECH CO LIMITED [CN]
\u5B81\u5FB7\u65F6\u4EE3\u65B0\u80FD\u6E90\u79D1\u6280\u80A1\u4EFD\u6709\u9650\u516C\u53F8
WO_2025222699_PA

Resumen de: WO2025222699A1

Provided are a battery (1001) and an electric device, which relate to the technical field of batteries. The battery (1001) comprises a box body (1), battery cells (2) and elastic pads (3), wherein accommodating cavities (1a) are formed in the box body (1); the battery cells (2) are disposed in the accommodating cavities (1a); each of the battery cells (2) comprises a shell (21) and a terminal post (22), and the terminal post (22) is disposed on the side of the shell (21) that is in a first direction; and an elastic pad (3) is disposed on at least one side of the terminal post (22) of at least one battery cell (2) that is in a second direction, wherein the first direction is perpendicular to the second direction. Further provided is an electric device, which comprises a battery (1001) used for supplying electric energy.

BATTERY CASE, BATTERY HAVING SAME AND ELECTRICAL DEVICE

NºPublicación:  WO2025222798A1 30/10/2025
Solicitante: 
BYD COMPANY LTD [CN]
\u6BD4\u4E9A\u8FEA\u80A1\u4EFD\u6709\u9650\u516C\u53F8
WO_2025222798_PA

Resumen de: WO2025222798A1

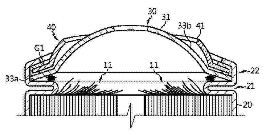
A battery case, a battery having same and an electrical device. The battery case (10) comprises a case (1), a deformable sealing member (2) and a controller; the case (1) comprises a case body (11) and a case cover (12), the case cover (12) being used for sealing an opening of the case body (11); the sealing member (2) is arranged between the case body (11) and the case cover (12), and is used for sealing an assembly gap between the case body (11) and the case cover (12), the sealing member (2) being internally provided with an accommodation channel (21) extending in the length direction thereof, and the accommodation channel (21) being used for accommodating a medium, such as gas or liquid; the controller is used for controlling the filling amount of the medium in the accommodation channel (21). The sealing member (2) of the battery case (10) has adjustable volume expansibility, thus achieving good sealing effect and high flexibility.

SODIUM-ION BATTERY

NºPublicación:  WO2025222603A1 30/10/2025
Solicitante: 
HUIZHOU LIWINON NEW ENERGY TECH CO LTD [CN]
\u60E0\u5DDE\u9502\u5A01\u65B0\u80FD\u6E90\u79D1\u6280\u6709\u9650\u516C\u53F8
WO_2025222603_A1

Resumen de: WO2025222603A1

Provided is a sodium-ion battery, comprising an electrolyte solution, a positive electrode sheet, a negative electrode sheet and a separator. The components of the electrolyte solution include an electrolyte salt, an organic solvent and a combined additive, wherein the combined additive comprises an additive A and an additive B, the additive A being a compound represented by formula I, and the additive B being a compound represented by formula II. Further provided are a preparation method for the electrolyte solution and a sodium-ion battery containing the electrolyte solution.

CELL GROUP, BATTERY, AND ELECTRIC DEVICE

NºPublicación:  WO2025222605A1 30/10/2025
Solicitante: 
CONTEMPORARY AMPEREX TECH CO LIMITED [CN]
\u5B81\u5FB7\u65F6\u4EE3\u65B0\u80FD\u6E90\u79D1\u6280\u80A1\u4EFD\u6709\u9650\u516C\u53F8
WO_2025222605_PA

Resumen de: WO2025222605A1

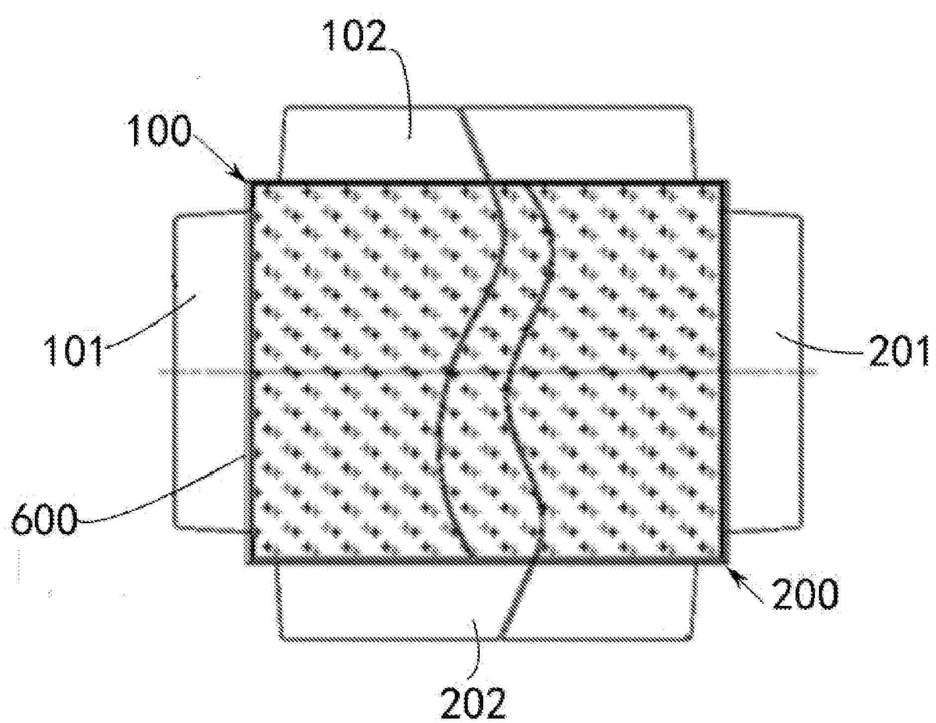
A cell group (1), a battery (100), and an electric device. The cell group (1) comprises a housing (11) and pouch cells. The housing (11) is provided with an accommodating cavity and pressure relief holes (1a) communicated with the accommodating cavity. The housing (11) comprises an end cover (112). The end cover (112) comprises a pressure relief area (1121) and a cell connection area (1122). The pressure relief holes (1a) are formed in the pressure relief area (1121). The cell connection area (1122) is configured to be electrically connected to the pouch cells. At least two pouch cells are accommodated in the accommodating cavity. The battery (100) comprises a case (101), balancing valves (102) and the cell group (1). The case (101) is provided with a placement cavity (100a). The balancing valves (102) are arranged on the case (101). The cell group (1) is located in the placement cavity (100a) of the case (101). The electric device comprises the battery (100) for providing electrical energy. Heat and gas generated during thermal runaway of the pouch cells of the cell group (1) can be directionally ejected out from the pressure relief holes (1a) to avoid uncontrolled ejections, thereby improving the safety of the pouch cells during thermal runaway.

THIRD ELECTRODE FOR REMOVING DENDRITES OF BATTERY, AND REMOVING METHOD

NºPublicación:  WO2025222850A1 30/10/2025
Solicitante: 
XIANNING HONGYANG TECH CO LTD [CN]
\u54B8\u5B81\u5E02\u7EA2\u9633\u79D1\u6280\u6709\u9650\u516C\u53F8
WO_2025222850_PA

Resumen de: WO2025222850A1

The present application discloses a third electrode for removing dendrites of a battery, and a removing method. A third electrode for removing dendrites of a battery. The battery comprises a battery positive electrode, a battery electrolyte, a battery separator, and a battery negative electrode. The third electrode comprises a cavity and an electrode plate. The cavity consists of an upper cavity and a lower cavity which are communicated and can be disassembled. The upper cavity is at least provided with an opening. The battery electrolyte can flow through the cavity through the opening. The opening is made of an electrode separator. The electrode plate is mounted in the lower cavity. The lower cavity is made of an electrode insulating film. In the method provided by the present application, dendrites of a battery can be thoroughly eliminated, the service life of a battery is prolonged many times, the cost is greatly reduced, the application range is wide, and the method has good popularization and application values.

Charging device for wirelessly charging an electrical energy store and method for controlling a charging device

NºPublicación:  US2025337266A1 30/10/2025
Solicitante: 
BURY SP Z O O [PL]
BURY SP. Z. O. O
US_2025337266_PA

Resumen de: US2025337266A1

A charging device for wirelessly charging an electrical energy store of a mobile terminal has an air channel, a support that adjoins the air channel, a contact face, an energy transmission unit for wirelessly transmitting energy to the contacted mobile terminal, at least one temperature sensor designed to measure air temperature flowing in the air channel, and a charging controller connected to the energy transmission unit that controls at least one charging parameter. The charging device is designed to control the transmission of energy from the energy transmission unit to the contacted mobile terminal based on the temperature measured by the temperature sensor.

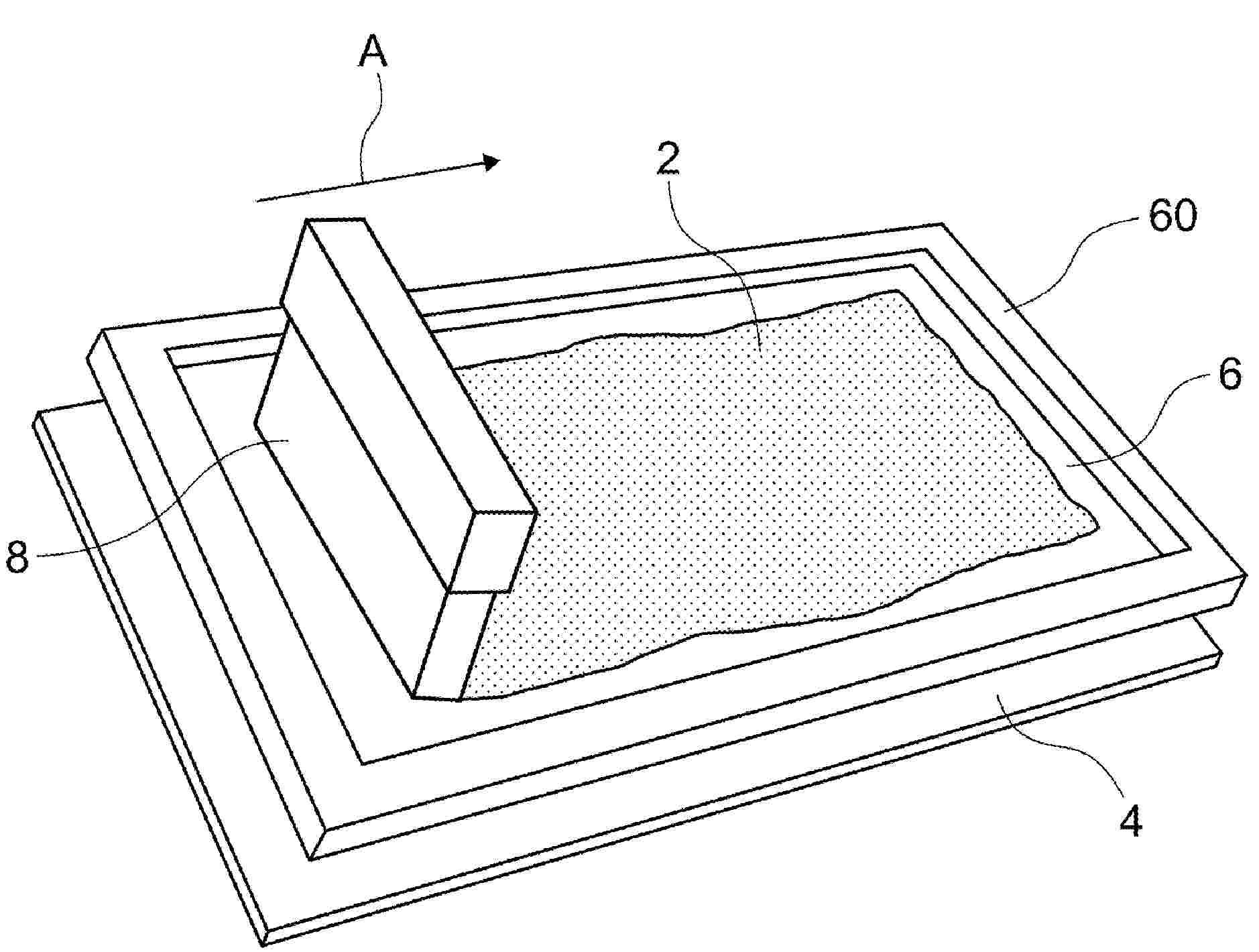
PHOTOVOLTAIC ENERGY STORAGE SYSTEM

NºPublicación:  US2025337349A1 30/10/2025
Solicitante: 
SHANGHAI SIGEYUAN INTELLIGENT TECH CO LTD [CN]
SHANGHAI SIGEYUAN INTELLIGENT TECHNOLOGY CO., LTD
US_2025337349_PA

Resumen de: US2025337349A1

The present application relates to the field of photovoltaic storage and charging technology, and specifically to a photovoltaic energy storage system, including at least two modularized chambers; a power conversion system coupled to a DC bus, and at least one of a photovoltaic module, an energy storage module, and a DC charging module; where the power conversion system is disposed in one of the modularized chambers; and at least one of the photovoltaic module, the energy storage module, and the DC charging module is disposed in another of the modularized chambers.

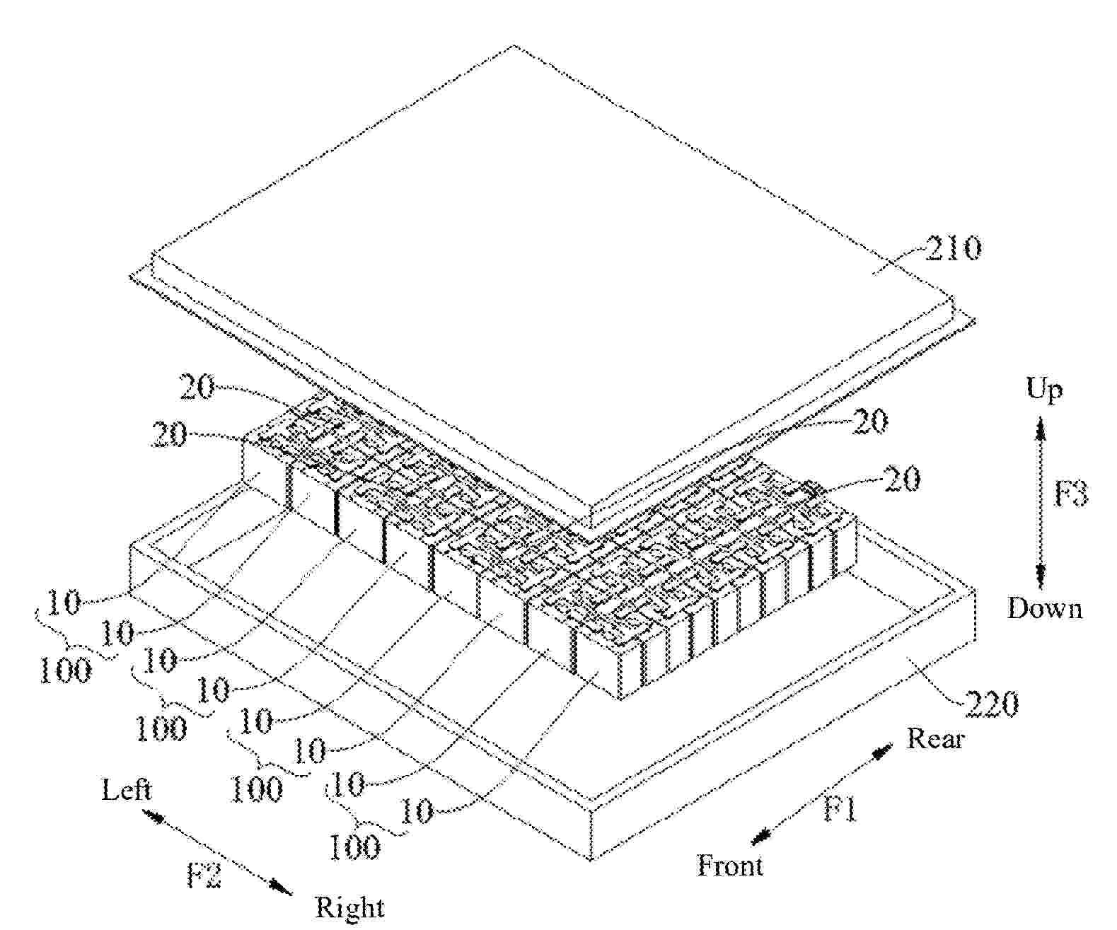
BATTERY PACK AND BATTERY CELL STACK MOUNTED ON BATTERY PACK

NºPublicación:  US2025337075A1 30/10/2025
Solicitante: 
HYUNDAI MOTOR COMPANY [KR]
KIA CORP [KR]
Hyundai Motor Company,
Kia Corporation
US_2025337075_PA

Resumen de: US2025337075A1

A battery pack includes a base plate, battery cells supported by the base plate, extending in a first direction, and arranged in a second direction crossing the first direction, a side member supported by the base plate and disposed on one side of the battery cells in the first direction, and a plate including a portion disposed between adjacent battery cells of the battery cells and in contact with the battery cells and a partial area disposed between the battery cells and the side member and in contact with the side member.

BATTERY CELL, BATTERY, ELECTRIC APPARATUS, AND ENERGY STORAGE APPARATUS

NºPublicación:  US2025337117A1 30/10/2025
Solicitante: 
CONTEMPORARY AMPEREX TECH CO LIMITED [CN]
CONTEMPORARY AMPEREX TECHNOLOGY CO., LIMITED
US_2025337117_PA

Resumen de: US2025337117A1

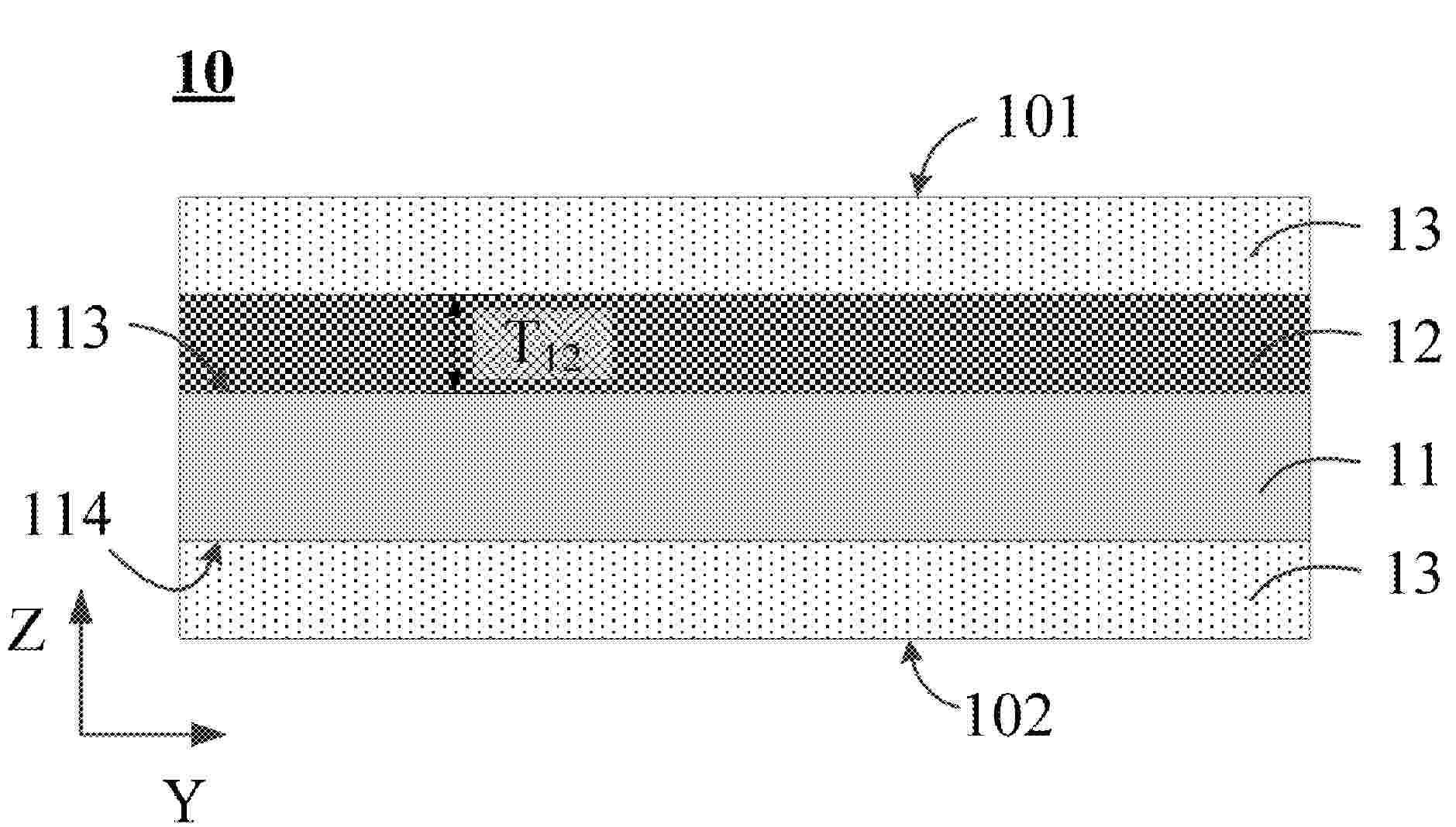
A battery cell, a battery, an electric apparatus, and an energy storage apparatus are provided. The battery cell includes a housing and at least one electrode assembly disposed within the housing. The housing is shaped as a right parallelepiped and defined by three mutually perpendicular dimensions: W1, T1, and H1. The housing comprises six walls: opposing first and second walls along the W1 direction, opposing third and fourth walls along the T1 direction, and opposing fifth and sixth walls along the H1 direction. The sum of the thicknesses of each pair of opposing walls is denoted as a, b, and c, respectively. The effective internal volume ratio of the housing satisfies (W1−a)×(T1−b)×(H1−c)/(W1×T1×H1)≥90%. This configuration enhances the volumetric energy density of the battery cell while maintaining the same chemical material system.

SEPARATOR, ELECTROCHEMICAL APPARATUS, AND ELECTRONIC APPARATUS

NºPublicación:  US2025337115A1 30/10/2025
Solicitante: 
NINGDE AMPEREX TECH LIMITED [CN]
Ningde Amperex Technology Limited
US_2025337115_PA

Resumen de: US2025337115A1

A separator includes a substrate, an inorganic coating layer, and an adhesive layer, where the inorganic coating layer and the adhesive layer are disposed on a first surface of the substrate. The inorganic coating layer is disposed between the substrate and the adhesive layer. The adhesive layer is disposed on a second surface of the substrate. The inorganic coating layer includes filler particles. The adhesive layer includes polymer particles. The separator includes a first surface provided with the inorganic coating layer and the adhesive layer. In a region with an area of 100 μm2 on the first surface, a quantity of the polymer particles is A, where 10≤A≤100. An average particle size of the filler particles is Dv50−1 μm, and an average particle size of the polymer particles is Dv50−2 μM, WHERE Dv50−1 AND Dv50−2 SATISFY 0.2≤Dv50−1/Dv50−2≤2.5 AND 0.2≤Dv50−1≤1.

SCALABLE SYNTHESIS OF SALICYLALDEHYDATE-BASED METAL-ORGANIC FRAMEWORKS AND APPLICATIONS THEREOF

NºPublicación:  US2025336979A1 30/10/2025
Solicitante: 
KHALIFA UNIV OF SCIENCE AND TECHNOLOGY [AE]
Khalifa University of Science and Technology
US_2025336979_PA

Resumen de: US2025336979A1

Embodiments of the present disclosure describe metal organic framework (MOF)-like composite material (MOFite) including a salicylaldehydate-based iron metal organic framework composition and graphite, a lithium-ion battery including a cathode and an anode including a salicylaldehydate-based iron metal organic framework composition and graphite, and a scalable synthesis methods for salicylaldehydate-based metal-organic frameworks (SA-MOFs), specifically Fe-Tp, and their applications in lithium-ion batteries (LIBs).

Cooling Device for Fuel Cell Vehicle

NºPublicación:  US2025336988A1 30/10/2025
Solicitante: 
DAIMLER TRUCK AG [DE]
Daimler Truck AG
US_2025336988_PA

Resumen de: US2025336988A1

A cooling device (1) for a fuel cell vehicle (2) that includes a cab (21) and a chassis frame (22) and that drives a motor (24) for traveling with electric power of a fuel cell (23) includes a hydrogen gas reservoir (3) and a heat exchanger (4). The hydrogen gas reservoir (3) is installed on a rear side of the cab (21) and outside in a vehicle width direction (D2) of the chassis frame (22), and stores hydrogen gas to be supplied to the fuel cell (23). The heat exchanger (4) is installed outside in the vehicle width direction (D2) of the hydrogen gas reservoir (3) and along the hydrogen gas reservoir (3), and exchanges heat between outside air and coolant (41) configured to cool at least the fuel cell (23).

ELECTRODE WITH GRADED ALLOY LAYER, BATTERY AND METHOD

Nº publicación: US2025336976A1 30/10/2025

Solicitante:

LIONVOLT B V [NL]
LionVolt B.V

US_2025336976_PA

Resumen de: US2025336976A1

The present disclosure relates to an electrode (1) for a secondary lithium metal battery, the electrode comprises: a current collector (2), an anode metal layer (3) comprising lithium, and at least one graded metal alloy layer (4a,4b) that extends along one or more opposing faces of the anode metal layer. The graded metal alloy layer comprising a mixture of lithium and a further metal composition, whereby the concentration of lithium relative to the further metal composition decreases outwardly from the anode metal layer. The disclosure further relates to a battery comprising the electrode and a method of manufacturing.

traducir