Ministerio de Industria, Turismo y Comercio LogoMinisterior
 

Alerta

Resultados 1603 resultados
LastUpdate Última actualización 09/11/2025 [07:15:00]
pdfxls
Publicaciones de los últimos 15 días/Last 15 days publications (excluidas pubs. CN y JP /CN and JP pubs. excluded)
previousPage Resultados 800 a 825 de 1603 nextPage  

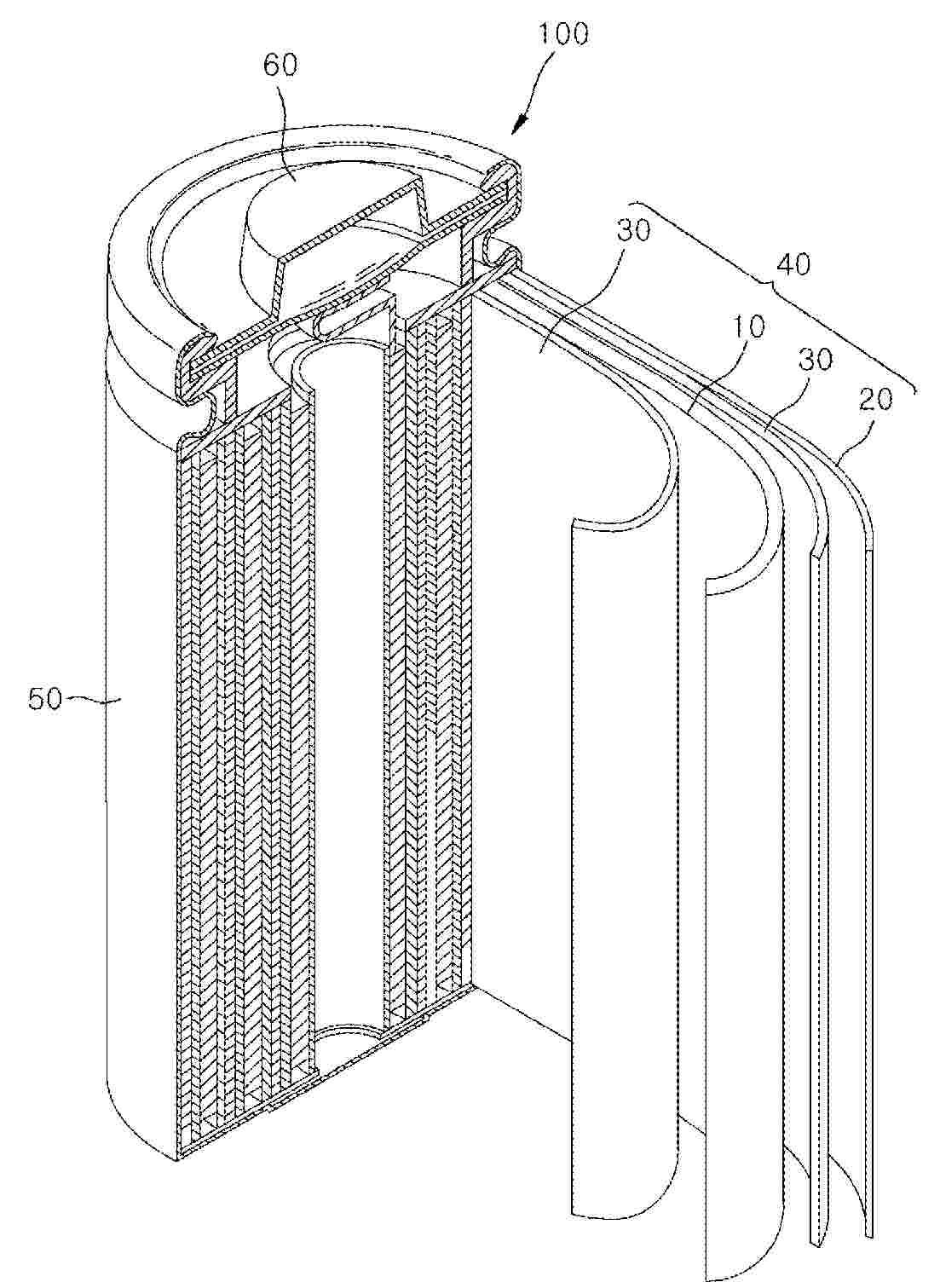
ELECTRODE FOR RECHARGEABLE LITHIUM BATTERY AND RECHARGEABLE LITHIUM BATTERY INCLUDING THE SAME

NºPublicación:  US2025336975A1 30/10/2025
Solicitante: 
SAMSUNG SDI CO LTD [KR]
IUCF HYU INDUSTRY UNIV COOPERATION FOUNDATION HANYANG UNIV [KR]
SAMSUNG SDI CO., LTD,
IUCF-HYU (Industry-University Cooperation Foundation Hanyang University)
US_2025336975_PA

Resumen de: US2025336975A1

An electrode for a rechargeable lithium battery and a rechargeable lithium battery including the same are disclosed, in which the nano-fibrillation of a fibrillable binder is promoted, and mechanical properties and electrical properties of a battery may be improved. An electrode includes a freestanding dry electrode film, and the freestanding dry electrode film includes an electrode active material, a binder, and a conductive additive, and the conductive additive includes a porous carbon black-based compound which has a specific surface area of 600 m2/g or more and exhibits a first maximum peak in a pore width range of 1 to 10 nm and a second maximum peak in a pore width range of 10 to 100 nm in a graph in which the x-axis represents the pore width and the y-axis represents a pore volume per unit weight of the porous carbon black-based compound.

ELECTROLYTE SOLUTION FOR RECHARGEABLE LITHIUM BATTERY AND RECHARGEABLE LITHIUM BATTERY INCLUDING THE SAME

NºPublicación:  US2025337013A1 30/10/2025
Solicitante: 
SAMSUNG SDI CO LTD [KR]
SAMSUNG SDI CO., LTD
US_2025337013_PA

Resumen de: US2025337013A1

The present disclosure relates to an electrolyte solution for a rechargeable lithium battery and a rechargeable lithium battery including the same, wherein the electrolyte solution includes a non-aqueous organic solvent, a lithium salt, a first additive and a second additive.

THERMAL MANAGEMENT COMPONENT AND MANUFACTURING PROCESS THEREFOR, BATTERY, AND ELECTRIC DEVICE

NºPublicación:  WO2025222694A1 30/10/2025
Solicitante: 
CONTEMPORARY AMPEREX TECH CO LIMITED [CN]
\u5B81\u5FB7\u65F6\u4EE3\u65B0\u80FD\u6E90\u79D1\u6280\u80A1\u4EFD\u6709\u9650\u516C\u53F8
WO_2025222694_PA

Resumen de: WO2025222694A1

The present application relates to a thermal management component and a manufacturing process therefor, a battery, and an electric device. The thermal management component (30) comprises: a heat exchange tube (31) having a heat exchange flow channel (311), wherein the ends of the heat exchange tube (31) are ports of the heat exchange flow channel (311); current collectors (32) connected to the ends of the heat exchange tube (31) in a matched mode and communicated with the ports; and adapters (33) connected between the heat exchange tube (31) and the current collectors (32), wherein the adapters (33) are used for being sealedly connected to the current collectors (32) and the heat exchange tube (31). In the present application, the adapters (33) are arranged between the heat exchange tube (31) and the current collectors (32), the heat exchange tube (31) and the current collectors (32) can be connected and fixed by means of the adapters (33), and the adapters (33) are sealedly connected between the current collectors (32) and the heat exchange tube (31), so that the current collectors (32) and the heat exchange tube (31) can fit more closely against each other, and then the heat exchange tube (31) and the adapters (33) can be stably connected, thereby improving the connection stability between the heat exchange tube (31) and the current collectors (32).

BATTERY BAKING DEVICE AND CONTROL METHOD THEREFOR

NºPublicación:  WO2025222704A1 30/10/2025
Solicitante: 
CONTEMPORARY AMPEREX TECH CO LIMITED [CN]
\u5B81\u5FB7\u65F6\u4EE3\u65B0\u80FD\u6E90\u79D1\u6280\u80A1\u4EFD\u6709\u9650\u516C\u53F8
WO_2025222704_PA

Resumen de: WO2025222704A1

The present disclosure relates to a battery baking device and a control method therefor. The battery baking device comprises a controller, probes, and probe bases corresponding to the probes. The probes include auxiliary probes and additional probes. The auxiliary probes are configured to be in contact with the corresponding probe bases to form an auxiliary probe working circuit. The additional probes are configured to be in contact with the corresponding probe bases to form an additional probe working circuit. The controller is configured to, on the basis of a heating instruction, control to supply power to the auxiliary probes in the battery baking device, and when the auxiliary probes are powered on, control to supply power to the additional probes in the battery baking device. The conductor contact length between the auxiliary probes and the corresponding probe bases is shorter than that between the additional probes and the corresponding probe bases. In the device, the relatively short auxiliary probes are powered on such that the auxiliary probes are in effective contact with the corresponding probe bases, and the relatively long additional probes are also in effective contact with the corresponding probe bases under the action of pressure, thereby reducing failures caused by poor contact between probes and bases, and reducing the device failure rate.

BATTERY CELL, BATTERY AND ELECTRIC DEVICE

NºPublicación:  WO2025222696A1 30/10/2025
Solicitante: 
CONTEMPORARY AMPEREX TECH CO LIMITED [CN]
\u5B81\u5FB7\u65F6\u4EE3\u65B0\u80FD\u6E90\u79D1\u6280\u80A1\u4EFD\u6709\u9650\u516C\u53F8
WO_2025222696_PA

Resumen de: WO2025222696A1

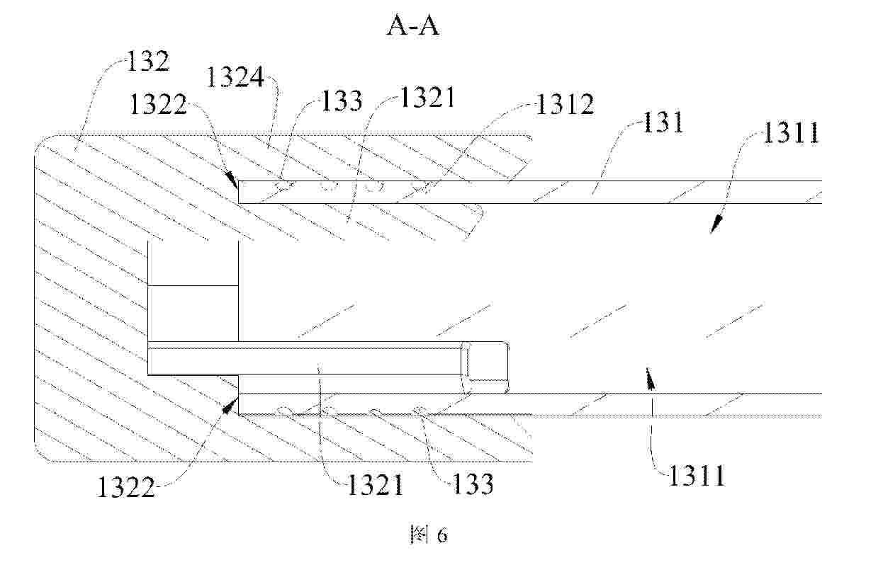
A battery cell (10), a battery (100) and an electric device. The battery cell (10) comprises: a housing (2), which has a plurality of housing walls (21) enclosing an accommodating space, wherein among the plurality of housing walls (21), a first weld seam (211) extending in a first direction is formed at least on a first housing wall (212); and a spacer (1), which is disposed on an outer surface of the first housing wall (212), wherein the spacer (1) has outer edges (11) located on inner sides of an outer surface (22) of the first housing wall (212), among the outer edges (11), the outer edge (11) that extends in the first direction and is closest to the first weld seam (211) in a second direction is a first outer edge (111), the distance between the first outer edge (111) and the first weld seam (211) in the second direction is greater than 0 and not more than 5 mm, and the first direction, the second direction and a wall thickness direction of the housing walls (21) are perpendicular to each other in pairs. In this way, the impact of an expansion force generated by the battery cell (10) on the strength of the first weld seam (211) can be reduced on the basis of minimizing the reduction in the area of the spacer (1), thereby lowering the probability of abnormal weld separation of the first weld seam (211) due to strength attenuation, and facilitating directional pressure relief of the battery cell (10) during thermal runaway.

ELECTRIC DEVICE AND CONTROL METHOD THEREFOR

NºPublicación:  WO2025222779A1 30/10/2025
Solicitante: 
CONTEMPORARY AMPEREX TECH CO LIMITED [CN]
\u5B81\u5FB7\u65F6\u4EE3\u65B0\u80FD\u6E90\u79D1\u6280\u80A1\u4EFD\u6709\u9650\u516C\u53F8
WO_2025222779_PA

Resumen de: WO2025222779A1

The present application belongs to the technical field of batteries. Provided are an electric device and a control method therefor. The electric device comprises a mounting seat, a first connector and a blocking mechanism. The first connector is mounted on the mounting seat, the first connector is provided with a first socket, and the first connector is configured for electrical or fluid connection with a battery. The blocking mechanism comprises a driving unit and a blocking assembly, wherein the driving unit is mounted on the mounting seat, the blocking assembly is connected to the driving unit, and the driving unit is configured to drive the blocking assembly to move relative to the mounting seat, thus blocking the first socket or opening the first socket. In the electric device of such a structure, during the operation of the electric device with reduced batteries, the blocking mechanism can realize automatic blocking of the exposed first connector of the electric device, without the need for manual intervention, such that the entry of impurities or particles from the external environment into the first connector is reduced, thereby effectively reducing the risk of damage to the first connector, reducing the subsequent use cost of the electric device.

TOP COVER ASSEMBLY, BATTERY CELL AND BATTERY PACK

NºPublicación:  WO2025222809A1 30/10/2025
Solicitante: 
SUNWODA MOBILITY ENERGY TECH CO LTD [CN]
\u6B23\u65FA\u8FBE\u52A8\u529B\u79D1\u6280\u80A1\u4EFD\u6709\u9650\u516C\u53F8
WO_2025222809_PA

Resumen de: WO2025222809A1

A top cover assembly, a battery cell and a battery pack. The top cover assembly comprises: a top cover (100), a positive terminal post (200), a negative terminal post (300), a first conductor (400), a second conductor (500) and a slave board (600). The top cover (100) has a first surface (110); the positive terminal post (200) and the negative terminal post (300) are both connected to the top cover (100); one end of the first conductor (400) is electrically connected to the positive terminal post (200), and the other end thereof is exposed from the top cover (100) to form a first connecting end (410); one end of the second conductor (500) is electrically connected to the negative terminal post (300), and the other end thereof is exposed from the top cover (100) to form a second connecting end (510); a first pad (610) and a second pad (620) are provided on a surface of the slave board (600); the slave board (600) is snap-fitted to the top cover (100); the first pad (610) abuts against the first connecting end (410); and the second pad (620) abuts against the second connecting end (510). Therefore, during an assembly process, the slave board (600) can be directly snap-fitted to the top cover (100), and the first pad (610) and the second pad (620) respectively abut against the first connecting end (410) and the second connecting end (510), without the need for welding the slave board (600) to the first conductor (400) and welding the slave board (600) to the second conductor (50

BATTERY CELL AND BATTERY PACK

NºPublicación:  WO2025222793A1 30/10/2025
Solicitante: 
SUNWODA MOBILITY ENERGY TECH CO LTD [CN]
\u6B23\u65FA\u8FBE\u52A8\u529B\u79D1\u6280\u80A1\u4EFD\u6709\u9650\u516C\u53F8
WO_2025222793_PA

Resumen de: WO2025222793A1

Provided in the present application are a battery cell and a battery pack. The battery cell comprises: a housing; a top cover, which comprises a cover body, a positive terminal and a negative terminal, wherein the positive terminal and the negative terminal are both connected to the cover body, and the cover body is connected to the housing and defines a cavity; a core, which is arranged in the cavity and comprises a positive main tab, a negative main tab, a positive auxiliary tab and a negative auxiliary tab, wherein the positive main tab is electrically connected to the positive terminal, and the negative main tab is electrically connected to the negative terminal; and a detection device, which is connected to the cover body, wherein the positive auxiliary tab and the negative auxiliary tab are both electrically connected to the detection device. The battery cell of the present application can simplify the battery structure, thereby improving the energy density of the battery.

CONTROL METHOD FOR REFRIGERATION SYSTEM, RELATED DEVICES, AND STORAGE MEDIUM

NºPublicación:  US2025337038A1 30/10/2025
Solicitante: 
HUZHOU SANY LOADER CO LTD [CN]
HUZHOU SANY LOADER CO., LTD
US_2025337038_A1

Resumen de: US2025337038A1

Embodiments of the present application provide a control method for a refrigeration system, related devices, and a storage medium, involving battery cooling technology. The method includes: in a case that a current ambient temperature being within a first preset temperature range is determined, a water pump of the refrigeration system and a compressor of the refrigeration system are activated; in a case that a first pressure corresponding to the refrigeration system reaching a preset pressure value is determined, a fan of the refrigeration system is activated, so as to maintain a pressure of the refrigeration system within a preset pressure range for cooling a battery; in a case that the current ambient temperature being within a second preset temperature range is determined, the water pump of the refrigeration system is activated, and activation of the compressor and the fan is prohibited.

ELECTRODE PLATE AND RECHARGEABLE BATTERY INCLUDING THE SAME

NºPublicación:  US2025337023A1 30/10/2025
Solicitante: 
SAMSUNG SDI CO LTD [KR]
SAMSUNG SDI CO., LTD
US_2025337023_PA

Resumen de: US2025337023A1

An embodiment of the present disclosure provides an electrode plate including: a substrate; an active material layer on at least a portion of one surface of the substrate and having a multi-stage end portion; and a protective member on at least a portion of the multi-stage end portion of the active material layer and on the substrate such that the protective member does not protrude past the active material layer in a thickness direction.

COMPOSITE SEPARATOR, WOUND CORE, AND LITHIUM-ION BATTERY

NºPublicación:  US2025337110A1 30/10/2025
Solicitante: 
HUIZHOU EVE POWER CO LTD [CN]
EVE POWER CO LTD [CN]
HUIZHOU EVE POWER CO., LTD,
EVE POWER CO., LTD
US_2025337110_A1

Resumen de: US2025337110A1

The present disclosure provides a composite separator, a wound core, and a lithium-ion battery. The composite separator includes a porous substrate and a porous active layer; the porous active layer is arranged on at least one face of the porous substrate and includes a base coating and a non-binder polymer C embedded in the base coating, and the base coating includes inorganic particles A and a binder polymer B; the non-binder polymer C has a particle size D50 greater than a thickness of the base coating; a coverage rate of the non-binder polymer C is in a range of 2%-50%; and an average compression ratio P of the non-binder polymer C protruding from the base coating is in a range of 20%-50%.

PREVENTIVE SAFETY DISCHARGE FOR BATTERY SYSTEMS

NºPublicación:  US2025337027A1 30/10/2025
Solicitante: 
ABB SCHWEIZ AG [CH]
ABB Schweiz AG
US_2025337027_PA

Resumen de: US2025337027A1

The present disclosure relates to a preventive battery discharge system for a battery system. The battery discharge system comprises an interface for receiving a thermal runaway indication signal for a first battery cell assembly and an energy sink device, wherein the energy sink device is connectable with a plurality of battery cell assemblies by a switching unit, wherein the energy sink device is configured to receive electrical energy discharged from at least one second battery cell assembly. The battery discharge system further comprises a control module configured to identify the at least one second battery cell assembly to be discharged based upon the thermal runaway indication signal and is configured to control the switching unit to discharge the at least one second battery cell assembly and to transport energy from the at least one second battery cell assembly to the energy sink device after receiving a thermal runaway indication signal.

BATTERY SYSTEM INCLUDING IMPROVED CELL COVER ATTACHMENT

NºPublicación:  US2025337066A1 30/10/2025
Solicitante: 
SAMSUNG SDI CO LTD [KR]
SAMSUNG SDI CO., LTD
US_2025337066_PA

Resumen de: US2025337066A1

A battery system includes: a plurality of battery cells, each of the battery cells having a venting exit for discharging a venting gas stream at a venting side thereof; and a cover element covering at the venting side of at least one of the plurality of battery cells to protect the battery cell from the venting gas stream. The cover element is directly sealed to the venting side of the battery cell by an adhesive extending around the venting exit.

NEGATIVE ELECTRODE SHEET AND SECONDARY BATTERY AND ELECTRICAL DEVICE INCLUDING SAME

NºPublicación:  US2025336959A1 30/10/2025
Solicitante: 
CONTEMPORARY AMPEREX TECH CO LIMITED [CN]
CONTEMPORARY AMPEREX TECHNOLOGY CO., LIMITED
US_2025336959_PA

Resumen de: US2025336959A1

A negative electrode sheet, and a secondary battery and an electrical device including the same are described. The negative electrode sheet comprises a current collector and a negative electrode active layer stacked on surface of the current collector, and the negative electrode active layer comprises a first active layer and a second active layer which are stacked. The materials of the first active layer comprise, in percentage by mass based on the first active layer: 60%-94% of a silicon-based material, 0%-30% of a carbon-based material, and 5%-15% of a binder. The materials of the second active layer comprise, in percentage by mass based on the second active layer: 0%-5% of a second silicon-based material, 94%-99% of a second carbon-based material, and 1%-3% of a second binder. The negative electrode sheet has good cycle performance.

Non-Aqueous Electrolyte and Lithium Secondary Battery Including the Same

NºPublicación:  US2025337019A1 30/10/2025
Solicitante: 
LG ENERGY SOLUTION LTD [KR]
LG Energy Solution, Ltd
US_2025337019_PA

Resumen de: US2025337019A1

The present disclosure provides a non-aqueous electrolyte and a lithium secondary battery including the same. The non-aqueous electrolyte of the present disclosure includes a lithium salt; an organic solvent and an additive. The organic solvent includes a first organic solvent and a second organic solvent, the first organic solvent may be CFH2CFHCFH2, and the second organic solvent may be a cyclic carbonate-based organic solvent.

POLYMER ELECTROLYTES AND BATTERIES WITH THE SAME

NºPublicación:  US2025337007A1 30/10/2025
Solicitante: 
TOYOTA MOTOR ENGINEERING & MFG NORTH AMERICA INC [US]
TOYOTA JIDOSHA KK [JP]
Toyota Motor Engineering & Manufacturing North America, Inc,
Toyota Jidosha Kabushiki Kaisha
US_2025337007_PA

Resumen de: US2025337007A1

A solid polymer electrolyte includes a charge transfer complex polymer matrix with a polar ring polymer matrix and a halogen functionalized sulfone-based plasticizer molecule additive. In some variations, the halogen functionalized sulfone-based plasticizer molecule additive is selected from one or more CCS(═O)(═O), O═S(═O)(CCl)CCl, and O═S1(═O)CC(BR)Cl.

SILICON ANODE FOR SOLID-STATE BATTERY AND SOLID-STATE BATTERY COMPRISING THE SAME

NºPublicación:  US2025336960A1 30/10/2025
Solicitante: 
SEOUL NAT UNIV R&DB FOUNDATION [KR]
SEOUL NATIONAL UNIVERSITY R&DB FOUNDATION
US_2025336960_PA

Resumen de: US2025336960A1

The present invention relates to a silicon anode for a solid-state battery including Si atoms of 99 wt % or more and composed of crystalline Si.

Positive Electrode Active Material for Secondary Battery, Method for Preparing Same, and Lithium Secondary Battery Including Same

NºPublicación:  US2025336963A1 30/10/2025
Solicitante: 
LG CHEM LTD [KR]
LG Chem, Ltd
US_2025336963_PA

Resumen de: US2025336963A1

A positive electrode active material for a secondary battery includes a lithium complex transition metal oxide and a surface coating portion. The lithium complex transition metal oxide includes nickel (Ni), cobalt (Co), and at least one selected from the group consisting of manganese (Mn) and aluminum (Al). The surface coating portion is formed on surfaces of the lithium complex transition metal oxide particles and the surface coating portion includes a cobalt-rich layer, which has a higher cobalt content than the lithium complex transition metal oxide, and a lithium boron oxide.

FORMATION DEVICE AND BATTERY CELL FORMATION METHOD

NºPublicación:  WO2025222703A1 30/10/2025
Solicitante: 
CONTEMPORARY AMPEREX TECH CO LIMITED [CN]
CONTEMPORARY AMPEREX RUNZHI SOFTWARE TECH LIMITED [CN]
\u5B81\u5FB7\u65F6\u4EE3\u65B0\u80FD\u6E90\u79D1\u6280\u80A1\u4EFD\u6709\u9650\u516C\u53F8,
\u5B81\u5FB7\u65F6\u4EE3\u6DA6\u667A\u8F6F\u4EF6\u79D1\u6280\u6709\u9650\u516C\u53F8
WO_2025222703_PA

Resumen de: WO2025222703A1

Embodiments of the present disclosure relate to the technical field of battery production. Disclosed are a formation device and a battery cell formation method. The formation device comprises a formation unit, an air exhaust assembly, and an air supply assembly. The formation unit comprises a cabinet. At least one formation area is provided in the cabinet. The formation areas are communicated with each other. The formation areas are configured to accommodate battery cells to be subjected to formation. The air exhaust assembly is communicated with the at least one formation area. The air exhaust assembly is configured to exhaust air for the formation area. The air supply assembly is communicated with at least one formation area. The air supply assembly is configured to supply air to the formation area.

LIQUID-COOLING PLATE ASSEMBLY, THERMAL MANAGEMENT COMPONENT, BATTERY, AND ELECTRIC DEVICE

NºPublicación:  WO2025222692A1 30/10/2025
Solicitante: 
CONTEMPORARY AMPEREX TECH CO LIMITED [CN]
\u5B81\u5FB7\u65F6\u4EE3\u65B0\u80FD\u6E90\u79D1\u6280\u80A1\u4EFD\u6709\u9650\u516C\u53F8
WO_2025222692_PA

Resumen de: WO2025222692A1

A liquid-cooling plate assembly, a thermal management component, a battery, and an electric device, which belong to the technical field of batteries. The liquid-cooling plate assembly comprises a heat exchange plate and a current collector, wherein a plurality of cooling channels are formed inside the heat exchange plate; the current collector is connected to an end of the heat exchange plate and is in communication with the plurality of cooling channels; and a first section of one of the current collector and the heat exchange plate is sleeved outside a second section of the other one of the current collector and the heat exchange plate, the first section is made of a transparent material, the second section is made of a light-absorbing material, and the surface of at least one of the first section and the second section facing the other one of the first section and the second section is provided with a connection compensation structure that is not flush with the surface.

VEHICLE BODY AND VEHICLE

NºPublicación:  WO2025222677A1 30/10/2025
Solicitante: 
CONTEMPORARY AMPEREX TECH CO LIMITED [CN]
\u5B81\u5FB7\u65F6\u4EE3\u65B0\u80FD\u6E90\u79D1\u6280\u80A1\u4EFD\u6709\u9650\u516C\u53F8
WO_2025222677_PA

Resumen de: WO2025222677A1

A vehicle body (400) and a vehicle (1000). The vehicle body (400) comprises: a battery accommodating portion (41), an accommodating space (41a) being provided in the battery accommodating portion (41), and a first opening being provided in the accommodating space (41a); a battery cell (20), the battery cell (20) being provided in the accommodating space (41a); a vehicle body floor (42), the vehicle body floor (42) covering the battery accommodating portion (41) and closing the first opening, and the vehicle body floor (42) being provided with a recess (421); and a heat exchange member (43), the heat exchange member (43) being provided in the recess (421) and used for exchanging heat with the battery cell (20).

BATTERY CELL, BATTERY, AND ELECTRICAL APPARATUS

NºPublicación:  WO2025222339A1 30/10/2025
Solicitante: 
CONTEMPORARY AMPEREX TECH CO LIMITED [CN]
\u5B81\u5FB7\u65F6\u4EE3\u65B0\u80FD\u6E90\u79D1\u6280\u80A1\u4EFD\u6709\u9650\u516C\u53F8
WO_2025222339_PA

Resumen de: WO2025222339A1

The embodiments of the present application provide a battery cell, a battery, and an electrical apparatus. The battery cell comprises a housing, a top cover, and an electrode assembly. The housing is provided with an accommodating space and an opening. The top cover seals and covers the opening. The electrode assembly is arranged within the accommodating space. An inner side wall of at least part of the area of the housing located at the opening is thickened to form a thickened area, an edge of the top cover is formed with a connecting area matching the thickened area, and the connecting area is connected with the thickened area. The inner side wall of at least part of the area of the housing located at the opening is thickened to form the thickened area, thereby increasing the structural strength of the connection between the housing and the top cover, so as to increase the connection strength of the housing and the top cover, thereby reducing the risk of fatigue cracking of the connecting structure between the housing and the top cover, improving the problem of failure of the connecting structure between the housing and the top cover, improving the expansion resistance of a casing, and increasing the service life of the battery cell.

BATTERY CASE, BATTERY PACK AND METHOD FOR MANUFACTURING BATTERY CASE

NºPublicación:  WO2025222593A1 30/10/2025
Solicitante: 
EVE ENERGY CO LTD [CN]
\u60E0\u5DDE\u4EBF\u7EAC\u9502\u80FD\u80A1\u4EFD\u6709\u9650\u516C\u53F8
WO_2025222593_PA

Resumen de: WO2025222593A1

Disclosed in the present application is a battery case, comprising: a case main body, wherein a diversion inner channel and an output pipe joint are provided on an inner support beam of the case main body, and the output pipe joint is in communication with the diversion inner channel; and a liquid cooling assembly, wherein the liquid cooling assembly comprises a first flow splitting member and a second flow splitting member, which are arranged opposite each other; the liquid cooling assembly is mounted in the case main body; the diversion inner channel runs through the space between the first flow splitting member and the second flow splitting member, and both the first flow splitting member and the second flow splitting member are in communication with the output pipe joint; in addition, the first flow splitting member guides a heat exchange medium to be conveyed from a side close to the diversion inner channel and in a diagonal direction of the first flow splitting member, and the second flow splitting member conveys from a side close to the diversion inner channel and in a diagonal direction of the second flow splitting member.

POLYIONIC LIQUID, CERAMIC ELECTROLYTE FILM, AND USE

NºPublicación:  WO2025222561A1 30/10/2025
Solicitante: 
SHENZHEN INX TECH CO LTD [CN]
\u6DF1\u5733\u6B23\u754C\u80FD\u6E90\u79D1\u6280\u6709\u9650\u516C\u53F8
WO_2025222561_PA

Resumen de: WO2025222561A1

A polyionic liquid, a ceramic electrolyte film, and a use, relating to the technical field of batteries. The polyionic liquid comprises a polymer and a first lithium salt, and the polymer is linked to the first lithium salt by means of a chemical bond. The polyionic liquid has flexibility and high conductivity, so that the ionic conductivity and stability of an electrolyte can be effectively improved.

COMPOSITION, COMPOSITE FILM, AND USE

Nº publicación: WO2025222560A1 30/10/2025

Solicitante:

SHENZHEN INX TECH CO LTD [CN]
\u6DF1\u5733\u6B23\u754C\u80FD\u6E90\u79D1\u6280\u6709\u9650\u516C\u53F8

WO_2025222560_A1

Resumen de: WO2025222560A1

Provided are a composition, a composite film, and a use. The composition comprises a ceramic electrolyte and an ionic liquid, wherein the ionic liquid comprises a piperidine ionic liquid. The provided composition has high ionic conductivity.

traducir