Ministerio de Industria, Turismo y Comercio LogoMinisterior
 

Alerta

Resultados 1603 resultados
LastUpdate Última actualización 09/11/2025 [07:15:00]
pdfxls
Publicaciones de los últimos 15 días/Last 15 days publications (excluidas pubs. CN y JP /CN and JP pubs. excluded)
previousPage Resultados 825 a 850 de 1603 nextPage  

SECONDARY BATTERY, MANUFACTURING METHOD FOR NEGATIVE ELECTRODE SHEET, AND ELECTRIC DEVICE

NºPublicación:  WO2025222409A1 30/10/2025
Solicitante: 
CONTEMPORARY AMPEREX TECH CO LIMITED [CN]
\u5B81\u5FB7\u65F6\u4EE3\u65B0\u80FD\u6E90\u79D1\u6280\u80A1\u4EFD\u6709\u9650\u516C\u53F8
WO_2025222409_PA

Resumen de: WO2025222409A1

The present application provides a secondary battery. The secondary battery comprises an electrode sheet, wherein the electrode sheet comprises a current collector and an active material layer arranged on at least one side of the current collector, the active material layer comprises a kinetic additive, the structure of the kinetic additive comprises a cavity, and the average diameter of the cavity is 0.8 to 1.5 nm.

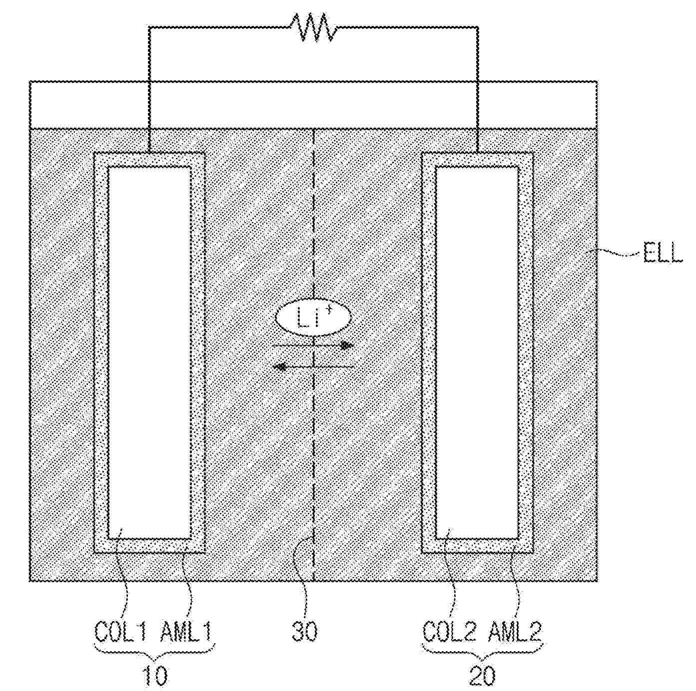
METHOD AND SYSTEM FOR QUANTIFYING A COMPOSITION OF A COMPOSITE BATTERY ELECTRODE

NºPublicación:  US2025337024A1 30/10/2025
Solicitante: 
CATERPILLAR INC [US]
Caterpillar Inc
US_2025337024_PA

Resumen de: US2025337024A1

A battery system includes a battery comprising a full cell having a composite electrode with a composition that includes an actual blend ratio of one or more electrode materials; a memory configured to store an optimization table; a measurement circuit coupled to the full cell and configured to measure an actual open circuit voltage (OCV) of the full cell; and at least one processor configured to: calculate a predicted OCV of the full cell that based on the optimization table and one or more optimization parameters, including a predicted blend ratio of the composite electrode, compare the actual OCV with the predicted OCV to generate an error value, compare the error value with a threshold value, determine whether the predicted blend ratio corresponds to the actual blend ratio of the composite electrode based on whether the error value satisfies the threshold value.

HEAT INSULATION SHEET FOR RECHARGEABLE LITHIUM BATTERY AND RECHARGEABLE LITHIUM BATTERY MODULE INCLUDING THE SAME

NºPublicación:  US2025337055A1 30/10/2025
Solicitante: 
SAMSUNG SDI CO LTD [KR]
SAMSUNG SDI CO., LTD
US_2025337055_PA

Resumen de: US2025337055A1

The present disclosure relates to a heat insulation sheet for a rechargeable lithium battery, and a rechargeable lithium battery module. The heat insulation sheet for a rechargeable lithium battery includes a first base layer, a first aerogel-containing layer, a second aerogel-containing layer, and a third aerogel-containing layer that are stacked together. The first aerogel-containing layer and the third aerogel-containing layer each include a fibrous support, an aerogel, and a binder, and the second aerogel-containing layer includes an aerogel and a binder.

SEPARATOR FOR RECHARGEABLE LITHIUM BATTERY AND RECHARGEABLE LITHIUM BATTERY INCLUDING THE SAME

NºPublicación:  US2025337106A1 30/10/2025
Solicitante: 
SAMSUNG SDI CO LTD [KR]
SAMSUNG SDI CO., LTD
US_2025337106_PA

Resumen de: US2025337106A1

Examples of the present disclosure include a separator for a rechargeable lithium battery, and a rechargeable lithium battery including the separator. The separator for a rechargeable lithium battery includes a porous substrate and a coating layer on at least one surface of the porous substrate. The coating layer includes a binder and a filler. The binder includes a (meth)acryl-based binder including a sulfonate group-containing structural unit. The filler includes a mixture of boehmite and barium titanate in a weight ratio in a range of about 20:80 to about 80:20 with respect to 100 parts by weight of the mixture of boehmite and barium titanate.

SEPARATOR FOR RECHARGEABLE LITHIUM BATTERY AND RECHARGEABLE LITHIUM BATTERY INCLUDING THE SAME

NºPublicación:  US2025337107A1 30/10/2025
Solicitante: 
SAMSUNG SDI CO LTD [KR]
SAMSUNG SDI CO., LTD
US_2025337107_PA

Resumen de: US2025337107A1

Examples of present disclosure include a separator for a rechargeable lithium battery and a rechargeable lithium battery including the separator. The separator for a rechargeable lithium battery includes a porous base and a coating layer on at least one surface of the porous base. The coating layer includes a heat-resistant layer including a binder and a filler, and an adhesive layer on the heat-resistant layer and including an adhesive binder. The binder includes a (meth)acryl-based binder including a first structural unit derived from (meth)acrylic acid, (meth)acrylate, or salts thereof, a second structural unit derived from hydroxyalkyl (meth)acrylate, and a third structural unit derived from (meth)acrylamido sulfonic acid or a salt thereof. The filler includes a cubic filler having a particle size D50 ranges from about 50 nm to about 250 nm. The adhesive binder includes a fluorine-based adhesive binder having a carboxylic acid group or a hydroxy group.

NEGATIVE ELECTRODE FOR RECHARGEABLE LITHIUM BATTERY, AND RECHARGEABLE LITHIUM BATTERY INCLUDING THE SAME

NºPublicación:  US2025336971A1 30/10/2025
Solicitante: 
SAMSUNG SDI CO LTD [KR]
SAMSUNG SDI CO., LTD
US_2025336971_PA

Resumen de: US2025336971A1

Provided are a negative electrode for a rechargeable lithium battery and a rechargeable lithium battery including the same, and a negative electrode for a rechargeable lithium battery including a negative electrode current collector, and a negative electrode active material layer on the negative electrode current collector, wherein the negative electrode active material layer includes a first active material layer, a second active material layer, and a third active material layer, which are sequentially stacked on the negative electrode current collector, the negative electrode active material layer includes a conductive material, and the second active material layer further includes silicon-containing particles.

ELECTROLYTE SOLUTION FOR RECHARGEABLE LITHIUM BATTERY AND RECHARGEABLE LITHIUM BATTERY INCLUDING THE SAME

NºPublicación:  US2025337014A1 30/10/2025
Solicitante: 
SAMSUNG SDI CO LTD [KR]
SAMSUNG SDI CO., LTD
US_2025337014_PA

Resumen de: US2025337014A1

The present disclosure relates to an electrolyte solution for a rechargeable lithium battery and a rechargeable lithium battery including the same, wherein the electrolyte solution includes a non-aqueous organic solvent, a lithium salt, the above-described first additive represented by Chemical Formula 1, and the above-described second additive represented by Chemical Formula 2.

ELECTROLYTIC SOLUTION FOR LITHIUM ION SECONDARY BATTERY AND LITHIUM ION SECONDARY BATTERY

NºPublicación:  US2025337011A1 30/10/2025
Solicitante: 
KYOCERA CORP [JP]
KYOCERA CORPORATION
US_2025337011_A1

Resumen de: US2025337011A1

An object of the present invention is to provide a lithium ion secondary battery excellent in cycle characteristics and additionally corrosion resistance which are important in a vehicle-mounted secondary battery such as an electric vehicle, and to provide an electrolytic solution capable of producing such a lithium ion secondary battery. An electrolytic solution for a lithium ion secondary battery, the electrolytic solution containing an electrolyte dissolved in a nonaqueous solvent, in which the electrolytic solution contains cyanomethyl formate and/or 2-cyanoethyl formate. A lithium ion secondary battery including a positive electrode, a negative electrode, a separator, and the electrolytic solution for a lithium ion secondary battery.

SULFIDE ELECTROLYTES AND EFFICIENT METHODS FOR MAKING THE SAME

NºPublicación:  US2025337006A1 30/10/2025
Solicitante: 
FLORIDA STATE UNIV RESEARCH FOUNDATION INC [US]
Florida State University Research Foundation, Inc
US_2025337006_PA

Resumen de: US2025337006A1

In accordance with the purpose(s) of the present disclosure, as embodied and broadly described herein, the disclosure, in one aspect, relates to sulfide solid electrolytes and synthesis of sulfide solid electrolytes. The electrolytes have the general formula AzMwSvCl4-yXy and exhibit good ionic conductivity. The electrolytes are relatively cost-effective to produce, as they contain naturally abundant elements, and can be synthesized via a relatively fast synthesis route. The electrolytes can be a component of different types of batteries or sensors for ion detection.

BATTERY

NºPublicación:  US2025337017A1 30/10/2025
Solicitante: 
ZHUHAI COSMX BATTERY CO LTD [CN]
ZHUHAI COSMX BATTERY CO., LTD
US_2025337017_A1

Resumen de: US2025337017A1

A battery includes a positive and a negative electrode plate, a separator, and an electrolyte solution. The additives of the electrolyte solution include tricyanophosphite compounds and alkyl polycyanide compounds. It can solve problems of large side reactions between electrolyte solution and electrode interface, and the significant deterioration of high-temperature cycling performance and high-temperature storage performance of the battery under high voltage. By adding an appropriate amount of electrolyte additive according to the areal density of the positive electrode, it is possible to form a very stable interface film and interface coordination effect on the positive electrode, significantly improving the stability of the electrolyte solution and the positive electrode interface, reducing the consumption of the electrolyte solution and the damage to the positive electrode structure during battery cycling, and significantly enhancing the high-temperature cycling performance and high-temperature storage performance of the battery at high voltage.

METHOD OF ALKALINE LEACHING OF USEFUL METALS FROM LITHIUM-ION BATTERIES

NºPublicación:  WO2025226431A1 30/10/2025
Solicitante: 
ALBEMARLE CORP [US]
ALBEMARLE CORPORATION
WO_2025226431_PA

Resumen de: WO2025226431A1

A process that includes (A) contacting a mass with a liquid ammonium system comprising an ammonia source, to form a combination, wherein the mass was formed from at least lithium-ion batteries and comprises one or more metal-containing compounds, wherein the metal is selected from lithium, cobalt, nickel, iron, and/or aluminum; (B) separating an alkaline leachate from the combination; (C) infusing one or more oxidizing agents into the alkaline leachate; (D) adjusting the pH of the alkaline leachate to enhance formation of a precipitate comprising one or more metal-containing compounds, wherein the metal is selected from lithium, cobalt, nickel, iron, and/or aluminum; and (E) infusing one or more of carbon dioxide, sodium carbonate, sodium bicarbonate, lithium carbonate, and lithium bicarbonate into the alkaline leachate to enhance formation of an additional precipitate comprising one or more metal-containing compounds, wherein the metal is selected from cobalt, nickel, iron, and/or aluminum.

ALL-SOLID-STATE BATTERY

NºPublicación:  WO2025225785A1 30/10/2025
Solicitante: 
SAMSUNG SDI CO LTD [KR]
\uC0BC\uC131\uC5D0\uC2A4\uB514\uC544\uC774 \uC8FC\uC2DD\uD68C\uC0AC
WO_2025225785_PA

Resumen de: WO2025225785A1

The present invention relates to an all-solid-state battery and, more particularly, to a all-solid-state battery comprising a positive electrode layer, a negative electrode layer, and a solid electrolyte layer disposed between the positive electrode layer and the negative electrode layer, wherein the negative electrode layer comprises: a negative electrode current collector; a negative electrode coating layer disposed on the negative electrode current collector and including a first metal and a first carbon; and a lithium-deposited buffer layer disposed between the negative electrode current collector and the negative electrode coating layer and including a second metal and a second carbon, wherein the Gibbs free energy of the chemical reaction between the first metal and molten lithium at 250°C is △G1, and the Gibbs free energy of the chemical reaction between the second metal and molten lithium at 250°C is △G2, wherein △G2 is greater than △G1.

ALL-SOLID-STATE BATTERY

NºPublicación:  WO2025225783A1 30/10/2025
Solicitante: 
SAMSUNG SDI CO LTD [KR]
\uC0BC\uC131\uC5D0\uC2A4\uB514\uC544\uC774 \uC8FC\uC2DD\uD68C\uC0AC
WO_2025225783_PA

Resumen de: WO2025225783A1

The present invention relates to an all-solid-state battery, more specifically to an all-solid-state battery comprising: a negative electrode layer; a first solid electrolyte layer on the negative electrode layer; a second solid electrolyte layer on the first solid electrolyte layer; and a positive electrode layer on the second solid electrolyte layer. Each of the first and second solid electrolyte layers contains an argyrodite-based compound and a nano-compound, the nano-compound comprising a composite of lithium-sulfur and lithium salt, and the nano-compound content in the first solid electrolyte layer being greater than the nano-compound content in the second solid electrolyte layer.

NEGATIVE ELECTRODE FOR LITHIUM METAL BATTERY AND LITHIUM METAL BATTERY COMPRISING SAME

NºPublicación:  WO2025225782A1 30/10/2025
Solicitante: 
SAMSUNG SDI CO LTD [KR]
\uC0BC\uC131\uC5D0\uC2A4\uB514\uC544\uC774 \uC8FC\uC2DD\uD68C\uC0AC
WO_2025225782_PA

Resumen de: WO2025225782A1

The present invention relates to a negative electrode for a lithium metal battery and a lithium metal battery comprising same, the negative electrode, more specifically, comprising: a negative electrode current collector comprising titanium or an alloy thereof; an oxide layer on the negative electrode current collector, the oxide layer comprising crystalline titanium oxide; and a polymer coating layer on the oxide layer. The polymer coating layer comprises a polymer having a trifluoromethanesulfonylimide (TFSI) functional group.

BATTERY PACK AND ELECTRIC DEVICE

NºPublicación:  WO2025222457A1 30/10/2025
Solicitante: 
XIAMEN AMPACK TECH LIMITED [CN]
\u53A6\u95E8\u65B0\u80FD\u8FBE\u79D1\u6280\u6709\u9650\u516C\u53F8
WO_2025222457_PA

Resumen de: WO2025222457A1

The present invention relates to a battery pack (100) and an electric device. The battery pack (100) comprises a first housing (10), a battery cell assembly (20), a first member (30) and a top cover (40). The battery cell assembly (20) is arranged in the first housing (10), and comprises a plurality of battery cells (21). The first member (30) and the battery cell assembly (20) are arranged in a first direction, and the first member (30) comprises a bottom wall (31) and a plurality of side walls (32), wherein the side walls (32) are connected to the bottom wall (31), each side wall (32) is provided with a first opening (32a), and each first opening (32a) penetrates the corresponding side wall (32). The top cover (40) is connected to the first housing (10), and the top cover (40) and the first member (30) form a first space (401). The first member (30) and the battery cell assembly (20) form a second space (301), and the first openings (32a) communicate the first space (401) and the second space (301). When the battery cell assembly (20) undergoes thermal runaway or pressure relief, a gas and/or flame enters the first space (401) from the second space (301) through the first openings (32a), which can extend a pressure relief path, and increase collision between the gas and the first member (30) and collision between the first member (30) and the flame, thereby lowering the temperature of the gas, and eliminating part of the flame, thus facilitating flame extinguishing, lowerin

SEALING ASSEMBLY FOR FLUID-IMMERSION SHREDDING CHAMBER

NºPublicación:  WO2025222283A1 30/10/2025
Solicitante: 
SHRED TECH CORP [CA]
SHRED-TECH CORPORATION
WO_2025222283_PA

Resumen de: WO2025222283A1

A fluid-immersion shredder is provided. The shredder includes a wall structure defining a chamber configured to contain a liquid. At least a portion of the wall structure includes an interior wall adjacent an exterior wall, the interior wall and exterior wall having an opening therethrough. The shredder further includes a drive shaft extending through the opening and into the chamber. The shredder further includes a sealing assembly extending radially around the drive shaft at least in the area of the opening, the sealing assembly including a metal-faced seal assembly, such as a CAT® seal in the area between the opening in the exterior wall structure and the shaft.

BATTERY CELL, BATTERY AND ELECTRICAL APPARATUS

NºPublicación:  WO2025222456A1 30/10/2025
Solicitante: 
CONTEMPORARY AMPEREX TECH CO LIMITED [CN]
\u5B81\u5FB7\u65F6\u4EE3\u65B0\u80FD\u6E90\u79D1\u6280\u80A1\u4EFD\u6709\u9650\u516C\u53F8
WO_2025222456_PA

Resumen de: WO2025222456A1

A battery cell (100), a battery (1000), and an electrical apparatus (2000). The battery cell (100) comprises: an electrode assembly (20), the electrode assembly (20) comprising, arranged in a stacked configuration, a plurality of electrode sheets and a separator. In the stacking direction, the plurality of electrode sheets at least comprise a first electrode sheet (21) and a second electrode sheet (22) which are located at two opposite ends in the stacking direction, the second electrode sheet (22) comprising a main body part (221) and tabs (222). The side of the second electrode sheet (22) facing away from the first electrode sheet (21) is provided with a protection member (25), the protection member (25) covering at least a portion of the main body part (221) of the second electrode sheet (22) and extending to at least one edge of the main body part (221).

ELECTRODE FOR LITHIUM ION BATTERIES, AND LITHIUM ION BATTERY

NºPublicación:  US2025337021A1 30/10/2025
Solicitante: 
SUMITOMO SEIKA CHEMICALS CO LTD [JP]
SUMITOMO SEIKA CHEMICALS CO., LTD
US_2025337021_PA

Resumen de: US2025337021A1

An electrode for lithium ion batteries, containing a sulfonic acid compound which contains a sulfonate anion represented by the following Formula (1) and a Ni cation, R—SO3− (1), in the Formula (1), R represents an alkyl group, an alkenyl group, an alkynyl group, an aryl group or the like, in which the electrode contains a positive electrode active material layer, and the positive electrode active material layer contains, as a positive electrode active material, LizNi(1-x-y)CoxMyO2, in which 0≤x≤0.40, 0≤y≤0.40, 0.90≤z≤1.20, and M is at least one element selected from the group consisting of Mn, V, Mg, Mo, Nb, and Al.

CELL AND LITHIUM BATTERY USING THE SAME

NºPublicación:  US2025337116A1 30/10/2025
Solicitante: 
EVE POWER CO LTD [CN]
EVE POWER CO., LTD
US_2025337116_A1

Resumen de: US2025337116A1

Provided in the present disclosure is a cell, including a positive electrode sheet, a composite separator and a negative electrode sheet provided in sequence. The positive electrode sheet includes a first positive electrode active coating. The negative electrode sheet includes a first negative electrode active coating. The composite separator includes a positive-side porous active layer and a negative-side porous active layer. The positive-side porous active layer includes a non-adhesive polymer C1. The negative-side porous active layer includes a non-adhesive polymer C2. A compaction density of the first positive electrode active coating is 2.05-3.60 g/cm3. A compaction density of the first negative electrode active coating is 1.40-1.85 g/cm3. Composite of the positive electrode sheet and the composite separator is realized by press-fit processing I. Composite of the negative electrode sheet and the composite separator is realized by press-fit processing II.

Battery Cell, Battery Module Including Battery Cell, and Sealing Device

NºPublicación:  US2025337099A1 30/10/2025
Solicitante: 
LG ENERGY SOLUTION LTD [KR]
LG Energy Solution, Ltd
US_2025337099_PA

Resumen de: US2025337099A1

A battery cell includes an electrode assembly and a pouch case for sealing the electrode assembly together with an electrolyte, wherein the pouch case includes a receiving portion in which the electrode assembly is accommodated; and a sealing portion disposed on the perimeter of the receiving portion to seal the electrode assembly, wherein the sealing portion includes a strong sealing section and a weak sealing section, wherein the weak sealing section forms a venting path in the sealing portion, and wherein the venting path includes an inlet located on the inner surface of the sealing portion connected to the receiving portion and an outlet located on the outer surface of the sealing portion integrally connected to the inlet.

SEPARATOR FOR RECHARGEABLE LITHIUM BATTERY AND RECHARGEABLE LITHIUM BATTERY INCLUDING THE SAME

NºPublicación:  US2025337103A1 30/10/2025
Solicitante: 
SAMSUNG SDI CO LTD [KR]
SAMSUNG SDI CO., LTD
US_2025337103_PA

Resumen de: US2025337103A1

Examples of the present disclosure include a separator for a rechargeable lithium battery, and a rechargeable lithium battery including the separator. The separator for a rechargeable lithium battery includes a porous substrate, and a coating layer on at least one surface of the porous substrate. The coating layer includes a cross-linked product of a binder, a cross-linking agent, and carboxyalkyl cellulose or a salt thereof, and a filler. The binder includes a (meth)acryl-based binder including a first structural unit derived from (meth)acrylamide and a second structural unit derived from (meth)acrylamido sulfonic acid or a salt thereof. The cross-linking agent includes one or more of an aziridine-based cross-linking agent and a carbodiimide-based cross-linking agent.

POSITIVE ELECTRODE ACTIVE MATERIAL FOR RECHARGEABLE LITHIUM BATTERY, POSITIVE ELECTRODE INCLUDING THE SAME, AND RECHARGEABLE LITHIUM BATTERY INCLUDING THE SAME

NºPublicación:  US2025336970A1 30/10/2025
Solicitante: 
SAMSUNG SDI CO LTD [KR]
Samsung SDI Co., Ltd
US_2025336970_PA

Resumen de: US2025336970A1

A positive electrode for a rechargeable lithium battery and a rechargeable lithium battery including the same are provided. A positive electrode for a rechargeable lithium battery includes a current collector, a first active material layer on the current collector, and a second active material layer on the first active material layer. The first active material layer includes a first particle in the form of a single particle, and the second active material layer includes a second particle in the form of a secondary particle. The first particle includes a compound of Formula 1, and the second particle includes a compound of Formula 2, provided herein.

BATTERY AND METHOD FOR MANUFACTURING THE BATTERY

NºPublicación:  US2025337003A1 30/10/2025
Solicitante: 
SAMSUNG SDI CO LTD [KR]
SAMSUNG SDI CO., LTD
US_2025337003_A1

Resumen de: US2025337003A1

A battery may include an electrode assembly including electrodes and a body cup that includes a first reference wall and a first sidewall provided adjacent to the first reference wall, with the body cup having an open end and the body cup accommodating the electrode assembly. The battery also includes a cover cup that includes a second reference wall and a second sidewall provided adjacent to the second reference wall. The cover cup has an open end and is accommodated in the body cup such that the second reference wall closes the open end of the body cup. At least a portion of the first sidewall and at least a portion of the second sidewall are joined to form a flange.

POSITIVE ELECTRODE ACTIVE MATERIAL FOR RECHARGEABLE LITHIUM BATTERY, POSITIVE ELECTRODE INCLUDING THE SAME, AND RECHARGEABLE LITHIUM BATTERY INCLUDING THE SAME

NºPublicación:  US2025336967A1 30/10/2025
Solicitante: 
SAMSUNG SDI CO LTD [KR]
SAMSUNG SDI CO., LTD
US_2025336967_PA

Resumen de: US2025336967A1

Provided are a positive electrode for a rechargeable lithium battery and a rechargeable lithium battery including the same, and for example, a positive electrode for a rechargeable lithium battery, including a current collector, a first positive electrode active material layer on the current collector, and a second positive electrode active material layer on the first positive electrode active material layer. The first positive electrode active material layer includes a first particle having an olivine structure, and a second particle having a layered structure, and the second positive electrode active material layer includes a third particle having an olivine structure. The first particle is a single particle, the third particle is in the form of a secondary particle in which a plurality of third primary particles are aggregated, and the second particle has a greater average particle diameter than each of the first particle and the third particle.

METHOD OF PREPARING POSITIVE ELECTRODE ACTIVE MATERIAL FOR LITHIUM SECONDARY BATTERY

Nº publicación: US2025336966A1 30/10/2025

Solicitante:

ECOPRO BM CO LTD [KR]
ECOPRO BM CO., LTD

US_2025336966_A1

Resumen de: US2025336966A1

The present specification relates to a method of preparing a positive electrode active material for a lithium secondary battery, and more particularly, to a positive electrode active material for a lithium secondary battery with excellent electrical conductivity and energy density, a preparation method thereof, and a positive electrode and a secondary battery including the same.

traducir