Ministerio de Industria, Turismo y Comercio LogoMinisterior
 

Alerta

Resultados 1532 resultados
LastUpdate Última actualización 18/03/2026 [07:26:00]
pdfxls
Publicaciones de los últimos 15 días/Last 15 days publications (excluidas pubs. CN y JP /CN and JP pubs. excluded)
previousPage Resultados 850 a 875 de 1532 nextPage  

BATTERY CELL AND PREPARATION METHOD THEREFOR, BATTERY DEVICE, AND ELECTRIC DEVICE

NºPublicación:  WO2026045274A1 05/03/2026
Solicitante: 
CONTEMPORARY AMPEREX TECH CO LIMITED [CN]
\u5B81\u5FB7\u65F6\u4EE3\u65B0\u80FD\u6E90\u79D1\u6280\u80A1\u4EFD\u6709\u9650\u516C\u53F8
WO_2026045274_A1

Resumen de: WO2026045274A1

Disclosed in the present application are a battery cell and a preparation method therefor, a battery device, and an electric device. The battery cell comprises: a first electrolyte, which comprises a carbonate solvent; and a negative-electrode composite electrode sheet, which comprises a negative electrode sheet and a solid-state electrolyte film, wherein the solid-state electrolyte film is located on a surface of the negative-electrode composite electrode sheet, the negative-electrode composite electrode sheet is formed by subjecting the negative electrode sheet to a film-forming treatment in a second electrolyte so as to form the solid-state electrolyte film on the surface of the negative electrode sheet, and the second electrolyte comprises one or more of an ether solvent and a sulfone solvent.

SECONDARY BATTERY AND ELECTRICAL DEVICE

NºPublicación:  WO2026045226A1 05/03/2026
Solicitante: 
CONTEMPORARY AMPEREX TECH CO LIMITED [CN]
\u5B81\u5FB7\u65F6\u4EE3\u65B0\u80FD\u6E90\u79D1\u6280\u80A1\u4EFD\u6709\u9650\u516C\u53F8
WO_2026045226_PA

Resumen de: WO2026045226A1

The present disclosure provides a secondary battery and an electrical device. The secondary battery comprises a negative electrode sheet. The negative electrode sheet comprises a negative electrode current collector and a negative electrode film layer formed on at least one surface of the negative electrode current collector. The negative electrode film layer comprises a first region and a second region. The first region is located between the second region and the negative electrode current collector. The first region comprises a first negative electrode active material. The second region comprises a second negative electrode active material. A powder OI value of the second negative electrode active material is less than a powder OI value of the first negative electrode active material. The first negative electrode active material comprises a first artificial graphite having an La(110) of 130-175 nm and an Lc(002) of 30-42 nm.

HEAT TRANSFER SUPPRESSION SHEET, METHOD FOR PRODUCING SAME, AND BATTERY PACK

NºPublicación:  WO2026048347A1 05/03/2026
Solicitante: 
IBIDEN CO LTD [JP]
\u30A4\u30D3\u30C7\u30F3\u682A\u5F0F\u4F1A\u793E
WO_2026048347_PA

Resumen de: WO2026048347A1

Provided is a heat transfer suppression sheet that has exceptional heat insulation performance and is capable of absorbing deformation of a battery cell to suppress any decrease in battery performance and maintaining exceptional compression restoration force, thereby making it possible to prevent positional deviation and ensure exceptional heat insulation performance even when an abnormality occurs. A heat transfer suppression sheet (10) comprises: a heat-insulating material (11) that contains inorganic particles and at least one of organic fibers and inorganic fibers, the heat-insulating material (11) having a first main surface (21) and a second main surface (22) that constitute a pair; and an elastic body (12) that is layered in the thickness direction of the heat-insulating material (11). The second main surface (22) of the heat-insulating material (11) is disposed facing the elastic body (12). The maximum height Sz2 representing the surface roughness of the second main surface (22) is greater than the maximum height Sz1 representing the surface roughness of the first main surface (21).

NON-AQUEOUS ELECTROLYTE SOLUTION AND LITHIUM-ION SECONDARY BATTERY

NºPublicación:  WO2026048415A1 05/03/2026
Solicitante: 
TDK CORP [JP]
\uFF34\uFF24\uFF2B\u682A\u5F0F\u4F1A\u793E
WO_2026048415_PA

Resumen de: WO2026048415A1

A non-aqueous electrolyte solution according to the present embodiment comprises lithium hexafluorophosphate, lithium bis(fluorosulfonyl)imide, and lithium nitrate. In the non-aqueous electrolyte according to the present embodiment, the molar ratio of the lithium nitrate to the molar ratio of the lithium hexafluorophosphate is 0.01-0.15, and the molar ratio of the lithium bis(fluorosulfonyl)imide to the molar ratio of the lithium hexafluorophosphate is 0.1-1.0.

BATTERY COVER PLATE, BATTERY, BATTERY PACK AND ELECTRICAL DEVICE

NºPublicación:  WO2026045156A1 05/03/2026
Solicitante: 
BYD COMPANY LTD [CN]
\u6BD4\u4E9A\u8FEA\u80A1\u4EFD\u6709\u9650\u516C\u53F8
WO_2026045156_PA

Resumen de: WO2026045156A1

Provided in the present disclosure are a battery cover plate, a battery, a battery pack and an electrical device, belonging to the technical field of batteries. The battery cover plate comprises a cover plate body, a connecting structure being used for connecting the cover plate body and a tab of a battery. The current carrying area of the connecting structure is not less than the ratio of the current carrying capacity of the connecting structure to the current carrying coefficient of the connecting structure. The present disclosure enables the current carrying area corresponding to the cover plate body to be reasonably designed on the basis of current values of different batteries, thus helping to reduce the manufacturing cost of the cover plate body.

HEAT-ABSORBING MATERIAL AND PREPARATION METHOD THEREFOR, HEAT-ABSORBING PART, BATTERY ASSEMBLY AND ELECTRIC DEVICE

NºPublicación:  WO2026045150A1 05/03/2026
Solicitante: 
BYD COMPANY LTD [CN]
\u6BD4\u4E9A\u8FEA\u80A1\u4EFD\u6709\u9650\u516C\u53F8
WO_2026045150_PA

Resumen de: WO2026045150A1

Provided in the present application are a heat-absorbing material and a preparation method therefor, a heat-absorbing part, a battery assembly and an electric device. The heat-absorbing material comprises a carrier, an entrainer and a phase-change component, wherein the phase-change component and the entrainer form a negative azeotrope. The entrainer and the phase-change component in the heat-absorbing material of the present application form a negative azeotrope, such that the phase-change component undergoes phase change when the temperature is lower than the phase-change temperature of the phase-change component, thereby absorbing heat, realizing a heat-absorbing effect, improving the heat-absorbing response speed of the heat-absorbing material, and further improving the usage safety of the battery assembly.

BATTERY PACK AND ELECTRIC APPARATUS

NºPublicación:  WO2026045969A1 05/03/2026
Solicitante: 
BYD CO LTD [CN]
\u6BD4\u4E9A\u8FEA\u80A1\u4EFD\u6709\u9650\u516C\u53F8
WO_2026045969_PA

Resumen de: WO2026045969A1

Provided in the present application are a battery pack and an electric apparatus. The battery pack comprises: a housing defining an accommodating cavity; and an energy storage device arranged in the accommodating cavity, wherein the energy storage device comprises: a packaging film, a cell module and an encapsulation layer; the cell module comprises a plurality of solid-state cells arranged side by side in a first direction and electrically connected to each other, electrical connection parts of the plurality of solid-state cells being covered by means of the encapsulation layer; the packaging film wraps the cell module; and the cell module further has a first connection terminal and a second connection terminal which extend from the packaging film. In the battery pack of the present application, the electrical connection parts of the plurality of solid-state cells of the cell module are fixed by means of the encapsulation layer, then the entire cell module is packaged by the packaging film, such that the formed battery pack has only one packaging film. More solid-state cells can be accommodated in the battery pack, thereby improving the utilization rate of the internal space of the battery pack, and thus improving the energy density of the battery pack.

HEAT EXCHANGE ASSEMBLY, BATTERY DEVICE, ENERGY STORAGE DEVICE, AND ELECTRICAL DEVICE

NºPublicación:  WO2026045924A1 05/03/2026
Solicitante: 
CONTEMPORARY AMPEREX TECH CO LIMITED [CN]
\u5B81\u5FB7\u65F6\u4EE3\u65B0\u80FD\u6E90\u79D1\u6280\u80A1\u4EFD\u6709\u9650\u516C\u53F8
WO_2026045924_PA

Resumen de: WO2026045924A1

Embodiments of the present disclosure provide a heat exchange assembly, a battery device, an energy storage device, and an electrical device. The battery device comprises a housing, a battery cell assembly, and a heat exchange assembly. The battery cell assembly is arranged in the housing. The heat exchange assembly comprises at least two heat exchange members. At least one heat exchange member is configured as a flexible member. The at least two heat exchange members are stacked, and at least one medium flow channel is formed between the heat exchange members. The at least one medium flow channel is used to conduct a heat exchange medium. The heat exchange medium is used to perform heat exchange with the battery cell assembly. The heat exchange assembly of the battery device provided in the embodiments of the present disclosure comprises a flexible member. The mass of the flexible member is relatively light, thereby reducing the mass of the heat exchange assembly and reducing the production cost of the heat exchange assembly. In addition, this configuration enables the heat exchange assembly to be better fitted to the housing and/or the battery cell assembly, thereby improving the heat exchange efficiency and heat exchange performance of the heat exchange assembly.

ELECTROCHEMICAL DEVICE AND ELECTRONIC DEVICE

NºPublicación:  WO2026045770A1 05/03/2026
Solicitante: 
NINGDE AMPEREX TECH LIMITED [CN]
\u5B81\u5FB7\u65B0\u80FD\u6E90\u79D1\u6280\u6709\u9650\u516C\u53F8
WO_2026045770_A1

Resumen de: WO2026045770A1

An electrochemical device and an electronic device. The electrochemical device comprises a negative electrode sheet and an electrolyte; the negative electrode sheet comprises a negative electrode material layer, the negative electrode material layer comprises a silicon-carbon negative electrode material, the silicon-carbon negative electrode material comprises a doped element, and the doped element includes at least one of B, P, or S; the electrolyte comprises a compound of formula I and fluoroethylene carbonate. The electrolyte simultaneously comprising the compound of formula (I) and fluoroethylene carbonate is applied to the electrochemical device, thereby improving the cycle performance and energy density of the electrochemical device.

TEMPERATURE CONTROL SYSTEM, METHOD AND DEVICE FOR BATTERY PACK, STORAGE MEDIUM, AND VEHICLE

NºPublicación:  WO2026045740A1 05/03/2026
Solicitante: 
BYD COMPANY LTD [CN]
\u6BD4\u4E9A\u8FEA\u80A1\u4EFD\u6709\u9650\u516C\u53F8
WO_2026045740_PA

Resumen de: WO2026045740A1

The present invention relates to the technical field of new energy vehicles. Disclosed are a temperature control system, method and device for a battery pack, a storage medium, and a vehicle. The temperature control system comprises a temperature control component, and the battery pack comprises two battery modules. When an abnormal temperature fault occurs in one of the battery modules, power is supplied by means of the other battery module, and the battery pack is cooled by means of the temperature control component.

POSITIVE ELECTRODE SHEET, SOLID-STATE BATTERY CELL, BATTERY DEVICE, ELECTRIC DEVICE, AND POSITIVE ELECTRODE ACTIVE MATERIAL AND PREPARATION METHOD THEREFOR

NºPublicación:  WO2026045270A1 05/03/2026
Solicitante: 
CONTEMPORARY AMPEREX TECH CO LIMITED [CN]
\u5B81\u5FB7\u65F6\u4EE3\u65B0\u80FD\u6E90\u79D1\u6280\u80A1\u4EFD\u6709\u9650\u516C\u53F8
WO_2026045270_A1

Resumen de: WO2026045270A1

Provided in the present disclosure are a positive electrode sheet, a solid-state battery cell, a battery device, an electric device, and a positive electrode active material and a preparation method therefor. The positive electrode sheet comprises a positive electrode active material and a sulfide solid-state electrolyte material, wherein the positive electrode active material comprises a substrate material, a cobalt-rich material located on the surface of the substrate material and a coating material located on at least part of the surface of the cobalt-rich material; the substrate material comprises a transition metal oxide, the cobalt-rich material comprises a Co-containing transition metal oxide, and the molar content of Co in the cobalt-rich material is greater than that of Co in the substrate material; and the coating material comprises an electrolyte salt material. When applied to a solid-state battery cell, the positive electrode sheet can reduce the capacity fade rate of the solid-state battery cell at high temperatures and improve the high-temperature cycle performance of the solid-state battery cell.

SECONDARY BATTERY AND ELECTRIC DEVICE

NºPublicación:  WO2026045224A1 05/03/2026
Solicitante: 
CONTEMPORARY AMPEREX TECHNOLOGY CO LTD [CN]
\u5B81\u5FB7\u65F6\u4EE3\u65B0\u80FD\u6E90\u79D1\u6280\u80A1\u4EFD\u6709\u9650\u516C\u53F8
WO_2026045224_PA

Resumen de: WO2026045224A1

A secondary battery and an electric device. The secondary battery comprises a negative electrode sheet; the negative electrode sheet comprises a negative electrode current collector and a negative electrode film layer located on at least one surface of the negative electrode current collector; the negative electrode film layer comprises a first area and a second area; the second area is located between the first area and the negative electrode current collector; the first area comprises a first negative electrode active material; the second area comprises a second negative electrode active material; the first negative electrode active material comprises a substrate and a carbon coating layer formed on at least partial surface of the substrate; thermogravimetric analysis testing is performed on the first negative electrode active material in an air atmosphere; an initial weight loss temperature T0 of the first negative electrode active material is 730°C-780°C; and the gram capacity of the second negative electrode active material is 357.0 mAh/g or above.

HEAT EXCHANGE ASSEMBLY, BATTERY DEVICE, ELECTRIC APPARATUS AND ENERGY STORAGE APPARATUS

NºPublicación:  WO2026045216A1 05/03/2026
Solicitante: 
CONTEMPORARY AMPEREX TECH CO LIMITED [CN]
\u5B81\u5FB7\u65F6\u4EE3\u65B0\u80FD\u6E90\u79D1\u6280\u80A1\u4EFD\u6709\u9650\u516C\u53F8
WO_2026045216_PA

Resumen de: WO2026045216A1

Provided in the embodiments of the present disclosure are a heat exchange assembly, a battery device, an electric apparatus and an energy storage apparatus. The battery device comprises a case assembly, a battery cell assembly and a heat exchange assembly. The case assembly has an accommodating cavity therein. The battery cell assembly is arranged in the accommodating cavity. The heat exchange assembly is arranged in the accommodating cavity. The heat exchange assembly comprises at least two flexible members, which are arranged in a stacked manner; and a heat exchange flow channel is formed between the flexible members and configured for conduction of a heat exchange medium, which is configured for heat exchange with the battery cell assembly.

LITHIUM-ION BATTERY AND PREPARATION METHOD THEREFOR, AND ELECTRIC DEVICE

NºPublicación:  WO2026045147A1 05/03/2026
Solicitante: 
BYD COMPANY LTD [CN]
\u6BD4\u4E9A\u8FEA\u80A1\u4EFD\u6709\u9650\u516C\u53F8
WO_2026045147_PA

Resumen de: WO2026045147A1

A lithium-ion battery and a preparation method therefor, and an electric device. The lithium-ion battery comprises: a negative electrode sheet, wherein the negative electrode sheet comprises a negative electrode active material and a solid electrolyte interface layer, the solid electrolyte interface layer comprises a first film layer and a second film layer, the first film layer covers at least part of the surface of the negative electrode active material, and the second film layer covers at least part of the surface of the side of the first film layer away from the negative electrode active material; and the oxygen content of the second film layer is greater than the oxygen content of the first film layer. The solid electrolyte interface layer in the lithium-ion battery has a double-layer structure and strong stability, and can reduce active lithium loss and lithium ion transmission impedance during cycling, thereby improving the cycle stability of the battery.

BATTERY ASSEMBLY AND POWER APPARATUS

NºPublicación:  WO2026045137A1 05/03/2026
Solicitante: 
BYD COMPANY LTD [CN]
\u6BD4\u4E9A\u8FEA\u80A1\u4EFD\u6709\u9650\u516C\u53F8
WO_2026045137_PA

Resumen de: WO2026045137A1

A power apparatus, comprising a battery assembly. The battery assembly comprises Q battery units arranged in sequence, wherein a heat-absorbing member is provided between any two adjacent battery units, each battery unit comprises N cells arranged in sequence, Q≥2, and N≥1. By controlling the mass of a heat-absorbing member to satisfy a relational expression defined in the present application, it can be ensured that the heat-absorbing member can effectively suppress thermal diffusion from a cell undergoing thermal runaway, without significantly reducing the space utilization rate of the battery assembly.

INSULATING LAYER, INSULATING FILM, CURING BONDING METHOD, BATTERY PACK AND ELECTRIC DEVICE

NºPublicación:  WO2026045142A1 05/03/2026
Solicitante: 
BYD CO LTD [CN]
\u6BD4\u4E9A\u8FEA\u80A1\u4EFD\u6709\u9650\u516C\u53F8
WO_2026045142_PA

Resumen de: WO2026045142A1

The present application relates to the technical field of batteries. Specifically disclosed are an insulating layer, an insulating film, a curing bonding method, a battery pack and an electric device. The insulating layer comprises: an insulating base film layer; and a curing layer, wherein the curing layer is disposed on at least part of a surface of the insulating base film layer, and the curing layer comprises a bonding material. The bonding material comprises at least one of a compound as represented by formula I and a compound as represented by formula II, wherein R1 and R2 are respectively (III) or (IV); M is a group formed by means of a reaction from a curing agent into the compound as represented by formula I; Q1 is a group formed by means of a reaction from a first active monomer into the compound represented by formula I; Q2 is a group formed by means of a reaction from a second active monomer into the compound as represented by formula II; and Q3 is a group formed by means of a reaction from a third active monomer into the compound as represented by formula II. The insulating layer provided in the present application can provide reliable high-temperature (500°C) insulation protection for a metal component of a battery pack. In addition, the insulating layer of the present application has great bonding performance to a metal component of a battery pack.

COMPOSITE SODIUM IRON PHOSPHATE AND PRECURSOR THEREOF, PREPARATION METHOD, AND BATTERY

NºPublicación:  WO2026045756A1 05/03/2026
Solicitante: 
GUANGZHOU TINCI MATERIALS TECH CO LTD [CN]
\u5E7F\u5DDE\u5929\u8D50\u9AD8\u65B0\u6750\u6599\u80A1\u4EFD\u6709\u9650\u516C\u53F8
WO_2026045756_PA

Resumen de: WO2026045756A1

The present invention relates to the technical field of battery materials. Disclosed are a composite sodium iron phosphate material and a precursor thereof, and a preparation method. The chemical formula of the composite sodium iron phosphate material is Na4Fex(PO4)2(P2O7)/C, wherein 2.92≤x≤3; the degree of crystallinity of the composite sodium iron phosphate material is C0≥3.895. The precursor is prepared by means of a specific iron source (ammonium ferrous phosphate, ferric oxalate, or ferric citrate). During the preparation of the precursor, no carbon source is added. During the preparation of the composite sodium iron phosphate material from the precursor, a carbon source and a sodium source are added and the mixture is sintered to obtain the composite sodium iron phosphate material having high compaction density. In addition, the composite sodium iron phosphate material has good electrochemical performance. The present invention further claims a battery comprising the composite sodium iron phosphate material.

BATTERY CELL, BATTERY DEVICE, AND ELECTRIC DEVICE

NºPublicación:  WO2026045672A1 05/03/2026
Solicitante: 
CONTEMPORARY AMPEREX TECH CO LIMITED [CN]
\u5B81\u5FB7\u65F6\u4EE3\u65B0\u80FD\u6E90\u79D1\u6280\u80A1\u4EFD\u6709\u9650\u516C\u53F8
WO_2026045672_PA

Resumen de: WO2026045672A1

Provided in the present application are a battery cell, a battery device, and an electric device. The battery cell comprises a housing, an electrode assembly, a blocking member, and a temperature measurement unit. The housing has an accommodating space, the housing comprising a first wall portion, the first wall portion having a through hole, and the through hole being in communication with the accommodating space. The electrode assembly is accommodated in the accommodating space. The blocking member blocks the through hole, and the blocking member comprises an extension portion extending into the accommodating space. The temperature measurement unit is disposed on the extension portion. The blocking member blocks the through hole, so that the accommodating space can be sealed. By arranging the temperature measurement unit on the extension portion of the blocking member extending into the accommodating space, the temperature measurement unit can be closer to the electrode assembly located in the accommodating space, thereby reducing the lag time for the temperature measurement unit to measure the internal temperature of the battery cell, enabling the temperature measurement unit to more quickly reflect the internal temperature of the battery cell, facilitating temperature monitoring of the battery cell, reducing the risk of thermal runaway of the battery cell due to temperature imbalance, and improving the reliability of the battery cell.

SECONDARY BATTERY AND ELECTRONIC DEVICE

NºPublicación:  WO2026045624A1 05/03/2026
Solicitante: 
NINGDE AMPEREX TECH LIMITED [CN]
\u5B81\u5FB7\u65B0\u80FD\u6E90\u79D1\u6280\u6709\u9650\u516C\u53F8
WO_2026045624_PA

Resumen de: WO2026045624A1

A secondary battery and an electronic device. The secondary battery comprises a metal housing, a wound electrode assembly, a first tab, and a first layer. The housing comprises a first wall and a first conductive member provided on the first wall. The first tab comprises a first extension segment, a second extension segment, and a third extension segment. The first extension segment comprises a first end connected to a first electrode sheet. The first extension segment extends from the first end toward a first side in a thickness direction of the electrode assembly and is inclined relative to the thickness direction. The second extension segment comprises a second end connected to the first extension segment. Viewed in a third direction, the second extension segment extends from the second end toward the first side and is inclined relative to the thickness direction. The third extension segment is electrically connected to the first conductive member and comprises a third end connected to the second extension segment. The distance between the third end and the first wall is greater than the distance between the second end and the first wall. The first layer is disposed on a surface of the second extension segment facing the electrode assembly and extends to the first extension segment and the third extension segment. Reliability and service life can be improved.

NEGATIVE ELECTRODE SHEET, SECONDARY BATTERY, ELECTRIC DEVICE, AND NEGATIVE ELECTRODE ACTIVE MATERIAL AND PREPARATION METHOD THEREFOR

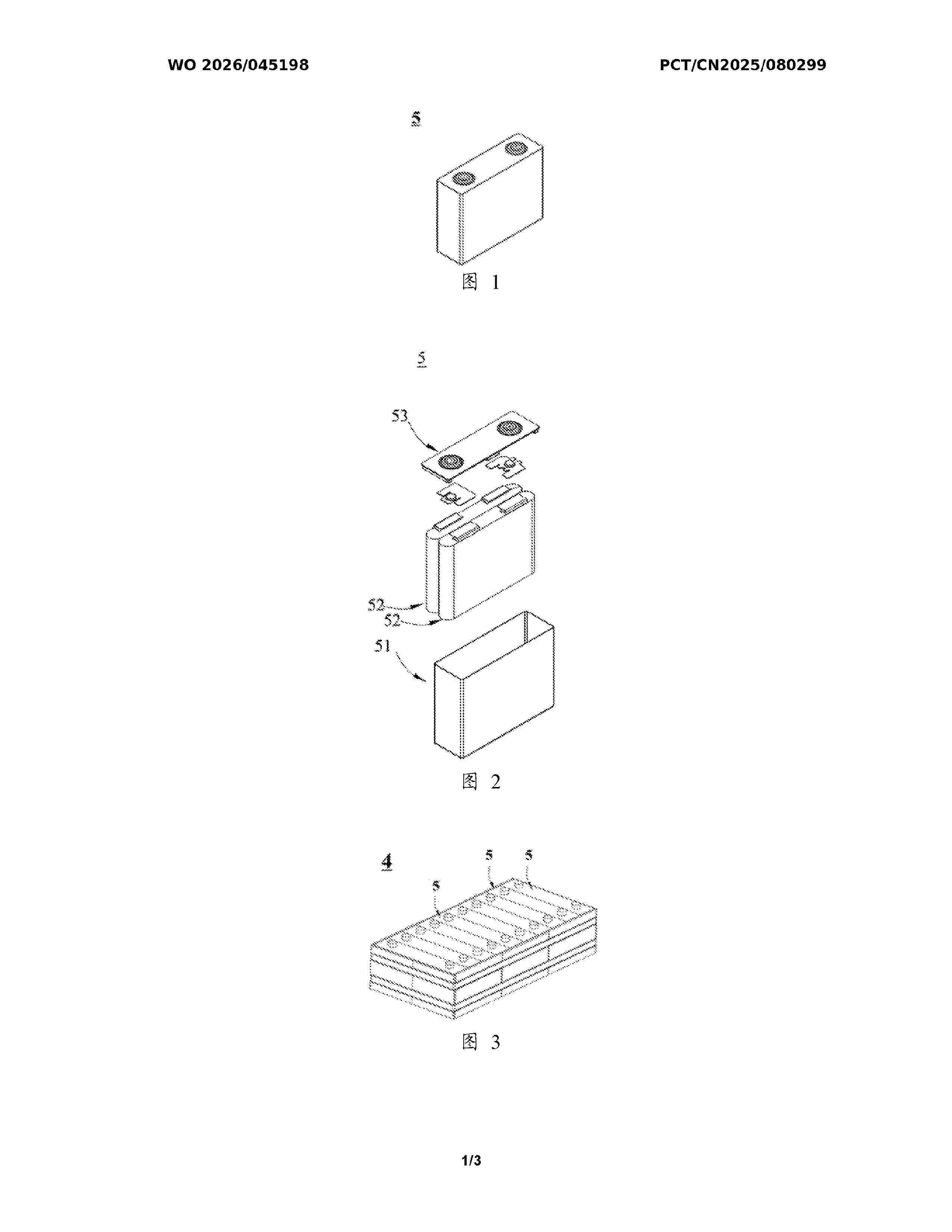
NºPublicación:  WO2026045198A1 05/03/2026
Solicitante: 
CONTEMPORARY AMPEREX TECH CO LIMITED [CN]
\u5B81\u5FB7\u65F6\u4EE3\u65B0\u80FD\u6E90\u79D1\u6280\u80A1\u4EFD\u6709\u9650\u516C\u53F8
WO_2026045198_A1

Resumen de: WO2026045198A1

Provided in the present disclosure are a negative electrode sheet, a secondary battery, an electric device, and a negative electrode active material and a preparation method therefor. The negative electrode sheet comprises a negative electrode current collector and a negative electrode film layer located on at least one surface of the negative electrode current collector, wherein the negative electrode film layer comprises a negative electrode active material. The negative electrode active material comprises first artificial graphite and second artificial graphite, wherein the first artificial graphite comprises primary particles, and the second artificial graphite comprises secondary particles. The powder OI value of the negative electrode active material is 2.5-6.5; and the powder compaction density of the negative electrode active material under a pressure of 50,000 N is 1.75-1.94 g/cc.

THERMAL SUPPRESSION MODULE, BATTERY PACK AND ELECTRONIC DEVICE

NºPublicación:  WO2026045184A1 05/03/2026
Solicitante: 
BYD COMPANY LTD [CN]
\u6BD4\u4E9A\u8FEA\u80A1\u4EFD\u6709\u9650\u516C\u53F8
WO_2026045184_PA

Resumen de: WO2026045184A1

The present disclosure provides a thermal suppression module, a battery pack and an electronic device. The thermal suppression module comprises a composite layer. The composite layer comprises heat insulation layers, heat conduction layers and a heat dissipation layer, wherein the heat conduction layers are arranged on two sides of the heat dissipation layer, and the heat insulation layers are arranged on the sides of the heat conduction layers away from the heat dissipation layer. The thermal suppression module provided by the present disclosure can solve the problem in the prior art that a thermal suppression module is still thick and cannot take into account both the energy density and the effect of suppressing thermal spreading.

SECONDARY BATTERY, NEGATIVE ELECTRODE MATERIAL FOR SECONDARY BATTERY, AND METHOD FOR PRODUCING SAME

NºPublicación:  WO2026048878A1 05/03/2026
Solicitante: 
INST OF SCIENCE TOKYO [JP]
\u56FD\u7ACB\u5927\u5B66\u6CD5\u4EBA\u6771\u4EAC\u79D1\u5B66\u5927\u5B66
WO_2026048878_PA

Resumen de: WO2026048878A1

The present invention addresses the problem of providing a carbon-air secondary battery in which deterioration of a negative electrode (fuel electrode) is suppressed, and which has high charge/discharge efficiency and discharge capacity, has long lifespan, and requires less time and effort for maintenance. A secondary battery 1 has a cell 20 comprising: a negative electrode 21; a positive electrode 22; and an electrolyte 23 which is composed of a gas-impermeable and ion-conductive solid oxide and installed in contact with the negative electrode 21 and the positive electrode 22. During charging, carbon dioxide is electrolyzed on the surface of the negative electrode 21, and carbon is deposited on the negative electrode 21, which is a closed system. A negative electrode material constituting the negative electrode 21 contains a mixed porous body of a metal and/or an oxide thereof and an ion-conductive oxide. The volume ratio of the metal in the mixed porous body is 30% or more, and the negative electrode material contains an oxygen non-stoichiometric oxide.

BATTERY COVER PLATE ASSEMBLY, BATTERY, BATTERY PACK AND ELECTRIC DEVICE

NºPublicación:  WO2026045140A1 05/03/2026
Solicitante: 
BYD CO LTD [CN]
\u6BD4\u4E9A\u8FEA\u80A1\u4EFD\u6709\u9650\u516C\u53F8
WO_2026045140_PA

Resumen de: WO2026045140A1

Provided in the present application are a battery cover plate assembly, a battery and an electric device. The battery cover plate assembly is configured to be mounted to a battery housing of a battery. The battery cover plate assembly comprises a connecting ring, an insulation ring, a cover plate and a limiting structure, wherein the connecting ring is configured to be connected to the battery housing; the insulation ring is connected to the battery housing by means of the connecting ring, and has an annular cavity; the cover plate is connected to the insulation ring, and at least part of the cover plate passes through the annular cavity and is then connected to a tab of the battery; and the limiting structure is located within the battery housing and forms an opening through which the tab passes. The connecting ring is used to reduce the difficulty of connection between the battery housing and the insulation ring; the insulation ring is used to achieve insulation and connection between the cover plate and the battery housing; the cover plate is used to form a positive electrode and a negative electrode of the battery; and the limiting structure is used to guide the mounting of the tab. Moreover, the battery cover plate assembly is easy to mount and has high processing efficiency and high safety, and can solve the problem of a cover plate having many parts and a complex structure and being thus difficult to process and low in processing efficiency.

ELECTRODE CORE, BATTERY, BATTERY PACK, AND ELECTRICAL DEVICE

NºPublicación:  WO2026045109A1 05/03/2026
Solicitante: 
BYD COMPANY LTD [CN]
\u6BD4\u4E9A\u8FEA\u80A1\u4EFD\u6709\u9650\u516C\u53F8
WO_2026045109_PA

Resumen de: WO2026045109A1

The present disclosure relates to the technical field of batteries, and specifically discloses an electrode core, a battery, a battery pack, and an electrical device. The electrode core comprises a main body region and a thinned region connected to each other. The thinned region is arranged on at least one side of the main body region along a first direction, the first direction being the length direction or the width direction of the electrode core. The electrode core further comprises a first adhesive layer. The first adhesive layer is provided on at least a portion of the surface of the thinned region. The first adhesive layer comprises a plurality of sub-adhesive layers, and the plurality of sub-adhesive layers are sequentially stacked along the thickness direction of the first adhesive layer to fill and level a depression in the thinned region. In the present disclosure, the first adhesive layer is provided on the surface of the thinned region, and comprises a plurality of sub-adhesive layers sequentially stacked along the thickness direction of the first adhesive layer to fill and level a depression in the thinned region, thereby achieving perfect fitting between the first adhesive layer and the thinned region of the electrode core.

ENERGY STORAGE CABINET BODY AND ENERGY STORAGE CABINET

Nº publicación: WO2026045099A1 05/03/2026

Solicitante:

EVE ENERGY CO LTD [CN]
EVE ENERGY STORAGE CO LTD [CN]
EVE POWER CO LTD [CN]
\u60E0\u5DDE\u4EBF\u7EAC\u9502\u80FD\u80A1\u4EFD\u6709\u9650\u516C\u53F8,
\u6B66\u6C49\u4EBF\u7EAC\u50A8\u80FD\u6709\u9650\u516C\u53F8,
\u6E56\u5317\u4EBF\u7EAC\u52A8\u529B\u6709\u9650\u516C\u53F8

WO_2026045099_PA

Resumen de: WO2026045099A1

An energy storage cabinet body and an energy storage cabinet. The energy storage cabinet body comprises: a bottom plate; a plurality of first side plates, which are arranged on the periphery of the bottom plate, wherein the plurality of first side plates and the bottom plate jointly define an accommodating cavity, and the accommodating cavity is used for accommodating an electrical element; a bearing member, which is arranged in the accommodating cavity, wherein one side of the bearing member is used for being fixedly connected to the bottom plate, and the other side of the bearing member is used for mounting the electrical element; and a plurality of connecting members, which are arranged on the bottom plate, wherein the bearing member is connected to the bottom plate by means of the connecting members.

traducir