Ministerio de Industria, Turismo y Comercio LogoMinisterior
 

Alerta

Resultados 1601 resultados
LastUpdate Última actualización 20/03/2026 [07:15:00]
pdfxls
Publicaciones de los últimos 15 días/Last 15 days publications (excluidas pubs. CN y JP /CN and JP pubs. excluded)
previousPage Resultados 1225 a 1250 de 1601 nextPage  

ELECTROCHEMICAL APPARATUS AND ELECTRONIC DEVICE

NºPublicación:  WO2026044706A1 05/03/2026
Solicitante: 
NINGDE AMPEREX TECH LIMITED [CN]
\u5B81\u5FB7\u65B0\u80FD\u6E90\u79D1\u6280\u6709\u9650\u516C\u53F8
WO_2026044706_A1

Resumen de: WO2026044706A1

The present application discloses an electrochemical apparatus and an electronic device. A positive electrode active material layer comprises a metal element M, wherein the metal element M comprises at least one of Ca and W. An electrolyte comprises a compound of formula (I). By means of a combination of the compound of formula (I) in the electrolyte and the metal element M in the positive electrode active material, and by selecting content A of the compound of formula (I) and content C of the metal element M to satisfy the conditional expression: 0.1≤A*C/100≤400, the calendar life of the electrochemical apparatus in a high-temperature environment can be improved, and the impedance increase of the electrochemical apparatus in the high-temperature environment during the entire service life can also be mitigated.

ELECTROCHEMICAL APPARATUS AND ELECTRONIC DEVICE

NºPublicación:  WO2026044703A1 05/03/2026
Solicitante: 
NINGDE AMPEREX TECH LIMITED [CN]
\u5B81\u5FB7\u65B0\u80FD\u6E90\u79D1\u6280\u6709\u9650\u516C\u53F8
WO_2026044703_A1

Resumen de: WO2026044703A1

The present application discloses an electrochemical apparatus and an electronic device. An electrolyte of the electrochemical apparatus comprises the compound of formula (I). A positive electrode active material of a positive electrode sheet comprises Mn and Ni. By means of a combination of the compound of formula I in the electrolyte and the metal elements Mn and Ni in the positive electrode active material, and choosing to make the content A of the compound of formula I and the content C of the metal elements Mn and Ni satisfy the conditional expressions 0.1≤A*C/1000≤40 and 500 ppm≤C≤5000 ppm, not only can the initial impedance of the electrochemical apparatus be improved, but the impedance growth rate of the electrochemical apparatus during high-temperature charging-discharging cycles can also be improved.

SECONDARY BATTERY

NºPublicación:  US20260066469A1 05/03/2026
Solicitante: 
SAMSUNG SDI CO LTD [KR]
SAMSUNG SDI CO., LTD
US_20260066469_PA

Resumen de: US20260066469A1

A secondary battery includes an electrode stack having a separator, the separator including a first separator region, a second separator region, a third separator region, and a fourth separator region, a first negative electrode plate between the first separator region and the second separator region, and a first positive electrode plate between the third separator region and the fourth separator region, an insulating tape on a periphery of the electrode stack, and a case receiving the electrode stack and the insulating tape, wherein one side of the second separator region contacts one side of the third separator region.

SECONDARY BATTERY AND BATTERY PACK INCLUDING THE SAME

NºPublicación:  US20260066498A1 05/03/2026
Solicitante: 
SAMSUNG SDI CO LTD [KR]
SAMSUNG SDI CO., LTD
US_20260066498_PA

Resumen de: US20260066498A1

A secondary battery and a battery pack are disclosed. A secondary battery includes a case, an electrode assembly accommodated in the case, a cap plate including a first surface facing the electrode assembly and a second surface opposite the first surface, a terminal protruding outward from the cap plate and connected to the electrode assembly, and a gasket between the cap plate and the terminal and including a first end portion in contact with the cap plate and a second end portion in contact with the terminal, and a creepage distance of the gasket is greater than a distance between the first end portion and the second end portion.

BATTERY RETAINING DEVICE

NºPublicación:  US20260066414A1 05/03/2026
Solicitante: 
SIMPLISAFE INC [US]
SimpliSafe, Inc
US_20260066414_PA

Resumen de: US20260066414A1

A device includes a base and a depressible cover. The base defines a battery opening in which to receive a battery having the form factor of a coin cell The base includes a retainer located proximate to the battery opening. The depressible cover is disposed in the battery opening and is secured in place against the retainer to prevent removal of the battery from the base while the cover is coupled to the base. The cover includes a detent and a body portion, wherein the cover is releasably secured to the base upon engagement of the body portion with the retainer and engagement of the detent with a shoulder of the base.

SELF-SUPPORTING CERAMIC SEPARATOR FOR ELECTROCHEMICAL DEVICE AND ELECTROCHEMICAL DEVICE COMPRISING SAME

NºPublicación:  US20260066462A1 05/03/2026
Solicitante: 
LG ENERGY SOLUTION LTD [KR]
LG ENERGY SOLUTION, LTD
US_20260066462_PA

Resumen de: US20260066462A1

A self-standing ceramic separator and an electrochemical device including the same are provided. The self-standing ceramic separator includes first inorganic particles having a sheet shape and second inorganic particles, which is a zeolite-based inorganic matter, in an appropriate content and arrangement, thereby having an improved heat resistance, and providing improved safety of a battery by preventing an electrical short-circuit between electrodes and a high cell lifespan characteristic.

BATTERY ARRAY END PLATE DESIGNS

NºPublicación:  US20260066418A1 05/03/2026
Solicitante: 
FORD GLOBAL TECH LLC [US]
FORD GLOBAL TECHNOLOGIES, LLC
US_20260066418_PA

Resumen de: US20260066418A1

Battery array end plate designs are disclosed for use within traction battery packs. An exemplary battery array of the traction battery pack may include features that facilitate a battery array assembly process. These features include channels for accommodating a compression fixture, interlocking features (ribs, bumps, pins, etc.) for engaging corresponding features of an array housing, and angled walls for compressing an upper portion of a cell stack during the battery array assembly process.

SECONDARY BATTERY AND METHOD FOR MANUFACTURING SAME

NºPublicación:  US20260066494A1 05/03/2026
Solicitante: 
SAMSUNG SDI CO LTD [KR]
SAMSUNG SDI CO., LTD
US_20260066494_PA

Resumen de: US20260066494A1

A secondary battery includes an electrode assembly, the electrode assembly including a plurality of stacked electrode tabs, a case with an open side, the case accommodating the electrode assembly therein, a cap assembly sealing the open side of the case, the cap assembly comprising an electrode hole, and a current collecting plate connected to the plurality of stacked electrode tabs, the current collecting plate being inserted into and passing through the electrode hole.

TECHNIQUES FOR MANAGING CHARGING OF BATTERIES

NºPublicación:  US20260066688A1 05/03/2026
Solicitante: 
SCHNEIDER ELECTRIC IT CORP [US]
SCHNEIDER ELECTRIC IT CORPORATION
US_20260066688_PA

Resumen de: US20260066688A1

A method is provided, including: (a) providing an initial charging current to a battery; (b) receiving state information about the battery, including: (1) a temperature, (2) a load profile, and (3) a power loss temporal profile including power loss durations and timings of power failure events; (c) determining, based on the state information, a modification, including: (1) in response to detecting that (i) the temperature exceeds a first upper threshold or (ii) the load profile exceeds a second upper threshold, setting the modification to be a decrease in the charging current; and (2) in response to (iii) detecting that the load profile is below a lower threshold or (iv) predicting that the battery won't reach a full charge by a next expected power failure event if the initial charging current is maintained, setting the modification to be an increase in the charging current; and (d) in response to determining the modification, adjusting the charging current provided to the battery based on the determined modification.

Battery Fast-Charging Device and Method

NºPublicación:  US20260066685A1 05/03/2026
Solicitante: 
LG ENERGY SOLUTION LTD [KR]
LG Energy Solution, Ltd
US_20260066685_PA

Resumen de: US20260066685A1

The apparatus and method for fast charging of battery according to aspects of the disclosure may add a compensation current considering the current gain according to initial state of charge of the battery to the existing charge current of the battery obtained by considering only the temperature and real-time state of charge of the battery and supply it to the battery, thereby shortening fast charging time.

BATTERY MANAGEMENT APPARATUS AND METHOD OF CONTROLLING CHARGING/DISCHARGING USING THE SAME

NºPublicación:  US20260066687A1 05/03/2026
Solicitante: 
SAMSUNG SDI CO LTD [KR]
SAMSUNG SDI CO., LTD
US_20260066687_PA

Resumen de: US20260066687A1

A battery management apparatus includes a measuring unit including at least one sensor, the measuring unit configured to measure a cell voltage of each of a plurality of battery cells in a battery module, and a processor configured to adjust a charging threshold voltage or a discharging threshold voltage based on a difference in cell voltage between the plurality of battery cells and a current state of charge (SOC) of the battery module if charging or discharging the battery module.

LITHIUM BATTERY EMERGENCY JUMP STARTER

NºPublicación:  US20260066652A1 05/03/2026
Solicitante: 
NINGBO CHIYUE ELECTRONICS CO LTD [CN]
Ningbo Chiyue Electronics Co., Ltd
US_20260066652_A1

Resumen de: US20260066652A1

The present invention discloses a lithium battery emergency jump starter, comprising a rechargeable lithium battery and a relay controller with a magnetization function. The lithium battery controls output through a switch of a relay with the magnetization function driven by the controller; and when positive and negative poles of the lithium battery emergency jump starter are correctly connected to an automobile, large current can be outputted, and a magnetic field after large current is generated can be optimized for demagnetization. The present invention uses the relay controller with the magnetization function, and a magnetic field after large current is generated can be optimized for demagnetization. A USB socket has automatic insertion and detection functions, and also has circuit design to achieve the functions of zero consumption current, lithium battery bulge detection, three-level temperature detection and protection, etc. to form effective feedback and coping mechanisms.

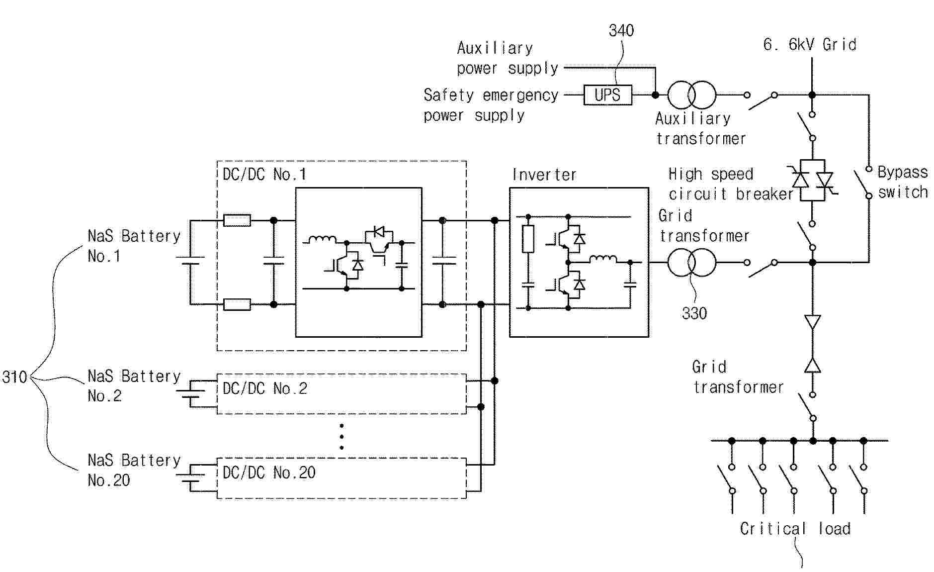
BATTERY SYSTEM SUPPORTING PLURALITY OF OPERATION MODES ACCORDING TO SOC

NºPublicación:  US20260066684A1 05/03/2026
Solicitante: 
STANDARD ENERGY INC [KR]
STANDARD ENERGY INC
US_20260066684_PA

Resumen de: US20260066684A1

The present disclosure relates to a battery system supporting a plurality of operation modes according to the SoC. To this end, the battery system is characterized by comprising: one or more batteries supporting multiple operation modes for power storage or supply according to the state of charge (SoC); and a controller which determines an operation mode of the batteries among the plurality of operation modes according to the power supply state of a grid and the SoC of the batteries, wherein the batteries include a battery supporting an uninterrupted power supply (UPS) mode at an SoC at or below a first standard.

SECONDARY BATTERY AND ELECTRONIC DEVICE

NºPublicación:  WO2026045662A1 05/03/2026
Solicitante: 
NINGDE AMPEREX TECH LIMITED [CN]
DONGGUAN AMPEREX TECH LIMITED [CN]
\u5B81\u5FB7\u65B0\u80FD\u6E90\u79D1\u6280\u6709\u9650\u516C\u53F8,
\u4E1C\u839E\u65B0\u80FD\u6E90\u79D1\u6280\u6709\u9650\u516C\u53F8
WO_2026045662_PA

Resumen de: WO2026045662A1

Disclosed in the present application are a secondary battery and an electronic device. The secondary battery comprises a packaging bag, an electrode assembly, an electrical connector, a first insulation member and a second insulation member. The electrode assembly is located in the packaging bag, the electrode assembly comprises a main body and a tab assembly, the tab assembly comprises a plurality of tabs, and the electrical connector is located outside the packaging bag and is electrically connected to the tab assembly. The tab assembly comprises a first portion and a second portion, the first portion extending from the main body and being connected to the second portion, and the second portion being bent towards the main body, forming a weld mark with the electrical connector, and comprising a first surface and a second surface. The first insulation member covers the weld mark, the second insulation member is located on one side of the tab assembly in the direction of thickness, and the second insulation member extends from the first surface of the second portion through the first portion to the main body. The thickness of the first insulation member is T1, and the thickness of the second insulation member is T2, wherein T1>T2, 25μm≤T1≤60μm, and T2≥4μm, satisfying requirements of both safety performance and drop resistance of the secondary battery.

BATTERY CELL AND BATTERY SYSTEM

NºPublicación:  WO2026045584A1 05/03/2026
Solicitante: 
BYD COMPANY LTD [CN]
\u6BD4\u4E9A\u8FEA\u80A1\u4EFD\u6709\u9650\u516C\u53F8
WO_2026045584_PA

Resumen de: WO2026045584A1

A battery cell and a battery system. The battery cell comprises a first tab, a first electrode sheet and a first switching member, wherein the first electrode sheet can lead out an electrode by means of the first tab; within a first temperature range, the first switching member has a first form, and the first tab is conductively connected to the first electrode sheet; and within a second temperature range, the first switching member has a second form, and the first tab is non-conductively connected to the first electrode sheet.

DEHUMIDIFICATION CONTROL METHOD AND APPARATUS FOR ENERGY STORAGE CABINET, AND ELECTRONIC DEVICE AND STORAGE MEDIUM

NºPublicación:  WO2026045504A1 05/03/2026
Solicitante: 
EVE ENERGY STORAGE CO LTD [CN]
\u6B66\u6C49\u4EBF\u7EAC\u50A8\u80FD\u6709\u9650\u516C\u53F8
WO_2026045504_PA

Resumen de: WO2026045504A1

A dehumidification control method and apparatus for an energy storage cabinet, and an electronic device and a storage medium. The method comprises: establishing a system model of an energy storage cabinet (S101); on the basis of preset airflow requirement parameters, and dehumidification parameters of a dehumidifier, performing simulation on the mounting position of the dehumidifier in the energy storage cabinet, so as to determine a target mounting position of the dehumidifier (S102); mounting the dehumidifier at the target mounting position (S103); mounting temperature and humidity sensors in preset sensor areas and at the target mounting position, and measuring the temperature and humidity (S104); and on the basis of the measured temperature and humidity, and parameters of a psychrometric chart under the standard atmospheric pressure, controlling the dehumidifier to operate (S105).

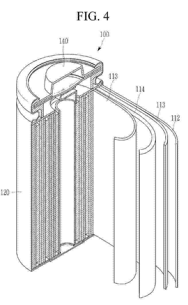
CYLINDRICAL SECONDARY BATTERY AND ELECTRICAL DEVICE

NºPublicación:  WO2026044682A1 05/03/2026
Solicitante: 
NINGDE AMPEREX TECHNOLOGY LTD [CN]
\u5B81\u5FB7\u65B0\u80FD\u6E90\u79D1\u6280\u6709\u9650\u516C\u53F8
WO_2026044682_PA

Resumen de: WO2026044682A1

A cylindrical secondary battery (100) and an electrical device (1000), relating to the technical field of energy storage. The cylindrical secondary battery (100) comprises a pressure relief member (32) and a sealing member (40), the pressure relief member (32) being a conductive member. The pressure relief member (32) comprises a disc body part (321), a first protruding part (322) and a second protruding part (323). The disc body part (321) comprises a weak region (3211). In the central axis direction (X) of the disc body part, the first protruding part (322) is located at a side of the disc body part (321), and the second protruding part (323) is located at the other side of the disc body part (321). The first protruding part (322) and the second protruding part (323) protrude in the central axis direction (X) of the disc body part. The first protruding part (322) and the second protruding part (323) are embedded into the sealing member (40) so as to limit the displacement of the sealing member (40). The present application helps to improve the sealing effect of the cylindrical secondary battery (100).

ELECTROLYTE OF SECONDARY BATTERY, SECONDARY BATTERY AND ELECTRONIC DEVICE

NºPublicación:  WO2026044658A1 05/03/2026
Solicitante: 
NINGDE AMPEREX TECH LIMITED [CN]
\u5B81\u5FB7\u65B0\u80FD\u6E90\u79D1\u6280\u6709\u9650\u516C\u53F8
WO_2026044658_PA

Resumen de: WO2026044658A1

The present application provides an electrolyte of a secondary battery, a secondary battery, and an electronic device. The electrolyte comprises a first component and a second component, the first component comprising a compound represented by formula (I), and the second component comprising at least one of a compound represented by formula (II) or a compound represented by formula (III). Applying the electrolyte that comprises both the first component and the second component to a secondary battery enhances the cycle performance of the secondary battery, thereby allowing an electronic device to have a long service life.

SECONDARY BATTERY AND ELECTRONIC DEVICE

NºPublicación:  WO2026044653A1 05/03/2026
Solicitante: 
NINGDE AMPEREX TECH LIMITED [CN]
\u5B81\u5FB7\u65B0\u80FD\u6E90\u79D1\u6280\u6709\u9650\u516C\u53F8
WO_2026044653_A1

Resumen de: WO2026044653A1

The present application provides a secondary battery and an electronic device. The secondary battery comprises an electrolyte, which comprises a first organic compound and a second organic compound. The first organic compound comprises fluoroethylene carbonate, and the second organic compound comprises a compound of formula I. In the compound of formula I, R is selected from a C2 to C6 alkyl group which is substituted with fluorine or unsubstituted, and a C6 to C12 aryl group which is substituted with fluorine or unsubstituted. Based on the total mass of the electrolyte, the mass percentage of the first organic compound is A, and the mass percentage of the second organic compound is B, wherein 2%≤A≤30%, and 5%≤B≤85%. By adjusting and controlling the electrolyte to comprise the first organic compound and the second organic compound, as well as the types and mass percentages of the first and second organic compounds within the scope of the present application, the secondary battery can have both good cycling performance and low-temperature discharge performance.

SECONDARY BATTERY AND ELECTRONIC DEVICE

NºPublicación:  WO2026044639A1 05/03/2026
Solicitante: 
NINGDE AMPEREX TECH LIMITED [CN]
\u5B81\u5FB7\u65B0\u80FD\u6E90\u79D1\u6280\u6709\u9650\u516C\u53F8
WO_2026044639_A1

Resumen de: WO2026044639A1

The present application provides a secondary battery and an electronic device. An electrolyte comprises a salt consisting of an anion and a cation as shown in formula I and a compound of formula II. M1 is selected from element B or element Al. R1, R2, R3, and R4 are each independently selected from C1-C8 alkyl in which at least some hydrogen atoms are substituted by fluorine, C6-C20 aryl in which at least some hydrogen atoms are substituted by fluorine, C7-C22 aralkyl in which at least some hydrogen atoms are substituted by fluorine, C7-C20 alkaryl in which at least some hydrogen atoms are substituted by fluorine, C7-C20 ether bond-containing alkaryl in which at least some hydrogen atoms are substituted by fluorine, or C2-C10 ether bond-containing alkyl in which at least some hydrogen atoms are substituted by fluorine. R is selected from fluorine-substituted or unsubstituted C1-C5 alkyl, or amino substituted by C1-C5 alkyl. Rf is selected from a fluorine atom or trifluoromethyl. The cation comprises one of Li+, Na+, K+, Mg2+, Ca2+, and Zn2+. The electrolyte satisfies the described features, and can improve the cycle performance and the low-temperature discharge performance of the secondary battery.

ELECTRODE ASSEMBLY AND SECONDARY BATTERY INCLUDING THE ELECTRODE ASSEMBLY T

NºPublicación:  US20260066495A1 05/03/2026
Solicitante: 
SAMSUNG SDI CO LTD [KR]
SAMSUNG SDI CO., LTD
US_20260066495_PA

Resumen de: US20260066495A1

An electrode assembly, including a first electrode including a first substrate, a first non-coated portion at an end in a longitudinal direction of the first substrate, and a first substrate tab connected to a surface of the first non-coated portion, a second electrode including a second substrate, a second non-coated portion at an end in a longitudinal direction of the second substrate, and a second substrate tab connected to a surface of the second non-coated portion, and a separator between the first electrode and the second electrode, wherein the first electrode, the separator, and the second electrode are sequentially stacked and wound, and wherein the first substrate tab and the second substrate tab are aligned in a straight line along a cross-sectional radial direction in a wound state.

ELECTRODE ASSEMBLY, SECONDARY BATTERY, AND BATTERY PACK

NºPublicación:  US20260066496A1 05/03/2026
Solicitante: 
SAMSUNG SDI CO LTD [KR]
SAMSUNG SDI CO., LTD
US_20260066496_PA

Resumen de: US20260066496A1

An electrode assembly, a secondary battery, and a battery pack are disclosed. An electrode assembly includes one or more positive electrode plates, one or more negative electrode plates facing the one or more positive electrode plates in a first direction, a first positive electrode tab extending from a positive electrode plate of the one or more positive electrode plates and bent in the first direction, a second positive electrode tab extending from the positive electrode plate and bent in a direction opposite to the first direction, a first negative electrode tab extending from a negative electrode plate of the one or more negative electrode plates and bent in the direction opposite to the first direction, and a second negative electrode tab extending from the negative electrode plate and bent in the first direction.

BATTERY MODULE OR PACK

NºPublicación:  US20260066416A1 05/03/2026
Solicitante: 
COOPER TRISTON [US]
Cooper Triston
US_20260066416_PA

Resumen de: US20260066416A1

A battery pack is described that does not require spot welding and does not require bolts to maintain contact compression of the individual battery cells. In one embodiment, each individual cell is a 18650 size lithium ion rechargeable battery cell, but the battery pack can use any size, type or shape individual battery cells with an easy modification of parts of the battery pack.

THIN BATTERY PACK ARCHITECTURE

NºPublicación:  US20260066415A1 05/03/2026
Solicitante: 
APPLE INC [US]
Apple Inc
US_20260066415_PA

Resumen de: US20260066415A1

Battery systems according to embodiments of the present technology may include a battery including a lid that defines lateral dimensions of the battery and a base. The base may define an internal volume of the battery between an interior surface of the lid and an interior surface of the base. The base may be coupled with the lid to define a flange extending about lateral edges of the battery. The base may define a tiered profile along an exterior surface of the battery towards a first lateral edge of the battery. The tiered profile may include a first tier defining a depth of the battery, a second tier defining a first terrace proximate the flange along an intersection of the first lateral edge of the battery and a second lateral edge of the battery, and a third tier extending inward from the first lateral edge of the battery and extending between the first terrace and the second terrace. A battery may also include a module seated on the exterior surface of the base of the battery along the third tier, and between the first terrace and the second terrace.

SECONDARY BATTERY

Nº publicación: US20260066491A1 05/03/2026

Solicitante:

SAMSUNG SDI CO LTD [KR]
Samsung SDI Co., Ltd

US_20260066491_PA

Resumen de: US20260066491A1

A secondary battery includes: an electrode assembly, a case accommodating the electrode assembly, a cap plate sealing the case; and a current collector plate welded between the electrode assembly and the case or between the electrode assembly and the cap plate. The current collector plate has a slit therein.

traducir