Ministerio de Industria, Turismo y Comercio LogoMinisterior
 

Alerta

Resultados 168 resultados
LastUpdate Última actualización 05/04/2026 [07:55:00]
pdfxls
Solicitudes publicadas en los últimos 120 días / Applications published in the last 120 days
previousPage Resultados 150 a 168 de 168  

Algicidal bacterium A3 and application thereof in inhibiting cyanobacterial bloom

NºPublicación:  CN121109245A 12/12/2025
Solicitante: 
UNIV SHANGHAI OCEAN
\u4E0A\u6D77\u6D77\u6D0B\u5927\u5B66
CN_121109245_PA

Resumen de: CN121109245A

The invention discloses algicidal bacteria A3 and application thereof in inhibiting cyanobacterial bloom, and belongs to the technical field of biology. The algicidal bacterium A3 is identified as bacillus velezensis A3 and is preserved in the Guangdong Microbial Culture Collection Center, and the preservation number of the algicidal bacterium A3 is GDMCC No: 66947. The invention also provides an algicidal bacterial agent containing the algicidal bacteria A3, and also provides an application of the algicidal bacteria A3 or the algicidal bacterial agent in inhibiting cyanobacterial bloom. The algicidal bacterium A3 has a degradation effect on harmful blue-green algae, has an efficient blue-green algae inhibition effect, has biological safety on zebra fish in an algae killing concentration range, is suitable for preventing and treating algal bloom water bodies invading blue-green algae such as cushagi larakii and fine mold of fine mold, and has a wide application prospect.

Construction and application of electrostatic-driven oxygen-self-producing artificial biological hybrid system

NºPublicación:  CN121102499A 12/12/2025
Solicitante: 
UNIV EAST CHINA SCIENCE & TECH
\u534E\u4E1C\u7406\u5DE5\u5927\u5B66
CN_121102499_PA

Resumen de: CN121102499A

The invention provides construction and application of an electrostatic-driven artificial biological hybrid system capable of automatically producing oxygen. The artificial biological hybrid system is constructed by adsorbing a quinoline nitrile aggregation-induced emission photosensitizer on the surface of microalgae through electrostatic interaction. According to the invention, a quinoline nitrile aggregation-induced emission (AIE) photosensitizer is adsorbed on the surface of microalgae through electrostatic interaction for the first time, and an electrostatic-driven assembled artificial biological hybrid system (ABH) is constructed. According to the artificial biological hybrid system, microalgae is used as a self-produced oxygen bag, oxygen is continuously provided for the AIE photosensitizer, the ROS generation capacity of the photosensitizer is remarkably enhanced, and efficient killing of tumor cells is achieved. In addition, the artificial biological hybrid system can also realize long-time retention of a tumor part, and has an excellent in-vivo anti-tumor effect.

Algicidal bacterium TH41 and application thereof in inhibiting cyanobacterial bloom

NºPublicación:  CN121109246A 12/12/2025
Solicitante: 
UNIV SHANGHAI OCEAN
\u4E0A\u6D77\u6D77\u6D0B\u5927\u5B66
CN_121109246_PA

Resumen de: CN121109246A

The invention discloses algicidal bacteria TH41 and application thereof in inhibiting cyanobacterial bloom, and belongs to the technical field of biology. The algicidal bacterium TH41 is identified as bacillus pumilus TH41 and is preserved in the Guangdong Microbial Culture Collection Center, and the preservation number of the algicidal bacterium TH41 is GDMCC No: 66948. The invention also provides an algicidal bacterial agent containing the algicidal bacteria TH41. The invention further provides application of the algicidal bacterium TH41 or the algicidal fungicide in inhibiting cyanobacterial bloom. The algicidal bacterium TH41 has a degradation effect on harmful blue-green algae, has an efficient blue-green algae inhibition effect, has biological safety on daphnia magna and zebra fish in an algae killing concentration range, is suitable for preventing and treating various blue-green algae such as microcystis aeruginosa, cuscuta larakii, pichia mold and anabaena pseudosciaena, and has a wide application prospect.

Method for preparing microalgae biological fertilizer from domestic sewage

NºPublicación:  CN121107889A 12/12/2025
Solicitante: 
SHANGHAI INVESTIGATION DESIGN & RES INSTITUTE CO LTD
\u4E0A\u6D77\u52D8\u6D4B\u8BBE\u8BA1\u7814\u7A76\u9662\u6709\u9650\u516C\u53F8
CN_121107889_A

Resumen de: CN121107889A

The invention relates to the technical field of sewage treatment, in particular to a method for preparing a microalgae biological fertilizer from domestic sewage. The method comprises the following steps: pretreating domestic sewage, removing suspended solids and large-particle impurities, converting organic nitrogen and phosphorus into inorganic nitrogen and phosphorus, and adding trace elements to obtain pretreated domestic sewage; mixing the pretreated domestic sewage with the activated sludge-microalgae mixture, and co-culturing to obtain a microalgae-microorganism culture solution; carrying out solid-liquid separation on the microalgae-microorganism culture solution to obtain a microalgae-microorganism mixture and water treated to reach the standard; the microalgae microorganisms and crop straw are mixed and fermented, and the microalgae biological fertilizer is obtained. According to the method, the microalgae and the activated sludge are co-cultured by taking the domestic sewage as a culture medium, the domestic sewage treatment is realized while water and nitrogen, phosphorus and potassium fertilizer resources are saved, and the microalgae biological fertilizer has the advantages of realizing resource recycling, improving the nutrient content of the biological fertilizer and the like.

Resource recovery method using microalgae-methanotrophic bacteria co-culture

NºPublicación:  CN121127574A 12/12/2025
Solicitante: 
UNIV NANYANG TECH
\u5357\u6D0B\u7406\u5DE5\u5927\u5B66
CN_121127574_PA

Resumen de: CN121127574A

Disclosed herein is a method of producing a protein mixture comprising: (a) providing in a reaction vessel a co-culture comprising microalgae and methanotrophic bacteria obtained from waste activated sludge, and (b) operating the reaction vessel under conditions comprising: supplying a gas comprising CO2 and CH4 and not comprising oxygen to the co-culture, and illuminating the co-culture to produce a protein mixture.

Method for improving yield of microalgae SA-2 lipid

NºPublicación:  CN121109139A 12/12/2025
Solicitante: 
NORTHEAST FORESTRY UNIV
\u4E1C\u5317\u6797\u4E1A\u5927\u5B66
CN_121109139_PA

Resumen de: CN121109139A

The invention discloses a method for improving the yield of microalgae SA-2 lipid. The invention relates to the technical field of microalgae biology, in particular to a method for increasing the yield of microalgae SA-2 lipid. The method comprises the following steps: 1, inoculating microalgae SA-2 into a BBM culture medium; 2, then inoculating to a BBM culture medium containing NaHCO3; and 3, inoculating into an-NBBM culture medium, and culturing. The microalgae SA-2 disclosed by the invention is an extreme saline-alkali-resistant algae strain separated from rhizosphere soil of salix mongolica in saline-alkali soil in Andam City, Heilongjiang Province, China, the NaHCOO tolerance concentration of the microalgae SA-2 is up to 800mM (mmol/L), and the microalgae SA-2 is a typical saline-alkali adaptive algae strain. In the prior art, a lipid enhanced culture method for the algal strains with saline-alkaline adaptability is not reported yet.

Method for promoting microalgae growth by using pharmaceutical product

NºPublicación:  CN121109274A 12/12/2025
Solicitante: 
BINZHOU MEDICAL COLLEGE
\u6EE8\u5DDE\u533B\u5B66\u9662
CN_121109274_PA

Resumen de: CN121109274A

The invention belongs to the technical field of microalgae biology and culture, and particularly relates to a method for promoting microalgae growth by using a pharmaceutical product, which comprises the following steps: activating microalgae on a solid flat plate, inoculating the activated microalgae into a liquid culture medium, adding the pharmaceutical product at the initial stage of microalgae growth, placing in a constant-temperature shaking table, and carrying out illumination culture. According to the method, different types of pharmaceutical products with different concentrations are added into the microalgae, the influence of the addition of the different types of pharmaceutical products with different concentrations on the growth promotion of the microalgae is analyzed, the biomass of the chlorella can be rapidly increased, and the method has important significance on the large-scale production of the microalgae.

THERMAL SOLUBILIZATION TREATMENT METHOD FOR EXCESS SEWAGE SLUDGE AND USE OF TREATMENT PRODUCT IN MICROALGAE CULTIVATION

NºPublicación:  JP2025180197A 11/12/2025
Solicitante: 
ANA HOLDINGS INC
\uFF21\uFF2E\uFF21\u30DB\u30FC\u30EB\u30C7\u30A3\u30F3\u30B0\u30B9\u682A\u5F0F\u4F1A\u793E
JP_2025180197_PA

Resumen de: JP2025180197A

To provide a method for thermally solubilizing excess sludge generated during sewage treatment in a short period of time by treating the excess sludge in a thermal solubilization apparatus.SOLUTION: The excess sludge thermal solubilization apparatus used in the method of the present invention consists of a heat exchanger, a steam boiler that serves as the heat source for thermal solubilization, a steam supply valve, a steam pressure reducing valve set, a steam trap set, and an excess sludge supply pump. The product of thermal solubilization using the method of the present invention can be used as a nutrient source for the cultivation of heterotrophic and mixotrophic microalgae.SELECTED DRAWING: Figure 1

GENETIC TRAITS FOR IMPROVED PHOTOSYNTHESIS AND FOOD PRODUCTION AND PATHOGEN RESISTANCE IN PLANTS

NºPublicación:  WO2025255275A2 11/12/2025
Solicitante: 
UNIV FLORIDA [US]\n
UNIVERSITY OF FLORIDA RESEARCH FOUNDATION, INCORPORATED
WO_2025255275_PA

Resumen de: WO2025255275A2

By engineering genetic traits associated with photosynthesis in plants, transgenic plants with increased crop yield can be generated, which will ultimately lead to increased food production in the field. To obtain beneficial genetic traits for enhanced photosynthesis, accelerated evolution is applied under salt stress in a cyanobacteria species, Synechococcus elongatus PCC 7942, by conditionally suppressing its mismatch repair system. Through high-throughput screening for biomass accumulation and sucrose production, it is discovered that specific amino acid changes in the pre-Dl protein of Photosystem II (PSII), encoded by the psbA genes, can improve efficiency of photosynthesis under salt stress, as well as pathogen resistance. Next, the same amino acid changes were made in Arabadopsis and proved that photosynthetic efficiency (measured via growth rate) is also increased in this model vascular plant.

METHOD FOR CONVERTING CARBON SOURCE INTO ETHYLENE GLYCOL

NºPublicación:  JP2025181572A 11/12/2025
Solicitante: 
NAN YA PLASTICS CORP
\u5357\u4E9E\u5851\u81A0\u5DE5\u696D\u80A1\u25B2\u5206\u25BC\u6709\u9650\u516C\u53F8
JP_2025181572_A

Resumen de: JP2025181572A

To provide a method for converting carbon source into ethylene glycol.SOLUTION: A method comprises: providing plasmid including a specific gene sequence; transplanting the plasmid to cyanobacteria by electroporation, for obtaining modified cyanobacteria; providing carbon source to the modified cyanobacteria, for converting the carbon source into ethylene glycol by the modified cyanobacteria.SELECTED DRAWING: Figure 1

CHLORELLA MICROALGAE

NºPublicación:  EP4658753A1 10/12/2025
Solicitante: 
ALGENUITY BV [NL]
Algenuity BV
WO_2024161108_PA

Resumen de: WO2024161108A1

Disclosed is a chlorophyll-deficient strain of Chlorella microalgae having a protein content of at least 50% w/w. Also disclosed is a method of producing a chlorophyll-deficient strain of Chlorella microalgae having a protein content of at least 50% w/w. Also disclosed is a composition comprising an algae biomass derived from the aforementioned chlorophyll-deficient strain of Chlorella microalgae or obtained by performing aforementioned method.

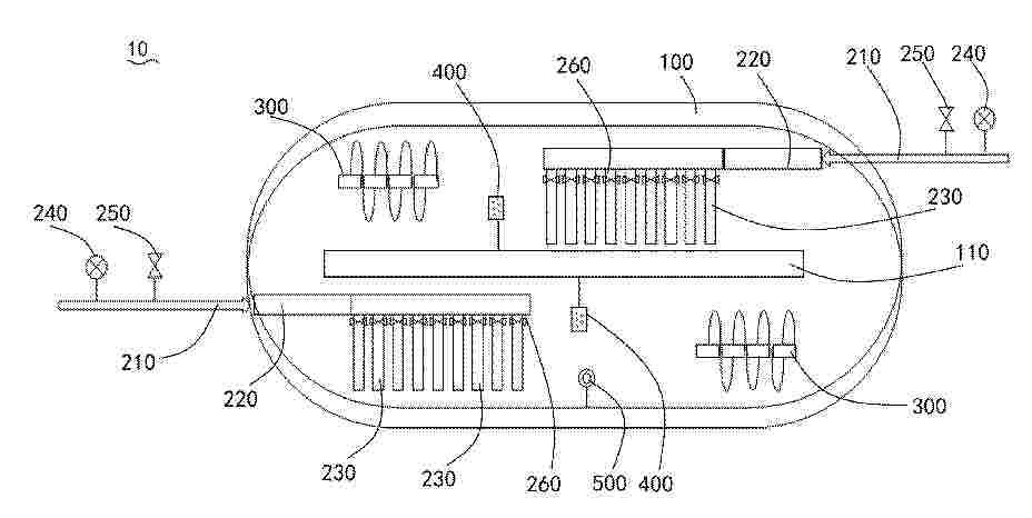
Flue gas absorption microalgae culture device

NºPublicación:  CN121086870A 09/12/2025
Solicitante: 
RIZHAO POLYTECHNIC
\u65E5\u7167\u804C\u4E1A\u6280\u672F\u5B66\u9662
CN_121086870_PA

Resumen de: CN121086870A

The invention discloses a flue gas absorption microalgae culture device, which comprises a culture system, the culture system comprises a culture room, the culture room comprises: a plurality of groups of carriers uniformly arranged in the culture room and used for carrying microalgae; a plurality of groups of liquid storage tanks are uniformly arranged at the bottom in the culture room, are used for providing a culture medium solution for the microalgae, and are uniformly distributed below the plurality of groups of carriers; the driving mechanism is located on one side of the culture room and used for pushing the liquid storage tank to reciprocate left and right; the liquid storage tank is arranged in the culture room, the opening is formed in one side of the liquid storage tank in the culture room, a side door is arranged in the opening, and a fixing mechanism is arranged between the side door and the opening. Nutrient substances are transferred by utilizing the principle of capillary action, a carrier is cultured in a vertical space, and a fixed culture medium which is relatively low in water content and is sufficiently wet is provided for microalgae cells to provide nutrition; a double-sided light source is combined with a technology for recycling carbon dioxide in flue gas and a microalgae culture technology, so that energy conservation and emission reduction are facilitated.

Microbubble culture microalgae reactor and coal-fired flue gas treatment system and method

NºPublicación:  CN121086866A 09/12/2025
Solicitante: 
CHN ENERGY NEW ENERGY TECH RESEARCH INSTITUTE CO LTD
\u56FD\u5BB6\u80FD\u6E90\u96C6\u56E2\u65B0\u80FD\u6E90\u6280\u672F\u7814\u7A76\u9662\u6709\u9650\u516C\u53F8
CN_121086866_PA

Resumen de: CN121086866A

The invention discloses a microbubble culture microalgae reactor and a coal-fired flue gas treatment system and method. The microbubble culture microalgae reactor comprises a reaction tank body, an air inlet mechanism, a stirring mechanism and a catalysis mechanism, the air inlet mechanism is connected with the reaction tank body to feed air into the reaction tank body, and the stirring mechanism is connected with the reaction tank body to stir a culture solution in the reaction tank body; the catalysis mechanism is arranged in the reaction tank body so as to widen the light absorption range of the microalgae. According to the device, the gas-liquid contact area can be increased, carbon dioxide and the microalgae species culture solution can be in full contact, the reaction efficiency is improved, the production efficiency per unit area is high, and pure species high-density culture can be realized.

Circulating culture system for hatching grouper fries

NºPublicación:  CN223639958U 09/12/2025
Solicitante: 
ZHONGFA GUOXIN SHANGHAI AGRICULTURAL TECH DEVELOPMENT CO LTD
\u4E2D\u53D1\u56FD\u4FE1\uFF08\u4E0A\u6D77\uFF09\u519C\u4E1A\u79D1\u6280\u53D1\u5C55\u6709\u9650\u516C\u53F8
CN_223639958_U

Resumen de: CN223639958U

The utility model provides a circulating culture system for hatching grouper fries. The circulating culture system comprises a hatching culture barrel, a temperature control device, a physical filtering device, a protein separator, a microorganism filtering device and a PEM ozone device. The marine fish inland breeding device can achieve marine fish inland breeding, solves the pain point of outdoor grouper fry hatching, and accumulates organic waste generated by microalgae, live bait and fry in the water body in the grouper fry hatching process, ammonia nitrogen (NH3/NH4) generated by ammoniation and nitrite (NO2) generated by nitration when the grouper fry hatching operation is carried out indoors. Huge injury is caused to the fish fries.

Hulong hybrid spot seedling raising method capable of improving survival rate

NºPublicación:  CN121086887A 09/12/2025
Solicitante: 
LINGSHUI CHENHAI SEED IND CO LTD
\u9675\u6C34\u6668\u6D77\u79CD\u4E1A\u6709\u9650\u516C\u53F8
CN_121086887_A

Resumen de: CN121086887A

The invention belongs to the technical field of aquaculture, and particularly relates to a Hulong hybrid spot seedling raising method capable of improving the survival rate. The invention firstly provides a special microalgae solution combination for Hulong hybrid spots, different microalgae solutions are specifically mixed, and microalgae is rich in nutritional ingredients such as protein, polyunsaturated fatty acid, vitamins and minerals, so that the microalgae solution combination can be used as a high-quality feed, the growth performance of the Hulong hybrid spots is remarkably improved, and the yield of the Hulong hybrid spots is improved; the breeding environment can be improved to meet different breeding conditions; in addition, the invention further provides application of the microalgae solution combination in improving the survival rate of Hulong hybrid spot seedlings and/or improving the immune performance of Hulong hybrid spots, a nursery pond is disinfected by using a disinfectant containing a moringa oleifera extract and lactobacillus plantarum, and the microalgae solution combination is inoculated at different culture stages, so that the survival rate of the Hulong hybrid spot seedlings is increased, and the immune performance of the Hulong hybrid spots is improved. The survival rate and the immunity of the Hulong hybrid spotted fish are improved.

Blue-green algae propagation method

NºPublicación:  CN121086941A 09/12/2025
Solicitante: 
NORTHWEST INSTITUTE ECO ENVIRONMENT & RESOURCES CAS
\u4E2D\u56FD\u79D1\u5B66\u9662\u897F\u5317\u751F\u6001\u73AF\u5883\u8D44\u6E90\u7814\u7A76\u9662
CN_121086941_PA

Resumen de: CN121086941A

The invention discloses a blue-green algae propagation method, and relates to the technical field of natural biological soil crust. A porous material which is stable in structure, high in adsorbability and excellent in water-retaining property is used as a core carrier to construct a blue-green algae-carrier synergistic growth system, and system optimization of links such as blue-green algae population attachment propagation, environment control culture and drying treatment is combined, so that efficient attachment, uniform propagation and granulation preparation of blue-green algae are realized on the surface and in pores of the blue-green algae; therefore, the cyanobacteria-based particle product which can be dried, transported, spread and stored is obtained, a three-in-one engineering conversion path of propagation expansion, fixation and application is opened, and the technical requirements of large-scale artificial crust construction in the arid region are met.

Cathepsin B-reduction double-response type biological self-degradation cationic lipid as well as preparation and application of lipid nanoparticles of cathepsin B-reduction double-response type biological self-degradation cationic lipid

NºPublicación:  CN121085994A 09/12/2025
Solicitante: 
UNIV SHENYANG PHARMACEUTICAL
\u6C88\u9633\u836F\u79D1\u5927\u5B66
CN_121085994_PA

Resumen de: CN121085994A

The invention discloses cathepsin B-reduction dual-response type biological self-degradation cationic lipid and preparation and application of lipid nanoparticles thereof, belongs to the technical field of new auxiliary materials and new dosage forms of pharmaceutical preparations, and relates to a preparation method of cathepsin B and reduction dual-response type self-degradation cationic lipid and construction of siRNA lipid nanoparticles of the cathepsin B and reduction dual-response type self-degradation cationic lipid. The invention discloses colonizable inulin-spirulina composite gel for colon targeted delivery and application of the colonizable inulin-spirulina composite gel in nucleic acid drug delivery. According to the invention, a colon-specific modular hydrogel platform is designed by integrating a microalgae biotechnology and a nano-drug, and a new strategy and choice are provided for solving the toxic and side effects of lipid nanoparticles and oral delivery of RNA (Ribonucleic Acid).

Method for preparing concrete super-hydrophobic surface through microorganisms

Nº publicación: CN121085658A 09/12/2025

Solicitante:

UNIV SHANDONG TECHNOLOGY
\u5C71\u4E1C\u7406\u5DE5\u5927\u5B66

CN_121085658_PA

Resumen de: CN121085658A

The invention belongs to the technical field of preparation of concrete through microorganisms, and particularly relates to a method for preparing a concrete super-hydrophobic surface through microorganisms. The invention provides a method for preparing a concrete super-hydrophobic surface by microorganisms, which comprises the following steps: smearing a cyanobacteria culture solution on the surface of concrete, and mixing to obtain cyanobacteria concrete; and the cyanobacteria concrete surface is subjected to smoothing treatment and mineralization treatment, and the concrete super-hydrophobic surface is obtained. The cyanobacteria disclosed by the invention are wide in distribution, easy to culture and extremely low in cost. The concrete is in contact with cyanobacteria, the cyanobacteria secretes a large amount of acid compounds, cement in the concrete is decomposed, the content of calcification compounds in the concrete is increased, a mineralization layer is conveniently formed on the surface of the concrete, and the hydrophobic effect is guaranteed. Meanwhile, the concrete surface is smoothed, so that the concrete surface is smooth, and the hydrophobic effect of the concrete is improved. And through mineralization treatment, drying of the surface of the concrete is accelerated, and a super-hydrophobic structure is formed.

traducir