Ministerio de Industria, Turismo y Comercio LogoMinisterior
 

Alerta

Resultados 89 resultados
LastUpdate Última actualización 29/01/2026 [08:08:00]
pdfxls
Solicitudes publicadas en los últimos 30 días / Applications published in the last 30 days
previousPage Resultados 50 a 75 de 89 nextPage  

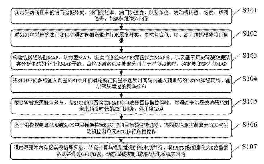
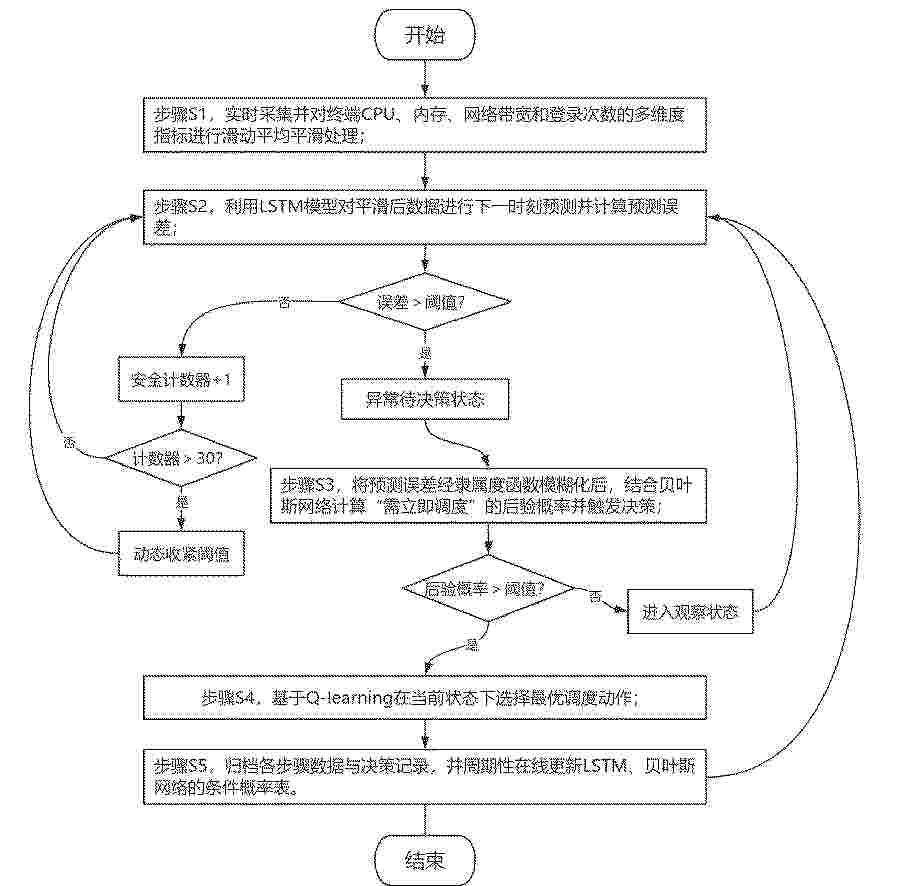
一种商用车AMT换挡控制方法、系统、商用车及介质

NºPublicación:  CN121296687A 09/01/2026
Solicitante: 
中国重汽集团济南动力有限公司
CN_121296687_PA

Resumen de: CN121296687A

本发明提供一种商用车AMT换挡控制方法、系统、商用车及介质,属于重卡车AMT换挡技术领域,通过多维度信号采集与模糊‑LSTM混合模型实现驾驶意图精准识别,构建包含经济型、动力型、坡度自适应及个性化MAP的动态换挡库。采用卡尔曼滤波预测油门趋势并修正换挡点,结合滑模控制算法抑制换挡冲击,通过双缓冲内存、模型量化及GPU加速优化实时性。系统通过优化参数,适配重载爬坡、长下坡等复杂工况。实现挡位精准匹配,提升换挡平顺性提升,满足商用车高实时性需求;通过载荷‑坡度自适应增强多场景适应性;滑模控制有效抑制路面扰动,提升驾驶安全性与舒适性。

一种基于大数据和模糊数学的食品质量预测系统

NºPublicación:  CN121303963A 09/01/2026
Solicitante: 
合肥锐图数科智能科技有限公司
CN_121303963_PA

Resumen de: CN121303963A

本发明公开了一种基于大数据和模糊数学的食品质量预测系统,本发明涉及大数据和模糊教学技术领域;本发明通过食品数据监测中心设置食品对应的特定环境条件,根据特定环境条件实时监测食品的食品数据,将食品食品数据进行分类连接生成食品的食品数据矩阵;设置食品数据模糊规则,获取食品数据矩阵的食品数据输入模糊矩阵,基于食品数据模糊规则构建食品数据输入模糊矩阵对应的模糊评估模型;进而基于模糊评估模型对食品数据进行是好事评估获取食品数据模糊输出结果集;根据食品数据模糊输出结果集对食品质量进行处理;有效食品质量的全面性和快速性。

变压器故障识别模型的训练方法及变压器故障识别方法

NºPublicación:  CN121302250A 09/01/2026
Solicitante: 
武汉大学长江三峡集团江苏能源投资有限公司国电南瑞科技股份有限公司国网浙江省电力有限公司电力科学研究院
CN_121302250_PA

Resumen de: CN121302250A

本发明公开了一种变压器故障识别模型的训练方法及变压器故障识别方法,其中训练方法包括:收集变压器油的油中溶解气体数据,对油中溶解气体数据进行数据预处理;提取油中溶解气体数据的故障特征信息,得到数据特征;根据油中溶解气体数据获取三比值,并根据三比值编码规则,获取三比值对应的离散编码;三比值编码规则根据设定的比值范围将比值映射至编码;获取三比值中各比值在不同比值范围的模糊隶属度;将模糊隶属度和离散编码拼接为知识特征;将知识特征与数据特征进行特征融合,得到融合特征数据;将融合特征数据划分为训练集和验证集,训练变压器故障识别模型。本发明训练所得的变压器故障识别模型具有较高的识别准确率。

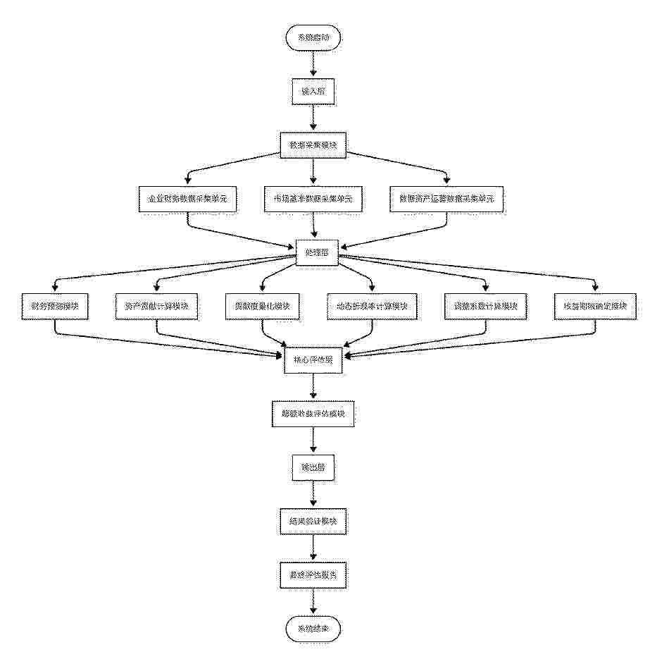
企业数字资本智能管理与价值增值分析系统及方法

NºPublicación:  CN121304344A 09/01/2026
Solicitante: 
刘佳
CN_121304344_PA

Resumen de: CN121304344A

本发明涉及数据资产价值评估领域,公开了基于多期超额收益法的数据资产价值评估系统及方法。该系统包括数据采集模块、动态折现率计算模块、超额收益评估等模块。系统引入数据资产质量衰减系数、协同效应系数和市场环境调整系数三个创新参数,精准量化数据资产的时变特性、协同价值和市场敏感性。本系统能够准确评估数据资产价值,为企业数据资产管理和投资决策提供科学依据,适用于互联网等多类型企业的数据资产价值量化需求。

机组协同调频处理系统

NºPublicación:  CN121307896A 09/01/2026
Solicitante: 
华能济南黄台发电有限公司
CN_121307896_PA

Resumen de: CN121307896A

本说明书实施例提供机组协同调频处理系统,机组协同调频处理系统包括:实时数据采集模块获取机组运行参数并传输至多尺度建模模块;多尺度建模模块构建包含秒级动态模型、分钟级热网模型和小时级调度模型的数字孪生体;策略优化模块基于数字孪生体输出生成优化指令集;执行控制模块将优化指令集转化为设备控制信号;故障诊断模块实时监测系统状态并触发保护策略。本方案通过将传统指令分解为精细化控制序列,显著压缩响应延迟并消除相位偏差,实现动态补偿的高效执行;基于时空协同优化的精度提升策略,大幅降低功率误差和调节波动性,确保系统运行稳定性;参数自学习系统展现出广泛的生态兼容性,可自动适配火电、储能及新能源等各类电源特征。

一种基于模糊语言邻域粒概念的边坡安全等级分类方法

NºPublicación:  CN121302163A 09/01/2026
Solicitante: 
山东建筑大学
CN_121302163_PA

Resumen de: CN121302163A

本发明公开了一种基于模糊语言邻域粒概念的边坡安全等级分类方法,涉及边坡安全技术领域,包括采集边坡样本数据,检测边坡条件特征,并使用语言术语构建边坡条件特征的语言概念集,同时构建边坡条件特征与语言概念集之间的二元关系再通过余弦相似度确定边坡样本的邻域,生成初始的模糊语言邻域粒概念空间;基于初始的模糊语言邻域粒概念空间,对子空间中可融合概念簇进行标记,通过加权融合生成融合概念空间;基于融合概念空间,通过最小辨识度对新边坡样本进行边坡安全分类。因此,采用上述一种基于模糊语言邻域粒概念的边坡安全等级分类方法,适用于复杂边坡的边坡安全等级分类,为特殊边坡的灵活分级、多因素耦合影响量化提供参考。

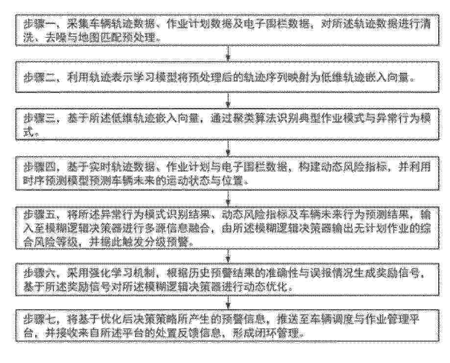
融合多源数据挖掘的无计划作业预警方法及系统

NºPublicación:  CN121303864A 09/01/2026
Solicitante: 
国网四川雅安电力(集团)股份有限公司
CN_121303864_PA

Resumen de: CN121303864A

本发明公开了一种融合多源数据挖掘的无计划作业预警方法及系统。该方法通过采集车辆轨迹、作业计划与电子围栏数据,对轨迹进行清洗和地图匹配预处理后,利用轨迹表示学习模型将轨迹序列映射为低维嵌入向量;基于该向量通过聚类识别异常行为模式,同时结合实时数据构建动态风险指标并预测车辆未来状态;将异常模式、风险指标与预测结果输入模糊逻辑决策器进行多源融合,输出综合风险等级并触发分级预警;采用强化学习机制根据预警效果动态优化决策器参数,最终将预警信息推送至管理平台并接收反馈形成闭环管理。本发明实现了对无计划作业行为的精准、自适应预警,显著提升了作业安全监管的智能化水平。

一种惯性导航的在线自标定滤波方法

NºPublicación:  CN121297895A 09/01/2026
Solicitante: 
陕西东方航空仪表有限责任公司
CN_121297895_PA

Resumen de: CN121297895A

本申请公开了一种惯性导航的在线自标定滤波方法,涉及惯性导航技术领域,包括:获取多模态数据,建立惯性器件误差数学模型以及惯性导航系统误差数学模型;扩展卡尔曼滤波模型对状态变量进行递推估计,获得惯性器件和导航系统的误差参数;基于误差参数构建模糊自适应模型,通过模糊逻辑规则生成观测噪声修正因子,实时修正扩展卡尔曼滤波模型中的观测噪声协方差矩阵;利用扩展卡尔曼滤波模型对惯性导航系统的误差参数进行在线估计和补偿,实时输出包含零偏与标度因数的补偿参数;基于补偿参数修正原始数据并注入导航解算,根据补偿后的误差数据更新模糊自适应模型。

一种造纸产业转型升级评价模型构建方法

NºPublicación:  CN121303935A 09/01/2026
Solicitante: 
瞬捷数字科技(山东)有限公司
CN_121303935_PA

Resumen de: CN121303935A

本发明属于造纸企业管理技术领域,公开了一种造纸产业转型升级评价模型构建方法,利用层次分析法构建专家评审判断矩阵,通过一致性检验确定各级指标权重,确保评价过程的科学性与权威性;结合模糊综合评判法,将定性指标与定量指标统一转化为隶属度形式,逐层建立模糊关系矩阵,并依权重进行加权合成,最终获得企业在目标层面的综合评价向量和标量分值,实现定性与定量信息的融合。通过该方法,能够全面、客观地反映造纸企业在产能淘汰、节能减排、自动化控制、流程优化、智能制造与循环经济等方面的水平,并可进行年度趋势分析与等级判定;本发明提高了评价结果的系统性、可重复性和可操作性,为造纸企业转型升级与行业管理提供了科学依据。

基于多模态生理参数和贝叶斯网络的人机权限分配方法

NºPublicación:  CN121301001A 09/01/2026
Solicitante: 
北京航空航天大学
CN_121301001_PA

Resumen de: CN121301001A

本发明提供了一种基于多模态生理参数和贝叶斯网络的人机权限分配方法,属于多模态特征融合、人机权限分配领域,该方法包括:首先,采集获得多模态生理数据,并基于多模态的体征数据进行数据融合,然后,构建包含人机关键影响因素节点的贝叶斯网络模型,运行时获取根节点变量信息用于计算出当前系统的可靠性,接着,设计触发机制和分配策略,利用系统可靠性计算得到权限分配方案,最后,通过节点状态刷新与策略闭环优化进行分配方案的动态更新与迭代。本发明提供了一种基于多模态生理参数和贝叶斯网络的人机权限分配方法,实现了实时动态调整人机之间的权限分配,有效提升了人机系统的可靠性,提高了任务效能和人机互信程度。

一种基于模糊数学理论的车-桩-网交互数据融合方法

NºPublicación:  CN121302267A 09/01/2026
Solicitante: 
国网上海市电力公司
CN_121302267_PA

Resumen de: CN121302267A

本发明公开了一种基于模糊数学理论的车‑桩‑网交互数据融合方法,属于智能交通系统与电动汽车充电基础设施领域,首先采集车、桩、网原始数据,经时空对齐、标准化及异常值处理,为后续融合提供高质量基础;然后利用模糊隶属度函数将关键数据模糊化,以改进联邦加权平均法实现数据级融合,得到统一模糊数据集;基于此构建5维特征矩阵,通过主成分分析提取关键主成分,完成特征级融合,提炼核心特征;最后构建模糊规则库,运用Dasarathy模型计算规则权重,筛选显著重要规则实现决策级融合,整合多阶段结果输出最终融合数据;本发明提升了数据融合精度与可靠性,助力城市级车‑桩‑网调节潜力量化及高效协同运行。

一种区域内多车场调机协同运用优化方法及系统

NºPublicación:  CN121279647A 06/01/2026
Solicitante: 
西南交通大学
CN_121279647_PA

Resumen de: CN121279647A

本发明提供了一种区域内多车场调机协同运用优化方法及系统,涉及调机协同运用技术领域,包括获取预设区域内所有车场的数据参数信息;将所述数据参数信息引入预设的约束条件,建立得到多目标优化模型;将所述多目标优化模型内多目标函数分别单独作为目标对模型求解,得到每个优化目标对应的最大值与最小值;根据每个优化目标对应的最大值与最小值,经过模糊规划变换构建单目标函数,并基于应用随机键编码的粒子群优化算法对所述多目标优化模型进行迭代求解,得到符合预设的约束条件下的调机调度方案和最优调机运行路径。本发明通过智能优化方法进行求解,减少空驶率,提升整体调机利用率,提升整体系统运营效率。

一种构造倾角动态建模与轨迹优化方法

NºPublicación:  CN121279093A 06/01/2026
Solicitante: 
新疆亚新煤层气资源技术研究有限责任公司
CN_121279093_A

Resumen de: CN121279093A

本发明涉及天然气资源水平井钻井技术领域,具体涉及一种构造倾角动态建模与轨迹优化方法,包括以下步骤:步骤一、采集三维地震数据、测井曲线、地层产状参数及地质力学数据,整合随钻测量数据,构建初始地质模型并进行数据预处理与一致性校验;步骤二、处理地质构造并优化速度场,融合静态模型与实时随钻数据以动态修正构造倾角,并预测下一钻进段的倾角变化;本发明通过卡尔曼滤波与LSTM算法深度融合静态模型与随钻数据,实现构造倾角的动态更新与高频修正,显著降低预测偏差,大幅缩短模型更新周期,有效提升对薄储层及构造突变地层的识别精度与动态响应能力,实现了高精度动态建模与多源数据的实时融合。

一种伤员快速检伤分类的实践指导方法及系统

NºPublicación:  CN121281772A 06/01/2026
Solicitante: 
中国人民解放军总医院第八医学中心
CN_121281772_PA

Resumen de: CN121281772A

本发明涉及医疗急救技术领域,公开了一种伤员快速检伤分类的实践指导方法及系统。该系统的多层级生命体征监测网格依据预设初始分类参数扫描目标区域,实时采集伤员生命体征数据;伤情阶段划分模块将数据转换为区域伤情分布热力图并划分时间阶段,得到各阶段热力图分段及阶段伤情异常度;分类排斥分析模块获取转运通道状态数据,计算分类策略排斥度,结合阶段伤情异常度确定各检伤时间阶段的分类调整量;动态资源调配模块依据分类调整量动态调控各阶段分类资源分配比例。该系统可实现伤员生命体征实时采集、伤情动态评估、分类策略灵活调整及资源合理调配,提升检伤分类效率与准确性,为突发公共事件中的伤员救治提供有效指导。

金融信息检索方法、系统及设备

NºPublicación:  CN121278052A 06/01/2026
Solicitante: 
深圳证券交易所
CN_121278052_PA

Resumen de: CN121278052A

本申请公开了一种金融信息检索方法、系统及设备,该方法包括:在接收到查询请求时,对查询请求进行内容合规验证;在验证通过时,采用预设意图分类模型对查询请求进行意图分类,确定当前意图类别;对查询请求进行事件抽取,获得兜底事件信息,并基于当前意图类别以及兜底事件信息生成扩展查询问题;根据扩展查询问题提取查询关键词,并结合查询关键词、当前意图类别以及兜底事件信息构建检索表达式;基于检索表达式在预设金融数据库中进行检索,获得检索结果。本申请通过合规校验过滤违规内容,并结合意图分类模型和事件抽取处理捕获关键事件以生成扩展查询,使得检索表达式能够弥补用户表达的模糊性,有助于提升检索结果的可靠性和准确性。

情報処理装置、情報処理システム、情報処理方法およびプログラム

NºPublicación:  JP2026000552A 06/01/2026
Solicitante: 
株式会社東芝
JP_2026000552_PA

Resumen de: US2025384340A1

An information processing device includes a processing unit including a hardware processor. The hardware processor calculates plural exogenous-noise-estimation values corresponding to plural variables for each of one or more pieces of result data including plural result values respectively corresponding to the plural variables based on the result data and a structural-causal-model representing a causal-relationship of the plural variables. Each of the exogenous-noise-estimation values represents an estimation value of influence by an exogenous-noise different from influences from the plural variables on corresponding variables among the plural variables. The hardware processor generates a contribution-degree representing an influence-magnitude by the exogenous-noise given to a source variable as one of two variables to a target variable that is another variable for each combination of the two variables in the plural variables for the result data based on the structural-causal model and the plural exogenous-noise-estimation values for each result data.

一种基于微震的煤矿冲击地压动态预警方法及装置

NºPublicación:  CN121254343A 02/01/2026
Solicitante: 
华亭煤业集团有限责任公司
CN_121254343_PA

Resumen de: CN121254343A

本发明提出一种基于微震的煤矿冲击地压动态预警方法及装置。该方法能够实现冲击地压风险的动态预测与实时预警,提升预警模型对开采进程和地质条件变化的适应性,有效降低预测滞后性并提高预警准确性。

基于多粒度粒球超图特征选择的特殊儿童疾病筛查方法

NºPublicación:  CN121260419A 02/01/2026
Solicitante: 
重庆师范大学
CN_121260419_PA

Resumen de: CN121260419A

本发明涉及特征选择与模式识别技术领域,具体涉及基于多粒度粒球超图特征选择的特殊儿童疾病筛查方法。该方法通过将单一粒度信息转化为多粒度知识表达,并利用特征之间复杂的关联关系构建粒球超图,以选择对特殊儿童疾病筛查最有利的特征,增强模型泛化能力和判别能力;同时,构建基于最优特征子空间的SVM分类器实现特殊儿童疾病的筛查,提高特殊儿童疾病筛查的准确度;该方法能够更有效地适应不同数据集的特征差异,优化特征子空间,提升特殊儿童疾病筛查的准确性和计算效率。

变压器内部多参量信息融合放电诊断评估方法

NºPublicación:  CN121254011A 02/01/2026
Solicitante: 
云南电网有限责任公司楚雄供电局
CN_121254011_PA

Resumen de: CN121254011A

本发明公开了一种变压器内部多参量信息融合放电诊断评估方法,涉及电力设备状态监测与故障诊断技术领域。该方法通过在变压器内部部署八类传感器,协同采集电气、机械、热工与绝缘多物理场参量;接着对数据进行异常值剔除、标准化及差异化噪声抑制三级预处理;然后提取12类故障特征;进而采用基于AHP‑工况修正的动态权重分配方法进行特征层融合,构建融合特征向量;再通过一个五层模糊逻辑‑神经网络混合模型进行决策层融合,输出故障概率与故障类型;最终根据故障概率划分五级故障等级并输出具体处理建议。本发明实现了多参量自适应融合与高精度诊断,准确率高,平均时延低,有效解决了传统方法故障覆盖不全、工况适应性差的问题。

一种岩溶隧道施工透明化智慧决策系统

NºPublicación:  CN121258120A 02/01/2026
Solicitante: 
中铁十六局集团有限公司中国铁建大桥工程局集团有限公司中铁十六局集团第三工程有限公司大连理工大学
CN_121258120_PA

Resumen de: CN121258120A

本发明提供了一种岩溶隧道施工透明化智慧决策系统,涉及隧道施工智能化领域,包括:动态风险分析与智能预警模块,基于岩溶隧道施工现场信息构建动态工况画像,利用人工智能及深度学习技术,结合模糊层次评价、自定义规则引擎以及专家意见构建岩溶隧道风险综合评价体系,以计算动态风险熵值,基于深度学习模型以及动态工况画像,结合滑动时间窗机制预测未来的动态风险熵值,根据风险熵值确定预警等级;智慧调度与决策支持模块,根据预警等级以及智慧寻优目标函数进行调度方案寻优,持续监测调度方案的执行情况,对调度方案的执行效果进行评估。提升岩溶隧道施工全过程的透明化、数据化、智能化管理水平及突发地质灾害预警能力和响应效率。

一种智能工厂设备故障预警方法及系统

NºPublicación:  CN121256639A 02/01/2026
Solicitante: 
胥顺朱吉
CN_121256639_PA

Resumen de: CN121256639A

本发明涉及工业设备维护的技术领域,它涉及一种智能工厂设备故障预警方法及系统,采集设备的实时多维传感器数据,对数据进行小波包分解去噪处理后,映射到状态空间中,得到状态向量序列;在滑动时间窗口内,对状态向量序列计算状态信息熵,用于度量设备运行状态的复杂度或不确定性;监测状态信息熵随时间的变化趋势,当状态信息熵呈现持续衰减趋势时,识别为设备能动性衰减,预示即将发生故障;根据设备类型、工况以及其他异常信号动态调整预警阈值,并结合多模态信号确认故障风险,输出分级预警信号,本发明能够从设备运行信号中提取并量化信息熵的动态衰减过程,通过捕捉这种趋势性的早期失稳前兆,实现对潜在故障的超前预警。

一种基于RF-WA-PHFWFGSM算子的水电输电工程施工事故风险分析方法

NºPublicación:  CN121258203A 02/01/2026
Solicitante: 
三峡大学
CN_121258203_PA

Resumen de: CN121258203A

本发明提供了一种基于RF‑WA‑PHFWFGSM算子的水电输电工程施工事故风险分析方法,包括数据预处理、RF初步特征筛选、改进专家模拟评价、WA‑PHFWFGSM算子聚合、综合验证、结果输出六个核心步骤,各步骤层层递进,形成数据,特征,评价,验证,应用的完整风险分析闭环。针对专家评价犹豫性与信息不确定性问题,运用概率犹豫模糊集(PHFS)处理定性属性特征评价,通过语言术语、概率分布、量化专家意见,完整保留专家犹豫态度与模糊信息,有效避免传统方法简化为确定数值导致的信息损失,提升专家评价结果的真实性与完整性。

三维大气实况场融合产品时空匹配对比及均一性评估方法

NºPublicación:  CN121256585A 02/01/2026
Solicitante: 
贵州省气象数据中心
CN_121256585_PA

Resumen de: CN121256585A

本发明公开了三维大气实况场融合产品时空匹配对比及均一性评估方法,包括:构建多源数据验证框架、实施精细化时空匹配、执行多层次质量控制、综合检验分析及输出产品规格。通过构建多源协同验证框架,整合探空、微波辐射计、卫星及地基观测数据,建立精细化时空匹配模型和和多层次质量控制体系,可定量给出实况产品的误差情况。适用于气温、湿度、水平风速/风向要素的时空匹配比对及均一性检验,支撑气象模型优化及低空经济应用。

基于模糊逻辑控制和Transformer架构的鲁棒负荷预测方法及系统

NºPublicación:  CN121261319A 02/01/2026
Solicitante: 
国网重庆市电力公司北碚供电分公司
CN_121261319_PA

Resumen de: CN121261319A

本发明提供基于模糊逻辑控制和Transformer架构的鲁棒负荷预测方法及系统,涉及数据处理领域,该方法包括:建立并训练基于Transformer架构的负荷预测模型,其中,负荷预测模型引入可信度权重自注意力机制,损失函数引入模糊加权;获取充电站的负荷预测相关数据;对充电站的负荷预测相关数据进行预处理,生成预处理后的充电站的负荷预测相关数据;通过模糊逻辑可信度算法对预处理后的充电站的负荷预测相关数据的每个时间步进行可靠性评分,确定每个时间步的可信度分数;通过负荷预测模型基于预处理后的充电站的负荷预测相关数据和每个时间步的可信度分数,进行负荷预测,具有提高充电站的短期负荷预测的准确度的优点。

城市复合通道建设时序的评价指标体系构建及评价方法

Nº publicación: CN121258337A 02/01/2026

Solicitante:

广州地铁设计研究院股份有限公司

CN_121258337_PA

Resumen de: CN121258337A

本发明公开了城市复合通道建设时序的评价指标体系构建方法,涉及交通工程与城市规划技术领域,解决了由于现有城市轨道‑道路复合通道建设时序缺乏科学的时序统筹,引发的设施布局冲突、交通运行扰动及资源配置低效等问题。该构建方法包括:S11:将城市复合通道建设过程划分多个建设时序影响的评价阶段;S12:确定各个评价阶段下的评价维度;S13:基于各个评价维度提炼评价准则;S14:根据各个评价准则细化出多个二级评价指标,根据二级评价指标构建评价指标体系;S15:明确各个二级评价指标的含义、计算方法及数值获取方式。本发明还公开了城市复合通道建设时序的评价方法。本发明有助于提升交通规划决策的科学性和工程实施的效率与效益。

traducir