Ministerio de Industria, Turismo y Comercio LogoMinisterior
 

Alerta

Resultados 1007 resultados
LastUpdate Última actualización 20/03/2026 [06:59:00]
pdfxls
Publicaciones de solicitudes de patente de los últimos 60 días/Applications published in the last 60 days
previousPage Resultados 250 a 275 de 1007 nextPage  

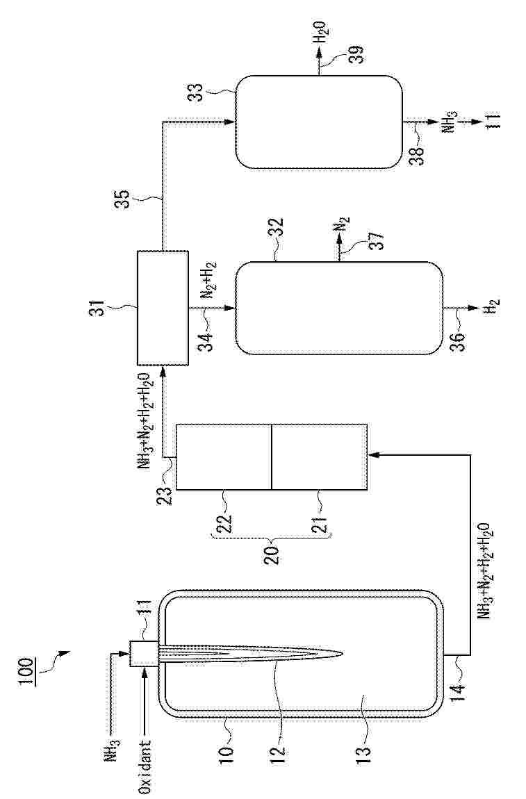
燃焼式アンモニア分解装置および燃焼式アンモニア分解方法

NºPublicación:  JP2026027748A 19/02/2026
Solicitante: 
大陽日酸株式会社
JP_2026027748_PA

Resumen de: JP2026027748A

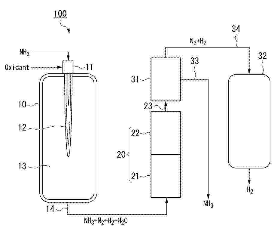
【課題】燃焼器にNH3と酸化剤を供給してH2とN2に分解し、精製してH2を効率よく製造することが可能な燃焼式アンモニア分解装置および燃焼式アンモニア分解方法を提供する。【解決手段】アンモニアおよび酸化剤が供給される燃焼器11と、燃焼器11が設置される燃焼炉10と、燃焼炉10に接続された触媒槽20と、触媒槽20に接続され、アンモニアと水分を凝縮して分離する凝縮槽31と、凝縮槽31に接続され、吸着剤が充填された吸着塔33とを備え、燃焼炉10においては、燃焼器11にアンモニアおよび酸化剤を用いてアンモニア分解ガスを発生させ、触媒槽20においては、燃焼炉10から触媒槽20に導入されたアンモニア分解ガスに含まれる未反応アンモニアを分解し、触媒槽20が少なくとも2種類以上の触媒21,22により構成され、凝縮槽31ではアンモニアを水に溶解して吸着塔33に供給し、吸着塔33では水とアンモニアに分離する。【選択図】図1

燃焼式アンモニア分解装置および燃焼式アンモニア分解方法

NºPublicación:  JP2026027770A 19/02/2026
Solicitante: 
大陽日酸株式会社
JP_2026027770_PA

Resumen de: JP2026027770A

【課題】燃焼器にNH3と酸化剤を供給してH2とN2に分解し、精製してH2を効率よく製造することが可能な燃焼式アンモニア分解装置および燃焼式アンモニア分解方法を提供する。【解決手段】アンモニアおよび酸化剤が供給される燃焼器11と、燃焼器11が設置される燃焼炉10と、燃焼炉10に接続された触媒槽20と、触媒槽20に接続された吸着槽31とを備え、燃焼炉10においては、燃焼器11にアンモニアおよび酸化剤を用いてアンモニア分解ガスを発生させ、触媒槽20においては、燃焼炉10から触媒槽20に導入されたアンモニア分解ガスに含まれる未反応アンモニアを分解し、触媒槽20が少なくとも2種類以上の触媒21,22により構成され、吸着槽31においては、未反応アンモニアを吸着して回収する。【選択図】図1

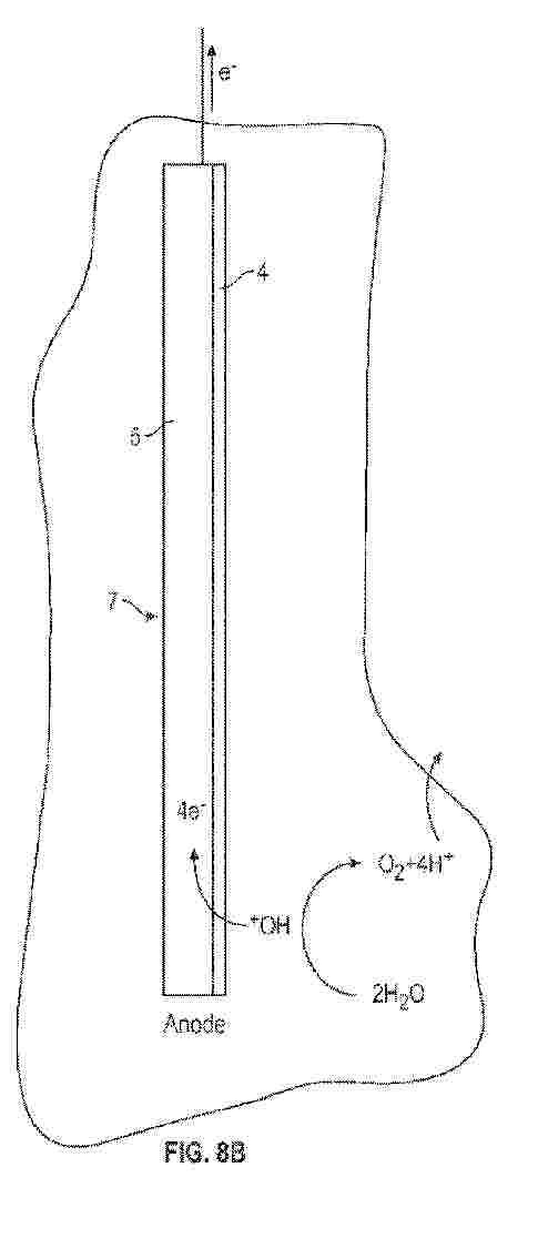
METHOD FOR PRODUCING HYDROGEN FROM A SOLUTION OF A HIGH CONCENTRATION OF HYDRONIUM IONS

NºPublicación:  WO2026039480A1 19/02/2026
Solicitante: 
HORNADAY DEV LLC [US]
HORNADAY DEVELOPMENT, LLC
WO_2026039480_PA

Resumen de: WO2026039480A1

A method for producing hydrogen including: performing electrolysis of a hydronium solution, the hydronium solution including: a molecule including hydrogen and oxygen; hydronium ions; hydroxide anions (OH-); a pH between -1.0 and 0.5; and a hydroxide anion OH- concentration of about 1% or less, wherein the hydronium solution is configured to maintain the same pH and the same hydroxide anion OH- concentration for at least six years. A method for producing hydrogen including: performing electrolysis of a hydronium solution, the hydronium solution including: a molecule including hydrogen and oxygen; hydronium ions; hydroxide anions (OH-); a pH between -1.0 and 0.5; and a hydroxide anion OH- concentration of about 1% or less, wherein the hydronium solution is configured to maintain the same pH and the same hydroxide anion OH-

DURABLE NON-IR METAL OXIDE AND METAL ALLOY MATERIALS, AND USES THEREOF

NºPublicación:  WO2026039285A1 19/02/2026
Solicitante: 
CALIFORNIA CATALYSTS INC [US]
TOKYO GAS CO LTD [JP]
CALIFORNIA CATALYSTS, INC,
TOKYO GAS CO., LTD
WO_2026039285_PA

Resumen de: WO2026039285A1

Provided are compositions comprising a catalytic oxide material having the atomic formula of M1xM2yM3zM4tM5uOv; and/or a catalytic alloy material having the atomic formula of M1xM2yM3zM4tM5u, where M1, M2, M3, M4 and M5 are selected from Ru, Ni, W, Nb, Mn, Fe, Ti, Ag, V, Co, and Mo. Further provided is the use of the catalytic oxide materials and/or the catalytic alloy materials in oxygen evolution reactions.

ANION CONDUCTIVE FILM, METHOD FOR PRODUCING ANION CONDUCTIVE FILM, MEMBRANE ELECTRODE ASSEMBLY, HYDROGEN PRODUCTION METHOD, AND HYDROGEN PRODUCTION SYSTEM

NºPublicación:  WO2026038553A1 19/02/2026
Solicitante: 
FUJIFILM CORP [JP]
\u5BCC\u58EB\u30D5\u30A4\u30EB\u30E0\u682A\u5F0F\u4F1A\u793E
WO_2026038553_PA

Resumen de: WO2026038553A1

The present invention pertains to: an anion conductive film which includes a porous base material and an anion conductive polymer that is disposed, in addition to being provided inside of pores of the porous base material, on 70% or more of the area of at least one surface of the porous base material, and in which the anion conductive polymer has a constituent component (I) derived from a polyfunctional polymerizable monomer having a total of 2 or more of at least one atom selected from an oxygen atom, a sulfur atom, and a nitrogen atom at a structural part other than a polymerizable group, and the proportion of the constituent component (I) among all constituent components of the polymer is 50 mol% or more; a method for producing the anion conductive film; a membrane electrode assembly; a hydrogen production method; and a hydrogen production system.

PREPARATION AND USE OF NICKEL-FOAM-SUPPORTED LAYERED COBALT TUNGSTEN OXIDE CATALYST FOR EFFICIENT WATER DECOMPOSITION

NºPublicación:  WO2026037094A1 19/02/2026
Solicitante: 
HAINAN NORMAL UNIV [CN]
\u6D77\u5357\u5E08\u8303\u5927\u5B66
WO_2026037094_PA

Resumen de: WO2026037094A1

The present invention belongs to the technical field of electrochemical catalysis. Disclosed are the preparation and use of a nickel-foam-supported layered cobalt tungsten oxide catalyst for efficient water decomposition. In the present invention, nickel foam (NF) is selected as a substrate, on which two cobalt oxides having different morphologies successively grow by means of electrochemical deposition, wherein ComCo3O4 serves as a first layer and can tightly wrap around the NF, thereby preventing the NF from anodic corrosion and dissolution in a harsh acidic medium; AcCo3O4 serves as a second layer, and nanosheet-shaped Co3O4 has good OER activity itself; in addition, the large specific surface area also provides more growth sites for a tungsten oxide; and finally, the tungsten oxide is electrically deposited on the AcCo3O4. WxOy/AcCo3O4/ComCo3O4/NF prepared by using the above method has a low overpotential and good stability.

PHOTOCATALYTIC CARTRIDGE

NºPublicación:  WO2026036170A1 19/02/2026
Solicitante: 
SPARC TECH LIMITED [AU]
SPARC TECHNOLOGIES LIMITED
WO_2026036170_PA

Resumen de: WO2026036170A1

This disclosure relates to a replaceable photocatalytic cartridge for use in a reactor, and a method for producing the replaceable photocatalytic cartridge. The replaceable photocatalytic cartridge being suitable for use within a reactor that photocatalytically splits water, such as a PWS reactor. In one embodiment, the photocatalytic cartridge comprises a container that contains a substrate that is coated with photocatalytic particles, wherein, in use, the photocatalytic cartridge is configured to be removably inserted into a receiving portion of the reactor such that the coated substrate is adapted to participate in a photocatalytic reaction with H2O and solar radiation within the reactor.

Carbon Dioxide Electrolysis Device and Method

NºPublicación:  US20260049407A1 19/02/2026
Solicitante: 
LG CHEM LTD [KR]
LG Chem, Ltd
US_20260049407_A1

Resumen de: US20260049407A1

Provided is a carbon dioxide electrolysis device including: a carbon dioxide electrolysis cell including an anode, a cathode, an electrolyte, and a membrane disposed between the anode and the cathode. The carbon dioxide electrolysis device further includes; a supply line configured to supply gaseous carbon dioxide and water vapor to the cathode; and a discharge line configured to discharge, into the outside of the carbon dioxide electrolysis cell, the water vapor and a product produced by the electrolysis reaction of the gaseous carbon dioxide inside the carbon dioxide electrolysis cell, wherein the discharge line includes a condensation part configured to condense the water vapor discharged through the discharge line.

A DIRECT REDUCTION FACILITY FOR REDUCTION OF A METAL OXIDE MATERIAL

NºPublicación:  US20260049370A1 19/02/2026
Solicitante: 
LUOSSAVAARA KIIRUNAVAARA AB [SE]
LUOSSAVAARA-KIIRUNAVAARA AB
US_20260049370_PA

Resumen de: US20260049370A1

The present invention concerns a metal material production configuration (1) and a method of direct reduction of a metal oxide material (5) holding a first thermal energy into a direct reduced metal material (16) by means of a metal material production configuration (1).The method comprises charging the metal oxide material (5), holding the first thermal energy, into a direct reduction facility (7); introducing a hydrogen, holding a second thermal energy, into the direct reduction facility (7).The invention involves reducing the metal oxide material (5) by using the first thermal energy of the metal oxide material (5) to heat or further heat the introduced hydrogen containing reducing agent (8) toward a required reaction temperature for providing a chemical reaction. A high-temperature exit gas (12) is removed from the direct reduction facility and fed to a high-temperature electrolysis unit (21) configured to produce the hydrogen.

METHOD FOR MANUFACTURING NANO METAL OXIDES AND HYDROGEN

NºPublicación:  US20260048995A1 19/02/2026
Solicitante: 
TRUEECO TECH INC [TW]
trueECO Technology INC
US_20260048995_A1

Resumen de: US20260048995A1

A method for manufacturing nano metal oxides and hydrogen includes the following steps: Step A, providing a first reactor, and placing a metal material, an alcohol compound, and a first catalyst in the first reactor and applying heating thereto for reacting to generate a metal alkoxide compound, while simultaneously generating a substantial amount of hydrogen; and Step B, providing a second reactor, and, after the metal material in the first reactor has fully reacted in Step A, transferring remaining solution in the first reactor into the second reactor, and adding a second catalyst and a controlled amount of water, and applying appropriate heating to generate nano metal oxide in powder form. As such, effects of significant reduction of production cost, enhancement of safety, widespread application of hydrogen fuel cells, extremely low carbon emissions, being defined as “green hydrogen”, and reduction of storage costs and risks can be achieved.

A separator for alkaline water electrolysis

NºPublicación:  AU2026200708A1 19/02/2026
Solicitante: 
AGFA GEVAERT NV
Agfa-Gevaert NV
AU_2026200708_A1

Resumen de: AU2026200708A1

Abstract A separator for alkaline electrolysis (1) comprising a porous support (100) and a porous layer (200) provided on the porous support, characterized in that a lateral Bubble Point of the separator, measured according to the method described in the description, is at least 0.2 bar. Abstract an b s t r a c t a n

ELECTRODE CONTAINING OXYGEN GENERATING ELECTRODE CATALYST

NºPublicación:  AU2024328340A1 19/02/2026
Solicitante: 
TOSOH CORP
RIKEN
TOSOH CORPORATION,
RIKEN
AU_2024328340_A1

Resumen de: AU2024328340A1

Provided is an electrode exhibiting high oxygen generating electrode catalytic activity as compared with conventional electrodes using manganese-based oxide as an oxygen generating electrode catalyst.

ELECTROLYSER FOR HYDROGEN PRODUCTION

NºPublicación:  AU2024330634A1 19/02/2026
Solicitante: 
IND DE NORA S P A
INDUSTRIE DE NORA S.P.A
AU_2024330634_PA

Resumen de: AU2024330634A1

The present invention refers to an electrolyser (1) for the production of hydrogen from an alkaline electrolyte. The electrolyser (1) comprises a first header (2) and a second header (3) between which a plurality of elementary cells (4) and a plurality of bipolar plates (5) are stacked. Each bipolar plate (5) separates two adjacent elementary cells. The electrolyser (1) further comprises a plurality of clamping elements (20) that mechanically connect said headers (2, 3). Each of the elementary cells (4) comprises a frame (6) defining a chamber (6A), having an anodic section and a cathodic section, in which an anodic electrode (7) and a cathodic electrode (8) are at least in part housed. Each of the elementary cells (4) further comprise a separator element (10) that separates the anodic section from the cathodic section. According to the invention, each of the frames (6) comprises first through holes (61) and each of the bipolar plates (5) comprises second through holes (51), wherein each of said first through holes (61) of one frame (6) is mutually aligned with a corresponding first through holes (61) of each of the another frames (6) and with one of said second through holes (51) of each bipolar plate (5), wherein each one of said clamping means (20) extends through said through holes (51, 61) mutually aligned.

PHOTOELECTRIC CELL WITH SILICON CARBIDE ELECTRODE AND PRODUCTION METHOD FOR SAME

NºPublicación:  US20260049404A1 19/02/2026
Solicitante: 
THE YELLOW SIC HOLDING GMBH [DE]
The Yellow SiC Holding GmbH
US_20260049404_PA

Resumen de: US20260049404A1

Disclosed are a photoelectric cell with a silicon carbide electrode (4) for photocatalytic production of hydrogen, and a manufacturing method therefor. The cell has on one side of the silicon carbide electrode (4) a window (2) the incidence of light (5) and on the other side of the silicon carbide electrode (4) an aqueous electrolyte (10) and a counter electrode (6). On the side of the silicon carbide electrode (4) facing the window, the cell is electrolyte-free. The silicon carbide electrode (4) is preferably produced by coating a substrate (3) with silicon carbide (4).

REACTOR FOR THE GENERATION OF HYDROGEN

NºPublicación:  EP4695014A1 18/02/2026
Solicitante: 
SIEMENS ENERGY GLOBAL GMBH & CO KG [DE]
Siemens Energy Global GmbH & Co. KG
DE_102023206000_PA

Resumen de: WO2025002798A1

The invention relates to a reactor (2) for generating hydrogen and at least one other product from at least one reactant, the reactor comprising a tubular reactor vessel (4) which contains a catalyst (6) in the form of a ceramic bed. Improved corrosion resistance against a variety of media and thus an increased service life of the reactor (2) is achieved by forming the reactor vessel (4) from silicon-infiltrated silicon carbide (SiSiC).

ELECTRODES FOR AN ELECTROCHEMICAL CELL FOR AN ALKALINE SEPARATION OF WATER INTO HYDROGEN AND OXYGEN, AND METHOD FOR PRODUCING SAME

NºPublicación:  EP4695447A1 18/02/2026
Solicitante: 
ALANTUM EUROPE GMBH [DE]
FRAUNHOFER GES FORSCHUNG [DE]
Alantum Europe GmbH,
Fraunhofer-Gesellschaft zur F\u00F6rderung der angewandten Forschung e.V
CN_121511328_A

Resumen de: AU2024304508A1

According to the invention, electrodes are arranged on two opposite surfaces of a separator. Each electrode consists of an open-pore metal structure, in particular a metal foam made of at least one of the chemical elements Ni, Al, Mo, Fe, Mn, Co, Zn, La, Ce, or an alloy of at least two of said chemical elements or an intermetallic compound of at least two of said chemical elements. A continuously decreasing catalytic activity is provided from the surface facing a separator or the respective other electrode of each electrochemical cell to the opposite surface of the respective electrode, and/or a continuously increasing porosity and/or pore size and/or a continuously decreasing specific surface area is provided from the surface facing a separator or the respective other electrode of each electrochemical cell to the opposite surface of the respective electrode.

ELECTROLYSIS APPARATUS

NºPublicación:  EP4695446A1 18/02/2026
Solicitante: 
HYDEP S R L [IT]
Hydep S.r.l
WO_2024214055_PA

Resumen de: WO2024214055A1

An electrolysis apparatus for the production of gaseous hydrogen and oxygen by water electrolysis is disclosed, with an electrolyzer (100) comprising a plurality of cells arranged next to each other to form a cell stack (116), wherein each cell includes an anode plate (122) and a cathode plate (124), and wherein the electrolyzer (100) further includes an anode end plate (118) and a cathode end plate (120) between which the cell stack (116) is clamped. The electrolyzer (100) has an active chamber (102) integrated therein, in which the electrolysis reaction of water contained in an electrolyte solution with which the electrolyzer (100) is fed takes place, a first liquid/gas phase separator (104) for separating oxygen gas from the electrolyte solution, and a second liquid/gas phase separator (106) for separating hydrogen gas from the electrolyte solution. The electrolyzer (100) also includes a plurality of sensors mounted on at least one of said anode and cathode end plates (118, 120) and configured to detect appropriate operating parameters of the first and second liquid/gas phase separator (104, 106).

SCALABLE ELECTROLYSIS CELL AND STACK AND METHOD OF HIGH-SPEED MANUFACTURING THE SAME

NºPublicación:  EP4696816A2 18/02/2026
Solicitante: 
EVOLOH INC [US]
Evoloh, Inc
EP_4696816_A2

Resumen de: EP4696816A2

An electrolyzer stack is configured for high-speed manufacturing and assembly of a plurality of scalable electrolysis cells. Each cell comprises a plurality of water windows configured to maintain a pressure loss, temperature rise and/or oxygen outlet volume fraction below predetermined thresholds. Repeating components of the cells are configured based on a desired roll web width for production and a stack compression system is configured to enable a variable quantity and variable area of said repeating cells in a single stack. A high-speed manufacturing system is configured to produce scalable cells and assemble scalable stacks at rates in excess of 1,000 MW-class stacks per year.

ELECTROCATALYTIC HYDROGEN CARRIER COMPOSITIONS

NºPublicación:  EP4695852A1 18/02/2026
Solicitante: 
AYRTON ENERGY INC [CA]
Ayrton Energy Inc
TW_202511539_A

Resumen de: TW202511539A

The present disclosure provides hydrogen carrier fluid (HCF) compositions, comprising a leanliquid organic hydrogen carrier (lean-LOHC) component comprising at least one cyclohexyl-based compound having at least one unsaturated bond, optionally in combination with one or more C4-12 alkyl alcohol, or a rich-liquid organic hydrogen carrier (rich-LOHC) component comprising at least one cyclohexyl-based compound, optionally in combination with a C4-7 ketone, a C4-6lactone or a mixture thereof; and an electrolyte component. Also provided is the use of these HCF compositions for storage and release of hydrogen, in an electrochemical reactor system.

ELECTROCHEMICAL ELECTRODE STRUCTURE, ELECTROCHEMICAL CELL, BIPOLAR ELECTRODE ASSEMBLY, ELECTROCHEMICAL CELL ARRANGEMENT, AND METHOD OF ATTACHING AN ELECTRODE ELEMENT TO A SUPPORTIVE ELEMENT OF AN ELECTROCHEMICAL ELECTRODE STRUCTURE FOR AN ELECTROCHEMICAL CELL

NºPublicación:  EP4695444A1 18/02/2026
Solicitante: 
THYSSENKRUPP NUCERA AG & CO KGAA [DE]
thyssenkrupp nucera AG & Co. KGaA
KR_20250168549_PA

Resumen de: CN121013926A

The invention relates to an electrochemical electrode structure comprising at least one electrode element and a support element. Each electrode element is a two-dimensionally extending conductive element having an open structure and has a first edge portion. The support element has an elastic region extending along the surface in a main extension plane of the elastic region. The elastic region is adapted to push the at least one electrode member away from the support element in a direction at least substantially perpendicular to a main plane of extension of the elastic region. The support element has a first tongue-shaped region arranged at an edge of the support element. A first edge portion of the at least one electrode element is curved around a first tongue-shaped region of the support element, thereby attaching the at least one electrode element to the support element. Furthermore, the invention relates to an electrochemical cell and a bipolar electrode assembly, each of which comprises such an electrode element, to an electrochemical cell arrangement having a plurality of such bipolar electrode assemblies, and to a method for attaching an electrode element to a support element of such an electrochemical electrode structure.

METHOD FOR MANUFACTURING ANION EXCHANGE MEMBRANE WATER ELECTROLYSIS SYSTEM

NºPublicación:  EP4696815A1 18/02/2026
Solicitante: 
HANWHA SOLUTIONS CORP [KR]
KOREA ADVANCED INST SCI & TECH [KR]
YONSEI UNIV UNIV INDUSTRY FOUNDATION UIF [KR]
Hanwha Solutions Corporation,
Korea Advanced Institute of Science and Technology,
Yonsei University, University-Industry Foundation(UIF)
EP_4696815_PA

Resumen de: EP4696815A1

Provided is a method of manufacturing an anion exchange membrane water electrolysis system exhibiting improved durability and efficiency, along with excellent water electrolysis performance.

RECOMBINATION LAYERS FOR CROSSOVER MITIGATION FOR EXCHANGE MEMBRANES AND WATER ELECTROLYZER MEMBRANE ELECTRODE ASSEMBLIES

NºPublicación:  EP4695009A1 18/02/2026
Solicitante: 
PLUG POWER INC [US]
Plug Power Inc
AU_2023443530_PA

Resumen de: AU2023443530A1

A method for forming a recombination layer includes, for example, an ionomer and a nanocrystal catalyst disposed in the ionomer. A method for forming the recombination layer may include, for example, providing an ionomer dispersion, providing a compound having a catalyst having a charge, adding the catalyst in the compound to the ionomer to form a mixture, reducing the catalyst in the compound to a metal catalyst in the ionomer, and forming the mixture with the metal catalyst into a recombination layer for a proton exchange membrane.

METHOD AND FACILITY FOR CONVERSION OF AMMONIA AND METHANOL INTO HYDROGEN USING ROTARY GENERATED THERMAL ENERGY

NºPublicación:  EP4695197A1 18/02/2026
Solicitante: 
COOLBROOK OY [FI]
Coolbrook Oy
KR_20250172828_PA

Resumen de: AU2024249844A1

A method for thermal or thermochemical conversion of ammonia or methanol feedstocks into hydrogen (gas) in a related feedstock conversion facility (1000) is provided. The method comprises generating heated fluidic medium by at least one rotary apparatus (100), supplying a stream of thus generated heated fluidic medium into the feedstock conversion facility (1000), and operating said at least one rotary apparatus (100) and said feedstock conversion facility (1000) to carry out thermal or thermochemical conversion of the ammonia or methanol feedstocks into hydrogen at temperatures essentially equal to or exceeding about 500 degrees Celsius (°C). Facility (1000, 1000A) for production of hydrogen from ammonia or methanol feedstocks is further provided.

ELECTROCHEMICAL ELECTRODE STRUCTURE, ELECTROCHEMICAL CELL, AND METHOD OF RETROFITTING A FINITE-GAP ELECTROCHEMICAL CELL INTO A ZERO-GAP TYPE ELECTROCHEMICAL CELL

NºPublicación:  EP4695445A1 18/02/2026
Solicitante: 
THYSSENKRUPP NUCERA AG & CO KGAA [DE]
thyssenkrupp nucera AG & Co. KGaA
KR_20250168548_PA

Resumen de: CN120958174A

The present invention relates to an electrochemical electrode structure comprising a current collector and at least one electrode element wherein the at least one electrode element is a two-dimensionally extending electrically conductive element having an open structure. In this electrochemical electrode structure, the at least one electrode element has at least one edge with a crimped rim, at which the strip portion of the electrode element is crimped away. Furthermore, the invention relates to an electrochemical cell comprising a first electrode, a second electrode and a separator wherein the first electrode or the second electrode or both electrodes are such an electrochemical electrode structure, and to a method for retrofitting a limited-gap electrochemical cell into a zero-gap electrochemical cell using such an electrochemical electrode structure.

一种氨分解制氢催化剂及其制备方法

Nº publicación: CN121534754A 17/02/2026

Solicitante:

佛山大学

CN_121534754_PA

Resumen de: CN121534754A

本发明涉及制氢技术领域,具体是公开一种氨分解制氢催化剂及其制备方法,所述氨分解制氢催化剂包括载体和负载在载体上的钌基活性组分,其中,所述载体为液相沉积法制备的生物炭/二氧化钛复合载体,所述钌基活性组分为钌金属。本发明通过优化复合载体组分之间的相互作用与活性金属的分散度,协同解决活性、稳定性、成本和钌活性组分的分散度等问题,显著提升氨分解制氢的效率。

traducir