Ministerio de Industria, Turismo y Comercio LogoMinisterior
 

Alerta

Resultados 487 resultados
LastUpdate Última actualización 01/01/2026 [06:59:00]
pdfxls
Publicaciones de solicitudes de patente de los últimos 60 días/Applications published in the last 60 days
previousPage Resultados 300 a 325 de 487 nextPage  

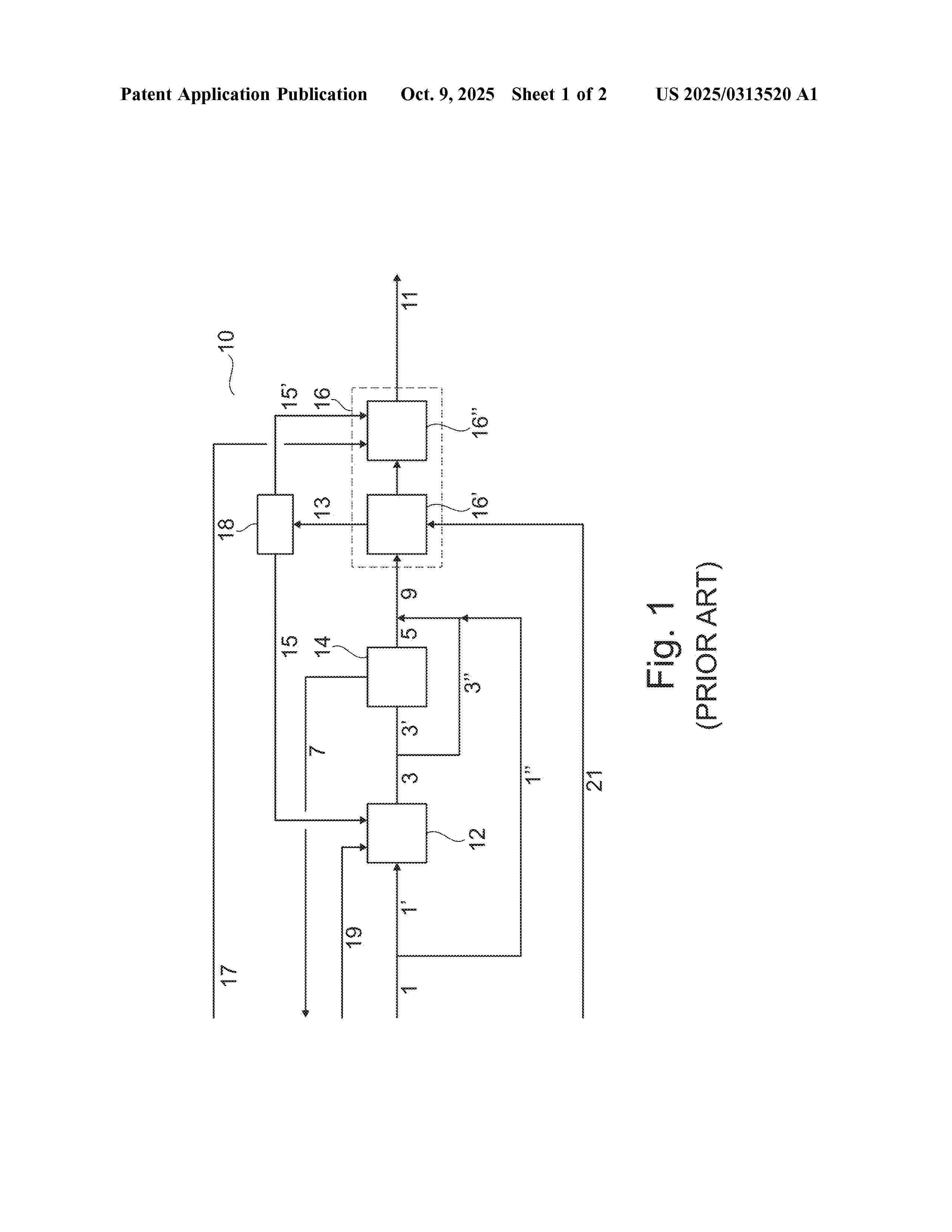
DEVICES, SYSTEMS, AND METHODS FOR ELECTROCHEMICALLY PURIFYING HYDROGEN

NºPublicación:  US2025352946A1 20/11/2025
Solicitante: 
LUDLOW DARYL J [US]
Ludlow Daryl J
JP_2025530379_PA

Resumen de: US2025352946A1

Hydrogen gas purifier electrochemical cells, systems for purifying hydrogen gas, and methods for purifying hydrogen gas are provided. The cells, systems, and methods employ double membrane electrode (DMEA) electrochemical cells that enhance purification while avoiding the complexity and cost of conventional cells. The purity of the hydrogen gas produced by the cells, systems, and methods can be enhanced by removing at least some intermediate gas impurities from the cells. The purity of the hydrogen gas produced by the cells, systems, and methods can also be enhanced be introducing hydrogen gas to the cells to replenish any lost hydrogen. Water electrolyzing electrochemical cells and methods of electrolyzing water to produce hydrogen gas are also disclosed.

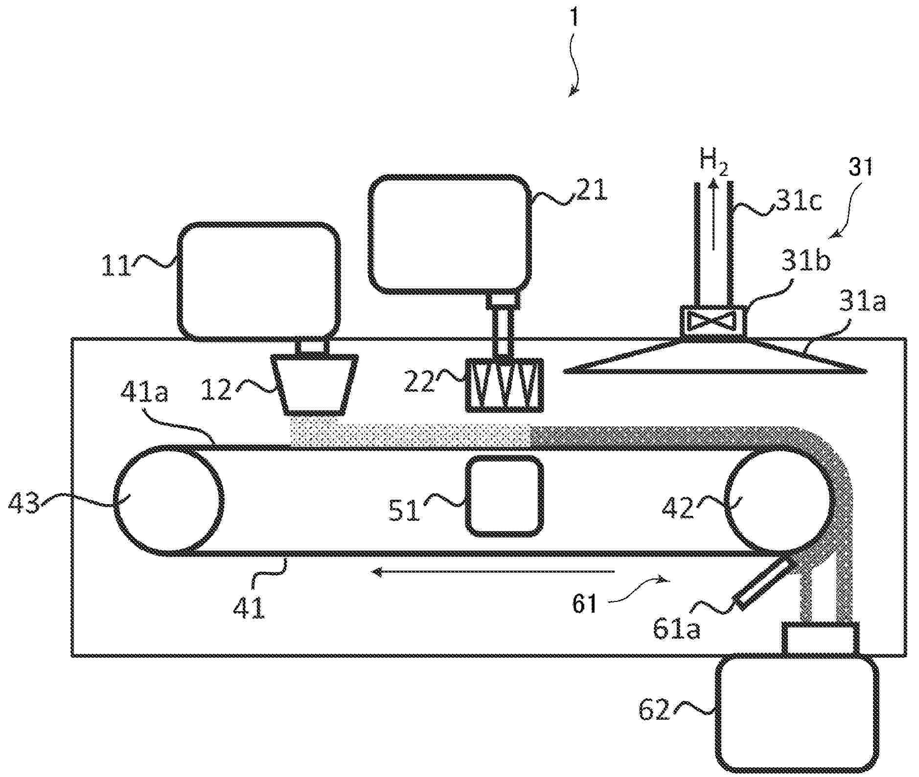
WATER SEALED TANK

NºPublicación:  US2025352926A1 20/11/2025
Solicitante: 
JOHN COCKERILL HYDROGEN BELGIUM [BE]
JOHN COCKERILL HYDROGEN BELGIUM
WO_2024115781_PA

Resumen de: US2025352926A1

A water sealed tank include a tank body and a heat conducting pipe. The tank body includes a gas-liquid inlet, a water outlet, and a gas outlet. The gas outlet is close to or located on a top portion of the tank body and communicates with the tank body. The water outlet is close to or located on a bottom portion of the tank body. The gas-liquid inlet communicates with the tank body and is used for feeding a gas-water mixture into the tank body, and a gas separated from the gas-water mixture inside the tank body is discharged from the gas outlet. At least a part of the heat conducting pipe is located inside the tank body, and used for a liquid to flow through, to allow the heat conducting pipe to exchange heat with water inside the tank body and heat the water inside the tank body.

NANOPARTICLES, USES THEREOF, AND A SYNTHESIS METHOD FOR PRODUCING SAID NANOPARTICLES

NºPublicación:  WO2025238301A1 20/11/2025
Solicitante: 
HELSINGIN YLIOPISTO [FI]
HELSINGIN YLIOPISTO
WO_2025238301_A1

Resumen de: WO2025238301A1

The present invention is providing a nanoparticle, preferably a nano-urchin particle, comprising plasmonic material and a catalytic metal, wherein said plasmonic material comprises tungsten oxide W18O49 and the catalytic metal is selected from a group consisting of: platinum (Pt), iridium (Ir), nickel (Ni), iron (Fe), molybdenum (Mo), ruthenium (Ru), and cobalt (Co), wherein the nanoparticle comprises 0.2 wt. % - 3.0 wt. % of said catalytic metal; and wherein said nanoparticle is capable of catalysing a hydrogen evolution reaction or an oxygen evolution reaction. The present invention is also providing a solvothermal method for producing a nanoparticle product comprising the steps of: a) dissolving a reagent comprising plasmonic material into a first solvent to obtain a first solution; b) adding to said first solution i) a reagent comprising a catalytic metal and ii) α-naphthol to obtain a second solution; c) subjecting said second solution to heat treatment at temperature of at least 150 °C, preferably at 180 °C; and d) collecting the nanoparticle product from the heat treated second solution, preferably by centrifugation.

HYDROGEN PROVIDING SYSTEM

NºPublicación:  WO2025239823A1 20/11/2025
Solicitante: 
LUOSSAVAARA KIIRUNAVAARA AB [SE]
LUOSSAVAARA-KIIRUNAVAARA AB
WO_2025239823_PA

Resumen de: WO2025239823A1

A hydrogen providing system (1) for providing hydrogen to an ironworks plant (4) in a heavy industry site (3). The hydrogen providing system (1) comprises an electrical power control unit (5) connected to a main electrical line (2) providing alternating current, AC, power, an electrolyser (6) configured to produce hydrogen gas, at least one hydrogen storage tank (7) configured to store hydrogen gas, and a fuel mixer (8) in fluid communication with and configured to direct the flow of hydrogen between the electrolyser (6), the hydrogen storage tank (7), and the ironworks plant (4). The hydrogen providing system (1) also comprises an electrical mixer (9) connected to and configured to control the flow of current between an AC current power line (10) connected to the electric power control unit (5), which is configured to control the AC power to the AC current power line (10),a first direct current, DC, power line (11) connected to the electrolyser, and a second DC power line (12) connected to a solar power plant (13).

METHOD FOR PRODUCING AN ELECTRODE FOR USE IN AN ELECTROLYSIS CELL, ELECTRODE AND STACK ARRANGEMENT HAVING SUCH AN ELECTRODE

NºPublicación:  WO2025237774A1 20/11/2025
Solicitante: 
KS GLEITLAGER GMBH [DE]
KS GLEITLAGER GMBH
WO_2025237774_PA

Resumen de: WO2025237774A1

The invention relates to a method for producing an electrode (10) for use in an electrolysis cell, comprising providing a metal flat material portion (18), wherein the flat material portion extends in a planar manner in a main plane, producing at least one three-dimensional contact structure (16) in the flat material portion (18), comprising introducing at least three slots (44) into the flat material portion in such a way that a connection piece (26) formed between two adjacent slots has a plurality of the through-openings, wherein the slots are distributed around a reference region (46), and comprising moving the reference region out of the main plane such that the reference region is displaced to a contact plane which is offset with respect to the main plane, the slots thereby being expanded, in order to form a contact region (24) of the contact structure (16). The invention also relates to such an electrode and to a stack arrangement having such an electrode.

METHOD FOR PREPARING AN ELECTROCHEMICALLY ACTIVATED ELECTRODE BASED ON SUPPORTED MOS2 FOR ELECTROCHEMICAL REDUCTION REACTIONS

NºPublicación:  WO2025237667A1 20/11/2025
Solicitante: 
IFP ENERGIES NOW [FR]
IFP ENERGIES NOUVELLES
WO_2025237667_A1

Resumen de: WO2025237667A1

Disclosed is a method for preparing an electrochemically activated electrode for electrochemical reduction reactions, the electrode comprising at least one catalytic material based on at least one group VIB metal supported on an electrically conductive support, the method consisting in carrying out an electrochemical treatment on an electrode comprising at least one catalytic material based on at least one group VIB metal supported on an electrically conductive support. The electrochemical treatment, which is carried out by cyclic voltammetry (CV) or chronoamperometry (CA), consists of a step of oxidation under specific conditions.

METHOD FOR PREPARING AN ACTIVE LAYER OF AN ELECTRODE BASED ON FLUORINATED MOS2 FOR ELECTROCHEMICAL REDUCTION REACTIONS

NºPublicación:  WO2025237668A1 20/11/2025
Solicitante: 
IFP ENERGIES NOW [FR]
IFP ENERGIES NOUVELLES
WO_2025237668_A1

Resumen de: WO2025237668A1

Disclosed is a method for preparing a catalytic material of an electrode for electrochemical reduction reactions, the catalytic material comprising an active phase based on at least one group VIB metal and fluorine. The method consists in bringing a solid material based on at least one group VIB metal sulphide into contact with a gas comprising at least difluorine, at a temperature of between -50°C and 150°C, for a duration of between 15 seconds and 120 minutes, the gas having a difluorine concentration of between 0.1 and 100% by volume relative to the total volume of the gas, a pressure of between 0.001 and 0.2 MPa, and a PPH of between 0.01 and 200 h-1.

水素発生材料

NºPublicación:  JP2025171335A 20/11/2025
Solicitante: 
東洋アルミニウム株式会社
JP_2025171335_PA

Resumen de: JP2025171335A

【課題】本発明は、水分と反応して分子状水素を発生可能ながらも、金属探知機にかけても誤探知されない水素発生材料を提供することを目的とする。【解決手段】本発明の水素発生材料は、複数の粒子状水素発生剤がマトリックス樹脂中に分散されており、前記マトリックス樹脂中の粒子状水素発生剤の含有量は0.6重量%以上6重量%以下であり、前記粒子状水素発生剤の体積基準平均径D50が1μm以上50μm以下であることを特徴とする。【選択図】図1

보강된 이온-전도성 막

NºPublicación:  KR20250162764A 19/11/2025
Solicitante: 
JOHNSON MATTHEY HYDROGEN TECHNOLOGIES LTD [GB]
\uC874\uC2A8 \uB9DB\uC384\uC774 \uD558\uC774\uB4DC\uB85C\uC820 \uD14C\uD06C\uB180\uB85C\uC9C0\uC2A4 \uB9AC\uBBF8\uD2F0\uB4DC
KR_20250162764_PA

Resumen de: CN120476490A

The present invention provides a reinforced ion conducting membrane comprising: (a) a reinforcement layer comprising a porous polymer structure; and (b) a polymer ion conducting membrane material impregnated within the porous polymer structure; wherein the porous polymer structure comprises a polymer backbone based on a nitrogen-containing heterocyclic ring, and the polymer ion-conducting membrane material has a transition temperature T alpha in the range of from 60 DEG C to 80 DEG C and including end values.

Energy Production Complex System Based on Hydrogen Storage Technology

NºPublicación:  KR20250162759A 19/11/2025
Solicitante: 
한국전력공사
KR_20220009803_PA

Resumen de: KR20220009803A

The present invention relates to an energy production complex system based on a liquid compound, including: a water electrolysis device unit for electrolyzing water to produce hydrogen; a hydrogen storage device unit for reacting the hydrogen produced by the water electrolysis unit with a first liquid compound to allow the first liquid compound to become a second liquid compound in which hydrogen is stored; a hydrogen desorption device unit for desorbing the hydrogen stored in the second liquid compound into hydrogen and the first liquid compound; and a fuel cell unit for generating power by receiving the hydrogen desorbed from the hydrogen desorption device unit.

ELECTROLYSIS CELL SYSTEM AND ELECTROLYSIS CELL SYSTEM OPERATION METHOD

NºPublicación:  EP4650491A1 19/11/2025
Solicitante: 
MITSUBISHI HEAVY IND LTD [JP]
Mitsubishi Heavy Industries, Ltd
EP_4650491_PA

Resumen de: EP4650491A1

Provided is an electrolysis cell system with energy efficiency improved. An electrolysis cell system (10) includes: an electrolysis cell (11) that has an anode and a cathode and generates hydrogen on the cathode and oxygen on the anode by electrolyzing steam supplied to the cathode; a supply line (20) that supplies air that controls the temperature of the electrolysis cell (11), to the electrolysis cell (11); an exhaust line (30) through which the air exhausted from the electrolysis cell (11) flows; a circulation line (40) that guides the air exhausted to the exhaust line (30), to the supply line (20); and a supply air temperature control heat exchanger (28) that controls the temperature of the air to be supplied to the electrolysis cell (11).

ELECTROLYSER AND METHOD FOR ITS OPERATION

NºPublicación:  EP4649184A1 19/11/2025
Solicitante: 
STIESDAHL HYDROGEN AS [DK]
Stiesdahl Hydrogen A/S
DK_202300028_A1

Resumen de: DK202300028A1

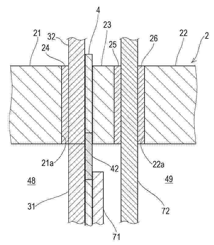
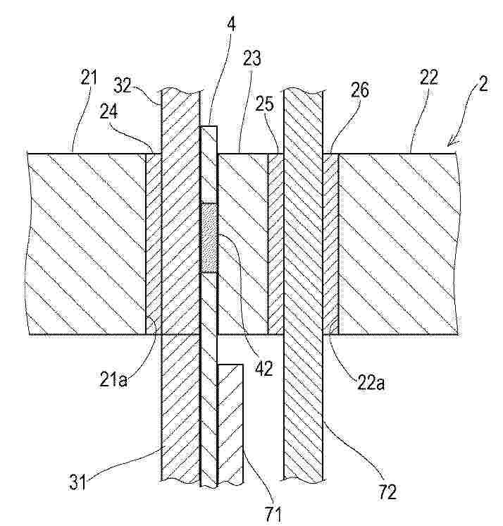
In an electrolyser (1) stack for production of hydrogen gas, multiple bipolar electrically conducting metal seperator plates (21, 25) sandwich membranes. Each seperator plate has raised surface portions (50) towards the membrane (23), forming minor gas channels (40) between the seperator plate (21, 25) and the membrane (23) for transort of produced gas along the seperator plate (21, 25). Each structured area (30A, 30B) with the minor channels (40) is surrounded by a combination of an upper major channel (41) above and a lower major channel (47) below the first structured area (30A), as well as a first major channel (42) and second major channel (49) connecting the lower major channel (47) with the upper major channel (41) on a first and second side. Gas flow through the channels leads to circulation of electrolyte through and around the structured areas (30A, 30B).

HYDROGEN AND OXYGEN DEPLETING SYSTEM WITHIN A WATER ELECTROLYSIS INSTALLATION AND RELATED PROCESS

NºPublicación:  EP4650488A1 19/11/2025
Solicitante: 
TOTALENERGIES ONETECH [FR]
TotalEnergies OneTech
EP_4650488_PA

Resumen de: EP4650488A1

The invention concerns a water electrolysis installation comprising:* a dioxygen separator (60) configured to separate a mixture of electrolyte and dioxygen (28B) and to obtain an electrolyte with dissolved dioxygen (61);* a dihydrogen separator (49) to separate a mixture of electrolyte and dihydrogen (28A) and to obtain an electrolyte with dissolved dihydrogen (51);* a recombination zone (32) configured to receive the electrolytes to produce, at a mixing region (68), a mixed electrolyte stream,The installation comprises a dihydrogen and/or dioxygen depleting system (70), comprising a catalyst configured to react dioxygen and dihydrogen dissolved in the mixed electrolyte stream, to produce a treated electrolyte stream (34) with reduced dioxygen and dihydrogen. The depleting system (70) is positioned in contact with the mixed electrolyte stream downstream of the mixing region (68) and upstream of the inlet of the electrochemical stack device.

ELECTROLYSIS SYSTEM AND CONTROL METHOD FOR ELECTROLYSIS SYSTEM

NºPublicación:  EP4650492A1 19/11/2025
Solicitante: 
MITSUBISHI HEAVY IND LTD [JP]
Mitsubishi Heavy Industries, Ltd
EP_4650492_PA

Resumen de: EP4650492A1

Provided is an electrolysis system (100) including an electrolysis module (10); a water vapor supply system (40) that supplies water vapor to a hydrogen electrode; a hydrogen recovery system (50) that recovers hydrogen-enriched water vapor; an air supply system (20) that supplies air to an oxygen electrode; an oxygen recovery system (30) that recovers exhaust air; a hydrogen-enriched water vapor release system (60) that releases hydrogen-enriched water vapor from the hydrogen recovery system (50) into the atmosphere; an exhaust air release system (70) that releases exhaust air from the oxygen recovery system (30) into the atmosphere; a hydrogen-enriched water vapor discharge valve (63) disposed in the hydrogen-enriched water vapor discharge system (60); and an exhaust air discharge valve (73) disposed in the exhaust air discharge system (70), wherein the opening degrees of the hydrogen-enriched water vapor discharge valve (63) and the exhaust air discharge valve (73) are controlled to be adjustable when the electrolytic module (10) is stopped.

COMPOSITE FOR ELECTROCATALYSIS AND PREPARATION METHOD THEROF

NºPublicación:  EP4650493A1 19/11/2025
Solicitante: 
HYDROLYZER DOO [RS]
Hydrolyzer DOO
EP_4650493_A1

Resumen de: EP4650493A1

The present invention relates to a method of preparing a composite material, in particular one useful as a catalyst in an electrolytic hydrogen evolution reaction and/or the oxygen evolution reaction and/or urea oxidation-assisted water electrolysis. Provided is a method of preparing a composite material, the method comprising the steps of:(i) electrochemically depositing material onto a substrate from a deposition solution comprising a nickel (II) salt and graphene oxide, to obtain a nickel-reduced graphene oxide composite material comprising nickel dispersed on reduced graphene oxide, said composite material being deposited on the substrate;(ii) after step (i), placing the substrate, having the nickel-reduced graphene oxide composite deposited thereon, in an alkaline solution along with a counter electrode; and(iii) after step (ii), partially electrochemically oxidising the nickel, to obtain a partially oxidised nickel-reduced graphene oxide composite material comprising partially oxidised nickel dispersed on reduced graphene oxide, said composite material being deposited on the substrate.The composite of the invention demonstrates high catalytic activity for electrolytic hydrogen production under alkaline water electrolysis conditions (for example, a hydrogen evolution current of up to 500 mA cm<sup>-2</sup> at -1.35 V against a Reversible Hydrogen Electrode). High activity is demonstrated even when the substrate (on which the composite is deposited) does not c

MEMBRANE-ELECTRODE-FRAME-ASSEMBLY FOR ION EXCHANGE MEMBRANE ELECTROLYSER, ELECTROLYSER CELL STACK AND METHOD OF MANUFACTURING

NºPublicación:  EP4650486A1 19/11/2025
Solicitante: 
AVL LIST GMBH [AT]
AVL FUEL CELL CANADA INC [CA]
AVL List GmbH,
AVL Fuel Cell Canada Inc
EP_4650486_PA

Resumen de: EP4650486A1

The present invention relates to a membrane electrode assembly (100) for a stackable electrolyser cell. The membrane electrode assembly (100) comprises a catalyst coated membrane (CCM) member (110) with a polymer membrane (111) that is at least partially coated with a catalyst coating (112, 113), a frame member (140) for mechanical reinforcement, two porous transport layers (121, 122), and an adhesive layer (150). The adhesive layer (150) forms an adhesive bond between the CCM member (110) and at least the frame member (140) and further, comprises an adhesive overlap section (151) that overlaps with a frame overlap section (141) of the frame member (140). The adhesive overlap section (151) extends inwardly with respect to the peripheral area (115) beyond the frame overlap section (141) to delimit a process area (116) of the CCM member (110). The invention relates further to a solid polymer electrolyte electrolyser cell stack with such membrane electrode assembly (100) and a method of manufacturing said membrane electrode assembly (100).

SYSTEM AND METHOD FOR STABILIZING THE OPERATION OF FACILITIES USING HYDROGEN PRODUCED BY LOW CARBON SOURCES

NºPublicación:  EP4650904A1 19/11/2025
Solicitante: 
KELLOGG BROWN & ROOT LLC [US]
Kellogg Brown & Root LLC
EP_4650904_PA

Resumen de: EP4650904A1

A system and a method for stabilizing hydrogen flow to a downstream process in a facility determining a hydrogen density and pressure profiles in the hydrogen storage unit for different target net hydrogen flows at different time intervals of a time horizon of a renewable power availability profile, determining an operating target net hydrogen flow of a hydrogen feed to the downstream process, determining a target direct hydrogen flow of a hydrogen feed and a target stored hydrogen flow of a hydrogen feed to the downstream process, and controlling the operation of the downstream process based on the operating target hydrogen flows.

AMMONIA CRACKING FOR HYDROGEN PRODUCTION

NºPublicación:  EP4649050A1 19/11/2025
Solicitante: 
CASALE SA [CH]
CASALE SA
KR_20250137610_PA

Resumen de: CN120476092A

The invention relates to a method for producing hydrogen from ammonia, comprising: ammonia cleavage in which the ammonia is decomposed into hydrogen and nitrogen, the ammonia cleavage being carried out in a sequence of cleavage steps (13, 36, 17, 20), and a final cleavage stream (21) being obtained after the final cleavage step (20), the final ammonia cracking step (20) is carried out in an adiabatic manner and/or after the final cracking step, the final cracking stream (21) is quenched by direct mixing with water or steam.

WATER ELECTROLYSIS CELL, WATER ELECTROLYSIS CELL STACK, AND MANUFACTURING METHOD OF WATER ELECTROLYSIS CELL

NºPublicación:  EP4650490A1 19/11/2025
Solicitante: 
TOSHIBA KK [JP]
TOSHIBA ENERGY SYSTEMS & SOLUTIONS CORP [JP]
Kabushiki Kaisha Toshiba,
Toshiba Energy Systems & Solutions Corporation
EP_4650490_PA

Resumen de: EP4650490A1

A water electrolysis cell according to an embodiment includes: an anode electrode including an anode catalyst layer in which anode catalyst sheets are stacked via a gap, each anode catalyst sheet containing iridium oxide and being in the form of a nanosheet; a cathode electrode including a cathode catalyst layer in which cathode catalyst sheets are stacked via a gap, each cathode catalyst sheet containing platinum and being in the form of a nanosheet; and an electrolyte membrane containing a hydrocarbon-based material, placed between the anode electrode and the cathode electrode.

A WATER ELECTROLYSIS PROCESS HAVING AN EXTENDED RANGE OF OPERATION AND RELATED INSTALLATION

NºPublicación:  EP4650487A1 19/11/2025
Solicitante: 
TOTALENERGIES ONETECH [FR]
TotalEnergies OneTech
EP_4650487_PA

Resumen de: EP4650487A1

The process comprises:- recovering a mixture of electrolyte and dioxygen from an anodic compartment (19B) and separating it in a dioxygen separator (60) to obtain a dioxygen stream and a dioxygen containing electrolyte stream;- recovering a mixture of electrolyte and dihydrogen from an cathodic compartment (19A) and separating it in a dihydrogen separator (49) to obtain a dihydrogen stream and a dihydrogen containing electrolyte stream ;- recirculating the dioxygen containing electrolyte stream and the dihydrogen containing electrolyte stream.Upon detection of conditions susceptible of leading to a dioxygen to dihydrogen ratio greater than a safety OTH threshold in the cathodic compartment (19A) or/and to a dihydrogen to dioxygen ratio greater than a safety HTO threshold in the anodic compartment (19B), flushing dihydrogen in electrolyte fed to the or each cathodic compartment (19A), and/or flushing dioxygen in electrolyte fed to the or each anodic compartment (19B).

PRODUCTION APPARATUS AND METHOD FOR HIGH PURITY HYDROGEN

NºPublicación:  KR20250161712A 18/11/2025
Solicitante: 
한국에너지기술연구원
KR_20250161712_PA

Resumen de: US2025346486A1

An embodiment of the present disclosure provides a production apparatus for high purity hydrogen, the production apparatus including: a decomposition reaction unit configured to decompose ammonia through ammonia decomposition reaction and discharge reaction products including hydrogen and nitrogen produced from the ammonia decomposition reaction and non-reacting ammonia; an adsorption refinement unit configured to discharge intermediate refined products by separating or removing ammonia from the reaction products; and a hydrogen separation membrane configured to discharge a high-purity hydrogen product by refining high-purity hydrogen by separating and filtering the intermediate refined products.

하나 이상의 가압된 전해조 스택으로부터 2상 유출물을 생성하고 처리하는 방법 및 하나 이상의 개별적인 가압된 전해조 스택을 포함하는 전해조 시스템

NºPublicación:  KR20250162612A 18/11/2025
Solicitante: 
티센크루프누세라아게운트콤파니카게아아
KR_20250162612_PA

Resumen de: AU2024237545A1

A method for generating and treating a two-phase outflow from one or more pressurised electrolyser stacks which are adapted to electrolyse water into hydrogen and oxygen, whereby a pump supplies a catholytic fluid flow from one first gas liquid gravitational separator vessel to the electrolyser stacks and whereby a further pump supplies an anolytic fluid flow from one second gas liquid gravitational separator vessel to the electrolyser stacks, and whereby at least one cyclone type gas liquid separator receives combined outflows from the catholytic chambers and/or receives combined outflows from anolytic chambers respectively inside corresponding gravitational gas liquid separator vessel whereby further, the at least one cyclone type gas liquid separator separates the gas from the liquid along a generally horizontal cyclonic rotation axis inside the gas liquid gravitational separator vessel. An electrolyser system is also provided.

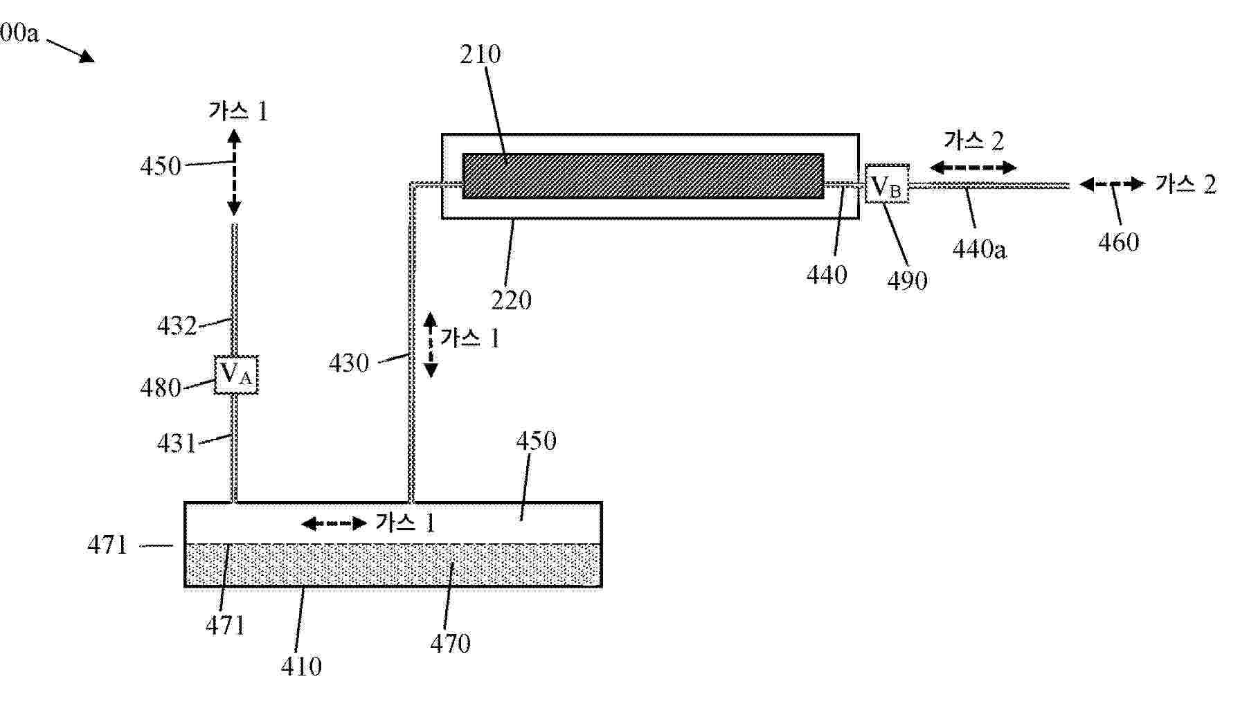
전기-합성 또는 전기-에너지 액체-가스 전지 또는 전지 스택용 보조설비

NºPublicación:  KR20250162602A 18/11/2025
Solicitante: 
HYSATA PTY LTD [AU]
\uD558\uC774\uC0AC\uD0C0 \uD53C\uD2F0\uC640\uC774 \uC5D8\uD2F0\uB514
KR_20250162602_PA

Resumen de: AU2024202934A1

Disclosed in one example is gas pressure equalisation systems (400-401), and method of operation, for an electro-synthetic or electro-energy liquid-gas cell or cell stack (210). The gas pressure equalisation systems (400-401) comprise a first pressure equalisation tank (410) for partially containing a first liquid (470) and a first gas. The first gas is positioned above a liquid first level (471). A first gas conduit (430) is provided for the transfer of the first gas between the cell or cell stack (210) and the first pressure equalisation tank (410). In another example, a second pressure equalisation tank (420) may be additionally provided for partially containing a second liquid (473) and a second gas positioned above a liquid second level (472). A second gas conduit (440) is then provided for the transfer of the second gas between the cell or cell stack (210) and the second pressure equalisation tank (420).

Process warning message system control method through alkaline electrolysis hydrogen production process warning message security program

NºPublicación:  KR20250161749A 18/11/2025
Solicitante: 
AHES [KR]
INDUSTRIAL COOPERATION FOUNDATION JEONBUK NATIONAL UNIV [KR]
\uC8FC\uC2DD\uD68C\uC0AC \uC544\uD5E4\uC2A4,
\uC804\uBD81\uB300\uD559\uAD50\uC0B0\uD559\uD611\uB825\uB2E8
KR_20250161749_PA

Resumen de: KR20250161749A

본 발명은 수전해 수소생산공정 경고메시지 보안 프로그램을 통한 공정경보 메시지 시스템 제어방법에 관한 것으로서, 수소생산과정을 안정적이고 효율적으로 관리하며 위험메시지를 텍스트와 함께 음성을 관리자에게 전달하여 안전사고를 방지할 수 있도록 함을 목적으로 하는 것이다. 즉, 본 발명은 수전해 수소생산공정 경고메시지 시스템 제어방법 있어서, 물공급과정에 대하여 입력값과 설정값의 오차를 비례, 적분 및 미분 제어가 이루어지는 물공급PID제어과정과 수소발생과정에 대하여 입력값과 설정값의 오차를 비례, 적분 및 미분 제어가 이루어지는 수소발생PID제어과정, 수소정제과정에 대하여 입력값과 설정값의 오차를 비례, 적분 및 미분 제어가 이루어지는 수소정제PID제어과정, 냉각수순환과정에 대하여 입력값과 설정값의 오차를 비례, 적분 및 미분 제어가 이루어지는 냉각수PID제어과정, 위험경보메시지출력과정을 통하여 텍스트로 출력된 위험메시지를 TTS를 통하여 음성으로 위험경보메시지를 출력하는 위험경보메시지TTS과정을 포함하여 이루어진 것을 특징으로 하는 것이다. 따라서, 본 발명은 수소생산과정을 안정적이고 효율적으로 관리하며 위험메시지를 텍스트와 함께 음성을 관리자에게 전달하여 안

AMMONIA WATER PRODUCTION APPARATUS AND HYDROGEN WATER PRODUCTION SYSTEM HAVING THE SAME

Nº publicación: KR20250161849A 18/11/2025

Solicitante:

황후철

KR_20250161849_PA

Resumen de: KR20250161849A

본 발명은 암모니아수 제조장치 및 그것을 구비한 수소수 제조시스템에 관한 것으로, 본 발명은 암모니아액이 저장된 암모니아액저장탱크; 순수가 저장된 순수저장탱크; 암모니아액과 순수가 혼합되어 희석되는 희석탱크; 상기 암모니아액저장탱크와 희석탱크를 연결하여 희석탱크로 암모니아액이 공급되는 암모니아액공급라인; 상기 순수저장탱크와 희석탱크를 연결하여 희석탱크로 순수가 공급되는 순수공급라인; 상기 암모니아액공급라인에 구비되어 상기 희석탱크로 공급되는 암모니아액의 유량을 조절하는 제1 유량조절기; 상기 순수공급라인에 구비되어 상기 희석탱크로 공급되는 순수의 유량을 조절하는 제2 유량조절기; 및 상기 희석탱크와 연결관에 의해 연결되어 상기 희석탱크에서 희석된 암모니아수가 공급되어 저장되는 암모니아수저장탱크를 포함한다. 본 발명에 따르면, 암모니아수를 생성하는 구성을 간단하고 컴팩트하게 하여 설치 공간을 줄이고, 암모니아수의 희석 비율의 정확도를 높이면서 암모니이수 희석 효율을 향상시키며 이물질이 누적되는 것을 방지하여 장비에 공급하는 수소수의 신뢰성을 높인다.

traducir