Ministerio de Industria, Turismo y Comercio LogoMinisterior
 

Alerta

Resultados 487 resultados
LastUpdate Última actualización 01/01/2026 [06:59:00]
pdfxls
Publicaciones de solicitudes de patente de los últimos 60 días/Applications published in the last 60 days
previousPage Resultados 325 a 350 de 487 nextPage  

Method of preparing methanol using green hydrogen and blue hydrogen

NºPublicación:  KR20250162165A 18/11/2025
Solicitante: 
동국대학교산학협력단
KR_20250162165_PA

Resumen de: KR20250162165A

그린수소 및 블루수소를 활용한 메탄올 합성 시스템 및 상기 시스템을 이용한 메탄올 합성방법을 제공한다. 상기 메탄올 합성 시스템은 수전해부, 가스 개질부, 수소 정제부, 메탄올 합성부 및 메탄올 정제부를 포함하는 시스템으로, 상기 메탄올 합성부는 상기 수전해부에서 분리된 그린수소, 상기 수소 정제부에서 분리된 블루수소, 상기 가스 개질부에서 개질된 이산화탄소 및 상기 메탄올 합성부에 추가로 공급되는 외부의 이산화탄소를 활용하여 메탄올을 합성할 수 있다. 상기 메탄올 합성 시스템을 이용한 메탄올 합성방법은 순산소 메탄올 합성 공정으로 고순도의 메탄올을 제공할 수 있다.

水电解槽、水电解槽组以及水电解槽的制造方法

NºPublicación:  CN120967374A 18/11/2025
Solicitante: 
株式会社东芝东芝能源系统株式会社
CN_120967374_PA

Resumen de: US2025354277A1

A water electrolysis cell according to an embodiment includes: an anode electrode including an anode catalyst layer in which anode catalyst sheets are stacked via a gap, each anode catalyst sheet containing iridium oxide and being in the form of a nanosheet; a cathode electrode including a cathode catalyst layer in which cathode catalyst sheets are stacked via a gap, each cathode catalyst sheet containing platinum and being in the form of a nanosheet; and an electrolyte membrane containing a hydrocarbon-based material, placed between the anode electrode and the cathode electrode.

用于离子交换膜电解池的膜电极框架组件、电解池堆及制造方法

NºPublicación:  CN120967375A 18/11/2025
Solicitante: 
AVL\u674E\u65AF\u7279\u6709\u9650\u516C\u53F8,
AVL\u71C3\u6599\u7535\u6C60\u52A0\u62FF\u5927\u6709\u9650\u516C\u53F8
CN_120967375_PA

Resumen de: EP4650486A1

The present invention relates to a membrane electrode assembly (100) for a stackable electrolyser cell. The membrane electrode assembly (100) comprises a catalyst coated membrane (CCM) member (110) with a polymer membrane (111) that is at least partially coated with a catalyst coating (112, 113), a frame member (140) for mechanical reinforcement, two porous transport layers (121, 122), and an adhesive layer (150). The adhesive layer (150) forms an adhesive bond between the CCM member (110) and at least the frame member (140) and further, comprises an adhesive overlap section (151) that overlaps with a frame overlap section (141) of the frame member (140). The adhesive overlap section (151) extends inwardly with respect to the peripheral area (115) beyond the frame overlap section (141) to delimit a process area (116) of the CCM member (110). The invention relates further to a solid polymer electrolyte electrolyser cell stack with such membrane electrode assembly (100) and a method of manufacturing said membrane electrode assembly (100).

具有扩大的操作范围的水电解方法和相关装置

NºPublicación:  CN120967363A 18/11/2025
Solicitante: 
道达尔能源一技术公司
CN_120967363_PA

Resumen de: US2025354282A1

A water electrolysis process includes recovering a mixture of electrolyte and dioxygen from an anodic compartment and separating it in a dioxygen separator to obtain a dioxygen stream and a dioxygen containing electrolyte stream; recovering a mixture of electrolyte and dihydrogen from an cathodic compartment and separating it in a dihydrogen separator to obtain a dihydrogen stream and a dihydrogen containing electrolyte stream; recirculating the dioxygen containing electrolyte stream and the dihydrogen containing electrolyte stream. Upon detection of conditions susceptible of leading to a dioxygen to dihydrogen ratio greater than a safety OTH threshold in the cathodic compartment or/and to a dihydrogen to dioxygen ratio greater than a safety HTO threshold in the anodic compartment, flushing dihydrogen in electrolyte fed to the or each cathodic compartment, and/or flushing dioxygen in electrolyte fed to the or each anodic compartment.

水电解装置内的氢和氧消耗系统及相关方法

NºPublicación:  CN120967379A 18/11/2025
Solicitante: 
道达尔能源一技术公司
CN_120967379_PA

Resumen de: EP4650488A1

The invention concerns a water electrolysis installation comprising:* a dioxygen separator (60) configured to separate a mixture of electrolyte and dioxygen (28B) and to obtain an electrolyte with dissolved dioxygen (61);* a dihydrogen separator (49) to separate a mixture of electrolyte and dihydrogen (28A) and to obtain an electrolyte with dissolved dihydrogen (51);* a recombination zone (32) configured to receive the electrolytes to produce, at a mixing region (68), a mixed electrolyte stream,The installation comprises a dihydrogen and/or dioxygen depleting system (70), comprising a catalyst configured to react dioxygen and dihydrogen dissolved in the mixed electrolyte stream, to produce a treated electrolyte stream (34) with reduced dioxygen and dihydrogen. The depleting system (70) is positioned in contact with the mixed electrolyte stream downstream of the mixing region (68) and upstream of the inlet of the electrochemical stack device.

用于水电解应用的选择性隔膜及其制造方法

NºPublicación:  CN120981607A 18/11/2025
Solicitante: 
科慕埃弗西有限公司
CN_120981607_PA

Resumen de: WO2024191979A1

A selective separator is described that comprises a porous polymeric separator and selective material on at least one outer surface. Selective material comprising a composite of ion exchange polymer and zirconium oxide particles (ZrO2) distributed throughout the ion exchange polymer may be applied as a liquid by a spray coating method. Selective separators made by methods described herein are suitable for use in alkaline water electrolysis applications.

膜电极组件和水电解槽

NºPublicación:  CN120981610A 18/11/2025
Solicitante: 
格林纳瑞缇有限公司
CN_120981610_PA

Resumen de: WO2024200433A1

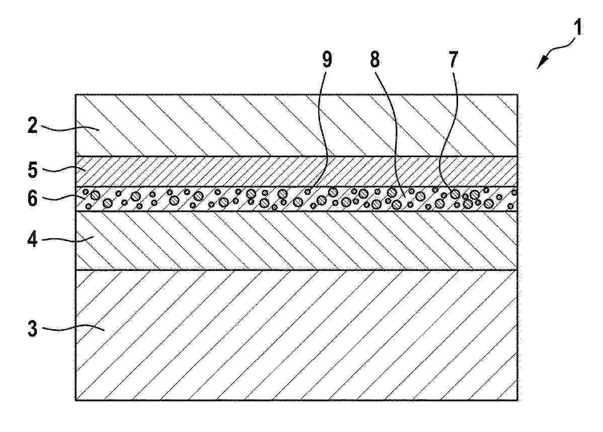
The invention relates to a membrane electrode assembly (1) for a water electrolysis cell, comprising an anode (2), a cathode (3) and a hydrocarbon membrane (4) located between the anode (2) and the cathode (3), further comprising a first gas recombination layer (5), which is arranged between the anode (2) and the hydrocarbon membrane (4), wherein at least one adhesion layer (6) is arranged between the gas recombination layer (5) and the hydrocarbon membrane (4), wherein the adhesion layer (6) comprises at least one ceramic material (7) and a proton-conductive polymer (8).

电解质溶液及其制造方法

NºPublicación:  CN120981608A 18/11/2025
Solicitante: 
马来西亚国家石油公司
CN_120981608_A

Resumen de: WO2024162841A1

An electrolyte solution comprising an electrolyte, wherein the electrolyte is used in an amount ranging between 1 wt% to 10 wt% of the electrolyte solution; an ionic liquid, wherein the ionic liquid is used in an amount ranging between 1 wt% to 5 wt% of the electrolyte solution; and a solvent, wherein the solvent is used in an amount ranging between 75 wt% to 99 wt% of the electrolyte solution.

HYDROGEN AND OXYGEN GENERATING SUPPLYING APPARATUS WITH HEAT DISSIPATIING MODULE

NºPublicación:  KR20250162018A 18/11/2025
Solicitante: 
주식회사헤즈
KR_20250162018_PA

Resumen de: KR20250162018A

본 발명은 방열 모듈을 포함하는 수소 및 산소 공급 장치에 관한 것으로, 보다 상세하게는 수소 및 산소 생성 모듈에 의해 생성된 수소 및 산소가 분산되지 않고 수소 및 산소를 안정적으로 외부로 공급할 수 있는 방열 모듈을 포함하는 수소 및 산소 공급 장치에 관한 것이다.

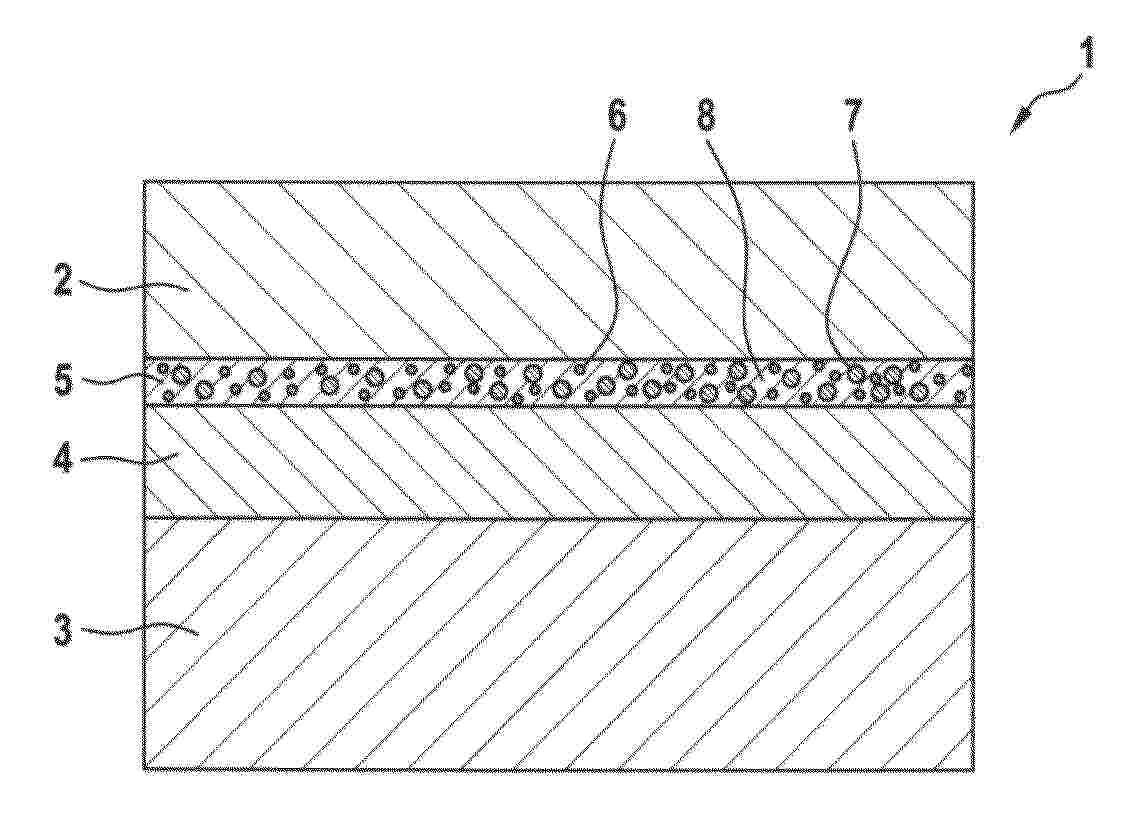
막 전극 조립체 및 수전해 전지

NºPublicación:  KR20250161638A 17/11/2025
Solicitante: 
GREENERITY GMBH [DE]
\uADF8\uB9AC\uB108\uB9AC\uD2F0 \uAC8C\uC5E0\uBCA0\uD558
KR_20250161638_PA

Resumen de: WO2024200433A1

The invention relates to a membrane electrode assembly (1) for a water electrolysis cell, comprising an anode (2), a cathode (3) and a hydrocarbon membrane (4) located between the anode (2) and the cathode (3), further comprising a first gas recombination layer (5), which is arranged between the anode (2) and the hydrocarbon membrane (4), wherein at least one adhesion layer (6) is arranged between the gas recombination layer (5) and the hydrocarbon membrane (4), wherein the adhesion layer (6) comprises at least one ceramic material (7) and a proton-conductive polymer (8).

수소 생성을 위한 알칼리 수전해용 막전극, 이의 제조방법 및 전해조

NºPublicación:  KR20250161623A 17/11/2025
Solicitante: 
차이나에너지인베스트먼트코포레이션리미디트내셔널인스티튜트오브클린앤로우카본에너지
WO_2024193079_PA

Resumen de: WO2024193079A1

The present invention provides a membrane electrode for alkaline water electrolysis for hydrogen production and a preparation method therefor, and an electrolytic cell. According to the preparation method provided by the present invention, a membrane electrode having catalyst layers uniformly and firmly attached to the surfaces of a membrane can be obtained in a direct coating and hot-pressing mode, the membrane electrode can be endowed with good stability, and the obtained membrane electrode has a remarkably reduced water electrolysis overpotential. The preparation method comprises the following steps: directly applying a catalyst slurry on the surfaces of two sides of a membrane, and drying and hot-pressing the catalyst slurry to respectively form catalyst layers on the surfaces of the two sides of the membrane to obtain the membrane electrode. The membrane is selected from a porous membrane or an alkaline anion exchange membrane; the catalyst slurry comprises a binder solution and a catalyst, wherein the binder solution is one or more of a perfluorosulfonic acid resin solution and a perfluorosulfonic acid ionomer dispersion, and the mass concentration of the binder solution is 5-30%; and the mass ratio of the binder solution to the catalyst is 1:1 to 4:1.

Alkaline electrolyzer generating hydrogen and oxygen at pressures up to 250 bar

NºPublicación:  PL448572A1 17/11/2025
Solicitante: 
INST TECHNIKI GORNICZEJ KOMAG [PL]
DEBITA GRZEGORZ [PL]
SIERPOWSKI KORNELIUSZ [PL]
INSTYTUT TECHNIKI G\u00D3RNICZEJ KOMAG,
DEBITA GRZEGORZ,
SIERPOWSKI KORNELIUSZ
PL_448572_A1

Resumen de: PL448572A1

Przedmiotem zgłoszenia jest wysokociśnieniowy elektrolizer alkaliczny do produkcji wodoru i tlenu o ciśnieniu do 250 bar, na drodze procesu elektrolizy wody, po doprowadzeniu do anody i katody (elektrody) potencjału elektrycznego, a oba gazy są separowane pod wysokim ciśnieniem. Elektrolizer alkaliczny generujący wodór i tlen o ciśnieniu do 250 bar zbudowany z dwóch pokryw (2) zamykających konstrukcję elektrolizera z obu stron, zespołu ułożonych szeregowo elektrod bipolarnych (1), zespołu membran (3), gdzie pomiędzy każdymi sąsiadującymi ze sobą elektrodami bipolarnymi (1) umieszczona jest membrana (3) dzieląca przestrzeń pomiędzy elektrodami (1) na przestrzeń anodową i katodową elektrolizera i przestrzenie pomiędzy membraną (3) a sąsiadującymi elektrodami bipolarnymi (1) wypełnione są na obwodzie elektrod bipolarnych (1) wkładkami uszczelniającymi z materiału nieprzewodzącego (4), a membrana (3) uszczelniona jest między dociśniętymi do niej z obu stron wkładkami uszczelniającymi z materiału nieprzewodzącego (4).

DEPOLYMERIZATION METHOD OF POLYETHYLENE TEREPHTHALATE AND DEPOLYMERIZATION SYSTEM OF POLYETHYLENE TEREPHTHALATE

NºPublicación:  KR20250161154A 17/11/2025
Solicitante: 
ULSAN NAT INST SCIENCE & TECH UNIST [KR]
\uC6B8\uC0B0\uACFC\uD559\uAE30\uC220\uC6D0
KR_20250161154_PA

Resumen de: KR20250161154A

본 발명은, PET(폴리에틸렌 테레프탈레이트)의 분해 방법 및 PET(폴리에틸렌 테레프탈레이트)의 분해 시스템에 관한 것으로, 보다 구체적으로 PET(폴리에틸렌 테레프탈레이트) 입자를 질소 가스로 동결시키는 단계; 동결된 PET 입자를 크라이오 볼밀링한 이후 메쉬로 시빙(sieving)하여 PET 미세 입자를 분리하는 단계; PMA(인몰리브덴산) 촉매, 산 및 DMSO를 포함하는 촉매 용액을 준비하는 단계; 및 상기 촉매 용액에 PET 미세 입자를 투입하고, 상온 이상의 온도에서 해중합하는 단계; 를 포함하는, PET(폴리에틸렌 테레프탈레이트)의 분해 방법 및 PET(폴리에틸렌 테레프탈레이트)의 분해 시스템에 관련된다.

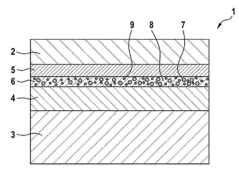
막 전극 조립체 및 수전해 전지

NºPublicación:  KR20250161639A 17/11/2025
Solicitante: 
GREENERITY GMBH [DE]
\uADF8\uB9AC\uB108\uB9AC\uD2F0 \uAC8C\uC5E0\uBCA0\uD558
KR_20250161639_PA

Resumen de: WO2024200434A1

The invention relates to a membrane electrode assembly (1) for a water electrolysis cell, comprising an anode (2), a cathode (3) and a hydrocarbon membrane lying between the anode (2) and the cathode (3), further comprising a first gas recombination layer (5) which is arranged between the anode (2) and the hydrocarbon membrane (4), wherein the first gas recombination layer (5) comprises a noble metal (6), a ceramic material (7) and a proton-conductive polymer (8), and wherein a volume portion of proton-conductive polymer (8) is 24 to 84 volume %, in particular 35 to 75 volume % and in particular 46 to 65 volume %, based on the total volume of the gas recombination layer (5).

HYDROGEN PROVIDING SYSTEM

NºPublicación:  SE2450516A1 15/11/2025
Solicitante: 
LUOSSAVAARA KIIRUNAVAARA AB [SE]
LUOSSAVAARA-KIIRUNAVAARA AB
SE_2450516_A1

Resumen de: WO2025239823A1

A hydrogen providing system (1) for providing hydrogen to an ironworks plant (4) in a heavy industry site (3). The hydrogen providing system (1) comprises an electrical power control unit (5) connected to a main electrical line (2) providing alternating current, AC, power, an electrolyser (6) configured to produce hydrogen gas, at least one hydrogen storage tank (7) configured to store hydrogen gas, and a fuel mixer (8) in fluid communication with and configured to direct the flow of hydrogen between the electrolyser (6), the hydrogen storage tank (7), and the ironworks plant (4). The hydrogen providing system (1) also comprises an electrical mixer (9) connected to and configured to control the flow of current between an AC current power line (10) connected to the electric power control unit (5), which is configured to control the AC power to the AC current power line (10),a first direct current, DC, power line (11) connected to the electrolyser, and a second DC power line (12) connected to a solar power plant (13).

Procédé de préparation d’une électrode activée électrochimiquement à base de MoS2 supporté pour des réactions de réduction électrochimique

NºPublicación:  FR3162053A1 14/11/2025
Solicitante: 
IFP ENERGIES NOW [FR]
IFP ENERGIES NOUVELLES
FR_3162053_A1

Resumen de: FR3162053A1

Procédé de préparation d’une électrode activée électrochimiquement pour des réactions de réduction électrochimique, ladite électrode comprenant au moins un matériau catalytique à base d’au moins un métal du groupe VIB supporté sur un support électro conducteur, ledit procédé consiste à réaliser un traitement électrochimique à une électrode comprenant au moins un matériau catalytique à base d’au moins un métal du groupe VIB supporté sur un support électroconducteur. Ledit traitement électrochimique, réalisé par voltampérométrie cyclique (CV) ou chronoampérométrie (CA), consiste en une étape d’oxydation dans des conditions spécifiques.

Procédé de préparation d’une couche active d’électrode à base de MoS2 fluoré pour des réactions de réduction électrochimique

NºPublicación:  FR3162008A1 14/11/2025
Solicitante: 
IFP ENERGIES NOW [FR]
IFP ENERGIES NOUVELLES
FR_3162008_A1

Resumen de: FR3162008A1

Procédé de préparation d’un matériau catalytique d’une électrode pour des réactions de réduction électrochimique, ledit matériau catalytique comprenant une phase active à base d’au moins un métal du groupe VIB et de fluor. Ledit procédé consiste en la mise en contact d’un matériau solide à base d’au moins un métal du groupe VIB sulfuré avec un gaz comprenant au moins du difluor, à une température comprise entre -50°C et 150°C, une durée comprise entre 15 secondes et 120 minutes, une concentration en difluor dans le gaz comprise entre 0,1 et 100% volume par rapport au volume total dudit gaz, une pression comprise 0,001 et 0,2 MPa, une P.P.H comprise entre 0,01 et 200 h-1.

수전해 응용을 위한 선택적 분리막 및 그 제조 방법

NºPublicación:  KR20250160976A 14/11/2025
Solicitante: 
더케무어스컴퍼니에프씨엘엘씨
KR_20250160976_PA

Resumen de: WO2024191979A1

A selective separator is described that comprises a porous polymeric separator and selective material on at least one outer surface. Selective material comprising a composite of ion exchange polymer and zirconium oxide particles (ZrO2) distributed throughout the ion exchange polymer may be applied as a liquid by a spray coating method. Selective separators made by methods described herein are suitable for use in alkaline water electrolysis applications.

Bipolar plate with a speed bump flow field that facilitates oxygen discharge

NºPublicación:  KR20250160699A 14/11/2025
Solicitante: 
서울시립대학교산학협력단
KR_20250160699_PA

Resumen de: KR20250160699A

바이폴라 플레이트가 제공된다. 상기 바이폴라 플레이트는 유로가 형성된 판부;를 포함하고, 상기 유로에는 스피드 범프(speed bump)가 형성될 수 있다. 상기 유로는 양이온 교환막(PEM, Proton Exchange Membrane) 또는 막전극접합체(MEA, Membrane Electrode Assembly)에 대면하는 상기 판부의 일면에 트렌치(trench) 형상으로 형성될 수 있다. 상기 유로의 내측벽과 바닥면 중 적어도 하나로부터 돌출된 돌출부가 마련될 수 있다.

电化学系统

NºPublicación:  CN120945394A 14/11/2025
Solicitante: 
现代自动车株式会社起亚株式会社
CN_120945394_PA

Resumen de: US2025354272A1

Provided is an electrochemical system comprising a water electrolysis stack with an anode and a cathode. The system includes a reaction fluid supply line that supplies a reaction fluid to the anode, a first gas-liquid separator located in the reaction fluid supply line to separate the reaction fluid into gaseous and liquid components, and a first filter part positioned upstream of the first gas-liquid separator to filter the reaction fluid. The system further includes a first circulation line that circulates the liquid reaction fluid from the anode back to the first gas-liquid separator. Additionally, a second gas-liquid separator in a discharged fluid discharge line is connected to the cathode, with a second circulation line configured to maintain the ionic purity of the discharged fluid. The system also includes a mechanism to monitor ionic conductivity and selectively control the operation of the water electrolysis stack based on detected ionic levels.

AEM电解槽

NºPublicación:  CN120945395A 14/11/2025
Solicitante: 
苏州莒纳新材料科技有限公司上海莒纳新材料科技有限公司
CN_120945395_PA

Resumen de: CN115948757A

The invention provides an electrolytic bath which comprises a cathode end plate, a cathode insulating layer, an electrolytic unit, an anode insulating layer and an anode end plate which are sequentially arranged in the same direction, each small electrolysis chamber comprises a cathode plate, a cathode sealing ring, a cathode gas diffusion layer, a diaphragm, an anode gas diffusion layer and an anode plate which are sequentially arranged in the same direction, the cathode plate and the anode plate at the series connection part between the small electrolysis chambers are combined to form a bipolar plate, the cathode plate comprises a cathode surface, the anode plate comprises an anode surface, and the bipolar plate comprises a cathode surface and an anode surface; a concave area and an outer frame area are arranged on the cathode surface and the anode surface, the outer frame area is arranged around the concave area, a plurality of raised lines are arranged in the concave area, a diversion trench is formed between the raised lines, confluence trenches are arranged in the concave area at two ends of the diversion trench, and the confluence trenches are communicated with the diversion trench. According to the scheme, uniform diffusion of the electrolyte is realized.

水素の製造方法

NºPublicación:  JP2025169754A 14/11/2025
Solicitante: 
マイクロ波化学株式会社
JP_2025169754_A

Resumen de: JP2025169754A

【課題】水から水素を効率的に製造する新たな方法を提供する。【解決手段】本発明の製造方法は、還元剤を加えた水に電磁波を照射して、水素を発生する、水素の製造方法である。【選択図】なし

電解フィルム

NºPublicación:  JP2025537164A 14/11/2025
Solicitante: 
セラニーズ・インターナショナル・コーポレーション
JP_2025537164_PA

Resumen de: CN120530521A

Disclosed is a hydrophilic porous polymer membrane which is particularly suitable for use in electrolytic cells for producing hydrogen. The porous polymer membranes contain one or more high density polyethylene polymers in combination with one or more hydrophilic additives. The porous membrane may be formed by a gel extrusion process or sintering. Extremely thin membranes having desired permeability characteristics, hydrophilic characteristics, and mechanical characteristics required for use in batteries can be produced.

水素及び一酸化炭素の電気化学的同時生成

NºPublicación:  JP2025537354A 14/11/2025
Solicitante: 
ユティリティ・グローバル・インコーポレイテッド
JP_2025537354_PA

Resumen de: CN120167017A

A process for co-production of carbon monoxide and hydrogen is discussed herein, the process comprising: (a) providing an electrochemical reactor having an anode, a cathode, and a hybrid conductive membrane positioned between the anode and the cathode; (b) introducing a first stream into the anode, wherein the first stream comprises a fuel; (c) introducing a second stream into the cathode wherein the second stream comprises carbon dioxide and water wherein carbon monoxide is electrochemically generated from carbon dioxide and hydrogen is electrochemically generated from water. In an embodiment, the anode and the cathode are separated by the membrane, and both are exposed to a reducing environment during the entire operating time.

Procédé de préparation d’une électrode activée électrochimiquement à base de MoS2 fluoré pour des réactions de réduction électrochimique

Nº publicación: FR3162052A1 14/11/2025

Solicitante:

IFP ENERGIES NOW [FR]
IFP ENERGIES NOUVELLES

FR_3162052_A1

Resumen de: FR3162052A1

Procédé de préparation d’une électrode activée électrochimiquement pour des réactions de réduction électrochimique, ladite électrode comprenant au moins un matériau catalytique à base d’au moins un métal du groupe VIB fluoré, ledit procédé consiste à réaliser un traitement électrochimique oxydatif à une électrode comprenant au moins un matériau catalytique à base d’au moins un métal du groupe VIB fluoré.

traducir