Ministerio de Industria, Turismo y Comercio LogoMinisterior
 

Artículos

Resultados 881 resultados
LastUpdate Última actualización 10/11/2025 [06:59:00]
pdfxls
Publicaciones de solicitudes de patente de los últimos 60 días/Applications published in the last 60 days
previousPage Resultados 400 a 425 de 881 nextPage  

Water Forming Reaction Mixtures

NºPublicación:  US2025309301A1 02/10/2025
Solicitante: 
BRILLIANT LIGHT POWER INC [US]
Brilliant Light Power, Inc
US_2025309301_A1

Resumen de: US2025309301A1

An electrochemical power system is provided that generates an electromotive force (EMF) from the catalytic reaction of hydrogen to lower energy (hydrino) states providing direct conversion of the energy released from the hydrino reaction into electricity, the system comprising at least two components chosen from: H2O catalyst or a source of H2O catalyst; atomic hydrogen or a source of atomic hydrogen; reactants to form the H2O catalyst or source of H2O catalyst and atomic hydrogen or source of atomic hydrogen; and one or more reactants to initiate the catalysis of atomic hydrogen. The electrochemical power system for forming hydrinos and electricity can further comprise a cathode compartment comprising a cathode, an anode compartment comprising an anode, optionally a salt bridge, reactants that constitute hydrino reactants during cell operation with separate electron flow and ion mass transport, and a source of hydrogen. Due to oxidation-reduction cell half reactions, the hydrino-producing reaction mixture is constituted with the migration of electrons through an external circuit and ion mass transport through a separate path such as the electrolyte to complete an electrical circuit. A power source and hydride reactor is further provided that powers a power system comprising (i) a reaction cell for the catalysis of atomic hydrogen to form hydrinos, (ii) a chemical fuel mixture comprising at least two components chosen from: a source of H2O catalyst or H2O catalyst; a source o

TRIFUNCTIONAL GRAPHENE-SANDWICHED HETEROJUNCTION-EMBEDDED LAYERED LATTICE CATALYST WITH HIGH ACTIVITY AND STABILITY FOR ZN-AIR BATTERY-DRIVEN WATER SPLITTING

NºPublicación:  US2025309278A1 02/10/2025
Solicitante: 
KOREA ADVANCED INSTITUTE OF SCIENCE AND TECH [KR]
KOREA ADVANCED INSTITUTE OF SCIENCE AND TECHNOLOGY
US_2025309278_A1

Resumen de: US2025309278A1

The present disclosure relates to a trifunctional catalyst, a method of the trifunctional catalyst, and a water splitting system using the trifunctional catalyst. The water splitting system according to embodiments of the present disclosure can be applied to energy storage and conversion by using characteristics of three types of catalytic reactions (oxygen evolution reaction (OER), oxygen reduction reaction (ORR), and hydrogen evolution reaction HER)) and can serve as a self-powered clean hydrogen production system at the same time.

Electrolytic Unit and Electrolytic Stack

NºPublicación:  US2025305162A1 02/10/2025
Solicitante: 
ROBERT BOSCH GMBH [DE]
Robert Bosch GmbH
US_2025305162_A1

Resumen de: US2025305162A1

An electrolytic unit includes (i) a plate having a first side and a second side opposite each other, the first side being an anode side, and the second side being a cathode side, (ii) an anode porous transport layer and a cathode porous transport layer respectively disposed at the first side and the second side, (iii) an exchange membrane, (iv) an anode catalyst layer and a cathode catalyst layer respectively disposed at two sides of the exchange membrane, (v) an anode gas diffusion electrode positioned on the anode catalyst layer, and (vi) a cathode gas diffusion electrode positioned on the cathode catalyst layer. The cathode porous transport layer, the plate, and the anode porous transport layer are formed as an integral mechanical portion, and the anode gas diffusion electrode, the anode catalyst layer, the exchange membrane, the cathode catalyst layer and the cathode gas diffusion electrode are formed as an integral electrochemical portion. Also provided is an electrolytic stack the includes the electrolytic unit described above. By way of the above, the assembly and maintenance of the electrolytic unit and the electrolytic stack are facilitated.

LIQUID FUEL MANUFACTURING SYSTEM AND LIQUID FUEL MANUFACTURING METHOD

NºPublicación:  US2025304870A1 02/10/2025
Solicitante: 
HONDA MOTOR CO LTD [JP]
HONDA MOTOR CO., LTD
US_2025304870_A1

Resumen de: US2025304870A1

A liquid fuel manufacturing system and a liquid fuel manufacturing method which can be operated under conditions that fuel manufacturing costs are minimized at all times are provided. A liquid fuel manufacturing system 1 includes a gasification furnace producing synthesis gas from a biomass raw material, an electrolysis apparatus producing hydrogen from water by means of electricity generated using renewable energy, a liquid fuel manufacturing apparatus manufacturing liquid fuel with synthesis gas generated by the gasification furnace and hydrogen produced by the electrolysis apparatus as raw materials, and a control device controlling the gasification furnace and the electrolysis apparatus. The control device has a cost calculation means for calculating fuel manufacturing costs, a comparison means for comparing current fuel manufacturing costs with the fuel manufacturing costs when there is no supply of hydrogen, a hydrogen supply amount adjustment means for adjusting the amount of supplied hydrogen on the basis of comparison results of the comparison means, an H2/CO ratio calculation means for calculating an H2/CO ratio, and an H2/CO ratio adjustment means for adjusting the H2/CO ratio.

METHOD OF PRODUCING GREEN HYDROGEN FROM PYRITE RECOVERED FROM MINE WASTE

NºPublicación:  AU2024222225A1 02/10/2025
Solicitante: 
H2 SPHERE GMBH
H2-SPHERE GMBH
AU_2024222225_PA

Resumen de: WO2024170774A1

The present invention relates to a method of producing green hydrogen and associated products from pyrite separated from mine waste (e.g., disposed tailings or active tailings streams) in an energetically self-sustained process. This is achieved by a method according to the present invention comprising the following steps: (a) separation and enrichment of a mine waste material comprising pyrite to obtain a pyrite concentrate, (b) oxidation of the pyrite concentrate to obtain SO2 gas; (c) separation of the SO2 gas; (d) utilization of SO2 gas from step (c) to generate H2 gas and H2SO4 via a SO2-depolarized electrolyzer (SDE) process or a sulfur-iodine-cycle (S-I-cycle) process.

PROCESS FOR MAKING ETHANOLAMINES, POLYETHYLENIMINE AND AMMONIA BASED ON NON-FOSSIL ENERGY

NºPublicación:  US2025304527A1 02/10/2025
Solicitante: 
BASF SE [DE]
BASF SE
US_2025304527_A1

Resumen de: US2025304527A1

Ethanolamines, polyethylenimine and ammonia having a low molar share of deuterium, a process for making ethanolamines, polyethylenimine and ammonia based on non-fossil energy, the use of the molar share of deuterium in hydrogen and downstream compounds based on hydrogen for tracing the origin of preparation of hydrogen and downstream compounds based on hydrogen, and a process for tracing the origin of preparation of hydrogen and downstream compounds based on hydrogen by determining the molar share of deuterium in hydrogen and said downstream compounds based on hydrogen, applications of the polyethylenimine and the use of the polyethylenimine, and the use of the ethanolamines, preferably monoethanolamine and/or diethanolamine, or the polyethylenimine as liquid or solid CO2 absorbents in CO2 capturing processes.

HYDROGEN CARRIER COMPOUNDS

NºPublicación:  US2025304438A1 02/10/2025
Solicitante: 
HYSILABS SAS [FR]
HYSILABS SAS
US_2025304438_A1

Resumen de: US2025304438A1

The present invention relates to siloxane hydrogen carrier compounds and to a method for producing hydrogen from said siloxane hydrogen carrier compounds.

HYDROGEN GENERATION APPARATUS

NºPublicación:  US2025304439A1 02/10/2025
Solicitante: 
CANON KK [JP]
CANON KABUSHIKI KAISHA
US_2025304439_A1

Resumen de: US2025304439A1

A hydrogen generation apparatus includes a first liquid providing apparatus and a controller. The first liquid providing apparatus provides a liquid containing at least water to a solid hydrogen carrier. The controller controls an amount of the liquid that the first liquid providing apparatus provides to the hydrogen carrier.

SYSTEM AND METHOD FOR PURIFYING HYDROGEN, AND SYSTEM FOR PRODUCING HYDROGEN BY WATER ELECTROLYSIS

NºPublicación:  US2025303356A1 02/10/2025
Solicitante: 
WUXI LONGI HYDROGEN TECH CO LTD [CN]
WUXI LONGI HYDROGEN TECHNOLOGY CO., LTD
AU_2022374739_PA

Resumen de: US2025303356A1

Disclosed are a system and method for purifying hydrogen, and a system for producing hydrogen by water electrolysis. The system for purifying hydrogen includes three dryers, and the three dryers share one regeneration cycle module. This significantly reduces a quantity of regeneration cycle modules, and therefore, manufacturing cost of the system is relatively low. In addition, a first gas-gas heat exchanger (4) is arranged in a regeneration cycle system, so that heat exchange can be performed between low-temperature regeneration hydrogen before regeneration and high-temperature regeneration tail gas after regeneration. In this way, residual heat of the high-temperature regeneration tail gas can be fully utilized, and power consumption of a subsequent heater and regeneration cooler can be significantly reduced. Therefore, energy consumption of the system is relatively low.

HYDROGEN GENERATION APPARATUS

NºPublicación:  US2025303383A1 02/10/2025
Solicitante: 
CANON KK [JP]
CANON KABUSHIKI KAISHA
US_2025303383_A1

Resumen de: US2025303383A1

A hydrogen generation apparatus applies a solid hydrogen carrier on a surface of a conveyance member by an application apparatus, and ejects a solution containing water onto the hydrogen carrier applied on the surface by an ejection apparatus. Then, hydrogen generated by a reaction between the hydrogen carrier and the solution on the surface is collected by a hydrogen collection apparatus. A byproduct generated by the reaction between the hydrogen carrier and the solution on the surface is collected by a byproduct collection apparatus. A hydrogen carrier regulated amount maintaining portion adjusts the replenishment amount of the hydrogen carrier from a replenishment container to a storage portion of the application apparatus to maintain the hydrogen carrier in the storage portion within a predetermined range.

METHOD FOR MANUFACTURING MEMBRANE ELECTRODE ASSEMBLY

NºPublicación:  US2025309291A1 02/10/2025
Solicitante: 
HONDA MOTOR CO LTD [JP]
HONDA MOTOR CO., LTD
CN_120719310_PA

Resumen de: US2025309291A1

In a first stacked body providing step, a first stacked body, in which a first ionomer material having an ion exchange capacity of less than a predetermined value and a first electrode are stacked, is provided. In a second stacked body providing step, a second stacked body, in which a second ionomer material having an ion exchange capacity of equal to or greater than the predetermined value and a second electrode are stacked, is provided. In a substrate providing step, an electrolyte substrate is provided. In a swelling step, the first stacked body, the second stacked body, and the electrolyte substrate are caused to swell. In a joining step, the electrolyte substrate and the first ionomer material of the first stacked body are joined together, and the electrolyte substrate and the second ionomer material of the second stacked body are joined together.

METHOD AND SYSTEM FOR DIRECT HYDROGEN FUEL INJECTION OF COMBUSTION ENGINE

NºPublicación:  US2025305442A1 02/10/2025
Solicitante: 
COSMIC ENERGY POWER INC [US]
Cosmic Energy Power Inc

Resumen de: US2025305442A1

A hydrogen fuel injection system can include a vessel having a fuel source inlet for receiving fuel, at least one electrically conductive mass within the vessel for providing increased surface area to the fuel, a first electrode having a first polarization coupled to the at least one electrically conductive mass, a second electrode having an opposite polarization from the first polarization and coupled to the at least one electrically conductive mass, wherein the first electrode and second electrode are arranged and constructed to break down the fuel into hydrogen and oxygen when a power source applies a voltage across the first electrode and second electrode, a non-conductive barrier that at least partially isolates the first electrode from the second electrode, and at least a first outlet coupled to the vessel serving as a hydrogen fuel outlet to a combustion engine.

WATER ELECTROLYZER SYSTEM

NºPublicación:  US2025305164A1 02/10/2025
Solicitante: 
ROBERT BOSCH GMBH [DE]
Robert Bosch GmbH
JP_2025515737_PA

Resumen de: US2025305164A1

The invention relates to a water electrolyzer system (1) for producing hydrogen. According to the invention, the water electrolyzer system (1) comprises an electrolysis stack (8) for converting water into hydrogen, a power electronics means (12) for transforming the alternating current into a direct current in order to supply the electrolysis stack (8), components (56, 64, 72, 80) for preparing the process media supplied to and discharged from the electrolysis stack (8), and a control unit (18) for controlling the electrolysis stack (8), as well as the power electronics means (12) and the components (56, 64, 72, 80) for preparing the media. At least the electrolysis stack (8), the power electronics means (12), and the control unit (18) are formed together as an electrolyzer module (36), and the components (56, 64, 72, 80) for preparing and conveying the media are formed together as a process module (52). The modules (36, 52) are provided with connection means (32, 40, 48, 84), via which the individual modules (36, 52) can be fluidically and electrically connected together.

BYPASSABLE CIRCUITRY ARRANGEMENTS FOR ELECTROLYZERS WITH BYPASSABLE BIPOLAR PLATES

NºPublicación:  US2025305169A1 02/10/2025
Solicitante: 
ANALOG DEVICES INTERNATIONAL UNLIMITED CO [IE]
Analog Devices International Unlimited Company
US_2025305169_A1

Resumen de: US2025305169A1

Various examples are directed to an electrolyzer system comprising an electrolyzer stack and a control circuit. The electrolyzer stack may comprise a first bipolar plate, a second bipolar plate parallel to the first bipolar plate and a third bipolar plate parallel to the second bipolar plate. The electrolyzer stack may further comprise a first switch electrically coupled between the first bipolar plate and the second bipolar plate to selectively electrically couple the first bipolar plate and the second bipolar plate, and a second switch electrically coupled between the first bipolar plate and the second bipolar plate to selectively electrically coupled the second bipolar plate and the third bipolar plate. The controller circuit may be configured to actuate the first switch to electrically couple the first bipolar plate and the second bipolar plate.

ELECTRODE COMPOSITIONS

NºPublicación:  US2025305167A1 02/10/2025
Solicitante: 
COMMONWEALTH SCIENT AND INDUSTRIAL RESEARCH ORGANISATION [AU]
Commonwealth Scientific and Industrial Research Organisation
JP_2025511759_A

Resumen de: US2025305167A1

The present disclosure relates to electrode compositions, in particular electrode compositions comprising hybrid electrode particles, which can be used in solid oxide electrochemical cells. The present disclosure also relates to processes for preparing hybrid electrode particles. The present disclosure also relates to electrodes, including sintered electrodes, comprising the electrode compositions, and to solid oxide electrochemical cells comprising the electrode compositions.

MEMBRANE

NºPublicación:  US2025305160A1 02/10/2025
Solicitante: 
JOHNSON MATTHEY HYDROGEN TECH LIMITED [GB]
JOHNSON MATTHEY HYDROGEN TECHNOLOGIES LIMITED
JP_2025525301_PA

Resumen de: US2025305160A1

An electrolyte membrane comprising a recombination catalyst layer. The membrane has a thickness of less than or equal to 100 μm and is a single coherent polymer film comprising a plurality of ion conducting polymer layers. The recombination catalyst layer comprises particles of an unsupported recombination catalyst dispersed in an ion conducting polymer and the layer has a thickness in the range of and including 5 to 30 μm. Catalyst coated membranes (CCMs) incorporating the electrolyte membranes are also provided, together with methods of manufacturing the electrolyte membranes.

ELECTRODES FOR ELECTROCHEMICAL WATER SPLITTING

NºPublicación:  US2025305154A1 02/10/2025
Solicitante: 
UNIV KING ABDULLAH SCI & TECH [SA]
King Abdullah University of Science and Technology
US_2025305154_A1

Resumen de: US2025305154A1

An electrode composition includes one or more catalyst layers including one or more active catalytic metals and a tantalum oxide (TaxOy) support, and a substrate, wherein the one or more active catalytic metals include one or more of ruthenium, platinum, and iridium, and the one or more catalyst layers are in contact with the substrate.

ELECTROLYSER COMPRISING A MULTIPLE-JUNCTION PHOTOVOLTAIC CELL

NºPublicación:  US2025305163A1 02/10/2025
Solicitante: 
SIEMENS ENERGY GLOBAL GMBH & CO KG [DE]
Siemens Energy Global GmbH & Co. KG
WO_2023217472_PA

Resumen de: US2025305163A1

An electrolyser includes an electrolysis assembly having an electrolysis cell configured to generate an electrolysis product from a supply medium. The electrolyser has a multi-junction photovoltaic cell having multiple p-n junctions and a regulation assembly having an electric power converter configured to convert at least a part of the electrical energy generated by the multi-junction photovoltaic cell according to requirements of the electrolysis assembly so as to provide an energy supply for the electrolysis assembly.

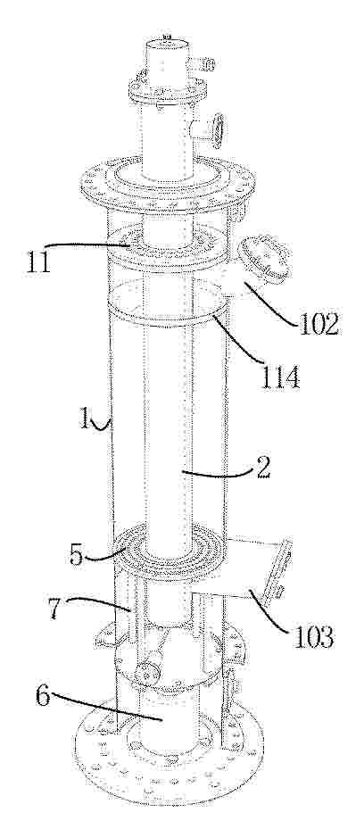
DIFFERENTIAL PRESSURE ELECTROLYSIS CELL, DIFFERENTIAL PRESSURE ELECTROLYSIS STACK, AND METHOD OF PRODUCING DIFFERENTIAL PRESSURE ELECTROLYSIS CELL

NºPublicación:  US2025305161A1 02/10/2025
Solicitante: 
HONDA MOTOR CO LTD [JP]
HONDA MOTOR CO., LTD
US_2025305161_A1

Resumen de: US2025305161A1

A differential pressure electrolysis cell for producing a gas having a higher pressure than a fluid at the second electrode by applying a voltage between a first electrode and a second electrode to electrolyze the fluid containing water and supplied to the first electrode, wherein an electrolyte membrane of the differential pressure electrolysis cell includes: a first layer facing the first electrode and having a first ion exchange capacity per unit area; and a second layer facing the second electrode and having a second ion exchange capacity per unit area, and the second ion exchange capacity is larger than the first ion exchange capacity.

GAS PRODUCTION SYSTEM

NºPublicación:  US2025305155A1 02/10/2025
Solicitante: 
CUMMINS EMISSION SOLUTIONS INC [US]
Cummins Emission Solutions Inc

Resumen de: US2025305155A1

A gas production system includes an electrolyzer configured to provide a gas comprising hydrogen gas and oxygen gas. The gas production system includes a housing having a housing inlet configured to receive the gas from the electrolyzer. The gas production system includes a first catalyst member configured to receive the gas from the housing inlet. The gas production system includes a second catalyst member configured to receive the gas from the first catalyst member. The gas production system includes a first injector configured to selectively provide a first amount of a treatment gas into the housing at a location between the housing inlet and the first catalyst member. gas production system includes a second injector configured to selectively provide a second amount of the treatment gas into the housing at a location between the first catalyst member and the second catalyst member.

Microwave-assisted Solid Oxide Electrolysis Cell (SOEC), Proton Conducting Solid Oxide Electrolysis Cell (H-SOEC), Reversible Proton Conducting Solid Oxide Electrolysis Cell (rH-SOEC) or Reversible Solid Oxide Electrolysis Cell (rSOEC) for Hydrogen Production

NºPublicación:  US2025305156A1 02/10/2025
Solicitante: 
UNITED STATES DEPT OF ENERGY [US]
United States Department of Energy

Resumen de: US2025305156A1

A method of enhancing an electrolysis reaction in a solid oxide electrolysis cell (SOEC) for hydrogen production featuring: providing a water vapor stream to a cathode chamber of a SOEC; wherein the SOEC has an cathode chamber and an anode chamber, wherein the cathode chamber contains a catalyst; and wherein the catalyst has one or more conducting oxides and one or more catalytically active materials dispersed within the conducting oxides; and applying an electromagnetic field to the SOEC with a prescribed frequency and pulse mode specific to interactions of the catalyst and the electromagnetic field with the SOEC; and applying a DC bias to the SOEC, resulting in production of some amount of hydrogen from the water vapor stream in the cathode chamber of the SOEC.

POWER SUPPLY SYSTEM, METHOD FOR CONSTRUCTING A POWER SUPPLY SYSTEM AND USE OF THE POWER SUPPLY SYSTEM

NºPublicación:  US2025309411A1 02/10/2025
Solicitante: 
WILO SE [DE]
WILO SE
AU_2023274395_PA

Resumen de: US2025309411A1

The invention relates to a power supply system comprising a modular combination of a hydrogen generation unit, a hydrogen usage unit and a control or regulation unit for controlling or regulating the operation of the hydrogen generation unit and the hydrogen usage unit.

OXYGEN ELECTRODE FOR SOLID OXIDE ELECTROLYSIS CELL AND METHOD OF MANUFACTURING THE SAME

NºPublicación:  US2025305165A1 02/10/2025
Solicitante: 
HYUNDAI MOTOR CO LTD [KR]
KIA CORP [KR]
KOREA INST SCI & TECH [KR]
Hyundai Motor Company,
Kia Corporation,
Korea Institute of Science and Technology
US_2025305165_A1

Resumen de: US2025305165A1

The present disclosure relates to an oxygen electrode for solid oxide electrolysis cell and a method of manufacturing the same.

Electrochemical reaction device and method of operating electrochemical reaction device

NºPublicación:  AU2025201297A1 02/10/2025
Solicitante: 
KK TOSHIBA
Kabushiki Kaisha Toshiba
AU_2025201297_A1

Resumen de: AU2025201297A1

An electrochemical reaction device includes: an electrochemical reaction structure including a cathode to reduce carbon dioxide to produce a carbon compound, an anode to oxidize water to produce oxygen, a diaphragm therebetween, a cathode flow path on the 5 cathode, and an anode flow path on the anode; a first flow path through which a first fluid to the cathode flow path flows; a second flow path through which a second fluid to the anode flow path flows; a third flow path through which a third fluid from the cathode flow path flows; a fourth flow path through which a fourth fluid from the anode flow path flows; and a gas-liquid separator in or on the anode flow path and to separate a gas containing the 10 oxygen from a fifth fluid containing the water and the oxygen through the anode flow path. An electrochemical reaction device includes: an electrochemical reaction structure including a cathode to reduce carbon dioxide to produce a carbon compound, an anode to 5 oxidize water to produce oxygen, a diaphragm therebetween, a cathode flow path on the cathode, and an anode flow path on the anode; a first flow path through which a first fluid to the cathode flow path flows; a second flow path through which a second fluid to the anode flow path flows; a third flow path through which a third fluid from the cathode flow path flows; a fourth flow path through which a fourth fluid from the anode flow path flows; 10 and a gas-liquid separator in or on the anode flow path and to separat

HYDROGEN GENERATION VIA HIGH FLUID VELOCITY ELECTROLYSIS AND GAS SEPARATION

Nº publicación: AU2024286612A1 02/10/2025

Solicitante:

EVOQUA WATER TECH LLC
EVOQUA WATER TECHNOLOGIES LLC

AU_2024286612_PA

Resumen de: AU2024286612A1

Disclosed are a system and method for the generation of hydrogen from a source of liquid comprising water. The system comprises a high fluid velocity electrolyzer comprising an inlet and an outlet, the inlet of the high fluid velocity electrolyzer fluidly connected to the source of liquid, and a gas fractionation system fluidly connected to the outlet of the high fluid velocity electrolyzer.

traducir