Ministerio de Industria, Turismo y Comercio LogoMinisterior
 

Certificacións

Resultados 881 resultados
LastUpdate Última actualización 10/11/2025 [06:59:00]
pdfxls
Publicaciones de solicitudes de patente de los últimos 60 días/Applications published in the last 60 days
previousPage Resultados 425 a 450 de 881 nextPage  

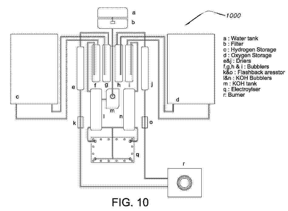
HYDROGEN GAS GENERATION SYSTEM

NºPublicación:  AU2024245597A1 02/10/2025
Solicitante: 
THE REGENTS OF THE UNIV OF CALIFORNIA
THE REGENTS OF THE UNIVERSITY OF CALIFORNIA
AU_2024245597_PA

Resumen de: AU2024245597A1

A hydrogen gas production system includes a first electrode having an electrocatalyst, a second electrode having an electron donor material including a plurality of active sites, the second electrode being structured to release electrons from the active sites in a predetermined operating potential range lower than an operating potential triggering oxygen evolution reaction; a first electrolyte in contact with the first and second electrodes, the electrolyte being a source of hydrogen protons; and a power source structured to provide the predetermined operating potential range to the system for the release and transfer of the electrons from the second electrode to the first electrode such that the hydrogen protons combine with the electrons to generate hydrogen gas.

電気化学反応装置および電気化学反応装置の運転方法

NºPublicación:  JP2025143778A 02/10/2025
Solicitante: 
株式会社東芝
JP_2025143778_PA

Resumen de: AU2025201297A1

An electrochemical reaction device includes: an electrochemical reaction structure including a cathode to reduce carbon dioxide to produce a carbon compound, an anode to oxidize water to produce oxygen, a diaphragm therebetween, a cathode flow path on the 5 cathode, and an anode flow path on the anode; a first flow path through which a first fluid to the cathode flow path flows; a second flow path through which a second fluid to the anode flow path flows; a third flow path through which a third fluid from the cathode flow path flows; a fourth flow path through which a fourth fluid from the anode flow path flows; and a gas-liquid separator in or on the anode flow path and to separate a gas containing the 10 oxygen from a fifth fluid containing the water and the oxygen through the anode flow path. An electrochemical reaction device includes: an electrochemical reaction structure including a cathode to reduce carbon dioxide to produce a carbon compound, an anode to 5 oxidize water to produce oxygen, a diaphragm therebetween, a cathode flow path on the cathode, and an anode flow path on the anode; a first flow path through which a first fluid to the cathode flow path flows; a second flow path through which a second fluid to the anode flow path flows; a third flow path through which a third fluid from the cathode flow path flows; a fourth flow path through which a fourth fluid from the anode flow path flows; 10 and a gas-liquid separator in or on the anode flow path and to separat

水素を製造するための電解装置及び水素を製造するための方法

NºPublicación:  JP2025143669A 02/10/2025
Solicitante: 
フィノウオートモーティブエバーズヴァルデゲーエムベーハー
JP_2025143669_PA

Resumen de: JP2025143669A

【課題】水素を製造するための電解装置及び水素を製造するための方法を提供する。【解決手段】水素を製造するための電解装置は、複数の平面に配置される複数の電解セル(1)を備え、各々は、少なくとも1つのアノード(10)及び1つのカソード、及びアノード(10)とカソードとの間のプロトン交換膜(3)を有し、プロトン交換膜(3)は、それぞれの活性面積領域(30)を形成し、少なくとも1つの電解セル(1)は、平面に実質的に配置される複数の活性面積領域(30)を有する。【選択図】図3

水素製造システム

NºPublicación:  JP2025144256A 02/10/2025
Solicitante: 
大和ハウス工業株式会社
JP_2025144256_PA

Resumen de: JP2025144256A

【課題】余剰電力の利用の拡大及び水素製造の効率の向上を図ることができる水素製造システムを提供する。【解決手段】制御装置40は、水素貯蔵装置30の水素貯蔵量がHhigh未満である場合、余剰電力に応じた消費電力で水素製造装置20を運転させ(ステップS14からS16)、水素貯蔵量がHhigh以上である場合、余剰電力が水素製造装置20の定格運転時の消費電力(EH2+Ea)以上であるとき(ステップS17でYES)には水素製造装置20を定格運転させ(ステップS18)、余剰電力が水素製造装置20の定格運転時の消費電力(EH2+Ea)未満であるとき(ステップS17でNO)には水素製造装置20の運転を停止させる(ステップS19)。【選択図】図2

INTEGRATED SYSTEM FOR CH4 AND NH3 SYNTHESIS

NºPublicación:  WO2025207369A1 02/10/2025
Solicitante: 
CONOCOPHILLIPS COMPANY [US]
CONOCOPHILLIPS COMPANY
US_2025304458_A1

Resumen de: WO2025207369A1

The disclosure presents an integrated system consisting of a wastewater production unit, e- methane reactor, an electrolyzer for producing hydrogen, a cryogenic separation unit and an ammonia production unit, where e-methane is produced by reaction of carbon dioxide obtained from direct air capture/biogenic CCh/captured industrial CO2 emissions/oxidized solid carbon, and from CO2 separated from biogas obtained from wastewater treatment, and hydrogen gas from electrolysis of water. The hydrogen gas is also reacted with nitrogen obtained from the cryogenic unit for the synthesis of ammonia, where heat from ammonia synthesis is transferred to e-methane reactor for energy efficiency. By integrating these units and reactors, the disclosure provides a system for efficient use of energy and by-products.

HOT BOX COMPRISING UNIFORMLY POWERED STACKS OF PLATES FOR SOLID OXIDE ELECTROLYZER (SOEC) OR FOR FUEL CELL SYSTEM (SOFC), AND ASSOCIATED INSTALLATION

NºPublicación:  WO2025202201A1 02/10/2025
Solicitante: 
GENVIA [FR]
SCHLUMBERGER TECHNOLOGY CORP [US]
SCHLUMBERGER CA LTD [CA]
SERVICES PETROLIERS SCHLUMBERGER [FR]
SCHLUMBERGER TECHNOLOGY BV [NL]
GENVIA,
SCHLUMBERGER TECHNOLOGY CORPORATION,
SCHLUMBERGER CANADA LIMITED,
SERVICES P\u00C9TROLIERS SCHLUMBERGER,
SCHLUMBERGER TECHNOLOGY B.V
FR_3160823_PA

Resumen de: WO2025202201A1

The invention relates to a hot box (1) of reversible high-temperature SOEC/SOFC electrolysis stacks (2), comprising a tank (10) accommodating at least two stacks, an inlet (14) and an outlet (15) through which first and second fluids (32) can enter and be discharged, said hot box further comprising a first supply pipe (6) for supplying a third fluid to each of said at least two stacks (2), and which extends from outside said tank to a central shaft (60). The hot box comprises sub-pipes (61) for distributing said third fluid, these each extending from the central distribution shaft to an inlet of a stack, said at least two stacks being positioned at equal distances from said central shaft. The hot box also includes discharge channels (62) which extend from the bottom of each of the stacks, to a second discharge pipe that collects a fourth fluid and discharges it out of said tank.

INDUSTRIAL SYSTEM FOR HEATING, DRYING, OR CURING, THAT PRODUCES AND USES HYDROGEN FUEL

NºPublicación:  EP4624806A2 01/10/2025
Solicitante: 
STRONG FORCE IOT PORTFOLIO 2016 LLC [US]
Strong Force Iot Portfolio 2016, LLC
EP_4624806_PA

Resumen de: EP4624806A2

An industrial system (20) for heating, drying, or curing, comprising an electrolyser (700) for producing hydrogen fuel from water; at least one heating element for using the hydrogen fuel; and a processor for controlling the at least one heating element such that the at least one heating element is adapted to use the hydrogen fuel under control of the processor; wherein the processor is connected to a network to enable communication to a server, the server having at least one module for providing at least one of monitoring or control of the operation of the system (20); and wherein the electrolyser (700) is controlled by the processor and adapted to generate the hydrogen fuel under control of the processor and responsive to an indication of use of the hydrogen fuel.

HYDROGEN GENERATION SYSTEM UTILIZING PLASMA CONFINED BY PULSED ELECTROMAGNETIC FIELDS IN A LIQUID ENVIRONMENT

NºPublicación:  MX2025009259A 01/10/2025
Solicitante: 
ROBERT L KOENEMAN [US]
Robert L. KOENEMAN
CN_120752377_PA

Resumen de: MX2025009259A

A hydrogen generation system includes: a direct current (DC) power supply providing a driver signal, a reactive circuit coupled to the power supply and configured to generate a pulse drive signal from the driver signal, at least one reaction chamber coupled to the reactive circuit and receiving the pulse drive signal wherein the chamber is configured to generate hydrogen from feedstock material utilizing the pulse drive signal, a gas analyzer coupled to the at least one reaction chamber and configured to detect the generated hydrogen, and a control unit coupled to the reactive circuit and to the gas analyzer and configured to control the reactive circuit based on the detected hydrogen. The reaction chamber includes a plurality of positively charged elements and a plurality of negatively charged elements. The elements are composed of non-dis similar metallic material.

CARBON MONOXIDE ELECTROLYZERS USED WITH REVERSE WATER GAS SHIFT REACTORS FOR THE CONVERSION OF CARBON DIOXIDE INTO ADDED-VALUE PRODUCTS

NºPublicación:  EP4623131A1 01/10/2025
Solicitante: 
DIOXYCLE [FR]
Dioxycle
KR_20250132460_PA

Resumen de: WO2024110874A1

Methods and systems related to valorizing carbon dioxide are disclosed. A disclosed system includes a reverse water gas shift (RWGS) reactor, a carbon dioxide source connection fluidly connecting a carbon dioxide source to the RWGS reactor, an electrolyzer having an anode area and a cathode area, and a carbon monoxide source connection fluidly connecting the RWGS reactor to the cathode area. The RWGS reactor is configured to generate, using a volume of carbon dioxide from the carbon dioxide source connection, a volume of carbon monoxide in an RWGS reaction. The electrolyzer is configured to generate, using the electrolyzer and a reduction of the volume of carbon monoxide from the carbon monoxide source connection and an oxidation of an oxidation substrate, a volume of generated chemicals including hydrocarbons, organic acids, alcohol, olefins, or N-rich organic compounds.

ELECTROLYSIS CELL AND ELECTROLYSIS APPARATUS

NºPublicación:  EP4624631A1 01/10/2025
Solicitante: 
MITSUBISHI HEAVY IND LTD [JP]
Mitsubishi Heavy Industries, Ltd
EP_4624631_PA

Resumen de: EP4624631A1

An electrolytic cell of the present disclosure includes a first separator, a second separator, an anion exchange membrane disposed between the first separator and a second separator, a cathode disposed between the first separator and the anion exchange membrane, and an anode disposed between the second separator and the anion exchange membrane. The first separator includes a flow path for supplying an electrolyte to the cathode, and at the cathode, at least part of the electrolyte supplied from the flow path is consumed to generate hydrogen and hydroxide ions. The second separator does not include a flow path for supplying the electrolyte to the anode, and at the anode, oxygen and water are generated by the hydroxide ions that have passed through the anion exchange membrane from the cathode in a state where the electrolyte is not supplied.

A process and apparatus for sustainable water fuelled vehicle

NºPublicación:  GB2639690A 01/10/2025
Solicitante: 
RODOLFO ANTONIO M GOMEZ [AU]
Rodolfo Antonio M Gomez
GB_2639690_PA

Resumen de: GB2639690A

A sustainable water fuelled process and apparatus where a Unipolar electrolysis of water is described and the hydrogen and oxygen are stored before feeding a hydrogen fuel cell which is capable of providing sufficient electricity to provide power to a drive a vehicle, power a generator etc, after supplying electricity to the Unipolar electrolyser and the storage of the hydrogen and oxygen.

A hydrogen storage system and method of use

NºPublicación:  GB2639679A 01/10/2025
Solicitante: 
UNIV BRISTOL [GB]
The University of Bristol
GB_2639679_PA

Resumen de: GB2639679A

A hydrogen storage system 10 for producing, storing, releasing and utilising hydrogen, the system comprising: an electrolyser 12; a hydrogen storage bed 14 comprising a hydrogen storage material disposed therein; and a fuel cell 16. When the system assumes a loading condition, hydrogen is produced by the electrolyzer and loaded into the hydrogen storage bed. When the system assumes an unloading condition hydrogen stored in the H2 storage bed is unloaded and directed towards the fuel cell for producing electricity. A filter may be located between the storage bed and electrolyser, or between the storage bed and fuel cell. The storage bed material may comprise a hydridable metal, optionally depleted uranium. The storage bed may comprise a hydrogen storage body and a thermal transfer element comprising a fin element, e.g. a helical fin, that may allow the redistribution and expansion of the hydrogen storage material within the body.

A system for distributing hydrogen to vehicles

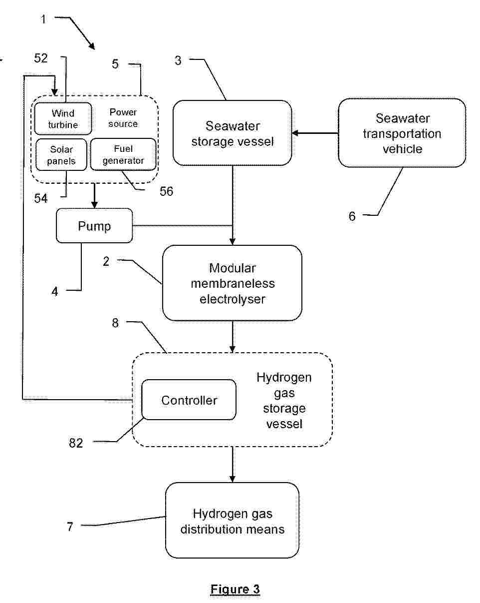
NºPublicación:  GB2639674A 01/10/2025
Solicitante: 
GERT LOUIS SMIT [GB]
Gert Louis Smit
GB_2639674_PA

Resumen de: GB2639674A

A system for distributing hydrogen to vehicles 1. The system 1 comprises at least one modular membraneless electrolyser 2 for generating hydrogen gas from seawater and/or brine. It also has at least one vessel 3 (or reservoir) for storing the water with at least one pump 4. Power source(s) 5 for powering electrolyser(s) and the pump(s) are provided. At least one vehicle 6 for transporting the seawater and/or brine may be provided. The power source may comprise renewable energy source(s) such as solar 52 or wind 54. A control system 82 for the operation of hydrogen production, is defined where the control system 82 may receive data from a machine learning algorithm. A number of distribution systems can be established where they are located in geographically separate locations.

APPARATUS AND METHOD FOR PRODUCING HYDROGEN

NºPublicación:  EP4624630A1 01/10/2025
Solicitante: 
DOEPKE NILS [DE]
D\u00F6pke, Nils
EP_4624630_PA

Resumen de: EP4624630A1

Die Erfindung betrifft eine Vorrichtung zur Herstellung von Wasserstoff mittels eines Elektrolyseurs (1), wobei dem Elektrolyseur (1) Wasser aus einer Wassererzeugungsvorrichtung (6) zugeführt wird, wobei die Wassererzeugungsvorrichtung (6) Mittel zum Entziehen und Verflüssigen der Feuchtigkeit der Umgebungsluft (5), insbesondere in Form eines Wärmetauschers der die Feuchtigkeit der Umgebungsluft kondensieren lässt, aufweist, wobei die Energie der Abwärme (2) des Elektrolyseurs (1) der Umgebungsluft (5) vor dem Feuchtigkeitsentzug zugeführt wird, um diese zu erwärmen.

Hydrogen production device using natural water

NºPublicación:  KR20250143193A 01/10/2025
Solicitante: 
수소탑스주식회사
KR_20250143193_PA

Resumen de: KR20250143193A

본 발명은 수돗물, 지하수 또는 하천수에 포함된 부유 및 실트 등과 같은 물질을 제거한 후 무기물질과 유기물질을 분리 및 제거한 처리수 또는 전해질 수용액을 생성하는 자연수전처리부와; 전원부로부터 전원을 공급받아 전처리부로부터 공급되는 처리수 또는 전해질 수용액을 이용하여 수소를 생성하는 전기분해모듈과; 전기분해모듈에 전원을 공급하는 전원부와; 전기분해모듈로부터 공급되는 수소에서 수분을 제거하는 기액분리장치와; 기액분리장치에서 수분이 제거된 수소의 온도를 낮추는 열교환기와; 열교환기로부터 공급되는 수소에 포함된 수분을 완전하게 제거하기 위하여 수분의 흡착 및 건조시키는 건조장치와; 건조장치에서 수분이 완전하게 저장된 수소가 저장하고, 저장된 수소를 다시 압축하여 저장하는 수소저장부;로 구성되는 것을 특징으로 하며, 전기분해(수전해)로 청정수소 생산을 위해 필요한 수처리비용 및 유지관리비용 절감, 전기분해셀의 설치비 및 유지관리비 및 냉각 비용절감할 수 있고, 비싼 금속 촉매(백금 등) 사용 및 순도 높은 수질과 고분자 전해질막(Membranes)이 필요없는 전기분해방식으로 청정수소를 생산하고, 청정수소의 생산시 냉각수에 의해 열을 최대한 억제시켜 청정수소의 생산�

Hydrogen generation system utilizing plasma confined by pulsed electromagnetic fields in a liquid environment

NºPublicación:  IL322594A 01/10/2025
Solicitante: 
KOENEMAN ROBERT L [US]
WENSTRAND LYNN ALLAN [US]
MCGILL WILLIAM [US]
HOOD JAY J [US]
KOENEMAN Robert L,
WENSTRAND Lynn Allan,
MCGILL William,
HOOD Jay J
IL_322594_A

Resumen de: MX2025009259A

A hydrogen generation system includes: a direct current (DC) power supply providing a driver signal, a reactive circuit coupled to the power supply and configured to generate a pulse drive signal from the driver signal, at least one reaction chamber coupled to the reactive circuit and receiving the pulse drive signal wherein the chamber is configured to generate hydrogen from feedstock material utilizing the pulse drive signal, a gas analyzer coupled to the at least one reaction chamber and configured to detect the generated hydrogen, and a control unit coupled to the reactive circuit and to the gas analyzer and configured to control the reactive circuit based on the detected hydrogen. The reaction chamber includes a plurality of positively charged elements and a plurality of negatively charged elements. The elements are composed of non-dis similar metallic material.

ELECTRODE FOR ELECTROCHEMICAL EVOLUTION OF HYDROGEN

NºPublicación:  MY210590A 01/10/2025
Solicitante: 
IND DE NORA S P A [IT]
INDUSTRIE DE NORA S.P.A
ES_2969981_T3

Resumen de: MY210590A

The present invention relates to an electrode and in particular to an electrode suitable for use as a cathode for the development of hydrogen in industrial electrolytic processes, equipped with a catalytic coating comprising an external layer containing ruthenium and selenium; and to a method for the production of the same.

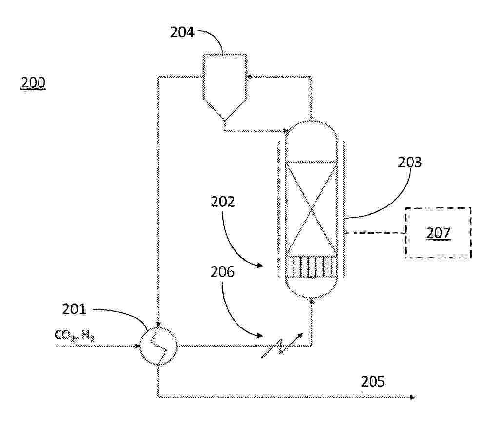
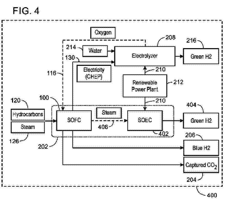
再生可能エネルギー統合による天然ガスベースの水素及び電力の複合製造(CHEP)システム及び方法

NºPublicación:  JP2025532479A 01/10/2025
Solicitante: 
サウジアラビアンオイルカンパニー
JP_2025532479_PA

Resumen de: US2024072339A1

A method and a system for integrating renewable power with a natural gas hydrogen production plant are provided. An exemplary method include generating electricity and a reformed hydrogen stream in a solid oxide fuel cell (SOFC) stack, and providing the electricity to an electrolyzer to generate an electrolysis hydrogen stream. A second stream of electricity is generated in a renewable energy facility, when available, and providing the second stream of electricity to the electrolyzer to increase the generation of the electrolysis hydrogen stream.

アンモニアから水素を製造するように既存の産業ユニットを変換する方法

NºPublicación:  JP2025532474A 01/10/2025
Solicitante: 
レール・リキード-ソシエテ・アノニム・プール・レテュード・エ・レクスプロワタシオン・デ・プロセデ・ジョルジュ・クロード
JP_2025532474_PA

Resumen de: WO2024043908A1

A method can include: providing the existing SMR, wherein the SMR was formerly used to produce hydrogen from a hydrocarbon; and improving the nitridation resistance of the inner surface of the equipment by adding a protective layer to an inner surface of equipment to be used in the existing SMR, wherein the equipment is selected from a catalyst tube, feed piping, a feed preheater, process gas heat exchangers, and combination thereof. The hydrogen production facility can include a reformer configured to catalytically convert a feed stream into a product stream comprising hydrogen, means for providing the feed stream to the reformer from an ammonia source, wherein the feed stream comprises at least 90% of ammonia, wherein the plurality of catalyst tubes comprise a nitridation protective layer on an inner surface of the catalyst tubes.

電気化学セル

NºPublicación:  JP2025532526A 01/10/2025
Solicitante: 
セレスインテレクチュアルプロパティーカンパニーリミテッド
JP_2025532526_A

Resumen de: CN119908039A

Disclosed is an electrochemical cell having: a porous metal support; at least one layer of a first electrode on the porous metal support; a first electron blocking electrolyte layer of rare earth doped zirconia on the at least one layer of the first electrode; and a second bulk electrolyte layer of rare earth doped cerium oxide on the first electron blocking electrolyte layer. The first electron blocking electrolyte layer of rare earth doped zirconia may have a thickness of 0.5 mu m or more, and the second bulk electrolyte layer of rare earth doped ceria may have a thickness of 4 mu m or more.

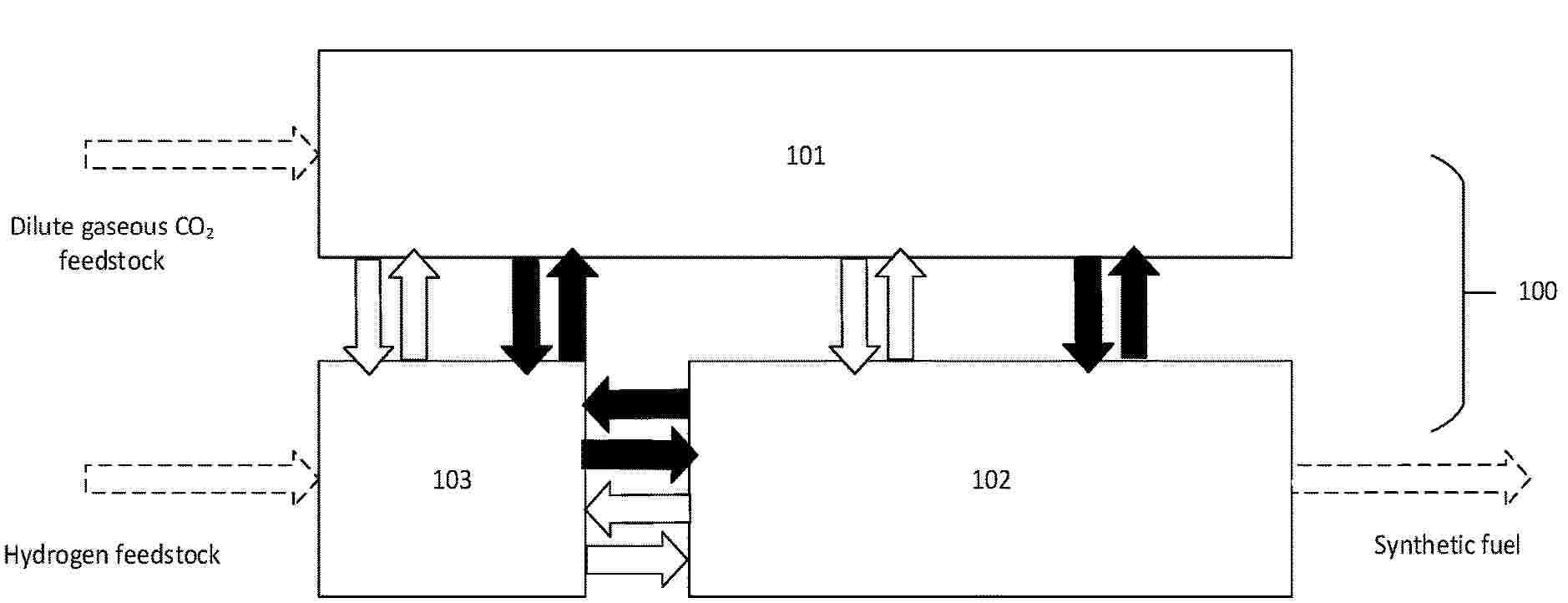
METHOD AND SYSTEM FOR SYNTHESIZING FUEL FROM DILUTE CARBON DIOXIDE SOURCE

NºPublicación:  MX2025004537A 01/10/2025
Solicitante: 
CARBON ENG LTD [CA]
CARBON ENGINEERING LTD
US_2023357645_PA

Resumen de: MX2025004537A

A method for producing a synthetic fuel from hydrogen and carbon dioxide comprises extracting hydrogen molecules from hydrogen compounds in a hydrogen feedstock to produce a hydrogen-containing fluid stream; extracting carbon dioxide molecules from a dilute gaseous mixture in a carbon dioxide feedstock to produce a carbon dioxide containing fluid stream; and processing the hydrogen and carbon dioxide containing fluid streams to produce a synthetic fuel. At least some thermal energy and/or material used for at least one of the steps of extracting hydrogen molecules, extracting carbon dioxide molecules, and processing the hydrogen and carbon dioxide containing fluid streams is obtained from thermal energy and/or material produced by another one of the steps of extracting hydrogen molecules, extracting carbon dioxide molecules, and processing the hydrogen and carbon dioxide containing fluid streams.

DEVICES, SYSTEMS, AND METHODS FOR ADMINISTERING HYDROGEN GAS

NºPublicación:  MX2025008404A 01/10/2025
Solicitante: 
H2 WATER TECH LTD [CA]
H2 WATER TECHNOLOGIES LTD
CN_120731102_PA

Resumen de: MX2025008404A

The invention provides devices, systems, and methods for providing hydrogen gas mixtures to a subject. The invention allows hydrogen gas mixtures to be provided at a rate that does not restrict normal or even elevated breathing.

METHOD AND SYSTEM TO PRODUCE RENEWABLE ENERGY IN A PROGRAMMABLE MANNER AND PRODUCE GREEN HYDROGEN

NºPublicación:  EP4623497A1 01/10/2025
Solicitante: 
GIUDILLI MICHELE [IT]
Giudilli, Michele
WO_2024095217_PA

Resumen de: WO2024095217A1

A method and system for producing renewable energy in a programmed manner and the production of "green" hydrogen by creating power plants that have a non-programmable renewable energy production power and are connected to the grid with a connection capable of transporting only one fraction of the total installed power, creating a funnel effect in which the energy not fed into the grid is used to charge one or more storage systems and fuel the production of green hydrogen, with the possibility of drawing energy from the public electricity grid also making an accumulation service of excess renewable energy produced by other renewable plants not created with this method. The method includes the preparation of one or more electricity production plants (10, 11) from discontinuous and variable non-programmable renewable sources, having an overall predetermined maximum installed renewable power PRI; the preparation of one or more systems of electrical energy storage (17, 18) of similar or different technology electrically connected to each other, having a predetermined maximum storage power PS which are electrically connected to said one or more electrical energy production plants (10, 11) from a discontinuous and variable renewable source through electrotechnical and electromechanical technical means creating a power plant (100, 101); the connection of said power station (100, 101) to the public electricity grid (16) with technical power transmission means (14, 15) having a pre-det

电解装置的部分负载运行

NºPublicación:  CN120731295A 30/09/2025
Solicitante: 
西门子能源国际公司
CN_120731295_PA

Resumen de: AU2024307301A1

A method and arrangement of performing electrolysis by an electrolyzer includes an operational mode and a partial operational mode. During the operational mode operational power from a main power source (202) to a first (808) and second set of stacks (806). In response to detecting a power insufficient for the first and the second set of stacks (806) to perform electrolysis without impurities, the electrolyzer is set to a partial operational mode, wherein the first set of stacks (808) perform electrolysis without impurities and the second set of stacks (806) do not perform electrolysis.

一种耦合光热发电及热化学储热的高温固体氧化物电解水制氢系统

Nº publicación: CN120719309A 30/09/2025

Solicitante:

西子清洁能源装备制造股份有限公司

CN_120719309_PA

Resumen de: CN120719309A

本发明公开了一种耦合光热发电及热化学储热的高温固体氧化物电解水制氢系统,包括电力模块,热化学储热及供空气模块,供水蒸气模块及高温固体氧化物电解水模块。本发明光热发电系统提供清洁电能及高温热能,热化学储热模块通过可逆反应实现热能的高密度存储与按需释放,克服了可再生能源间歇性问题,确保SOEC电解槽的高温稳定运行。热化学储热系统与SOEC的耦合设计优化了热流分配,减少了传统电加热的能耗,减少外部水蒸气加热需求与热空气需求,降低了制氢的总体能源成本,使单位制氢成本显著下降。热化学储热模块可平抑光热发电的波动性,使系统在日照不足时仍能稳定供能,提升可再生能源利用率,实现绿氢的清洁生产,符合碳中和目标。

traducir