Ministerio de Industria, Turismo y Comercio LogoMinisterior
 

Alerta

Resultados 487 resultados
LastUpdate Última actualización 02/01/2026 [06:56:00]
pdfxls
Publicaciones de solicitudes de patente de los últimos 60 días/Applications published in the last 60 days
previousPage Resultados 7830 a 487 de 487  

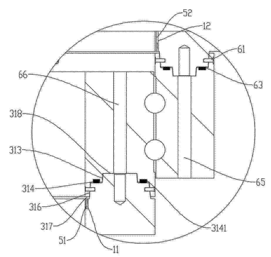
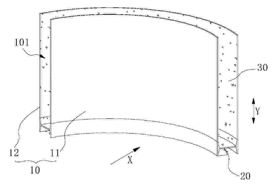
HOLDING DEVICE

NºPublicación:  EP4671534A1 31/12/2025
Solicitante: 
SPANSET SECUTEX SICHERHEITSTECHNIK GMBH [DE]
SpanSet secutex Sicherheitstechnik GmbH
DE_202024001229_PA

Resumen de: EP4671534A1

Die Erfindung betrifft eine Haltevorrichtung in Form eines flächenhaften Gebildes, an dem ein Führungsseil in der Regel reversibel angeordnet oder anordenbar ist und die Haltevorrichtung die Merkmale gemäß Anspruch 1 aufweist.

METHOD AND SYSTEM FOR MANUFACTURING A ROTOR BLADE FOR A WIND TURBINE, COMPUTER PROGRAM PRODUCT AND COMPUTER-READABLE STORAGE MEDIUM

NºPublicación:  EP4669521A1 31/12/2025
Solicitante: 
SIEMENS GAMESA RENEWABLE ENERGY AS [DK]
Siemens Gamesa Renewable Energy A/S
CN_121100057_PA

Resumen de: TW202448594A

The present invention relates to a method for manufacturing a rotor blade (10) for a wind turbine (100), comprising: providing a root module (20) having a root module recess (21) at a root module end side (22), providing a tip module (30) having a tip module recess (31) at a tip module end side (32), positioning the root module (20) at the tip module (30) to form a common connection recess (40) with the root module recess (21) and the tip module recess (31), and spraying a connection material (50) onto the common connection recess (40) to provide a firmly bonded connection recess (41) between the root module (20) and the tip module (30). The invention further relates to a system (200) for manufacturing a rotor blade (10) for a wind turbine (100), a computer program product (300) for executing the method and a computer-readable storage medium (400) having stored thereon the computer program product (300).

METHOD FOR CONSTRUCTING FRONT EDGE PROTECTIVE LAYER FOR WIND TURBINE BLADE, AND PROTECTIVE LAYER FOR WIND TURBINE BLADE

NºPublicación:  EP4671537A1 31/12/2025
Solicitante: 
MITSUBISHI HEAVY IND LTD [JP]
Mitsubishi Heavy Industries, Ltd
CN_120858226_PA

Resumen de: EP4671537A1

Provided is a method for manufacturing a wind turbine blade with which it is possible to obtain a protective layer having a desired thickness and quality, by improving the positional accuracy of thermal spraying. Provided is a method for manufacturing a wind turbine blade (5) in which a protective layer is provided on a front edge (16) side of a tip end portion (12) in a blade length direction (L1) of a wind turbine blade body (5a) formed from FRP, the method comprising: a first thermal spraying step for performing thermal spraying in the blade length direction (L1); a blade chord position changing step for changing a position such that thermal spraying is performed at an adjacent position that is adjacent, in a blade chord direction (C1), to the protective layer (30) formed in the first thermal spraying step; and a second thermal spraying step for performing thermal spraying in the blade length direction (L1) at the adjacent position.

FLUID ACCELERATOR

NºPublicación:  EP4669857A1 31/12/2025
Solicitante: 
ESS 2 TECH LLC [US]
ESS 2 Tech, LLC
WO_2024178176_PA

Resumen de: WO2024178176A1

A fluid accelerator including an outer housing having an inlet end and an outlet end, the outer housing defining a converging nozzle proximate the inlet end. The fluid accelerator may also include an annular ring disposed proximate the inlet end of the outer housing within the converging nozzle, wherein the annular ring has an airfoil cross-sectional shape.

LINEAR NETWORK OF WIND TURBINE BLADE ARRAYS

NºPublicación:  EP4669859A1 31/12/2025
Solicitante: 
AIRIVA RENEWABLES INC [US]
Airiva Renewables, Inc
WO_2024177726_A1

Resumen de: MX2025009964A

A linear network of wind turbine blade arrays has a plurality of wind turbine blade arrays. Each of the wind turbine blade arrays has a frame with a top structure and a bottom structure. The top structure is spaced from the bottom structure with first and second opposite vertical side structures. The top structure includes a top enclosure and the bottom structure includes a bottom enclosure. A plurality of shafts are spaced apart from one another along and extending between the top structure and the bottom structure. Each shaft is configured to rotate about a respective shaft axis within the frame. A blade formation for each shaft is arranged and configured to interact with moving air to cause rotation movement of the respective shaft. At least one generator is operatively connected to at least one shaft. The generator is mounted in one of the top enclosure and bottom enclosure.

METHOD FOR OPERATING A WIND TURBINE AND WIND TURBINE

NºPublicación:  EP4671530A1 31/12/2025
Solicitante: 
NORDEX ENERGY SE & CO KG [DE]
NORDEX ENERGY SPAIN SAU [ES]
Nordex Energy SE & Co. KG,
Nordex Energy Spain, S.A.U

Resumen de: EP4671530A1

According to an embodiment, the method is for operating a wind turbine (100) having a rotor (10) with at least two rotor blades (1, 2, 3) and a pitch adjustment system (500) for adjusting the pitch angles (β_1) of the at least two rotor blades. The method comprises a step of determining first information (11) which is representative of the appearance of a failure in the pitch adjustment system while the rotor is rotating. In a further step, second information (12) is provided which is representative of the actual rotational speed (n_a) of the rotor. Then, third information (13) is determined depending on the first and the second information, wherein the third information is representative of a pitch angle setpoint (SP_β_i) for at least one rotor blade. The pitch angle setpoint depends on the actual rotational speed and is chosen to reduce the rotational speed of the rotor. When the wind turbine is operated according to the third information, a pitch angle of at least one rotor blade is adjusted to the pitch angle setpoint.

METHOD FOR VALIDATING A WIND TURBINE

NºPublicación:  EP4671535A1 31/12/2025
Solicitante: 
WOBBEN PROPERTIES GMBH [DE]
Wobben Properties GmbH

Resumen de: EP4671535A1

Die Erfindung betrifft ein Verfahren zum Validieren einer Windenergieanlage oder einer Komponente der Windenergieanlage, wobei die Windenergieanlage einen aerodynamischen Rotor mit mehreren, eine Rotorfläche überstreichenden Rotorblättern aufweist, wobei jedes Rotorblatt eine Blattwurzel mit einem Blattwurzelbereich aufweist und in seinem Blattwinkel verstellbar ist; und für wenigstens eines der Rotorblätter jeweils aus erfassten Betriebsdaten der Windenergieanlage ein individuelles Blattleistungsvermögen, und/oder eine individuelle Blattleistung ermittelt wird, wobei das individuelle Blattleistungsvermögen ein Vermögen eines Rotorblattes beschreibt, Leistung aus Wind in eine Teildrehleistung zum Drehen des Rotors umzuwandeln, und die individuelle Blattleistung eine Leistung der Höhe nach bezeichnet, die das jeweilige Rotorblatt aus dem Wind in eine Teildrehleistung zum Drehen des Rotors umwandelt, sodass eine Summe der individuellen Blattleistungen aller Rotorblätter des Rotors eine gesamte Drehleistung des Rotors ergibt.

ROTOR BLADE COMPRISING ELASTIC ELEMENT, METHOD AND WIND TURBINE

NºPublicación:  EP4671529A1 31/12/2025
Solicitante: 
WOBBEN PROPERTIES GMBH [DE]
Wobben Properties GmbH

Resumen de: EP4671529A1

Die Erfindung betrifft ein Rotorblatt, ein Verfahren zur Verwendung eines Elastikelements zur Verringerung eines Zackengrundradius zwischen mindestens zwei Serrations eines Rotorblatts sowie eine Windenergieanlage. Es wird ein Rotorblatt für einer Windenergieanlage bereitgestellt, wobei das Rotorblatt von einer Rotorblattwurzel bis zu einer Rotorblattspitze in Rotorblattlängsrichtung eine Rotorblattlänge aufweist, von einer Rotorblattvorderkante zu einer Rotorblatthinterkante in Rotorblattprofiltiefenrichtung eine Rotorblattprofiltiefe aufweist, eine sich zwischen Rotorblattvorderkante und Rotorblatthinterkante auf spannende Saugseite und eine sich zwischen Rotorblattvorderkante und Rotorblatthinterkante aufspannende Druckseite aufweist, eine sich zwischen der Saugseite und der Druckseite in Rotorblattdickenrichtung aufspannende Rotorblattdicke aufweist und mehrere an der Rotorblatthinterkante angeordnete Serrations aufweist, wobei die Rotorblatthinterkante zwischen je zwei der mehreren Serrations einen ersten Zackengrundradius aufweist, wobei das Rotorblatt ferner umfasst: mindestens ein Elastikelement, wobei die mehreren Serrations aus einem ersten Material, insbesondere GFK, bestehen, das mindestens eine Elastikelement aus einem zweiten Material besteht, das mindestens eine Elastikelement ausgestaltet ist den ersten Zackengrundradius zwischen mindestens zwei der mehreren Serrations auf einen zweiten Zackengrundradius zu verringern und eine Steifigkeit des zweiten Materi

DRIVE TRAIN BEARING

NºPublicación:  EP4671536A1 31/12/2025
Solicitante: 
FLENDER GMBH [DE]
Flender GmbH

Resumen de: EP4671536A1

Die Erfindung betrifft eine Triebstranglagerung 10 für eine Windkraftanlage 100 in aufgelöster Lagerung, umfassend einen Maschinenträger 114, eine gegenüber dem Maschinenträger 114 abgestützte Rotorlagerung 120 mit einer um eine Triebstrangachse A<sub>D</sub> gelagerten Rotorwelle 118, eine Drehmomentstütze 14 mit zumindest zwei Stützarmen 16, eine über die Rotorwelle 118 um die Triebstrangachse A<sub>D</sub> angetriebene Getriebekomponente 12, wobei die Getriebekomponente 12 zumindest mittelbar über die zumindest zwei in radiale Richtungen auskragenden Stützarme 16 der Drehmomentstütze 14 abgestützt ist. Die Drehmomentstütze 14 ist unter einem axialen Versatz V<sub>a</sub> wirksam an dem Maschinenträger 114 abgestützt. Durch den axialen Versatz wird eine Aufrichtkraft erzeugt, über die ein aufrichtendes und auf der Getriebekomponente 12 wirksames Moment erzeugt wird.

A METHOD OF MANUFACTURING AND MOUNTING A WIND TURBINE BLADE TO A PITCH BEARING OF A WIND TURBINE AND SUCH A WIND TURBINE BLADE

NºPublicación:  EP4671528A1 31/12/2025
Solicitante: 
LM WIND POWER AS [DK]
LM Wind Power A/S

Resumen de: EP4671528A1

A method of manufacturing a wind turbine blade for a horizontal axis wind turbine (2), and mounting it to the pitch bearing of a hub of a wind turbine is described. The method comprises the steps of: manufacturing (402) a first wind turbine blade shell part; manufacturing (404) a second wind turbine blade shell part; assembling (406) at least the first wind turbine blade shell part and the second wind turbine blade shell part to form at least part of a shell body of the wind turbine blade, wherein the wind turbine blade extends between a root end and a tip end, and wherein the first wind turbine blade shell part and the second wind turbine blade shell part are at least adhered to each other along a first bond line that extends to the root end of the wind turbine blade; providing (408) a ring-shaped root end flange, which is configured to be connected to the root end of the shell body, and which is configured with a bond line marker, preferably on an inner circumference of the ring-shaped root end flange, and further configured with a pitch-angle marker; attaching (410) the ring-shaped root end flange to a root end face of the shell body, such that the ring-shaped root end flange covers the first bond line, and the bond line marker is aligned with the first bond line; and mounting (412) the wind turbine blade including the ring-shaped root end flange to the pitch bearing of the hub of the wind turbine, such that the pitch-angle marker is aligned with a zero-pitch position for

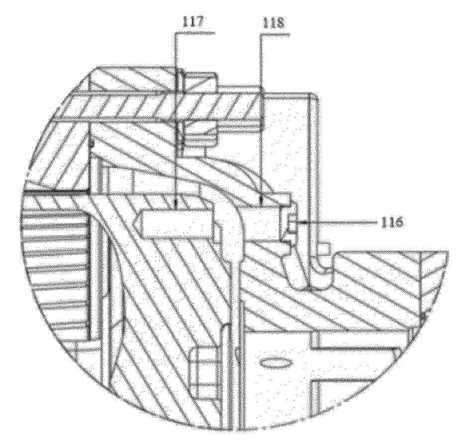
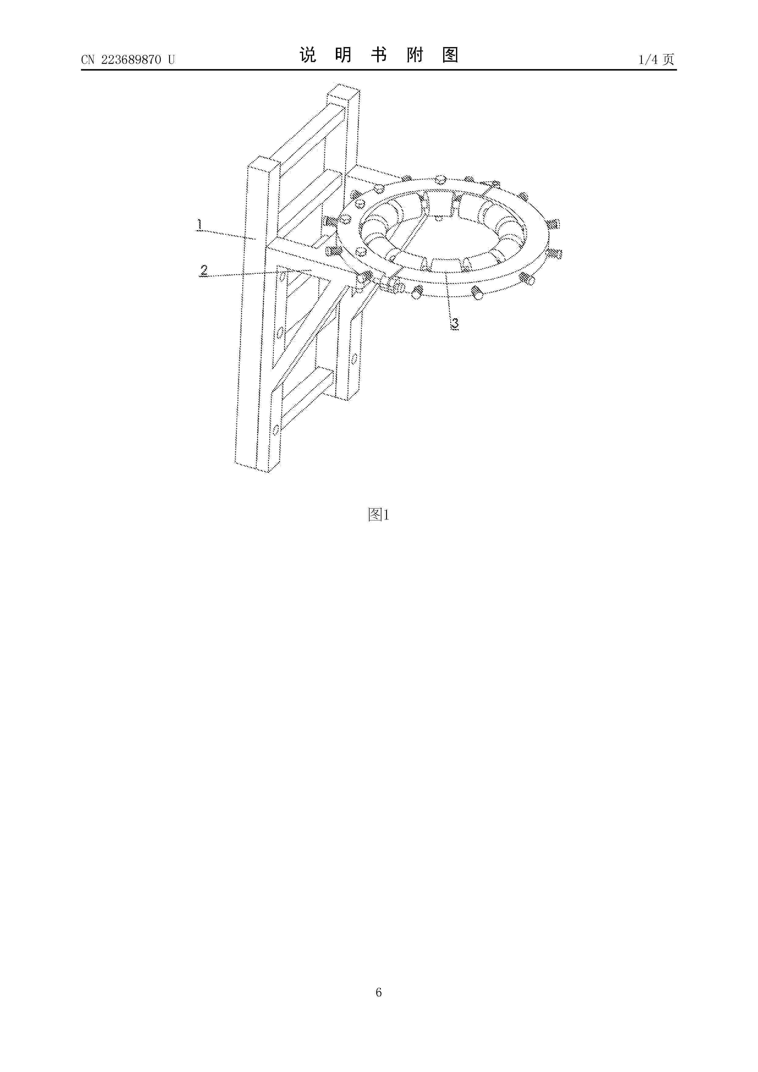
Anordnung zur Lagerung eines Stirnrads

NºPublicación:  DE102024206074A1 31/12/2025
Solicitante: 
ZAHNRADFABRIK FRIEDRICHSHAFEN [DE]
ZF WIND POWER ANTWERPEN NV [BE]
ZF Friedrichshafen AG,
ZF Wind Power Antwerpen N.V

Resumen de: DE102024206074A1

Die Erfindung betrifft eine Anordnung mit einer Welle (115), einem Stirnrad (101), einer ersten gehäusefesten Stützstruktur (119), einer zweiten gehäusefesten Stützstruktur (123), einem ersten Lager (117) und einem zweiten Lager (119); wobei das Stirnrad (101) einen zwischen dem ersten Lager (117) und dem zweiten Lager (119) angeordneten Steg (107) aufweist, der einen Zahnkranz (105) und eine Nabe (11) des Stirnrads (101) miteinander verbindet; wobei die Welle (115) drehfest mit der Nabe (111) verbunden ist. Der Zahnkranz (105) bildet eine äußere Lauffläche des ersten Lagers (117) oder einen Sitz für einen äußeren Ring des ersten Lagers (117) und eine äußere Lauffläche zweiten Lagers (121) oder einen Sitz für einen äußeren Ring des zweiten Lagers (121) aus; wobei die erste Stützstruktur (119) eine innere Lauffläche des ersten Lagers (117) oder einen Sitz für einen inneren Ring des ersten Lagers (117) ausbildet; und wobei zweite Stützstruktur (119) eine innere Lauffläche des zweiten Lagers (121) oder einen Sitz für einen inneren Ring des zweiten Lagers (121) ausbildet.

WINDROTOR MIT AUTOMATISCHER UND MANUELLER DREHZAHLREGELUNG

NºPublicación:  DE102024001963A1 31/12/2025
Solicitante: 
SIAKOS LAOPHILOS [DE]
Siakos, Laophilos

Resumen de: DE102024001963A1

Diese Erfindung dient den Zweck die jungeren Fachkräfte zu überzeugen, sich mit der Technik zu befassen und speziell Lösungen zu finden die umweltfreunlich sind, und somit für die, Entlastung der Umweltverschmutzung die durch die größere Energieeinheiten, die diese Belastung verursachen

Floating wind power generation platform for offshore deployment

NºPublicación:  GB2642150A 31/12/2025
Solicitante: 
HISEAS ENERGY INC [US]
HiSeas Energy Inc
GB_2642150_PA

Resumen de: GB2642150A

A floating wind power platform is suitable for offshore deployment in deep-sea environments. The platform includes a tower that supports a wind turbine and a base support structure that is stabilized by a combination of stabilizers, struts, and floats. The platform furthermore includes a set of propellers and an electronic motion control system to control position and orientation relative to the wind. The floating wind power platform may be deployed in groups of connected platforms tethered to a centralized fuel production platform, carbon dioxide (CO2) capture and sequestration platform, or other processing platform that transforms and/or utilizes energy captured from the wind power platforms.

SYSTEM AND METHOD FOR OPTIMIZING CONTROL OF A WIND TURBINE

NºPublicación:  EP4671531A1 31/12/2025
Solicitante: 
GENERAL ELECTRIC RENOVABLES ESPANA SL [ES]
General Electric Renovables Espa\u00F1a S.L
CN_121229314_PA

Resumen de: EP4671531A1

The present disclosure is directed to a method for optimizing control of a wind turbine that includes receiving, via a control system, a condition of the wind turbine. The method also includes estimating a current state of the wind turbine using the condition. The method also includes calculating, via a model implemented by the control system, a linearized representation of an operation of the wind turbine for a future time interval following the current state. The method also includes defining an optimization problem to be solved. The method also includes determining a pitch adjustment factor for modifying the current state of the wind turbine. The method also includes calculating, via the optimization solver, an optimized pitch parameter for a rotor blade of the wind turbine. The method also includes adjusting a pitch parameter of the rotor blade to the optimized pitch parameter to improve control.

METHODS FOR RETROFITTING WIND TURBINE BLADES ON WIND TURBINES

NºPublicación:  EP4669863A1 31/12/2025
Solicitante: 
VESTAS WIND SYS AS [DK]
VESTAS WIND SYSTEMS A/S
CN_121002280_PA

Resumen de: WO2024175163A1

A method of retrofitting wind turbine blades (26a, 26b, 26c) on a wind turbine (10) is disclosed. The wind turbine blades (26a, 26b, 26c) each include a plurality of sections. An inner blade section (36a, 36b, 36c) is coupled to the rotor hub (24). An outer blade section (38a, 38b, 38c) is coupled to the inner blade section (36a, 36b, 36c) at an interface bracket (34a, 34b, 34c). A blade (26a, 26b, 26c) is selected. For the selected blade (26a, 26b, 26c), the method includes (i) coupling a lifting tool (42, 62, 72) to the interface bracket (34a, 34b, 34c). The lifting tool (42, 62, 72) includes a hoist (50) and a lifting cable (52, 66, 88) operatively coupled to the hoist (50). The method further includes (ii) coupling the lifting cable (52, 66, 88) to the outer blade section (38a, 38b, 38c), iii) disconnecting the outer blade section (38a, 38b, 38c) from the inner blade section (36a, 36b, 36c) so that the inner blade section (36a, 36b, 36c) remains coupled to the rotor hub (24) and the outer blade section (38a, 38b, 38c) is supported by the lifting tool (42, 62, 72), and iv) using the lifting tool (42, 62, 72), lowering the outer blade section (38a, 38b, 38c) to a support surface adjacent the wind turbine (10).

HIGH VISIBILITY TIP PROTECTOR COVER

NºPublicación:  EP4669862A1 31/12/2025
Solicitante: 
DANSK GUMMI IND A/S [DK]
Dansk Gummi Industri A/S
CN_120731319_PA

Resumen de: CN120731319A

The invention relates to a protective cover (10) for protecting one or more fragile edges or wingtips of an elongate unit (2), said elongate unit (2) having an upper surface and a lower surface, said protective cover (10) being made of an elastic material, comprising an inner surface (60), an outer upper surface (70) and an outer lower surface (71), said inner surface (60) being designed to be mounted in contact with said upper (90) and lower (91) surfaces, the outer upper surface (70) and the outer lower surface (71) face outwards and away from the inner surface (60), the protective cover is designed to extend beyond the edge or wingtip of the elongated unit, the protective cover comprises at least one through hole or slit extending from the outer upper surface (70) to the outer lower surface (71), the through hole (40) or slit is designed to accommodate a bandage (50), and the outer upper surface (70) and the outer lower surface (71) face outwards and away from the inner surface (60). The protective cover (10) is removably fixed to the elongated unit (2) by applying a force to the outer upper surface (70) and/or the outer lower surface (71) with friction between the inner surface (60) and the upper surface (90) and/or the lower surface (91).

TRAILING-EDGE ADD-ON

NºPublicación:  EP4669858A1 31/12/2025
Solicitante: 
SIEMENS GAMESA RENEWABLE ENERGY AS [DK]
Siemens Gamesa Renewable Energy A/S
CN_120958232_PA

Resumen de: AU2024255078A1

Trailing-edge add-on The invention describes a wind turbine rotor blade add-on (1) comprising a plurality of serration teeth (10) arranged to extend outward from the trailing edge (20TE) of the rotor blade (20), wherein a serration tooth (10) has an elongate shape defined by a base (10B) and two at least partially curved side edges (10S) converging at a tip (10T), and wherein the length of a serration tooth (10) from base (10B) to tip (10T) exceeds the width of the serration tooth (10) at its base (10B) by a factor of at least 6; a side edge (10S) of the serration tooth (10) includes a convex curved portion; and the closest distance (1G) between adjacent serration teeth (10) is at most 1 mm. The invention further describes a A wind turbine rotor blade (20) comprising a number of such add-ons (1) mounted to the trailing edge (20TE) of the airfoil portion of the rotor blade (20).

WIND TURBINE WITH A HYDROGEN PRODUCTION SYSTEM

NºPublicación:  EP4669861A1 31/12/2025
Solicitante: 
SIEMENS GAMESA RENEWABLE ENERGY AS [DK]
Siemens Gamesa Renewable Energy A/S
WO_2024217742_PA

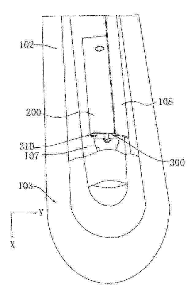
Resumen de: WO2024217742A1

A wind turbine is provided that comprises a nacelle (10) arranged on a wind turbine tower (103) and comprising an electrical power generation system (20), a nacelle housing (11) of the nacelle, wherein the nacelle housing (11) houses at least part of the electrical power generation system (20), and a hydrogen production system (30) including a hydrogen production unit (36). The hydrogen production unit (36) comprises an electrolyzer (31) configured to receive electrical power from the electrical power generation system (20), wherein the hydrogen production unit (36) is mounted to a top of the nacelle (10) outside of the nacelle housing (11).

ACTIVE DAMPING FOR AN OFFSHORE WIND TURBINE DURING IDLING

NºPublicación:  EP4669860A1 31/12/2025
Solicitante: 
SIEMENS GAMESA RENEWABLE ENERGY AS [DK]
Siemens Gamesa Renewable Energy A/S
WO_2024223239_PA

Resumen de: WO2024223239A1

It is described a method of controlling an offshore wind turbine (20) during idling for damping at least one mechanical vibration (21), the wind turbine including a nacelle (18) harboring a generator (11) having a rotor (14) associated with a rotor axis (12), the method comprising: yawing the nacelle (18) to a target yawing angle such that a predetermined angle (α) between a main loading direction (22) and the rotor axis (12) is reached; activating or performing active vibration damping using a generator (11) created torque (26).

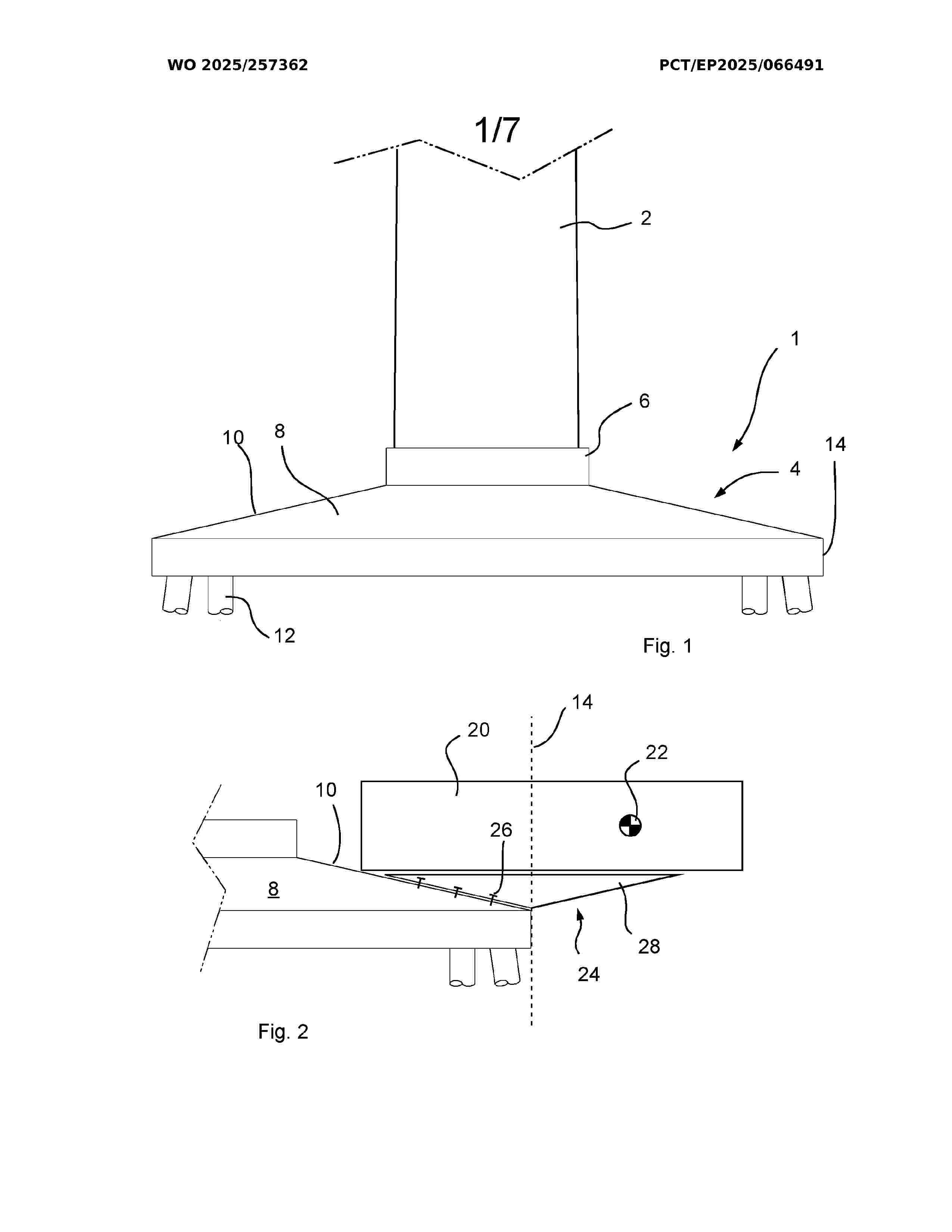
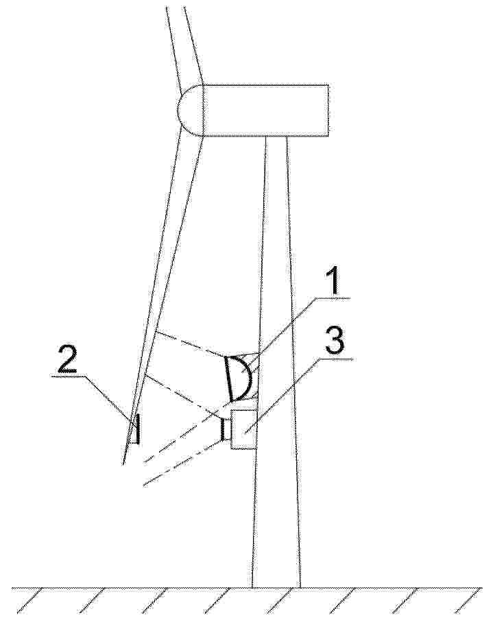
AERODYNAMIC DEVICES AND ASSEMBLIES FOR TOWERS

NºPublicación:  EP4671533A1 31/12/2025
Solicitante: 
NORDEX ENERGY SPAIN SAU [ES]
Nordex Energy Spain, S.A.U
AU_2024224537_PA

Resumen de: EP4671533A1

The invention relates to an aerodynamic device (10) comprising at least one inflatable modular body (1) configured to be adhered by a base (2) of each body of the at least one inflatable modular body to a tower (30), the base (2) of each body of the at least one inflatable modular body (1) comprises at least one fin (4) and the device comprises at least one inflation valve (7, 7') in one or more bodies of the at least one inflatable modular body (1). The invention further relates to an assembly with a plurality of aerodynamic devices, a tower with one or more aerodynamic devices, a method for installing and a method for uninstalling, respectively, one or more aerodynamic devices.

METHOD AND APPARATUS FOR ASSESSING STATUS OF WIND TURBINES, AND STORAGE MEDIUM

NºPublicación:  EP4671532A1 31/12/2025
Solicitante: 
ENVISION ENERGY TECH PTE LTD [SG]
Envision Energy Technology Pte Ltd
CN_118862712_PA

Resumen de: EP4671532A1

A method and an apparatus for assessing status of wind turbines, and a storage medium are provided. The method includes: constructing a wake surrogate model; arranging wind turbines in a wind turbine array in a direction of a wind speed; inputting the wind condition information and the wind turbine information of the first wind turbine of the wind turbines into the wake surrogate model to obtain a velocity deficit percentage and an additional turbulence intensity value at each point in a wake region of the first wind turbine; for each current wind turbine of the wind turbines starting from a second wind turbine of the wind turbines, updating wind condition information of a current wind turbine; and obtaining, for each wind turbine of the wind turbines, an amount of generated power and a load of the wind turbine.

基于复杂气象条件的风能发电效率优化方法及系统

NºPublicación:  CN121229316A 30/12/2025
Solicitante: 
湖北天宏检测科技集团有限公司
CN_121229316_PA

Resumen de: CN121229316A

本发明涉及风能发电效率优化技术领域,涉及到基于复杂气象条件的风能发电效率优化方法及系统,通过获取风电场实时气象数据和风机运行参数,基于实时气象数据开展湍流强度分析以获得湍流强度数据,再根据风机运行参数对湍流强度数据进行疲劳载荷预测分析得到疲劳载荷预测数据,随后基于该预测数据进行发电效率损失关联挖掘获得发电效率损失关联数据,最后根据该关联数据进行控制策略优化匹配,并通过控制策略优化匹配数据调整风机控制参数得到风机控制参数优化数据,有效解决了当前风机控制系统在高湍流工况下缺乏对实时湍流载荷的精确感知,有效规避了高湍流带来的结构疲劳损伤风险,降低了部件磨损和非计划停机概率。

一种风力发电机组的单回路下垂控制方法及系统

NºPublicación:  CN121229310A 30/12/2025
Solicitante: 
中国矿业大学
CN_121229310_PA

Resumen de: CN121229310A

本发明公开了一种风力发电机组的单回路下垂控制方法及系统,控制方法包括如下步骤:构建双馈风机‑功率变流器‑电网三模块耦合模型,完成无内环电流控制的单环下垂控制架构的双馈风机特性动态适配;基于所述输入信号‑模型协同集成体及适配架构,采用MIMO‑GBC分析动态小信号模型开环传递函数矩阵特征值的相位裕度与谐振峰值,在全转差率区间识别双风险;针对谐振风险,采用电流感应式虚拟阻抗策略;针对相位裕度不足,采用暂态相位校准策略;依据DFIG实时转差率、定子功率变化,对虚拟电阻与相位校准角分区间联动调优以实现最小化双功率阶跃响应波动平方均值,参数整定周期与转子侧变流器控制周期同步匹配,实现全工况稳定控制。

高压输电线路巡检系统

NºPublicación:  CN121225038A 30/12/2025
Solicitante: 
中国电建集团成都勘测设计研究院有限公司
CN_121225038_PA

Resumen de: CN121225038A

本发明涉及高压输电技术领域,尤其涉及一种高压输电线路巡检系统,其包括输电线路铁搭、巡检无人机和无人机起降平台,巡检无人机中设置有巡线检测部件、第一充电连接触点、第一控制器和存储器,无人机起降平台的中间设置有第二充电连接触点,第一充电连接触点与第二充电连接触点可拆卸连接,无人机起降平台呈水平设置在输电线路铁搭上,还包括发电装置和储能电池,发电装置通过第一电能传输线与储能电池相连接,储能电池通过第二电能传输线与第二充电连接触点相连接。无人机起降平台为巡检无人机提供停靠、重复充电的平台,使巡检无人机能够高频次、常态化对输电线路铁搭周围的高压输电线路进行自动检测,有效地降低了巡检成本。

抗涡状态检测方法及风电机组

NºPublicación:  CN121229333A 30/12/2025
Solicitante: 
三一重能股份有限公司
CN_121229333_PA

Resumen de: CN121229333A

本申请提供了一种抗涡状态检测方法及风电机组,其中方法包括:获取多维数据;基于所述多维数据中的目标运行数据和目标事件数据进行通讯故障下的抗涡异常检测;在无异常时,基于所述多维数据中的目标运行数据进行抗涡状态检测,得到对应的抗涡状态。这样,能够解决现有技术中缺乏对抗涡状态的准确检测能力、难以判断抗涡是否成功、引发涡激振动风险等技术问题。

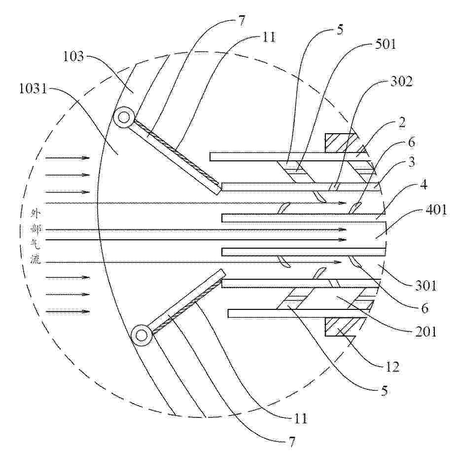
一种风机叶片的净空值的监测方法、风机控制方法及介质

NºPublicación:  CN121229334A 30/12/2025
Solicitante: 
华电重庆新能源有限公司
CN_121229334_PA

Resumen de: CN121229334A

本申请提供一种风机叶片的净空值的监测方法、风机控制方法及介质,监测方法包括:当雷达信号失效时,获取实际应变参数、气象数据以及SCADA数据;将所述气象数据和SCADA数据输入至预设的数字孪生系统中,得到预测应变参数;当所述预测应变参数与实际应变参数的差值大于误差阈值时,调整所述数字孪生系统的系统参数,直至所述误差值小于等于误差阈值;基于调整后的所述数字孪生系统,得到所述净空值。

一种风电机组减振装置

NºPublicación:  CN121229337A 30/12/2025
Solicitante: 
湖南大学
CN_121229337_PA

Resumen de: CN121229337A

本发明公开了一种风电机组减振装置,包括底座、设于底座上的高分子阻尼耗能层、设于高分子阻尼耗能层上的调谐质量块,所述底座与风电机组的塔筒连接,所述底座的侧面设有动能转换单元,调谐质量块与所述动能转换单元发生碰撞时,动能转换单元可将部分水平振动能量转化为调谐质量块的竖向振动。本发明提出了一种融合高分子阻尼、调谐质量块和动能转换单元的减振结构,实现了多维度的能量耗散,突破了传统TMD、TLCD仅对单向振动抑制的局限。本发明整体设计紧凑,避免了过大附加质量和复杂结构带来的不利影响,保证了减振装置的轻量化与可实施性,能够在风场、地震等复杂耦合荷载下保持良好适应性,显著降低塔筒疲劳损伤风险,延长机组寿命。

一种运用于风电叶片的移动式太阳能除冰装置

NºPublicación:  CN121229342A 30/12/2025
Solicitante: 
华能通渭风电有限责任公司
CN_121229342_PA

Resumen de: CN121229342A

本发明公开了一种运用于风电叶片的移动式太阳能除冰装置,包括承载部,其上设置有聚焦部、设置于聚焦部上的控制部,以及设置于控制部上的驱动部;聚焦部包括支撑件,以及设置于支撑件上的除冰件;除冰件包括外框、设置于外框内部的凹面镜、固定连接于外框上的支撑架,以及设置于支撑架上的凸透镜,支撑件包括设置于凹面镜下侧的连接块、固定连接于连接块上的套杆、设置于套杆内部的立柱,以及固定连接于连接块上的弯杆;该设备通过大型凹面镜将太阳光汇聚,再通过凸面镜将汇聚的太阳光以平行光折射射出,通过液压推杆控制升降框移动使得斜撑杆带动照射方向移动至叶片覆冰处,利用汇聚的太阳光热能加热风机叶片覆冰层,对叶片进行除冰。

滑动轴承的制备方法及滑动轴承

NºPublicación:  CN121223096A 30/12/2025
Solicitante: 
浙江长盛滑动轴承股份有限公司
CN_121223096_PA

Resumen de: CN121223096A

本发明涉及轴承材料技术领域,公开了滑动轴承的制备方法及滑动轴承,滑动轴承的制备方法包括采用气雾化方式制备铜合金粉,并将铜合金粉与造孔剂混合得到混合粉末;将混合粉末放置于磨具中压制成第一坯料,并对第一坯料进行脱模;按照粉末冶金方式对第一坯料进行梯度升温烧结,并得到第二坯料;将第二坯料浸渍在自润滑溶液中一定时间后取出,并对第二坯料进行固化脱脂得到轴套;采用热套或冷装的方式将轴套过盈配合至销轴的外表面,并得到滑动轴承;本发明可使制造出的滑动轴承具有自润滑能力,并能够提高滑动轴承在不同工况下的减磨效果,同时,还可提高滑动轴承的使用寿命。

一种双馈风力发电机集电环维护方法、系统、设备及存储介质

NºPublicación:  CN121229343A 30/12/2025
Solicitante: 
华能通渭风电有限责任公司
CN_121229343_PA

Resumen de: CN121229343A

本发明涉及风力发电设备技术领域,特别是一种双馈风力发电机集电环维护方法、系统、设备及存储介质。通过获取双馈风力发电机运行参数并构建集电环运行状态监测模型,实时采集集电环室碳粉积累数据和电刷磨损数据,建立基于时间、电刷状态和清洁度的三重维护触发条件判断机制。基于维护触发条件,采用清洗控制策略动态调节绝缘清洗液的喷洒参数,对集电环室进行自适应清洗,清除传统除尘风机无法排出的残留碳粉。结合清洗效果评估,通过电刷状态预测算法分析电刷长度变化趋势,建立电刷磨损速率与集电环清洁度的定量关联模型,实现电刷剩余寿命的准确预测。基于关联模型构建集电环-电刷协同维护策略,结合维护历史数据建立运行时长优化模型。

一种风力机偏航角实时调整方法

NºPublicación:  CN121229329A 30/12/2025
Solicitante: 
长沙学院
CN_121229329_A

Resumen de: CN121229329A

本公开实施例中提供了一种风力机偏航角实时调整方法,属于发电技术领域,具体包括:步骤1,收集目标风电场的参数信息,据此利用中尺度气象模式对目标风电场进行气象数据模拟,得到模拟结果;步骤2,将模拟结果作为优化背景,据此利用改进粒子群搜索算法优化目标风电场中各风力机的偏航角。通过本公开的方案,通过中尺度模式WRF实时预测风电场场址所处的来流风速风向等风特性,并基于能够考虑偏航的风力机尾流模型以及改进粒子群算法对风电场固定点位的风力机组进行最优偏航角度矩阵进行优化,提高了调整精准度、实时性和适应性。

一种风力旋转发电机

NºPublicación:  CN121229318A 30/12/2025
Solicitante: 
胡连清
CN_121229318_PA

Resumen de: CN121229318A

本发明涉及风力发电技术领域,具体为一种风力旋转发电机,包括混凝土块,混凝土块上部连接有底座,所述底座表面设置有旋转支持体,所述旋转支持体的顶部设置有支撑架,所述支撑架表面安装有长方形铁框,所述旋转支持体包括有,所述立柱固定连接在底座的表面,所述齿轮转盘转动连接在立柱的表面,所述滑槽转盘转动连接在立柱的表面,齿轮转盘可在较低的地面带动发电机发电,相比在高空或其他特殊位置,在地面安装风力发电机通常更容易操作,也便于进行日常的维护和检修工作,遇到强风、雷电等对位于地面的风力发电机的影响相对弱一些。

一种风机基础模块化快速对接装置

NºPublicación:  CN121229321A 30/12/2025
Solicitante: 
中国电建集团北京勘测设计研究院有限公司
CN_121229321_PA

Resumen de: CN121229321A

本发明涉及风力发电机技术领域,且公开了一种风机基础模块化快速对接装置,包括若干个的底座基础模块,底座基础模块顶部连接有第二法兰盘,第二法兰盘顶部设有第一法兰盘,第一法兰盘顶部固定连接有用于风机安装的塔筒;底座基础模块内部预埋有钢筋骨架;塔筒一侧设有用于导向对接的导向组件,导向组件一侧设有连接组件,通过在塔筒和底座基础模块对接过程中,竖杆插入导向架内侧并沿导向斜面滑动,最终插入第二连接杆一侧,导向斜面起到引导作用,使竖杆能够准确插入,实现塔筒与底座基础模块之间的初步定位和导向对接,确保两者在连接过程中的位置准确性,提高安装效率和质量,避免因安装位置偏差导致的结构损坏或性能下降。

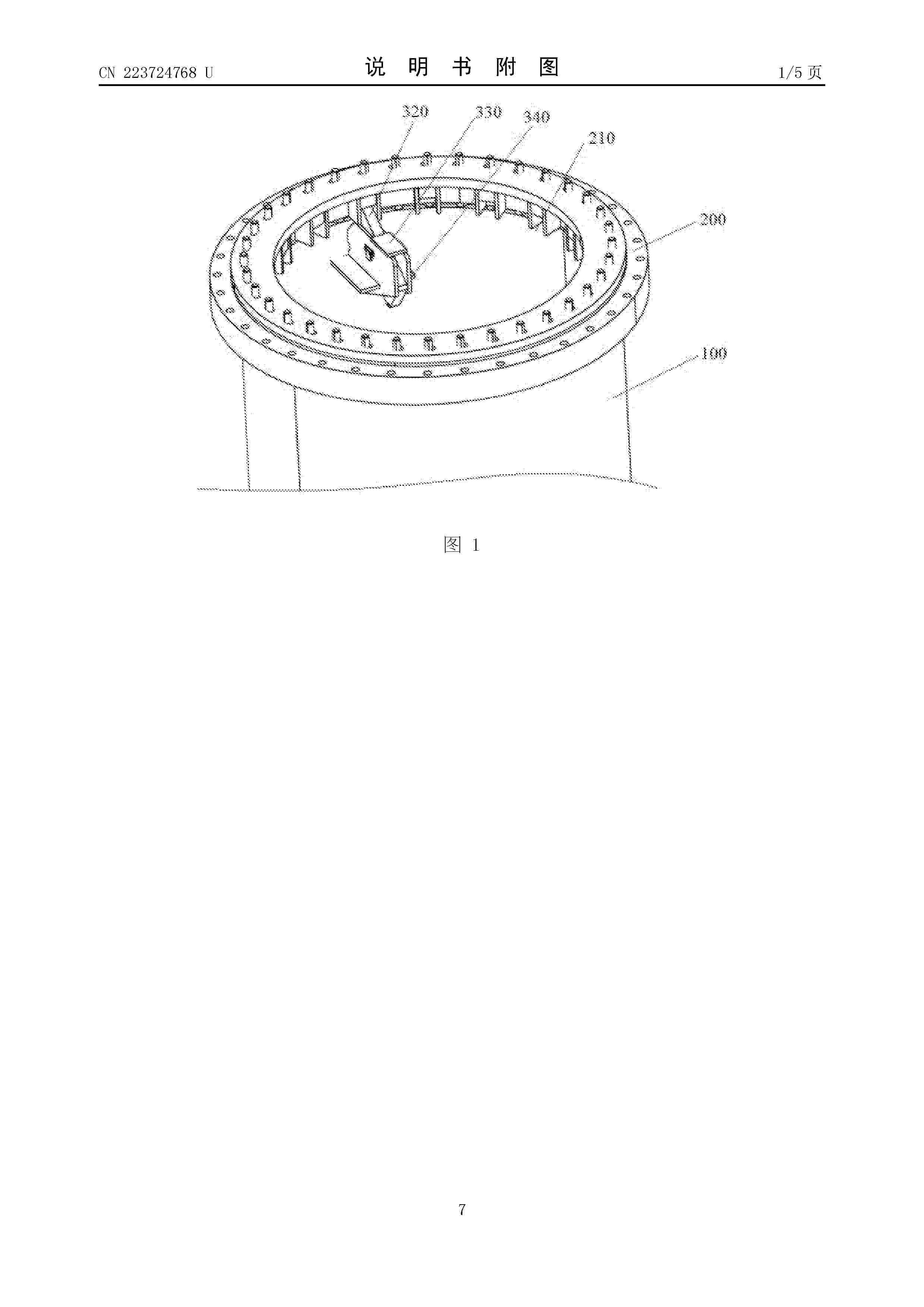
预埋叶根结构、风机叶片及发电装置

NºPublicación:  CN121229305A 30/12/2025
Solicitante: 
中车启航新能源技术有限公司
CN_121229305_PA

Resumen de: CN121229305A

本发明涉及风力发电技术领域,公开了一种预埋叶根结构、风机叶片及发电装置。该预埋叶根结构,包括叶根本体及多个螺栓套;叶根本体沿自身轴向延伸;叶根本体呈环状;多个螺栓套沿叶根本体的周向间隔分布;螺栓套在叶根本体径向上最大的第一宽度W1的尺寸小于螺栓套在叶根本体周向上最大的第二宽度W2的尺寸。在本发明中,是将传统的圆形截面螺栓套设计成了一种扁平状或椭圆状截面螺栓套,可以有效地解决了因增大螺栓直径而导致的螺栓套与周围玻璃钢复合材料之间的“刚度突变”问题,显著降低了螺栓套与叶根铺层界面发生剥离、撕裂或开裂的风险,从而在不牺牲连接强度的前提下,大幅提升了叶根连接区的结构完整性、安全性和服役寿命。

偏航系统以及风力发电机组

NºPublicación:  CN121229311A 30/12/2025
Solicitante: 
金风科技股份有限公司
CN_121229311_PA

Resumen de: CN121229311A

本发明涉及一种偏航系统以及风力发电机组,包括固定组件,包括安装盘以及支撑件,支撑件设置于安装盘并在安装盘的轴向上凸出安装盘;偏航轴承,包括转动配合的内圈以及外圈,内圈和外圈中的一者为转动圈且另一者为固定圈,固定圈与安装盘连接;传动组件,设置于支撑件,传动组件具有输入端以及输出端,输出端与转动圈连接;驱动组件,设置于安装盘并与传动组件的输入端传动配合,以通过传动组件驱动转动圈相对固定圈转动。本发明能够克服运输尺寸限制,利于满足风力发电机组功率增大的发展需求。

一种风机叶片变形程度检测方法及系统

NºPublicación:  CN121229327A 30/12/2025
Solicitante: 
华能吐鲁番风力发电有限公司
CN_121229327_PA

Resumen de: CN121229327A

本发明涉及风力发电技术领域,公开了一种风机叶片变形程度检测方法及系统,该方法包括:获取风机叶片的激光雷达点云数据、适应性图像及高频振动信号;生成风机叶片的实时三维模型;计算预设关键特征点的位移量,生成全域变形热力图;基于高频振动信号,构建动态吸引子序列,并通过动态吸引子序列提取多尺度指纹特征;根据全域变形热力图,结合曲率变化确定风机叶片的变形程度,基于多尺度指纹特征与预设指纹阈值的比对结果,定位微变形区域并实现损伤预警。本发明有效解决了现有技术中数据质量差、融合度低、变形量化不准及预警滞后等问题,显著提升了检测的精度、效率与可靠性,为风电设备的预防性维护提供了全面技术支撑。

含风速联动式可伸缩叶片的风力发电机组

NºPublicación:  CN121229313A 30/12/2025
Solicitante: 
黑龙江省华富电力投资有限公司
CN_121229313_PA

Resumen de: CN121229313A

本发明公开了一种含风速联动式可伸缩叶片的风力发电机组,涉及风力发电技术领域;所述风力发电机组包括叶片组件,所述叶片组件包括叶片安装座以及至少三个叶片结构,至少三个所述叶片结构沿所述叶片安装座的周向等距分布;每个所述叶片结构包括固定叶片以及活动叶片,所述固定叶片的一端与所述叶片安装座固定连接,所述固定叶片的内部设有第一容纳腔,所述活动叶片滑动穿设于所述第一容纳腔中,并伸出于所述固定叶片的另一端;所述第一容纳腔安装有伸缩驱动装置,所述伸缩驱动装置用于驱动所述活动叶片相对于所述固定叶片发生伸缩运动;本发明提供的技术方案能够实现叶片长度与风速进行联动。

用于高压输电线路的发电装置

NºPublicación:  CN121229320A 30/12/2025
Solicitante: 
中国电建集团成都勘测设计研究院有限公司
CN_121229320_PA

Resumen de: CN121229320A

本发明涉及高压输电技术领域,尤其涉及一种用于高压输电线路的发电装置,其包括输电线路铁搭、风力发电组件、储能电池、安装箱体、卷扬机组件、系留式充气浮空气囊、可电力传输的复合缆绳、充放气组件和控制器,充放气组件对系留式充气浮空气囊进行充气,气体产生的浮力使系留式充气浮空气囊能够漂浮在输电线路铁搭上方的空域中,使风力发电组件能够利用高空域中更稳定、更强大的风能,提高了风力发电组件的发电量;在遇到雷雨或者极端大风等恶劣天气时,能够使系留式充气浮空气囊、风力发电组件回收至安装箱体中,有效地降低了对系留式充气浮空气囊、风力发电组件的损害,确保设备的安全性,提高设备的使用时间。

一种风力发电机性能检测系统及其检测方法

NºPublicación:  CN121229335A 30/12/2025
Solicitante: 
华能(临高)新能源有限公司明阳智慧能源集团股份公司
CN_121229335_PA

Resumen de: CN121229335A

本发明公开了一种风力发电机性能检测系统及其检测方法,具体涉及风力发电机状态监测技术领域,用于解决现有技术难以有效检测台风过境时机舱密封系统隐性损伤的问题;通过同步采集机舱内外多源时序数据,基于气压数据识别瞬时气压反转事件,结合声学振动信号互信息熵变化生成密封薄弱区概率分布,进而通过光路透射率递归特征分析确立渗入性侵湿可能性,最后对绝缘电阻值进行分区趋势分析生成隐性损伤指标向量,通过阈值比对输出维护优先级清单来实现对风力发电机密封状态和绝缘性能的精准评估与预警。

一种风力发电设备检修用提升装置

NºPublicación:  CN121225427A 30/12/2025
Solicitante: 
华能甘谷发电有限公司
CN_121225427_PA

Resumen de: CN121225427A

本发明涉及风电设备提升吊装领域,尤其是一种风力发电设备检修用提升装置,包括,吊架机构;托架机构,托架机构连接吊架机构,托架机构包括承托板,承托板上设置有托槽;导向机构,导向机构固定于机舱罩上,导向机构包括导向板,导向板上设置有导向槽,承托板沿导向槽引导方向活动设置于导向板上;其中,导向槽包括第一竖直导向部,第一竖直导向部的上方设置有倾斜导向部,且倾斜导向部由下至上逐渐向靠近机舱罩上盖的方向倾斜;通过承托板和导向机构的配合设计,随着机舱罩上盖的向上提升,导向机构引导承托板移动方向,可使承托板逐渐向靠近机舱罩上盖的方向移动,进而形成对机舱罩上盖的承托,避免传统悬空吊装的安全隐患,提高吊装稳定性。

一种用于将风力涡轮机转子叶片安装到毂的方法

NºPublicación:  CN121241200A 30/12/2025
Solicitante: 
维斯塔斯风力系统有限公司
CN_121241200_PA

Resumen de: WO2024230904A1

The invention provides a method for mounting a wind turbine rotor blade (11) to a hub (18), - the blade comprising a blade root (111) comprising a root shell (115) forming a tubular shape of the blade root, the blade root forming an open blade root end (112) defining an imaginary root end plane (REP) at which the root shell terminates, - wherein for mounting the blade (11) to the hub (18), one of the blade root and the hub comprises a plurality of protruding engagement devices (119), and the other of the blade root and the hub forms a plurality of engagement apertures (181) each arranged to receive a respective of the engagement devices (119), - wherein the method comprises placing in the blade root (111), before the blade is mounted to the hub, a jacking device (401) so as to extend between two opposite locations of the blade root shell (115), - extending the jacking device (401) to subject the blade root (111) to a jacking force acting on said two locations (401L) of the root shell (115), so as to alter the shape of the blade root as seen in a direction which is perpendicular to the root end plane (REP), and - subsequently to said step of extending the jacking device (401), and while the jacking device is extended to subject the blade root (111) to the jacking force, moving the blade (11) and/or hub (18) to allow the engagement devices (119) to at least partly enter the respective engagement apertures (181).

一种风电机组结构的疲劳健康监测方法、装置、设备及介质

NºPublicación:  CN121229336A 30/12/2025
Solicitante: 
运达能源科技集团股份有限公司
CN_121229336_PA

Resumen de: CN121229336A

本申请公开了一种风电机组结构的疲劳健康监测方法、装置、设备及介质,涉及风电监测技术领域,基于交变载荷存储队列中的数据动态筛选居中极值,筛选有效极值;若初始载荷极值队列不是空队列,且有效极值的类型与初始载荷极值队列中末尾极值类型不一致,将有效极值存储至初始载荷极值队列,得到载荷极值队列;当载荷极值队列中极值数量不小于预设阈值,筛选目标极值,若目标极值的类型满足载荷循环条件,构建第一有效载荷循环,计算等效疲劳载荷与剩余寿命;将除第一有效载荷循环外的其他载荷极值设置为闭合循环,计算第二有效载荷循环;对等效疲劳载荷与剩余寿命进行计算与修正,提升疲劳监测的时效性和可靠性,保障整机结构安全和提高运维水平。

一种集成海流发电功能的垂荡板装置以及漂浮式风电设备

NºPublicación:  CN121224932A 30/12/2025
Solicitante: 
中国交通建设股份有限公司南方分公司
CN_121224932_PA

Resumen de: CN121224932A

本发明提供一种集成海流发电功能的垂荡板装置以及漂浮式风电设备,包括圆柱形的垂荡板本体,还包括旋转连接机构、方向引导机构和海流发电机组,所述旋转连接机构连接在垂荡板本体的上端面上,用于垂荡板本体与漂浮设备的旋转连接,且旋转连接机构的旋转轴线与垂荡板本体的轴心线同轴;所述垂荡板本体中设有若干在前后方向上延伸并贯穿的过水通孔;所述方向引导机构包括两个固定在垂荡板本体圆柱侧面上的两个导流板,且两个导流板相对称地设置在垂荡板本体左右两侧;所述海流发电机组设置在过水通孔中,且过水通孔中有水通过时会带动海流发电机组进行发电。

一种风电运维叶片竖直更换装置及更换方法

NºPublicación:  CN121229322A 30/12/2025
Solicitante: 
巨力索具股份有限公司
CN_121229322_PA

Resumen de: CN121229322A

本发明公开了一种风电运维叶片竖直更换装置及更换方法,属于风电机组维护技术领域;其包括:与轮毂内壁连接的悬挂组件;滑车组件的一端与悬挂组件连接,另一端连接有第二吊具;第二吊具远离滑车组件的一侧用于与叶片可拆卸连接;调整组件对称设置于滑车组件的两侧,调整组件的一端与悬挂组件连接,另一端连接有第一吊具;第一吊具远离调整组件的一端用于与叶片可拆卸连接。本发明通过悬挂组件、滑车组件、调整组件、第二吊具、第一吊具之间的相互配合,可在不使用大吨位高空起吊吊车的情况下,省去寻找叶片重心位置的操作,就可实现叶片的更换,对重心位置的依赖性低,操作方便、安全,适用性强。

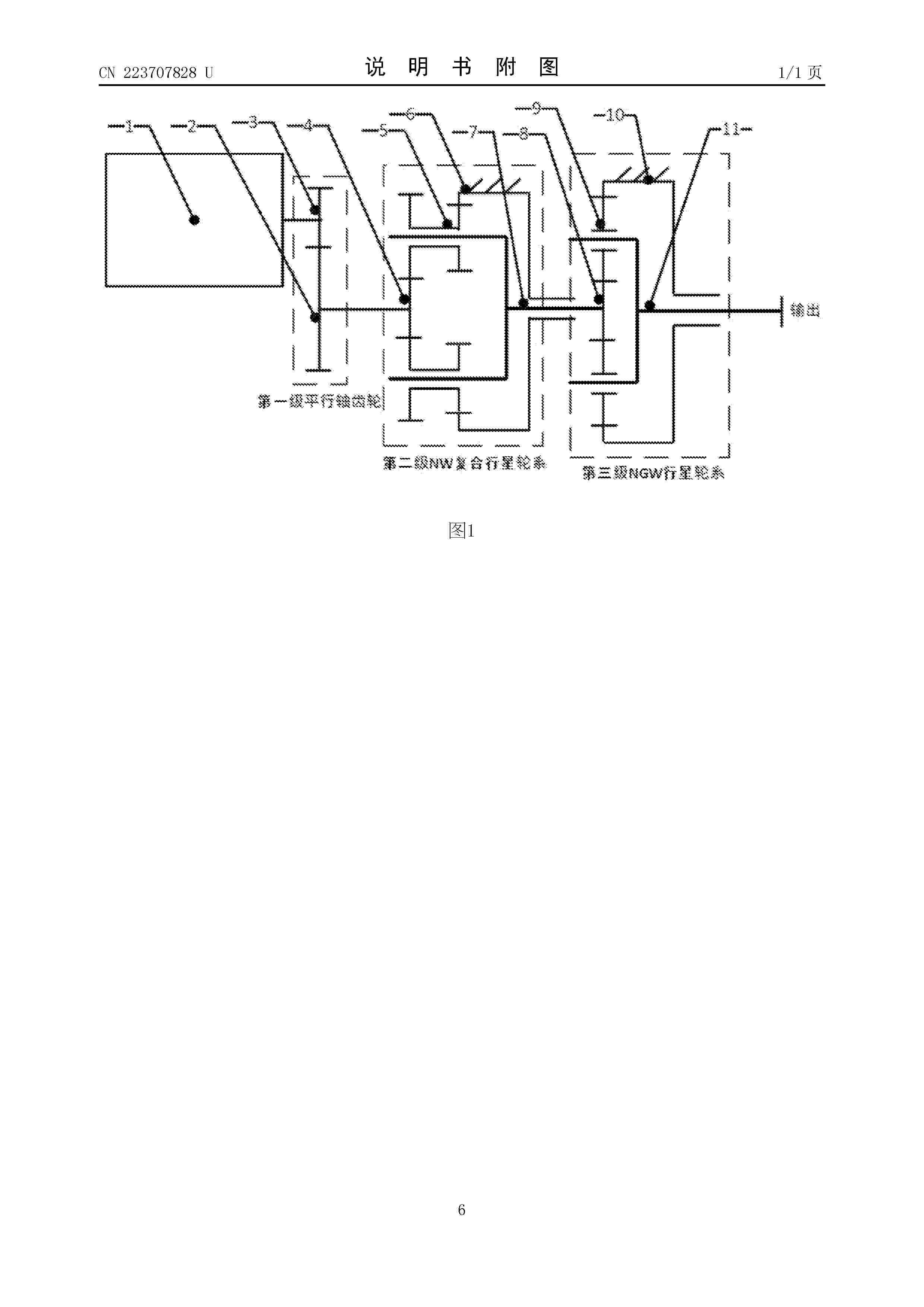
一种集成式风机传动链、及其轴向限位结构和拆卸方法

NºPublicación:  CN121229325A 30/12/2025
Solicitante: 
中车戚墅堰机车车辆工艺研究所股份有限公司
CN_121229325_PA

Resumen de: CN121229325A

本申请公开了一种集成式风机传动链的轴向限位结构、风电齿轮箱及拆卸方法,其中集成式风机传动链包括主轴系和齿轮箱,主轴与一级行星架可拆卸地连接,前中箱体上设置有沿其周向分布的多个螺堵安装孔;一级行星架上设置有与螺堵安装孔相对应的多个装配孔;当主轴与所述一级行星架分离时,紧固组件穿设于螺堵安装孔并旋入所述装配孔内,将一级行星架与前中箱体连接固定;将一级内齿圈与前中箱体进行轴向限位,进而共同防止一级内齿圈和一级行星架在吊装过程中脱落。本方案通过将一级行星架经紧固组件与前中箱体刚性连接进而轴向限位,一级内齿圈也被轴向限位,齿轮箱单独下塔时两者不脱落,降低了吊装成本。

一种用于风电齿轮箱的行星架轴承自润滑装置、方法及风电齿轮箱

NºPublicación:  CN121229609A 30/12/2025
Solicitante: 
中车戚墅堰机车车辆工艺研究所股份有限公司
CN_121229609_PA

Resumen de: CN121229609A

本申请公开了一种用于风电齿轮箱的行星架轴承自润滑装置、方法及风电齿轮箱,其中行星架轴承自润滑装置包括:行星架,其通过轴承安装并定位于齿轮箱箱体上;导油槽结构,其设置于所述行星架上;所述导油槽结构被配置为:在风机空转或低转速工况下,响应于所述行星架的旋转,利用离心力将润滑油从齿轮箱油池输送至所述轴承的润滑部位。本申请通过在行星架上设置导油槽结构,将行星架轴承的润滑与机械泵和电动泵的工作状态解耦,即使风机在空转时,导油槽结构可以给行星架轴承提供充足的润滑,避免风机在空转时润滑不足导致的轴承微动磨损,减少风电齿轮箱失效风险。

基于声学与振动信号融合的风机叶片结冰预警方法、设备

NºPublicación:  CN121229339A 30/12/2025
Solicitante: 
华能沾化新能源有限公司
CN_121229339_PA

Resumen de: CN121229339A

本申请涉及风电机组故障诊断技术领域,公开了一种基于声学与振动信号融合的风机叶片结冰预警方法,该方法包括:采集风电机组运行时的声学信号与振动信号,并获取对应的机组运行工况数据;对声学信号进行频谱分析,提取表征叶片气动特性变化的声学特征向量;对振动信号进行时频域分析,提取表征旋转部件质量不平衡的振动特征向量;将声学特征向量、振动特征向量及对应的工况数据输入至预训练后的结冰识别模型;结冰识别模型基于输入的融合特征,输出叶片结冰状态的概率及结冰程度等级。本公开可以解决现有风机叶片结冰预警方案中存在受环境条件制约大、设备成本高昂以及在结冰萌芽阶段灵敏度不足、预警滞后的问题。

基于射频电磁探测的风电机组雷击接闪探测方法

NºPublicación:  CN121229326A 30/12/2025
Solicitante: 
华中科技大学国网福建省电力有限公司电力科学研究院
CN_121229326_PA

Resumen de: CN121229326A

本申请属于射频雷电定位技术领域,具体公开了一种基于射频电磁探测的风电机组雷击接闪探测方法。本申请通过信噪比、仰角及站点数量约束规划定向天线初始布局,克服了全向天线在风电场中信噪比低、易受干扰的缺陷,实现了对目标空域的选择性聚焦与高信噪比数据采集。进一步通过模拟雷电信号迭代优化布站参数,增强了对风机关键部件雷击区域的监视能力。利用定向天线高增益特性精准提取时间参数,并结合统一时基对齐技术,确保了到达时间差的高精度测量。最终基于球面传播模型反演生成高分辨率的三维雷击通道形态,系统性解决了风电场复杂环境下的探测干扰问题,为雷击防护设计与事故分析提供了精确的三维观测依据。

联合电网环境实时仿真的风机涉网性能硬件在环试验系统

NºPublicación:  CN121229328A 30/12/2025
Solicitante: 
国网福建省电力有限公司电力科学研究院
CN_121229328_PA

Resumen de: CN121229328A

本发明涉及一种联合电网环境实时仿真的风机涉网性能硬件在环试验系统,包括海上风电机组与供电电网模拟装置连接的风机试验系统仿真模块,用于模拟由海上风电机组与供电电网模拟装置共同构成的风电机组涉网性能测试系统硬件的运行状态;电力接入区域的真实电网仿真模块,用于模拟待测风电机组实际投运后,所接入区域的真实电网的电气特性;风电机组控制器,用于向风电变流器发送驱动信号,并采样变流器直流、输入和输出端的电压电流信息,用于闭环控制和信号调制;供电电网模拟装置控制器,用于向供电电网模拟装置发送驱动信号,并采样供电电网模拟装置变流器直流、输入和输出端的电压电流信息。

一种电磁感应式风力发电装置

NºPublicación:  CN121229319A 30/12/2025
Solicitante: 
四川又双新材料有限公司
CN_121229319_PA

Resumen de: CN121229319A

本发明公开了一种电磁感应式风力发电装置,包括撑座和固定架,撑座的上表面中部转动连接有筒罩,固定架的中部转动连接有风力机构,撑座的上表面前侧靠近边缘处转动连接有调节机构,撑座的下表面四角均设置有升降机构,风力机构包括感应电机,感应电机安装在筒罩的内部下表面,感应电机的输出端与主轴的底部固定连接,主轴的内部安装有通杆,通杆贯穿固定架的中部并与蜗轮一的中部固定连接,本发明通过当风吹过两侧的翼型面风轮时,风的动能转化为两侧翼型面风轮上的动能,两侧翼型面风轮的转动会随着蜗轮四受到蜗轮三的限制只是在蜗轮三上旋转,由此会确保风吹动两侧翼型面风轮为蜗轮一产生持续的扭矩,受的风力会更多。

一种适用于地铁车站的零碳照明装置及方法

NºPublicación:  CN121229843A 30/12/2025
Solicitante: 
山东轨道交通勘察设计院有限公司
CN_121229843_PA

Resumen de: CN121229843A

本发明涉及照明装置技术领域,尤其是一种适用于地铁车站的零碳照明装置及方法,照明装置包括风道管、扇叶、传动组件、发电组件和照明灯;风道管一端设有左线轨行区进风口,另一端设有右线轨行区进风口;左线轨行区进风口和右线轨行区进风口均为斜切口,其中左线轨行区进风口的斜切口向右侧倾斜,右线轨行区进风口的斜切口向左侧倾斜;扇叶设置在风道管内,扇叶通过传动组件连接发电组件,发电组件连接照明灯;本发明充分利用地铁车站两个轨行区连通的条件,设置可连通两个轨行区的风道管,风道管倾斜设置并向来车方向倾斜以使其所具有的进风口处于迎风面,列车进出站时隧道内的产生的风可驱动风道管内的扇叶转动,并产生电能供照明灯使用。

一种局部加强的分段保持架

NºPublicación:  CN223739570U 30/12/2025
Solicitante: 
山东金帝精密机械科技股份有限公司
CN_223739570_U

Resumen de: CN223739570U

本申请公开了一种局部加强的分段保持架,由工程塑料材质制成的分段保持架主体以及其两侧可拆卸的耐磨金属加固架构成,耐磨金属加固架用于包裹分段保持架主体两端与相邻的分段保持架主体接触的端面以及四个拐角区域,工程塑料材质的主体保持了分段保持架的轻量化特性,有助于降低风力发电机的整体重量和能耗,耐磨金属加固架仅应用于高碰撞区域即两端与相邻分段接触的端面及四个拐角区域,既提升了这些关键区域的强度和耐磨性,又避免了整体金属化带来的重量增加,通过提升关键区域的强度和耐磨性,显著延长了分段保持架的整体使用寿命,更长的使用寿命意味着更长的维护周期和更低的维护成本,对于风电场合来说具有显著的经济效益。

塔筒清洗机构

NºPublicación:  CN223739568U 30/12/2025
Solicitante: 
内蒙古国领科技有限公司常州国领智能科技有限公司
CN_223739568_U

Resumen de: CN223739568U

本实用新型属于发电塔筒维护技术领域,具体涉及一种塔筒清洗机构。本申请的塔筒清洗机构包括:主支架,用于安装在清洗设备上;滚刷组件,设置在主支架上;以及刮板组件,其包括刮板和弹性件,所述弹性件用于将刮板顶紧在塔筒的外壁上。本申请的塔筒清洗机构工作时通过滚刷组件清理塔筒外壁灰尘、泥沙,并利用刮板组件去除油渍、污垢,实现对塔筒不同异物针对性的清洗方式,提高了塔筒的清洗效果。

一种海上光伏基础

NºPublicación:  CN223738608U 30/12/2025
Solicitante: 
中国电建集团西北勘测设计研究院有限公司
CN_223738608_U

Resumen de: CN223738608U

本实用新型提出了一种海上光伏基础,包括底座模块和M个支撑模块;底座模块设置在海底的地基上,用于承载M个支撑模块;底座模块包括交错设置的多个稳固单元;M个支撑模块分别设置在多个稳固单元的对应交叉点处,且每个交叉点处对应的两个稳固单元之间榫卯连接;每个支撑模块的两端分别与底座模块和光伏支架连接,且相邻支撑模块之间间隔第一预设距离;每个支撑模块包括间隔第二预设距离设置的N个承重单元和多个网状连接单元;每个承重单元的两端分别与底座模块和光伏支架连接;每个网状连接单元设置在相邻的承重单元之间。本实用新型通过多个承重单元及网状连接单元的配合,分散支撑模块受到的压力,增强光伏基础的稳定性。

海上风电灌浆料高压灌浆器

NºPublicación:  CN223738593U 30/12/2025
Solicitante: 
湖北乾道新型材料有限责任公司
CN_223738593_U

Resumen de: CN223738593U

本实用新型提供一种海上风电灌浆料高压灌浆器,包括罐体,罐体的上端固定安装有第一顶板,第一顶板的侧端通过转轴转动连接有第二顶板,第一顶板的上端固定连接有连接座,连接座的下端固定连接有长杆,长杆的圆周表面固定连接有混合涡板,长杆的下端固定连接有搅拌叶,连接座的上端固定连接有电机。本实用新型通过电机驱动的混合和搅拌装置,能够实现自动化的高压灌浆作业,提高了灌浆料的混合均匀性和输送效率,这有助于确保灌浆作业的一致性和质量,减少人工操作的错误和时间消耗。通过自动化的设备和简化的操作流程,减少了人员在危险环境中作业的风险,提高了作业的安全性。

一种具有导流结构的轻量化机舱罩

NºPublicación:  CN223739573U 30/12/2025
Solicitante: 
江苏海锋能源科技有限公司
CN_223739573_U

Resumen de: CN223739573U

本实用新型提供一种具有导流结构的轻量化机舱罩,涉及机舱罩辅助结构技术领域,旨在解决现有机舱罩的顶部未设置有导流结构且罩体的顶部呈平面结构设计,罩体顶部滞留的积水不能及时排出,导致罩体局部结构损坏,缩短罩体使用寿命的问题,包括机体,所述机体上活动连接有罩体,所述罩体的顶部通过紧固件安装有弧顶罩,所述弧顶罩的内壁上固定连接有加强筋,所述罩体的底部安装有插板,所述机体中设置有容纳槽,所述容纳槽中安装有可滑动的凸块,所述凸块与所述容纳槽的内壁之间通过弹簧连接。

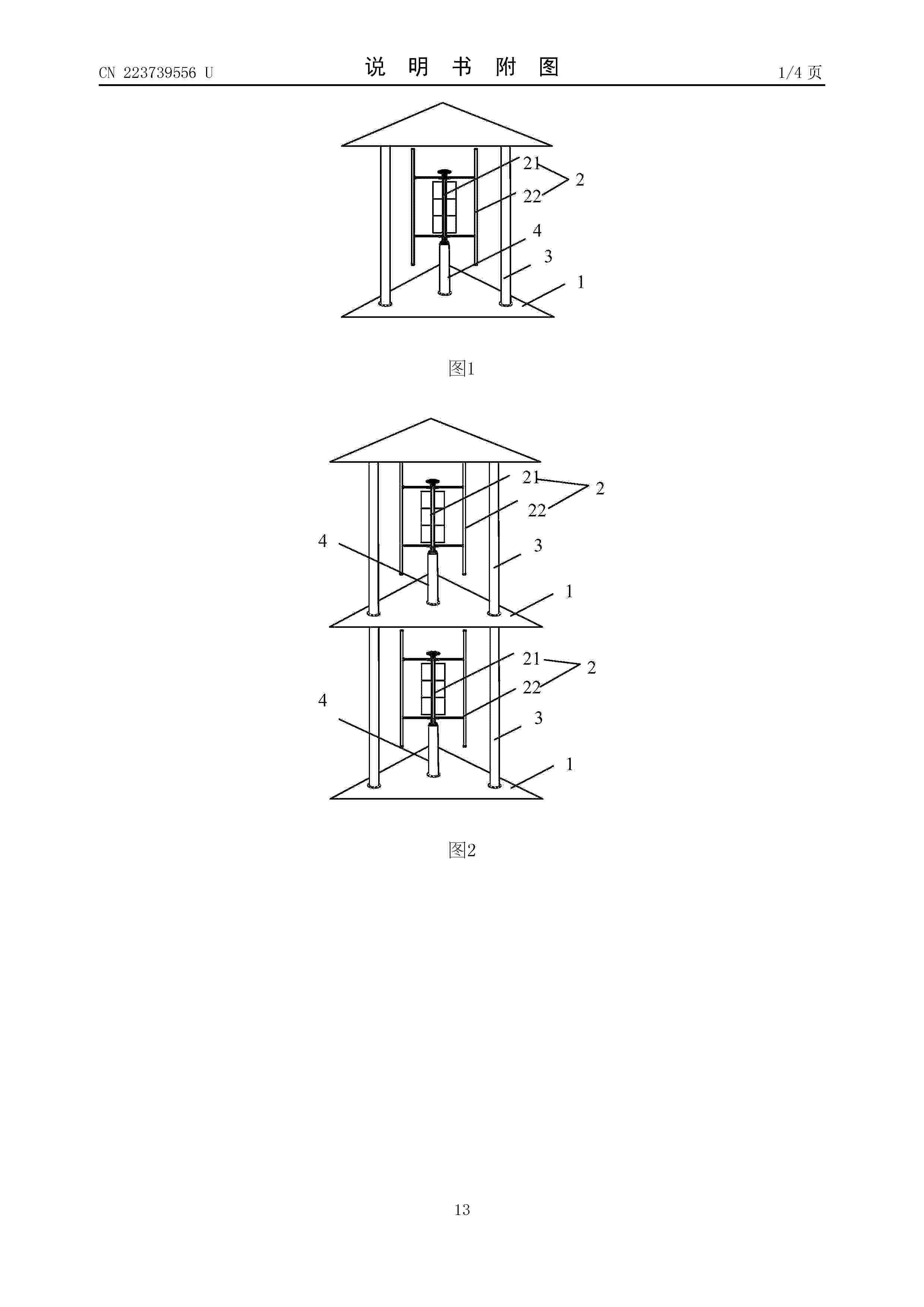
一种风力发电机偏航矫正结构

NºPublicación:  CN223739555U 30/12/2025
Solicitante: 
中国能源建设集团山西省电力勘测设计院有限公司
CN_223739555_U

Resumen de: CN223739555U

本实用新型属于风力发电机技术领域,具体涉及一种风力发电机偏航矫正结构;包括机舱、支撑轴和矫正驱动机构;支撑轴贯穿机舱的底部与机舱转动连接;支撑轴位于机舱外的部分与塔杆固定连接;矫正驱动机构包括蜗轮、蜗杆和伺服电机;蜗轮固定安装在支撑轴上,伺服电机安装在机舱内,蜗杆的一端与伺服电机的输出轴连接、另一端与机舱内的轴承座连接,蜗杆与蜗轮啮合,伺服电机驱动蜗杆转动时反作用力促使机舱绕支撑轴转动;本实用新型通过风向标与第一角度反馈单元实时监测风向偏差,并利用第二角度反馈单元精确检测机舱偏航角度,形成了一个高效的闭环控制系统;有效解决了传统偏航系统调节滞后、易过调等问题。

用于齿轮箱的透气装置及风电齿轮箱

NºPublicación:  CN223739984U 30/12/2025
Solicitante: 
南京高速齿轮制造有限公司
CN_223739984_U

Resumen de: CN223739984U

本实用新型属于风电设备技术领域,公开了一种用于齿轮箱的透气装置及风电齿轮箱。该用于齿轮箱的透气装置包括透气通道和透气件,透气通道开设于齿轮箱的固定结构上,透气通道连通齿轮箱的内外,透气通道包括至少一个弯折通道,以改善飞溅的润滑油顺着透气通道至透气件而造成透气件失效的问题;透气件密封连接于透气通道,透气件设置于齿轮箱的外侧,以实现齿轮箱的内部和外部的连通,从而使得齿轮箱内外压力的平衡。其增加了气流或其他流动液体在透气通道的阻力,实现了对飞溅的润滑油的部分阻挡效果;也增加了该透气通道的长度,使得齿轮箱内部的油气进入透气通道后会冷却并回流至齿轮箱内,提高了透气件的使用寿命,降低了维护成本。

风电塔和风力发输电系统

NºPublicación:  CN223739558U 30/12/2025
Solicitante: 
国核电力规划设计研究院有限公司
CN_223739558_U

Resumen de: CN223739558U

本实用新型公开了一种风电塔和风力发输电系统,所述风电塔包括铁塔、风力发电组件、多个横担和输电线,风力发电组件设在铁塔上,风力发电组件可利用风能发电,多个横担设置在铁塔上且与风力发电组件沿上下方向间隔设置,输电线悬挂在铁塔的横担上,输电线的两端分别与风力发电组件和集电箱相连,将风力发电组件产生的电能通过输电线输送至集电箱或者汇集站内;或者输电线的两端分别与风力发电组件和风电塔相连,将不同风电塔串联或者并联,进而将风力发电组件产生的电能通过输电线输送至集电箱或者汇集站内。本实用新型的风电塔具有结构新颖、施工便捷、经济环保等优点。

风力发电机舱安全扣组件

NºPublicación:  CN223739567U 30/12/2025
Solicitante: 
赵帆
CN_223739567_U

Resumen de: CN223739567U

本实用新型公开了风力发电机舱安全扣组件,包括:固定背带以及活动连接结构,所述活动连接结构安装于所述固定背带上,本实用新型涉及风力发电检修技术领域,通过凹型套装块、凸型伸缩块、梯形插装块等部件的巧妙配合,实现了与攀爬梯遮挡防护支架的稳定连接,且连接过程灵活可调,适应性强;伸缩凹型轮和伸缩轴承块的设计,使得支架能够被有效挤压固定,提高了连接的稳固性;套装限位弹簧和T型插装杆的应用,为结构提供了额外的安全保障,确保了在意外情况下仍能保持稳定的连接状态。

一种涡振抑制装置

NºPublicación:  CN223739563U 30/12/2025
Solicitante: 
汕头大学
CN_223739563_U

Resumen de: CN223739563U

本实用新型公开了一种涡振抑制装置,包括:固定环;滑移组件,滑动连接于所述固定环上,所述滑移组件可环绕所述固定环的中心来回滑动;分隔板,连接于所述滑移组件上,所述分隔板环绕所述固定环间隔设置有至少两个,位于所述滑移组件两侧的两个所述分隔板之间形成导风夹角,本实用新型的分隔板可根据不同方向的来流风转动调整位置,并利用分隔板改变塔筒外侧形成的气动力外衣,从而对涡振有效抑制减弱,提高塔筒结构的稳定性。

一种带引下线连接组件的金属接闪网

NºPublicación:  CN223744141U 30/12/2025
Solicitante: 
大连泽晟新材料有限公司
CN_223744141_U

Resumen de: CN223744141U

一种带引下线连接组件的金属接闪网,其属于避雷金属网的技术领域。该金属接闪网包括金属网和引下线连接组件,引下线连接组件包括叶片接闪器、转接支架和引下线,转接支架包括引下线段和接闪器段,引下线端部的引下线孔与引下线连接,接闪器段端部的接闪器内螺纹孔与叶片接闪器连接。该网末端过渡成金属箔,厚度加厚;同时,叶身接闪器和转接支架通过螺纹紧固在金属网上,连接处电流流通更加稳定。引下线导体直接插入引下线孔内,通过压接将引下线与转接支架连接固定;引下线与转接支架直接连接,避免了过多连接点造成的连接失效问题。转接支架和叶片接闪器与金属网接触处均设置倒角过渡,避免凸起台阶导致的灌注富树脂问题。

一种风轮式阻沙栅栏

NºPublicación:  CN223738498U 30/12/2025
Solicitante: 
兰州交通大学
CN_223738498_U

Resumen de: CN223738498U

本实用新型公开了一种风轮式阻沙栅栏,包括位于左右两侧的立柱,立柱竖直固定于地面上;两个立柱的下部之间连接有阻沙网,阻沙网竖直布设且底部紧贴地面;阻沙网上方的立柱之间连接有阻沙叶轮矩阵;阻沙叶轮矩阵包括间隔连接于立柱之间的横杆和竖杆,横杆和竖杆编制形成矩形网格结构;每个网格内固定有挡风板,挡风板左右两侧开设有半圆形豁口,相邻挡风板之间形成圆形豁口,圆形豁口内安装有发电风扇,发电风扇固定于竖杆上;还包括蓄电池,发电风扇与蓄电池电连接,发电风扇产生的电能储存于蓄电池中。通过风轮旋转实现了从传统栅栏的静态阻沙功能向动态阻沙功能的转变,该设计将原本的被动防护机制转变为积极降低风速的主动措施。

一种风力发电机组偏航系统制动盘碳粉收集装置

NºPublicación:  CN223739569U 30/12/2025
Solicitante: 
国能国华(广西)新能源有限公司
CN_223739569_U

Resumen de: CN223739569U

本申请提供了一种风力发电机组偏航系统制动盘碳粉收集装置,包括:环绕设置在制动卡钳下方的环形状的接尘盘;设置在制动卡钳下方且位于所述接尘盘上方的接油盘,所述接油盘位于两个相邻的所述制动卡钳之间。在本申请中,接尘盘接收并收集从制动卡钳与偏航系统刹车片摩擦过程中掉落的碳粉,防止碳粉散落至机组其他部件或环境中。接油盘承接从刹车片上滴落的润滑脂,防止润滑脂直接污染接尘盘中的碳粉,同时也便于对润滑脂进行收集,本申请的碳粉收集装置有效解决了偏航系统刹车片持续产生碳粉难以收集的问题。

具有加热功能的塔筒管节及风电塔筒

NºPublicación:  CN223739559U 30/12/2025
Solicitante: 
上海风领新能源有限公司
CN_223739559_U

Resumen de: CN223739559U

本实用新型提供一种具有加热功能的塔筒管节及风电塔筒。所述具有加热功能的塔筒管节包括管节本体和加热带,管节本体的轴向两端均具有拼接面,至少一个拼接面铺设加热带,加热带沿管节本体的周向延伸,加热带设有避让空间,避让空间用于连接件通过。本实用新型实施例的具有加热功能的塔筒管节,加热带能够产生热量以提升粘接材料的温度,从而确保粘接材料在温度较低的环境中能够维持适宜的温度,使粘接材料能够顺利凝固并达到所需强度。避让空间一方面避免连接件与加热带干涉,确保加热带和连接件的顺利安装,另一方面使加热带在拼接面上铺设均匀,以确保拼接面上的粘接材料的温度均匀,从而确保粘接材料的凝固效果。

一种自动防冻解冻的风电机组

NºPublicación:  CN223739565U 30/12/2025
Solicitante: 
河北新天科创新能源技术有限公司
CN_223739565_U

Resumen de: CN223739565U

本实用新型提供了一种自动防冻解冻的风电机组,涉及发电机组技术领域,包括:风电机,风电机内部设有发电机构,用于进行风力发电;化冻组件,化冻组件设于风电机底部,用于对机体外壳进行加热化冻;及储能组件,储能组件设于风电机顶部一侧,用于在没有进行发电时储存备用能源以供化冻组件启动。该种装置通过化冻组件中储液腔与回流管的设计,利用水的高比热容特性避免冷热不均,防止温度骤变引起的损害,提高化冻效率。储能组件集成光伏板、蓄电池及光伏转换器,提供太阳能电力支持,无风力发电时为化冻组件供电,增加系统独立性,减少对外部电网依赖。

一种用于风电机组安装的可调节平台

NºPublicación:  CN223739560U 30/12/2025
Solicitante: 
湖南格莱特新能源发展有限公司
CN_223739560_U

Resumen de: CN223739560U

本实用新型涉及风电机组的技术领域,提供了一种用于风电机组安装的可调节平台,所述平台包括发电机主体和底座,所述发电机主体包括发电机底座和滑扣组,底座内设有N型槽组,在发电机底座上开设有凹槽,同时在底座上固定安装有凸块,通过把发电机底座上的滑扣组对准底座上的N型槽组,同时把发电机底座上的凹槽对准底座上的凸块,并按照卡槽的导向移动到底,进行固定确保风电机组的安全安装与运行。本实用新型通过优化结构设计,解决了现有技术中风电机组安装平台适应性差、调节不便的问题,具有结构简单、操作便捷、适用性广等优点,显著提高了风电机组安装的效率与可靠性。

一种基于预制环片的塔段免灌浆连接方法和装置

NºPublicación:  CN121229324A 30/12/2025
Solicitante: 
中国电建集团北京勘测设计研究院有限公司
CN_121229324_PA

Resumen de: CN121229324A

本发明涉及风力发电技术领域,具体涉及一种基于预制环片的塔段免灌浆连接方法及装置,装置包括至少一组预制混凝土塔段,每组预制混凝土塔段由若干预制环片通过环向拼接构成;预制环片的上端设有第一凸齿和齿槽,预制环片的下端设有第二凸齿和齿槽;第一凸齿内部预埋有金属波纹管,且金属波纹管内部的通孔作为钢绞线孔;第二凸齿上设有锚固安装槽,钢绞线的两端设于锚固安装槽内,且穿过钢绞线孔。方法包括:设计若干预制环片;将若干预制环片通过环向拼接构成若干预制混凝土塔段;进行预应力钢绞线的穿束与张拉;将若干混凝土塔段进行上下拼接组装为塔段免灌浆连接装置。本发明实现了预制构件的精准对接,无需现场灌浆,减少了施工周期和成本。

风机巡检方法、装置、电子设备及存储介质

NºPublicación:  CN121236060A 30/12/2025
Solicitante: 
广州中科云图智能科技有限公司
CN_121236060_PA

Resumen de: CN121236060A

本发明的实施例提供了风机巡检方法、装置、电子设备及存储介质,涉及巡检领域,方法包括:确定风机的叶片的空间位置信息,控制无人机移动至叶片的空间位置信息处,对叶片进行图像采集,得到叶片采集图像,确定叶片采集图像的中轴线的线段,基于中轴线的线段确定线段的中心点位置,确定线段的中心点位置的时间空间地理坐标位置,控制无人机移动至中心点位置的时间空间地理坐标位置处,对叶片图像进行拍摄,得到叶片图像,基于叶片图像进行缺陷检测,确定叶片的缺陷。基于本申请提供的风机巡检方法,可以减少人工干预,提高检测效率,并且可以稳定检测图像质量,使得各检测图像保持一致的视角,提高检测精度。

过滤装置及应用它的风电齿轮箱润滑冷却系统

NºPublicación:  CN121222147A 30/12/2025
Solicitante: 
成都孚奥智能技术有限公司
CN_121222147_PA

Resumen de: CN121222147A

本发明涉及过滤技术领域,公开了一种过滤装置及应用它的风电齿轮箱润滑冷却系统,解决由于底部阀块与侧部阀块之间独立配置,导致制造成本高的技术问题。包括至少一个集成式阀控装置,集成式阀控装置包含阀座、待过滤介质单向阀机构和已过滤介质流路温控分配机构;阀座由基座本身构成,或者,阀座与基座彼此组装在一起;并且,阀座具有一体加工成型的第一部位和第二部位;待过滤介质单向阀机构设置在第一部位中,用以向待过滤介质集流腔中单向输送待过滤介质;已过滤介质流路温控分配机构设置在第二部位中,已过滤介质流路温控分配机构利用温控阀组将通过已过滤介质集流腔的已过滤介质分配在第一输出通道和第二输出通道中而分别输出。

风电叶片及风电叶片成型方法

NºPublicación:  CN121229306A 30/12/2025
Solicitante: 
中材科技(伊吾)风电叶片有限公司
CN_121229306_PA

Resumen de: CN121229306A

本申请提供一种风电叶片及风电叶片成型方法,风电叶片包括叶片主体和防护罩。叶片主体具有沿长度方向相对设置的叶尖区域和叶根区域,叶片主体包括迎风面壳体和背风面壳体,迎风面壳体和背风面壳体形成内腔,背风面壳体设有排水孔,排水孔贯穿背风面壳体并连通内腔和叶片主体外侧,排水孔位于叶尖区域。防护罩设置于内腔,防护罩与背风面壳体围合形成具有缺口的容纳腔,容纳腔和排水孔连通,沿排水孔的轴向,防护罩的正投影覆盖排水孔。本申请提供的风电叶片,防护罩能够有效的阻挡杂物等进入排水孔,有效降低排水孔堵塞的风险,降低风电叶片质量隐患,延长风电叶片使用寿命。

一种风电机组能效分析与在线优化方法

NºPublicación:  CN121229315A 30/12/2025
Solicitante: 
河北华电冀北新能源有限公司
CN_121229315_PA

Resumen de: CN121229315A

本发明公开了一种风电机组能效分析与在线优化,方法包括以下步骤:S1、环境参数感知,对风电机组周围的风速、风向和空气密度进行检测;S2、机组数据采集,获取风电机组运行系统中的发电功率、桨距角、偏航角度、发电机电磁扭矩参数。本发明具备优化效果好的优点,解决了现有的风力发电机在运行的过程中,不便于根据风向、风速和空气密度,对发电机的偏航误差、浆叶角度和电磁扭矩进行控制,难以应对不同的运行场景,导致发电效率下降和功率控制不精准,影响电网稳定性的问题。

塔基式毫米波净空雷达监测方法、系统、装置及存储介质

NºPublicación:  CN121232184A 30/12/2025
Solicitante: 
南京牧镭激光科技股份有限公司
CN_121232184_PA

Resumen de: CN121232184A

本申请公开塔基式毫米波净空雷达监测方法、系统和计算机设备,涉及风电领域。用于安装在风塔基座位置的毫米波雷达传感器,基于雷达传感器安装位置和雷达视场建立雷达视角场坐标系,并沿目标方向提取并识别塔筒叶片的点云数据;根据点云数据的位置和雷达传感器相对于塔筒的位置关系,计算目标点云相对于塔筒的径向距离,并计算叶片最大净空值;基于当前时刻雷达传感器测量的叶片位姿信息和最大净空值生成目标测量信息,发送至风机主控设备。该方案通过安装在风塔基座位置的毫米波雷达传感器建立坐标系并计算叶片净空值,解决了高空安装维护困难、恶劣天气监测失效及测量基准不稳的问题,具有提升监测可靠性、降低维护成本和提高测量精度的优点。

塔筒段、塔筒、塔筒的成型方法以及风力发电机组

NºPublicación:  CN121229323A 30/12/2025
Solicitante: 
北京金风科创风电设备有限公司
CN_121229323_PA

Resumen de: CN121229323A

本申请涉及一种塔筒段、塔筒、塔筒的成型方法以及风力发电机组,塔筒段包括金属筒段、连接件以及填充体。金属筒段包括沿自身径向间隔分布的第一环形本体以及第二环形本体,第一环形本体与第二环形本体围合形成容纳腔。连接件至少部分设置于容纳腔并与第一环形本体以及第二环形本体中的至少一者连接。填充体填充于容纳腔并与第一环形本体、第二环形本体以及连接件连接,填充体包覆于连接件的至少部分设置。本申请实施例的塔筒段无需通过焊接的方式即可拼接成型塔筒,便于施工,且利于保证塔筒的成型质量。

一种加装激光雷达的风电机组冗余控制方法及装置

NºPublicación:  CN121229332A 30/12/2025
Solicitante: 
中国华能集团清洁能源技术研究院有限公司华能广东汕头海上风电有限责任公司
CN_121229332_PA

Resumen de: CN121229332A

本发明提出一种加装激光雷达的风电机组冗余控制方法及装置,通过融合机舱激光雷达、超声波风速仪与机械式风速仪的多源风速信息,对风电机组的冗余控制功能进行优化。本发明可以提升机组在极端风况下的运行安全性与可靠性,实现基于多传感器信息融合的容错控制,降低机组关键部件(叶片、主轴、塔筒)的动态载荷,延长使用寿命。

风电机组的变桨控制方法、装置、终端及介质

NºPublicación:  CN121229312A 30/12/2025
Solicitante: 
中船海装风电有限公司
CN_121229312_PA

Resumen de: CN121229312A

本申请实施例涉及风电控制领域,提供一种风电机组的变桨控制方法、装置、终端及介质,该方法包括:获取目标风电机组的安全运行制度信息,以及获取目标风电机组的待部署变桨控制模型;根据安全运行制度信息对待部署变桨控制模型进行调整,得到目标变桨控制模型;获取目标风电机组的当前运行信息和当前风速信息;采用目标变桨控制模型、当前运行信息和当前风速信息进行控制参数运算,得到目标风电机组的变桨控制参数;采用变桨控制参数对目标风电机组进行变桨控制,能够采用部署的变桨控制模型进行变桨控制参数的确定,实现适应当前运行环境的实时变桨调节,提升了变桨控制时的精确性,打破了原有载荷‑发电性能的匹配瓶颈,显著的提升了发电量。

一种风电叶片除冰装置

NºPublicación:  CN121229340A 30/12/2025
Solicitante: 
华能甘谷发电有限公司
CN_121229340_PA

Resumen de: CN121229340A

本发明公开了一种风电叶片除冰装置,包括引导组件;可相对于引导组件进行转动的清理组件,其中,所述引导组件连接有风电机主体,所述清理组件连接有风电机叶片,所述风电机主体一侧与所述风电机叶片转动连接,所述清理组件可随风电机叶片一同转动;当所述清理组件随风电机叶片转动时,所述引导组件引导清理组件沿风电机叶片进行滑动。在风电机叶片转动时,三角形槽口引导清理组件沿叶片滑动,来破除包裹叶片的冰层,从而破坏冰层的完整性,使剩余冰层能被风电机叶片甩出,大幅提升除冰效率,同时也不会产生额外的能耗,增加发电成本。

一种高空风力发电平台

NºPublicación:  CN121229309A 30/12/2025
Solicitante: 
北京临一云川能源技术有限公司
CN_121229309_PA

Resumen de: CN121229309A

本发明公开了一种高空风力发电平台,包括主气囊,沿前后方向延伸设置,外周面为回转形面,直径由前至后先逐渐增大后逐渐减小;两个补偿部件,对称设置于主气囊两侧,且与主气囊连接;补偿部件为环形结构,包括有进风涵道,补偿部件内部中空以注入气体;风电叶片,设置于进风涵道内,每个进风涵道内至少包括一组风电叶片;空气动力学部件,多个空气动力学部件呈中心对称分布于主气囊的外周面,位于补偿部件的旁侧,处于风电叶片所产生扰动气流区域外;系留点,位于主气囊前侧在主气囊延伸方向上隔于补偿部件设置。该高空风力发电平台能够保障平台平稳运行,同时兼顾轻量化与发电效率的提升。

一种海上风电桩套笼复位设备

NºPublicación:  CN121228706A 30/12/2025
Solicitante: 
南通亚能装备科技有限公司
CN_121228706_PA

Resumen de: CN121228706A

本发明属于海上风电技术领域,且公开了一种海上风电桩套笼复位设备,包括风电桩主体,还包括:限位组件,所述限位组件固装于所述风电桩主体的外部。本发明通过将套笼组件吊起位于风电桩主体的顶端,导向绳索即可正常在防护罩内下移,而套笼组件吊装过程中受到风力的影响出现摆动时,套笼组件拉动导向绳索在防护罩与支撑架内反向运动,支撑架与夹持球在复位弹性件的作用下,夹持球与防护罩的内壁抵触,通过夹持球对导向绳索夹持固定,避免导向绳索反向运动,使其处于绷紧的状态,从而通过导向绳索避免套笼组件出现摆动,随着套笼组件逐渐靠近风电桩主体,通过防护罩对导向绳索限位逐渐提高套笼组件的稳定性。

用于辅助对浮式物体进行拖曳作业的系统

NºPublicación:  CN121241002A 30/12/2025
Solicitante: 
康士伯海事有限公司
CN_121241002_PA

Resumen de: WO2024248627A1

It is disclosed a system and a method for assisting in towing operations of a floating wind turbine (FWT) An FWT is provided with a wireless communication system and at least one position sensor for measuring a position of the FWT in at least three degrees of freedom. A master tow vessel is connected to the floating wind turbine by a towline. The master tow vessel comprising a winch, a DP system, a two-way wireless communication system. A tow assist system/module/controller may be integrated with the DP system. An assisting tow vessel(s) is connected to the floating wind turbine by a towline. The assisting tow vessel(s) is provided with a two-way wireless communication system. The tow assist system/module/controller calculates set points (force and direction) for all the towing vessels based on input parameter(s) from the floating wind turbine, and input parameter(s) from each assisting towing vessel and input parameter(s) from the master tow vessel.

流体能量机的转子、流体能量机的转子总成、相应的流体能量机及其运行方法

NºPublicación:  CN121241197A 30/12/2025
Solicitante: 
科姆泰克沃蒂弗有限公司
CN_121241197_PA

Resumen de: WO2024218263A1

The invention relates to a rotor (1) for a fluid energy machine (13), comprising: a rotor hub (3) which can be rotated about a rotor rotational axis (4); and a plurality of rotor blades (2) which run from the rotor hub (3) and extend outward in the radial direction with respect to the rotor rotational axis (4). According to the invention, each of the rotor blades (2) has an aerodynamic rotor blade profile (5), and a chord angle between a chord (8) of the rotor blade profile (5) and an imaginary plane which contains the rotor rotational axis (4) or is perpendicular to the rotor rotational axis changes in the radial direction from the inside out such that the rotor blade (2), seen in the radial direction with respect to the rotor rotational axis (4), has rotor blade regions (11, 12) which are provided and designed for opposite axial flow directions. The invention also relates to a rotor assembly (14) for a fluid energy machine (13), to a fluid energy machine (13), and to a method for operating a fluid energy machine (13).

风力发电装置

NºPublicación:  CN223739556U 30/12/2025
Solicitante: 
北京比特大陆科技有限公司
CN_223739556_U

Resumen de: CN223739556U

本公开提供一种风力发电装置,包括:至少两个支撑平台,沿第一方向层叠设置;相邻两个支撑平台之间设置有风力发电机和支撑架;支撑架,连接于相邻两个支撑平台之间;风力发电机,与相邻两个支撑平台中的一个支撑平台可拆卸连接,且与支撑架和相邻两个支撑平台中的另一个支撑平台均间隔设置。在本公开实施例中,可以降低对风力发电装置中的风力发电机进行拆卸的拆卸难度。

一种风电塔筒检修装置

NºPublicación:  CN223739566U 30/12/2025
Solicitante: 
协鑫绿能系统科技有限公司
CN_223739566_U

Resumen de: CN223739566U

本实用新型属于风电塔筒检修技术领域,具体涉及一种风电塔筒检修装置,包括塔筒本体,所述塔筒本体的右侧固定连接有安装架,所述安装架的右端固定安装有伺服电机,所述伺服电机的输出轴与安装架转动连接,所述伺服电机的输出轴与塔筒本体转动连接,所述伺服电机的输出轴外侧固定套接有收卷辊,所述收卷辊的表面设置有牵引线。本实用新型通过伺服电机、收卷辊、牵引线等结构的作用,可对支撑盘进行牵引移动使用,并配合检测摄像头的作用,可对塔筒内部进行自动检测,便于后续的作业人员的定位检修使用,在滑球、弹簧一等结构下,可对支撑盘进行移动导向,以保证支撑盘的移动稳定。

一种用于风电偏航的新型轴承密封件

NºPublicación:  CN223739571U 30/12/2025
Solicitante: 
江苏久峰新材料科技有限公司
CN_223739571_U

Resumen de: CN223739571U

本实用新型涉及轴承密封件技术领域,且公开了一种用于风电偏航的新型轴承密封件,包括偏航轴承外圈,所述偏航轴承外圈的内侧设置有偏航轴承内圈,所述偏航轴承外圈的外侧边缘处设置有偏航齿,所述偏航轴承外圈和偏航轴承内圈的左右两侧均设置有密封件,两个所述密封件的一侧设置有密封盖板,两个所述密封盖板上均开设有六个第一连接孔,两个所述密封件上均开设有六个第二连接孔,两个所述密封盖板的一侧均通过六个紧固螺栓穿过第一连接孔和第二连接孔并与偏航轴承内圈的一侧壁相螺纹连接。本实用新型通过设置密封件,并且密封件由弹性层、增强层和耐腐蚀层组成,利用它们之间的相互配合作用,从而提高了该密封件的使用寿命。

一种风力发电机叶片防雷接地结构

NºPublicación:  CN223739564U 30/12/2025
Solicitante: 
宁夏回族自治区电力设计院有限公司
CN_223739564_U

Resumen de: CN223739564U

本实用新型公开了一种风力发电机叶片防雷接地结构,包括塔架,所述塔架的顶端通过驱动机构连接有若干个呈环绕分布的叶片本体,所述叶片本体的外端套设有为金属网套结构的接闪器,所述接闪器通过导电线与叶片本体内部设有的接线机构相连,且所述接闪器的内端固定有对接框,所述对接框的内部设有由嵌合件和夹持件构成的稳固连接机构,所述嵌合件对称设在对接框的前后两侧内壁并可调节相对位置,所述夹持件对称设在对接框的两侧内壁并可通过自身特性实现变形。该风力发电机叶片防雷接地结构增强了接闪器与叶片之间的稳固性和电气连接性能,有效提升了防雷效果和电流传导效率,减少了因接触不良引起的安全隐患。

一种便于安装的小型风力发电机

NºPublicación:  CN223739552U 30/12/2025
Solicitante: 
德州德商高速公路发展有限公司
CN_223739552_U

Resumen de: CN223739552U

本实用新型公开了一种便于安装的小型风力发电机,涉及小型风力发电机安装技术领域,包括由小型风力发电机、立柱、十字底架组成的风力发电组件、增重组件、隔离组件,所述隔离组件延伸至小型风力发电机的外侧,所述隔离组件用于对小型风力发电机的运行区域进行隔开、防护。本实用新型通过设置增重组件可提高风力发电组件的摆放稳定性,通过设置隔离组件可对小型风力发电机的运行区域形成隔开操作,有效避免人员误入小型风力发电的运行区域,提高小型风力发电机的使用安全,当需要对小型风力发电机进行检修维护时,只需要拧松锁紧螺栓,将第二环座、第三环座下移即可接触到小型风力发电机,操作简单、便捷。

一种风能发电用叶片

NºPublicación:  CN223739553U 30/12/2025
Solicitante: 
浙江大学
CN_223739553_U

Resumen de: CN223739553U

本实用新型公开了一种风能发电用叶片,属于风电技术领域。该叶片包括相互独立的第一叶片段和第二叶片段,所述第一叶片段的末端设有第一断面,所述第二叶片段的首端设有第二断面,所述第一断面和所述第二断面之间由机械连接组件和斜胶接层进行组装式连接;所述机械连接组件包括若干单体连接构型,且分布在叶片断面的上下两边和前缘区域;所述断面与所述叶片的轴线呈30°夹角;所述断面设置位置与所述叶片根部的距离为整个叶片长度的30%‑35%;所述叶根的过渡区域以及距叶尖1/3处的易损伤区域铺设有局部加强蒙皮。本实用新型可以混合连接方式,能够综合两种连接方式的优势,减轻分段叶片重量的同时保证连接强度。

一种风力发电机混塔塔外可便捷组装的高空作业平台

NºPublicación:  CN223739562U 30/12/2025
Solicitante: 
江西省标正技术工程有限公司
CN_223739562_U

Resumen de: CN223739562U

本实用新型涉及作业平台技术领域,提供一种风力发电机混塔塔外可便捷组装的高空作业平台,包括标准箍板、调节箍板、承插式钢管、挂篮、环形钢管和支撑板,若干标准箍板和所述调节箍板依次连接形成环形箍板设置在风力发电机混塔外侧,所述标准箍板和所述调节箍板均呈弧形状,所述承插式钢管均匀间隔设置在所述标准箍板上,所述挂篮均设置在所述承插式钢管上,通过设置标准箍板、挂篮和可调节段箍板等实现模块化连接,作业平台能够紧密贴合不同直径的混塔塔身,确保作业过程中的稳定性和安全性,同时实现了作业平台的单人快速组装和拆卸,大大降低了人力成本和时间成本。

一种自润滑式的风机变桨轴承

NºPublicación:  CN223739572U 30/12/2025
Solicitante: 
大唐平顺新能源有限公司
CN_223739572_U

Resumen de: CN223739572U

本实用新型公开了一种自润滑式的风机变桨轴承,包括风机变桨轴承本体和U型夹板,所述风机变桨轴承本体的周侧套接有U型夹板,所述U型夹板的上端螺钉安装有滚珠润滑机构,所述滚珠润滑机构的外端法兰连接有润油输送机构,本实用新型中润油输送机构可以将润滑油分别输送到滚珠润滑机构和外侧润滑机构中,从而经过滚珠润滑机构和外侧润滑机构可以有效润滑,滚珠润滑机构通过润滑出孔处的润滑棉垫,从而可以将润滑油渗透添加到轴承内圈壳体的滚珠润滑孔处,这样可以有效对轴承内圈壳体和轴承外圈壳体内部之间的滚子进行润滑,避免滚子在没有润滑状态下滚动造成的摩擦损坏,有效提高整体的使用寿命。

一种便于山区运输的叶轮风机分体式安装结构

NºPublicación:  CN223736617U 30/12/2025
Solicitante: 
中国水利水电第九工程局有限公司
CN_223736617_U

Resumen de: CN223736617U

本实用新型涉及叶轮风机技术领域,具体的说是一种便于山区运输的叶轮风机分体式安装结构,包括:底座,所述底座的一侧设置有叶轮架;堆叠拆分机构,用于对叶轮风机拆分后可以对拆分部件堆叠放置的所述堆叠拆分机构设置于底座和叶轮架之间;其中,所述堆叠拆分机构包括固定安装在底座和叶轮架之间的多个连接板,所述底座和叶轮架之间设置有堆叠组件,所述底座的一侧设置有放置组件;在对底座和叶轮架拆分后,可通过堆叠组件对内部部件进行堆叠放置,降低整体运输尺寸,更加适合在狭窄山区道路进行运输,且底座和叶轮架在使用时可通过放置组件进行对齐放置,从而进一步节省运输空间,使得叶轮风机更加便于运输。

一种便于操作的风电机组设备运行检修维护设备

NºPublicación:  CN223741746U 30/12/2025
Solicitante: 
华润新能源(阜新)风能有限公司
CN_223741746_U

Resumen de: CN223741746U

本实用新型公开了一种便于操作的风电机组设备运行检修维护设备,包括测振仪主体、固定在测振仪主体顶面的顶座、设置在顶座顶部中心处的测振探头;以及设置在顶座顶部的伸缩式防护套筒,且测振探头处于伸缩式防护套筒的内侧;本实用新型通过在现有测振仪的顶部设计一个伸缩式防护套筒,可以有效遮挡并保护测振仪顶部的探头,防止磕碰损伤,而当后续需要使用本测振仪对风电机组设备运行进行检修维护时,只需简单操作即可将防护套筒降下,露出探头,既保证了测量检修工作的顺利进行,又从根本上避免了防护盖的丢失问题,显著提升了测振仪的使用便捷性和耐用性,给后续风电机组设备运行的检修维护工作带来稳定保障。

一种风机塔筒基础沉降监测器用安装结构

NºPublicación:  CN223739561U 30/12/2025
Solicitante: 
张北禾润能源有限公司
CN_223739561_U

Resumen de: CN223739561U

本实用新型涉及风力发电技术领域,且公开了一种风机塔筒基础沉降监测器用安装结构,包括安装于地基上的塔座,所述塔座远离地基的另一端固定安装有塔筒本体,所述塔筒本体远离塔座的另一端固定安装有风机本体,所述塔筒本体外表面开设有卡槽,所述塔筒本体靠近卡槽的一端固定安装有用于定位的滑块,所述塔筒本体通过卡槽设置有安装座,所述安装座远离塔筒本体的一端固定安装有数据传输组件。该风机塔筒基础沉降监测器用安装结构,安装座与卡槽的适配设计,使安装座能顺利安装到塔筒本体上,滑槽与滑块的滑动连接,不仅方便安装座的安装与拆卸,还能让安装座在塔筒本体上灵活调整位置,满足不同安装需求,提高安装结构的灵活性。

一种风力发电机主动对风结构

NºPublicación:  CN223739554U 30/12/2025
Solicitante: 
中国能源建设集团山西省电力勘测设计院有限公司
CN_223739554_U

Resumen de: CN223739554U

本实用新型属于风力发电机技术领域,具体涉及一种风力发电机主动对风结构;包括机舱、支撑轴、散热组件和对风传动组件;支撑轴贯穿机舱的底部与机舱转动连接;支撑轴位于机舱外的部分与塔杆固定连接,支撑轴位于机舱内的部分固定连接有第一齿轮;散热组件和对风传动组件安装在机舱内,散热组件的位置固定,对风传动组件包括离合机构,离合机构能够控制对风传动组件与散热组件和第一齿轮接合或分离,进而连接或断开散热组件与第一齿轮之间的转矩传递;本实用新型将原本独立的散热驱动系统与主动对风驱动系统整合为一体;这种一体化设计减少了一套驱动电机,显著降低了设备制造成本和能源消耗。

塔架安装设备

NºPublicación:  CN223739557U 30/12/2025
Solicitante: 
上海博珖机器人有限公司
CN_223739557_U

Resumen de: CN223739557U

本申请涉及一种塔架安装设备,其中,塔架安装设备包括辅助支架以及升降平台;多个辅助支架至少部分沿第一方向延伸,且相互间隔设置;升降平台,可移动地连接至所述多个辅助支架,所述升降平台和所述辅助支架均围绕所述塔架设置,所述升降平台包括用于组装所述塔段和/或连接相邻所述塔段的作业平台,且所述升降平台沿所述第一方向相对于所述辅助支架具有移动自由度,使得所述作业平台可针对不同的所述塔段作业。本申请实施例提供的塔架安装设备能够提高施工安全性以及施工效率。

发电装置、集电组件以及风力发电机组

NºPublicación:  CN121238918A 30/12/2025
Solicitante: 
金风科技股份有限公司
CN_121238918_PA

Resumen de: CN121238918A

本发明涉及一种发电装置、集电组件以及风力发电机组,发电装置包括发电机,包括转动配合的转子以及定子,转子包括转轴、绕组以及引线,绕组设置于转轴的外周,引线与绕组电连接;集电环,沿转轴在自身轴向的一侧套设于转轴,集电环包括转动件以及固定件,转动件包括滑环以及与滑环连接的接线柱,滑环与固定件转动配合且彼此电连接,接线柱以及引线均至少部分沿轴向延伸且在背离绕组的一侧凸出滑环设置;连接件,沿轴向套设并固定接线柱以及引线,以将接线柱以及引线电连接。本发明提供的发电装置以及风力发电机组,发电装置能在保证转子引线与集电环彼此电连接需求的基础上能够降低施工难度。

浮体结构物

NºPublicación:  CN121224928A 30/12/2025
Solicitante: 
日本日联海洋株式会社
CN_121224928_PA

Resumen de: CN109982923A

In this floating structure (1), configured such that the entirety thereof is supported on water, which comprises a plurality of columns (2) that are configured as columnar buoyant bodies extending inthe vertical direction and a connecting body (3) that connects the plurality of columns (2) deployed in the horizontal direction, and which is configured so that an upper structure (wind turbine) (4)is connected to the top of at least one (main column 2a) of the columns (2), the configuration is such that the buoyancy generated by the main column (2a) is greater than the other columns (2) (side columns 2b).

具有变频驱动器和电子开关的风力涡轮机偏航系统

NºPublicación:  CN121241201A 30/12/2025
Solicitante: 
维斯塔斯风力系统有限公司
CN_121241201_PA

Resumen de: WO2024223820A1

The invention provides a yaw system for a wind turbine including a tower and a nacelle atop the tower. The yaw system includes a yaw ring, a plurality of electrical motors for driving rotation of the nacelle relative to the tower, and a variable frequency drive for driving the plurality of electrical motors. The yaw system includes a plurality of sensors each associated with a respective electrical motor and each for measuring an operational parameter of the respective electrical motor. The yaw system includes an electronic switch configured to receive a sensor signal, from each of the sensors, indicative of the measured operational parameter. The electronic switch is controllable to select one of the plurality of sensor signals to be received by the variable frequency drive. The variable frequency drive is configured to drive the plurality of electrical motors based on the selected one of the plurality of sensor signals.

一种刚柔复合自调节风力发电机叶片

NºPublicación:  CN121229307A 30/12/2025
Solicitante: 
西安电子科技大学
CN_121229307_PA

Resumen de: CN121229307A

本发明公开了一种刚柔复合自调节风力发电机叶片,包括刚柔复合叶片,刚柔复合叶片等间距安装在转轴上,转轴底部与发电机连接;刚柔复合叶片等间距设置四组;其中,所述刚柔复合叶片主体呈弧形,分凹凸两面,凹面为受风面,凸面为阻风面。柔性叶片自适应变形并与刚性叶片通气孔之间形成错位间隙,使阻风面受到的部分气流阻力被释放。刚柔复合叶片对气流具有单向导通的能力。本发明具有对气流单向导通、从而释放空气阻力的特点。

用于安装发电机轴的轴承分流润滑结构

NºPublicación:  CN121229344A 30/12/2025
Solicitante: 
中船海装风电有限公司
CN_121229344_PA

Resumen de: CN121229344A

本发明涉及一种用于安装发电机轴的轴承分流润滑结构,包括外套于发电机轴的轴承套组件、外套于发电机轴并配合轴承套组件安装的轴承组、抵紧于轴承组的轴承外盖以及轴承内盖;所述轴承套组件、轴承外盖、轴承内盖以及发电机轴之间形成有润滑脂腔室,所述轴承内盖与轴承组之间安装有轴承挡环,所述轴承挡环上形成有用于将润滑脂回抛到润滑脂腔室内的甩油槽;本技术方案的用于安装发电机轴的轴承分流润滑结构,通过润滑脂腔室的设置,能确保对轴承组的有效润滑,通过轴承挡环上形成的甩油槽结构,能有效将挡环位置处的润滑脂甩出并回弹到润滑脂腔室内,减少润滑脂泄露到发电机轴内部的情况产生。

风力发电机组及其除冰方法

NºPublicación:  CN121229341A 30/12/2025
Solicitante: 
华能吉林新能源开发有限公司
CN_121229341_PA

Resumen de: CN121229341A

本发明公开了一种风力发电机组及其除冰方法,涉及风力发电技术领域,其中,风力发电机组包括叶片、控制器、超声波发生器、多个弹性面板和多个压电装置,叶片的表面间隔开设有多个安装槽;弹性面板的数量与安装槽的数量一致且一一对应地安装于安装槽内;压电装置的数量与安装空间的数量一致且一一对应地安装于安装空间内;控制器设置在风力发电机组内,多个压电装置均与控制器电连接;超声波发生器与控制器和压电装置均电连接。本发明通过压电装置同时作为冰层检测模块和除冰模块,无需将风力发电机组停机即可进行除冰,提高了风力发电机组的发电效率,相较于加热片的功耗,超声波的功耗明显要低很多,从而大幅降低了除冰模块所需的功耗。

风力发电机组及阻尼器

NºPublicación:  CN121229575A 30/12/2025
Solicitante: 
金风科技股份有限公司江苏金风科技有限公司
CN_121229575_PA

Resumen de: CN121229575A

本申请涉及一种风力发电机组及阻尼器,阻尼器用于设置在机舱平台上,阻尼器包括支撑件、质量块以及第一阻尼组件,支撑件连接于机舱平台,质量块承载于支撑件上且相对支撑件具有沿第一方向的移动自由度,第一阻尼组件设置于质量块沿第一方向的至少一侧,第一阻尼组件包括第一阻尼元件和第一可变形支撑元件,第一阻尼元件用于提供阻尼力,第一阻尼元件的刚度小于第一可变形支撑元件的刚度,质量块可在第一可变形支撑元件的支撑下抵压于第一阻尼元件,并使第一阻尼元件吸收质量块沿第一方向的动能,从而能够使得阻尼器在实现机舱平台减振的同时,满足空间、成本、可靠性以及使用寿命的需求。

用于改装用于紧固嵌入风力涡轮机叶片的根部中的安装嵌件的紧固装置的方法

NºPublicación:  CN121241198A 30/12/2025
Solicitante: 
西门子歌美飒可再生能源创新与技术有限公司
CN_121241198_PA

Resumen de: WO2024230995A1

Method for retrofitting securing means for securing mounting inserts (14) embedded in a root (5) of a wind turbine blade (4), which mounting inserts (14) each comprise at least one stud (16) extending axially from the root (5), wherein the blade (4) being installed at a hub (2) of a wind turbine (1), characterized by the steps: - drilling at least one hole (19, 20, 21, 24, 25, 26) perpendicular to the mounting insert (14) from at least one root surface (7, 23), until the hole (19, 20, 21, 24, 25, 26) extends into or through the mounting insert (14) - threading the hole (19, 20, 21, 24, 25, 26) at least in the region where the hole extends into or through the mounting insert to adapt it for receiving a threaded bolt (38) - arranging a reinforcement plate (27) at the root surface (7, 23), which reinforcement plate comprises at least one opening (28, 29, 30) which corresponds with the hole (19, 20, 21, 24, 25, 26) - arranging the threaded bolt (38) through the opening (28, 29, 30) and screwing the bolt (38) into the threaded hole (19, 20, 21, 24, 25, 26) for fixating insert (14) to the plate (27).

用于优化风力涡轮的控制的系统和方法

NºPublicación:  CN121229314A 30/12/2025
Solicitante: 
通用电气可再生能源西班牙有限公司
CN_121229314_PA

Resumen de: CN121229314A

本公开涉及一种用于优化风力涡轮的控制的方法,其包括经由控制系统接收风力涡轮的状况。方法还包括使用状况估计风力涡轮的当前状态。方法还包括经由由控制系统实施的模型针对当前状态之后的未来时间间隔计算风力涡轮的操作的线性化表示。方法还包括限定待解决的优化问题。方法还包括确定用于修改风力涡轮的当前状态的桨距调节因子。方法还包括经由优化求解器计算风力涡轮的转子叶片的优化桨距参数。方法还包括将转子叶片的桨距参数调节至优化桨距参数以改进控制。

集成圆锥滚子轴承外圈的风电减速器下机体结构

NºPublicación:  CN121229599A 30/12/2025
Solicitante: 
银川威力传动技术股份有限公司
CN_121229599_PA

Resumen de: CN121229599A

一种集成圆锥滚子轴承外圈的风电减速器下机体结构,涉及风力发电技术领域,用于解决现有技术中分体式结构存在对中精度差、结构复杂、刚度不足、以及装配和维护不便的技术问题。所述集成圆锥滚子轴承外圈的风电减速器下机体结构中,下机体为一体化铸造成型或锻造加工而成的整体式结构,且所述下机体的轴承安装部位直接加工形成有圆锥滚子轴承的外圈滚道。

一种风机叶片故障识别方法、装置、终端设备及介质

NºPublicación:  CN121229331A 30/12/2025
Solicitante: 
中南大学中车株洲电力机车研究所有限公司
CN_121229331_PA

Resumen de: CN121229331A

本发明提供一种风机叶片故障识别方法、装置、终端设备及介质,包括采集风电机组机舱的振动信号;对振动信号分别进行频域转换和模态分解,得到第一信号和第二信号;对第一信号和第二信号进行信号堆叠,得到具备时频域特征的第三信号;将第三信号输入至叶片故障识别模型,由叶片故障识别模型输出风电机组机舱的故障识别结果。本发明能够提高风机叶片故障识别的精度。

一种应用于浮式风机的动态管缆水上终端装置

NºPublicación:  CN121238448A 30/12/2025
Solicitante: 
中国石油大学(北京)中海油研究总院有限责任公司
CN_121238448_PA

Resumen de: CN121238448A

本发明公开了一种应用于浮式风机的动态管缆水上终端装置,包括连接器母头、防弯器、筒体、连接器公头和喇叭口件,连接器母头用于与浮式风机的平台连接,连接器母头内部设有容纳腔,容纳腔的底部入口处设有可转动且能够自动复位的锁舌;防弯器与管缆固定连接;筒体与防弯器的顶部固定连接;连接器公头与筒体的顶部固定连接,连接器公头能够经容纳腔的底部入口进入容纳腔,连接器公头与筒体同轴设置,连接器公头和防弯器相向的一侧与筒体的外周形成环形槽;喇叭口件包括套设于筒体外周且位于环形槽内的解锁部,解锁部能够在筒体的轴向上滑动至解锁部的顶面与连接器公头的底面贴合。能够改善设有防弯器的管缆与浮式风机的平台解脱较为困难的问题。

一种用于海洋航船风光发电装置

NºPublicación:  CN121239111A 30/12/2025
Solicitante: 
安徽永电智能汽车科技有限公司
CN_121239111_PA

Resumen de: CN121239111A

本发明涉及海洋航船风光发电技术领域,公开了一种用于海洋航船风光发电装置,包括用于海洋航运的航船本体,航船本体上端的中心固定连接有用于装载货物的货舱,航船本体上端靠一侧固定连接有用于PLC控制的控制舱,航船本体上端靠近控制舱的一端设置有用于光伏发电并作用于航船本体的光伏发电机构,航船本体上端靠近控制舱的一端固定连接有用于风能发电并作用于航船本体的风力发电本体,本发明采用风光互补设计,分层可滑的三组光伏组件与风力发电本体结合,高效利用海洋光能风能,减少传统能源依赖;双对称动力源保运行,电子与机械限位防故障,适配航船颠簸工况,不扰货舱功能,为航船供高效可靠且环保的能源。

基于无线通讯的风电机组应急自动控制方法及系统

NºPublicación:  CN121238701A 30/12/2025
Solicitante: 
中船海装风电有限公司
CN_121238701_PA

Resumen de: CN121238701A

本发明涉及一种基于无线通讯的风电机组应急自动控制方法及系统,包括:步骤1、获取单机M分钟平均风速、单机台风过境状态、单机断电状态、单机就地状态、单机维护状态,以及后备电源就地状态、后备电源电流、后备电源启动状态反馈;步骤2、判断场站级启动后备电源的自动控制条件A是否成立;步骤3、判断单机启动后备电源的自动控制条件B是否成立;步骤4、判定是否执行后备电源自动控制,若条件A和B同时成立时,进入后备电源自动控制;步骤5、循环执行第i台风电机组后备电源自动控制过程:包括指令下发、反馈判断、重试及报警处理,直至后备电源启动成功或触发报警。本发明避免了台风期后备电源耗电过度致机组失控,降低成本。

一种海上风电平台

NºPublicación:  CN121224929A 30/12/2025
Solicitante: 
南通理工学院
CN_121224929_PA

Resumen de: CN121224929A

本发明涉及风电平台技术领域,具体是涉及一种海上风电平台,包括安装台,安装台上安装安装杆,安装杆上安装风机组,安装台下方设有浮台,浮台下方设有连接板,连接板下方安装水环管和潜伏箱;浮台上对称设有若干个破碎机构;相邻的破碎机构之间设有收集机构;水环管上设有用于喷水以及对破碎机构进行清理的喷水机构;潜伏箱上设有进水机构。本发明当风浪来临时带动浮台整体进行摆动并带动转动盖转动导致进水槽进水,潜伏箱加重带动浮台整体重心下移提高浮台稳定性,破碎机构能够对靠近浮台的垃圾或者冰块进行破碎,风浪来临时会降低垃圾或者海冰与设备主体挤压的概率,喷水机构与收集机构配合能够将破碎后的海冰或者垃圾碎片进行收集。

一种集成式永磁体磁能循环利用的机械储能发电设备

NºPublicación:  CN121229308A 30/12/2025
Solicitante: 
湖南中导富宏能源有限公司
CN_121229308_PA

Resumen de: CN121229308A

本发明涉及发电机技术领域,公开了一种集成式永磁体磁能循环利用的机械储能发电设备,包括承载底座,所述承载底座的内部固定连接有永磁同步发电机和储能设备,所述永磁同步发电机的输入轴贯穿承载底座并延伸至外部,所述输入轴的外侧由上至下安装有上环体和下环体,所述上环体与输入轴固定连接,所述下环体与输入轴滑动连接,所述上环体和下环体之间设置有若干个沿垂直方向可伸缩的叶片台。本发明在自然风较弱时,下环体向下滑动拉动叶片伸展,增大叶片的受风面积提高发电量,而在自然风较强时,则下环体向上移动推动叶片收缩缩小叶片的受风面积,避免风叶、发电机主体损坏,达到根据风力的不同自动调整叶片受风面积的效果。

分段式风力涡轮机叶片、用于组装分段式风力涡轮机叶片的方法以及风力涡轮机

NºPublicación:  CN121241199A 30/12/2025
Solicitante: 
西门子歌美飒可再生能源公司
CN_121241199_PA

Resumen de: WO2024251471A1

A segmented wind turbine blade (30) is provided. The segmented wind turbine blade comprises at least a first blade segment (10) and a second blade segment (20). The segmented wind turbine blade further comprises a first recess (11) formed on the outer contour of the first blade segment (10), and a first protruding cap (12) protruding from the cross-section of the second blade segment (20). The first protruding cap (12) is flush with the outer contour of the second blade segment (20). The first recess (11) is configured for housing the first protruding cap (12), and the first recess (11) and the first protruding cap (12) are configured to be connected to each other such as to assemble the first segmented blade (10) and the second segmented blade (20) to form the segmented wind turbine blade (30).

基于涡流振荡效应的无桨叶摩擦-电磁复合发电机

NºPublicación:  CN121239050A 30/12/2025
Solicitante: 
重庆邮电大学
CN_121239050_PA

Resumen de: CN121239050A

本发明涉及一种基于涡流振荡效应的无桨叶摩擦‑电磁复合发电机,属于风能采集与自供电传感技术领域。针对现有风能摩擦纳米发电机存在恶劣环境适应性差、材料易磨损、对鸟类不友好以及难以实现全方位风能采集等问题,本发明提出一种全封装倒梯形外壳的无桨叶摩擦‑电磁复合发电机,通过涡流振荡效应驱动内部磁铁球与不锈钢球相对运动,同时激发四周多层接触分离式摩擦纳米发电机和中心电磁发电机单元,实现低风速启动、全风向、无磨损、高稳定性的风能高效转换,并成功驱动自供电环境监测与照明系统。

风力发电与抽蓄储能耦合的供电方法

NºPublicación:  CN121229317A 30/12/2025
Solicitante: 
中国船舶重工集团公司第七三研究所无锡分部
CN_121229317_PA

Resumen de: CN121229317A

本发明涉及一种风力发电与抽蓄储能耦合的供电方法,供电方法利用发电系统,发电系统包括风力发电模块,风力发电模块的电力输出端与抽水蓄能模块的电力输入端连接;发电系统对电网进行供电时,包括如下步骤:S1.使得高位水箱与低位水箱之间形成有效高差H;S2.高位水箱与低位水箱之间通过连接水管组件进行连接,连接水管组件上安装有水泵机组与水轮发电机组;S3.风力发电模块输出的电力驱动水泵机组将低位水箱内的水抽取至高位水箱内,从而存储风力发电模块输出的电能;S4.根据电网的负荷指令,高位水箱放水驱动水轮发电机组发电,水轮发电机组输出的电能经升压后并入电网。通过设置抽水蓄能模块,能够实现发电系统的稳定发电,降低功率波动幅度。

一种风电机组故障检测系统及检测方法

NºPublicación:  CN121229330A 30/12/2025
Solicitante: 
华能陇东能源有限责任公司
CN_121229330_PA

Resumen de: CN121229330A

本发明公开了一种风电机组故障检测系统及检测方法,涉及故障检测技术领域,本发明包括风电机组检测模块、风机电组故障分析模块和风机电组故障评估模块。评估风机电组的各关键部位的影响指数,避免检测盲区,降低了关键部位故障漏检,提升故障检测的精准度与及时性,优化运维资源分配,减少不必要的停机时间,降低运维成本,判断各关键部位是否出现异常,匹配各异常关键部位的故障风险等级,可直接锁定故障核心区域,避免对无异常部位的无效检测,减少盲目排查带来的时间浪费与资源消耗,提升故障定位的精准度与效率,降低非计划停机时长与运维成本,同时避免低风险故障过度处理导致的资源浪费。

一种风力机叶片振动抑制装置及其安装、拆除方法

NºPublicación:  CN121229338A 30/12/2025
Solicitante: 
广东明阳新能源材料科技有限公司
CN_121229338_PA

Resumen de: CN121229338A

本发明公开了一种风力机叶片振动抑制装置及其安装、拆除方法,包括多个抑振单元,该多个抑振单元沿叶片展向依次拼接,并设置于叶片的振动敏感区域,每个抑振单元的周向尺寸与其在叶片上对应安装位置的周向尺寸相匹配,且最靠近叶片叶根的抑振单元的顶部连接有牵引绳,最靠近叶片叶尖的抑振单元的底部连接有拆除绳,牵引绳和拆除绳分别固定至风力机的轮毂内,抑振单元包括前缘抑振组件、尾缘抑振组件、顶部织带和底部织带,前缘抑振组件设置于叶片的前缘,前缘抑振组件和尾缘抑振组件的顶部通过顶部织带连接,前缘抑振组件和尾缘抑振组件的底部通过底部织带连接。本发明能够有效解决风力机叶片在并网后停机工况下叶片振动的问题。

用于预制装配式风力发电混凝土塔筒的门洞及混凝土塔

NºPublicación:  CN223724760U 26/12/2025
Solicitante: 
同济大学
CN_223724760_U

Resumen de: CN223724760U

本实用新型涉及用于预制装配式风力发电混凝土塔筒的门洞及混凝土塔,所述门洞(4)包括门洞加强边柱(5)与门洞加强横梁(6);门洞加强横梁(6)设于门洞(4)上方;门洞加强边柱(5)设于门洞(4)的左右两侧;所述门洞加强横梁(6)凸向塔筒内侧(8)和凸向塔筒外侧(7);所述门洞加强边柱(5)凸向塔筒内侧(8)和凸向塔筒外侧(7)。与现有技术相比,本实用新型门洞下部断开,门洞加强边柱直接落在风电机组塔架空心基础柱墩的顶面,解决了常规门洞下方常见的混凝土开裂问题,增大了门洞加强横梁的高度和刚度,门洞加强边柱和门洞加强横梁形成刚度很大的门型框架,有效解决了门洞周边力的传递和应力集中问题。

风力发电机组塔筒内壁冷凝水收集器

NºPublicación:  CN223724767U 26/12/2025
Solicitante: 
永城市中广核新能源有限公司
CN_223724767_U

Resumen de: CN223724767U

本实用新型涉及冷凝水收集技术领域,且公开了风力发电机组塔筒内壁冷凝水收集器,包括集水槽,所述集水槽的一侧固定连接有强力胶贴,所述集水槽的顶部设置有导板。该风力发电机组塔筒内壁冷凝水收集器,通过强力胶贴与无基材双面胶能够将集水槽与导板固定于塔筒内壁墙面,并使得导板置于集水槽顶部位置,同时导板底端位于集水槽口径的中心位置,再通过导板对墙面吸附流下的水珠进行导向使得水珠沿着导板流入集水槽内后,再将多个集水槽与导板沿塔筒内壁墙面交错堆叠安装后,使得集水槽可以收集并引导水分进行传递,最后通过导管与管道排入收集箱中进行收集,避免冷凝水珠积聚在塔筒内壁导致腐蚀和安全隐患。

一种栓接装配式中空夹层钢管混凝土风电塔筒

NºPublicación:  CN223724761U 26/12/2025
Solicitante: 
太原理工大学
CN_223724761_U

Resumen de: CN223724761U

本实用新型涉及风力发电设备技术领域,公开了一种栓接装配式中空夹层钢管混凝土风电塔筒,包括若干节依次连接的塔筒预制节段,塔筒预制节段的顶端端面上均布设有若干个限位块,限位块之间间隔设有限位螺栓安装孔和双头弯曲螺栓安装孔,塔筒预制节段的底端端面上设有与下一塔筒预制节段的限位块配合的限位槽,限位槽之间间隔设有限位螺栓和双头弯曲螺栓安装孔,限位螺栓与限位螺栓安装孔配合,相邻两个塔筒预制节段通过双头弯曲螺栓连接。

一种可用于风力发电机的故障预测平台

NºPublicación:  CN223724763U 26/12/2025
Solicitante: 
兰州陇能电力科技有限公司
CN_223724763_U

Resumen de: CN223724763U

本实用新型公开了一种可用于风力发电机的故障预测平台,包括数据采集模块、主控模块、数据异常报警模块和显示模块;所述数据采集模块、数据异常报警模块和显示模块均与主控模块通信相连;所述数据采集模块包括风速仪、转速传感器、振动传感器、热成像监控设备、电压传感器和电流传感器;所述主控模块包括数据存储单元和数据处理单元;所述数据采集模块将采集到的监测数据传递给数据处理单元,所述数据处理单元将接收到的监测数据与数据存储单元中存储的同类型数据阈值进行对比,当出现数据异常时,所述数据处理单元向数据异常报警模块和显示模块传递数据异常信号,所述数据异常报警模块进行现场和远程报警,所述显示模块进行异常数据显示。

一种高效能量转换的涡轮微风发电机构

NºPublicación:  CN223724756U 26/12/2025
Solicitante: 
先控捷联电气股份有限公司
CN_223724756_U

Resumen de: CN223724756U

本公开的实施例涉及风力发电技术领域,本公开的一个实施例提供了一种高效能量转换的涡轮微风发电机构,包括第一涡轮转子,第一导风出口通向所述第一涡轮转子,所述第一涡轮转子用于转动后发电;第一导流罩,所述第一涡轮转子位于所述第一导流罩内,所述第一涡轮转子通向所述第一导流罩。第二涡轮转子,第二导风出口通向所述第二涡轮转子,所述第二涡轮转子用于转动后发电,所述第一导流罩通向所述第二涡轮转子。所述第二导风出口为环形,且位于所述第一导流罩四周。通过上述技术方案,解决了相关技术中风力发电机不能利用微风实现低风发电的技术问题。

一种防坠型风力发电塔筒维修平台

NºPublicación:  CN223722746U 26/12/2025
Solicitante: 
中水东北勘测设计研究有限责任公司
CN_223722746_U

Resumen de: CN223722746U

本实用新型提供一种防坠型风力发电塔筒维修平台,涉及维修平台技术领域,包括:两个支架,两个所述支架的顶部表面固定安装有连接板,所述连接板的顶部表面固定安装有卷扬机,所述卷扬机的绳索活动贯穿连接板的顶部表面并固定连接有U型板,所述U型板的底端表面固定安装有平台本体,所述平台本体的一侧表面固设有控制终端,多个所述延伸板的一侧表面均固定安装有滑轮,所述平台本体的底部表面固定安装有速度检测器,两个所述支架的另外两侧表面设有防坠组件,所述防坠组件包括多个限位槽。本实用新型,限位板和限位槽配合,平台本体在上升或下降时,都设有防坠处理,避免钢索断裂时,维修平台发生急速下坠,避免发生安全事故。

一种风力音乐装置

NºPublicación:  CN223724751U 26/12/2025
Solicitante: 
无用之用(上海)建筑设计有限公司
CN_223724751_U

Resumen de: CN223724751U

本实用新型公开了一种风力音乐装置,涉及公共设施的技术领域。其技术要点是:包括地梁,所述地梁上安装有若干第一肋柱和若干第二肋柱,所述第一肋柱和所述第二肋柱的顶部设有顶梁,所述顶梁上插设有传动轴且所述传动轴可转动,所述传动轴上端连接有传动装置,所述传动轴的下侧套设安装有若干发声装置,若干所述发声装置竖直分布。通过设置的传动装置和发声装置可以使音乐装置实现无动力运转,发出音乐的功能。功能实现所需能量为风能、人力转化,无需外部供电。总体材料耐候,结构稳定,工艺简洁,不产生声光环境及其他化学性污染,增强人们在景观空间中与自然元素的交互体验;同时,由风力带动的音乐装置也为儿童提供自然科普教育。

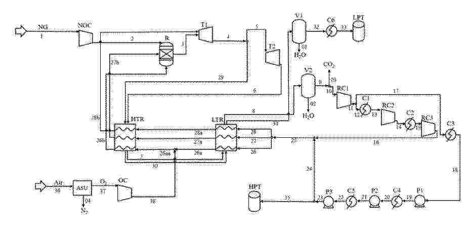
一种风力发电机转子冷却系统

NºPublicación:  CN223729593U 26/12/2025
Solicitante: 
无锡市豫达换热器有限公司
CN_223729593_U

Resumen de: CN223729593U

本实用新型涉及风力发电机冷却系统技术领域,具体为一种风力发电机转子冷却系统,包括外壳,所述外壳的内部安装有换热器,所述换热器的前端固定连接有进水管,所述换热器的前端位于进水管的下侧固定连接有出水管,所述外壳的右侧底部设有进风口,所述外壳的左侧底部设有出风口,所述外壳的左侧安装有两组风机,所述外壳的右侧设置有固定板,所述固定板的内壁安装有温度传感器,所述外壳的右侧设置有固定组件。本实用新型通过固定组件的设置,可利用卡接的方式安装拆卸温度传感器,便于人员后期对温度传感器进行维护更换,可拉动把手抽出温度传感器进行维护,便于人员操作,反之即可将温度传感器安装,无需使用专业工具即可完成更换操作。

一种风电机组超速控制装置

NºPublicación:  CN223724753U 26/12/2025
Solicitante: 
特变电工西安电气科技有限公司
CN_223724753_U

Resumen de: CN223724753U

本实用新型属于风电机组领域,尤其是涉及一种风电机组超速控制装置。技术包括风电机组本体和控制器,所述风电机组本体上安装有转速传感器,转速传感器用于检测风电机组本体上转轴的转速,转轴的正上方水平设置用于降低转轴转速的摩擦板,风电机组本体上安装有用于调节摩擦板高度的高度调节组件,摩擦板底部的中心位置开设有凹槽,凹槽的槽底安装有压力传感器,凹槽内安装有用于对压力传感器进行挤压的挤压组件,高度调节组件、转速传感器和压力传感器分别与控制器电连接,控制器用于接收和处理压力传感器和转速传感器传输的信息,以及控制高度调节组件的启闭。本实用新型,降低转轴的转速,转轴转速降低的同时,也会使叶片和轮毂的转速降低。

一种用于升压站风机的智能化运行监测与诊断平台

NºPublicación:  CN121211283A 26/12/2025
Solicitante: 
北京协合运维风电技术有限公司
CN_121211283_PA

Resumen de: CN121211283A

本发明涉及计算机数据处理与人工智能应用技术领域,且公开了一种用于升压站风机的智能化运行监测与诊断平台,包括:数据预处理模块;动态健康基线构建模块,与数据预处理模块连接,用于接收特征向量和工况数据向量,其内部包括一门控网络和一组条件变分自编码器CVAE专家模型。本发明中,通过构建一个能随工况自适应的多维健康基线,将故障监测的逻辑从判断单一参数是否超限革新为判断多维运行模式是否偏离其应有的健康范本,能灵敏地捕捉到由多参数微弱协同变化所表征的设备早期退化征兆,当捕捉到异常后,平台能进一步通过引入因果推理机制自动溯源破坏健康模式的根本原因,实现了从被动响应式报警到主动预测性诊断的转变。

智能制动控制系统及高寒风风力发电机组

NºPublicación:  CN121205858A 26/12/2025
Solicitante: 
北京京能电力股份有限公司乌兰察布分公司
CN_121205858_PA

Resumen de: CN121205858A

本发明公开了一种智能制动控制系统及高寒风风力发电机组,涉及风能产业技术领域,其中,传感器模块用于实时采集气流参数、叶片状态参数及风轮运行参数,控制器与传感器模块信号连接,控制器用于安装于高寒风风力发电机组的塔筒底部控制柜内,控制器配置为根据采集的参数判断是否触发极端大风保护模式,执行机构与控制器通信连接,机械刹车用于安装于高寒风风力发电机组的主轴制动盘处,变桨驱动装置用于集成于高寒风风力发电机组的轮毂内,以用于调整叶片的桨距角,执行机构配置为在极端大风保护模式下执行机械刹车控制策略,在叶片顺桨且风轮转速降至安全转速后,控制机械刹车与制动盘分离,使顺桨状态的风轮处于自由转动状态。

基于气象信息的风力发电机组转速控制方法及系统

NºPublicación:  CN121205857A 26/12/2025
Solicitante: 
华能通辽风力发电有限公司
CN_121205857_PA

Resumen de: CN121205857A

基于气象信息的风力发电机组转速控制方法及系统,涉及电力控制技术领域,包括获取气象数据和风机状态数据,并取出特征数据,再进行预处理;构建机理‑数据混合预测模型,用于对空气中的风速以及风机的转速进行预测,最终获得转速预测序列和风速预测序列;根据转速预测序列和风速预测序列计算转速偏差序列;基于转速偏差序列、特征数据和预处理后的风机状态数据,采用DRL获得最优的转速控制方式;其用于解决风机发电功率波动大的问题。

风力发电机的主轴系统及其控制方法、风力发电机

NºPublicación:  CN121205872A 26/12/2025
Solicitante: 
三峡(北京)可再生能源研究院有限公司北京怀柔实验室中国长江三峡集团有限公司
CN_121205872_PA

Resumen de: CN121205872A

本发明提供了一种风力发电机的主轴系统及其控制方法、风力发电机,其中,主轴系统包括:机架,具有主轴孔;主轴,穿设于主轴孔并与轮毂连接;锁定组件,包括与机架止转连接的第一锁定环以及与主轴止转连接的第二锁定环,第一锁定环和第二锁定环具有相对转动状态和相对固定状态,第一锁定环和第二锁定环能够对接以形成容纳第一低熔点合金的容纳腔,第一低熔点合金能够在容纳腔内固化并锁定第一锁定环和第二锁定环;第一储液组件,用于存储第一低熔点合金,并能够向容纳腔内注入第一低熔点合金以及将第一低熔点合金从容纳腔内抽出。本申请的技术方案能够有效地解决相关技术中的销钉式锁紧装置锁紧时需要反复调整对孔位置导致效率低的问题。

一种风电机组齿轮箱故障预警方法、装置及系统

NºPublicación:  CN121205878A 26/12/2025
Solicitante: 
中国长江三峡集团有限公司
CN_121205878_PA

Resumen de: CN121205878A

本发明涉及风电机组运维检测技术领域,公开了一种风电机组齿轮箱故障预警方法、装置及系统,该方法包括:获取风电机组齿轮箱的实时运行数据;基于风电机组齿轮箱的实时运行数据,利用改进的卷积神经网络模型进行故障诊断,得到故障诊断结果;改进的卷积神经网络模型包括数据输入层、特征提取层、全连接层和输出层;特征提取层包括多个卷积子层、批量归一化子层、方差调整子层、Sigmoid激活子层和最大值池化子层;基于故障诊断结果生成风电机组齿轮箱故障预警信息,并将风电机组齿轮箱故障预警信息进行显示。本发明提升了风电机组齿轮箱的故障诊断准确度,实现了对风电机组齿轮箱故障的有效预警,保证了风电机组齿轮箱的正常运行。

一种风电分瓣式塔筒安装用操作平台

NºPublicación:  CN223724758U 26/12/2025
Solicitante: 
天津科通立达吊装有限公司
CN_223724758_U

Resumen de: CN223724758U

本实用新型公开了一种风电分瓣式塔筒安装用操作平台,包括主梁架,主梁架底部设有若干电动伸缩轮,主梁架两侧均设有若干电动折杆,电动折杆外端与副梁连接,副梁与主梁架平行且通过电动折杆控制侧向展开,副梁底部设有若干液压柱,主梁架、副梁顶部设有若干支撑梁及电动滑块一,电动滑块一沿主梁架、副梁滑动,支撑梁两端卡放在电动滑块一上,支撑梁上设有电动滑块二,电动滑块二顶部设有液压顶。本实用新型的优点在于:利用本操作平台对分瓣塔筒的拼装,去除了以往作业现场场地不平无法作业的限制,不必先对场地施工调整;解决了以往分瓣塔筒拼装时对齐艰难的问题,操作容易、安全性高,每段塔筒拼装总时长由原来的1‑2天缩短到2h,大大缩短作业时间,提高作业效率。

一种风力发电罩体用的编织铝带

NºPublicación:  CN223720362U 26/12/2025
Solicitante: 
安徽博林刷业有限公司
CN_223720362_U

Resumen de: CN223720362U

本实用新型公开了一种风力发电罩体用的编织铝带,涉及金属编织技术领域,包括编织铝带,编织铝带的表面连接有复合防护组件,复合防护组件用于保护编织铝带及内部结构;复合防护组件包括连接在编织铝带表面的缓冲吸能层,缓冲吸能层的表面渗透粘结有导热硅胶层,导热硅胶层的表面连接有电磁屏蔽增强层,电磁屏蔽增强层的表面连接有防火阻燃纤维层,防火阻燃纤维层的表面连接有抗氧化防护层,抗氧化防护层的表面涂覆有疏水涂层。本实用新型通过构建复合防护组件,可以解决现有编织铝带防护功能单一,无法适应多种恶劣工况,在遭受物理冲击、电磁干扰、复杂气候和环境侵蚀时易损坏和性能下降快,从而影响风力发电设备正常运行和使用寿命的问题。

一种堆叠式风力发电装置

NºPublicación:  CN223724749U 26/12/2025
Solicitante: 
霞浦飘然技术有限公司
CN_223724749_U

Resumen de: CN223724749U

本实用新型公开一种堆叠式风力发电装置,包括若干组风力驱动机构,且所有风力驱动机构上下堆叠设置;风力驱动机构包括支撑架,支撑架转动连接有转动杆,转动杆径向外侧可拆卸连接有叶片组件,叶片组件用于将风能转化为驱动转动杆转动的机械能。任意上下相邻两支撑架可拆卸连接,且任意上下相邻两转动杆可拆卸连接;所有转动杆同轴布置,且位于端部的转动杆传动连接有发电机。本实用新型中作用在转动杆上的机械能叠加,提高总转动杆的转速,发电机组将叠加后的机械能转化为电能,提高风力发电装置的发电效率;且后期可通过增加风力驱动机构的数量,进一步提高总转动杆的转速,无需更换新的装置,仅通过叠加新的风力驱动机构即可实现,降低成本。

一种叶片内部巡检机器人

NºPublicación:  CN223724764U 26/12/2025
Solicitante: 
华润新能源(临沂)有限公司
CN_223724764_U

Resumen de: CN223724764U

本实用新型涉及巡检技术领域,具体涉及一种叶片内部巡检机器人,包括:底盘,所述底盘内部设置有动力装置,所述底盘的两侧设置有行走装置;摄像组件,所述摄像组件设置于所述底盘的上端;传输设备,所述传输设备设置于所述底盘的上端。通过在底盘内设置动力装置,从而在巡检过程中为行走装置提供动力,在进行巡检工作时,通过摄像组件对叶片内部情况进行图像拍摄,并通过传输设备进行处理传输,从而使巡检人员能够准确获取叶片内部情况,本技术方案减少了线缆盘等设备的使用,整套设备简化为一个巡检机器人,设备轻便,操作便捷,同时也使得风电叶片内部巡检工作更安全可靠、高效。

漂浮式阻尼组件、漂浮式风电机组及其控制方法

NºPublicación:  CN121201301A 26/12/2025
Solicitante: 
三峡(北京)可再生能源研究院有限公司北京怀柔实验室中国长江三峡集团有限公司
CN_121201301_PA

Resumen de: CN121201301A

本发明提供了一种漂浮式阻尼组件、漂浮式风电机组及其控制方法,其中,漂浮式阻尼组件包括:第一安装座;第二安装座,设置在第一安装座上;桨板结构,包括第一连接杆和桨板,桨板设置在第一连接杆上;第一传动件,可摆动地设置在第二安装座上,第一连接杆与第一传动件连接,以使桨板可摆动地设置在第二安装座上;阻尼调节结构,设置在第一安装座上,并与第一连接杆调节配合,以调节桨板的摆动的阻尼。本申请的技术方案有效地解决了相关技术中的漂浮式风电机组的桨板的摆动的阻尼无法调整的问题。

一种加热与换热外置式人工地热储能与光风联供发电系统及方法

NºPublicación:  CN121205863A 26/12/2025
Solicitante: 
中国地质大学(武汉)
CN_121205863_PA

Resumen de: CN121205863A

本发明属于光风发电的储能技术领域,提供了一种加热与换热外置式人工地热储能与光风联供发电系统及方法,系统包括:供电装置、地下水库、换热装置、安全装置以及发电装置;地下水库包括:库体钢铁骨架、钢铁墙体、外绝热材料以及库内水体;换热装置包括:电加热设备和换热器设备;本发明通过构建的地下水库、换热装置,能够实现可再生能源的高效利用与调峰发电;通过采用加热与换热外置式的设计,能够在不影响整个地下水库高温水体储能状态下,排空换热装置单元水体、关闭安全阀门,方便并安全地对电加热和换热器等维护及维修。

一种风力发电机振动故障分析方法、系统、装置及电子设备

NºPublicación:  CN121205877A 26/12/2025
Solicitante: 
华能营口仙人岛热电有限责任公司明阳智慧能源集团股份公司
CN_121205877_PA

Resumen de: CN121205877A

本发明涉及一种风力发电机振动故障分析方法、系统、装置及电子设备,方法包括:导入风力发电机周边预定范围内永久建筑物信息,结合不同建筑物气流遮挡特性与气流信息,建立建筑‑振动初始库;风机运行中实时采集叶片振动数据,监测到异常时触发图像采集指令,获取周边预定影响范围多角度图像;分析图像识别建筑状态,比对永久建筑物信息,区分新增建筑物、修订建筑物及无变化永久建筑物;针对三类建筑状态,结合实时气流数据与异常振动数据,动态判断异常振动来源;基于判断结果生成扰流分析报告和故障预警报告。本发明可精准区分外部建筑物扰流与风机自身故障,提升振动故障分析准确性,为运维提供可靠依据,保障风机稳定运行。

一种用于优化径向滑动轴承润滑性能的嵌入式表面织构

NºPublicación:  CN121206099A 26/12/2025
Solicitante: 
佛山大学
CN_121206099_PA

Resumen de: CN121206099A

本发明公开了一种用于优化径向滑动轴承润滑性能的嵌入式表面织构,该嵌入式表面织构包括圆柱形织构与球形织构,所述球形织构嵌入在所述圆柱形织构表面上,且所述圆柱形织构与所述球形织构的圆心处于同一位置,其中,圆柱形织构与所述球形织构的半径比为2:1,圆柱形织构与所述球形织构的深度比为1:1,并将所述嵌入式表面织构布置于轴承收敛区的入口处,本发明能够有效减少磨损导致的润滑失效,延长径向滑动轴承使用寿命。本发明作为一种用于优化径向滑动轴承润滑性能的嵌入式表面织构,可广泛应用于优化径向滑动轴承摩擦技术领域。

一种基于多源数据融合和深度优化网络的故障诊断方法

NºPublicación:  CN121211337A 26/12/2025
Solicitante: 
西北工业大学深圳研究院
CN_121211337_PA

Resumen de: CN121211337A

本申请公开了一种基于多源数据融合和深度优化网络的故障诊断方法,属于风电机组轴承故障诊断技术领域,包括:获取风电机组不同工况下的多源传感器数据,并对收集到的多源传感器数据进行预处理;设计基于相关性方差贡献的多源数据特征融合算法,对预处理后的多源传感器数据进行融合,并对融合后的多源传感器数据提取模糊熵值作为输入智能故障诊断模型的特征向量;构建基于优化深度置信网络的智能故障诊断模型DBE,并采用贪婪学习的方法和海马优化算法训练DBE;基于训练后的DBE进行故障诊断。该方法解决了风电机组可变工况和外界噪声干扰影响下下信号异常值和数据缺失以及故障诊断可靠性的问题,提高风电机组故障诊断的准确率。

环氧树脂组合物、环氧树脂基复合材料、叶根预制件、叶片和风力发电机组

NºPublicación:  CN121203342A 26/12/2025
Solicitante: 
江苏金风科技有限公司
CN_121203342_PA

Resumen de: CN121203342A

本发明提供一种环氧树脂组合物、环氧树脂基复合材料、叶根预制件、叶片和风力发电机组。所述环氧树脂组合物包括A组分改性环氧树脂和B组分改性固化剂,所述A组分改性环氧树脂包括:环氧树脂,85‑90重量份;环氧活性稀释剂,5‑10重量份;含端羟基嵌段型聚醚多元醇,2‑5重量份,所述B组分改性固化剂包括:酸酐,90‑95.5重量份;季铵盐,2‑4重量份。根据本发明的环氧树脂组合物,可改善环氧树脂基复合材料的疲劳性能和表面性能。

一种抗干扰的风力发电机叶尖位移偏振视觉监测方法

NºPublicación:  CN121205883A 26/12/2025
Solicitante: 
汕头大学国网山东省电力公司经济技术研究院
CN_121205883_PA

Resumen de: CN121205883A

本发明公开了一种抗干扰的风力发电机叶尖位移偏振视觉监测方法,包括:布置于塔架的起偏光源系统与检偏拍摄系统,以及布置于叶片曲面的叶片标记单元。将透光轴水平方向的线偏振片作为起偏器,弧形光源发出的光经其生成水平偏振光。叶片标记单元的退偏反射圆片接收到水平偏振光后,主动破坏光的水平偏振态,转化为非偏振光。随后利用透光轴垂直方向的线偏振片作为检偏器,将非偏振光转化为垂直偏振光,在工业相机上成像。再对图像采取背景差分、自适应亮度提升和自适应边缘增强提高成像质量,即可求解叶尖挥舞与轴向位移。本发明可在雨、雾、霾、沙尘和眩光等干扰下,监测叶尖挥舞和轴向位移,具有抗干扰性强,适用范围广等优点。

一种风电机舱螺栓松动监测方法及监测系统

NºPublicación:  CN121205879A 26/12/2025
Solicitante: 
郑州轻软数据科技有限公司
CN_121205879_A

Resumen de: CN121205879A

本发明涉及工业检测设备技术领域,具体涉及一种风电机舱螺栓松动监测方法及监测系统。通过高频激光位移传感器监测螺栓头部与法兰面的相对位移,同时通过激光雷达点云对螺栓进行3D建模,实时分析点云对螺栓的建模情况,利用基于激光雷达点云数据螺栓扰动状态检测算法进行螺栓的松动检测。本发明能实现微米级位移检测,实现螺栓松动问题的提前预警,保障风电机组安全运行。

基于激光雷达测距的风电机组气动不平衡检测方法及系统

NºPublicación:  CN121205880A 26/12/2025
Solicitante: 
中车山东风电有限公司
CN_121205880_PA

Resumen de: CN121205880A

本发明提出了一种基于激光雷达测距的风电机组气动不平衡检测方法及系统,属于风电控制技术领域,包括:选定标杆机并选取若干测试风速区间;统计规定时间标杆机三支叶片的测距平均值;每一测试风速区间内,计算标杆机任意两支叶片测距平均值的第一偏差绝对值,根据第一偏差绝对值指定风轮气动不平衡的测距偏差阈值;将待测风力发电机组的运行风速匹配至测试风速区间,并在规定时间内统计待测风力发电机组的三支叶片的测距平均值,基于测距平均值计算待测风力发电机组任意两支叶片的第二偏差绝对值;基于第二偏差绝对值与测距偏差阈值判断待测风力发电机组是否存在气动不平衡故障。本发明实现风力发电机组叶片状态的实时监控。

柔性风力发电设备叶片结构

NºPublicación:  CN223724752U 26/12/2025
Solicitante: 
惠州市恒泰富复合材料有限公司
CN_223724752_U

Resumen de: CN223724752U

本实用新型公开了一种柔性风力发电设备叶片结构,该柔性风力发电设备叶片结构包括:结构主体以及若干叶片,若干叶片设置于结构主体的侧表面,其中,每一叶片采用柔性材料制成;结构主体设置有底板以及盖板,底板设置于结构主体的底端;盖板设置于结构主体的顶端;若干叶片设置于底板与盖板之间,从而,每一叶片朝向结构主体的一侧边缘与结构主体的侧表面配合连接,每一叶片的顶底两端分别对应连接盖板以及底板。本实用新型的柔性风力发电设备叶片结构通过若干叶片在气流推动下带动结构主体转动,继而开始实现风力发电过程,柔性材料制成的叶片能够在强风或突风条件下适度弯曲或变形,从而减少气流对叶片的冲击力,降低结构应力。

一种高效微风发电用汇风机构

NºPublicación:  CN223724750U 26/12/2025
Solicitante: 
先控捷联电气股份有限公司
CN_223724750_U

Resumen de: CN223724750U

本公开的实施例涉及风力发电技术领域,本公开的一个实施例提供了一种高效微风发电用汇风机构,包括第一汇风筒,所述第一汇风筒具有第一涵道,所述第一涵道具有依次连通的第一汇风涵道、第一导风涵道,所述第一汇风涵道具有第一汇风入口,所述第一导风涵道具有第一导风出口。通过上述技术方案,解决了相关技术中风力发电机不能利用微风实现低风发电的技术问题。

一种风电自动调节功率装置

NºPublicación:  CN223724748U 26/12/2025
Solicitante: 
南京环动自动化科技有限公司
CN_223724748_U

Resumen de: CN223724748U

本实用新型公开了一种风电自动调节功率装置,属于功率调节技术领域,包括固定连接在发电机输出轴一端的轮毂以及滑动设置在发电机表面的移动框板,轮毂的表面圆周设置有多个扇叶滑轨,扇叶滑轨的两侧设置有扇叶板和驱动齿板,驱动齿板和扇叶板之间固定连接有与扇叶滑轨滑动连接的连接块,扇叶滑轨侧壁固定连接有转接块,转接块的内部开设有转接通孔,转接通孔内部转动连接有转轴,转轴的一端固定连接有圆盘状软毛刷,转轴的另一端固定连接有与驱动齿板啮合的传动齿轮。本实用新型在驱动齿板移动过程中,会带动与之啮合的传动齿轮转动,传动齿轮通过转轴带动圆盘状软毛刷旋转,可以对扇叶板表面的灰尘以及污垢进行清理,实现自清理功能。

基于细微形变监测的风电机组螺栓载荷监测装置

NºPublicación:  CN223724766U 26/12/2025
Solicitante: 
锐源风能技术有限公司
CN_223724766_U

Resumen de: CN223724766U

本实用新型公开一种基于细微形变监测的风电机组螺栓载荷监测装置,其包括数据通信单元、多个变送模块单元以及多个传感器端,传感器端包括下承体、顶端盖、高精度应变电阻桥、细微形变梁以及顶销,下承体的侧面呈圆环状,顶端盖安装在下承体的第一端,下承体于顶端盖内侧设有一镂空空间,下承体于径向设有多个贯穿的顶销孔,顶销放置在顶销孔内,细微形变梁安装在下承体顶部,顶销的第一端与细微形变梁接触,顶销的第二端端突出于下承体的第二端并与待监测螺母接触,高精度应变电阻桥粘贴在细微形变梁上,高精度应变电阻桥用于输出传感器端信号,每个变送模块单元至少采集一路传感器端信号并对传感器端信号进行数据优化以及数据保真处理。

一种风机监测预警装置

NºPublicación:  CN223724765U 26/12/2025
Solicitante: 
华能国际工程技术有限公司中国华能集团香港有限公司
CN_223724765_U

Resumen de: CN223724765U

本实用新型提供一种风机监测预警装置,涉及风电机组技术领域。该风机监测预警装置包括风机、预警组件及检测组件,其中,风机包括塔筒和设于塔筒顶端的机舱,且塔筒的顶部和机舱中的其中一者作为监测座;预警组件包括电源、固定筒和吊针,固定筒和吊针两者均为导电体,且其中一者电连接于电源的正极,另一者电连接于电源的负极;固定筒固接于监测座并竖直延伸,吊针的顶端悬吊于监测座、底端向下伸入固定筒内并与固定筒之间存在安全间隙;检测组件连接于预警组件,用于检测预警组件的电路通断状态。该风机监测预警装置能够对风机的偏斜状态进行监测和预警,从而确保风机的使用稳定性和安全性。

海上风电基础

NºPublicación:  CN121201299A 26/12/2025
Solicitante: 
中国港湾工程有限责任公司
CN_121201299_PA

Resumen de: CN121201299A

本发明公开了一种海上风电基础,包括:半潜式浮箱,其漂浮于水面以承托风机结构;复合式桩群,其中钢管桩围绕于半潜式浮箱的外周,钢管桩的底部固定于嵌入在海床上的水下基座内,钢管桩的顶部外露于水面,钢管桩的顶部向上安装有桩顶反力支座;反力分配框,其设置于半潜式浮箱的上部,反力分配框的底面与所述半潜式浮箱之间设置有若干滑动支座,滑动支座的支座顶板固定于反力分配框,支座底板固定于半潜式浮箱;反力支撑构件,安装于桩顶反力支座的底部与反力分配框之间,其中,所述反力分配框以桩顶反力支座为支撑点,向半潜式浮箱持续施加竖向预压荷载,本发明具有实施难度低,成本可控的技术优势,并且对于风机结构具有良好的消能减震效果。

一种风力发电机组的感应雷防护方法、装置、设备及介质

NºPublicación:  CN121205886A 26/12/2025
Solicitante: 
运达智服新能源技术(浙江)有限公司
CN_121205886_PA

Resumen de: CN121205886A

本发明公开了一种风力发电机组的感应雷防护方法、装置、设备及介质,涉及风力发电领域,通过确定预设防护等级下的首次正雷击电流最大值、首次负雷击电流最大值及后续雷击电流最大值确定出防雷保护二区对应的第二雷击磁场强度最大值,且因为防雷保护二区包括风力发电机组的轮毂内部区域,而风力发电机组的感应雷过电压也处于防雷保护二区,所以在确定出第二雷击磁场强度最大值后即可根据供电线路的自感确定供电线路的感应雷过电压,最后,基于感应雷过电压配置风力发电机组的防雷设计方案,并基于防雷设计方案对风力发电机组进行感应雷防护,且本方案的防雷设计方案能够灵活适配不同电压等级和运行环境的风力发电机组。

一种风电机组的信息感知方法及装置

NºPublicación:  CN121205875A 26/12/2025
Solicitante: 
华北电力大学国电电力发展股份有限公司
CN_121205875_A

Resumen de: CN121205875A

本申请公开了一种风电机组的信息感知方法及装置,涉及风电设备的技术领域,该方法包括:获取所述风电机组的状态参数,并根据所述状态参数构建所述风电机组的系统模型,其中所述系统模型基于T‑S模糊建模方式进行构建;对所述系统模型进行重构以得到自适应观测模型;根据所述自适应性观测模型和所述系统模型推导所述风电机组的动态误差方程,并对所述动态误差方程进行解耦;根据所述动态误差方程以及所述自适应观测模型确认计算依据,并基于所述计算依据对所述增益矩阵进行计算;根据计算得到的所述增益矩阵更新所述自适应观测模型,以用于感知所述风电机组的信息数据,本申请能够提升风电机组信息感知的精度和适应性。

转子、电机、风力发电机组以及成型方法

NºPublicación:  CN121216770A 26/12/2025
Solicitante: 
金风科技股份有限公司
CN_121216770_PA

Resumen de: CN121216770A

本公开涉及一种转子、电机、风力发电机组以及成型方法,转子包括:转轴;铁心,套设于转轴并与转轴相对位置固定,铁心上设置有第一径向风道以及安装孔,安装孔沿转轴的轴向延伸设置,第一径向风道沿转轴的径向贯穿铁心设置;磁极模块,插接设置于安装孔,磁极模块包括定位件以及多个磁钢,多个磁钢沿轴向间隔分布并分别与定位件连接,相邻两个磁钢之间形成有第二径向风道,第一径向风道与第二径向风道连通设置。本公开实施例提供的转子、电机、风力发电机组以及成型方法,转子能够满足发电需求,且能够保证散热需求,提高发电机的可靠性。

一种风电叶片避雷系统低压导线连接结构及安装工艺

NºPublicación:  CN121205885A 26/12/2025
Solicitante: 
安徽省康利亚股份有限公司
CN_121205885_PA

Resumen de: CN121205885A

本发明涉及风力发电设备领域,特别涉及一种风电叶片避雷系统低压导线连接结构及安装工艺,连接结构包括导线及其两端安装的导线端头,导线端头内部设有直角弯管、滑块、连接杆等部件。通过这些部件相互配合,实现了导线端头与接闪器、接地环的稳固连接,不易松动。密封板一侧安装密封条,并由拉杆控制开合,有效防止雨水、灰尘等杂质进入连接处,避免连接部位被腐蚀或影响导电性能。安装工艺采用预埋式走线并同步固化的方式,使导线紧密固定在叶片结构中。在叶片根部区域设置螺旋形导线冗余段,吸收弯曲应力,提高导线在复杂受力情况下的可靠性和使用寿命,整体提升了风电叶片避雷系统低压导线的安装质量和性能。

用于浮式风机的安装平台及浮式风机安装方法

NºPublicación:  CN121201320A 26/12/2025
Solicitante: 
华电科工股份有限公司
CN_121201320_PA

Resumen de: CN121201320A

本申请公开了一种用于浮式风机的安装平台及浮式风机安装方法,涉及海洋工程技术领域,包括船体、桩腿、浮箱和升降机构;船体具有用于承载浮式风机基础的甲板;桩腿和浮箱均为多个,且各个浮箱设置于船体上,桩腿穿设于浮箱中;升降机构用于驱动桩腿相对于船体进行升降运动,以将船体由漂浮状态抬升至脱离水面预设高度。本申请通过将船体连同浮式风机基础一同提升出水面,形成一个完全不受海浪影响的刚性固定作业平台,在此平台上进行风机安装,从根本上解决了传统安装方式中因基础晃动带来的对接困难、安全风险高和效率低下的问题。此外,安装时只需桩腿能够触及海床即可,无需进行昂贵的地基处理,提高了浮式风机安装作业的适用海域范围。

一种三负压腔爬壁机器人的吸附力分配方法

NºPublicación:  CN121201234A 26/12/2025
Solicitante: 
国家电投集团湖北电力有限公司国家电投集团湖北电力有限公司综合智慧能源分公司陕西中科启航科技有限公司
CN_121201234_PA

Resumen de: CN121201234A

本发明涉及爬壁机器人技术领域,具体涉及一种三负压腔爬壁机器人的吸附力分配方法,爬壁机器人的底部分布有三个负压腔,三个负压腔分别位于车架平台底部沿走行方向的中线上,且分别位于中线上除端点外的四等分点上,将吸附壁面的倾斜角分为三个倾角区间,对每个倾角区间内三个负压腔的负压吸附力进行分配计算,确保爬壁机器人在走行过程中稳定地吸附于风电机组的壁面上,爬壁机器人在风电运维时安全性高。

风电机组防除冰系统、方法、电子设备及存储介质

NºPublicación:  CN121205887A 26/12/2025
Solicitante: 
华电电力科学研究院有限公司
CN_121205887_PA

Resumen de: CN121205887A

本申请涉及风力发电技术领域,公开了风电机组防除冰系统、方法、电子设备及存储介质,该系统包括:加热模块,铺设于叶片表面并划分为多个加热分区,加热分区用于独立控制以提供局部加热;监测模块,用于检测并输出叶片的结冰厚度和环境参数;控制模块,与监测模块和加热模块通信连接,用于基于结冰厚度和环境参数动态调节加热分区的功率,并通过覆冰预测模型实现防冰控制。本申请通过加热模块的分区设计,能够针对叶片局部结冰区域进行精准加热,避免全叶片加热的能源浪费;实时监测结冰厚度和环境参数,使得控制模块能够动态调节功率,结合覆冰预测模型提前触发防冰操作,显著降低加热能耗,解决了相关技术中防除冰系统能耗高的问题。

一种风电安装平台支撑结构

NºPublicación:  CN223724762U 26/12/2025
Solicitante: 
山东省工业设备安装集团有限公司
CN_223724762_U

Resumen de: CN223724762U

本实用新型涉及风电机组技术领域,尤其是一种风电安装平台支撑结构,包括立柱,在立柱的顶部设置有对风机机组进行安装的安装平台,安装平台通过连接柱与立柱连接,且安装平台通过法兰与立柱固定;在立柱的底部安装有底座,在底座的底部垂直安装有至少一根连接轴,在连接轴的底部安装有尖端向下设置的锥形座,沿锥形座的顶部开设有环形槽;沿立柱的侧面设有若干个间隔排列的安装座,在安装座的顶部开设有安装槽。本实用新型在使用时,该风电安装平台支撑结构通过沿立柱侧面分布设置的安装座,对立柱多角度的延伸固定,以此对立柱进行,同时在连接板上的通槽租用,让海水可穿过通槽,降低海水作用在连接板的冲击作用。

一种风力发电机

NºPublicación:  CN223724768U 26/12/2025
Solicitante: 
承风能源(太原)有限公司
CN_223724768_U

Resumen de: CN223724768U

本实用新型涉及风力发电机技术领域,本实用新型要解决的技术问题是故障率比较高。为了解决上述技术问题,本实用新型提供了一种风力发电机。本实用新型包括:塔筒;机舱,连接在塔筒的顶端;机舱的底部沿其周向间隔设置多个卡设槽;止动组件,包括竖向设置的弹性件以及与塔筒的顶端转动连接的止动件;弹性件的两端分别与塔筒和止动件连接;驱动机构,包括连接在塔筒底部的底端操纵部和传输部;传输部的两端分别与止动件和底端操纵部连接和弹性件变形;底端操纵部断开对止动件的驱动,弹性件带动止动件反向旋转;其中,底端操纵部带动传输部运动,以驱动止动件旋转至卡设槽中。本实用新型故障率比较低。

一种风能驱动的涡轮增压器

NºPublicación:  CN223724874U 26/12/2025
Solicitante: 
广州市科普生机电设备有限公司
CN_223724874_U

Resumen de: CN223724874U

本实用新型公开了一种风能驱动的涡轮增压器,包括风箱和扇叶,所述风箱内设有分隔件,所述分隔件将风箱内分隔出第一压缩腔和第二压缩腔,所述分隔件上贯穿有通风口,所述第一压缩腔通过通风口与第二压缩腔连通,所述风箱上设有与第一压缩腔连通的进风口,所述风箱上设有与第二压缩腔连通的出风口,所述风箱内旋转连接有第一中轴,所述第一中轴上固定连接有第一涡轮和第二涡轮,所述第一涡轮和第二涡轮分别位于第一压缩腔和第二压缩腔内,所述第一中轴贯穿风箱与扇叶连接。本实用新型提供一种风能驱动的涡轮增压器,利用车辆行驶时的迎风驱动本装置产生高压空气。

一种风力发电机的叶片锁紧机构

NºPublicación:  CN223724769U 26/12/2025
Solicitante: 
新疆哈密广恒新能源有限公司
CN_223724769_U

Resumen de: CN223724769U

本实用新型涉及风力发电机技术领域,公开了一种风力发电机的叶片锁紧机构,包括叶片体和装配架,所述叶片体的正面固定连接有转动轴,装配架的左侧面固定连接有控制器,装配架的内部分别设置有两个第一固定壳和两个第二固定壳,每个第一固定壳的内部均滑动连接有第一支撑块,每个第一固定壳的内壁均固定连接有第一液压杆;本实用新型通过叶片体、转动轴、装配架、控制器、限位齿筒、紧固螺栓、耐磨防滑套、第一固定壳、第一液压杆、第一支撑块、弧形顶块、防滑耐磨垫、第二固定壳、第二液压杆、第二支撑块和弧形定位块,控制器能够被外部控制结构进行无线遥控,进而控制两个第一液压杆同时伸缩以及控制两个第二液压杆同时伸缩。

一种小型船用风力发电装置

NºPublicación:  CN223724757U 26/12/2025
Solicitante: 
海汇海洋工程技术(舟山)有限公司
CN_223724757_U

Resumen de: CN223724757U

本实用新型涉及船用风力发电设备领域,公开了一种小型船用风力发电装置,包括底座,所述底座上部固定连接有支撑座,所述支撑座上部设置有发电机,所述发电机的输入端固定连接有滚筒扇,所述滚筒扇外侧固定连接有固定架,所述固定架外侧固定连接有翼型片,所述底座上部固定连接有防护机构,所述防护机构包括防护组件和限位组件,所述防护组件包括防护架。本实用新型中,通过防护机构的使用,在恶劣天气时拉动限位件,解除对限位杆的限制,将防护板向上移动,对通风槽进行封闭,从而对发电装置进行防护,减少海水、杂物等侵蚀,保障设备稳定运行,同时避免强风直接冲击,减少强风对装置内部结构的损害,延长设备使用寿命。

一种风帆构型风力发电机

NºPublicación:  CN223724754U 26/12/2025
Solicitante: 
范家铭
CN_223724754_U

Resumen de: WO2025113157A1

The present invention relates to the technical field of wind power generation apparatuses, and provides a sail wind turbine, comprising a tower barrel, a rotating nacelle, sail booms, masts and sails, wherein the rotating nacelle is arranged at the top of the tower barrel and is rotatably connected to the tower barrel; m sail booms are provided and are evenly arranged around the rotating center line of the rotating nacelle, first ends of the sail booms are fixedly connected to the rotating nacelle, and second ends of the sail booms extend a direction away from the rotating center line of the rotating nacelle; the masts are in one-to-one correspondence with the sail booms, the number of the masts is equal to the number of the sail booms, first ends of the masts are fixedly connected to the second ends of the sail booms, and second ends of the masts extend in a longitudinal direction; and the sails are in one-to-one correspondence with the masts, the number of the sails is equal to the number of the masts, and the sails are arranged on the masts. The sail wind turbine provided in the present invention has a simple structure, reasonable design, high generation power, and low manufacturing, transportation and mounting costs.

一种新能源防空警报系统

NºPublicación:  CN223728311U 26/12/2025
Solicitante: 
河北高达电子科技有限公司
CN_223728311_U

Resumen de: CN223728311U

本公开提供一种新能源防空警报系统,属于防空警报技术领域。该一种新能源防空警报系统包括:太阳能供电模块、风能供电模块、风光互补控制模块、蓄电池模块、开关电源模块、电源主控模块、警报主控模块、功率放大模块、扬声器、降压模块和通信模块;太阳能供电模块、风能供电模块均与风光互补控制模块连接,风光互补控制模块分别与蓄电池模块、电源主控模块连接;蓄电池模块分别与开关电源模块、降压模块、功率放大模块连接,开关电源模块还分别与降压模块、功率放大模块连接;电源主控模块分别与降压模块、警报主控模块连接,功率放大模块与扬声器连接,警报主控模块与通信模块连接。本公开能够保证警报系统的二次预警平稳进行。

一种风电机组塔筒曲面模块化磁吸安装装置

NºPublicación:  CN223724759U 26/12/2025
Solicitante: 
慧风条山(永济)科技有限公司
CN_223724759_U

Resumen de: CN223724759U

本实用新型属于磁吸安装装置技术领域,具体涉及一种风电机组塔筒曲面模块化磁吸安装装置,包括磁吸座主体和安装在磁吸座主体表面的包胶外壳,所述磁吸座主体的表面连接有T型固定配件,所述磁吸座主体的表面开设有放置槽,所述T型固定配件的表面开设有安装槽,所述放置槽的内壁开设有锁紧孔,所述包胶外壳的内壁连接有卡块,本实用新型通过将磁吸座主体与T型固定配件对接并固定,后进行外壳包胶处理,最后通过脉冲磁场定向充磁并检测外表面磁通,通过磁吸设计,安装过程无需复杂的工具,工人可以快速完成安装,显著缩短了安装时间,如若需更换固定位置,可使用拉拔工装拆解后重新安装,大大增加塔筒内作业的容错,并极大程度上保护塔筒内壁。

绿能高效率倍速发电装置

NºPublicación:  CN223724755U 26/12/2025
Solicitante: 
邱英明
CN_223724755_U

Resumen de: CN223724755U

本实用新型提供一种绿能高效率倍速发电装置,包括:中心传动轴,具有顶端及底端;固定框架集,包括设于顶端的上框架、设于底端的下框架及多固定柱;驱动轮,与中心传动轴同轴,用于驱动中心传动轴旋转;调速机,与驱动轮连接,用于调节驱动轮的转动速度,进而控制中心传动轴的旋转速度;倍速装置,与中心传动轴同轴、并位于下框架内;发电装置,设于下框架内的角隅处;及绿能储电装置,设于上框架的角隅处,与调速机电连接,并于内部储存有来自风力、水力或太阳能产生的电能,用于提供初次供电以启动调速机运行,使调速机运行后驱动驱动轮转动,进而带动中心传动轴传递动力至倍速装置,倍速装置进一步提升动力输出,驱动发电装置运行以产生电能。

一种快装式风机预制基础

NºPublicación:  CN223723781U 26/12/2025
Solicitante: 
河北雄安昆仑新远新能源科技有限责任公司
CN_223723781_U

Resumen de: CN223723781U

本实用新型公开一种快装式风机预制基础,涉及地基技术领域,包括基础一和基础二,基础一和基础二通过预制,能够在现场安装之前就完成制作,节省现场浇筑和养护的时间,提高了效率。按风载及当地土质条件计算出的基础拆分为两块,使每一块的重量和尺寸变小,从而满足运输条件。所述基础一和基础二上各设置有四个吊点用于吊装。两块基础上各设两组预埋件,用于固定压杠螺栓。塔架底座安装在基础一和基础二上,通过压杠和压杠螺栓,将塔架底座和两块基础连接固定为一个整体,使得整个基础更加稳定,并且在现场实现了基础的快速安装,大大节约了安装时间。

浮漂式风电系统

NºPublicación:  CN121205871A 26/12/2025
Solicitante: 
中国华能集团清洁能源技术研究院有限公司华能广东汕头海上风电有限责任公司华能(广东)能源开发有限公司华能海上风电科学技术研究有限公司
CN_121205871_PA

Resumen de: CN121205871A

本申请涉及风力发电技术领域,尤其是涉及一种浮漂式风电系统,浮漂式风电系统包括:漂浮基础,漂浮基础设置有第一安装部和第二安装部,第一安装部与第二安装部间隔设置;第一风电机组,第一风电机组设置于第一安装部;第二风电机组,第二风电机组设置于第二安装部;系泊构件,系泊构件设置于漂浮基础,系泊构件位于第一安装部的下方。本申请提供的浮漂式风电系统,将至少两组风电机组集成至同一漂浮基础上,可由第二风电机组进行变桨控制,相较于传统的布置多个单风机平台,提供了一种低成本、被动与主动相结合的整体对风机制,显著降低了建造造价,大幅降低偏航设备与运维成本和运维难度。

一种风机设备在线状态检修方法

NºPublicación:  CN121205874A 26/12/2025
Solicitante: 
国能江苏电力工程技术有限公司
CN_121205874_PA

Resumen de: CN121205874A

本发明涉及转机检修领域,公开了一种风机设备在线状态检修方法,包括基于转机设备的数字孪生模型,利用故障检测模型对转机设备的故障进行预警,根据检修任务得到检修流程并优化;利用三维可视化方法,将转机设备的检修流程转换成动态可视化形式;本发明通过数字孪生模型实时反映设备的状态和行为;利用故障检测模型对转机设备的故障进行预警,根据故障类型和零部件之间的装配关系,生成检修流程,并根据实际操作过程对检修流程进行优化;通过将转机设备的检修流程转换成动态可视化形式,提高检修过程的理解和操作效率,实现检修过程的全面数字化和智能化。

一种风电机组叶轮平衡性检测方法及系统

NºPublicación:  CN121205882A 26/12/2025
Solicitante: 
新疆立新能源股份有限公司木垒新风风力发电有限公司哈密新风能源发电有限公司新疆锐风电力科技有限公司
CN_121205882_PA

Resumen de: CN121205882A

本发明涉及风力发电技术领域,具体涉及一种风电机组叶轮平衡性检测方法及系统,方法步骤如下:获取机舱振动信号;采用经验模态分解对机舱振动信号进行粗分解,提取初始固有模态函数;采用经验小波变换对各初始固有模态函数进行细分解,并基于傅里叶谱划分频带,得到自适应子模态;计算各自适应子模态的包络谱峰值因子,并基于包络谱峰值因子确定最佳分量;对最佳分量执行特征提取,并利用分类器对提取的特征进行分类处理;基于分类处理的结果进行叶轮平衡性检测。本发明通过两级分解策略结合傅里叶谱自适应划分频带,可针对性捕捉不同频率范围内与叶轮不平衡相关的振动特征,减少环境干扰对有效信号的掩盖,提升对叶轮平衡状态的识别准确率。

风力涡轮机叶片样本测试

NºPublicación:  CN121219494A 26/12/2025
Solicitante: 
维斯塔斯风力系统有限公司
CN_121219494_PA

Resumen de: WO2024223888A2

Apparatus and methods for testing a wind turbine blade specimen. The wind turbine blade specimen may be the whole or a portion of a segmented wind turbine blade. The segmented wind turbine blade may be for a cable stayed rotor. The blade specimen is held at one end and an actuator applies a load on the wind turbine blade specimen. The blade specimen may have a cable connection point. A loads assembly may have at least one cable for coupling to the cable connection point. The cable is configured to carry tensile load such that the load imparted to the wind turbine blade specimen by the actuator is partially supported by the cable.

一种面向深远海台风频发区域的风浪联合发电装置

NºPublicación:  CN121205865A 26/12/2025
Solicitante: 
河海大学
CN_121205865_PA

Resumen de: CN121205865A

本发明公开了一种浮式平台海上发电技术领域的面向深远海台风频发区域的风浪联合发电装置,旨在解决现有技术中动态稳定性不足和供电持续性差的问题。该装置包括半潜式风力发电机平台和波浪能发电装置。所述波浪能发电装置位于所述半潜式风力发电机平台的底座的导管架上,包括横向主导减振装置、PTO装置和第一传动杆;所述横向主导减振装置沿周向滑动连接于所述导管架上,所述横向主导减振装置上集成可调节角度的挡水板;所述PTO装置通过第一传动杆与若干横向主导减振装置连接,所述第一传动杆限制所述横向主导减振装置的水平位移范围。本发明面向极端台风工况能够保持高韧性以及对水平振荡的高效率抑制能力,同时兼顾发电效率。

风电机组偏航驱动系统及方法

NºPublicación:  CN121205859A 26/12/2025
Solicitante: 
中船海装风电有限公司
CN_121205859_PA

Resumen de: CN121205859A

本申请公开了一种风电机组偏航驱动系统及方法,包括PLC控制单元、变频器驱动回路、软启动驱动回路以及偏航电机;PLC控制单元内置有互锁逻辑控制机制;变频器驱动回路用于对偏航电机进行调速控制;软启动驱动回路用于在变频器驱动回路故障时驱动偏航电机运行;变频器驱动回路中配置有接触器KM1,软启动驱动回路中配置有接触器KM2,接触器KM1与接触器KM2共同构成互锁切换部件;PLC控制单元通过获取接触器KM1与接触器KM2的工作状态,结合互锁逻辑控制机制输出控制信号,驱动互锁切换部件动作。本发明有效解决单一变频器驱动方案的单点故障问题,提高偏航系统的可靠性和机组可用率。

风电叶片的配重方法、风电叶片以及风力发电机组

NºPublicación:  CN121206163A 26/12/2025
Solicitante: 
中材科技风电叶片股份有限公司
CN_121206163_PA

Resumen de: CN121206163A

本申请公开了一种风电叶片的配重方法、风电叶片以及风力发电机组,风电叶片的配重方法包括:提供柔性配重预制件,柔性配重预制件包括柔性主体和至少两层增强层,至少两层增强层沿柔性配重预制件的厚度方向间隔地叠放设置,增强层嵌设于柔性主体;获取风电叶片的待配重信息;根据重量参数沿柔性配重预制件的厚度方向裁取柔性配重预制件,以获得重量为重量参数的柔性配重件;根据待配重位置信息在风电叶片上获得待配重面;以柔性配重件的至少两层增强层在由柔性配重件指向待配重面的方向上排列的姿态,将柔性配重件连接在待配重面上。根据本申请实施例,能够降低配重件与风电叶片的连接部位的应力集中,避免连接部位损伤,降低配重件掉落的风险。

一种用于风电机组的叶片锁紧装置

NºPublicación:  CN121205867A 26/12/2025
Solicitante: 
中国水利水电第四工程局有限公司
CN_121205867_PA

Resumen de: CN121205867A

本发明涉及风机技术领域,具体为一种用于风电机组的叶片锁紧装置;针对传统风电机组安装时叶片与轮毂、轮毂与传动系统连接不便,缺乏定位调节机制,易产生误差、安全隐患及效率低下的问题,包括轮毂和安装架,轮毂位于安装架的一侧,轮毂上等间距固定安装有多个风机叶片,在轮毂上还固定安装有转轴,安装架上固定安装有外壳,所述安装架的一侧设置有对接机构,本发明通过电动推杆、电磁制动电机等实现制动齿轮精准定位与稳定制动,保证对接罩制动,方便轮毂与对接罩预先对接卡装及稳定连接;还能在装配定位螺栓时调节弧形卡板位置,降低安装难度与误差,减少安全隐患、时间成本,能够为安装风机叶片提供良好的方便性。

用于风电机组的单叶片吊装方法及风电机组

NºPublicación:  CN121205868A 26/12/2025
Solicitante: 
华电电力科学研究院有限公司
CN_121205868_PA

Resumen de: CN121205868A

本发明涉及风力发电技术领域,公开了一种用于风电机组的单叶片吊装方法及风电机组,该方法包括:调整轮毂的第一安装位的方位角为90度;通过吊装设备将第一叶片起吊至吊装位置并安装在第一安装位上;调整轮毂的第二安装位的方位角为90度,第一安装位的方位角为210度;通过吊装设备将第二叶片起吊至吊装位置并安装在第二安装位上;调整机舱沿水平方向转动180度;调整轮毂的第三安装位的方位角为270度,此时第二安装位的方位角为30度,第一安装位的方位角为150度;通过吊装设备将第三叶片起吊至吊装位置并安装在第三安装位上。通过上述步骤可以避免了齿轮箱因受到反向扭矩导致磨损或损坏,起到了保护齿轮箱的作用。

硅胶模块成型工艺、腹板成型模具、腹板成型方法、腹板、叶片和风力发电机组

NºPublicación:  CN121200465A 26/12/2025
Solicitante: 
金风科技股份有限公司
CN_121200465_PA

Resumen de: CN121200465A

本申请提供了一种硅胶模块成型工艺、腹板成型模具、腹板成型方法、腹板、叶片和风力发电机组。所述硅胶模块成型工艺包括如下步骤:形成硅胶模块成型模腔,硅胶模块成型模腔与硅胶模块的形状相应,并位于硅胶模块占位凹槽的靠近法兰模板的一侧,其中,在硅胶模块成型模腔靠上的位置,在法兰模板上设置有倒角条,倒角条面向硅胶模块成型模腔的一侧形成为圆角凹面;在硅胶模块成型模腔中注入液体硅胶;在液体硅胶固化成型后,获得硅胶模块。在腹板成型模具中采用具有圆角的硅胶模块,能够避免辅助粘接法兰的拐角处应力集中的问题,提高了叶片和风力发电机组的运行可靠性,并且通过利用腹板成型模具本身来制造硅胶模块,降低了叶片的制造成本。

一种风力发电机组诊断方法、装置、设备及存储介质

NºPublicación:  CN121205884A 26/12/2025
Solicitante: 
浙江正泰智维能源服务有限公司
CN_121205884_A

Resumen de: CN121205884A

本申请公开了一种风力发电机组诊断方法、装置、设备及存储介质,涉及风力发电机维修技术领域,包括:获取目标风电机组对应的初始风电机组数据,并对所述初始风电机组数据进行预处理,以获取目标风电机组数据;利用目标风电机组的设备参数和目标仿真模型生成不同工况下的模拟振动特征,并基于模拟振动特征、目标风电机组数以及目标行业知识构建目标振动诊断阈值库;基于实时设备运行数据确定当前运行工况,根据所述当前运行工况确定相应的目标阈值,并利用目标阈值对风电机组进行诊断。通过基于实时运行工况动态选取对应阈值进行诊断,提高了诊断结果可靠性。

一种应用于风机叶片巡检的全驱动八旋翼无人机及无人机的控制方法

NºPublicación:  CN121201421A 26/12/2025
Solicitante: 
哈尔滨工业大学
CN_121201421_PA

Resumen de: CN121201421A

一种应用于风机叶片巡检的全驱动八旋翼无人机及无人机的控制方法,本发明涉及无人机及无人机的控制方法,本发明的目的是为了解决常规无人机无法实现六自由度解耦运动,导致难以满足一些需要独立控制需求的问题,内圈飞行区提供机体坐标系下Z轴方向升力以及反扭力矩,内圈飞行区内安装飞控电池区,内圈飞行区上安装外圈飞行区,飞控电池区对内圈飞行区和外圈飞行区提供能量并控制内圈飞行区和外圈飞行区工作。通过飞控电池区控制内圈飞行区和外圈飞行区实现无人机进行全驱动,通过八个旋翼的配合控制对六自由度解耦达到全驱动,实现无人机机体姿态未发生偏转和机体姿态发生偏转的方式。本发明属于旋翼无人机巡检装备领域。

耦合长时储能的煤基多能互补清洁低碳供能系统及方法

NºPublicación:  CN121206942A 26/12/2025
Solicitante: 
浙江大学浙江省白马湖实验室有限公司浙江大学嘉兴研究院
CN_121206942_PA

Resumen de: CN121206942A

本发明涉及一种耦合长时储能的煤基多能互补清洁低碳供能系统及方法,该系统包括低温熔盐罐、高温熔盐罐、第一熔盐电加热器、第二熔盐电加热器、显热换热器、锅炉、汽轮机、发电机,低温熔盐罐顺次通过过冷器、冷凝器、显热换热器、第二熔盐电加热器、第一熔盐电加热器与高温熔盐罐连通,锅炉顺次通过显热换热器、冷凝器、过冷器与锅炉循环连通;本发明将熔盐储热系统用于“热电解耦”并提供多能耦合的“蓄水池”,利用显热换热器与熔盐电加热器实现熔盐的梯级加热,无需大规模改造或换用天然气机组发电便能够在能源增量而非能源存量的基础上取得很好的排放效果;本发明具有灵活调峰、高效运行、低碳供能、安全可靠、成本低廉等优势。

一种可调节高度的风电机组装置

NºPublicación:  CN121205870A 26/12/2025
Solicitante: 
重庆华渝重工机电有限公司
CN_121205870_PA

Resumen de: CN121205870A

本发明适用于风力发电技术领域,提供了一种可调节高度的风电机组装置,包括塔管;所述塔管竖直固定于地面的基座上,用于承载风电机组机舱及叶片;设置在所述塔管内用于驱动所述风电机组机舱沿竖直方向升降的升降机构;装配在所述塔管及升降机构对应位置的限位防护机构,用于限制升降行程并防止故障坠落。本方案提供的可调节高度的风电机组装置,通过塔管提供基础支撑,借助由液压缸、滑轨、滑块及连接件组成的升降机构,实现风电机组机舱及叶片的竖直升降,解决传统风电机组高度固定的问题。

嵌入式变桨伺服控制器及方法

NºPublicación:  CN121205860A 26/12/2025
Solicitante: 
华能山东发电有限公司蓬莱风电分公司北京华能新锐控制技术有限公司
CN_121205860_PA

Resumen de: CN121205860A

本发明实施例涉及一种嵌入式变桨伺服控制器及方法,其通过将超级电容器的剩余可用能量与安全桨叶角度目标作为关键考量,构建带能量约束的模型预测控制优化问题。具体地,通过高频采集电网电压进行LVRT判定,并实时监测桨叶角度、电机转速及超级电容电压以形成系统状态向量,一旦识别出LVRT事件,控制器将主动规划能量使用,并求解MPC问题以得到当前周期的最优电机力矩设定值,进而转化为驱动逆变器的PWM信号。这种集成式的策略,实现了对变桨动作的精细化能量管理和优化控制,使得变桨伺服系统能够在有限能量条件下,仍能快速、平稳、高效地将桨叶调整至安全位置,显著提升了机组在极端工况下的生存能力和可靠性。

一种分布式风力发电驱动系统

NºPublicación:  CN121205864A 26/12/2025
Solicitante: 
刘昌
CN_121205864_PA

Resumen de: CN121205864A

本发明公开了一种分布式风力发电驱动系统,所述系统包括:风机桨叶、轮毂、低速主轴、增速传动机构、高速驱动轴及分布式驱动模块。增速传动机构输入端连接低速主轴并与风机桨叶输入动力联动,高速驱动轴连接增速传动机构动力输出端,高速驱动轴上设置有一个或多个分布式驱动模块,分布式驱动模块包含一个驱动大齿及沿着其周向均匀分布并啮合的多个驱动小齿,连接每个驱动小齿的输入轴与一对或单个发电机耦合联动,低速主轴的机械输入动力通过分布式发电机组转化为电力输出。该分布式风力发电驱动系统可大幅降低大功率单机发电机总成的重量、成本及技术开发门槛,可实现大功率风机的平台化、模块化扩容,风机容量适用范围宽,并可改善风机机组的风力利用效率。

具备自调节转速功能的涡轮发电装置及方法

NºPublicación:  CN121205866A 26/12/2025
Solicitante: 
陕西空天信息技术有限公司
CN_121205866_PA

Resumen de: CN121205866A

本公开提供了一种具备自调节转速功能的涡轮发电装置及方法,涉及叶轮机械发电技术领域。该装置包括:涡轮,用于在气流作用下旋转并输出机械能;空气压缩叶轮,沿气流方向设置于涡轮之后且随涡轮同向旋转,空气压缩叶轮用于利用机械能对流经涡轮后的气体进行压缩处理;发电机,沿气流方向设置于空气压缩叶轮之后,发电机用于将涡轮经空气压缩叶轮传递的净输出机械能转换为电能;涡轮、空气压缩叶轮和发电机的转子沿同一旋转轴线同轴设置;涡轮输出的机械能和空气压缩叶轮消耗的机械能随气流的气体质量变化的幅度不同,以使涡轮的转速稳定在预设区间。本公开中的技术方案可以提升涡轮发电装置的运行稳定性并保持整体结构的简洁性。

一种无逆风风阻的风力发电机

NºPublicación:  CN121205856A 26/12/2025
Solicitante: 
门志军
CN_121205856_PA

Resumen de: CN121205856A

一种无逆风风阻的风力发电机,包括支撑架、风轮轴、发电机,所述支撑架的上方有风轮轴,所述风轮轴外侧有轮毂,所述轮毂外侧有按圆心角均分排列的3~9个叶片,所述叶片的形状是由若干窄叶片轴接连接成的一个大面积的方形形状,相邻的所述窄叶片之间有弹簧,所述弹簧的弹力方向是使相邻的所述窄叶片折叠重合的方向,若干所述窄叶片的前端与一个前导槽连接,后端与后槽相连,前导槽与后槽之间连接有剪刀式开合装置,所述剪刀式开合装置受控于伺服机构,所述伺服机构受控于探头,所述探头伸到与风向尾翼一块转动的半圆环相邻获取风向信号,使得叶片在顺风时展开,在逆风时闭合。这样的发电机无论风速多大,效率一直保持最高。

一种车载风力发电系统

NºPublicación:  CN121200794A 26/12/2025
Solicitante: 
徐志刚
CN_121200794_PA

Resumen de: CN121200794A

本发明涉及一种车载风力发电系统,涉及电动汽车技术领域。通过风扇总成的底座安装于电动汽车前机舱内,通过支架直接或间接固定于车架上,包括:风扇总成,发电机,蓄电池,调压器,逆变器,轴流风机,风机支架,本发明采用高效能的风扇总成,以及合理的能源转换和分配机制,在电动汽车行驶过程中将风能转化为机械能,再通过发电机的转动将机械能转化为电能,为灯光系统、照明系统、空调系统及其他用电设备供电,并将多余电能储存至蓄电池内。

一种海上风电导管架基础定位装置

NºPublicación:  CN121205187A 26/12/2025
Solicitante: 
南通亚能装备科技有限公司
CN_121205187_PA

Resumen de: CN121205187A

本发明属于导管架安装技术领域,且公开了一种海上风电导管架基础定位装置,包括导管架、单桩和设置在导管架上的接口。本发明通过设置纠偏组件和单桩等结构的配合,倾斜方向上的驱动组件通过适应组件驱使叶轮一旋转,相对方向上的叶轮一反向旋转,其中一个叶轮一旋转推动海水向外侧流动并产生推力,导流罩内部产生吸力,相对方向上的叶轮一反向旋转聚集海水至导流罩内,并向该侧的导向管二端部冲击,使产生推力的叶轮一能够更快的抽取海水并喷射,一个纠偏组件推动海水,对向纠偏组件抽取海水,单桩移动的速度将比单纯一个纠偏组件推动海水移动的速度快的多,从而快速缩小单桩倾斜角度,数个纠偏组件的设计,能够使装置可以纠正不同的倾斜方向。

一种修复无人机及修复方法

NºPublicación:  CN121201420A 26/12/2025
Solicitante: 
武汉理工大学
CN_121201420_PA

Resumen de: CN121201420A

本发明公开了一种修复无人机及修复方法,修复无人机包括无人机本体、固定装置、检修装置和调节装置,固定装置安装于无人机本体,用于固定于目标物体表面;检修装置包括探测机构和修复机构,探测机构和修复机构均安装于无人机本体,探测机构用于探测目标物体的待修复位置,修复机构用于对待修复位置进行修复操作;调节装置设置于固定装置和检修装置之间,用于调节固定装置与检修装置之间的相对位置;本发明将固定装置和检修装置集成于无人机本体,不仅能够灵活且精准地调节检修装置的位置,还能够确保执行修复作业时的稳定性,解决了现有技术中风机叶片修复效率低下、安全风险高以及修复范围受限等问题。

风电叶片表面缺陷检测与修复一体化无人机系统及方法

NºPublicación:  CN121201436A 26/12/2025
Solicitante: 
兰州理工大学
CN_121201436_PA

Resumen de: CN121201436A

本发明公开了一种风电叶片表面缺陷检测与修复一体化无人机系统,属于风电叶片检测技术领域。所述一体化无人机系统包括无人机、多模态检测系统、损伤修复系统以及地面缺陷定位与修补控制系统;多模态检测模块采集风电叶片表面缺陷图像以及测量缺陷物理参数;损伤修复系统包括基板、驱动模块、折叠伸缩装置、材料供给系统及修复执行机构,控制材料供给系统向修复执行机构泵送修复材料,折叠伸缩装置带动修复执行机构到达或撤离风电叶片的修复作业位置,修复执行机构对风电叶片表面缺陷进行修复施工;地面缺陷定位与修补控制系统实现风电叶片表面缺陷的识别、修复策略的生成、修复过程的控制以及修复效果的评估。

车辆的发电控制方法及车辆

NºPublicación:  CN121200690A 26/12/2025
Solicitante: 
青岛海尔空调器有限总公司海尔智家股份有限公司
CN_121200690_PA

Resumen de: CN121200690A

本发明涉及车辆工程技术领域,具体提供一种车辆的发电控制方法及车辆。本发明的车辆包括空调系统、电池、能量转换模块和电路切换模块,风机的电机分别与电池的供电端和充电端连接,电路切换模块能够将电机的连接电路在电池的供电端与充电端之间切换,发电控制方法包括:获取空调系统的运行状态;获取车辆的车速和电池的电量;根据空调系统的运行状态、车速和电量,选择性地使电机的连接电路切换为与电池的充电端连接,通过获取空调系统的运行状态、车速和电量,当空调系统未运行、车速较高且电量较低时,使电机的连接电路切换为与电池的充电端连接,能够将风机转动产生的动能转化为电能为电池充电,有效地利用了能源。

一种漂浮式海上风电基础钢-UHPC管节过渡段结构及其设计方法

NºPublicación:  CN121201295A 26/12/2025
Solicitante: 
中国电建集团华东勘测设计研究院有限公司
CN_121201295_PA

Resumen de: CN121201295A

本发明提供了一种漂浮式海上风电基础钢‑UHPC管节过渡段结构及其设计方法,包括多个依次连接的钢混格室,多个钢混格室依次连接并围合形成环形结构,其所围合的中部空腔内设有中部连接构件;钢混格室包括预制UHPC变厚度管段和预制钢结构管段;预制钢结构管段包括方形连接腔室和梯型腔室,梯型腔室用于与垂荡舱钢结构连接;预制UHPC变厚度管段包括T形连接段和变厚管段,变厚管段与下部浮体连接,T形连接段设于方形连接腔室内,且方形连接腔室内浇筑UHPC;T形连接段与方形连接腔室的腔壁之间连接有高强连接螺杆,变厚管段与方形连接腔室之间贯穿设置第一预应力钢绞线。本发明提升漂浮式海上风电基础钢‑UHPC管节过渡段结构节点抗剪效能、极限承载能力和结构延性。

基于动态偏航寻优的风力发电机控制方法及系统

NºPublicación:  CN121205862A 26/12/2025
Solicitante: 
陕西华电新能源发电有限公司
CN_121205862_PA

Resumen de: CN121205862A

本申请公开了一种基于动态偏航寻优的风力发电机控制方法及系统,涉及风力发电机组控制技术领域,该方法包括:通过安装在风力发电机机舱上的激光雷达,对风机前方的前瞻测量点进行风速和风向的测量,获取前瞻风信息,实时获取风力发电机的当前偏航角度、当前风速、发电机功率输出和机舱加速度,基于前瞻风信息、当前偏航角度、当前风速、发电机功率输出和机舱加速度,预测风力发电机在预测时间窗口内的目标偏航角度,根据目标偏航角度,生成偏航控制指令,并将偏航控制指令发送至偏航驱动系统,以使风力发电机的超前对风控制。通过上述方式,解决现有技术中因偏航控制响应滞后导致的风能捕获效率低、机组载荷大的技术问题。

连接部件、连接方法和叶片

NºPublicación:  CN121206062A 26/12/2025
Solicitante: 
三一(巴彦淖尔)风电装备有限公司
CN_121206062_PA

Resumen de: CN121206062A

本申请提供一种连接部件、连接方法和叶片,涉及风力发电设备技术领域。其中,连接部件包括凸起件和连接件,凸起件的一端用于嵌入叶片主梁内部,且与叶片主梁一体成型,另一端凸出于叶片主梁,用于与叶片腹板连接;连接件包覆并粘接在凸起件和叶片腹板的连接部位外周,以连接凸起件和叶片腹板。本申请解决了现有的腹板和主梁之间连接方式存在粘接强度和耐久性不足的缺陷,实现了较高的连接强度和耐久性,提升了风力发电机叶片的结构强度。

自适应降载风电叶片组件及风力发电机组

NºPublicación:  CN121205855A 26/12/2025
Solicitante: 
华能吉林新能源开发有限公司
CN_121205855_PA

Resumen de: CN121205855A

本发明公开了一种自适应降载风电叶片组件及风力发电机组,涉及风力发电技术领域,包括叶片本体、第一筒体、第二筒体、第三筒体、螺旋叶板、弹性摆片、盖板组件和弹性复位件;第一筒体设于叶片本体内,后端连通后缘排气口;第二筒体同轴固定于第一筒体内腔并形成第一降载通道,通道内设有螺旋叶板;第三筒体同轴固定于第二筒体内腔,分别形成第二降载通道和第三降载通道,第二降载通道内设有弹性摆片;盖板组件呈双开门铰接前缘以覆盖进气口,弹性复位件一端连接叶片本体、另一端连接第一筒体,推动第一筒体抵接盖板内侧;盖板组件可在风力作用下克服弹性作用力开启,三个降载通道依序与进气口连通而实现分级降载,可兼顾发电效率与叶片结构安全。

一种风电机组塔筒螺栓诊断方法及相关设备

NºPublicación:  CN121205881A 26/12/2025
Solicitante: 
华能陕西靖边电力有限公司中国华能集团清洁能源技术研究院有限公司
CN_121205881_PA

Resumen de: CN121205881A

本发明涉及了风电机组塔筒故障诊断技术领域,具体涉及了一种风电机组塔筒螺栓诊断方法及相关设备,该方法通过在塔筒远离法兰区域布置参考点,于法兰区域划分监测区域并设置测点,实时采集螺栓松动前后的应变数据。基于应变数据计算各测点松动前后的应变响应均方根比,进而求得测点均方根差比。通过测点均方根差比综合得到监测区域的区域损伤指标,最终依据该指标实现法兰螺栓松动失效损伤的定量诊断。该方法可有效识别螺栓松动状态,为风电机组安全运行提供技术支撑。

一种面向风电机组的多模态大模型可解释诊断方法及系统

NºPublicación:  CN121211189A 26/12/2025
Solicitante: 
北京理工大学
CN_121211189_PA

Resumen de: CN121211189A

本发明公开了一种面向风电机组的多模态大模型可解释诊断方法及系统,涉及风电机组故障诊断技术领域,包括,结合多模态数据(振动、时序、图像、文本)与拓扑信息,通过跨模态对比学习和拓扑建模实现故障诊断。方法包括多模态特征提取、标准化、对齐,并通过拓扑嵌入优化和跨模态注意力机制融合特征。故障诊断过程中,利用规则Agent和拓扑一致Agent引入动态修正与路径可靠性评估,对各模态特征和拓扑结构进行加权融合,最终输出准确的故障类型与部件定位结果。通过结合知识检索与多Agent决策模型,提高了故障诊断的适应性与精度,尤其在复杂环境下,能有效识别风电机组的故障模式,提升系统可靠性。

一种风电机组的底部基建支撑总成

NºPublicación:  CN121205869A 26/12/2025
Solicitante: 
华能饶平风力发电有限公司
CN_121205869_PA

Resumen de: CN121205869A

本发明提供了一种风电机组的底部基建支撑总成,属于风电机组技术领域。它解决了现有的海上风电机组测量位置方式准确性不好且还会产生风电机组稳定性不佳的问题。本底部基建支撑总成,包括三角分布的三个副立柱以及设置在三个副立柱中间的主立柱,主立柱上方用于安装风电机组塔筒,副立柱的底部设有浮筒,浮筒底部设有锚链,锚链末端设有用于连接到海床的锚,副立柱的顶部设有支架台,每个副立柱和主立柱之间均设有架杆组。与现有技术相比:本发明采用了计数器计算盘绕轮旋转圈数,其中正转就是往正方向移动,反转就是往反方向移动,然后根据盘绕轮的周长换算成铁链增长的长度,再通过三角函数定理,计算出该方向上风电机组位移的距离。

一种分段自带减振阻尼的水平轴风电机组主轴

NºPublicación:  CN121206162A 26/12/2025
Solicitante: 
常州骋江新能源科技有限公司
CN_121206162_PA

Resumen de: CN121206162A

本发明提供一种分段自带减振阻尼的水平轴风电机组主轴,包括壳体、主轴前端、主轴中端以及主轴后端,所述壳体内部间隔固定有两个支撑座,两个所述支撑座之间间隔固定有两个轴承座,所述轴承座内部通过支撑轴承活动设置有所述主轴中端,每个所述轴承座两侧均对称设置有定位环座,所述定位环座一侧活动设置有压环板,所述压环板与所述支撑轴承的内圈相接触,两个所述轴承座之间间隔设置有若干滑轴,所述滑轴两端均连接有双向螺纹杆,本发明解决了现有风电机组主轴减振效果有限,长期振动易引发主轴疲劳损伤、轴承过度磨损,甚至出现主轴变形、断裂等严重故障的问题。

一种测试用风电叶片及其成型方法

NºPublicación:  CN121204883A 26/12/2025
Solicitante: 
中复连众(玉溪)复合材料有限责任公司
CN_121204883_PA

Resumen de: CN121204883A

本发明涉及风电叶片领域,公开了一种测试用风电叶片及其成型方法,包括:将至少一股氧化铝纤维与至少一股玻璃/碳纤维进行预分散混合,形成混合纤维;将混合纤维引入偶联剂溶液中进行浸润后,通过纺丝设备加捻定型、干燥处理,得到混纺丝;将混纺丝织造而成布料,得到复合纤维布;将复合纤维布设置在风电叶片的最外层,作为风电叶片的最外层温度屏蔽层;或将复合纤维布设置在风电叶片的结构层内部,并与相应芯材支撑结构贴合成型。本发明基于复合材料特性,综合多重纤维及特种材料特性,形成新型具有隔热降温的新型风电叶片及其制备方法,可有效控制叶片在所处环境下的温度,保证叶片内外部层合板的材料安全和产品寿命。

风力发电机组液压变桨系统的冗余密封缸结构

NºPublicación:  CN121206025A 26/12/2025
Solicitante: 
江苏高创风电设备有限公司
CN_121206025_PA

Resumen de: CN121206025A

本发明涉及液压变桨的领域,公开了风力发电机组液压变桨系统的冗余密封缸结构,包括安装圆筒,所述安装圆筒的内部一侧固定有两个液压外壳,所述液压外壳的内部滑动设置有推拉杆,所述推拉杆延伸进液压外壳内部的一端固定有活塞,所述推拉杆上固定插设有密封环,所述活塞的表面与液压外壳的内壁面紧密贴合,所述液压外壳的一端开设有滑动孔,所述滑动孔的内部固定有弹性圈,所述推拉杆与滑动孔滑动插设,所述推拉杆的表面与弹性圈的内壁面贴合。液压缸在工作的过程中,活塞以及密封环的表面均贴合在液压外壳的内壁面,此外弹性圈的内壁面同样与推拉杆的表面贴合,从而可以增加液压缸在工作时的可靠性。

一种海上风电电缆夹持装置

NºPublicación:  CN121216343A 26/12/2025
Solicitante: 
华能威海发电有限责任公司
CN_121216343_PA

Resumen de: CN121216343A

本发明公开了一种海上风电电缆夹持装置,包括:一对包覆外壳、承载牵引套环以及若干个外壳组合键,本发明的有益效果是,本夹具采用包覆式悬浮防护结构与提拉式收紧夹持结构双重设计,通过全包裹悬浮防护设计使风电电缆主体得以在海面上保持稳定悬浮状态,配合可调节的提拉式夹持装置实现精准定位固定,这种组合方案既能确保线缆在架设过程中保持理想悬吊形态,避免与海底礁石等障碍物发生剐蹭卡滞,又能在维修作业时防止线缆意外沉底,且可以根据风电电缆主体的铺设方式,选择单独使用包覆式悬浮防护结构在海面上悬浮走线,亦或者二者结合悬吊安装走线,使得走线的灵活性大大增加。

一种风机叶片净空传感器数据异常监测方法

NºPublicación:  CN121205873A 26/12/2025
Solicitante: 
国华(乾安)风电有限公司
CN_121205873_PA

Resumen de: CN121205873A

本发明提供了一种风机叶片净空传感器数据异常监测方法,首先在风电机组中采集一段时间内的叶片的转速高频信号以及近n个连续净空值出现的时间,计算每两个相邻的净空值出现的时间间隔所对应的叶轮转角是否在目标值内,进行信号互检;然后进行基点确认;以基点作为基准净空,依此判断后续一个叶轮旋转周期内全部净空值出现的时机是否在目标值内,对于不符合目标值的净空值,判定为异常,标记为无效净空值。风电机组中的净空保护模块对于无效净空值进行跳过,不进行净空判定,避免发生净空误判。本发明在不增加风机额外的硬件传感器的前提下可减少无效净空值的输出,避免机组因误报采取的保护动作,降低净空误报率,提高机组的发电量。

基于叶片互相关趋势的风机叶片故障诊断方法及相关装置

NºPublicación:  CN121205876A 26/12/2025
Solicitante: 
西安热工研究院有限公司
CN_121205876_A

Resumen de: CN121205876A

本发明属于风电设备状态监测领域,公开了一种基于叶片互相关趋势的风机叶片故障诊断方法及相关装置,包括获取同时采集的风机各叶片同方向的振动数据,得到各叶片的分析数据;将各叶片的分析数据进行对齐截取,得到各叶片的截取数据;将各叶片的截取数据进行低频滤波得到各叶片的低频数据,并计算任意两叶片的低频数据之间的互相关系数以预警目标叶片存在结构性损伤;将各叶片的截取数据进行高频滤波及傅里叶变换得到各叶片的变换数据,并及计算任意两叶片的变换数据之间的互相关系数以预警目标叶片存在表面性损伤。无需停机检测,能够精准定位故障叶片,提高诊断精度并实现实时在线监测,能够及时发现并预警潜在故障,提高运维效率和安全性。

一种主轴前集成式风电齿轮箱

NºPublicación:  CN121206189A 26/12/2025
Solicitante: 
南高齿(淮安)高速齿轮制造有限公司
CN_121206189_PA

Resumen de: CN121206189A

本发明涉及风电设备技术领域,尤其涉及一种主轴前集成式风电齿轮箱。其中,主轴穿设于轴承座,轴承设置于主轴与轴承座之间,轴承座设置有第一油路,主轴设置有第二油路;动静密封结构设置于主轴与轴承座之间以用于连通第一油路与第二油路;主轴的一端固定连接于行星架,主轴的另一端用于连接叶片,若干行星轮沿周向转动连接于行星架,太阳轮与行星轮啮合,行星架设置有第三油路,第三油路与第二油路连通以用于向第一行星级部装供油。相较于现有技术,该进油结构从靠近叶片一端进行供油,由于靠近叶片的主轴系部装的浮动量小,能够保证进油结构的稳定性和密封性,能够防止润滑油泄露,使第一行星级部装充分润滑,减小磨损。

一种风力发电叶片损伤检测装置

NºPublicación:  CN121201442A 26/12/2025
Solicitante: 
东莞市安泰新能源科技有限公司
CN_121201442_PA

Resumen de: CN121201442A

本发明提供一种风力发电叶片损伤检测装置,涉及叶片检测技术领域,包括:无人机主体;所述无人机主体上固定有四个第一电机,每个第一电机的输出轴上均固定有螺旋桨;无人机主体上安装有防护组件,防护组件由第一弹簧杆和防护座组成,每个第一电机处均固定有两根第一弹簧杆,每个第一电机处两根第一弹簧杆的伸出端均固定有防护座,防护座为环形结构,防护座罩在螺旋桨外侧。本装置防护组件中,环形结构的防护座在第一弹簧杆支撑下罩于螺旋桨外侧,能有效避免检测过程中螺旋桨因磕碰受损导致装置跌落,极大提升了装置运行的安全性;同时,维护时只需向下按压防护座即可露出螺旋桨,让维护和清洁操作更便捷,减少了维护耗时。

基于运行状态核验风电主控PLC自适应调整方法及系统

NºPublicación:  CN121205861A 26/12/2025
Solicitante: 
华能新能源股份有限公司河北分公司北京华能新锐控制技术有限公司西安热工研究院有限公司
CN_121205861_PA

Resumen de: CN121205861A

本发明实施例涉及风力发电技术领域,提供了一种基于运行状态核验风电主控PLC自适应调整方法及系统,其通过实时数据构建运行状态向量,并将其与基准性能模型预测的期望值进行对比,从而精确量化出当前在发电量和机械载荷上的性能偏差。只有当该偏差被核实为显著且持续时,才会触发参数寻优过程,针对当前工况计算出一组更优的候选控制参数。最后,这组新参数在经过严格的安全边界验证与平滑处理后,被安全地下发至PLC执行,完成一次精准、安全的自适应调整。本发明实施例使得风机控制系统能够自我感知性能偏离并自主优化,解决了静态参数无法适应动态环境的技术痛点,能够在多变的实际风况下提升发电量并降低部件疲劳载荷。

一种基于海上风电的发电机超温变矩联轴器

NºPublicación:  CN121206108A 26/12/2025
Solicitante: 
大唐汕头新能源有限公司
CN_121206108_PA

Resumen de: CN121206108A

本发明属于风力发电技术领域,尤其为一种基于海上风电的发电机超温变矩联轴器,中心轴圆周外表面固定连接有配合齿,中心轴的外侧套设有外壳,外壳与中心轴两端均通过密封罩转动连接,密封罩的外圆周面通过密封轴承与外壳的内壁面固定连接,密封罩的内圆周面通过密封轴承与中心轴的外表面固定连接,外壳的内侧滑动连接有若干个活动板,活动板指向中心轴的一侧设置有用于与配合齿啮合的齿牙;中心轴、外壳与两个密封共同围成密封空间,密封空间中用于填充流体,风力发电机常态为恒矩传动,变矩联轴器用活动板与配合齿啮合保其可靠低损;仅发电机超温且叶片高转速时,控制活动板远离配合齿,借密封空间流体传力,实现变矩并保障安全运行。

筒型構造物、及び筒型構造物の製造方法

NºPublicación:  JP2025187197A 25/12/2025
Solicitante: 
日本製鉄株式会社
JP_2025187197_PA

Resumen de: JP2025187197A

【課題】製造が容易な風力発電装置用の筒型構造物、及びその製造方法を提供する。【解決手段】本開示の一態様に係る筒型構造物は、風力発電装置用の筒型構造物であって、筒型構造物の長手方向に並べられた、筒状の複数の胴部と、筒型構造物の周方向に延在し且つ複数の胴部の端部を接合する溶接継手である周継手と、を備え、胴部は、筒状に配された複数の鋼板と、筒型構造物の長手方向に延在し且つ鋼板の端部を接合する溶接継手である長手継手とを有し、長手継手及び周継手は、その交点において略十字形状をなす。【選択図】図1

設置方法

NºPublicación:  JP2025188084A 25/12/2025
Solicitante: 
日鉄エンジニアリング株式会社
JP_2025188084_PA

Resumen de: JP2025188084A

【課題】洋上風車用ジャケット構造体を台船の上に寝かせて配置することができる、洋上風車用ジャケット構造体の設置方法を提供することを目的とする。【解決手段】洋上風車用ジャケット構造体1を台船Sに寝かせて配置する配置工程、を備えることを特徴とする。【選択図】図1

アンカリング方法および装置

NºPublicación:  JP2025542188A 25/12/2025
Solicitante: 
インタームーアインコーポレイテッド
JP_2025542188_PA

Resumen de: US2024208614A1

The present invention relates to apparatus and a method of embedding a plate anchor. The method comprises providing a plurality of embedment modules each of which is suitable for embedding a plate anchor within a different type of soil. The method comprises determining the type of soil of a seabed at a target site and selecting an embedment module based on the type of soil at the target site. The embedment module is removably mounted within a modular follower assembly. The modular follower assembly is deployed from a vessel and the embedment module is actuated to drive the plate anchor into the seabed. The modular follower assembly is then retrieved to the vessel. The modular follower assembly is reconfigured to provide the modular follower assembly with different embedment modules for a subsequent deployment and to embed further plate anchors within different soil types.

洋上発電プラントにより発生される電力を管理する為の浮体式サブステーション及び分配方法

NºPublicación:  JP2025542356A 25/12/2025
Solicitante: 
サイペムエスピーアー
JP_2025542356_PA

Resumen de: WO2024134421A1

A floating substation for managing electrical power generated by an offshore wind power production plant has a floating platform (11) comprising a hull (12) configured to receive a hydrostatic force from the bottom upwards, and an open-air main deck (13), which is directly supported by the hull (12); and an electrical power management unit (14), which is arranged on the main deck (13) and is configured to receive electrical power from the wind power production plant (2) via at least one electric inlet cable (5), to transform the voltage of the received electrical power, and to supply the transformed electrical power to a remote station (7) via at least one electric outlet cable (6).

電動車両のモジュール式電池

NºPublicación:  JP2025542394A 25/12/2025
Solicitante: 
ドライブエレクトロエスエー
JP_2025542394_PA

Resumen de: CN120359140A

The invention relates to a power supply for electric vehicles and can be used in the transportation industry. The aim of the invention is to reduce the risk of damage to electronic components of an electric vehicle during operation of a modular battery (100, 200, 300, 400). This object is achieved by a modular battery (100, 200, 300, 400) of an electric vehicle in that a control unit (110, 210, 310, 410) enables execution of traction motor inverter capacitor pre-charge logic.

油圧シリンダの制御方法および油圧回路

NºPublicación:  JP2025186636A 24/12/2025
Solicitante: 
ゼファー株式会社
JP_2025186636_PA

Resumen de: JP2025186636A

【課題】停電等による危急停止時においても確実にブレードピッチをフェザリング位置に保持可能な油圧シリンダの制御方法を提供する。【解決手段】風力発電装置のブレードピッチを変更する油圧シリンダの制御方法であって、油圧シリンダの第一室と第二室が、バイパス弁により開閉可能なバイパス流路により接続されており、ブレードピッチは、シリンダロッドの変位が最大となるときにフェザリング位置に移動して発電を停止し、シリンダロッドの変位が減少してフェザリング位置から離れると発電を開始し、シリンダロッドは、バネの弾性力により変位を増大させる方向に付勢され、油圧ポンプからアキュームレータに蓄圧された油圧によって作動油が第一絞り弁/第二絞り弁を経て第一室/第二室に圧入されることにより変位が減少/増大するように構成され、発電停止工程において、バイパス弁を開いて油圧シリンダの第一室と第二室を連通させる油圧シリンダの制御方法。【選択図】図1

SYSTEM AND METHOD FOR PROCESSING MAGNET ELEMENTS OF A WIND TURBINE GENERATOR COMPONENT

NºPublicación:  EP4666376A1 24/12/2025
Solicitante: 
SIEMENS GAMESA RENEWABLE ENERGY AS [DK]
Siemens Gamesa Renewable Energy A/S
CN_120937229_PA

Resumen de: WO2024213338A1

A system configured to process magnet elements (10) of a wind turbine generator component (200) is provided. Each magnet element (10) comprises one or more permanent magnet blocks (15). The system comprises a first processing stage (101) comprising an extraction system (20) configured to extract one or more magnet elements (10) from the wind turbine generator component (200). It further comprises a second processing stage (102) comprising a demagnetization system (40) configured to demagnetize extracted magnet elements (10). The system further includes a transport system (80) configured to transport extracted magnet elements (10) between the at least two processing stages (101, 102). The system (100) is configured to automatically process different magnet elements (10) of the wind turbine generator component (200) by extracting a magnet element (10) by means of the extraction system (20), transporting the extracted magnet element (10) to the demagnetization system (40) by means of the transport system (80), and demagnetizing the magnet element (10) by means of the demagnetization system (40).

PROTECTIVE LAYER FORMATION APPARATUS

NºPublicación:  EP4667121A1 24/12/2025
Solicitante: 
MITSUBISHI HEAVY IND LTD [JP]
Mitsubishi Heavy Industries, Ltd
EP_4667121_PA

Resumen de: EP4667121A1

The purpose of the present invention is to reduce the occurrence of damage to a duct. This protective layer formation apparatus (100) is for forming a protective layer in a construction area on a front edge part of a tip section in a blade length direction of an FRP-made wind turbine blade body. The protective layer formation apparatus (100) is provided with: a booth (140) that surrounds a portion of the construction area in the blade length direction of the wind turbine blade body; a spraying unit that is disposed inside the booth (140) and forms the protective layer by spraying a construction material to the construction area; a booth moving mechanism that moves the booth (140) in the blade length direction (L1) of the wind turbine blade body; a dust collection device (160) that is disposed apart from the booth (140) and collects dust in the booth (140); and a flexible duct (161) that connects the booth (140) with the dust collection device (160).

CONTROL METHOD, DEVICE, AND SYSTEM FOR WIND TURBINE SET, AND STORAGE MEDIUM

NºPublicación:  EP4668033A1 24/12/2025
Solicitante: 
BEIJING GOLDWIND SCIENCE & CREATION WINDPOWER EQUIPMENT CO LTD [CN]
Beijing Goldwind Science & Creation Windpower Equipment Co. Ltd
EP_4668033_PA

Resumen de: EP4668033A1

The present disclosure provides a control method, device, and system for a wind turbine set, and a storage medium. The control method comprises: acquiring a preset value of a control parameter and a plurality of historical measurement signals of a wind turbine set in a historical time period; according to the preset value and the plurality of historical measurement signals, determining an estimated distribution parameter of a control signal at a current moment; and determining the control signal at the current moment according to the estimated distribution parameter of the control signal at the current moment.

AN OFFSHORE WIND TURBINE FOUNDATION AND A METHOD FOR INSTALLING AN OFFSHORE WIND TURBINE FOUNDATION

NºPublicación:  EP4667661A1 24/12/2025
Solicitante: 
RAMBOELL DANMARK AS [DK]
Ramb\u00F8ll Danmark A/S
EP_4667661_PA

Resumen de: EP4667661A1

Disclosed is an offshore wind turbine foundation (6) comprising, a connection interface (7) arranged at the top of the offshore wind turbine foundation (6), wherein the connection interface (7) comprises connection means (8) arranged for connecting a wind turbine tower (2) or a transition piece (9) to the offshore wind turbine foundation (6). The offshore wind turbine foundation (6) further comprises three or more ballast containers (10) arranged at the bottom of the offshore wind turbine foundation (6), wherein each of the three or more ballast containers (10) comprises a floor (11) and at least one sidewall (12) protruding in the direction of the connection interface (7) from the floor (11), so that a container opening (13) is formed at the top end of the at least one sidewall (12). The offshore wind turbine foundation (6) also comprises ballast material (16) arranged in each of the three or more ballast containers (10), and a lattice structure (14) interconnecting the three or more ballast containers (10) and the connection interface (7), wherein the three or more ballast containers (10) are arranged outside a horizontal outer perimeter of the lattice structure (14).A method for installing an offshore wind turbine foundation (6) on a seabed (27) is also disclosed.

A METHOD AND A KIT FOR INSTALLING AT LEAST ONE DAMPER UNIT IN A TOWER SECTION OF A WIND TURBINE

NºPublicación:  EP4665971A1 24/12/2025
Solicitante: 
VESTAS WIND SYS AS [DK]
VESTAS WIND SYSTEMS A/S
US_2025188908_PA

Resumen de: US2025188908A1

A method for installing at least one damper unit in a tower section of a wind turbine tower is disclosed. The tower section is arranged with its centre axis in a substantially horizontal orientation, and a guiderail is introduced into the tower section. A trolley is mounted on a part of the guiderail extending out of the tower section, the damper unit is mounted on the trolley, and the trolley with the damper unit is moved along the guiderail to a position inside the tower section. The damper unit is positioned in an installation position being vertically offset from the centre axis of the tower section, wherein the positioning comprises elevating the damper unit, and the damper unit is attached to the tower section at the installation position.

SYSTEMS AND METHODS FOR MONITORING WIND TURBINES USING WIND TURBINE COMPONENT VIBRATION DATA

NºPublicación:  EP4665974A1 24/12/2025
Solicitante: 
UTOPUS INSIGHTS INC [US]
Utopus Insights, Inc
CN_120981657_PA

Resumen de: WO2024173878A1

An example method includes receiving time-series vibration data for multiple components of multiple wind turbines. Based on the time-series vibration data, multiple groups of wind turbines are defined, as well as first and second vibration thresholds for each group. Time-series vibration data for a component of a particular wind turbine is received. A particular group that includes the particular wind turbine, as well as particular first and second vibration thresholds are identified. A vibration of the component has exceeded the particular first vibration threshold is determined. A forecast of at least one of a period of time before the vibration may exceed the particular second vibration threshold and a future date at which the vibration may exceed the particular second vibration threshold is generated. An alert that includes the particular wind turbine and at least one of the period of time and the future date is generated and provided.

FLUID COOLED HEAT PIPE THERMAL MANAGEMENT SYSTEM FOR AN ELECTRIC MOTOR

NºPublicación:  EP4666370A1 24/12/2025
Solicitante: 
UNIV MARQUETTE [US]
Marquette University
WO_2024173848_A1

Resumen de: WO2024173848A1

An electrical machine includes a stator comprising a plurality of windings, each of the windings comprising a first plurality of legs connected to a second plurality of legs to form a coil configuration, each of the legs in the first plurality of legs and each of the legs in the second plurality of legs comprising a duct extending from a first end to a second end of a length portion of the leg; a rotor including a plurality of permanent magnets; and power electronics, the power electronics providing an AC power supply to the stator causing the rotor to rotate. A fluid cooled chamber extends between the power electronics and the stator, the fluid cooled chamber comprising a plurality of heat pipes coupled the stator and/or the power electronics.

NEW-TYPE DISPLACEMENT PLANETARY CARRIER SYSTEM, AND PLANETARY TRANSMISSION DEVICE COMPRISING SAME

NºPublicación:  EP4667784A1 24/12/2025
Solicitante: 
AICI PREC SHENZHEN CO LTD [CN]
AICI Precision (Shenzhen) Co., Ltd
EP_4667784_PA

Resumen de: EP4667784A1

Disclosed in the present invention are a new-type displacement planetary carrier system and a planetary transmission device comprising same. The displacement planetary carrier system comprises an elastic planetary carrier, a wedging slider and a wedging depth adjustment mechanism, wherein the wedging slider gradually shrinks in cross section in a wedging direction, has a side surface in contact with the elastic planetary carrier, and has one end surface in contact with the wedging depth adjustment mechanism; the elastic planetary carrier is provided with multiple staggered notches, each of which is provided with a wedge slot for the wedging slider to be embedded therein; and the wedging depth adjustment mechanism is an adjustment bolt/nut or an elastic element mounted on the elastic planetary carrier or on the wedging slider to exert a wedging force to the wedging slider. In the planetary transmission device, the wedging slider is wedged to enlarge the circumference of the planetary carrier to increase the radius of revolution of a planetary gear, such that the planetary gear moves toward an inner gear ring to compress the side clearance between the planetary gear and the inner gear ring, so as to reduce the back clearance of planetary transmission.

Air-tight platform

NºPublicación:  GB2641929A 24/12/2025
Solicitante: 
EQUINOR ASA [NO]
Equinor ASA
GB_2641929_PA

Resumen de: GB2641929A

A platform 100 for providing a watertight seal in an offshore wind turbine tower. The tower includes a foundation pile 300 and transition piece 200. The platform 100 comprises a platform main body 10 providing a platform surface having a periphery and at least one flap 30 surrounding the main body and pivotally connected to the main body 10. The body 10 also comprises a seal member 20 providing a peripheral portion 22 surrounding the periphery of the main body 10 and attached to the or each flap 30. The at least one flap 30 is configured to be pivoted relative to the platform main body 10 so as to move the peripheral portion 22 from a transport position where the platform 100 has a first diameter to an installation position where the platform 100 has a second diameter greater than the first diameter. A transition piece 200 for the platform 100 and a method for installing the platform 100 are also claimed.

Offshore substation

NºPublicación:  GB2641896A 24/12/2025
Solicitante: 
AKER SOLUTIONS AS [NO]
Aker Solutions AS
GB_2641896_PA

Resumen de: GB2641896A

An offshore substation 1 comprises: a foundation, such as a gravity-based structure 2, arranged on a seabed and extending above a sea level 3, a deck 8 provided above and supported by the foundation, the deck having electrical equipment units 10 arranged thereon, and a cable hang-off system 14 provided in a cavity 5 within the foundation. There is also provided a method of installing an offshore substation, comprising installing a gravity-based structure to a seabed; connecting a deck having at least two transformer modules 12 and a gas insulated switchgear module 11 to the gravity-based structure, lowering pre-installed power cables 13 into a cavity of the gravity-based structure; and connecting the power cables to import and/or export cables supported in a cable hang-off system. The gas insulated switchgear module may be provided between the heavier transformer modules in a rotationally symmetrical arrangement to ensure a balanced weight distribution and maintain the centre of gravity of the deck above the foundation.

VIBRATION CONTROL DEVICE

NºPublicación:  EP4667772A1 24/12/2025
Solicitante: 
TOTALENERGIES ONETECH [FR]
ECOLE CENTRALE MARSEILLE [FR]
CENTRE NAT RECH SCIENT [FR]
UNIV AIX MARSEILLE [FR]
TotalEnergies OneTech,
Ecole Centrale de Marseille,
Centre National de la Recherche Scientifique,
Universit\u00E9 d'Aix-Marseille
EP_4667772_PA

Resumen de: EP4667772A1

Vibration control device (1) configured to dampen vibrations in an elongated structure, the vibration control device (1) comprising:- a support structure (2) configured to be anchored to the elongated structure,- a rotating frame (3) rotatably mounted on the support structure (2) around a first axis A1, and- a linear spring dashpot (6) comprising a first end (61) that is pivotably attached to the support structure (2) around a second axis A2 and a second end (62) pivotably attached to the rotating frame (3) around a third axis A3,wherein the rotating frame (3) comprises a mass (M) distant from said first axis A1, said linear spring dashpot (6) is configured to exert a force to bring said mass to a rest position such that the mass oscillates around the rest position about the first axis A1 when the vibration control device is biased by a vibration.

Gleitlager, Windkraftanlage und Verfahren zur Montage eines Lagersegments eines Gleitlagers

NºPublicación:  DE102024117369A1 24/12/2025
Solicitante: 
SCHAEFFLER TECHNOLOGIES AG [DE]
Schaeffler Technologies AG & Co. KG
DE_102024117369_PA

Resumen de: DE102024117369A1

Ein Gleitlager (1), insbesondere in einer Windkraftanlage (10), umfasst ein Lagergehäuse (2) und ein Lagersegment (3), wobei das Lagergehäuse (2) eine Öffnung (4) aufweist, welche derart dimensioniert ist, dass das Lagersegment (3) ausschließlich in definierter Orientierung durch die Öffnung (4) einführbar ist, und wobei das Lagersegment (3) derart hinter der Öffnung (4) positioniert ist, dass die Öffnung (4) teilweise durch das Lagersegment (3) abgedeckt ist und einander diametral gegenüberliegende Abschnitte (5, 6) des Lagersegments (3) am Lagergehäuse (2) abgestützt sind.

Wind turbine mounting kits for telecommunication structures and related assemblies

NºPublicación:  GB2641973A 24/12/2025
Solicitante: 
OUTDOOR WIRELESS NETWORKS LLC [US]
Outdoor Wireless Networks LLC
GB_2641973_PA

Resumen de: GB2641973A

The present application is directed to an antenna assembly. The antenna assembly includes a telecommunications structure; a plurality of antennas mounted to the telecommunications structure; and a plurality of wind turbines mounted to the telecommunications structure by a mounting kit, the plurality of wind turbines positioned a distance below the plurality of antennas. Mounting kits for mounting wind turbines to a telecommunications structure are also described herein.

A WIND TURBINE TOWER WITH A PLURALITY OF VORTEX GENERATORS

NºPublicación:  EP4667742A2 24/12/2025
Solicitante: 
NORDEX ENERGY SPAIN SAU [ES]
Nordex Energy Spain S.A.U
EP_4667742_PA

Resumen de: EP4667742A2

A wind turbine tower comprising a longitudinal axis, an outer surface and a plurality of vortex generators attached to the outer surface, wherein• each vortex generator comprises at least one fin arranged substantially perpendicular to the outer surface and having a fin length and a fin height,• the wind turbine tower in a first height section is provided with a plurality of the vortex generators in a first pattern having a first vortex generator density, and in a second height section is provided with a plurality of the vortex generators in a second pattern having a second vortex generator density, wherein the vortex generator densities are defined in terms of the total number of vortex generators per height unit, and• the first vortex generator density is higher than the second vortex generator density.

FLOATING OFFSHORE STRUCTURE AND FLOATING OFFSHORE POWER GENERATION APPARATUS HAVING SAME

NºPublicación:  EP4667346A1 24/12/2025
Solicitante: 
HYUN DAI HEAVY IND CO LTD [KR]
Hyundai Heavy Industries Co., Ltd
EP_4667346_A1

Resumen de: EP4667346A1

A floating offshore structure of the present disclosure includes: a plurality of columns; and a plurality of pontoons installed at lower ends of the columns, respectively, wherein a polygonal shape is formed by an imaginary line connecting the columns, the pontoons are installed inside the polygonal shape, a cross-sectional area in a direction parallel to sea level of the pontoons is greater than or equal to the cross-sectional area in the direction parallel to the sea level of the columns, and the pontoons may have a shape protruding outward at the lower ends of the columns.

WIND POWER PLANT

NºPublicación:  EP4667739A1 24/12/2025
Solicitante: 
DEUTSCH ZENTR LUFT & RAUMFAHRT [DE]
Deutsches Zentrum f\u00FCr Luft- und Raumfahrt e.V
EP_4667739_PA

Resumen de: EP4667739A1

Die Erfindung betrifft eine Windkraftanlage mit einer Rotornabe und mit mindestens einem Rotorblatt, dessen Blattwurzel mit einer Befestigungsanordnung an einem Lagerring eines Rotorblattlagers der Rotornabe befestigt oder befestigbar ist, sodass mittels des Rotorblattlagers durch Drehung des Lagerrings gegenüber der Rotornabe das Rotorblatt relativ zu der Rotornabe um seine Längsachse drehbar ist, dadurchgekennzeichnet, dassa. die Befestigungsanordnung eine Mehrzahl von Befestigungsgarnituren aufweist,b. wobei jede Befestigungsgarnitur mindestens einen ersten Querbolzen, mindestens einen zweiten Querbolzen und wenigstens eine Befestigungslasche mit mindestens einer ersten Laschenöffnung und mindestens einer zweiten Laschenöffnung hat, undc. wobei bei jeder Befestigungsgarnitur der wenigstens eine erste Querbolzen quer zur Längsachse des Rotorblattes durch eine erste Bolzenöffnung im Lagerring sowie durch die erste Laschenöffnung der Befestigungslasche und der zweite Querbolzen quer zur Längsachse des Rotorblattes durch eine zweite Bolzenöffnung in der Blattwurzel des Rotorblattes sowie durch die zweite Laschenöffnung geführt ist.

SEGMENTED ROTOR BLADE FOR WIND TURBINE

NºPublicación:  EP4667740A1 24/12/2025
Solicitante: 
DEUTSCH ZENTR LUFT & RAUMFAHRT [DE]
Deutsches Zentrum f\u00FCr Luft- und Raumfahrt e.V
EP_4667740_PA

Resumen de: EP4667740A1

Die Erfindung betrifft ein segmentiertes Rotorblatt für Windkraftanlagen mit mindestens zwei Blattsegmenten, wobei jedes Blattsegment mindestens ein innenliegendes Holmelement aufweist, wobei das erste Holmelement und das zweite Holmelement an der Fügestelle mit ihren Stirnseiten mittels einer Verbindungsanordnung aneinandergefügt sind, wobei die Verbindungsanordnung eine Mehrzahl von Verbindungsgarnituren aufweist, die jeweils die Holmelemente miteinander verbinden, wobei jede Verbindungsgarnitur einen ersten Querbolzen, einen zweiten Querbolzen und wenigstens eine Verbindungslasche umfasst, die an ihren Enden eine erste Laschenöffnung und eine zweite Laschenöffnung aufweist, und wobei bei jeder Verbindungsgarnitur der erste Querbolzen quer zur Längsrichtung des Rotorblattes durch eine Holmöffnung im ersten Holmelement sowie die erste Laschenöffnung der Verbindungslasche und der zweite Querbolzen quer zur Längsrichtung des Rotorblattes durch eine Holmöffnung im zweiten Holmelement sowie die zweite Laschenöffnung der Verbindungslasche geführt ist, sodass die Verbindungslasche die Holmelemente miteinander verbindet. Erfindungsgemäß ist vorgesehen, dass zumindest einer der Querbolzen einer Verbindungsgarnitur als axiales Vorspannelement ausgebildet ist, welches im eingesetzten Zustand eine rotorblattbezogene axiale Vorspannung auf die wenigstens eine Verbindungslasche der Verbindungsgarnitur derart ausübt, dass die Stirnseiten der Holmelemente aneinander gepresst

METHOD FOR MANUFACTURING A SEGMENTED TUBULAR TOWER, SEGMENTED TUBULAR TOWER AND WIND TURBINE

NºPublicación:  EP4665972A1 24/12/2025
Solicitante: 
SIEMENS GAMESA RENEWABLE ENERGY INNOVATION & TECHNOLOGY SL [ES]
Siemens Gamesa Renewable Energy Innovation & Technology S.L
CN_120917227_PA

Resumen de: WO2024213342A1

A method for manufacturing a segmented tubular tower section (100) is provided. The method comprises following steps: • Providing at least two steel sheets at a manufacturing site, • drilling two pairs of parallel rows of holes (12) along each of the two vertical division lines (10) of each of the two steel sheets, whereas each pair of the two parallel rows (12) is drilled such that each corresponding vertical division line (10) is arranged between the corresponding pair of the two parallel rows (12), • cutting the at least two steel sheets along the two vertical division lines (10) to form two vertical segments (14), and • connecting the two vertical segments (14) with one another to rebuild each of the two vertical division lines (10) between the two vertical segments (14) at a building site using a plurality of connection means (20) to form the segmented tubular tower section (100).

CLAMPING ASSEMBLY

NºPublicación:  EP4665970A1 24/12/2025
Solicitante: 
SIEMENS GAMESA RENEWABLE ENERGY AS [DK]
Siemens Gamesa Renewable Energy A/S
CN_121039389_PA

Resumen de: TW202449289A

Clamping assembly (3) for clamping a handling device to a wind turbine blade (1), preferably to a root section (4) of a wind turbine blade (1), the clamping assembly (3) comprising: an inner ring (5), a first outer clamping ring (6) and a second outer clamping ring (7) arranged respectively on a first side (8) and on a second side (9) of the inner ring (5) in an axial direction (Y) of the inner ring (5), wherein the first outer clamping ring (6) and the second outer clamping ring (7) are clampable on an outer surface (2) of the wind turbine blade (1), and locking means (18) for locking the inner ring (5) with the first outer clamping ring (6) and the second outer clamping ring (7).

SEMI-SUBMERSIBLE FLOAT FOR AN OFFSHORE WIND TURBINE AND METHOD FOR CONSTRUCTING SUCH A FLOAT

NºPublicación:  EP4665641A1 24/12/2025
Solicitante: 
SAIPEM SA [FR]
SAIPEM S.A
KR_20250152610_PA

Resumen de: CN120603757A

The invention relates to a semi-submersible float (2-1), in particular for offshore wind turbines, comprising four struts comprising a central column (4) for receiving a wind turbine mast (6), and at least three outer columns (8) connected by branches to the central column to form a lower buoy (10). The float does not have an upper branch connecting the central column and the outer column, and the outer column and the lower pontoon are each assembled from planar panels (81-86, 101-104) and each have a polyhedral cross-section. The invention also relates to a method for constructing the floater.

A ROTOR BLADE, NOISE REDUCTION MEANS FOR A ROTOR BLADE, AND METHOD FOR REDUCING NOISE FOR A ROTOR BLADE

NºPublicación:  EP4665968A1 24/12/2025
Solicitante: 
MUTECH B V [NL]
Mutech B.V
DE_202024105392_PA

Resumen de: WO2024172655A1

A wind turbine rotor blade comprises an aerodynamic structure, for reducing noise, provided at the trailing-edge section, wherein the aerodynamic structure has a plurality of pressure communication channels between the suction-side surface and the pressure-side surface. At least one of the plurality of pressure communication channels may be provided with a hourglass channel configuration (HGCC), wherein the HGCC is formed by having a first surface area formed on the suction-side surface and having a first size; a second surface area formed on the pressure-side surface and having a second size; and a third minimal surface area having a third size formed within the pressure communication channel and located between the first surface are and the second surface area. The third size is smaller than the first size and the second size.

A HYDRAULIC ACTUATOR AND A METHOD

NºPublicación:  EP4665985A1 24/12/2025
Solicitante: 
AMPELMANN HOLDING B V [NL]
Ampelmann Holding B.V
WO_2024172650_PA

Resumen de: WO2024172650A1

A hydraulic actuator for moving a gangway, comprising a cylinder and a cylindrical shaft protruding into a cylinder interior. The cylindrical shaft has an annular shaped partitioning element defining a hydraulically controlled primary and secondary chamber for moving said cylindrical shaft. The cylindrical shaft further protrudes into a hydraulically controlled tertiary chamber such that upon pressurizing the tertiary chamber the cylindrical shaft tends to move.

SEPARATION SYSTEM AND METHOD FOR PROCESSING MAGNET ELEMENTS OF A WIND TURBINE GENERATOR COMPONENT

NºPublicación:  EP4666375A1 24/12/2025
Solicitante: 
SIEMENS GAMESA RENEWABLE ENERGY AS [DK]
Siemens Gamesa Renewable Energy A/S
CN_120937227_PA

Resumen de: WO2024213293A1

A separation system configured to process magnet elements (10) extracted from a wind turbine generator component is provided. Each magnet element (10) comprises at least one permanent magnet block (15) and an enclosure (11, 17) or support. The separation system (100) comprises a transport system (50) configured to transport a magnet element (10) to a separation device (20), and the separation device (20) configured to separate the at least one permanent magnet block (15) from the enclosure (11, 17) or support of the 15 magnet element (10). The separation system (100) is configured to receive and to process automatically and consecutively plural magnet elements (10).

BEARING UNIT AND WIND TURBINE HAVING A BEARING UNIT

NºPublicación:  EP4665967A1 24/12/2025
Solicitante: 
THYSSENKRUPP ROTHE ERDE GERMANY GMBH [DE]
THYSSENKRUPP AG [DE]
thyssenkrupp rothe Erde Germany GmbH,
thyssenkrupp AG
CN_120958231_PA

Resumen de: WO2024170556A1

The invention relates to a bearing unit (1) for attaching a rotor blade to a hub (150) of a wind turbine, the unit comprising: a first bearing ring (2) for attachment to the hub (150); a second bearing ring (4) for attachment to the rotor blade; at least one row of rolling bodies (7, 8); and an adjustment drive (9) for adjusting the angle of the two bearing rings (2, 4) relative to one another; wherein the first bearing ring (2) is formed in one piece with a rotor hub extension (10) which extends on the hub side in the axial direction (A) beyond the second bearing ring (4), wherein the adjustment drive (9) comprises at least one electric adjustment motor (11) and a shaft (12) which is driven by the adjustment motor (11) and has a drive pinion (13) which meshes with toothing (14) formed on the inside of the first bearing ring (2), wherein the adjustment motor (11) is arranged on the blade side on a reinforcing plate (15) mounted on the second bearing ring (4) and the shaft (12) extends through an eccentrically arranged recess (16) in the reinforcing plate (15). The invention also relates to a wind turbine having such a bearing unit.

DRIVE ASSEMBLY FOR A WIND TURBINE

NºPublicación:  EP4665973A1 24/12/2025
Solicitante: 
ZAHNRADFABRIK FRIEDRICHSHAFEN [DE]
ZF WIND POWER ANTWERPEN NV [BE]
ZF Friedrichshafen AG,
ZF Wind Power Antwerpen NV
CN_120548414_PA

Resumen de: CN120548414A

The invention relates to a drive arrangement for a wind turbine, comprising: a rotor shaft arrangement (103, 105), which consists of a rotor shaft (103) and a planet carrier (105), which is connected to the rotor shaft (103) in a rotationally fixed manner; a first bearing device (107); a second bearing arrangement (109); a housing arrangement (111, 115), which consists of a transmission housing (115) and one or more torque supports (111), which are fixed in the transmission housing (115) in a rotationally fixed manner; and a mechanism (201) fixed relative to the pod, the rotor shaft arrangement (103, 105) being mounted in the mechanism (201) fixed relative to the pod by means of a first bearing arrangement (107) and in the transmission housing (115) by means of a second bearing arrangement (109). The first bearing arrangement (107) is designed as a fixed bearing, and the one or more torque supports (111) are fixed in an axially movable manner in a mechanism (201) that is fixed relative to the pod.

METHOD FOR DETECTING AN UNBALANCE OF THE MASS OF AN AERODYNAMIC ROTOR OF A WIND TURBINE

NºPublicación:  EP4667743A1 24/12/2025
Solicitante: 
WOBBEN PROPERTIES GMBH [DE]
Wobben Properties GmbH
EP_4667743_PA

Resumen de: EP4667743A1

Die Erfindung betrifft ein Verfahren zum Erfassen einer Massenunwucht eines mehrere Rotorblätter aufweisenden Rotors einer Windenergieanlage, wobei die Rotorblätter in ihrem Blattwinkel verstellbar sind und eine Drehposition des Rotors als Rotorposition erfassbar ist, umfassend die Schritte: Betreiben der Windenergieanlage in einem Testbetrieb, in dem die Rotorblätter in eine einer Fahnenstellung ähnliche Testfahnenstellung gestellt werden, die von der Fahnenstellung um nicht mehr als einen Testwinkel abweicht und die Windenergieanlage keine Leistung erzeugt, Ermitteln wenigstens einer Stoppposition, in der der Rotor in dem Testbetrieb stehen bleibt, oder um die er auspendelt, und Ermitteln einer Unwuchtwinkelposition aus der wenigstens einen Stoppposition.

METHOD FOR UPDATING AN ENTITY OF A WIND FARM AND SYSTEM THEREOF

NºPublicación:  EP4668104A1 24/12/2025
Solicitante: 
WOBBEN PROPERTIES GMBH [DE]
Wobben Properties GmbH
EP_4668104_PA

Resumen de: EP4668104A1

Die Erfindung betrifft ein Verfahren zum Aktualisieren mindestens einer Einheit (22), insbesondere einer Windenergieanlage (100), mindestens eines von mehreren Windparks (14), mit einer außerhalb des Windparks (14) angeordneten Aktualisierungseinrichtung, wobei die Aktualisierungseinrichtung eingerichtet ist, eine Datenverbindung mit mehreren Windparks (14) aufzubauen. Das Verfahren umfasst ein Bereitstellen einer Datenbank (34), ein Empfangen einer Auswahl mindestens einer Einheit (22) aus der Datenbank (34) durch die Aktualisierungseinrichtung, ein Zusammenstellen eines Pakets für den Windpark (14), ein Übertragen des Pakets durch die Aktualisierungseinrichtung von der Aktualisierungseinrichtung in den Windpark (14) mit der Einheit (22) oder die Einheit (22) der Auswahl. Das Verfahren umfasst ferner ein Ausgeben einer Information nach Fertigstellung der Übertragung durch die Aktualisierungseinrichtung, ein Warten auf den Empfang einer Genehmigung zur Ausführung der Aktualisierung, ein Ausführen der Aktualisierung nach Empfang einer Genehmigung, ein Empfangen einer Bestätigung über eine erfolgreiche Aktualisierung und ein Speichern eines Indikators über die erfolgreiche Aktualisierung in der Datenbank (34).Die Erfindung betrifft ferner ein System (10) zum Aktualisieren mindestens einer Einheit (22) eines Windparks (14).

WIND TURBINE BLADE SHELL WITH IMPROVED LOAD DISTRIBUTION

NºPublicación:  EP4667738A1 24/12/2025
Solicitante: 
LM WIND POWER AS [DK]
LM Wind Power A/S
EP_4667738_PA

Resumen de: EP4667738A1

The present invention provides wind turbine blade shell portions for different portions of a wind turbine blade, having spar caps that improve the load distribution in the blade. One aspect provides to a wind turbine blade root portion having a leading edge (18) and a trailing edge (20), the root portion extending between a root end (52) and a first end (53) along a longitudinal axis (54) of the root portion, wherein the root end is configured for attaching the wind turbine blade shell portion to a wind turbine rotor hub, and wherein the root portion comprises a spar cap (540, 1240) having a first outermost edge (41) facing the leading edge of the blade shell portion and a second outermost edge (42) facing the trailing edge of the blade shell portion, wherein the spar cap has a first width W<sub>1</sub> at a first longitudinal position P<sub>1</sub> of the root portion and a second width W<sub>2</sub> at a second longitudinal position P<sub>2</sub> of the root portion, wherein the first longitudinal position is closer to the root end (52) than the second longitudinal position, and wherein the first width is larger than the second width. Additional aspects are also provided.

JETSTREAM POWER GENERATING SYSTEM

NºPublicación:  EP4666144A1 24/12/2025
Solicitante: 
HASTINGS GREGORY HOWARD [US]
HARTSHORNE DAVID JOHN [GB]
ALLEN JOHN ROSS [US]
GLUCK DALE RICHARD [US]
Hastings, Gregory Howard,
Hartshorne, David John,
Allen, John Ross,
Gluck, Dale Richard
JP_2025537521_PA

Resumen de: CN120167056A

The invention relates to a jet power generation system. The system is configured to use energy of the jet force in the field as a power generation infrastructure. The system includes: an aerial element configured to withstand a lift when flying in a jet; a winch drum; a tether coupled between the aerial element and the winch drum; an arc-shaped guide rail; the kite tracker is mounted on the guide rail in a displaceable manner; a conversion unit coupled to the winch drum; a plurality of accumulators configured to be in fluid communication with the conversion unit; and a generator. The kite tracker is configured to guide the tether to rotate the capstan drum in a first direction with a force equal to a lift force to facilitate payout of the tether, and to rotate the capstan drum in a second direction when the tether is rolled up.

FLOATING WIND TURBINE FOUNDATION

NºPublicación:  EP4665644A1 24/12/2025
Solicitante: 
ODFJELL OCEANWIND AS [NO]
Odfjell Oceanwind AS
KR_20250172554_PA

Resumen de: AU2024223226A1

The present invention relates to an offshore floating wind turbine foundation comprising at least two outer members arranged around a tower comprising a rotor- nacelle assembly with blades, wherein a number of pair of beams connect the center buoy and said at least two outer members, a pair of beams tapers from the tower towards each of said at least two outer members.

WIND TURBINE ROTOR, WIND TURBINE ROTOR MODULE, WIND PANEL WITH THE WIND TURBINE ROTOR MODULE, METHOD FOR MANUFACTURING THE WIND TURBINE ROTOR

NºPublicación:  EP4665969A1 24/12/2025
Solicitante: 
VP SYSTEM SP Z O O [PL]
VP System SP z o.o
CN_120958233_PA

Resumen de: MX2025009667A

The subject-matter of the invention is a wind turbine rotor (1) for the wind turbine with a vertical axis of rotation, the rotor comprising a plurality of rotor blades (2) equally spaced from one another. The rotor is essentially in the shape of a longitudinally pleated tube, whose pleats are blades (2), and each blade (2) is formed by a shorter wall (3) and a longer wall (4), with said shorter walls (3) and longer walls (4) of the blades (2) defining an inner space (14) of the wind turbine rotor (1), and the cross-section of the rotor (1) forms a closed figure. The subject-matter of the invention is also a wind turbine rotor (1) module com prising the wind turbine rotor (1) of the invention and a wind panel comprising at least three wind turbine rotor (1) modules of the invention. Further, the subject-matter of the invention is a method for manufacturing the wind turbine rotor (1) of the invention.

EXTRACTION SYSTEM AND METHOD FOR EXTRACTING MAGNET ELEMENTS

NºPublicación:  EP4666377A1 24/12/2025
Solicitante: 
SIEMENS GAMESA RENEWABLE ENERGY AS [DK]
Siemens Gamesa Renewable Energy A/S
CN_120937228_PA

Resumen de: WO2024213358A1

Extraction system and method for extracting magnet elements An extraction system configured to extract one or more magnet elements (10) from a wind turbine generator component (200) is provided. The wind turbine generator component (200) comprises plural rows (220) of magnet elements (10), each row (220) comprising one or more magnet elements (10). The extraction system (100) comprises an extraction device (20) comprising one or more actuators (25) and a support structure (50) that supports the wind turbine generator component (200) relative to the extraction device (20). The support structure (50) is configured to provide an alignment between the extraction device (20) and a row (220) of the wind turbine generator component (200). The system is configured to automatically extract, by means of the extraction device (20), one or more magnet elements (10) from the row (220) of the wind turbine generator component (200).

CONTROL SUPPORT SYSTEM FOR WIND POWER GENERATION APPARATUS AND CONTROL SUPPORT METHOD FOR WIND POWER GENERATION APPARATUS

NºPublicación:  EP4667741A1 24/12/2025
Solicitante: 
HITACHI LTD [JP]
Hitachi, Ltd
EP_4667741_PA

Resumen de: EP4667741A1

Provided are a control support system for a wind power generation apparatus and a control support method for a wind power generation apparatus capable of minimizing component damage and maximizing the power generation amount.A control support system 1 for a wind power generation apparatus is a control support system 1 for a wind power generation apparatus 101 including at least one wind power generation apparatus 101 and a calculation processing unit 104. The calculation processing unit 104 includes: a damage database creation unit 108 configured to create a database of a damage degree that is caused in the wind power generation apparatus 101 with respect to a wind-condition parameter; a calculation unit of damage degree per power generation amount 110 configured to calculate a damage degree per power generation amount based on wind-condition data and operation data of the wind power generation apparatus 101; an input unit 109 configured to receive input of a use period and a damage degree upper limit value of the wind power generation apparatus 101; and a calculation unit of wind speed threshold for each wind direction 112 configured to calculate a wind speed threshold for operating the wind power generation apparatus 101 for each wind direction based on the database 401 of the damage degree and the use period and the damage degree upper limit value of the wind power generation apparatus 101.

一种漂浮式海上风力发电设备

NºPublicación:  CN121180383A 23/12/2025
Solicitante: 
中国能源建设集团广西电力设计研究院有限公司
CN_121180383_PA

Resumen de: CN121180383A

本发明提出一种漂浮式海上风力发电设备,包括圆环形状的浮体与发电设备,所述发电设备至少设有一个,所述发电设备等角度的设于浮体上,所述浮体的内部为中空状的内腔,浮体的内腔安装有蓄电池,所述浮体漂浮在海面上,所述浮体的下方设有多个斜向的支撑杆,发明通过采用圆环形状的浮体与倒立圆台形的支撑结构,结合底部平衡块与链条连接,显著提高了漂浮式风力发电设备在海洋环境中的稳定性。浮体下方的斜向支撑杆与底座形成上宽下窄的圆台形状,能够有效分散风浪冲击力,降低设备倾斜风险。延长弧形辅助浮体的设置进一步增强了浮体的平衡性与抗倾覆能力。发电设备采用多层安装座与多叶片设计,可在不同高度捕获风能,提高发电效率。

控制方法、模块、风储一体机、介质及程序产品

NºPublicación:  CN121184294A 23/12/2025
Solicitante: 
远景能源有限公司
CN_121184294_PA

Resumen de: CN121184294A

本申请涉及风机技术领域,公开了一种风储一体机的控制方法、模块、风储一体机、介质及程序产品,控制方法包括:检测当前风速是否满足预设条件;所述预设条件包括所述当前风速超过风机的额定功率对应的风速;在所述当前风速满足所述预设条件的情况下,将所述风机的当前运行功率调整为预设功率;其中,所述预设功率高于所述额定功率。本申请实施例中,当检测到当前风速满足预设条件的情况下,将风机的当前运行功率调整为预设功率,从而提高风机对风能的利用效率,提高风机的发电效率。

用于风力机组的塔架健康状态评估方法及系统

NºPublicación:  CN121184313A 23/12/2025
Solicitante: 
新疆立新能源股份有限公司木垒新风风力发电有限公司哈密新风能源发电有限公司新疆锐风电力科技有限公司
CN_121184313_PA

Resumen de: CN121184313A

本发明涉及风机设备检测技术领域,具体而言,涉及用于风力机组的塔架健康状态评估方法及系统,采用本发明所提供的方案,包括获取在采集周期内传感器所采集的塔架的若干组数据,根据当前风机是否故障和运行状态分别生成第一计算权重和第二计算权重;根据第一目标图像和第二目标图像得到第三计算权重;基于第一计算权重、第二计算权重、第三计算权重和目标数据建立评价模型。通过上述方案可以对采集的数据进行实时的分析,结合机器学习算法,在复杂的环境下进行多种参数协同的评估,一方面避免人工训练的弊端,另一方面,多参数的分析提供最终的评估准确度。

洋上風力タービンプラットフォーム上にそれ自体を一時的に係留することを意図した浮体式介入船、関連する介入アセンブリ、及び施設

NºPublicación:  JP2025541752A 23/12/2025
Solicitante: 
テクニップエナジーズフランス
JP_2025541752_PA

Resumen de: TW202446669A

The vessel comprises a float (80) and an intervention assembly on the wind turbine, carried by the float (80). The float (80) comprises a buoyant body (86) and a fastening baseplate (88) protruding relative to the buoyant body (86) along a fastening axis (A-A') on a lower surface of the offshore wind turbine platform. The buoyant body (86) defines a ballast-receiving volume, the vessel comprising a ballast controller configured to control the amount of ballast received in the ballast-receiving volume to raise an upper contact surface (94) of the baseplate (88) to place it in contact with a lower surface of the offshore wind turbine platform, the float (80) being monohull.

無人自律技術を使用して風力タービンを検査するためのシステムおよび方法

NºPublicación:  JP2025541780A 23/12/2025
Solicitante: 
ゼネラルエレクトリックレノバブレスエスパーニャ,エセ.エレ.
JP_2025541780_PA

Resumen de: CN120457279A

A system for inspecting an offshore wind farm having one or more wind turbines includes an unmanned autonomous vessel. The unmanned autonomous vessel comprises a positioning module for navigating the unmanned autonomous vessel to a wind turbine of interest in an offshore wind farm and positioning the unmanned autonomous vessel in the vicinity of the wind turbine of interest, comprising one or more sensors for collecting local data relating to a wind turbine of interest, and a controller comprising at least one processor. The processor (s) is configured to implement a number of operations, including, for example, receiving local data from one or more sensors and transmitting the local data to a remote command center via a satellite communication link.

基于黎曼空间确定性退火的GNSS风电塔筒倾斜度监测方法

NºPublicación:  CN121186816A 23/12/2025
Solicitante: 
合肥星北智控科技有限公司
CN_121186816_PA

Resumen de: CN121186816A

本发明公开了基于黎曼空间确定性退火的GNSS风电塔筒倾斜度监测方法,按照如下步骤进行:预先采用GNSS载波相位观测值构建双差相位观测模型,并建立衡量观测值与理论值差异的残差函数(含塔筒基线倾斜角);引入确定性退火算法对该残差函数进行求解,在初始阶段设定较高的温度参数,然后逐步降温并在各温度水平下最小化残差函数,得到最优的塔筒基线倾斜角;将求得的倾斜角与初始倾斜角对比,计算出风电塔筒的倾斜度。在上述确定性退火算法中引入黎曼空间约束优化框架,在每一温度水平下将梯度投影到单位球面切空间并采用信任域进行迭代更新,从而改进解的几何一致性。本发明具有部署便捷,无系统误差等优势,具有广阔的应用前景。

一种节段式预制装配预应力风电塔筒及施工方法

NºPublicación:  CN121184306A 23/12/2025
Solicitante: 
西安建筑科技大学
CN_121184306_PA

Resumen de: CN121184306A

一种节段式预制装配预应力风电塔筒及施工方法,该塔筒由节段式预制预应力管片、环向连接螺栓、纵向连接螺栓和后浇混凝土四部分组成。其中,节段式预制预应力管片包括设置于内部并被预制混凝土包覆的钢筋笼、预埋管和弧形环向连接板,预埋管设置内设置无黏结预应力筋且两头外伸一定长度,管片顶底端设置纵向连接件。另外,还提供了该风电塔筒的施工方法。本发明中的节段式预制预应力管片提前在工厂预制且完成无黏结预应力筋的张拉操作,运输至施工现场后采用螺栓快速干式连接后仅在局部后浇少量混凝土即可完成风电塔筒的制作。本发明可明显提高风电塔筒结构的受力性能和施工效率,可明显缩减风电塔筒结构的材料用量与人力成本。

一种风电机组叶片除冰系统

NºPublicación:  CN121184319A 23/12/2025
Solicitante: 
国水集团化德风电有限公司三峡陆上新能源投资有限公司中国长江三峡集团有限公司
CN_121184319_PA

Resumen de: CN121184319A

本发明为风电技术领域,提出一种风电机组叶片除冰系统,包括:多个叶片和高压气泵,在每个叶片上按照预设排列方式设有多个超声波振动结构,多个超声波振动结构位于每个叶片具有的腔体内,在每个叶片的蒙皮内按照预设方式铺设能够弹性形变的多个充气管道,高压气泵设于叶片的腔体内,高压气泵的通气管沿叶片的蒙皮长度方向设置,每个充气管道与通气管连通,远离高压气泵的通气管的一端与外界连通。通过超声波结构能够对结冰前的预防,超声波结构发出振动,能使冰层的破碎和断裂。实现预防结冰。再通过高压气泵输送高压气体至充气管道内,使叶片表面挠度达到一定程度后,冰层会在弯曲力和剪切应力的作用下破碎和脱落,实现结冰时对冰块的去除。

基于形状记忆合金节点接头的格构式塔架及其施工方法

NºPublicación:  CN121184305A 23/12/2025
Solicitante: 
中船海装风电有限公司
CN_121184305_PA

Resumen de: CN121184305A

本发明公开了一种基于形状记忆合金节点接头的格构式塔架及其施工方法,所述基于形状记忆合金节点接头的格构式塔架包括多个主撑杆、多个连接杆以及多个形状记忆合金节点接头,多个所述主撑杆沿周向间隔并列设置,横向相邻两个所述主撑杆之间通过多个所述连接杆连接;多个所述主撑杆包括沿上下方向依次设置的多个撑杆单元,各个所述主撑杆的纵向相邻两个所述撑杆单元之间通过所述形状记忆合金节点接头连接,所述形状记忆合金节点接头包括互相连通的主连接套筒以及多个侧连接套筒,所述主连接套筒同时与不同的两个所述撑杆单元连接,每个所述侧连接套筒分别与其中一个所述连接杆连接。本发明解决了传统格构式塔架节点连接复杂,影响施工进度的问题。

元启发式风电机组控制参数自适应优化方法

NºPublicación:  CN121184297A 23/12/2025
Solicitante: 
四川大学
CN_121184297_A

Resumen de: CN121184297A

本发明提供一种元启发式风电机组控制参数自适应优化方法,属于风电机组控制技术领域。包括以下步骤:步骤1、建立风机系统的数学模型;步骤2、构建有效的适应度函数作为整定参数优化目标;步骤3、调用LPO算法优化参数;步骤4、数据处理;步骤5、将多目标加权融合,进行相关性和灵敏度分析确定权重参数。本发明通过引入元启发式智能算法(LPO)进行多参数自适应整定,实现了风机控制参数的自动化优化,显著提高了参数设计的效率和准确性;对多目标进行相关性和灵敏度分析,通过加权融合优化设计指标,确保风机在复杂工况下的稳定性和高效性。

一种基于分段拼装的风机混合塔筒结构

NºPublicación:  CN121184304A 23/12/2025
Solicitante: 
国电河南新能源有限公司
CN_121184304_PA

Resumen de: CN121184304A

本发明涉及风力发电设备技术领域,具体涉及一种基于分段拼装的风机混合塔筒结构,包括稳定式模块化拼装组件,稳定式模块化拼装组件包括上筒、中筒、下筒、中心固定架、散风套和基础支撑架,上筒设置在中筒的上方,下筒设置在中筒的下方,且上筒、中筒和下筒处于同一垂直水平线,中心固定架分别与中筒和上筒的内壁固定连接,散风套分别固定连接在上筒、中筒和下筒的外表面,基础支撑架设置在上筒、中筒和下筒的内壁,基础支撑架的下端还设置在下筒的下方,通过增设稳定式模块化拼装组件,由此有效的解决了现有风机塔筒存在的材料性能匹配不合理、运输安装困难、连接密封性能差的问题。

一种智能微电网风力发电机组

NºPublicación:  CN223707818U 23/12/2025
Solicitante: 
博禾风电技术研究(海南)合伙企业(有限合伙)

Resumen de: CN223707818U

本实用新型公开了一种智能微电网风力发电机组,包括发电机组壳体以及设置于发电机组壳体内的甲醇增程器、磷酸铁锂电池、多合一风机电控主机、驱动电机、减速机、垂直齿轮箱以及半直驱中速永磁风力发电机;甲醇增程器、磷酸铁锂电池、驱动电机与多合一风机电控主机连接受多合一风机电控主机控制,驱动电机与减速机传动连接,减速机通过风电传动主轴与垂直齿轮箱传动连接,垂直齿轮箱与半直驱中速永磁风力发电机传动连接,半直驱中速永磁风力发电机与风电机组主控制器连接;本实用新型使用高效的甲醇增程器、磷酸铁锂电池、多合一的电控、驱动电机、减速器、垂直齿轮箱、半直驱中速永磁风力发电机等组成高压构架,能够达到大扭矩、低速比、大功率的性能。

一种陆上大机组风电设备支撑装置

NºPublicación:  CN223707824U 23/12/2025
Solicitante: 
中国电建集团西北勘测设计研究院有限公司

Resumen de: CN223707824U

本实用新型涉及风电设备技术领域,尤其涉及一种陆上大机组风电设备支撑装置,包括有地面、台柱、第一基础、第二基础和锚栓,台柱固定安装于地面的上方,第一基础设置于台柱的外围,第一基础的侧壁倾斜设置,第二基础设置于第一基础的下方,第二基础的侧壁倾斜设置,第二基础侧壁的倾斜角度小于第一基础的倾斜角度,第一基础在第二基础与台柱之间形成加腋梁结构;本实用新型通过第一基础在在第二基础与台柱之间形成加腋梁结构,相对台柱直壁支架与第二基础接触,可以增加基础最大弯矩截面处的计算高度,通过增加计算高度到达减小基础配筋的目的,使得使得在相同弯矩作用下要满足裂缝要求,基础内配筋量会减少8%左右,从而减少风机基础成本。

一种高空热气球悬挂作业平台

NºPublicación:  CN223702927U 23/12/2025
Solicitante: 
唐山市高空风能研究所有限公司

Resumen de: CN223702927U

本实用新型涉及一种高空热气球悬挂作业平台,属于高空风能发电技术领域。技术方案是:所述旋转底座与高空的热气球之间通过环形布置的多条热气球高度控制绳索连接,确定热气球的高度;热气球下方的燃烧室设置在热气球牵引架上,燃烧室通过燃料管与旋转底座上的燃料罐连接;所述热气球牵引架下方悬挂风力发电系统,进行高空风力发电。本实用新型通过高空热气球悬挂高空风能发电设备,使用普通的燃气为高空热气球提供热源,通过热气球高度控制绳索进行定位,风轮发电系统悬挂在空中,通过地面的燃料罐连续提供燃料,热气球可以长期稳定的在空中停留,热气球的高度可以控制在3000米以下,降低造价和运行成本。

一种抽水蓄能电站水库清理装置

NºPublicación:  CN223706451U 23/12/2025
Solicitante: 
国网新源集团有限公司山西西龙池抽水蓄能电站有限责任公司

Resumen de: CN223706451U

本申请提供一种抽水蓄能电站水库清理装置,包括:过滤槽;抽水件,包括泵筒和螺旋泵杆,泵筒与过滤槽连接,螺旋泵杆包括相连接的螺旋部和连接部,螺旋部位于泵筒内,连接部相对于泵筒的顶部凸出,泵筒远离过滤槽的一侧底部设有进液口,靠近过滤槽的一侧顶部设有出液口,出液口位于过滤槽的上方;风力旋转结构,位于过滤槽上,风力旋转结构与螺旋泵杆的连接部连接;当风力旋转结构旋转时,连接部在风力旋转结构的带动下进行旋转,进而所述螺旋部旋转以使水库中含有漂浮物的水经由所述进液口流入所述泵筒内,并经所述出液口流出所述泵筒,流入所述过滤槽,实现对漂浮物的过滤和清理。

一种变桨轴承加固结构

NºPublicación:  CN223707832U 23/12/2025
Solicitante: 
湖南鑫联腾创机电科技有限公司华润新能源投资有限公司襄阳分公司

Resumen de: CN223707832U

本实用新型公开了一种变桨轴承加固结构,属于变桨轴承加工技术领域,包括框架与活动杆,包括轮毂底座、变桨轴承和螺纹主杆,轮毂底座上开有通孔,轮毂底座和变桨轴承相接,螺纹主杆贯穿轮毂底座上的通孔和变桨轴承,螺纹主杆靠近轮毂底座的一端螺接有第一螺母;螺纹主杆靠近变桨轴承的一端螺接有第二螺母,螺纹主杆上还套装有第一固定板和第二固定板,第一固定板设于轮毂底座和第一螺母之间,第二固定板设于变桨轴承和第二螺母之间;所述轮毂底座的通孔内安装有固定套筒,固定套筒外径略小于轮毂底座通孔的内径,固定套筒的内径略大于螺纹主杆的外径。本方案通过固定板、螺母与固定套孔的配合加固变桨轴承滚珠工艺孔。

塔架及风力发电机组

NºPublicación:  CN223707825U 23/12/2025
Solicitante: 
国能黑龙江新能源有限公司
CN_223707825_U

Resumen de: CN223707825U

本实用新型提供一种塔架及风力发电机组,涉及风力发电技术领域。本实用新型提供的塔架应用于风力发电机组,包括预制筒体、法兰组件、吊装组件以及加强筋,预制筒体具有多个,多个预制筒体沿高度方向堆叠设置,相邻预制筒体通过法兰组件可拆卸连接;吊装组件设置于预制筒体顶部和底部,以通过吊装组件吊运预制筒体,预制筒体的内壁设有加强筋。本实用新型提供一种塔架及风力发电机组,可以节省运输成本,提高施工效率。

海上风电漂浮体

NºPublicación:  CN223702895U 23/12/2025
Solicitante: 
中国电建集团西北勘测设计研究院有限公司
CN_223702895_U

Resumen de: CN223702895U

本实用新型属于海上风电技术领域,具体公开了一种海上风电漂浮体,包括漂浮组件、底座和多个伸缩式支撑腿;漂浮组件上设置有风力发电平台;底座的上表面与漂浮组件固定连接;多个伸缩式支撑腿均与底座的下表面转动连接,且每个伸缩式支撑腿均与海床相接。本实用新型在底座的下方转动连接有多个伸缩式支撑腿,多个伸缩式支撑腿可对漂浮组件与底座形成的整体结构进行有效的支撑,其与漂浮组件共同承托风力发电平台的重量,且由于整体结构的重心降低,使得海上风电漂浮体的稳定性更高,进而大幅提高风力发电平台的稳定性,降低风力发电平台因海浪和风力引起的摇摆和振动,显著提高发电效率和安全性。

一种分体式海上风机导管架结构

NºPublicación:  CN223707826U 23/12/2025
Solicitante: 
舟山中远海运重工有限公司
CN_223707826_U

Resumen de: CN223707826U

本实用新型涉及风机导管架领域,公开了一种分体式海上风机导管架结构,包括第一导管架,所述第一导管架的下部设置有第二导管架,所述第二导管架的上部固定连接有灌浆套且数量为多个,所述灌浆套与第一导管架的下部之间填充有浆料,所述第一导管架的下部固定连接有连接杆其数量为多个,所述连接杆与灌浆套活动连接,所述灌浆套的顶部固定连接有固定环,所述灌浆套的内壁下部固定连接有支撑环,所述支撑环的上方设置有密封环,所述密封环与灌浆套固定连接。本实用新型中,通过设置第一导管架、第二导管架以及灌浆套和浆料之间的相互配合,可有效保证导管架拼接安装的稳定牢固性,以保证海上风机安装的稳定,更加的实用。

一种大型风机叶轮压盘螺栓止退装置及系统

NºPublicación:  CN223707830U 23/12/2025
Solicitante: 
天津华能杨柳青热电有限责任公司
CN_223707830_U

Resumen de: CN223707830U

本实用新型提供了一种大型风机叶轮压盘螺栓止退装置及系统,公开了一种大型风机叶轮压盘螺栓止退装置,包括止退垫环、若干个止退垫条和若干个止退垫片,止退垫环上开设有若干个第一通孔,止退垫条上开设有若干个第二通孔,止退垫片上开设有第三通孔,所述止退垫条位于止退垫环与止退垫片之间;还公开了一种大型风机叶轮压盘螺栓止退系统,包括风机和上述大型风机叶轮压盘螺栓止退装置。本实用新型整套装配且装卸便利,同时还能够避免固定螺栓的金相和强度发生变化。

风电机组安装装置

NºPublicación:  CN223707821U 23/12/2025
Solicitante: 
华能国际工程技术有限公司
CN_223707821_U

Resumen de: CN223707821U

本实用新型提供一种风电机组安装装置,涉及风力发电技术领域。该风电机组安装装置中,安装架为可拆卸式架体结构,且其顶部用于装载风机发电机组;定位结构设于安装架,配置为:能够可拆卸式连接于第一筒节内侧的连接结构;伸缩支撑结构的第一端铰接于所述安装架,配置为:伸缩支撑结构的第二端能够可拆卸式铰接于第二筒节内侧的连接结构,且伸缩支撑结构能够伸缩调节支撑长度;吊装结构设于安装架的上部架体,配置为:能够吊装管片至第一筒节和第二筒节叠摞组成的筒段的顶部。该风电机组安装装置能够便捷安装风电机组中风电混塔及风机发电机组,且安全风险较低,同时在安装过程中受气候环境的影响较小,能够保证作业时间和安装效率。

一种具有机舱止动功能的风力发电机

NºPublicación:  CN223707831U 23/12/2025
Solicitante: 
承风能源(太原)有限公司
CN_223707831_U

Resumen de: CN223707831U

本实用新型涉及风力发电机技术领域,本实用新型要解决的技术问题是维护的安全性低。为了解决上述技术问题,本实用新型提供了一种具有机舱止动功能的风力发电机。本实用新型包括:塔筒,顶端沿周向间隔设有多个腰形孔;机舱,转动连接在塔筒的顶端;至少一个插销组件,包括驱动部以及与驱动部连接的插销本体;驱动部与机舱连接;驱动部驱动插销本体伸长穿过机舱底部,以使至少一个插销本体插入腰形孔以及插销本体与塔筒锁定。本实用新型的插销本体伸长插入腰形孔中且与塔筒进行锁定,实现机舱的止动。驱动部带动插销本体缩回以解锁及插销本体退出腰形孔,解除对机舱的止动。本实施例能够实现自动化地止动机舱以及解除机舱止动,提高维护的安全性。

一种叶片装卸辅助装置

NºPublicación:  CN223707827U 23/12/2025
Solicitante: 
深圳佳利达供应链管理有限公司
CN_223707827_U

Resumen de: CN223707827U

本实用新型涉及辅助装置技术领域,且公开了一种叶片装卸辅助装置,包括车体,所述车体的中部安装有顶架。该叶片装卸辅助装置,在装置进行运输时,将外部叶片两端和中部平衡放在车体内,车体内部安装有顶架,然而顶架右侧的固定框架内部安装了可以将外部叶片稳定捆绑固定的固定机构,因为固定机构的内部安装了支架,支架内部的液压支撑杆带着上方的弧形托板向上运动,托在外部叶片的下方,减少外部叶片的磕碰,接着穿过固定件,将稳固扎条套在外部叶片的外围,将外部叶片包裹捆绑住,防止运输过程中意外滑落,造成损坏,起到了将外部叶片固定稳定的作用,避免了移动磕碰而导致损坏,影响外部叶片后续的使用。

一种轮毂卡扣连接机构

NºPublicación:  CN223707823U 23/12/2025
Solicitante: 
深圳佳利达供应链管理有限公司

Resumen de: CN223707823U

本实用新型涉及轮毂卡扣连接机构技术领域,且公开了一种轮毂卡扣连接机构,包括三组轮毂主体,所述三组轮毂主体一端的表面套接有固定盘,所述固定盘的表面呈环形阵列转动连接有四组限位组件,所述轮毂主体的内部套接有支撑环,所述支撑环的一侧固定连接有密封组件,所述轮毂主体的内部插接有连接套筒,所述连接套筒的表面套接有连接盘,所述限位组件包括呈环形阵列转动连接于固定盘表面的转动杆,所述转动杆的表面套接有螺纹杆,所述螺纹杆一端的外表面螺纹连接有限位螺母。该轮毂卡扣连接机构,通过限位组件的设置,达到对叶片定位安装的效果,保证稳定性的同时,使得安装人员可以快速地完成叶片的固定工作,降低了安装成本和时间。

一种变桨装置以及具有变桨功能的风力发电机

NºPublicación:  CN223707817U 23/12/2025
Solicitante: 
承风能源(太原)有限公司

Resumen de: CN223707817U

本实用新型涉及风力发电机设备技术领域,本实用新型要解决的技术问题是结构庞大,成本高。为了解决上述技术问题,本实用新型提供了一种变桨装置以及具有变桨功能的风力发电机。本实用新型包括伸缩部件、中间连杆以及弧形连杆。中间连杆的一端与伸缩部件的输出端连接。弧形连杆的轴线与叶片的轴线重合;弧形连杆的两端分别为第一端和第二端;第一端与中间连杆的另一端活动连接;第二端与所述连接件活动连接。主轴中设有与其同轴的通孔,所述变桨装置的中间连杆滑动连接在所述通孔中。其中,伸缩部件的输出端伸缩,用于驱动叶片绕叶片的轴线旋转以实现变桨。本实用新型结构简单、布局紧凑、运行稳定可靠,成本低,且不影响发电机其他部件的布局。

一种海上救援设备

NºPublicación:  CN223702908U 23/12/2025
Solicitante: 
武汉瑞思创物科技有限公司

Resumen de: CN223702908U

一种海上救援设备,包括装置主体,所述装置主体包括漂浮装置、驱动装置、电能装置;所述漂浮装置包括漂浮柱、中心轴、连接杆,多个漂浮柱首尾相连形成漂浮环,中心轴外部套设有圆盘,漂浮环与圆盘之间通过充气囊连接,两两充气囊之间通过绳网连接;所述电能装置包括风力发电器、太阳能发电板、海浪发电器,所述风力发电器、太阳能发电板、海浪发电器皆与驱动装置电性连接,风力发电器安装于中心轴顶端,太阳能发电板安装于风力发电器下方,海浪发电器安装于漂浮柱内部。装置主体上设有风力、水力及太阳能三种为驱动装置提供电能的装置,带动装置主体移动,且装置主体上设有多个漂浮组件,可以供多人使用。

一种沉降可调式风机基础结构

NºPublicación:  CN223706535U 23/12/2025
Solicitante: 
山东建筑大学

Resumen de: CN223706535U

本实用新型公开了一种沉降可调式风机基础结构,属于风机基础建设技术领域,包括重力式基础、支撑结构、填充结构,支撑结构包括支撑台,支撑台顶面设置固定通槽,顶升装置底部固定连接工型钢,工型钢设置在固定通槽内;顶升装置外侧罩设金属保护壳,金属保护壳与支撑台固定连接;顶升装置的顶部固定设置弹性垫片,在弹性垫片内部设置定位装置,定位装置与外部系统连接。通过在支撑台上设置固定通槽,将顶升装置底部固定的工型钢插入固定通槽,将顶升装置与支撑台连接形成抗剪键,能够有效抵消水平方向的力,防止顶升装置在工作过程中失稳;通过设置金属保护壳,防止砂石覆盖顶升装置,方便将顶升装置取出,同时也方便对顶升装置进行检修。

一种风机滑环线防跟转结构

NºPublicación:  CN223707822U 23/12/2025
Solicitante: 
苏州格远电气有限公司

Resumen de: CN223707822U

本实用新型揭示了一种风机滑环线防跟转结构,包括同心设置的轮毂底座和管道;所述轮毂底座与所述管道之间设置有法兰盘,所述法兰盘的底端与所述轮毂底座固定连接;且所述法兰盘上设置有与所述管道配合的连接结构,以使所述管道与所述法兰盘稳定连接;所述管道内套设有夹套,所述夹套内设有所述滑环线,且所述滑环线与所述夹套同时转动。本实用新型的有益效果体现在:在轮毂底座与管道之间增设法兰盘,通过将法兰盘与轮毂底座固定连接,再将法兰盘与管道之间通过连接结构实现快接快拆,使得管道位置相对固定,减少风机过程中管道对于夹套和滑环线的干扰,进而保证通信质量和滑环线的使用寿命。

一种集成于站台的风电杆

NºPublicación:  CN223707271U 23/12/2025
Solicitante: 
四川华体照明科技股份有限公司
CN_223707271_U

Resumen de: CN223707271U

一种集成于站台的风电杆,包括杆体,杆体的下端设有座椅,杆体上设有顶棚,杆体的上端设有风力发电机。座椅位于顶棚的正下方,且顶棚集成于站台棚上,风力发电机位于顶棚的上方。通过设置单独的杆体对风力发电机进行连接固定,相比于直接将风力发电机安装在站台棚上,通过这种方式能提高风力发电机安装后的安全性,并且这种设计具有美观的效果。同时为了避免杆体的引入而对站台布局和空间利用上造成不良影响,因此在杆体上设置了座椅。本实用新型合理且美观的将风力发电机设置在站台上,并且还确保了风力发电机安装后的安全性,并且便于施工安装操作。

风力发电机

NºPublicación:  CN223707820U 23/12/2025
Solicitante: 
中国电建集团成都勘测设计研究院有限公司
CN_223707820_U

Resumen de: CN223707820U

本实用新型公开了风力发电技术领域的一种风力发电机,包括塔柱,塔柱底端安装有减震座,减震座包括多个减震分座,减震分座一侧具有开口,减震分座开口一侧朝向塔柱,多个减震分座绕塔柱中心轴线环形布置,减震分座内具有容纳腔,容纳腔与开口相连通,容纳腔内填充有减震层,减震层与塔柱外周侧相接触,还包括固定组件,用于多个减震分座的固定。本实用新型解决了现有技术存在的水平减震效果差、拆卸难度大的技术问题,提供一种水平减震效果好、拆卸简单的风力发电机。

一种新型脱硫脱硝风机内置轴承在线监测装置

NºPublicación:  CN223711066U 23/12/2025
Solicitante: 
山东睿航产业投资有限公司
CN_223711066_U

Resumen de: CN223711066U

本实用新型涉及轴承在线监测的领域,公开了一种新型脱硫脱硝风机内置轴承在线监测装置,包括轴承底座,所述轴承底座设置在外壳的内部,所述轴承底座的内部设置有三组轴承,轴承底座的轴向表面与水平方向的表面均开设有M6螺纹孔,所述M6螺纹孔的内部设置有加速度振动传感器,所述加速度振动传感器与IMx‑8采集器通过电缆电性连接,电缆为铠装电缆,所述IMx‑8采集器与局域无线网电性连接。加速度振动传感器检测到的数据会通过铠装电缆将信号传输至IMx‑8采集器中,可以通过频域谱、时域谱、包络谱、倒谱等对轴承底座的运行状态进行分析,同时加速度振动传感器实时采集的振动值形成振动趋势,实现智能报警和阈值报警,即可有效掌握轴承的运行状态,提前预知设备隐患,避免事故发生。

一种风力提水机

NºPublicación:  CN223707877U 23/12/2025
Solicitante: 
黄铖
CN_223707877_U

Resumen de: CN223707877U

本实用新型公开了一种风力提水机,包括风轮、变速箱、曲柄滑块结构、吸排水结构,所述吸排水结构包括一个进水口,进水口通过两个对称的吸水通道分别通向两个出水口,两个吸水通道分别在进水处和出水处设置有出水单向阀和进水单向阀,两个吸水通道的内侧壁上均设有隔膜,两隔膜之间为安装曲柄滑块结构的空腔,空腔内设曲柄滑块结构,曲柄滑块结构联接变速箱的从动轴,变速箱的主动轴联接风轮,本实用新型结构更简单,装配维修更方便,本实用新型取消弹簧机构,添加滑轴,摩擦减小,耗能降低,实现了风力小的环境下使用,从而减少了动能的浪费。

声表面波传感器、风力发电机叶片以及风力发电机

NºPublicación:  CN223710669U 23/12/2025
Solicitante: 
深圳市湾区通信技术有限公司
CN_223710669_U

Resumen de: CN223710669U

本实用新型公开了一种声表面波传感器、风力发电机叶片以及风力发电机,涉及风力发电技术领域,该声表面波传感器设于风力发电机叶片的安装腔内,包括防油件、传感器本体以及密封连接层,防油件的一侧开设有防油槽;传感器本体包括主体和传感探头,主体容设于防油槽内,主体面向防油槽的槽底壁的一侧开设有安装槽,传感探头设于主体并容设于安装槽内;密封连接层设于传感探头与防油槽的槽底壁之间,密封连接层用于固定防油件和传感探头,并密封安装槽。本实用新型旨在避免油脂通过传感探头缝隙渗入传感器内部,导致传感器损坏。

风力发电设备

NºPublicación:  CN223707819U 23/12/2025
Solicitante: 
国能黑龙江新能源有限公司
CN_223707819_U

Resumen de: CN223707819U

本申请提供了一种风力发电设备,涉及风力发电技术领域,风力发电设备包括塔架、主机、变压器和磁屏蔽件,其中,塔架具有容置腔;主机设置于塔架顶部,包括机舱和风机,风机包括互相之间信号连接的发电机和控制单元;变压器设置于容置腔远离地面的一端或机舱内,当变压器设置于机舱内时,变压器设置于靠近发电机而远离控制单元的一侧,且与发电机电连接;磁屏蔽件设置于变压器和发电机之间,沿发电机至变压器的方向,磁屏蔽件的投影面积覆盖变压器的投影面积,通过对变压器设置位置的限制,以及磁屏蔽件的设置,在缩短风机与变压器之间电能传输的距离,降低风机与变压器之间的电能损耗的同时,减小变压器产生的电磁场对风机中其他装置的影响。

制造多个风力涡轮机叶片的方法

NºPublicación:  CN121195112A 23/12/2025
Solicitante: 
维斯塔斯风力系统有限公司
CN_121195112_PA

Resumen de: WO2024240319A1

The present disclosure relates to a method of manufacturing wind turbine blades. The method comprises the steps of: providing leeward and windward shell mould surface geometries; and manufacturing a first and a second blade by the sub-steps of: moulding a leeward shell and a windward shell in the shell mould surface geometries; engaging a main and a rear leeward reinforcement structure with the leeward shell; engaging a main and a rear windward reinforcement structure with the windward shell; and forming the first blade from the leeward shell and the windward shell. The first blade and the second blade have the same external geometry. Manufacturing the first blade further comprises the sub-step of: arranging a first trailing edge reinforcement structure at the trailing edge of the first blade, the first trailing edge reinforcement structure comprising fibres aligned with the trailing edge of the first blade.

用于海上风力涡轮机的半潜式漂浮物

NºPublicación:  CN121194924A 23/12/2025
Solicitante: 
塞佩姆股份公司
CN_121194924_PA

Resumen de: AU2024303383A1

The invention relates to a semi-submersible float (2) for an offshore wind turbine, comprising at least three vertical columns (4, 6), one of which is intended to receive a wind turbine mast, the vertical columns being connected together by pontoons (8) each formed by a plurality of planar panels (81 to 84) which are assembled together at edges (10) extending longitudinally between two columns, the edges of the pontoons being rounded and connected at each of their longitudinal ends to a column via a transition piece (12).

一种变桨系统及安装方法

NºPublicación:  CN121184296A 23/12/2025
Solicitante: 
湖南兴蓝风电有限公司
CN_121184296_PA

Resumen de: CN121184296A

本发明提供了一种变桨系统及安装方法,涉及风力发电领域。该变桨系统包括轮毂、叶片以及变桨轴承,变桨轴承包括相互连接的内圈和外圈,内圈具有第一安装部,第一安装部与叶片配合连接,外圈具有第二安装部,第二安装部与轮毂配合连接,其中,第一安装部与第二安装部均采用分段式锥形定位的连接方式与对应的叶片和轮毂连接,叶片和轮毂上分别设置有第一检测件和第二检测件,第一检测件用于检测内圈与叶片的间隙距离,第二检测件用于检测外圈与轮毂的间隙距离。通过采用分段式锥形定位连接结构,并在叶片和轮毂上分别设置第一检测件和第二检测件,有效降低了变桨轴承连接部位在运行过程中的相对滑移现象,同时提高了安装精度与连接可靠性。

抗冰肋板结构

NºPublicación:  CN121184322A 23/12/2025
Solicitante: 
华能辽宁清洁能源有限责任公司中国华能集团清洁能源技术研究院有限公司
CN_121184322_PA

Resumen de: CN121184322A

本发明提供一种抗冰肋板结构,涉及海上风电抗冰结构的技术领域,包括塔筒、肋板组件和笼套件,塔筒的一端与外接的风机结构连接,且另一端设于海面以下;笼套件设有至少两组并均与塔筒连接,且相邻的笼套件间隔分布;肋板组件设有多个,且多个肋板组件沿塔筒的周向依次设于相邻的笼套件之间,每一个肋板组件均与相应的笼套件可拆卸连接;每一组肋板组件均设有抗冰肋板,每一组抗冰肋板的一端均朝向塔筒的中心处,且抗冰肋板的另一端设为迎冰面。本发明缓解了现有技术中存在的因肋板通过现场焊接的方式连接,以造成工作量大、不便于维修以及运维费用高的技术问题。

一种用于风机混合试验的振动台双向加载装置与方法

NºPublicación:  CN121185554A 23/12/2025
Solicitante: 
浙江大学
CN_121185554_PA

Resumen de: CN121185554A

本发明公开了一种用于风机混合试验的振动台双向加载装置及方法,包括:风机物理子结构,包括布置于地面上的塔筒和固定在所述塔筒顶部的塔顶集中质量块;运动传感器,搭载在所述塔顶集中质量块上;连接结构,包括反力板、结构相同的X轴向连接机构和Z轴向连接机构,所述X轴向连接机构和Z轴向连接机构的分别沿X轴方向和Z轴方向布置,且两端连接在所述反力板和所述塔顶集中质量块之间;所述X轴向连接机构和Z轴向连接机构均包括依次相连的可转动连接件、可滑动连接件、力传感器、加载杆和吊耳;力控加载系统,包括工控机和振动台,所述工控机分别与运动传感器、力传感器和振动台电连接,所述振动台与所述反力板相连。

一种新型风机偏航变桨系统传动结构

NºPublicación:  CN223707828U 23/12/2025
Solicitante: 
赛玛特传动技术(北京)有限公司
CN_223707828_U

Resumen de: CN223707828U

本实用新型涉及系统传动结构技术领域,且公开了一种新型风机偏航变桨系统传动结构,包括电机,所述电机的一侧固定连接有小齿轮,所述小齿轮的外表面啮合连接有大齿轮,所述大齿轮的一侧设有第一太阳轮,所述第一太阳轮的外表面啮合连接有双联行星齿轮,所述双联行星齿轮的外表面另一端啮合连接有第一齿圈,所述双联行星齿轮活动连接有第一行星架,所述第一行星架的一侧固定连接有第二太阳轮,所述第二太阳轮的外表面啮合连接有行星齿轮,所述行星齿轮的外表面一侧啮合连接有第二齿圈,所述行星齿轮活动连接有第二行星架,相比四级NGW行星轮系串联的传动方案,本发明结构更简单,齿轮、轴承等零件数量更少,重量更轻,制造和装配成本更低。

一种风机塔筒固定监测装置

NºPublicación:  CN223707829U 23/12/2025
Solicitante: 
福建省福能海峡发电有限公司

Resumen de: CN223707829U

本实用新型涉及风机设备技术领域,尤其涉及一种风机塔筒固定监测装置,安装于风电塔内,包括光束发射元件和光束接收元件,位于风电塔内部设有第一固定安装支架,第一固定安装支架上设有柔性连接线,柔性连接线的自由端系有铅锤,光束发射元件设于铅锤上且其发出的光束与柔性连接线同轴;光束接收元件包括设置在风电塔内部的第二固定安装支架、设置在第二固定安装支架上的圆形光束接收板、控制器和显示器,光束发射元件位于光束接收元件上方,圆形光束接收板上均匀间隔设置有多个光敏元器件组成光敏元器件阵列,光敏元器件阵列和显示器分别与控制器电连接。可以高效且准确监测风电塔倾斜情况,及时反馈给工作人员,保障风机塔筒的安全稳定运行。

一种光伏-风电互补式新能源并网供电装置

NºPublicación:  CN121184292A 23/12/2025
Solicitante: 
国网山东省电力公司青岛市即墨区供电公司
CN_121184292_PA

Resumen de: CN121184292A

本发明涉及新能源发电技术领域,具体为一种光伏‑风电互补式新能源并网供电装置,包括底座,其外侧壁嵌设有若干光伏板;风力发电组,设置在撑管顶部,包括风叶片和呈环形分布于风叶片外围的若干风板,风叶片的底部同轴连接有发电机主轴,每相邻两个风板展开形成进风通道;清洁组,设置在底座外部,包括可旋转的转架、缠绕于转架侧方的若干擦拭布和电机;发电机主轴上设置有编码器,用于检测风叶片的旋转圈数。本发明利用蓄水腔收集和储存雨水,并通过机械式拨杆与补水阀的巧妙配合,仅在清洁时定量、定点供水,极大减少了水资源消耗,整个清洁系统无需外部动力水源,实现了水资源的自给自足和循环利用,特别适合缺水地区。

基于温度调度的风机变桨防失速控制方法、装置及系统

NºPublicación:  CN121184299A 23/12/2025
Solicitante: 
中车株洲电力机车研究所有限公司
CN_121184299_PA

Resumen de: CN121184299A

本发明公开一种基于温度调度的风机变桨防失速控制方法、装置及系统,该方法步骤包括:计算在不同环境温度和风机输出功率下的最小防失速桨距角,将最小防失速桨距角作为最优桨距角限幅值,并构建环境温度、风机输出功率与最优桨距角限幅值之间的对应关系;在被控风机运行过程中,实时采集被控风机所处的环境温度以及被控风机的输出功率;根据实时采集的环境温度、风机输出功率以及存储的对应关系获取实时的最优桨距角限幅值,以控制被控风机的实时桨距角低于实时的最优桨距角限幅值。本发明能够提高机组运行安全性,改善控制稳定性,还可以在防止失速的同时最小化功率损失。

一种耐磨轴承座

NºPublicación:  CN121184486A 23/12/2025
Solicitante: 
华能华家岭风力发电有限公司
CN_121184486_PA

Resumen de: CN121184486A

本发明公开了一种耐磨轴承座,涉及电力系统领域,包括封堵球,封堵球沿中轴线方向设有贯穿孔,封堵球内设有与贯穿孔进行连通的卡孔;拉绳,拉绳贯穿设置在贯穿孔内,拉绳上设有与卡孔进行活动卡接的多个卡球,拉绳带动多个卡球进行摆动时,卡球配合卡入卡孔内,带动封堵球进行摆动,便于润滑油流动,对轴承进行润滑。本发明润滑油对安装在轴承座内的轴承进行润滑和冲洗,润滑油在流动过程中对碎屑进行冲洗清理,避免了碎屑的长时间停留,对轴承和轴承座进行损坏,提高了装置的耐磨性,降低了安装在轴承上的主轴后移的概率;拉绳不受力时,封堵球在重力作用下复位,避免了润滑油的浪费。

一种风力发电机设备

NºPublicación:  CN121184303A 23/12/2025
Solicitante: 
云南火鹰太阳能热水器有限公司
CN_121184303_PA

Resumen de: CN121184303A

本发明属于风力发电设备技术领域,具体为一种风力发电机设备,包括汽车上的进气结构和风力发电装置,进气结构设置于汽车前侧的发动机舱内,进气结构包括进气道和分流道,风力发电装置设置在进气道内;风力发电装置两侧预留有分流道,进气道引导气流至风力发电装置内部,两侧分流道将空气引导出去,实现进气量调节;风力发电装置包括引流外壳和微型发电装置,引流外壳包括导流尖、导流翼板、电池仓和气道调节装置;引流外壳靠近导流尖的位置对称设置有引流口;本方案通过气流引导‑气流分配‑发电优化‑排气效率‑智能控制的完整流程,实现了风能的高效利用与电能的稳定输出,同时兼顾适配性、安全性与经济性,为汽车提供了额外的能源补充方案。

一种分离式自适应风力发电机

NºPublicación:  CN121184302A 23/12/2025
Solicitante: 
海南惠利电力设备有限公司
CN_121184302_PA

Resumen de: CN120312481A

The invention relates to the technical field of wind driven generators, in particular to a separated self-adaptive wind driven generator which comprises a base and wind wheel blades, a main shaft rotationally connected with an inner cavity of the base is fixedly mounted at the lower ends of the wind wheel blades, a generator body is fixedly mounted in the base, and an input shaft fixedly connected with a rotor is arranged at the upper end of the generator body. A movable rod is inserted between the main shaft and the input shaft, a sliding rail is fixedly installed on the periphery of the main shaft, a second positioning toothed plate is rotationally installed at the lower end of the first sun gear, and a connecting sleeve is fixedly installed at the lower end of the second positioning toothed plate and is inserted into the input shaft. According to the separation type self-adaptive wind driven generator, when the wind wheel blades rotate at a high speed, through the springs and the movable blocks, the movable rods can be connected with the first planetary gears, the input shaft can be connected with the first outer gear ring, the input shaft rotates at a reduced speed, and the effect of protecting the generator body is achieved.

构造成待安装在船舶上或者构造成安装在船舶上的桩保持系统

NºPublicación:  CN121194923A 23/12/2025
Solicitante: 
伊特雷科公司
CN_121194923_PA

Resumen de: WO2024246066A1

A pile holding system configured to hold a pile vertically during installation thereof in the seabed has a support assembly with a forked support member having a base and two arms projecting from the base. A pile holder has a pile holder ring which is at each of diametrically opposite locations thereof tiltable mounted to a respective arm via a tilt bearing connection so that the pile holder ring is tiltable about a horizontal tilt axis. Each of the arms is provided with a first load transfer member and the ring base of the pile holder ring is provided with second load transfer members. Each pair of a first and a second load transfer member is, at least in the operative orientation of the pile holder ring, in mechanical contact with one another so as to provide an additional load path between the ring base and the arm of the forked support member in addition to the tilt bearing connection.

一种低风速环境下提升风力发电效率的方法及系统

NºPublicación:  CN121184295A 23/12/2025
Solicitante: 
内蒙古四华新能源开发有限公司三峡陆上新能源投资有限公司中国长江三峡集团有限公司
CN_121184295_PA

Resumen de: CN121184295A

本申请公开了一种低风速环境下提升风力发电效率的方法及系统,所述方法包括:在风力发电机叶片吸力面布置一系列可主动伸缩的涡流发生器阵列,所述涡流发生器阵列根据实时风速与叶片攻角传感器信号,通过中央控制器动态调节涡流发生器突出于叶片表面的高度与角度;在风力发电机叶片尾缘嵌入可柔性变形的自适应结构,所述自适应结构根据风速与负载变化连续地改变尾缘的弯度与形状。本申请通过集成主动式微型涡流发生器阵列与智能材料驱动的自适应尾缘结构,并辅以先进的中央控制器与专用能量管理系统,协同实现了在低风速环境下风力发电机气动性能的显著提升。

一种自清洁透明绝缘护罩

NºPublicación:  CN121192599A 23/12/2025
Solicitante: 
广州番禺电缆集团有限公司
CN_121192599_PA

Resumen de: CN121192599A

本发明涉及电缆连接保护装置技术领域,尤其涉及一种自清洁透明绝缘护罩,包括有护罩等,在两根电缆的连接端,其中一根电缆的连接端处安装护罩,另一根电缆的连接端处安装绝缘塞,护罩的前后两端均固定连接有用于阻止水分进入的密封圈,位于后端的密封圈上固定连接有第一扣圈。本发明通过在护罩顶端设置由移动件、第二弹簧和斜块组成的振动结构,以及在绝缘塞顶端设置由转叶、转轴和风叶组成的驱动结构,利用风能驱动转叶转动并周期性触发斜块振动,实现了护罩表面积雪、灰尘等污物的自动清除,减少人工清洁维护成本。

一种具有监测功能的风机齿轮箱

NºPublicación:  CN121184310A 23/12/2025
Solicitante: 
河北新天科创新能源技术有限公司
CN_121184310_PA

Resumen de: CN121184310A

本发明属于风机齿轮箱领域,尤其是一种具有监测功能的风机齿轮箱,包括用于风机齿轮箱监测的监测器,所述监测器包括信号采集模组、数据预处理模组、数据处理与分析模组、预警与诊断模块和显示与记录模块;信号采集模组采集风机齿轮箱的振动信号、温度信号、油液参数信号和转速信号;数据预处理模组用于对接收的信号进行预处理,包括滤波、放大和模数转换;数据处理与分析模组将预处理后的监测数据传输至数据处理与分析模块。本发明通过在风机齿轮箱上设置多种传感器,实时采集齿轮箱的运行参数,经数据处理与分析后,实现对齿轮箱运行状态的监测、故障预警及诊断,从而实现能及时发现齿轮箱的潜在故障,提高风机运行的可靠性和安全性的目的。

折叠的太阳轴

NºPublicación:  CN121195114A 23/12/2025
Solicitante: 
采埃孚股份公司风能安特卫普有限公司
CN_121195114_PA

Resumen de: WO2024240452A1

The invention relates to an assembly (101, 201 301, 401) with a sun shaft (105), a sun gear (103), which is connected for conjoint rotation with the sun shaft (105), and a hub (109). The transmission (101, 201 301, 401) has a hollow shaft (107), which is connected for conjoint rotation with the sun shaft (105) in a first point of connection (113, 203) and for conjoint rotation with the hub (109) in a second point of connection (115, 205); wherein, starting from the first point of connection (113, 203), the second point of connection (115, 205) is offset axially in the direction of the sun gear (103).

一种小型风力发电设备的底座

NºPublicación:  CN121184307A 23/12/2025
Solicitante: 
上海机床铸造一厂(苏州)有限公司
CN_121184307_PA

Resumen de: CN121184307A

本发明涉及风力发电设备底座技术领域,具体为一种小型风力发电设备的底座,包括用于安装小型发电设备的安装座,以及第一安装机构和第二安装机构,第一安装机构用于硬化的安装地面,第二安装机构用于软化的安装地面,所述安装座上端开设有若干个安装螺孔,所述安装座外侧活动连接有若干个T型板,所述T型板远离安装座一端与储存箱固定连接,所述储存箱内设有升降限位机构。本发明通过若干个储存箱的设置,使得操作人员根据小型风力发电设备的高度,自由的将若干个储存箱组装在一起,之后与安装座相连接,实现自由地改变小型风力发电设备底座的大小,同时通过向储存箱内装填填充物,可增加储存箱整体的重量,提高底座的稳定性。

一种极地温差相变发电装置及方法

NºPublicación:  CN121184328A 23/12/2025
Solicitante: 
中国极地研究中心(中国极地研究所)
CN_121184328_PA

Resumen de: CN121184328A

本发明公开了一种极地温差相变发电装置及方法,属于可再生能源技术领域;该装置包括立轴风力发电机组、储能罐、热对流循环管路系统以及浮体装置;储能罐内填充低沸点冷媒介质,热对流循环管路系统表面覆有温差发电片;当环境温度与储能罐存在温差时,高温端介质汽化形成压力差,驱动蒸汽推动汽轮机发电;做功后蒸汽在低温端冷凝放热,余热通过温差发电片二次发电;通过适配不同沸点介质,可适应极地季节与昼夜温差变化,实现持续稳定发电;该装置结构简单、无污染,适用于极地等大温差环境。

一种风力发电机运行环境及状态检测方法及系统

NºPublicación:  CN121184314A 23/12/2025
Solicitante: 
中南大学
CN_121184314_PA

Resumen de: CN121184314A

本发明提供一种风力发电机运行环境及状态检测方法及系统,方法包括:S1、在风机周边布设地声加速度传感器采集振动信号,机组上布设多频段健康监测传感器采集低、中、高频段声波信号;S2、同步采集两类信号;S3、预处理后提取环境异常振动与机组损伤特征参数;S4、构建特征矩阵并输入机器学习模型,通过数据融合与标准化智能分类识别异常振动与机组损伤;S5、基于声发射信号到达时间差,采用无需预先测速的定位算法精准定位裂纹或故障位置;系统集成传感器、同步采集、特征分析与智能诊断,实现对振动环境及机组零件的稳定可靠实时监测。

一种风机零件材料检修的设备控制方法及系统

NºPublicación:  CN121187119A 23/12/2025
Solicitante: 
国能江苏电力工程技术有限公司
CN_121187119_PA

Resumen de: CN121187119A

本发明涉及设备控制技术领域,公开一种风机零件材料检修的设备控制方法及系统,首先将风机运行参数与交互数据量化融合为统一特征向量,之后基于融合特征向量动态修正模型参数,卷积层权重根据振动特征与工况修正值的关联实时调整,池化层输出通过残差修正量补偿转速特征的短期波动,避免固定参数模型在突发工况下的误判;通过含扰动机制的残差拟合算法,引入与置信度、时间衰减相关的随机扰动项,降低了微观波动带来的误差,同时通过交互修正残差补偿系统偏差;最后,闭环迭代机制通过持续计算预测偏差并更新模型参数,不断缩小理论预测与实际寿命的差距,从而使得剩余寿命预测误差降低,提升了预测精度。

风力涡轮机的动力系部分

NºPublicación:  CN121195113A 23/12/2025
Solicitante: 
西门子歌美飒可再生能源公司
CN_121195113_PA

Resumen de: WO2024245661A1

It is described a power train portion (1) of a wind turbine (26), comprising: an electrical generator (5) including: a stator (6) having plural teeth (7) with slots (8) in between and having at least one multiphase stator winding set at least partly arranged in the slots (8) forming plural coils (10a, 10b, 10c); a rotor (11) having plural permanent magnets (12a, 12b, 12c) mounted and being rotatably supported relative to the stator (6); a hub (28) with plural mounting sites (32) for plural rotor blades (29), the hub (28) being coupled to the rotor (11), wherein when the hub (28) is rotated to at least one predetermined azimuthal position, oonnee (10a) of the coils (10a, b, c) and one (12a) of the magnets (12a, b,c) have a predetermined circumferential relative position (23a, 23b, 23c,... ).

风机运行数据异常值筛选方法、系统和存储介质

NºPublicación:  CN121188372A 23/12/2025
Solicitante: 
南京信息工程大学
CN_121188372_PA

Resumen de: CN121188372A

本发明公开了一种风机运行数据异常值筛选方法、系统和存储介质,方法包括:获取风机组历史运行数据和天气数据;对数据预处理得到急流指数数据;将以上所有数据进行时空对齐处理得到融合数据集;以融合数据集中的风机功率和急流核心风速构建边界盒模型,将边界盒外的数据点标识为疑似异常点;将急流核心风速值低于预设急流阈的点判定为故障异常点;对于剩余点,将地理数据和天气历史数据输入CFD模型计算理论风机功率范围;风机功率值超出理论风机功率范围的点判定为故障异常点,其余作为极端真值点;将故障异常点剔除对数据空位填补得到风机组正常历史运行数据集;本发明能筛选出极端气象条件下真实数据并剔除故障异常值。

一种基于数字孪生的风力机叶片碳感知智能运维系统

NºPublicación:  CN121184317A 23/12/2025
Solicitante: 
内蒙古工业大学鄂尔多斯应用技术学院
CN_121184317_PA

Resumen de: CN121184317A

本发明适用于风机运维技术领域,尤其涉及一种基于数字孪生的风力机叶片碳感知智能运维系统,所述系统包括:物理层:用于通过设置在风力机叶片上应力传感器、加速度传感器、温度传感器、张力传感器和疲劳传感器,对叶片进行多维度监测,获取传感器数据;传输层:用于为多种传感器进行时间同步,并传输传感器数据;数据层:用于自动记录全生命周期碳排放事件;虚拟层:用于基于三维软件构建叶片三维模型,将传感器数据实时映射到叶片三维模型的孪生体节点上;应用层:用于基于多目标强化算法输出最优运维策略集;本发明通过数字孪生和碳感知智能体结合的架构填补行业空白,为风电行业提供可落地的低碳智能化解决方案。

一种具有凹型垂荡板结构的半潜式风电平台

NºPublicación:  CN121180384A 23/12/2025
Solicitante: 
中车科技创新(北京)有限公司中车大连机车车辆有限公司
CN_121180384_PA

Resumen de: CN121180384A

本发明提供的一种具有凹型垂荡板结构的半潜式风电平台,包括多个浮力单元、多组支撑机构、锚链和风机。利用多个浮力单元和多组支撑机构依次交替排布形成环形空间框架结构,整个平台具有良好的稳定性和刚度。在每个浮力单元中,浮筒底部安装垂荡板,同时,本案创新性地提出了在垂荡板表面设置的向内凹陷的腔体,利用腔体内的流体加速、压缩与扩张效应,在结构内部诱导形成局部高压区和稳定回流涡场,显著增强辐射阻尼与垂荡附加质量,实现“以形控流、高效耗能”的水动力调控机制,有效提升运动抑制能力,而无需扩大垂荡板的整体投影面积。通过上述设置,该半潜式浮式平台在保证结构稳定性的前提下,有效控制建造成本。

一种海上垂直轴风力发电设备

NºPublicación:  CN121184293A 23/12/2025
Solicitante: 
重庆电力高等专科学校
CN_121184293_PA

Resumen de: CN121184293A

本发明属于风力发电设备技术领域,具体涉及一种海上垂直轴风力发电设备。设备主要由升降轴、液压驱动系统、叶片连杆组件和夹持组件构成。通过各组件间的协同运作,实现设备多项优势。升降轴、液压驱动系统和叶片连杆组件配合,能根据风速实时调节设备直径,在低风速下增大直径捕获更多风能,高风速时减小直径保障设备稳定,提升发电效能。夹持组件设计巧妙,维护密封圈时可自动夹紧空心主轴,悬空支撑活塞,缩短维护时间,降低维护成本。此外,第一转臂下端的滚轮降低磨损,结合密封设计,延长设备使用寿命。本发明为海上风力发电行业提供创新解决方案,助力清洁能源发展。

一种基于时间空间合理性的雷达视频融合净空监测方法

NºPublicación:  CN121184309A 23/12/2025
Solicitante: 
国华(乾安)风电有限公司
CN_121184309_PA

Resumen de: CN121184309A

本发明公开了一种基于时间空间合理性的雷达视频融合净空监测方法,包括在风电机组的机舱尾部部署毫米波雷达,机舱底部部署视频相机;毫米波雷达实时采集毫米波雷达数据;视频相机实时采集视频数据;通过时间维度和空间维度验证叶片变形数据和视频数据是否正常,输出来自正常数据源的净空值。本发明提供的一种基于时间空间合理性的雷达视频融合净空监测方法,基于毫米波雷达识别叶片形变数据和视频净空设备识别的净空数据,结合结合时间维度和空间维度的合理性,剔除传感器和算法得到的少量异常数据,得到更真实准确的叶片变形、净空距离与机组三维运动状态的数据,为风电机组净空监测提供有效真实可回溯的数据。

一种叶片振动抑制控制装置及控制方法

NºPublicación:  CN121184308A 23/12/2025
Solicitante: 
中国电建集团贵州工程有限公司
CN_121184308_PA

Resumen de: CN121184308A

本发明涉及风力发电技术领域,尤其是一种叶片振动抑制控制装置及控制方法,包括安装于运输车上的叶根固定架以及叶片固定架;在所述叶根固定架和所述叶片固定架之间夹持固定有叶片;还包括支撑机构;所述支撑机构包括支撑在地面上的底盘,在所述底盘的上方转动连接有调节杆,所述调节杆的上方设置有用于对叶片尾端进行夹持固定的夹持组件,本发明中通过采用一个独立行走的支撑机构用于对叶片的叶尖部分进行支撑,由于叶尖部分在悬伸于运输车后没有良好的支撑,因此在运输时会产生振动,本实施例中通过支撑机构的支撑和固定作用实现对叶尖的支撑固定,如此提升了叶片的运输稳定性,从而达到对叶片运输时振动抑制的目的。

一种风电机组叶片结冰状态红外检测预警设备及方法

NºPublicación:  CN121184318A 23/12/2025
Solicitante: 
淮南瀚洋电力科技有限公司
CN_121184318_PA

Resumen de: CN121184318A

本发明公开了一种风电机组叶片结冰状态红外检测预警设备及方法,涉及风电机组检测技术领域。本发明中:包含多个分布在风电机组周围的红外检测装置,还配有旋转座、伺服电机、基座及环形光电模组,环形光电模组安装于塔架环面且正对叶片最低旋转位置。本发明中设计的红外检测预警方法通过环形光电模组触发检测,筛选可覆盖最低位叶片的相邻红外检测装置,调节装置角度后获取检测结果并加权计算综合结果,依据该结果判断叶片是否结冰及结冰程度,触发对应预警并将信号传输至风电机组控制系统。本发明实现了叶片检测全覆盖,提升检测准确性,为风电机组安全稳定运行提供保障。

一种风能制热的增力装置

NºPublicación:  CN121184323A 23/12/2025
Solicitante: 
天津海运职业学院
CN_121184323_PA

Resumen de: CN121184323A

本发明涉及风力发电技术领域,具体的说是一种风能制热的增力装置,包括底座,所述底座上表面转动安装有竖轴,所述竖轴外表面安装有多个呈环形等距布置的集风罩,所述竖轴下端套设有大链轮,所述大链轮通过链条连接有小链轮,所述底座下侧设有与小链轮同轴连接的大皮带轮,所述大皮带轮通过传动皮带连接有用于安装在发电机的输入轴上的小皮带轮,所述底座上表面安装有防护罩,所述竖轴下端安装有底轴,所述底轴上套设有用于提升润滑油的提升件,所述底座下表面安装有与提升件相连通的储油件,本发明具有如下有益效果:润滑油完成润滑后可回流至储油筒,形成闭环循环,减少润滑油浪费,解决传统大容积储油容器单次补油量多、消耗快的问题。

一种风电变流器调试与监测方法、系统、设备及存储介质

NºPublicación:  CN121192955A 23/12/2025
Solicitante: 
华能会理风力发电有限公司北京华能新锐控制技术有限公司华能新能源股份有限公司国电南瑞科技股份有限公司
CN_121192955_PA

Resumen de: CN121192955A

本发明公开了一种风电变流器调试与监测方法、系统、设备及存储介质,涉及电力电子设备控制与调试技术领域,包括构建风电变流器调试环境,建立上位机与风电变流器控制器的通信连接;基于通信连接,调整风电变流器参数并对风电变流器运行数据进行动态监控;根据动态监控结果对风电变流器运行数据进行分析,基于分析结果对风电变流器参数进行动态更新。本发明所述方法通过构建风电变流器调试环境,建立上位机通信链路,实现参数设定与状态监控闭环,基于运行数据提取事件与波形信息,识别异常并优化参数,实现调试自动化、监控智能化。该方案提升了调试效率、监控精度与系统稳定性,解决通信繁琐、设定误差大与异常识别难等问题。

润滑系统及高寒风风力发电机组

NºPublicación:  CN121184324A 23/12/2025
Solicitante: 
北京京能电力股份有限公司乌兰察布分公司
CN_121184324_PA

Resumen de: CN121184324A

本发明公开了一种润滑系统及高寒风风力发电机组,涉及风力发电机组润滑技术领域,其中,供油模块包括主油箱、润滑泵组件和驱动电机,驱动电机与润滑泵组件通过控制模块信号连接,润滑泵组件的进油口与主油箱连通,温控冷却模块包括双精度过滤器、换向装置和热交换器,双精度过滤器的入口与润滑泵组件的出油口连通,双精度过滤器的出口连接换向装置,换向装置用于连通热交换器或旁通管路,热交换器的出油口与齿轮箱的进油口连通,输送分配模块包括分油配置器和注油器,注油器与分油配置器连通,注油器用于连通各润滑点,低温适应模块包括电加热器,电加热器设置于齿轮箱的油池内,监测模块包括温度传感器,温度传感器用于设置于齿轮箱的油池内。

叶根结构、风电叶片以及叶根结构成型方法

NºPublicación:  CN121184291A 23/12/2025
Solicitante: 
中材科技风电叶片股份有限公司
CN_121184291_PA

Resumen de: CN121184291A

本申请公开了一种叶根结构、风电叶片以及叶根结构成型方法,叶根结构包括:叶根壳体结构具有环形安装空间;多个预埋螺栓套设置于环形安装空间;填充组件包括设置于环形安装空间的多个第一填充棒和多个第二填充棒,多个第一填充棒沿周向排列在相邻两个预埋螺栓套之间,多个第二填充棒一一对应于多个预埋螺栓套,第二填充棒抵接设置于预埋螺栓套在轴向上背离叶根壳体结构的第一端的一侧;填充胶层填充于内壁、外壁、预埋螺栓套、第一填充棒以及第二填充棒之间;界面增强层包裹于第一填充棒和第二填充棒,第一填充棒和第二填充棒彼此的至少部分通过界面增强层连接,界面增强层嵌设于填充胶层内。根据本申请实施例,能够提高叶根结构的结构强度。

一种风电基础智能化高效冷却塔运行方法

NºPublicación:  CN121162479A 19/12/2025
Solicitante: 
中国葛洲坝集团电力有限责任公司三峡电力职业学院
CN_121162479_PA

Resumen de: CN121162479A

一种风电基础智能化高效冷却塔运行方法,该方法通过构建冷却塔功率与进出水温度、变频水泵功率与冷却水流速的关联模型,以及混凝土温度预测、内外温差与设备功率协同控制模型,实时采集系统运行及混凝土温度数据,动态调节冷却塔与变频水泵运行状态,确保混凝土温升值、温度峰值及内外温差满足规范要求,实现精准控温、智能运行与节能降耗,适配多施工工况,有效保障风电基础混凝土施工质量。

用于将重载装入到承载结构中的方法以及根据该方法构建的装备

NºPublicación:  CN121175437A 19/12/2025
Solicitante: 
DSD\u91CD\u578B\u8D77\u91CD\u80A1\u4EFD\u516C\u53F8
CN_121175437_PA

Resumen de: WO2024223545A1

In a method for installing a heavy load in a supporting structure (15), the at least one heavy load is conveyed upwards in said supporting structure (15) and secured so that it can be fixed in the operating position. The heavy load to be moved is, in particular, a reactor (20) for metal extraction in an at least approximately operationally ready state. The heavy load is moved horizontally, by a means of transportation means (11), until partially moved into the supporting structure (15). It is then swivelled upwards by a lifting system (25) mounted in the supporting structure (15) and moved upwards in the supporting structure (15) to its operating position and secured. The heavy load is tilitably mounted on the transportation means (11) so that it can be swivelled up and is lifted off the transportation means (11) by the lifting system (25). In this way, despite the enormously high weight load, this heavy load can be guided to the supporting structure when assembled, swiveled into same and pulled up into the operating position.

一种风力发电机转轴润滑机构

NºPublicación:  CN121162480A 19/12/2025
Solicitante: 
华能金昌光伏发电有限公司
CN_121162480_PA

Resumen de: CN121162480A

本发明涉及风力发电领域,公开了一种风力发电机转轴润滑机构,包括机体,所述机体包括底架、固定连接在所述底架顶端的固定箱、安装在所述固定箱内部的发电机,以及安装在所述固定箱内部的轴承;所述发电机的输出轴与所述轴承配合连接;供液部件,所述供液部件用于对所述轴承输送润滑油以及清洗液;通过回收瓶实现润滑油回收避免浪费,借助清洗刷自动清洁轴承表面防止油污固化,利用过滤棉和回收管实现清洗液循环使用,并通过齿盘与齿条驱动的升降机构使储液箱可降至底部进行维护,实现了润滑可靠、清洁高效、资源节约和维护安全的综合有益效果。

一种太阳能全光谱-氢能协同的等温压缩空气储能系统

NºPublicación:  CN121162372A 19/12/2025
Solicitante: 
南京工程学院
CN_121162372_PA

Resumen de: CN121162372A

本发明公开了一种太阳能全光谱‑氢能协同的等温压缩空气储能系统,压缩空气单元利用等温压缩,将空气压缩成高压空气;太阳能分频单元通过光谱分频技术,将太阳能转化为电能驱动电解制氢,同时利用热能预热压缩空气;多余风电制氢单元利用多余的风电电解水制备氢气;膨胀做功发电单元将高压气体经过太阳能热能预热后,送入膨胀机带动汽轮机做功发电,而后将气体与氢气送入燃烧室进行燃烧加热,再送入膨胀机做功发电;冷却系统的功能是对经过等温压缩后的气体进行冷却;创新点:多余风电制氢与太阳能分频供能协同,实现零碳燃料供给;氢气燃烧加热和太阳能预热双重提温,提升膨胀发电效率。

一种高效制动的风力发电机组

NºPublicación:  CN121162451A 19/12/2025
Solicitante: 
艾斯彼传动技术(天津)股份有限公司
CN_121162451_PA

Resumen de: CN121162451A

本发明公开了一种高效制动的风力发电机组,涉及风力发电技术领域,包括风机组件,风机组件包括地基和机舱,所述机舱内部设有驱动组件,所述驱动组件顶部对称设有外壳组件。本发明中,制动片挤压制动盘时,会先跟随制动盘运动,抵消一部分制动的瞬间冲击力,并且制动片运动的过程中,在弧形块、第一弧形杆和第二弧形杆的作用下会同步带动第一活塞板和第二活塞板运动,从而促使液体缓冲腔中的导热油进入截面较小的环形通道中产生阻力,同时压缩气体缓冲腔中的氮气获得线性增加的阻力,同时在第一磁块和第二磁块的配合下获得线性增加的磁性阻力,进而使得制动盘和主轴受到逐渐增大的制动力。

一种基于风电场运行数据的机组尾流效应分析方法

NºPublicación:  CN121168244A 19/12/2025
Solicitante: 
博望(张北)新能源有限公司北京博望华科科技有限公司
CN_121168244_PA

Resumen de: CN121168244A

本发明涉及风电机组性能评估技术领域,尤其涉及一种基于风电场运行数据的机组尾流效应分析方法,包括S1:获取风电场中各机组的现场运行数据,对运行数据进行预处理,并在不同风速区间内建立基于机组出力与尾流等效偏差角度的功率密度模型;S2:利用功率密度模型,拟合功率密度曲线,计算曲线的边界簇组;S3:基于聚类分析方法,将功率密度曲线的边界簇组最小化,得到机组在尾流作用下的等效偏差角度;S4:根据分析结果评估尾流导致的机组功率损失。本发明提出了基于现场已有运行数据的机组偏航对风误差进行修正的方法,提高了尾流影响识别与功率损失评估的准确性,为风电场优化运行和机组布置提供可靠依据。

一种风机塔筒沉降倾斜监测方法及系统

NºPublicación:  CN121162466A 19/12/2025
Solicitante: 
中国长江三峡集团有限公司
CN_121162466_PA

Resumen de: CN121162466A

本申请提供了一种风机塔筒沉降倾斜监测方法及系统,涉及风力发电设备监测技术领域。通过时空对齐和动态特征筛选,消除了不同传感器数据之间的时序错位和冗余噪声影响,提高了形变量预测模型的输入数据质量。基于时间滞后贡献度的特征权重分配机制,使得形变量预测模型能够更准确地捕捉真实形变规律,避免了高频噪声对低频形变特征提取的干扰。有效解决了传统风机塔筒沉降倾斜监测系统中多源传感器数据融合效率低下的问题。提升了塔筒倾斜角和沉降量的联合预测精度,降低了误报风险,为风机塔筒的健康监测和安全预警提供了更可靠的技术支持。通过无人机点云扫描提供了实时验证机制,进一步提高了监测结果的准确性。

一种风电混塔水平缝节点结构及风电混塔

NºPublicación:  CN223689856U 19/12/2025
Solicitante: 
明阳智慧能源集团股份公司
CN_223689856_U

Resumen de: CN223689856U

本实用新型公开了一种风电混塔水平缝节点结构及风电混塔,所述混塔的两个相邻塔节之间形成水平缝节点;两个相邻塔节靠近水平缝节点的外壁位置分别设置有塔壁加厚结构层,两个相邻塔节的塔壁加厚结构层之间设置有止水胶条。本实用新型能够有效防止结构胶不外溢,并具有安全性高、经济性高、防水性好等优点。

一种风电机组塔筒结构变形的监测装置

NºPublicación:  CN223689863U 19/12/2025
Solicitante: 
中国电建集团华东勘测设计研究院有限公司浙江华东工程咨询有限公司
CN_223689863_U

Resumen de: CN223689863U

本实用新型公开了风力发电技术领域的一种风电机组塔筒结构变形的监测装置,包括风机塔筒,所述风机塔筒的内部设置有激光监测系统,所述激光监测系统包括激光发射器、反射镜和激光接收器,所述激光发射器、反射镜和激光接收器自下至上依次安装在风机塔筒的内壁上,所述风机塔筒内壁靠近激光接收器的一侧设置有综合传感器系统,且综合传感器系统位于反射镜的上方。本实用新型通过激光发射器发射激光信号至反射镜上,并通过反射镜反射到激光接收器上,同时通过综合传感器系统的配合设置,通过判断激光信号的位移情况可以判断该风机塔筒的弯折情况,实现对风机塔筒结构变形的实时监测,从而保证风电机组的顺利运行。

基于多源数据融合的风电机组发电模式决策方法及系统

NºPublicación:  CN121162467A 19/12/2025
Solicitante: 
华能新能源股份有限公司河北分公司北京华能新锐控制技术有限公司西安热工研究院有限公司
CN_121162467_PA

Resumen de: CN121162467A

本发明实施例提供了一种基于多源数据融合的风电机组发电模式决策方法及系统,其通过对原始雷达扫描、SCADA、NWP和CMS振动等多源异构数据进行精细化预处理与同步,提取出同步后的雷达特征、高低频SCADA、NWP时间序列及关键的风机健康指数。利用深度学习模型进行短临期风况突变预测,捕捉瞬时风速和湍流变化;采用GRU模型进行中长周期发电趋势预测,并为两类预测提供置信度评估。引入基于自适应门控的决策因子融合评估模块,该模块融合短临期预测结果、中长周期预测功率、风机健康指数、预测置信度、收益潜力、风险指标及电网约束等多元信息,动态调整各决策因子的权重,实现对发电模式和目标参数的优化决策。

基于多模态信息的风力发电机组故障处理方法、装置、设备及介质

NºPublicación:  CN121167314A 19/12/2025
Solicitante: 
运达能源科技集团股份有限公司
CN_121167314_PA

Resumen de: CN121167314A

本申请公开了基于多模态信息的风力发电机组故障处理方法、装置、设备及介质,涉及风力发电技术领域,包括:预处理风力发电机组的多模态故障相关信息,构建多模态故障数据库;基于多模态故障数据库构建多模态联合语义嵌入空间,结合跨模态分层注意力机制确定优化后的当前多模态大模型;基于多模态联合语义嵌入空间动态构建三维的知识图谱,在利用知识图谱进行故障传播路径识别的强化学习过程中,针对新发生的目标风机故障事件,确定路径识别结果;基于路径识别结果和当前多模态大模型确定结构化决策报告,以触发设备维修操作,基于相应的维修记录和当前多模态大模型确定修正反馈报告。能够解决现有解决方案中的不足,提高故障处理决策的准确性。

用于制造复合材料层压结构的系统和方法

NºPublicación:  CN121175182A 19/12/2025
Solicitante: 
速伯安有限责任公司
CN_121175182_A

Resumen de: WO2024243320A2

A method is disclosed. The method includes applying a layer of braided fiber material around a tool. The method also includes arranging a composite laminate sheet onto the braided fiber material. The method further includes applying an additional layer of braided fiber material on the composite laminate sheet to form a spar. The method additionally includes joining the spar, such that the layers of braided fiber material are fixedly coupled to the composite laminate sheet. The method includes removing the tool from the spar.

一种风力发电机叶片检测装置及方法

NºPublicación:  CN121164307A 19/12/2025
Solicitante: 
胡京京
CN_121164307_PA

Resumen de: CN121164307A

本发明公开了一种风力发电机叶片检测装置及方法,包括基座、叶根固定组件、检测组件和叶尾支撑组件,所述叶根固定组件用于固定叶片的叶根处,所述检测组件用于笼罩叶片外部进行检测作业,所述叶尾支撑组件用于对叶尾处进行支撑以及举升将叶片进行动态检测;所述检测组件包括检测箱、两组弹性遮光帘,所述弹性遮光帘用于遮蔽检测箱与叶片之间的空隙;检测方法包括如下步骤:S1:一次喷涂荧光检测剂;S2:固定叶片;S3:静态检测;S4:二次喷涂荧光检测剂;S5:动态检测;S6:移动检测;S7:转向检测。本发明可对风电叶片的裂纹进行静态检测,还能够模拟叶片在受力状态下表面会产生的裂纹,可以模拟实际应用时的状态,显著提高检测精度。

一种可调节风电混塔管片混凝土拼装平台

NºPublicación:  CN223689855U 19/12/2025
Solicitante: 
明阳智慧能源集团股份公司
CN_223689855_U

Resumen de: CN223689855U

本实用新型公开了一种可调节风电混塔管片混凝土拼装平台,包括连接构件、混凝土小平台及拼环辅助工装;所述连接构件包括连接底座及多根伸缩杆,多根伸缩杆围绕连接底座周向布置,所述伸缩杆的一端与连接底座固定连接,所述伸缩杆的另一端与混凝土小平台连接,用于可活动式调节拼环直径;所述拼环辅助工装安装在各混凝土小平台的顶部,用于夹紧混塔管片;本实用新型能够实现灵活调整拼环直径及承托高度,使拼接段端部与最开始安装的拼接段之间达到良好的契合;同时采用混凝土作为拼装平台的主要材料,与传统钢制平台相比,能够大幅降低制造成本及运输成本。

一种风力发电机组塔筒门现场修复装置

NºPublicación:  CN223689868U 19/12/2025
Solicitante: 
明阳智慧能源集团股份公司
CN_223689868_U

Resumen de: CN223689868U

本实用新型公开了一种风力发电机组塔筒门现场修复装置,包括夹紧梁、第一螺栓对穿组件、第二螺栓对穿组件、加强梁、垫板以及加压组件;所述夹紧梁有至少两组,每组夹紧梁有两根并分别对应设置在塔筒门的外侧及内侧,两根夹紧梁的顶端之间通过第一螺栓对穿组件连接在一起,两根夹紧梁的底端之间通过第二螺栓对穿组件连接在一起,所述加强梁装配在每根夹紧梁的外侧;所述加压组件的一端与夹紧梁可拆卸式连接,所述加压组件的另一端通过垫板与塔筒门形成可拆卸式连接;所述加热带设置在储油桶的外壁处并靠近储油桶的底部;本实用新型实现在现场对塔筒门修复,只需使用冷工操作,施工安全可靠,适应多种型号的塔筒门修复,结构简单且适用性较广。

一种装配式风电塔筒结构

NºPublicación:  CN223689854U 19/12/2025
Solicitante: 
中铁十四局集团房桥有限公司
CN_223689854_U

Resumen de: CN223689854U

本实用新型公开了一种装配式风电塔筒结构,包括多个塔环,每个由多个塔片拼接而成,在塔片的周向上设置预应力孔,预应力孔形成闭合的环形孔道,在环形孔道内安装环向预应力筋;在塔片的底面和左侧面设置凹隼,在塔片的顶面和右侧面设置凸隼;在塔片上设置有浅口缝;在浅口缝内设置止水胶条;在塔片上设置有贯穿上下两面的竖向孔,多个塔环拼装后对应的竖向孔形成贯穿塔筒上下两端的竖向孔道,在竖向孔道内安装竖向预应力筋。该塔筒结构通过工厂预制及现场拼装的方式有效降低制作成本,缩短施工周期,其整体施加环向和竖向的预应力,增加了结构强度,具有较高的耐久性和使用寿命。

一种风轮机组叶片雷电流传输单元耐磨装置

NºPublicación:  CN223689866U 19/12/2025
Solicitante: 
新疆风能有限责任公司
CN_223689866_U

Resumen de: CN223689866U

本实用新型涉及一种风轮机组叶片雷电流传输单元耐磨装置,其包括L形的安装架和固设在安装架的竖板上的安装板,所述安装板设置在竖板远离横板的一侧,所述竖板和安装板上部呈V形夹角;所述竖板和安装板上部分别固设有一个支架,所述支架上端外侧固设有耐磨支架,所述耐磨支架上安装有耐磨块;所述支架采用玻璃纤维树脂材料,所述耐磨块包括位于内部的耐磨内芯和套在耐磨内芯侧面的耐磨层,所述耐磨内芯采用黄铜材质,所述耐磨层采用尼龙材质。所述风轮机组叶片雷电流传输单元耐磨装置,即保证了风轮机组运行过程中产生感应电及雷电流的释放,也保证了有效可靠的接地,降低了备件消耗量,避开了进口备件技术壁垒,有效实现了降本增效的目的。

一种引风与聚风罩发电装置

NºPublicación:  CN121162446A 19/12/2025
Solicitante: 
广西大学
CN_121162446_PA

Resumen de: CN121162446A

本发明涉及风能和太阳能发电技术领域,提供一种引风与聚风罩发电装置,包括引风罩、聚风罩、聚风流道、引风流道、风力发电机。通过渐缩式喇叭形聚风罩同轴外套安装出口段呈短管碗足状的抛物面引风罩;聚风罩和引风罩的入口直径比为1:2~1:4、出口直径比为1:1.5~1:2及引风罩入口直径与轴向长度比为1.5:1~4:1;聚风流道与引风流道构建成非升压的流速型新型聚风发电方式,实现风力发电机风速高效的提升,解决聚风发电系统聚风的问题;通过拋物面引风罩,聚风罩出入口轴向距离不超出引风罩出入口轴向距离,将聚光与聚风集成于同一装置,解决传统风光互补系统问题,形成一体化的发电模式,促进低风速区域及联合发电系统能源利用的提高。

一种风车叶片修复机器人及工作方法

NºPublicación:  CN121162477A 19/12/2025
Solicitante: 
山东磁浮列车轨道工程有限公司
CN_121162477_PA

Resumen de: CN121162477A

本发明涉及风车叶片修复技术领域,具体公开了一种风车叶片修复机器人及工作方法,包括机架和无人机,机架上部安装无人机,机架上安装爬行机构、打磨机构和刮胶机构,丝杠两侧螺纹连接单悬架支架,单悬架支架上安装两组履带,丝杠控制两侧履带贴紧叶片,丝杠安装在机架的前部;打磨盘安装在打磨电机的电机轴上,打磨电机安装在摆动架上,摆动架安装在摆动电机上,摆动电机安装在X‑Z运动结构上,X‑Z运动结构安装在机架的中部;储胶桶上设有出胶口,出胶口通过输胶管道连接喷胶头,喷胶头安装在张紧滑座前部,张紧滑座两侧安装张紧板,张紧板之间安装抹平板;本发明实现一体化的维护工作,提高了维护的效率,降低了人工操作的风险。

发电模组、发电模组的安装方法及无人值守电站

NºPublicación:  CN121162456A 19/12/2025
Solicitante: 
深圳市瑞能时代科技有限公司
CN_121162456_PA

Resumen de: CN121162456A

本发明公开一种发电模组、发电模组的安装方法以及无人值守电站,其中,发电模组包括风机以及至少一个便携式储能电源,风机用于将风能转化为电能;便携式储能电源与风机连接,风机能够发电给便携式储能电源充电;风机连接有风机支架,风机支架底部设有支撑杆,风机支架底部还设置有悬挂装置,悬挂装置的一端连接于风机支架,另一端用于悬挂便携式储能电源。本发明技术方案通过便携式储能电源的自重增加风机支架的稳定性,形成防风阻尼结构,提高发电模组在复杂环境中长期工作的结构稳定性。

一种风电机组机舱罩快速对接安装组件

NºPublicación:  CN121162459A 19/12/2025
Solicitante: 
吉林市东奇科技有限公司
CN_121162459_PA

Resumen de: CN121162459A

本发明属于机舱罩安装技术领域,具体的说是一种风电机组机舱罩快速对接安装组件,包括机舱法兰、塔筒法兰;所述机舱法兰顶部固接有舱体;所述舱体底部通过固定柱固接有承接环,所述承接环顶部开设有用于预存螺栓的六边通槽,且六边通槽和螺栓头部相适配;所述六边通槽和机舱法兰上的孔槽位置相对应;本发明通过放栓拧栓单元实现自动化放栓拧栓,搭配压力传感器双重验证吸附与插入状态,解决传统无验证导致的高空螺栓掉落风险;通过限转、限脱单元锁定防护,避免插入误判及螺栓偏转,确保智能扳手套合精准,提升安装安全性与效率。

一种用于海上风机的拉索平台

NºPublicación:  CN223689860U 19/12/2025
Solicitante: 
上海戈洛立科技有限公司
CN_223689860_U

Resumen de: CN223689860U

本实用新型提供一种用于海上风机的拉索平台,包括主平台、第一拉索组件和第二拉索组件;主平台具有第一端部和第二端部,第一拉索组件和第二拉索组件分别连接第一端部的两侧,第二端部设置有铰接机构,铰接机构与风机固定连接,用以调整主平台的俯仰角度;第一拉索组件和第二拉索组件均包括动力单元、钢丝绳和塔上支座,动力单元固定设置于主平台,塔上支座设置于风机机舱,钢丝绳连接动力单元和塔上支座;通过拉索组件的动力单元拉紧或者释放钢丝绳调节平台水平。本实用新型提供的用于海上风机的拉索平台,设置拉索组件,通过拉索组件的动力单元拉紧或者释放钢丝绳调节平台水平,平台依附于风机,不受船只或海浪等影响,使吊装过程更为平稳。

一种风力发电机电缆保护结构

NºPublicación:  CN223689870U 19/12/2025
Solicitante: 
国华(赤城)风电有限公司
CN_223689870_U

Resumen de: CN223689870U

本实用新型涉及一种风力发电机电缆保护结构。采用的技术方案是:风机扶梯的一侧固定安装支架,支架上端右侧固定安装防护组件,防护组件包括左右两个后端铰接在一起的半圆环,左右半圆环的前端开口的外侧壁分别开设固定耳,左右固定耳通过插装紧固螺栓进行固定连接,左右半圆环形成的圆周内壁圆周阵列开设通孔,通孔内活动插装缓冲销,缓冲销的两端分别活动套装弹簧,左右半圆环内插装的缓冲销朝内的一端分别与半圆环柱的外侧固定连接,相邻缓冲销之间的半圆环柱上分别活动套装缓冲胶套。本实用新型的有益效果:将电缆线束固定,避免与风机扶梯的摩擦接触,同时,将电缆的震动消解,避免对风机扶梯的直接震动。

一种装配式抗震风电塔筒

NºPublicación:  CN223689853U 19/12/2025
Solicitante: 
江苏天能海洋重工有限公司
CN_223689853_U

Resumen de: CN223689853U

本实用新型公开了一种装配式抗震风电塔筒,包括塔筒段,所述塔筒段外壁上端固定连接有第一法兰盘,所述塔筒段外壁下端固定连接有第二法兰盘,所述第二法兰盘底端固定连接有卡环,所述卡环内壁嵌设有连接吊盘,所述连接吊盘中心底端固定连接有第一安装环,所述塔筒段内壁上端固定连接有固定盘,所述固定盘顶端一侧固定连接有电机,所述电机的输出端固定连接有蜗杆,所述固定盘顶端靠近蜗杆一侧固定连接有呈U型状设置的第一支架,所述第一支架贯穿转动连接有转杆,所述转杆杆壁下端固定连接有蜗轮,所述转杆顶端开设有螺纹槽,所述螺纹槽内壁螺纹连接有螺纹滑块,本实用新型可以增强每个塔筒段之间的稳定性,避免地震较强时造成晃动。

一种小型农风互补风能发电设备

NºPublicación:  CN223689850U 19/12/2025
Solicitante: 
国家能源集团乐东发电有限公司
CN_223689850_U

Resumen de: CN223689850U

本实用新型涉及风能发电技术领域,提供了一种小型农风互补风能发电设备,包括风扇组件,设置于发电机固定组件的上方;发电机固定组件,位于风扇组件与底部固定上部分组件之间,发电机固定组件的内侧安装有电动机示意组件;底部固定上部分组件,设置于发电机固定组件与底部固定下部分组件之间;通过风扇组件的设置,可以吸收风力,让其旋转进行发电,且结构独特,由四条叶片以螺线式分布在受力杆上,这样的设计能够最大化地利用风能。叶片顶部设置有伞状结构,可以有效减小风阻,同时保护内部结构免受恶劣天气的影响。底部与中间位置则设有风扇形变固定装置,该装置呈盘状结构,能够增强风扇的稳定性和耐用性。

基于AI多源数据融合的风电机组健康评估方法及系统

NºPublicación:  CN121167367A 19/12/2025
Solicitante: 
大唐可再生能源试验研究院有限公司
CN_121167367_PA

Resumen de: CN121167367A

本申请涉及数据分析技术领域,提供一种基于AI多源数据融合的风电机组健康评估方法及系统,用以实现准确、动态的风电机组健康评估,该方法包括:通过设置的传感器网络采集风电机组的第一运行数据集,对其进行多维状态特征挖掘得到多维状态特征集;结合该特征集,利用预先构建的状态推演模型进行状态推演迭代,引入不同初始条件和参数扰动进行多路径推演,生成多个状态推演迭代结果;对状态推演迭代结果进行基于冲突消解的融合处理,结合特征关联性权重矩阵和可信度评估机制得到状态推演融合结果;最后,将状态推演融合结果与采集时刻晚于第一运行数据集的第二运行数据集进行基于同步时序分析的状态评估,得到风电机组的健康状态评估标签。

一种预防塔筒制造和运输时变形的结构及方法

NºPublicación:  CN121162462A 19/12/2025
Solicitante: 
东方电气风电股份有限公司
CN_121162462_PA

Resumen de: CN121162462A

本发明属于塔筒技术领域,特别涉及一种预防塔筒制造和运输时变形的结构及方法。其技术方案为:一种预防塔筒制造和运输时变形的结构,包括若干片分片筒体,若干分片筒体拼合成圆柱筒体,分片筒体沿轴线方向的两端均固定有分片环形法兰,分片环向法兰的两端之间连接有环向防变形工装,分片筒体沿圆周方向的两端的内侧均连接有纵向法兰,分片筒体两端的纵向法兰之间连接有若干纵向防变形工装。本发明提供了一种预防塔筒制造和运输时变形的结构及方法,既有效防止了在塔筒厂内切割后、运输过程中的变形,又能保证现场拼装时塔筒的拼装效率。

一种用于箱变上移机舱的密封结构

NºPublicación:  CN121162686A 19/12/2025
Solicitante: 
江苏常友环保科技股份有限公司
CN_121162686_PA

Resumen de: CN121162686A

本发明涉及风力发电设备密封技术领域,具体公开了一种用于箱变上移机舱的密封结构,包括密封条和接合组件,密封条内部设置有中空腔,内侧固定套接有第一基条和第二基条,且两端均设有扣座,接合组件包括定轴座、动轴盖、定销扣和转销扣,动轴盖与定轴座之间设有密封滑环、弹簧及滑销,用于实现升降锁接和柔性缓冲,所述转销扣可旋转90度与箱变连接,结构封闭紧凑,密封可靠,本发明结构将密封功能与连接结构高度集成,具备良好的弹性适应性、动态补偿能力和快速装配性能,特别适用于风电机舱与箱式变压器之间的高空对接密封场景。

弯曲加强元件、支撑体及结构

NºPublicación:  CN121175893A 19/12/2025
Solicitante: 
先进能源工业公司
CN_121175893_PA

Resumen de: WO2024194615A1

A method and apparatus for locating an elongate flexible member at a desired location with respect to an aperture in a wall of a structure are disclosed. The apparatus comprises: a support body comprising a through passageway that extends through the support body from a first end of the support body to a further end of the support body; and a bend stiffener element securable at the first end; wherein a longitudinal axis of the bend stiffener element, for at least a portion of a whole length of the bend stiffener element, is curved.

一种具有信息发布功能的水面航标

NºPublicación:  CN223686778U 19/12/2025
Solicitante: 
中国海员工会长江南京航道局委员会
CN_223686778_U

Resumen de: CN223686778U

本实用新型公开一种具有信息发布功能的水面航标,包括漂浮在水面上的浮体,安装在浮体上的支撑框架;信息发布单元,包括电路连接的LED显示屏、驱动控制器和主控制器,所述LED显示屏安装在支撑框架侧面;通信模块,与主控制器电路连接,用于与控制中心进行数据交互;混合电源系统,包括太阳能板、风力发电机、MPPT控制器和锂电池组,太阳能板和风力发电机安装在支撑框架顶部,并通过MPPT控制器为锂电池组充电,锂电池组用于供电;还包括与主控制器电路连接的声音警报器和LED航标灯;本实用新型能够通过水面航标实时发布航道状态、水文气象等信息,并提高能源供应的稳定性和可靠性,提高水面航标的警示效果和导航功能,适用于内河航道、港口、近海等场景。

一种分段变角度变结构腹板支撑的风电叶片

NºPublicación:  CN223689848U 19/12/2025
Solicitante: 
沈阳工业大学
CN_223689848_U

Resumen de: CN223689848U

本实用新型提供了一种分段变角度变结构腹板支撑的风电叶片,属于风力发电技术领域,该叶片主体为中空腔体,在其内表面,并沿其轴线方向,对称地设置有上主梁和下主梁,将叶片主体沿其轴线方向分为三部分,分别为叶根、叶身和叶尾,且三个腹板分别位于叶片主体的三个部分之中;三个腹板分别为第一腹板、第二腹板和第三腹板,且第一腹板沿叶根轴向设置,第二腹板沿叶身轴向设置,第三腹板沿叶尾轴向设置;分别针对叶根、叶身和叶尾的特性,分别设计与之相适应的腹板支撑结构,即在叶根处设置有第一腹板、在叶身处设置有第二腹板和在叶尾处设置有第三腹板,实现了对腹板支撑结构的高效利用,显著增强了叶片的整体结构强度。

一种转子与叶片的连接结构及风力发电机组

NºPublicación:  CN223689851U 19/12/2025
Solicitante: 
明阳智慧能源集团股份公司
CN_223689851_U

Resumen de: CN223689851U

本实用新型公开了一种转子与叶片的连接结构及风力发电机组,包括连接组件,连接组件包括固定套、连接杆、弹出组件、加固组件和抵紧组件,固定套套设于转子本体的外侧,连接杆的一端通过固定套外周面的第一通孔插入固定套内,并抵触至弹出组件的一端,弹出组件的另一端固定于转子本体的外周面,连接杆的一端由内向外依次设置有限位凹槽以及第一螺纹孔,加固组件的一端通过固定套顶面的第二螺纹孔向下拧入固定套内,并与第一螺纹孔螺纹连接,两个抵紧组件对称设置于限位凹槽的上下两侧,一端分别嵌入限位凹槽内,另一端分别穿出固定套顶面和底面的第三通孔。本实用新型能够有效解决风机叶片与转子之间采用焊接连接,导致叶片维修和更换难的问题。

一种风电叶片的法兰固定装置

NºPublicación:  CN223689869U 19/12/2025
Solicitante: 
威海朗盛新能源科技有限公司
CN_223689869_U

Resumen de: CN223689869U

本实用新型涉及一种风电叶片的法兰固定装置,包括法兰本体,法兰本体上开设有多个环形设置的通孔一以及位于通孔一内测的多个环形设置的通孔二,法兰本体内开设有环形槽一以及位于环形槽一内测环形槽二,环形槽一用于各个通孔一之间连通,环形槽二用于各个通孔二之间连通,环形槽一与各个通孔一连通,环形槽二与各个通孔二连通,法兰本体的侧壁开设有与一个通孔一、一个通孔二、环形槽一以及环形槽二连通的加油孔,通过通孔一、通孔二、环形槽一、环形槽二、加油孔和密封组件的使用,能够对法兰内部进行更好的润滑处理,有利于对法兰进行更好的防磨损保护,同时能够对润滑油进行更好的密封,能够防止润滑油从加油孔内部溢出,使用方便。

一种风电叶片叶尖避雷装置

NºPublicación:  CN223689867U 19/12/2025
Solicitante: 
中建三局集团有限公司
CN_223689867_U

Resumen de: CN223689867U

本实用新型涉及一种风电叶片叶尖避雷装置。本实用新型包括一端开口的安装套,安装套的另一端安装有避雷针,安装套的内部一侧安装有第一夹持板,另一侧设有第二夹持板,安装套对应第二夹持板的一侧开设有螺纹孔,螺纹孔的内侧设置有用于调节第二夹持板位置的调节机构,安装套的另一侧外侧设置有导线,导线的一端和避雷针的接线端电性连接。本实用新型能有效实现快速夹持风电叶片,提高安装效率,具有较高的实用价值。

一种用于海上风电塔筒的加固结构

NºPublicación:  CN223689859U 19/12/2025
Solicitante: 
扬州丰盛机电有限公司
CN_223689859_U

Resumen de: CN223689859U

本实用新型属于加固结构领域,具体涉及一种用于海上风电塔筒的加固结构,包括底座,所述底座的顶部固定连接有塔筒,所述塔筒的外侧滑动套接有两个呈对称分布的下支撑环,两个所述下支撑环之前相互接触,所述下支撑环的外侧通过螺栓螺母固定安装有安装座,所述下支撑环的顶部固定连接有连杆。本实用新型通过设计下支撑环及上支撑环的作用,两个支撑环套设在塔筒的外侧可对塔筒进行辅助支撑,起到加固塔筒结构的目的,通过螺杆与滑块的螺纹连接,通过转动把手带动螺杆时可实现滑块的螺纹运动,滑块的移动可实现铰接杆的偏转,铰接杆的偏转可推动下支撑环进行竖直方向的移动,方便灵活调整对塔筒的支撑加固位置。

一种通用风电混塔防护网装置

NºPublicación:  CN223689852U 19/12/2025
Solicitante: 
明阳智慧能源集团股份公司
CN_223689852_U

Resumen de: CN223689852U

本实用新型公开了一种通用风电混塔防护网装置,包括压紧装置、拉索装置、扁钢、钢丝绳、钢丝绳网以及轧花网;所述扁钢沿风电塔筒内弧设置,并通过压紧装置固定在风电塔筒内壁;所述拉索装置沿扁钢的直径交叉设置,所述拉索装置的两端均固定在扁钢上,并靠近压紧装置;所述钢丝绳网与轧花网叠置并通过钢丝绳固定在扁钢内;本实用新型能够根据现场塔筒直径进行防护网安装,其通用性强,不影响塔筒吊装工期,且安装简单方便,效率高,材料成本、人工成本以及安装维护成本低。

一种无人机测试风力发电机组叶片防雷的设备

NºPublicación:  CN223689861U 19/12/2025
Solicitante: 
南京地标检测技术服务有限公司
CN_223689861_U

Resumen de: CN223689861U

本实用新型涉及风力发电设备技术领域,具体为一种无人机测试风力发电机组叶片防雷的设备,包括:无人机,无人机顶部一侧设置有信号收发器,无人机顶部另外一侧设置有风速传感器,信号收发器与风速传感器之间设置有限位组件,限位组件包括绝缘压片,绝缘压片一侧滑动插接有导杆,导杆呈圆周阵列布置,导杆顶部与柔性铜网固定连接,其中一所述导杆上滑动套设有导环,导环与导线一端固定连接,导线另外一端与直阻仪一端连接,直阻仪另外一端与塔基接地线连接;通过无人机依次对叶尖进行接触式叶片防雷系统阻值测试,不仅提高了安全性与测量效率,还保证了测量的精度,同时提高了适用性,尤其是高塔和大型机组,解决了传统方法操作难度大的问题。

一种模块化风-光-浪能综合应用的深远海养殖平台

NºPublicación:  CN223681785U 19/12/2025
Solicitante: 
中国电建集团华东勘测设计研究院有限公司
CN_223681785_U

Resumen de: CN223681785U

本实用新型提供了一种模块化风‑光‑浪能综合应用的深远海养殖平台,包括中央漂浮式综合平台,中央漂浮式综合平台上设置有海上风力发电模块、海上光伏发电模块和海上波浪能发电模块,海上波浪能发电模块包括波浪能液压杆,中央漂浮式综合平台的周侧通过分离式液压铰链结构和波浪能液压杆连接可以上下摆动的桁架式养殖网箱,通过将供电设备的集成化,为桁架式养殖网箱进行原位供电,实现深远海养网箱电力自给,弥补现有深远海养殖平台在能源自给方面的不足;形成了综合多能互补供电体系,多能互补发电的形式充分利用了海上风能、光能以及波浪能,为深远海养殖提供了绿色、零排放、可持续的原位供电。

一种超大型塔筒防止形变加固装置

NºPublicación:  CN223689858U 19/12/2025
Solicitante: 
中国电建集团华东勘测设计研究院有限公司浙江华东工程咨询有限公司
CN_223689858_U

Resumen de: CN223689858U

本实用新型公开了风力发电技术领域的一种超大型塔筒防止形变加固装置,包括塔筒法兰,塔筒法兰的内部分别设置有刚性抗压组件和弹性抗拉组件,刚性抗压组件包括刚性抗压支撑杆和第一斜杆,刚性抗压支撑杆与第一斜杆以及第一斜杆与塔筒法兰的连接处均设置有第一紧固件,弹性抗拉组件包括弹性抗拉绳和第二斜杆,第二斜杆通过第一紧固件与塔筒法兰连接,弹性抗拉绳与第二斜杆的连接处设置有第二紧固件。本实用新型通过刚性抗压组件的设置,有效防止大型塔筒产生的横向压力而产生形变,通过刚性抗压组件的设置,有效防止大型塔筒产生的竖向拉力而产生形变,从而保证塔筒在安装使用过程中的安全性。

一种风电塔筒螺栓保护监测装置

NºPublicación:  CN223689862U 19/12/2025
Solicitante: 
中国电建集团华东勘测设计研究院有限公司浙江华东工程咨询有限公司
CN_223689862_U

Resumen de: CN223689862U

本实用新型公开了风力发电技术领域的一种风电塔筒螺栓保护监测装置,包括两组塔筒法兰盘,两组塔筒法兰盘之间通过若干个螺栓组件连接,所述螺栓组件的顶部设置有激光发射组件,且激光发射组件位于上端塔筒法兰盘的顶部,所述螺栓组件的底部设置有激光接收组件,且激光接收组件位于下端塔筒法兰盘的底部。本实用新型通过螺栓组件、激光发射组件和激光接收组件的配合设置,通过判断激光信号位置是否发生变化判断螺栓头与螺母间是否发生相互转动,以此监测风电塔筒螺栓的松动情况,从而在其松动时能及时维修,保证风电机组的顺利运行。

一种风机塔筒法兰固定螺栓防腐安装结构

NºPublicación:  CN223689857U 19/12/2025
Solicitante: 
上海申能新能源投资有限公司
CN_223689857_U

Resumen de: CN223689857U

本实用新型涉及风机塔筒安装技术领域,公开了一种风机塔筒法兰固定螺栓防腐安装结构,包括塔筒,塔筒的下侧固定连接有法兰盘,法兰盘上开设有多个螺孔,多个螺孔呈圆周阵列分布,法兰盘的内部开设有多个一号涵槽,每个一号涵槽的一端分别与螺孔连通,法兰盘的上侧固定连接有限位台,限位台的上侧开设有卡槽,本实用新型通过环形储油箱、二号涵槽、卡板和一号涵槽相互配合,将环形储油箱里储存的防腐油,加注到螺孔中,通过防腐油在螺栓表面形成保护膜,阻隔空气和水分对金属的腐蚀,从而实现防锈、防腐的目的,且远期防腐更有保障。

用于风电机组的巡检无人机

NºPublicación:  CN223686865U 19/12/2025
Solicitante: 
郑州圣闰电力科技有限公司
CN_223686865_U

Resumen de: CN223686865U

本实用新型公开了用于风电机组的巡检无人机,包括无人机本体和安装于无人机本体处的若干个螺旋桨,所述螺旋桨安装于无人机本体的若干个驱动轴处,所述无人机本体的底端安装有用于巡检的检测模组,还包括固定翼和护罩组;通过加装固定翼引导气流,避免气流在机身周围形成漩涡,再结合流线状的无人机本体形状,起到良好的导流效果,保证无人机本体处于风轮周围时的稳定性,通过对螺旋桨处增设螺旋桨护罩,以减少气流对螺旋桨升力的直接干扰,从而实现即使处于风轮周围,也可以保持良好的自身稳定性。

一种风力发电机组联轴器防护罩

NºPublicación:  CN223689864U 19/12/2025
Solicitante: 
明阳智慧能源集团股份公司
CN_223689864_U

Resumen de: CN223689864U

本实用新型公开了一种风力发电机组联轴器防护装置,包括防护罩、两个支腿和可替换调整支座,所述防护罩设置于两个支腿上,每个支腿的一侧通过可替换调整支座与风机主机连接,其另一侧直接与风机主机连接。本实用新型能够将联轴器及制动盘包裹于内,避免人员触碰旋转部件带来安全隐患,同时,又不影响联轴器正常工作。

一种叶根结构及风电叶片

NºPublicación:  CN223689849U 19/12/2025
Solicitante: 
株洲时代新材料科技股份有限公司
CN_223689849_U

Resumen de: CN223689849U

本实用新型属于风电叶片技术领域,具体涉及一种叶根结构及风电叶片,包括外层玻璃钢、内层玻璃钢、数个螺栓套、数个楔形条和数个径向连接件,数个螺栓套和数个楔形条预埋设置在外层玻璃钢和内层玻璃钢之间,并在外层玻璃钢和内层玻璃钢之间沿叶根的环向交错设置,数个螺栓套和/或数个楔形条的侧面沿叶根的径向开设有固定孔,各径向连接件穿过外层玻璃钢和/或内层玻璃钢并穿设在对应的固定孔中,以使外层玻璃钢及内层玻璃钢在叶根径向上与数个螺栓套和/或数个楔形条固定。本实用新型可防止螺栓套、楔形条与外层玻璃钢和内层玻璃钢之间的界面分层失效,减少因界面力导致的螺栓套拔出失效问题,提高叶根处的结构强度,延长风电叶片的使用寿命。

一种风力发电机组轴承座攀爬装置

NºPublicación:  CN223689865U 19/12/2025
Solicitante: 
明阳智慧能源集团股份公司
CN_223689865_U

Resumen de: CN223689865U

本实用新型公开了一种风力发电机组轴承座攀爬装置,包括弧形爬梯、脚踏板和支撑架,所述弧形爬梯有两个,并对称安装于轴承座上部的左右两侧,所述脚踏板通过支撑架安装于两个弧形爬梯之间,并位于风力发电机组的机舱天窗的正下方。本实用新型能够有效解决风力发电机组大型轴承座难以攀爬作业的问题。

一种风电塔筒健康综合监测方法及系统

NºPublicación:  CN121162473A 19/12/2025
Solicitante: 
浙江工业大学
CN_121162473_PA

Resumen de: CN121162473A

本发明公开了一种风电塔筒健康综合监测方法及系统,所述系统包含倾斜振动监测系统、沉降监测系统和螺栓应变监测系统,倾斜振动监测系统包括电源模块、处理器模块、LORA模块、4G模块和倾角传感器模块;沉降监测系统包括电源模块、处理器模块、LORA模块和RTK定位模块;螺栓应变监测系统包括电源模块、处理器模块、LORA模块、应变采集模块,所述沉降监测系统和螺栓应变监测系统通过低功耗LORA通讯的方式将通讯内容发送至倾斜振动监测系统中的LORA模块接收端,数据初步处理后再由4G通讯的方式发送至云服务器,上位机从云服务器获取数据,并进行处理判断。本发明运用多种传感器组合为一套综合数据监测系统,通过SCL3300加速度传感器监测塔筒倾斜振动,通过北斗卫星RTK定位方式监测沉降,选取重点螺栓监测应力,数据经过上位机处理判定是否危险,相较于传统的人工定时现场布置监测计划维修的方式,能够做到实时在线监测,发现异常及时报警,事后维修能够及时到位,大大减少经济损失。

一种风力发电机组叶片在运行状态下的形变监测方法及系统

NºPublicación:  CN121162472A 19/12/2025
Solicitante: 
广州微体科技有限公司
CN_121162472_PA

Resumen de: CN121162472A

本发明涉及一种风力发电机组叶片在运行状态下的形变监测方法,包括以下步骤:在叶片内布设光纤光栅传感器阵列,采集多截面应变数据;通过灵敏度矩阵将应变转换为曲率和扭转率,经积分计算得到挠度和扭转角;在机舱安装激光测距仪,获取叶片扫过瞬时的空间轮廓点云;从点云中提取若干参考截面的绝对位移,通过分段线性插值对光纤光栅积分结果进行全场校正;结合 SCADA 运行参数,输出叶片在世界坐标系下的三维形变向量;该风力发电机组叶片在运行状态下的形变监测方法能够实现全叶片覆盖、精确捕捉形变方向、并可与其他运行数据深度融合的新型叶片形变监测方法,已成为行业发展的迫切需求。

用于风机电气传动试验台的机电混合惯量模拟系统及方法

NºPublicación:  CN121162470A 19/12/2025
Solicitante: 
中车株洲电力机车研究所有限公司
CN_121162470_PA

Resumen de: CN121162470A

本发明公开了一种用于风机电气传动试验台的机电混合惯量模拟系统及方法,系统包括:机械惯量模拟单元,包括一组以上的飞轮,用于提供基础机械惯量;电惯量模拟单元,包括陪试电机、驱动陪试电机的变频器、以及用于采集电机速度的转速传感器;电惯量控制器,分别与变频器和转速传感器信号连接;上位机操作站,与电惯量控制器通信连接;电惯量控制器,用于接收上位机操作站的试验参数和指令,并采集试验过程中陪试电机的转速信号和传动系统的力矩信号;基于风电机组的总目标惯量与试验台固有惯量及机械惯量模拟单元所提供的惯量之间的差值,通过控制变频器来调节陪试电机的输出转矩或转速。本发明具有结构简单、平顺性好等优点。

一种塔筒法兰快速连接与分离装置及方法

NºPublicación:  CN121162458A 19/12/2025
Solicitante: 
中国电建集团贵州工程有限公司
CN_121162458_PA

Resumen de: CN121162458A

本发明涉及塔筒组装技术领域,尤其是一种塔筒法兰快速连接与分离装置,由起吊机构、固定滚轮架以及活动滚轮架组成,所述固定滚轮架与所述活动滚轮架对应设置在所述起吊机构起吊端的下方,所述固定滚轮架与所述活动滚轮架均用于支撑塔筒,所述活动滚轮架通过直线驱动机构驱使两个塔筒的法兰座对接;其中,位于其中一个塔筒的外围安装有支撑架,所述支撑架由两个架体组成,两个所述架体转动连接,并且通过锁止组件固定在塔筒外围;位于两个所述架体的外围还设有夹持组件和止挡结构,所述架体的外围配合所述夹持组件预紧有若干个螺栓,解锁所述止挡结构以使若干个所述螺栓同步穿设在两个塔筒的法兰孔内。

一种用于海上风机塔筒和叶片减振的复合阻尼装置

NºPublicación:  CN121162646A 19/12/2025
Solicitante: 
青岛理工大学
CN_121162646_PA

Resumen de: CN121162646A

一种用于海上风机塔筒和叶片减振的复合阻尼装置,属于风力发电机减振技术领域,其特征在于:包括叶片集成单元和塔筒调谐单元,所述叶片集成单元采用圆筒形颗粒阻尼腔体,圆筒中心通过弹簧连接质量球并在腔体内填充阻尼颗粒,通过钢丝绳固定于叶片内部以抑制振动位移;所述塔筒调谐单元通过钢丝绳连接质量块,质量块周向布置弹簧与塔筒壁连接,并下接一质量球,上下四周通过液压式惯容阻尼器与塔壁连接,本发明通过耦合颗粒阻尼、惯容及碰撞机制实现高效减振,显著减小工作空间并提升多方向振动控制能力,适用于海上风机塔筒及叶片的振动控制。

一种风轮方位角传感器逆向安装实时诊断方法及系统

NºPublicación:  CN121162471A 19/12/2025
Solicitante: 
中车株洲电力机车研究所有限公司
CN_121162471_A

Resumen de: CN121162471A

本发明公开了一种风轮方位角传感器逆向安装实时诊断方法及系统,方法包括步骤:S1、获取风轮方位角传感器输出的包含风轮方位角与功率的数据集,筛选出风机处于稳定发电状态的有效工况数据,再对筛选后的方位角数据进行有效性校验,得到初始方位角数据序列;S2、对步骤S1得到的初始方位角数据序列进行角度跳变处理,通过累积偏移量动态补偿实现循环数据连续化,再对连续展开的角度序列进行平滑优化,得到平滑连续角度序列;S3、对步骤S2得到的平滑连续角度序列与对应的时间序列索引进行最小二乘线性回归,计算趋势线斜率,根据趋势线斜率来判断风轮方位角传感器的安装状态。本发明具有诊断精度高、抗干扰性强等优点。

一种风力发电机组控制方法、控制器、控制系统、存储介质及其机组

NºPublicación:  CN121162449A 19/12/2025
Solicitante: 
华能云南滇东能源有限责任公司风电分公司
CN_121162449_PA

Resumen de: CN121162449A

本发明一种风力发电机组控制方法、控制器、控制系统、存储介质及其机组均适用于如下方法:基于当前时间信息,获取第一预设时间段内的若干个风速数据并计算该若干个风速数据的标准差;响应于该若干个风速数据的标准差在标准差阈值范围内,则进一步判断是否存在极端风切变触发事件;若存在极端风切变触发事件,则生成极端风切变激活信号;响应于极端风切变激活信号的持续时间超过第一预设持续时间,触发机组进入极端风切变保护控制模式,控制机组限功率限转速运行。

一种降低风电叶片安装应力的装置

NºPublicación:  CN121162457A 19/12/2025
Solicitante: 
山东能源集团平川盛鲁新能源有限公司云鼎科技股份有限公司
CN_121162457_PA

Resumen de: CN121162457A

一种降低风电叶片安装应力的装置,包括风电轮毂、叶片、六轴机械臂、卡盘、吊钩、固定吊框、移动配重、移动吊框;吊钩吊装固定吊框,固定吊框顶部水平滑动设置有移动配重,固定吊框底部水平滑动设置有移动吊框,移动吊框固定叶片;叶片根部安装有导向锥和对接螺栓,风电轮毂上安装有导向筒和安装孔,六轴机械臂安装于风电轮毂内部,六轴机械臂自由端安装卡盘,六轴机械臂将卡盘与导向锥卡接后,液压缸响应于三向力传感器检测的六轴机械臂对叶片的拉力,基于PID随动控制算法驱动移动吊框运动,将叶片根部与风电轮毂对接。本方案实现了降低风电叶片安装应力的技术效果。

一种风力发电机接地电缆引线雷电流防护及抑制系统

NºPublicación:  CN121172674A 19/12/2025
Solicitante: 
浙江浙能技术研究院有限公司
CN_121172674_PA

Resumen de: CN121172674A

本发明提供一种风力发电机接地电缆引线雷电流防护及抑制系统,其包括风机主接地引线电缆、风机带屏蔽电缆线及排流线圈L;所述风机主接地引线电缆与风机带屏蔽电缆线之间、风机带屏蔽电缆线中两个相邻的缆线之间均通过排流线圈L相连接。本发明基于设置的排流线圈L,将电缆线屏蔽线的上下端与主接地线引导线进行连接,促使雷电流从主接地线下泄,控制流向电缆线屏蔽层的流向,使得电流的幅度要求小于电缆线芯线上的感应电压,小于低压设备的绝缘耐受电压,实现电缆线芯线上的感应保护。

一种具备姿态自适应调整功能的浮式储能与消波平台

NºPublicación:  CN121161767A 19/12/2025
Solicitante: 
江苏科技大学
CN_121161767_PA

Resumen de: CN121161767A

本发明公开了一种具备姿态自适应调整功能的浮式储能与消波平台,包括整体呈倒T形式的浮式结构,浮式结构的左右两个上表面布置多个透水舱室;透水舱室的正面为进水面,背面为透水面,进水面左右两侧各布置一个导流板,两个导流板间的开口朝透水舱室内,在两个导流板间形成进水口;每个透水舱室透水面上设置分流柱体;每个导流板与透水舱室内壁间形成夹角,夹角区竖直布置导流叶片;浮式结构的顶面设置上甲板,上甲板顶面设置储能装置,所有导流叶片与储能装置相连;进入透水舱室的流体经过分流柱体,在导流板背侧形成旋涡区,从而驱动处于旋涡区的导流叶片转动进行发电,储能装置储存电能。本发明能够降低浮式防波堤在运动状态下消波性能。

一种风电机组塔架降载控制方法及系统

NºPublicación:  CN121162453A 19/12/2025
Solicitante: 
宁夏顺和电工有限公司
CN_121162453_PA

Resumen de: CN121162453A

本发明涉及风电机组控制技术领域,且公开了一种风电机组塔架降载控制方法及系统,所述方法包括S1、采集风电机组塔架状态数据;S2、基于所述塔架状态数据进行塔架载荷分析处理,生成塔架载荷参数数据;通过采集风电机组塔架状态数据,并基于塔架状态数据进行塔架载荷分析处理,生成塔架载荷参数数据,实时监测塔架运行状态和载荷情况,保证载荷分析的准确性和全面性,为后续降载控制提供可靠的数据基础,从而提升塔架安全性;通过依据塔架载荷参数数据进行塔架载荷超限判断处理,生成塔架载荷超限判断数据,增强塔架运行的稳定性和可靠性。

基于多智能体协同变桨控制的风电场尾流干扰缓解方法

NºPublicación:  CN121162455A 19/12/2025
Solicitante: 
中国海洋大学
CN_121162455_PA

Resumen de: CN121162455A

本发明涉及风力发电技术领域,具体为一种基于多智能体协同变桨控制的风电场尾流干扰缓解方法,包括:风电场优化控制问题建模;多智能体优化控制问题马尔可夫决策过程建模;多智能体分类;多智能体控制策略设计及优化求解;控制指令获取与执行。将每台风电机组视为独立智能体,设计价值函数,通过智能体间的通信、协商与动态组队,实现风电场级的桨距角协同优化,优化整体风电场功率。主智能体负责该风向下整个风电场功率最大化需求计算各区域智能体的桨距角参考值,区域主智能体识别风向变化并传输指令,区域子智能体进行变桨动作执行。本发明能够克服数据维度,同时风向变化过程中能够有效识别且传递指令,尾流动态变化过程中也能缓解尾流干扰。

一种风力发电机组的风轮方位角偏差值计算方法及装置

NºPublicación:  CN121167106A 19/12/2025
Solicitante: 
中船齐腾科技武汉有限公司
CN_121167106_PA

Resumen de: CN121167106A

本说明书实施例公开了一种风力发电机组的风轮方位角偏差值计算方法及装置。该方法包括通过根据获取的标定数据分别计算叶片在当前风轮方位角偏差值对应的叶片理论载荷和叶片实际载荷,再基于叶片理论载荷和叶片实际载荷之间的最大互相关性确定目标时延点数,当各目标时延点数对应的平均时延点数大于时延阈值时,根据平均时延点数调整当前风轮方位角偏差值,直至平均时延点数不大于时延阈值时,得到目标当前风轮方位角偏差值。通过叶片理论载荷和叶片实际载荷之间的最大互相关性不断调整风轮方位角偏差值,满足了自动计算目标风轮方位角偏差值的要求,提高了风力发电机组叶片载荷标定计算的准确度,减少了现场多次重复校准、重复标定的工作量。

一种风机叶片石墨烯预制加热膜及其制备方法与应用

NºPublicación:  CN121174316A 19/12/2025
Solicitante: 
上海发电设备成套设计研究院有限责任公司重庆清电新能源开发有限公司
CN_121174316_PA

Resumen de: CN121174316A

本发明提供一种风机叶片石墨烯预制加热膜及其制备方法与应用,所述风机叶片石墨烯预制加热膜由外侧向风机叶片依次层叠设置有导电发热层、载流电极层、热反射绝缘层、环氧结构胶膜层和离型保护层。本发明所述的风机叶片石墨烯预制加热膜质量轻,施工方便,无需二次布线、喷涂或二次固化,使用寿命长,适合大范围推广应用。

一种分段错位风电格构式塔架

NºPublicación:  CN121162460A 19/12/2025
Solicitante: 
中国建筑标准设计研究院有限公司
CN_121162460_PA

Resumen de: CN121162460A

本发明公开了一种分段错位风电格构式塔架,包括钢塔筒、转换节点和格构式塔架,所述格构式塔架包括格构式塔架上段和格构式塔架下段,格构式塔架上段位于叶尖以上范围,格构式塔架下段位于叶尖以下范围;格构式塔架上段下端插入格构式塔架下段内部并采用转换腹杆将格构式塔架上段与格构式塔架下段连接,且格构式塔架上段与格构式塔架下段旋转错位设置。通过将格构式塔身分成上、下错位布置的两段,使塔身截面能够在叶尖以下迅速扩大,提高承载效率,同时,非贯通的塔柱也给分段施加不同水平的预应力提供了条件,塔身上段截面较小,需要较大的预应力,塔身下段截面较大,只需要较小的预应力,按需施加预应力同时节省预应力索和塔柱的材料用量。

一种玻璃纤维浸润剂及其制备方法、产品和应用

NºPublicación:  CN121159156A 19/12/2025
Solicitante: 
巨石集团有限公司
CN_121159156_A

Resumen de: CN121159156A

本申请公开了一种玻璃纤维浸润剂,包含有效组分和水;其中有效组分占玻璃纤维浸润剂的重量百分比为3.2‑10.4%,有效组分包含偶联剂、成膜剂、润滑剂、增韧剂、热氧稳定剂、润湿剂和pH值调节剂;各有效组分固体质量占浸润剂固体总质量的百分比为:偶联剂4‑13%,润滑剂6‑14%,成膜剂58‑85%,增韧剂3‑12%,热氧稳定剂0.5‑6%,润湿剂0.5‑5.5,pH值调节剂0.5‑6.5%;所述第一偶联剂为环氧基硅烷偶联剂低聚物,所述第二偶联剂为双氨基低聚硅烷偶联剂。采用该浸润剂涂覆生产的玻璃纤维纱线集束性好,毛羽少,由其增强的复合材料强度和模量高,不易有异色,动态疲劳性能优异,适用于对疲劳性能、机械强度和外观要求高的拉挤板材制品。

双馈风机的调频方法及装置、设备及介质

NºPublicación:  CN121162452A 19/12/2025
Solicitante: 
云南电网有限责任公司电力科学研究院
CN_121162452_PA

Resumen de: CN121162452A

本发明公开了双馈风机的调频方法及装置、设备及介质,方法包括:利用Smith预估控制器对风电机组的变桨系统进行滞后补偿,得到改进后的变桨系统;在风电机组的综合惯性控制器中引入模糊控制规则,得到优化后的综合惯性控制器;基于改进后的变桨系统和优化后的综合惯性控制器对风电机组进行调频。本发明一方面引入Smith预估控制来改进风电机组的变桨系统,Smith预估控制能够有效补偿变桨系统的滞后特性,提升调频能量的响应速度;另一方面通过模糊控制规则引入综合惯性控制器中,以优化综合惯性控制器,实现综合惯性控制器中的控制参数自适应调整。通过对两种控制的优化与协同作用,有效地提升了风电机组的调频效果,提升了风电机组的运行系统的稳定性。

翼型发电设备及其操作方法

NºPublicación:  CN121162448A 19/12/2025
Solicitante: 
苏州东月创意信息科技有限公司
CN_121162448_PA

Resumen de: CN121162448A

本发明涉及一种翼型发电设备及其操作方法,包括基座件、中央柱件及翼型组件,基座件具有第一接触件,中央柱件具有第二接触件,翼型组件可移动地设置于中央柱件上且具有翼顶部与翼尾部,翼型组件沿垂直方向下降而带动翼顶部的偏心轮杆朝推拉件的抵靠区靠近抵靠抵靠区时,翼尾部相对于翼顶部向下倾斜,使翼型组件具有沿垂直方向的上升浮力而朝第二接触件靠近;翼型组件沿垂直方向上升而带动推拉件往中央柱件靠近而远离偏心轮杆时,推拉件的抵靠区与偏心轮杆分离,翼尾部相对于翼顶部向上倾斜且翼型组件由于沿垂直方向的下降重力而朝第一接触件靠近;翼型组件在第一接触件与第二接触件之间沿垂直方向反复位移,提高风力发电机的发电效率。

一种叶片除冰机

NºPublicación:  CN121162476A 19/12/2025
Solicitante: 
北方联合电力有限责任公司新能源分公司
CN_121162476_PA

Resumen de: CN121162476A

本申请提供了一种叶片除冰机,包括:用于挂装于叶片上边缘的固定架、设置于固定架两侧的侧板以及设置于侧板内侧的除冰单元;其中,所述固定架包括中轴、两个活动架和电动滚轮,所述中轴沿叶片的厚度方向延伸,两个所述活动架分别设置于所述中轴的轴向两端,两个所述活动架能够沿所述中轴的轴向移动以靠近或远离所述叶片,所述电动滚轮套装于所述中轴,所述电动滚轮能够带动所述中轴沿所述叶片的延伸方向移动。该叶片除冰机能够可拆卸地安装于叶片,不仅具有拆装方便的特点,而且还可以在非除冰状态下从叶片卸下,避免因对叶片接收风能造成遮挡而影响风力发电效率。

基于知识蒸馏和分区策略的漂浮式风浪发电系统控制方法

NºPublicación:  CN121165594A 19/12/2025
Solicitante: 
中国海洋大学
CN_121165594_PA

Resumen de: CN121165594A

本发明属于海洋可再生能源发电技术领域,具体涉及一种基于知识蒸馏和分区策略的漂浮式风浪发电系统控制方法,包括:数据获取与处理;多教师模型体系构建;知识蒸馏与学生模型训练;分区控制策略设计;目标函数设计;权重自适应机制设计;约束条件定义;上层优化求解;下层控制指令执行;动态反馈校正机制。该方法覆盖联合发电系统所有运行和生存工况,一方面降低了控制模型的建模难度与复杂度,提升了预测与控制的实时性和可靠性,另一方面站在联合系统工程化应用的角度,结合风浪条件提出了分区控制策略,从而增强了漂浮式风浪联合发电系统在复杂海况下的能量利用效率与运行稳定性。

海上构筑物桩基冲刷监测防护一体化系统

NºPublicación:  CN121161867A 19/12/2025
Solicitante: 
中国电建集团西北勘测设计研究院有限公司
CN_121161867_PA

Resumen de: CN121161867A

本申请提供一种海上构筑物桩基冲刷监测防护一体化系统,属于海上构筑物施工技术领域。该系统包括海上构筑物的桩基、发电机组、电路网、光电复合纤维以及多个仿生水草,桩基设置于预设区域的海床上,所述光电复合纤维缠绕在所述桩基上;该发电机组、光电复合纤维以及多个仿生水草均与电路网连接,进而发电机组以及光电复合纤维向仿生水草传输电能,以使得仿生水草中的伺服电机头可以驱动滚轮转动,以调节仿生叶片缠绕在滚轮上的部分的长度,进而调节仿生叶片对于水流的抑制能力,如此便可以通过实时调节仿生水草来实时的调节系统对于桩基周围水流的抑制效果,进而提升对于桩基的防护效果。

一种基于预张力拉索的TLP风机塔筒振动抑制装置

NºPublicación:  CN121162464A 19/12/2025
Solicitante: 
中海石油(中国)有限公司中海石油(中国)有限公司北京研究中心
CN_121162464_PA

Resumen de: CN121162464A

本发明涉及一种基于预张力拉索的TLP风机塔筒振动抑制装置,包括:预张力拉索,数量若干,若干所述预张力拉索均匀布置在塔筒周围,所述预张力拉索的顶端设置有顶端索接头、底端设置有底端索接头,所述顶端索接头与所述塔筒连接,所述底端索接头与浮箱连接;所述预张力拉索上还设置有张力传感器,所述张力传感器用于实时监测所述预张力拉索的预张力,确保所述预张力拉索的预张力达到设计值。本发明装置通过在塔筒和浮箱之间设置预张力拉索,给塔筒提供足够刚度以避开共振区间,在塔筒和浮箱处均设置有连接装置及局部加强结构,拉索上配置的螺旋翼板可以防止拉索在高风速作用下发生涡激振动,提高拉索使用寿命。

风力发电机的筒型基础结构及其施工方法

NºPublicación:  CN121161853A 19/12/2025
Solicitante: 
远景能源有限公司
CN_121161853_PA

Resumen de: CN121161853A

本申请公开了一种风力发电机的筒型基础结构及其施工方法。其中,风力发电机的筒型基础结构包括承台和筒体,承台适于与风力发电机的塔筒连接;筒体设于承台的下方并与承台连接,筒体包括多个桩体,多个桩体沿环形轨迹连续排布并围合形成闭合的环形结构;沿桩体的轴向,任意相邻两个桩体从桩体的底部到桩体的顶部相互嵌合,以使相邻两个桩体之间无间隙。本申请提供的技术方案,通过土壤对筒体产生的反作用力来抵抗风力发电机上部承受的倾覆力矩,改变了基础的传力模式,解决了传统扩展基础或桩基础占地面积较大、开挖大的问题。从而筒型基础可以减小基础占地面积,提升在受限场地的适应性,增加潜在机位点并降低征地成本。

用于风力涡轮机的新颖过渡部件

NºPublicación:  CN121175487A 19/12/2025
Solicitante: 
纳布拉温德科技有限公司
CN_121175487_PA

Resumen de: AU2023440540A1

The invention relates to a new transition piece for a wind turbine, formed by a hollow cylindrical monotubular segment (1) with multiple connected rings (1a, 1b, 1c, 1d, 1e), the upper part of the transition piece being the tower ferrule (11), the upper third comprising platforms (7, 8) and ribs (12), and the bottom part being a radial platform (9) with brackets. The transition piece also comprises three bracing posts (2), each comprising a bracing connector (4) and a corner connector (5), and six radial posts (3), which are horizontal tubes narrower than the bracing posts (2). The bracing connector (4) is a piece that connects the monotubular segment (1) by means of an internally threaded joint into blind holes, and the upper part of the bracing post (2) by means of a circular joint. The corner connector (5) is a piece with three joints: a first joint connecting to the bottom part of the bracing post (2); a second joint connecting to the ground or to modules that complete a lower truss tower; and a third joint connecting the two radial posts (3) that extend horizontally to the monotubular segment (1). All the joints are circular joints. An X-shaped radial connector (6) is a cast iron piece with two joints: a joint connecting the monotubular segment (1) by means of a flat joint; and a joint connecting the two radial posts (3) by means of a circular joint.

一种风电齿轮箱供油结构及风电机组

NºPublicación:  CN121162669A 19/12/2025
Solicitante: 
中船海装风电有限公司
CN_121162669_PA

Resumen de: CN121162669A

本发明涉及一种风电齿轮箱供油结构,包括行星增速机构、滑动轴承与空心管,空心管沿行星增速机构的中心轴线贯穿行星增速机构,空心管围成过线通道,空心管的管壁内设置有第一润滑油道,空心管的一端设置有供润滑油输入第一润滑油道的进油口,空心管包括第一管段,第一管段处设置有用于向外输出第一润滑油道内的润滑油的第一出油口;滑动轴承与行星增速机构的行星架连接,滑动轴承的内周面与第一管段的外周面配合,滑动轴承内设置有用于将第一出油口输出的润滑油引导至行星增速机构的第二润滑油道。本发明还提出了一种风电机组。本发明能够减少甚至消除风电齿轮箱供油结构的润滑油泄漏,提高了空心管的刚性,有助于提高风电机组运行可靠性。

一种风电设备散热装置

NºPublicación:  CN121162478A 19/12/2025
Solicitante: 
国华爱依斯(黄骅)风电有限公司
CN_121162478_PA

Resumen de: CN121162478A

本发明涉及风电设备散热技术领域,具体是一种风电设备散热装置,包括外壳,外壳的内部设置有散热组件,散热组件包括齿条、圆管、风管、挡板、软管、支杆、转轴、齿轮和桨叶,两个齿条固定连接于外壳的内壁上,圆管与两个齿条滑动连接,多个风管固定连接于圆管上,两个挡板固定连接于圆管的内部,两个软管固定连接于圆管上,两个软管将圆管的内部与外壳的外部连通,两个支杆固定连接于圆管的内部,两个转轴分别转动连接于两个支杆上,两个齿轮分别固定连接于两个转轴上,两组桨叶分别设置于两个转轴上;本发明能够利用圆管对设备内进行换气,从而完成散热,而圆管可以在设备内移动,从而对设备内不同位置进行散热。

无风和螺旋极小微风空调和方法

NºPublicación:  CN121162984A 19/12/2025
Solicitante: 
刘鸿龙
CN_121162984_PA

Resumen de: CN121162984A

一种无风和螺旋极小微风空调和方法公开了,风冲击涡轮可以带动发电机发电,同时风会降低速度,风多冲击几个涡轮后风速可降为零,从而可在空调内机等出风口端安装涡轮,使风的动能全部转化成涡轮的,从而使内机出风口出来的风的风速降为零或接近于零。只装一只涡轮时,可用电动机驱动涡轮转动,使其叶片出风口的线速度等于风速,且方向相反,也能使内机出风口出的风的风速为零。当风速为零时实现了无风感空调机的功能;当风速接近零时,则可在整个房屋内产生螺旋转动的极小微风,实现了柔和无风感空调机的功能。被风推动旋转的涡轮,还可给空调机部件,如贯流风机提供动力,从而节约了能源。

一种风电叶片除冰装置及除冰方法

NºPublicación:  CN121162475A 19/12/2025
Solicitante: 
深圳市轩忠科技有限公司
CN_121162475_PA

Resumen de: CN121162475A

本发明公开了一种风电叶片除冰装置及除冰方法,涉及风电叶片除冰技术领域,包括:塔架,塔架内转动连接有转动辊;翼形风叶,翼形风叶与转动辊之间固定连接有支撑架;除冰装置,除冰装置设置于翼形风叶内,除冰装置包括:包裹层,包裹层以环形带状结构环绕在翼形风叶外侧,并包裹覆盖翼形风叶的迎风面、上表面和下表面;其中,包裹层的两端穿过设置于翼形风叶内部的通道,位于翼形风叶内部,翼形风叶内设置有夹辊一,夹辊一一侧设置有夹辊二,夹辊一和夹辊二与翼形风叶转动连接,夹辊一和夹辊二夹紧包裹层;齿轮机构,齿轮机构设置夹辊一上下两侧,齿轮机构用于配使得夹辊一和夹辊二相邻面同向转动。

风力发电机用钢塑复合配油环及其制备方法

NºPublicación:  CN121162667A 19/12/2025
Solicitante: 
河南和实科技有限公司
CN_121162667_PA

Resumen de: CN121162667A

本发明提供了风力发电机用钢塑复合配油环及其制备方法,属于配油环制备技术领域。本发明包括金属嵌件,其表面具有钢塑结合结构,用于与改性高分子材料功能层嵌合;改性高分子材料功能层,高分子材料通过原位聚合改性后嵌合至所述钢塑结合结构上,形成机械锚固界面的复合结构,其内填充有改性填料,用于约束高分子材料热膨胀;改性高分子材料功能层的径向厚度优选为3.0±0.2mm,用于抑制高分子材料的热变形量。本发明以金属嵌件提供必需的物理强度与刚度支撑,通过改性高分子功能层与金属嵌件嵌合的复合结构、改性填料以及精确控制改性高分子材料功能层的径向厚度,有效约束其热膨胀,协同提升复合结构的摩擦学性能、力学性能与尺寸稳定性。

一种轮缘式永磁无刷风力发电机

NºPublicación:  CN121173020A 19/12/2025
Solicitante: 
澜铄(沧州)技术有限公司
CN_121173020_PA

Resumen de: CN121173020A

本发明公开一种风力型永磁轮缘发电机,通过增大发电机直径来增加发电机转子和定子的相对速度,提升发电效率,利用转子内部空间安装风机叶片,省去了传动变速机构。这一设计改善了风机低风速性能,降低启动风速。同时,因为结构简单,维护成本大幅降低,特别适合分布式发电和特殊环境应用。

一种风力发电机组集成式传动链主轴系统装配盘车工装

NºPublicación:  CN121162465A 19/12/2025
Solicitante: 
华锐风电科技(集团)股份有限公司
CN_121162465_PA

Resumen de: CN121162465A

本发明公开一种风力发电机组集成式传动链主轴系统装配盘车工装,包括底座、转盘轴承、支撑平台、驱动装置和传动装置,转盘轴承的外圈与底座连接,内圈与支撑平台连接,内圈构造为内周设有轮齿的内齿圈结构,驱动装置包括驱动电机和驱动齿轮,传动装置包括与底座连接的框架和设在框架内部的齿轮组件,齿轮组件分别与驱动齿轮和内圈传动连接,底座、转盘轴承、支撑平台和主轴自下而上依次共轴连接并形成中空的内侧空间,驱动装置和传动装置设置在该内侧空间中。该盘车工装通过配置转盘轴承使盘车力矩较小,安全性高;驱动装置和传动装置均位于转盘轴承内侧,占地面积小;驱动电机可实时检测扭矩和转速并由此判断主轴承的装配情况,实现精准控制。

一种海上风电设备安装用吸力桶基础防冲刷裙板结构

NºPublicación:  CN121161862A 19/12/2025
Solicitante: 
中国电建集团贵阳勘测设计研究院有限公司
CN_121161862_PA

Resumen de: CN121161862A

本发明涉及海上风电施工技术领域,尤其涉及一种海上风电设备安装用吸力桶基础防冲刷裙板结构,其结构包括支架,壳体,抗冲击组件和底罩,支架的底端固定安装有吸力桶,吸力桶的顶部固定安装有卡套,卡套为环形结构,且卡套的外侧设置有卡槽;吸力桶的外侧通过安装罩转动安装有壳体。本发明通过在壳体的外侧设置有三块阻流片,阻流片采用柳叶形截面结构,且阻流片等间距布置在壳体的侧面,能够在装置受到洋流推动时,借助阻流片自身的流体形状,使装置受到的推力均匀分散,同时处于正对洋流和背对洋流的两侧阻流片相互施加作用力和反作用力,使壳体受到的合力减小,进而减小壳体及其周围组件产生偏移的幅度,以达到提升抗冲击性能的效果。

风机叶片巡检方法、电子设备及计算机可读存储介质

NºPublicación:  CN121162469A 19/12/2025
Solicitante: 
星逻智能科技(苏州)有限公司
CN_121162469_PA

Resumen de: CN120557110A

The invention discloses a fan blade angle detection method and a fan blade inspection method. The method comprises the following steps: determining first angle information of a previous frame of a fan blade; the first angle information is used for describing an included angle between each target blade of the fan and a preset horizontal line; acquiring a first image of the current frame of the fan blade, and determining second angle information of the current frame of the fan blade according to the first image; according to a matching result of the first angle information and the second angle information, third angle information of the current frame of the fan blade is determined, and fan blade angle detection is stopped until a blade angle detection ending instruction is responded; the third angle information is used for describing the included angle between each target blade and the preset horizontal line when each target blade of the fan rotates from the previous frame of fan blade to the current frame of fan blade. The third angle information of the current frame of the fan blade is determined according to the matching result of the angle information of the two adjacent frames, and the accuracy of real-time fan blade angle detection is improved.

一种风电叶片结构故障损伤预警系统

NºPublicación:  CN121162468A 19/12/2025
Solicitante: 
华能营口仙人岛热电有限责任公司
CN_121162468_PA

Resumen de: CN121162468A

本申请属于风电叶片损伤预警技术领域,公开了一种风电叶片结构故障损伤预警系统,包括数据感知模块、损伤仿真模块、损伤建模模块、裂纹追踪模块和风险决策模块;所述数据感知模块用于构建覆盖叶片全局与局部的多维度传感网络,负责捕获叶片从全局响应到局部微变的全方位信息数据;所述数据感知模块包括实际载荷获取单元、局部损伤敏感单元以及环境采集单元;所述损伤仿真模块能够基于全方位信息数据构建出与风电叶片完全对应的虚拟镜像。本申请通过叶片全局与局部的多维度传感网络,不再局限于单一的叶片振动信号频谱分析,替换后续预警准确率,同时能够精确分别模拟风电叶片在基体开裂、纤维断裂及层间剥离的渐进损伤过程。

应用于风力发电的运行数据调控方法及系统

NºPublicación:  CN121162454A 19/12/2025
Solicitante: 
华能新能源股份有限公司山西分公司
CN_121162454_PA

Resumen de: CN121162454A

本发明提供一种应用于风力发电的运行数据调控方法及系统,涉及风电技术领域,首先获取包含设备本体状态数据(由发电机组机械部件动作参数和电气系统输出参数组成)和环境场域数据(由风场空气流动参数和地理空间气象参数组成)的实时运行数据集合,接着基于该实时运行数据集合构建包含设备物理结构映射模块和环境条件映射模块的风力发电数字孪生模型,然后通过模型生成与实时数据集合同步的仿真运行数据集合,对两者进行差异分析处理生成运行数据调控需求结果,最后根据数据调控需求结果生成运行调控指令并发送至风力发电设备的控制系统以触发参数调整操作,从而可以精准调控风力发电设备运行,提高运行效率和稳定性,降低故障率。

带塔筒连接机构的起重机

NºPublicación:  CN121175258A 19/12/2025
Solicitante: 
力富特公司
CN_121175258_PA

Resumen de: WO2024223709A1

A crane (1) connectable to a tower (20) of a wind turbine, wherein the tower (20) comprises a set of one or more crane connection flanges (22) fixed to and extending outwardly from an outer surface (21) of the tower (20) said crane connection flanges of said set of one or more crane connection flanges being arranged circumferentially around the tower and having upper and/or lower engagement surfaces (23), wherein the crane (1) comprises a base portion (10), an arm (31) and at least two flange connection mechanisms (40), said arm (31) extending from the base portion (10) and at least one of said at least two flange connection mechanisms being connected to said arm, wherein said at least two flange connection mechanisms are configured for connecting to a crane connection flange of the set of one or more crane connection flanges (22) of the tower, wherein each of the at least two flange connection mechanisms (40) comprises two cartridges (50), wherein each cartridge (50) comprises at least one upper flange engaging element for engaging an upper engagement surface and/or at least one lower flange engaging element for engaging a lower engagement surface (23) of a crane connection flange of the set of one or more crane connection flanges (22) of the tower; wherein the two cartridges (50) of each flange connection mechanism (40) are separated by a distance (D1) from each other in a horizontal direction, and wherein the flange connection mechanism comprises a vertical load balancing

一种海上风机塔筒的临时对接方法

NºPublicación:  CN121162463A 19/12/2025
Solicitante: 
中交第三航务工程局有限公司
CN_121162463_PA

Resumen de: CN121162463A

本发明公开了一种海上风机塔筒的临时对接方法,采用临时对接装置,该临时对接装置包括若干圆周均布地安装在上段塔筒的下法兰上的插件、若干安装在下段塔筒的上法兰上的固定座和若干安装在固定座上的自锁机构。本发明的临时对接方法包括以下步骤:初步将若干插件的插板与若干自锁机构的T形孔的径向部对准;下放上段塔筒,使每个插件的插板插入对应的自锁机构的T形孔的径向部;继续下压插板,使每根旋转梁绕对应的转轴转动;继续下压插板,直到转梁转到接近直立状态,旋转梁靠自重绕对应的转轴反转,使旋转梁的前端进入对应的插板的插孔中,使旋转梁呈水平状态,插板被自锁机构临时锁定。本发明能快速实现上段塔筒和下段塔筒的粗对接。

一种风机不停机智能巡检方法、系统、设备及介质

NºPublicación:  CN121162474A 19/12/2025
Solicitante: 
山东柔克智能科技有限公司上海柔克智能科技有限公司
CN_121162474_PA

Resumen de: CN121162474A

本申请涉及一种风机不停机智能巡检方法、系统、设备及介质,属于风机巡检的技术领域,该智能巡检方法包括:获取环境风速、叶片刚度系数、叶片长度、风机中心点坐标;根据环境风速和叶片刚度系数,计算叶片弯曲偏移量;根据叶片长度,确定无人机的安全悬停距离,并控制无人机飞行到风机中心正上方;获取无人机悬停下垂直方向与塔筒的偏航角,并根据偏航角和环境风速的速率变化,预测偏航变化;根据叶片弯曲偏移量、偏航角、安全悬停距离和预测偏航变化,计算拍照点坐标;控制无人机到达拍照点坐标处采集叶片表面图像,以识别叶片缺陷,并在确定缺陷后,生成缺陷报告。本申请具有在风机不停机时,实现对叶片的巡检,并提高巡检效率的有益效果。

一种风力发电机组故障预测方法及相关装置

NºPublicación:  CN121168273A 19/12/2025
Solicitante: 
北京华能新锐控制技术有限公司
CN_121168273_PA

Resumen de: CN121168273A

本发明公开了一种风力发电机组故障预测方法及相关装置,获取风力发电机组的多源时序数据和检修工单数据,多源时序数据包括齿轮箱的振动信号、轴承温度信号及油液颗粒浓度信号,检修工单数据包括部件型号、维修动作、维修时效及同类故障频率;构建融合特征,包括对多源时序数据进行特征提取,生成时域指标、频域能量占比及温度变化率特征,以及从检修工单数据中通过文本向量化生成结构化特征,并统计同类故障频率;将融合特征输入双通道模型,双通道模型包括第一通道采用LSTM网络处理时序数据,以及第二通道采用Transformer编码器处理检修工单文本特征;通过动态权重分配机制融合双通道输出,包括当油液颗粒浓度超预设阈值时,提升工单中润滑油更换记录的权重,以及当振动频谱出现边频带时,提升时序数据的权重;基于融合结果输出故障预测结果。本发明通过整合多源数据资源,实现齿轮箱故障的早期预警。

一种二氧化碳电池-Allam动力循环复合系统及其运行方法

NºPublicación:  CN121162397A 19/12/2025
Solicitante: 
广东工业大学
CN_121162397_PA

Resumen de: CN121162397A

本发明涉及物理储能和热力发电的技术领域,更具体地,涉及一种二氧化碳电池‑Allam动力循环复合系统及其运行方法,系统包括Allam动力循环子系统、天然气压缩机、氧气制备子系统、二氧化碳储能子系统;二氧化碳储能子系统包括冷凝回收子系统、多级压缩冷凝子系统、多级泵送冷凝子系统、低压储罐、高压储罐;运行方法包括:当海上风电富余时,且:当用户用电时段分别为非高峰时段、高峰时段、低谷时段时,分别选择第一、第二、第三储能模式;当海上风电不足时,且:当储存的能源不足时,选择常规模式;否则选择释能模式。本发明能够解决可再生能源的间隙性以及波动性问题,同时能够对电网进行调峰和实现海上风电在富余和不足时能源的互补和高效利用。

一种机器人部署系统

NºPublicación:  CN121175488A 19/12/2025
Solicitante: 
前沿科技有限公司
CN_121175488_PA

Resumen de: WO2025032325A1

A robotic deployment system (1) for servicing a wind turbine (2), comprising: a mobile deployment unit (10) having one or more propulsion units mounted thereon arranged to generate thrust having at least a horizontal force component for driving movement in the mobile deployment unit (10) towards a wind turbine blade (4) of the wind turbine (2); and a support unit (50) connected to the mobile deployment unit (10) by an auxiliary cable (23); the support unit (50) comprises auxiliary equipment and/or repair materials for supporting the operation of the mobile deployment unit (10) through the auxiliary cable (23); wherein the support unit (50) is suspendable in the air by a first cable (22a) connected to a nacelle (8) of the wind turbine (2), and wherein during operation the mobile deployment unit (10) is at least partially suspendable in the air by a second cable (20); and wherein the second cable (20) is connected between the mobile deployment unit (10) and a second cable anchoring point above the support unit (50).

一种基于风向舵与凸轮联动的垂直轴风力机自适应可变翼型装置

NºPublicación:  CN121162447A 19/12/2025
Solicitante: 
浙江三新科技有限公司
CN_121162447_PA

Resumen de: CN121162447A

本发明涉及一种基于风向舵与凸轮联动的垂直轴风力机自适应可变翼型装置,包括发电驱动轴和支撑立柱,发电驱动轴的上部伸出支撑立柱固接有竖向的风力叶轮,风力叶轮包括插套固接在发电驱动轴上的轮毂,轮毂的四周设有若干环形均匀分布呈竖向的翼型叶片,翼型叶片包括后缘和前缘,前缘的前端和后缘的后端铰接在一起,后缘固定在叶片安装杆的外端,叶片安装杆的内端固接在轮毂上;所述轮毂下方的支撑立柱上设置有槽型凸轮盘,发电驱动轴外侧的槽型凸轮盘上成型有凸轮槽。本装置将垂直轴风力发电机的翼型叶片设计呈可动前缘形式,基于凸轮的机械控制实现前缘进行周期性角度调整,实现翼型叶片产生最大升力的攻角,进而提高垂直轴风力机的发电效率。

一种钢壳混凝组合式塔筒结构的制造方法

NºPublicación:  CN121162461A 19/12/2025
Solicitante: 
中交四航局第二工程有限公司
CN_121162461_PA

Resumen de: CN121162461A

本发明公开了一种钢壳混凝组合式塔筒结构的制造方法,包括以下步骤:S1:制备外层钢壳和内层钢壳的多个分段构件;S2:焊接外层钢壳;S3:在外层钢壳和内层钢壳的相对筒壁上焊接多个剪力连接件,接着浇筑第一层混凝土至第一预定高度;S4:以已浇筑的第一层混凝土作为施工依托,交替进行以下工序:a)在第一层混凝土的基础上焊接第二段的内层钢壳;b)在第二段的内层钢壳及对应的外层钢壳的相对筒壁上布置多个剪力连接件;c)浇筑第二层混凝土至第二预定高度;S5:重复步骤S4的交替工序,直至所有分段的内层钢壳和混凝土施工完成。解决了传统全钢结构漂浮式风电塔筒刚性不足、成本高、施工效率低的问题。

控制方法、模块、风储一体机、介质及程序产品

NºPublicación:  CN121162450A 19/12/2025
Solicitante: 
远景能源有限公司
CN_121162450_PA

Resumen de: CN121162450A

本申请涉及风机技术领域,公开了一种控制方法、模块、风储一体机、介质及程序产品。本实施例的风储一体机的控制方法,包括:获取上级控制器发送的指定功率值;获取所述储能单元的状态信息;根据所述储能单元的状态信息得到所述风机的功率调整值;根据所述指定功率值、所述功率调整值得到第一目标功率值,并控制所述风机按照所述第一目标功率值运行。从而解决储能单元出现的过充或过放的问题,降低储能单元的损耗,提高储能单元的使用寿命。

OFFSHORE WIND TURBINE JACKET FOUNDATION CAPABLE WITH ADJUSTABLE NATURAL FREQUENCY AND MOTION DAMPING AND CONTROL METHOD THEREOF

NºPublicación:  US2025382763A1 18/12/2025
Solicitante: 
POWERCHINA HUADONG ENGINEERING CORPORATION LTD [CN]
POWERCHINA Huadong Engineering Corporation Limited
US_2025382763_PA

Resumen de: US2025382763A1

An offshore wind turbine jacket foundation capable with adjustable natural frequency and motion damping and a control method, comprising: a jacket; a tuned liquid damper system, comprising a central liquid tank communicated with seawater and distributed liquid tanks, wherein the central liquid tank and the distributed liquid tanks carry out liquid delivery through pipelines; a flow monitoring and control system configured to obtain storage information of each liquid tank by data acquisition; an acceleration data acquisition and analysis system configured to acquire acceleration data at key nodes of the jacket foundation; the pump on each pipeline is controlled based on the obtained data to realize the redistribution adjustment of the liquid storage and liquid level of each liquid tank in the damper system in a short time, and the mass distribution of the jacket structure as a whole is adjusted, so as to adjust the natural frequency and motion damping.

METHODS AND SYSTEMS FOR COVERING A WIND TURBINE TOWER SECTION

NºPublicación:  WO2025256720A1 18/12/2025
Solicitante: 
GENERAL ELECTRIC RENOVABLES ESPANA S L [ES]
GENERAL ELECTRIC RENOVABLES ESPA\u00D1A S.L
WO_2025256720_A1

Resumen de: WO2025256720A1

The present disclosure relates to tower sections for wind turbines. The towers sections comprise a tarpaulin configured to cover at least a portion of an inside of the tower section, a sealing mechanism defining a perimetral edge of the tarpaulin and configured to seal the tarpaulin to an inner wall surface of the tower section, a receptacle for receiving and containing liquid, and an evacuation system for removing the liquid. The method for erecting a wind turbine tower comprises providing a tower section comprising a platform, arranging a tarpaulin to cover at least a portion of the platform, and attaching the tarpaulin to an inner surface of the tower section between the platform and the upper flange. The method also comprises arranging a receptacle and an evacuation system with the receptacle. The method also comprises engaging the tower section with a tower gripper, lifting the tower section and mounting it on a foundation or on another tower section.

TRANSVERSE AXIS WIND TURBINE, ESPECIALLY VERTICAL AXIS WIND TURBINE

NºPublicación:  WO2025259103A1 18/12/2025
Solicitante: 
CELL TECH B V [NL]
CELL TECHNOLOGIES B.V
WO_2025259103_A1

Resumen de: WO2025259103A1

A transverse or vertical axis wind turbine has a rotation axis for positioning transverse to an incoming wind direction and comprising blades extending along the rotation axis for capturing wind. The blades are shaped to provide a predetermined rotation direction of the blades around the rotation axis when capturing wind, The wind turbine further comprises a cap shield extending along and around the rotation axis and the blades at an outside of the wind turbine at a distance from the blades and has a leading edge and a trailing edge as seen along the incoming wind direction. The cap shield provides a shield for the blades over a shielding angle around the rotation axis and is rotatable around the rotation axis to allow positioning the cap shield at least partially at a contra-moving wind turbine side parallel to the wind direction and to the rotation axis, and at which the blades move in a direction opposite to the incoming wind direction. In an optimum position of the cap shield, the cap shield is at least predominantly at the contra-moving wind turbine side and wind transfers a maximum amount of its energy to rotation of the blades.

A METHOD OF DESIGNING A WIND TURBINE ROTOR BLADE

NºPublicación:  WO2025256849A1 18/12/2025
Solicitante: 
NORDEX ENERGY SE & CO KG [DE]
NORDEX ENERGY SE & CO. KG
WO_2025256849_A1

Resumen de: WO2025256849A1

A method of designing a wind turbine rotor blade, comprising the following steps: • providing a first wind turbine rotor blade design which includes a blade root and a blade tip, • providing a second wind turbine rotor blade design comprising the first wind turbine rotor blade design and a root extension, • determining an annual energy production gap by comparing an estimated annual energy production of a wind turbine comprising the second wind turbine rotor blade design to a reference annual energy production of a reference wind turbine comprising a reference wind turbine rotor blade design having the same length as the second wind turbine rotor blade design, • providing a final wind turbine rotor blade design based on the second wind turbine rotor blade design by replacing a tip section of the second wind turbine rotor blade design with an extended tip section, wherein a length of the extended tip section is selected such that the annual energy production gap is closed.

BUOYANT PLATFORM

NºPublicación:  WO2025256775A1 18/12/2025
Solicitante: 
MARINE POWER SYSTEMS LTD [GB]
MARINE POWER SYSTEMS LIMITED
WO_2025256775_A1

Resumen de: WO2025256775A1

There is described a buoyant platform comprising at least one buoyant chamber arranged distal a central axis of the buoyant platform, the buoyant chamber comprising at least two dissimilar sections such that a waterplane area of the buoyant chamber varies with a draught of the buoyant chamber By adjusting a waterplane area of the buoyant chamber, a hydrostatic stiffness matrix of the buoyant chamber may also be varied. The buoyant chamber may be removably retained on the buoyant platform. In addition, a buoyant chamber configured to be connected to a buoyant platform is described.

Condensing vapor

NºPublicación:  AU2025271410A1 18/12/2025
Solicitante: 
NOUVEL TECH INC
Nouvel Technologies Inc
AU_2025271410_A1

Resumen de: AU2025271410A1

An aerosol condensing system is provided. The aerosol condensing system includes a source electrode electrically connected to an electrical source that applies an electrical voltage to the source electrode, a condenser including a sink electrode to collect aerosol contained in an air stream to the sink electrode, and a duct configured to direct the aerosol to the condenser. The source electrode and the sink electrode creates an electrical field within the duct. source electrode and the sink electrode creates an electrical field within the duct. ov o v

METHOD FOR UPDATING A UNIT OF A WIND FARM AS WELL AS SYSTEM THEREOF

NºPublicación:  US2025383863A1 18/12/2025
Solicitante: 
WOBBEN PROPERTIES GMBH [DE]
Wobben Properties GmbH

Resumen de: US2025383863A1

Aspects of the present disclosure relate to a method for updating at least one unit in a wind turbine of at least one of several wind farms, with an updating device arranged outside of the wind farm and configured to establish a data connection with the several wind farms. The method includes providing a database that includes entries for several units of the several wind farms with software configured to be updated; receiving a selection of at least one unit of the several units from the database; assembling a packet for the wind farm, the packet including the unit selected, and at least one software update file; transferring the packet to the wind farm; outputting information after completion of the transfer; receiving an approval for performing the update; performing the update; receiving a confirmation of a successful update; and storing an indication of the successful update in the database.

Wind-resistant energy harvesting tower

NºPublicación:  US2025382946A1 18/12/2025
Solicitante: 
VERTICAL GREEN ENERGY LTD [IL]
VERTICAL GREEN ENERGY LTD

Resumen de: US2025382946A1

Wind-resistant energy harvesting tower including a main column extending vertically from a base, and a plurality of ledges extending laterally outward from main column, each ledge including solar panel for absorbing and converting solar energy into electricity. Tower includes wind turbine positioned between ledges, for converting wind energy into alternate energy. At least one of main column and ledges is rotatable to orient tower to minimize drag when subject to wind loads. A rotor may rotate ledges to a ledge orientation for increasing wind resistance of tower. Main column may include wind resistance geometry to enable rotation of main column about its longitudinal axis when subject to wind loads. Ledges may include first ledge portion having lower wind resistance and second ledge portion having higher wind resistance and longer than first ledge portion, for compelling a rotation of ledge along wind direction when subject to a wind load.

AIRFOIL SEPARATION FLUTTER FOR WIND ENERGY HARVESTING OR FLIGHT CONTROL

NºPublicación:  US2025382945A1 18/12/2025
Solicitante: 
EMBRY RIDDLE AERONAUTICAL UNIV INC [US]
Embry-Riddle Aeronautical University, Inc

Resumen de: US2025382945A1

Wind energy harvesting can be performed using an airfoil structure. Such harvesting can include control of airfoil operation, such as to support harvesting energy from oscillations associated with one-degree-of-freedom (1-DOF, e.g., pitching) or two-degree-of-freedom (2-DOF, e.g., pitching and plunging) operation. For example, control of airfoil operation can include sustaining stable oscillation corresponding to limit-cycle oscillation (LCO) in pitch, or both pitch and plunging degrees of freedom. Examples can include use of a synthetic jet actuator (SJA) to modify a flow attachment characteristic associated with the airfoil structure. According to various examples, a modified Glauert airfoil configuration can be used. The approach herein can also be used to achieve aerodynamic control of aircraft, such as unmanned aircraft.

WIND TURBINE WAKE LOSS CONTROL USING DETECTED DOWNSTREAM WAKE LOSS SEVERITY

NºPublicación:  US2025382944A1 18/12/2025
Solicitante: 
VESTAS WIND SYSTEMS AS [DK]
VESTAS WIND SYSTEMS A/S
CN_119452162_PA

Resumen de: US2025382944A1

The invention relates to controlling a wind turbine that generates wake during operation. The wind turbine is part of a wind park comprising a plurality of wind turbines. The invention includes receiving, from a further wind turbine of the plurality of wind turbines that is downstream of the wind turbine, a severity parameter indicative of a severity of wake loss experienced at the further wind turbine. The invention includes determining, based on the received severity parameter, one or more wake loss control actions for adjusting wake generated by the wind turbine. The invention includes controlling the wind turbine to operate in accordance with the determined one or more wake loss control actions.

Hang-off assembly for power cables, hang-off system and method for mounting such a hang-off system

NºPublicación:  AU2025204045A1 18/12/2025
Solicitante: 
PRYSMIAN S P A
Prysmian S.p.A
AU_2025204045_A1

Resumen de: AU2025204045A1

Barzanò & Zanardo - 23 - HANG-OFF ASSEMBLY FOR POWER CABLES, HANG-OFF SYSTEM AND METHOD FOR MOUNTING SUCH A HANG-OFF SYSTEM ----- Hang-off assembly (200) for power cable (100) 5 comprising at least one cable core (110) and at least one protecting layer (120, 160) radially external to the at least one cable core (110), the hang-off system (200) comprising: - a frusto-conical tube (210) configured to be arranged 10 around a length of the power cable where the at least one cores are exposed, the frusto-conical tube (210) being made of two half-shells (211, 212) coupled to each other and defining a first opening (213) and a second opening (214) opposite to the each other wherein 15 the first opening (213) is circumferentially smaller than the second opening (214); - a self-curing resin to be poured and cured between the frusto-conical tube (210) and the at least one cable core (110) of the power cable (100), adapted to 20 adhere to the at least one cable core (110). Barzano & Zanardo - 23 - HANG-OFF ASSEMBLY FOR POWER CABLES, HANG-OFF SYSTEM AND METHOD FOR MOUNTING SUCH A HANG-OFF SYSTEM 5 Hang-off assembly (200) for power cable (100) comprising at least one cable core (110) and at least one protecting layer (120, 160) radially external to the at least one cable core (110), the hang-off system (200) comprising: 10 - a frusto-conical tube (210) configured to be arranged around a length of the power cable where the at least one cores are exposed, the frusto-conical tube (210)

NEW USES FOR COOLANTS

NºPublicación:  AU2024310129A1 18/12/2025
Solicitante: 
BASF SE
BASF SE
AU_2024310129_A1

Resumen de: AU2024310129A1

The present invention relates to new uses for coolants in wind turbine cooling systems.

A METHOD OF ASSEMBLING A DRIVE TRAIN FOR A WIND TURBINE, A WIND TURBINE AND AN ASSEMBLY KIT THEREOF

NºPublicación:  AU2023464646A1 18/12/2025
Solicitante: 
ENVISION ENERGY CO LTD
ENVISION ENERGY CO., LTD
AU_2023464646_PA

Resumen de: AU2023464646A1

The present invention relates to a method of assembling a drivetrain for a wind turbine, and a wind turbine and an assembly kit thereof. First fixture elements are secured to first planet carrier of the first gear stage and second fixture elements are secured to the gearbox housing. The respective gear stages of the gearbox unit are pre-assembled, where the first planet carrier is fixed relative to the gearbox housing via the first and second fixture elements. The first ring gear is further fixed relative to the gearbox housing by fastener elements. The pre-assembled gearbox unit is then aligned with the main shaft and moved into position relative to each other. The gearbox housing is mounted to the main bearing housing, and the first planet carrier is released and moved axially into position relative to the flange of the main shaft. The first planet carrier is then mounted to the flange and the first and second fixture elements are re-moved.

REGENERATIVE ENERGY SYSTEM

NºPublicación:  AU2021226134A1 18/12/2025
Solicitante: 
REGENX SYSTEMS SAS
REGENX SYSTEMS SAS
AU_2021226134_PA

Resumen de: AU2021226134A1

A regenerative energy system comprises a power source driving a motor that rotates a drive gear about an axis, the drive gear rotating a driven gear about an axis. The drive and driven gears each comprise radially extending teeth projecting from respective gear peripheries, the teeth meshing when the drive gear drives the 5 driven gear. Permanent magnets are disposed in at least some of the drive and driven gear teeth such that the magnetic poles of the drive gear teeth repel the poles of the driven gear teeth. When magnetic repulsive forces between the drive and driven gear teeth are overcome, the drive gear and driven gear teeth can engage one another. A coil is located in proximity to the permanent magnets. The 0 coil can form part of a solenoid. Electrical current is generated in the coil by a movement of the permanent magnets relative to the coil.

WIND TURBINE WAKE LOSS CONTROL USING DETECTED DOWNSTREAM WAKE LOSS AS A FUNCTION OF WIND DIRECTION

NºPublicación:  US2025382943A1 18/12/2025
Solicitante: 
VESTAS WIND SYSTEMS AS [DK]
VESTAS WIND SYSTEMS A/S
CN_119895141_PA

Resumen de: US2025382943A1

The invention relates to controlling a wind turbine that has a predefined wake control strategy for controlling it to perform wake control actions as a function of wind direction, and for adjusting its generated wake at wind directions predicted to result in wake loss at a further, downstream wind turbine. The invention includes receiving, from the further wind turbine, a wind direction determined to result in a defined wake condition at the further wind turbine, and determining a difference between a wind direction predicted to result in the defined wake condition at the further wind turbine and the received wind direction determined to result in the defined wake condition. The invention includes determining an adjusted wake control strategy that is for controlling the wind turbine to perform the wake control actions of the predefined strategy as a function of wind direction offset by the determined difference.

WIND TURBINE CONTROL TO MAXIMISE POWER PRODUCTION WITH A THRUST LIMIT

NºPublicación:  US2025382942A1 18/12/2025
Solicitante: 
VESTAS WIND SYSTEMS AS [DK]
VESTAS WIND SYSTEMS A/S
WO_2024002446_PA

Resumen de: US2025382942A1

The invention relates to controlling a wind turbine. A predefined power coefficient data structure and a predefined thrust coefficient data structure respectively comprise values of a power coefficient and a thrust coefficient as functions of blade pitch angle and tip speed ratio. The invention includes using an iterative search algorithm to determine values of pitch angle and tip speed ratio that maximise the power coefficient value in the predefined power coefficient data structure subject to a constraint that the thrust coefficient value in the predefined thrust coefficient data structure is no greater than a maximum threshold thrust coefficient value. A rotor speed reference is determined based on the determined tip speed ratio value and on a received wind speed. The determined pitch angle value is set as a pitch angle reference. The wind turbine is controlled in accordance with the pitch angle and tip speed ration references.

TOROIDAL, MODULAR, AMPLIFIED WIND POWER GENERATION SYSTEM UTILIZING BERNOULLI PASSIVE WIND AMPLIFICATION SURFACES AND COUPLED-VORTEX COMPONENT POSITIONING OF MULTIPLE ADJUSTABLE STANDALONE VAWT TURBINES AND VANES ON A PASSIVELY YAWABLE TRACK

NºPublicación:  US2025382941A1 18/12/2025
Solicitante: 
V3 TECH LLC [US]
V3 Technologies, LLC
GB_2612468_PA

Resumen de: US2025382941A1

A large-scale, modular, wind power generating structure and system involving a toroidal or ovoidal shaped wind amplification structure/module that can be stacked vertically to form a tower that passively accelerates a wind flow that moves around each of the modules due to the Bernoulli Principle. Each amplification level includes a plurality of vertical axis wind turbine and generator assemblies, fairings, and vanes that form a synergistic system wherein the efficiency of the vertical axis turbine and generator assemblies and the amount of energy that can be produced per module are substantially improved compared to the turbine assemblies operating outside the integrated and amplified wind system.

THERMAL ENERGY STORAGE SYSTEM WITH STEAM GENERATION SYSTEM INCLUDING FLOW CONTROL AND ENERGY COGENERATION

NºPublicación:  US2025382898A1 18/12/2025
Solicitante: 
RONDO ENERGY INC [US]
Rondo Energy, Inc
US_2025179941_PA

Resumen de: US2025382898A1

An energy storage system converts variable renewable electricity (VRE) to continuous heat at over 1000° C. Intermittent electrical energy heats a solid medium. Heat from the solid medium is delivered continuously on demand. An array of bricks incorporating internal radiation cavities is directly heated by thermal radiation. The cavities facilitate rapid, uniform heating via reradiation. Heat delivery via flowing gas establishes a thermocline which maintains high outlet temperature throughout discharge. Gas flows through structured pathways within the array, delivering heat which may be used for processes including calcination, hydrogen electrolysis, steam generation, and thermal power generation and cogeneration. Groups of thermal storage arrays may be controlled and operated at high temperatures without thermal runaway via deep-discharge sequencing. Forecast-based control enables continuous, year-round heat supply using current and advance information of weather and VRE availability. High-voltage DC power conversion and distribution circuitry improves the efficiency of VRE power transfer into the system.

係留装置、浮遊式海上風力装置及び制御方法

NºPublicación:  JP2025541269A 18/12/2025
Solicitante: 
ポスコカンパニーリミテッド
JP_2025541269_PA

Resumen de: CN120604036A

A mooring device of a floating structure according to the present disclosure, the mooring device comprising: a sprocket on which a mooring chain is wound; a brake band surrounding an outer circumference of the sprocket; a brake actuator that provides a pulling force to the brake band such that the brake band brakes by pressing the outer circumference of the sprocket; a tension detection section that measures a tension applied to the brake band; and a controller that controls the brake actuator to reduce a pulling force pulling the brake band when a measurement value measured by the tension detection portion exceeds a set value.

内部繊維強化ポリマーラップを備える、洋上支持構造物に使用するための構造継手

NºPublicación:  JP2025541375A 18/12/2025
Solicitante: 
ツリーコンポジッツホールディングベー.ヴェー.
JP_2025541375_PA

Resumen de: CN120380223A

A structural joint for use in a support structure bearing cyclic loads, the structural joint comprising a first structural member having a first cross-section defined at least in part by a first dimension, such as a width, height or diameter, and a second tubular structural member having a second cross-section defined at least in part by a second dimension, such as a width, height or diameter. Wherein the first dimension is the maximum dimension of the first cross section; a second tubular structural member having a second cross-section, the second cross-section being at least partially defined by a second dimension, such as width, height or diameter, where the second dimension is a maximum dimension of the second cross-section, where the first dimension is greater than the second dimension; wherein the structural members are arranged relative to each other at a non-zero angle measured between a longitudinal direction of the first structural member and a longitudinal axis of the second tubular structural member, and wherein the second tubular structural member protrudes from a wall section of the first structural member, wherein the first structural member and the second tubular structural member are connected to each other by means of an inner fiber-reinforced polymer coating applied around a preferably complete outer periphery of the second tubular structural member and applied to and connected to the inside of a wall section of the first structural member.

BLADE AND AXIAL IMPELLER USING SAME

NºPublicación:  US2025382971A1 18/12/2025
Solicitante: 
YORK GUANGZHOU AIR CONDITIONING AND REFRIGERATION CO LTD [CN]
JOHNSON CONTROLS TYCO IP HOLDINGS LLP [US]
York Guangzhou Air Conditioning and Refrigeration Co., Ltd,
JOHNSON CONTROLS TYCO IP HOLDINGS LLP
EP_4545800_PA

Resumen de: US2025382971A1

The present application discloses a blade and an axial-flow impeller using the same. The present application provides a blade, comprising a blade tip, a blade root, a leading edge and a trailing edge, wherein the leading edge and the trailing edge extend from the blade tip to the blade root, respectively. The blade is capable of rotating about a rotation axis X which is perpendicular to a normal plane. In a projection of the blade on the normal plane, a circumferential included angle between the leading edge and the trailing edge forms a wrap angle, and the wrap angle decreases gradually from the blade root to a middle blade height of the blade and increases gradually from the middle blade height to the blade tip. Wherein, the middle blade height is an arc line formed by center points of the blade tip and the blade root along a radial direction. The blade of the present application allows for significantly reduced turbulent vortices and reduced intensity in the vicinity of the junction of the leading edge and the blade tip of the blade and in the vicinity of the junction of the trailing edge and the blade tip of the blade during the operation of the axial-flow impeller, leading to evenly lightened load of airflow on the blade, more uniform distributions of velocity and pressure, reduced velocity and pressure pulsations, and reduced noise.

WIND TURBINE ROTOR BLADE WITH ROOT, MAIN AND TIP SECTIONS

NºPublicación:  US2025382940A1 18/12/2025
Solicitante: 
NORDEX ENERGY SE & CO KG [DE]
Nordex Energy SE & Co. KG
EP_4663942_PA

Resumen de: US2025382940A1

A wind turbine rotor blade having a root section includes a blade root, an outer end and a root section length, a main section having an inner end, an outer end and a main section length, a tip section having an inner end, a blade tip and a tip section length. The outer end of the root section and the inner end of the main section are configured to be connected to one another. The outer end of the main section and the inner end of the tip section each have a cross section shaped as an aerodynamic profile and are configured to be connected to one another. The outer end of the root section and the inner end of the main section have a circular cross section.

洋上風力タービンプラットフォームを一時的に支持することが意図された洋上浮体式介入船舶、関連するアセンブリ及び介入方法

NºPublicación:  JP2025541278A 18/12/2025
Solicitante: 
テクニップエナジーズフランス
JP_2025541278_PA

Resumen de: TW202438386A

The vessel comprises: - a main hull (44) having an upper deck (62) defining un upper deck surface (64) at a first height (h1); - a stern (48) protruding from the main hull (44), defining an upper receiving surface (72) extending in a plane at a second height (h2) lower than the first height (h1); - a wind turbine equipment lifting tower (100), configured to lift at least an equipment of the wind turbine. The volume (84) above the upper receiving surface (72) is free to receive an offshore wind turbine platform on the upper receiving surface (72), at the free end and over at least 50% of the length (SL) of the stern (48) taken along the longitudinal axis (A-A') from the free end. The second height (h2) is at most equal to 40% of the first height (h1).

風車のための回転ブレードを製造する方法

NºPublicación:  JP2025541516A 18/12/2025
Solicitante: 
フローゲンディベロップメントアンドマネジメントアクチェンゲゼルシャフト
JP_2025541516_PA

Resumen de: CN120457019A

A method of manufacturing a rotor blade (30) for a wind turbine, comprising the steps of: a) providing layups and stacking the layups in a first mold for a first half rotor blade shell (10) and in a second mold for a second half rotor blade shell (20) for a high pressure resin transfer molding process; b) injecting resin through a high-pressure resin transfer molding process; c) providing a plurality of bushings (50), each bushing being formed as a solid cylindrical sleeve having radially outwardly extending wall protrusions (52); d) manufacturing a spacer (60) comprising a rotor blade root (42) comprising the plurality of bushings (50); and e) positioning and bonding the first half rotor blade shell, the second half rotor blade shell and the spacer (60); f) providing a plurality of washers (80) to mount a washer at each end of the bushing.

洋上風力発電所の資源配分方法、装置、コンピュータ装置及び記憶媒体

NºPublicación:  JP2025541046A 18/12/2025
Solicitante: 
三峡国▲際▼能源投▲資▼集▲団▼有限公司
JP_2025541046_PA

Resumen de: WO2025102708A1

The present application relates to the technical field of resource configuration, and discloses an offshore wind farm resource configuration method and apparatus, a computer device, and a storage medium. According to the present application, different adjustment rates are determined on the basis of a predicted wind energy dataset and a preset adjustment period, and the determined adjustment rates are used to adjust the layout of wind turbines in a wind power generation-based prediction twin model, thereby ensuring the stability of wind turbine groups during movement, and realizing a targeted adjustment mechanism for the wind turbines on the basis of different wind resource conditions. Optionally, on the basis of the established wind power generation-based prediction twin model, a target layout of the wind turbine groups in an offshore wind farm to be configured and a target orientation of each wind turbine can be obtained, and the positions and orientations of the wind turbines are adjusted at the same time, thereby maximizing offshore wind resource utilization, and improving the efficiency of wind power generation.

Horizontale Windkraftanlage mit Differenzialgetriebe

NºPublicación:  DE102024205407A1 18/12/2025
Solicitante: 
ZAHNRADFABRIK FRIEDRICHSHAFEN [DE]
ZF WIND POWER ANTWERPEN NV [BE]
ZF Friedrichshafen AG,
ZF Wind Power Antwerpen N.V

Resumen de: DE102024205407A1

Die Erfindung betrifft eine Antriebsanordnung für eine horizontale Windkraftanlage, mit einer ersten Generatoranordnung, einer zweiten Generatoranordnung und einem Differenzialgetriebe. Ein Rotor eines Generators der ersten Generatoranordnung und ein Rotor eines Generators der zweiten Generatoranordnung sind über das Differenzialgetriebe triebwirksam mit einem Rotor der Windkraftanlage verbunden.

METHOD FOR MANUFACTURING COLUMNS FOR A WIND TURBINE TOWER

NºPublicación:  WO2025257442A1 18/12/2025
Solicitante: 
NABRAWIND TECH S L [ES]
NABRAWIND TECHNOLOGIES, S.L
WO_2025257442_A1

Resumen de: WO2025257442A1

The present invention relates to a method for manufacturing columns formed by a central column tube (1), and two nodes welded at the ends of the column formed by attaching the high-thickness column tubes (2) and the diagonal inserts (3) together with the diagonal flanges (4') and column flanges (4''). All of these independently manufactured parts are welded together forming a final welded node and are placed in a positioning tool that ensures tolerances, either relative tolerances between column (4') and diagonal (4'') flanges to ensure the subsequent ability to assemble the lattice, or relative tolerances between the inserts (3) and the high-thickness tube of the column ends (2) to ensure the subsequent ability to weld these components, or relative tolerances between the column flange (4') and the opposite end of the high-thickness tube (2) to ensure the subsequent ability to weld to the central column tube (1). Lastly, in the manufacturing process, each high-thickness tube (2) is attached to its diagonal inserts (3) to form a welded node and the attachment of the column assembly is completed by welding the central column tube (1) to the two nodes (2, 3, 4' and 4") at the ends thereof.

NOISE REDUCTION APPARATUS FOR WIND TURBINE

NºPublicación:  WO2025255932A1 18/12/2025
Solicitante: 
HUANENG INT POWER CO LTD CHONGQING CLEAN ENERGY BRANCH [CN]
\u534E\u80FD\u56FD\u9645\u7535\u529B\u80A1\u4EFD\u6709\u9650\u516C\u53F8\u91CD\u5E86\u6E05\u6D01\u80FD\u6E90\u5206\u516C\u53F8
WO_2025255932_A1

Resumen de: WO2025255932A1

A noise reduction apparatus for a wind turbine, comprising an upper housing (11), a lower housing (12) being fixedly connected to the upper housing (11). The upper housing (11) is provided with several heat dissipation ports (1101). The apparatus further comprises: arc-shaped sealing plates (2), driven rotating shafts (21), and a rotation control assembly. Each arc-shaped sealing plate (2) is rotatably connected to a heat dissipation ports (1101) by means of a driven rotating shaft (21), and each arc-shaped sealing plate (2) is composed of a composite of an inner-layer sound-absorbing material and an outer hard material. The first arc-shaped sealing plate (2) located on the left side of the upper housing (11) and the first arc-shaped sealing plate (2) located on the right side of the upper housing (11) are provided with ventilation groove (202) structures. The rotation control assembly for synchronously controlling the rotation of each driven rotating shaft (21) and the arc-shaped sealing plates (2) is jointly connected between the upper housing (11) and the lower housing (12). Under sunny conditions, the arc-shaped sealing plates (2) are switched to an inwardly-recessed open state, and the arc-shaped sealing plates (2) is used in cooperation with sound-absorbing cotton (13) to perform multi-directional noise reduction processing. At night or under rainy conditions, the arc-shaped sealing plates (2) are switched to a closed state in which the arc-shaped sealing plates (2) are

Segmentiertes Rotorblatt für Windkraftanlagen

NºPublicación:  DE102024116982A1 18/12/2025
Solicitante: 
DEUTSCH ZENTR LUFT & RAUMFAHRT [DE]
Deutsches Zentrum f\u00FCr Luft- und Raumfahrt e.V

Resumen de: DE102024116982A1

Die Erfindung betrifft ein segmentiertes Rotorblatt für Windkraftanlagen mit mindestens zwei Blattsegmenten, wobei jedes Blattsegment mindestens ein innenliegendes Holmelement aufweist, wobei das erste Holmelement und das zweite Holmelement an der Fügestelle mit ihren Stirnseiten mittels einer Verbindungsanordnung aneinandergefügt sind, wobei die Verbindungsanordnung eine Mehrzahl von Verbindungsgarnituren aufweist, die jeweils die Holmelemente miteinander verbinden, wobei jede Verbindungsgarnitur einen ersten Querbolzen, einen zweiten Querbolzen und wenigstens eine Verbindungslasche umfasst, die an ihren Enden eine erste Laschenöffnung und eine zweite Laschenöffnung aufweist, und wobei bei jeder Verbindungsgarnitur der erste Querbolzen quer zur Längsrichtung des Rotorblattes durch eine Holmöffnung im ersten Holmelement sowie die erste Laschenöffnung der Verbindungslasche und der zweite Querbolzen quer zur Längsrichtung des Rotorblattes durch eine Holmöffnung im zweiten Holmelement sowie die zweite Laschenöffnung der Verbindungslasche geführt ist, sodass die Verbindungslasche die Holmelemente miteinander verbindet. Erfindungsgemäß ist vorgesehen, dass zumindest einer der Querbolzen einer Verbindungsgarnitur als axiales Vorspannelement ausgebildet ist, welches im eingesetzten Zustand eine rotorblattbezogene axiale Vorspannung auf die wenigstens eine Verbindungslasche der Verbindungsgarnitur derart ausübt, dass die Stirnseiten der Holmelemente aneinander gepresst

Windkraftanlage

NºPublicación:  DE102024116974A1 18/12/2025
Solicitante: 
DEUTSCH ZENTR LUFT & RAUMFAHRT [DE]
Deutsches Zentrum f\u00FCr Luft- und Raumfahrt e.V

Resumen de: DE102024116974A1

Die Erfindung betrifft eine Windkraftanlage mit einer Rotornabe und mit mindestens einem Rotorblatt, dessen Blattwurzel mit einer Befestigungsanordnung an einem Lagerring eines Rotorblattlagers der Rotornabe befestigt oder befestigbar ist, sodass mittels des Rotorblattlagers durch Drehung des Lagerrings gegenüber der Rotornabe das Rotorblatt relativ zu der Rotornabe um seine Längsachse drehbar ist, dadurch gekennzeichnet, dassa. die Befestigungsanordnung eine Mehrzahl von Befestigungsgarnituren aufweist,b. wobei jede Befestigungsgarnitur mindestens einen ersten Querbolzen, mindestens einen zweiten Querbolzen und wenigstens eine Befestigungslasche mit mindestens einer ersten Laschenöffnung und mindestens einer zweiten Laschenöffnung hat, undc. wobei bei jeder Befestigungsgarnitur der wenigstens eine erste Querbolzen quer zur Längsachse des Rotorblattes durch eine erste Bolzenöffnung im Lagerring sowie durch die erste Laschenöffnung der Befestigungslasche und der zweite Querbolzen quer zur Längsachse des Rotorblattes durch eine zweite Bolzenöffnung in der Blattwurzel des Rotorblattes sowie durch die zweite Laschenöffnung geführt ist.

WATER-BASED PLATFORM FOR A WIND TURBINE

NºPublicación:  WO2025257362A1 18/12/2025
Solicitante: 
LIFTRA IP APS [DK]
LIFTRA IP APS
WO_2025257362_A1

Resumen de: WO2025257362A1

Water-based platform for a wind turbine, said water-based platform comprising a foundation element which establishes a stable foundation for the wind turbine on the water and a wind turbine tower connection portion arranged on the foundation element. The water-based platform further comprises: an equipment support structure and equipment for maintaining/servicing the wind turbine. The equipment being supported on the foundation element by the equipment support structure and said equipment support structure being connected to the foundation element such that the entire weight of said equipment supported by the equipment support structure is transferred to the foundation element via said equipment support structure.

SYSTEM AND METHOD TO DETACHABLY ARRANGE EQUIPMENT ONTO A FLOATING RENEWABLE ENERGY STRUCTURE

NºPublicación:  WO2025257371A1 18/12/2025
Solicitante: 
TECHNIP UK LTD [GB]
TECHNIP UK LIMITED
WO_2025257371_A1

Resumen de: WO2025257371A1

A system to detachably arrange equipment (20) onto a floating renewable energy structure (10). The system comprising a first unit (100) attachable to a periphery of the structure (10) and configured for receiving a second unit (200) on a landing base (110) of the first unit (100); and the second unit (200) comprising a base (210) for the equipment (20) and the equipment (20); the first unit (100) and the second unit (200) being connectable to each other by a connection system. The connection system comprises a female connector (120) on one unit (100, 200) and a male connector (220) on the other unit (200, 100), respectively; and first and second alignment means (310, 320, 330, 340) on each unit (100, 200); and a fixing mechanism (500) for releasably locking the first unit (100) with the second unit (200).

OFFSHORE WIND PLATFORM WITH FOLDING RADIAL BRACES

NºPublicación:  WO2025257183A1 18/12/2025
Solicitante: 
MARINE POWER SYSTEMS LTD [GB]
MARINE POWER SYSTEMS LIMITED
WO_2025257183_PA

Resumen de: WO2025257183A1

A platform arranged to support a renewable energy system, the platform comprising a central structure (103), wherein the central structure comprises at least three pivot connections (104); and at least three radial arms (102), each radial arm configured to be pivotably connected to a respective pivot connection of the central structure such that each of the at least three radial arms are configured to pivot between a folded configuration and an unfolded configuration.

WIND TURBINE SUPPORT APPARATUS

NºPublicación:  WO2025257182A1 18/12/2025
Solicitante: 
MARINE POWER SYSTEMS LTD [GB]
MARINE POWER SYSTEMS LIMITED
WO_2025257182_A1

Resumen de: WO2025257182A1

There is described a wind turbine support apparatus comprising: a support element configured to be connected to a base; a first rotatable arm and a second rotatable arm, each rotatable arm comprising a proximal end configured to be connected to the support element, and a distal end configured to be connected to a nacelle of a wind turbine; wherein each rotatable arm is configured to rotate about the respective proximal end between a first configuration in which the respective distal end is disposed at a first height and a second configuration in which the respective distal end is disposed at a second height; and a height adjustment mechanism coupled between the support element and each rotatable arm; wherein the height adjustment mechanism is operable to rotate each rotatable arm between the first configuration and the second configuration such that a height of each respective distal end is adjusted.

FLOATING POWER GENERATION UNIT

Nº publicación: US2025382035A1 18/12/2025

Solicitante:

ANZAI SATOSHI [JP]
ANZAI Satoshi

US_2025382035_PA

Resumen de: US2025382035A1

A floating power generation unit is provided which, by dispersing oxygen content in water as fine air bubbles while generating power on the water, increases the activity of aerobic organisms, promotes plankton growth, and improves fishing grounds. This floating power generation unit is provided with a power generator, an oxygen separator, and a float. The power generator and the oxygen separator are arranged on the top surface of the float. The floating power generation unit is provided with a first fine air bubble generating medium which supplies the oxygen separated by the oxygen separator into the water as fine air bubbles and is provided with a second fine air bubble generating medium which supplies the nitrogen separated by the oxygen separator into the water as fine air bubbles.

traducir