Ministerio de Industria, Turismo y Comercio LogoMinisterior
 

Alerta

Resultados 1083 resultados
LastUpdate Última actualización 21/03/2026 [07:23:00]
pdfxls
Publicaciones de solicitudes de patente de los últimos 60 días/Applications published in the last 60 days
previousPage Resultados 475 a 500 de 1083 nextPage  

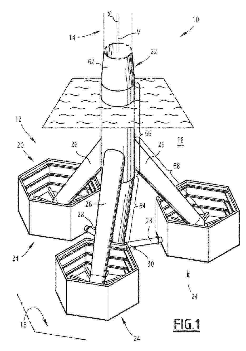
PROCESS FOR PRODUCING A HYDROGEN PRODUCT

NºPublicación:  WO2026032565A1 12/02/2026
Solicitante: 
AIR LIQUIDE [FR]
L'AIR LIQUIDE, SOCIETE ANONYME POUR L'ETUDE ET L'EXPLOITATION DES PROCEDES GEORGES CLAUDE
WO_2026032565_PA

Resumen de: WO2026032565A1

The invention relates to a process for producing a hydrogen product (3) from a feedstock stream (4), said process comprising the following steps: - providing an ammonia stream (8); - sending the ammonia stream (8) to a vaporizer (6) configured to receive said ammonia stream (8) and to vaporize said ammonia stream (8) so as to obtain a vaporized ammonia stream (10); and - controlling the temperature of the vaporized ammonia stream (10) by injecting a cooling medium (16) into the vaporized ammonia stream (10) thereby obtaining a temperature-controlled ammonia stream (18).

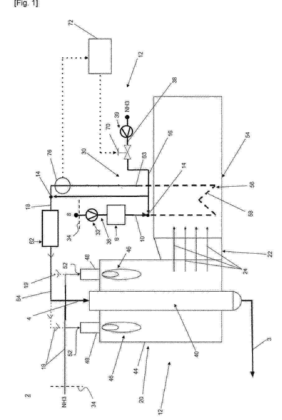
PROCESS FOR PRODUCING A HYDROGEN PRODUCT

NºPublicación:  WO2026032563A1 12/02/2026
Solicitante: 
AIR LIQUIDE [FR]
L'AIR LIQUIDE, SOCIETE ANONYME POUR L'ETUDE ET L'EXPLOITATION DES PROCEDES GEORGES CLAUDE
WO_2026032563_PA

Resumen de: WO2026032563A1

A process (100) for producing a hydrogen product (20) from a feedstock stream (10), the process (100) comprising the following steps: - performing a combustion of a fuel gas (S11) to bring a heat input to the process (100) thereby generating a flue gas (52), - pre-heating the ammonia stream (S3), said preheating being realized in a first heat exchanger (4) arranged to heat the ammonia stream by heat exchange with the flue gas, - sending the pre-heated ammonia stream (12) to a vaporizer (5) and vaporizing (S4) said pre-heated ammonia stream, - sending the vaporized ammonia (14) from said vaporizer (5) as said feedstock stream (S6) and/or sending the vaporized ammonia from said vaporizer as said fuel to said combustion (S11).

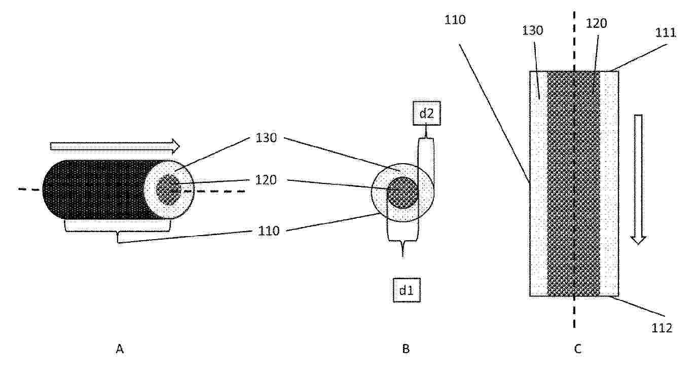
COAXIAL CATALYST SYSTEM FOR AMMONIA CRACKING

NºPublicación:  WO2026032554A1 12/02/2026
Solicitante: 
HERAEUS PRECIOUS METALS GMBH [DE]
HERAEUS PRECIOUS METALS GMBH & CO. KG
WO_2026032554_PA

Resumen de: WO2026032554A1

The invention relates to a catalyst system for cracking ammonia into hydrogen and nitrogen, comprising at least one tube having an axis extending centrally through the interior of the tube, wherein at least two coaxially arranged regions are formed in the tube in the form of a first region along the central axis and at least one further region surrounding the first region, and wherein the first region contains a first catalyst material and the at least one further region contains at least one further catalyst material, characterised in that a) the first catalyst material has at least one metal selected from the group consisting of noble metals and non-noble metals and b) the at least one further catalyst material has at least one non-noble metal. The first and the at least one further catalyst material are different.

POROUS TRANSPORT LAYER

NºPublicación:  EP4689230A1 11/02/2026
Solicitante: 
BEKAERT SA NV [BE]
NV Bekaert SA
KR_20250174598_PA

Resumen de: CN121013921A

The invention provides a porous transport layer for an electrolytic cell or for a fuel cell, the porous transport layer comprising:-a first non-woven layer having metal fibres, the first non-woven layer having metal fibres being arranged for contacting a proton exchange membrane, wherein the first non-woven layer having metal fibers comprises metal fibers having a first equivalent diameter, and wherein the first non-woven layer having metal fibers has a first surface roughness and a first porosity; -a second non-woven layer having metal fibers, where the second non-woven layer having metal fibers comprises metal fibers having a second equivalent diameter, where the second non-woven layer having metal fibers has a second surface roughness and a second porosity, where the first surface roughness is less than 10 mu m, and the second surface roughness is less than 10 mu m. The first equivalent diameter is less than the second equivalent diameter, the first surface roughness is at least 20% less than the second surface roughness, e.g. In the range of 20% to 120%, where the first porosity is at least 10% less than the second porosity, e.g. In the range of 10% to 50%, and where the first nonwoven layer is metallurgically bonded to the second nonwoven layer.

전기화학 셀 및 전기화학 셀용 조립체를 제조하기 위한 방법 및 시스템

NºPublicación:  KR20260020477A 11/02/2026
Solicitante: 
CELLCENTRIC GMBH & CO KG [DE]
\uC140\uC13C\uD2B8\uB9AD \uAC8C\uC5E0\uBCA0\uD558 \uC6B4\uD2B8 \uCF64\uD30C\uB2C8 \uCE74\uAC8C
KR_20260020477_PA

Resumen de: CN121359262A

The invention relates to a method for producing an assembly for an electrochemical cell, wherein the assembly comprises at least the following structural components: a first plate (10; 10 '), a proton exchange membrane (42), a first electrode (31) arranged between the first plate and the proton exchange membrane, and a first gas diffusion layer (21) arranged between the first plate and the first electrode, having the following steps: A) providing a substrate having only a part of the structural component, in particular the first plate and/or the first gas diffusion layer; b) assembling the components, wherein the assembling comprises the step of adding residual structural components; or the following steps: a) providing a substrate distinct from the structural component; b) assembling the components, wherein the assembling comprises adding structural components; wherein the bezel is formed by applying one or more layers of a molding material (70-72) to the provided substrate, the strength of the molding material being increased after said application, at least one layer of the molding material forming the bezel or at least one surrounding section of the bezel being applied prior to step B) or b). The invention also relates to an electrochemical cell, in particular a fuel cell or an electrolytic cell, to a cell stack having a cell of this type, and to a method and a facility for producing an assembly for a cell or a cell stack of this type.

HYDROGEN GAS GENERATION SYSTEM

NºPublicación:  EP4688647A1 11/02/2026
Solicitante: 
UNIV CALIFORNIA [US]
THE REGENTS OF THE UNIVERSITY OF CALIFORNIA
CN_120981421_PA

Resumen de: CN120981421A

A hydrogen production system comprising: a first electrode having an electrocatalyst, a second electrode having an electron donor material comprising a plurality of active sites, the second electrode configured to release electrons from the active sites within a predetermined working potential range below a working potential triggering an oxygen evolution reaction; a first electrolyte in contact with the first and second electrodes, the electrolyte being a source of hydrogen protons; and a power source configured to provide the system with the predetermined operating potential range to release electrons from the second electrode and transfer electrons to the first electrode such that hydrogen protons combine with the electrons to produce hydrogen gas.

STEAM ELECTROLYSIS DEVICE AND STEAM ELECTROLYSIS METHOD

NºPublicación:  EP4692424A1 11/02/2026
Solicitante: 
UNIV KYUSHU NAT UNIV CORP [JP]
DLR DEUTSCHES ZENTRUM FUER LUFT UND RAUMFAHRT E V [DE]
Kyushu University, National University Corporation,
DLR Deutsches Zentrum f\u00FCr Luft- und Raumfahrt e.V
EP_4692424_A1

Resumen de: EP4692424A1

It is an object of the present invention to provide a steam electrolysis device and a steam electrolysis method, which have high energy efficiency. The present invention relates to: a steam electrolysis device, comprising an anode electrode chamber, a cathode electrode chamber, and an ion conductor disposed between these electrode chambers, wherein steam in an amount more than twice the amount of hydrogen generated is supplied to at least one selected from the anode electrode chamber and the cathode electrode chamber, and 50% or less of the supplied steam is electrolyzed; and a steam electrolysis method using the steam electrolysis device.

METHOD FOR PRODUCING OXYGEN CARRIER, METHOD FOR PRODUCING HYDROGEN, AND APPARATUS FOR PRODUCING HYDROGEN

NºPublicación:  EP4691992A1 11/02/2026
Solicitante: 
JAPAN CARBON FRONTIER ORGANIZATION [JP]
UNIV GUNMA NAT UNIV CORP [JP]
OSAKA GAS CO LTD [JP]
Japan Carbon Frontier Organization,
National University Corporation Gunma University,
Osaka Gas Co., Ltd
EP_4691992_A1

Resumen de: EP4691992A1

Provided is a method for producing a highly active oxygen carrier at low cost, and a method for producing hydrogen and an apparatus for producing hydrogen using the highly active oxygen carrier.SolutionA method for producing an oxygen carrier of the present invention is a method for producing an oxygen carrier formed of an activated iron titanate containing an alkali titanate and an iron oxide by calcining a mixture of iron titanate particles and an alkali component. The mixture of the iron titanate particles and the alkali component is prepared by any of: physically mixing the iron titanate particles and an alkaline compound; and spraying an aqueous solution of the alkaline compound to the iron titanate particles or impregnating the iron titanate particles with the aqueous solution of the alkaline compound and then drying the sprayed or impregnated iron titanate particles.

ELECTROCATALYTIC MIXED IRON-VANADIUM OXIDE ELECTRODE, PRODUCTION METHOD FOR SAME AND ITS USES IN HYDROGEN PRODUCTION

NºPublicación:  EP4693486A1 11/02/2026
Solicitante: 
UNIV VALENCIA [ES]
UNIV CASTELLON JAUME I [ES]
Universitat de Val\u00E8ncia,
Universitat Jaume I De Castell\u00F3n
EP_4693486_PA

Resumen de: EP4693486A1

The invention relates to an electrocatalytic electrode comprising a coating film on an electrically conductive base substrate that includes a non-stoichiometric mixed oxide dispersed in the film, including a mixture of iron and vanadium, in a metal-organic matrix, the organic part of which includes the mixed oxide dispersed therein. The electrocatalytic electrode can be used for the production of molecular hydrogen.The invention also relates to a method for producing the electrocatalytic electrode and the use of the electrocatalytic electrode for the improved production of molecular hydrogen by means of at least water hydrolysis, alkaline water electrolysis, alkaline electrolysis via ion exchange, as a selective electrode and as an electrode for the oxidation of organic compounds in an aqueous solution.

PROCESS FOR PRODUCING A HYDROGEN PRODUCT

NºPublicación:  EP4691968A1 11/02/2026
Solicitante: 
AIR LIQUIDE [FR]
L'AIR LIQUIDE, SOCIETE ANONYME POUR L'ETUDE ET L'EXPLOITATION DES PROCEDES GEORGES CLAUDE
EP_4691968_PA

Resumen de: EP4691968A1

A process (100) for producing a hydrogen product (20) from a feedstock stream (10), the process (100) comprising the following steps:- performing a combustion of a fuel gas (S11) to bring a heat input to the process (100) thereby generating a flue gas (52),- pre-heating the ammonia stream (S3), said preheating being realized in a first heat exchanger (4) arranged to heat the ammonia stream by heat exchange with the flue gas,- sending the pre-heated ammonia stream (12) to a vaporizer (5) and vaporizing (S4) said pre-heated ammonia stream,- sending the vaporized ammonia (14) from said vaporizer (5) as said feedstock stream (S6) and/or sending the vaporized ammonia from said vaporizer as said fuel to said combustion (S11).

PROCESS FOR PRODUCING A HYDROGEN PRODUCT

NºPublicación:  EP4691970A1 11/02/2026
Solicitante: 
AIR LIQUIDE [FR]
L'AIR LIQUIDE, SOCIETE ANONYME POUR L'ETUDE ET L'EXPLOITATION DES PROCEDES GEORGES CLAUDE
EP_4691970_PA

Resumen de: EP4691970A1

The invention relates to a process for producing a hydrogen product (3) from a feedstock stream (4), said process comprising the following steps:- providing an ammonia stream (8);- sending the ammonia stream (8) to a vaporizer (6) configured to receive said ammonia stream (8) and to vaporize said ammonia stream (8) so as to obtain a vaporized ammonia stream (10); and- controlling the temperature of the vaporized ammonia stream (10) by injecting a cooling medium (16) into the vaporized ammonia stream (10) thereby obtaining a temperature-controlled ammonia stream (18).

COMPLEX KNITTED STRUCTURES AS ELECTRODE FOR ELECTROLYSIS OF WATER

NºPublicación:  EP4692422A1 11/02/2026
Solicitante: 
UMICORE AG & CO KG [DE]
Umicore AG & Co. KG
EP_4692422_PA

Resumen de: EP4692422A1

The present invention relates to an electrode for the electrolysis of, in particular, alkaline water solutions. The electrode has a 3D-knitted metal structure in the form of a net. The metal is predominantly made of nickel. The invention also relates to a corresponding electrolysis cell and its use for the electrolysis of alkaline aqueous solutions.

COAXIAL CATALYST SYSTEM FOR AMMONIA CRACKING

NºPublicación:  EP4691967A1 11/02/2026
Solicitante: 
HERAEUS PRECIOUS METALS GMBH [DE]
Heraeus Precious Metals GmbH & Co. KG
EP_4691967_PA

Resumen de: EP4691967A1

Die Erfindung betrifft ein Katalysatorsystem zur Spaltung von Ammoniak in Wasserstoff und Stickstoff, umfassend mindestens Rohr mit einer zentral durch das innere des Rohrs verlaufenden Achse, wobei in dem Rohr mindestens zwei koaxial angeordnete Bereiche, in Form von einem ersten Bereich entlang der zentralen Achse und mindestens einem den ersten Bereich umgebenden weiteren Bereich, ausgebildet sind, und wobei der erste Bereich ein erstes Katalysatormaterial und der mindestens eine weitere Bereich mindestens ein weiteres Katalysatormaterial enthält, dadurch gekennzeichnet, dass a) das erste Katalysatormaterial mindestens ein Metall aufweist, das ausgewählt ist aus der Gruppe bestehend aus Edelmetallen und Nicht-Edelmetalle, und b) das mindestens eine weitere Katalysatormaterial mindestens ein Nicht-Edelmetall aufweist. Das erste und das mindestens eine weitere Katalysatormaterial sind verschieden.

COMPOUNDED FLUORINATED SULFONYL FLUORIDE POLYMERS AND ION EXCHANGE MEMBRANES MADE THEREFROM

NºPublicación:  EP4689235A1 11/02/2026
Solicitante: 
CHEMOURS CO FC LLC [US]
The Chemours Company FC, LLC
KR_20250169563_PA

Resumen de: CN120898031A

The present invention relates to a composition comprising from about 90% to about 99.99% by weight of one or more non-crosslinked fluorinated sulfonyl fluoride polymers and from about 0.01% to about 10% by weight of one or more noble metal catalysts, based on the total weight of the composition, wherein the one or more noble metal catalysts are uniformly distributed throughout the one or more non-crosslinked fluorinated sulfonyl fluoride polymers. Such compositions may be formed as cation exchange precursors, for example by extrusion, and, after treatment, form cation exchange membranes. The resulting films and membranes have a noble metal catalyst uniformly distributed throughout the layer of the catalyst-containing polymer.

ELECTROLYSER CELL UNITS WITH FLAT SEPARATOR, AND A METHOD FOR MANUFACTURING AN ELECTROLYSER CELL UNIT

NºPublicación:  EP4689234A2 11/02/2026
Solicitante: 
CERES IP CO LTD [GB]
Ceres Intellectual Property Company Limited
KR_20250173510_PA

Resumen de: CN120936755A

The present application relates to an electrolytic cell battery cell having a battery layer (1314) comprising an electrochemically active battery region (1350), the battery layer (1314) having a first side (1315a) and a second side (1315b). The cell defines a first fluid flow region (1360) for delivering fuel to the first side (1315a) of the cell layer (1314) and a second fluid flow region (1365) for discharging fluid from the second side (1315b) of the cell layer (1314). A cross-sectional area of the second fluid flow region (1365) is less than a cross-sectional area of the first fluid flow region (1360).

METHOD FOR MANUFACTURING A CATALYST-COATED MEMBRANE

NºPublicación:  EP4690326A1 11/02/2026
Solicitante: 
JOHNSON MATTHEY HYDROGEN TECHNOLOGIES LTD [GB]
Johnson Matthey Hydrogen Technologies Limited
KR_20250171264_PA

Resumen de: CN120752767A

A method of making a catalyst coated ion conducting membrane for use in an electrochemical device, such as a fuel cell or an electrolytic cell, is provided. The method includes providing an electrolyte membrane having a first face and a second face, the first face disposed opposite the second face. A first catalyst ink is deposited onto the first side of the electrolyte membrane to form a first wet catalyst layer, and then dried to form a first catalyst layer on the first surface of the electrolyte membrane. The first catalyst ink comprises a first ionically conductive polymer; a first electrocatalyst; and a first dispersant. Subsequently, a second catalyst ink is deposited onto a second face of the electrolyte membrane to form a second wet catalyst layer and dried to form a second catalyst layer. The second catalyst ink comprises a second ionically conductive polymer; a second electrocatalyst; and a second dispersant. Before depositing the second catalyst ink onto the second side of the electrolyte membrane, the first catalyst layer is subjected to a temperature A of 130 DEG C or more, and the second catalyst layer is subjected to a temperature B lower than the temperature A.

POROUS TRANSPORT LAYER

NºPublicación:  EP4689233A1 11/02/2026
Solicitante: 
BEKAERT SA NV [BE]
NV Bekaert SA
KR_20250174597_PA

Resumen de: CN120882906A

A porous transport layer for an electrolytic cell or for a fuel cell, the porous transport layer comprising: a first non-woven layer having metal fibers, the first non-woven layer having metal fibers being arranged for contacting a proton exchange membrane, where the first non-woven layer having metal fibers comprises metal fibers having a first equivalent diameter, and the second non-woven layer having metal fibers having a second equivalent diameter; wherein the first non-woven layer having metal fibers has a first surface roughness and a first porosity,-a second non-woven layer having metal fibers wherein the second non-woven layer having metal fibers comprises metal fibers having a second equivalent diameter, wherein the second nonwoven layer having metal fibers has a second surface roughness and a second porosity wherein the first surface has a material ratio of less than 5% material at a height of 5 mu m and greater than 70% material at a depth of-5 mu m, the first equivalent diameter is less than the second equivalent diameter, the first surface roughness is at least 20% less than the second surface roughness, and the second surface roughness is at least 20% less than the second surface roughness. The first porosity is at least 10% less than the second porosity, such as in the range of 20% to 120%, for example, the first porosity is at least 10% less than the second porosity, such as in the range of 10% to 50%, and wherein the first nonwoven layer is metallurgically bo

SYSTEM AND METHOD FOR ELECTROLYSIS PLANT INTERCONNECTED TO RENEWABLE ENERGY POWER SOURCE AND POWER GRID

NºPublicación:  EP4690407A1 11/02/2026
Solicitante: 
SIEMENS ENERGY GLOBAL GMBH & CO KG [DE]
Siemens Energy Global GmbH & Co. KG
CN_121039917_PA

Resumen de: CN121039917A

Systems and methods are provided for an electrolysis plant interconnecting a renewable energy source (22) and a power grid (20). The system includes a power source (22) and an electrolysis plant (30) including electrolysis equipment (32) connected to the power source (22) to energize the electrolysis equipment to respective operating conditions. The control system (40) is connected to the power source (22) and the power grid (20). Upon detection of a power failure or otherwise insufficient power supply of the renewable power source, the control system is configured to bring the electrolysis device to a corresponding standby condition. The electrolysis device is connected to an electrical grid to energize the electrolysis device to a standby condition. Optionally, a backup power supply (26) is connected to the control system such that the backup power supply is configured to energize the control system upon detecting that the renewable power source and the grid are simultaneously powered off or are simultaneously otherwise insufficient in power supply.

MEMBRANE ELECTRODE ASSEMBLY AND METHOD FOR PRODUCING SAME, FUEL CELL, AND ELECTROLYSIS CELL

NºPublicación:  EP4689239A2 11/02/2026
Solicitante: 
GREENERITY GMBH [DE]
Greenerity GmbH
KR_20250167665_PA

Resumen de: CN120958177A

The invention relates to a membrane electrode assembly (1) having an anode (2), a cathode (3) and a hydrocarbon membrane (4) between the anode (2) and the cathode (3). The membrane electrode assembly (1) further comprises a protective layer (5) arranged between the anode (2) and the hydrocarbon membrane (4) and-or between the cathode (3) and the hydrocarbon membrane (4), where the protective layer (5) comprises at least one ceramic material (6) and a fluorine-containing ionomer (7), where the ceramic material (6) is dispersed in the fluorine-containing ionomer (7).

MEMBRANE ELECTRODE ASSEMBLY AND WATER ELECTROLYSIS CELL

NºPublicación:  EP4689231A1 11/02/2026
Solicitante: 
GREENERITY GMBH [DE]
Greenerity GmbH
KR_20250161639_PA

Resumen de: CN121013925A

The invention relates to a membrane electrode assembly (1) for a water electrolyser, comprising an anode (2), a cathode (3) and a hydrocarbon membrane (4) located between the anode (2) and the cathode (3), further comprising a first gas recombination layer (5) arranged between the anode (2) and the hydrocarbon membrane (4) wherein the first gas recombination layer (5) comprises a noble metal (6), a ceramic material (7) and a proton conducting polymer (8), and wherein the volume fraction of the proton-conducting polymer (8) is 24 to 84 vol%, in particular 35 to 75 vol%, and in particular 46 to 65 vol%, based on the total volume of the gas recombination layer (5).

MEMBRANE ELECTRODE ASSEMBLY AND WATER ELECTROLYSIS CELL

NºPublicación:  EP4689238A1 11/02/2026
Solicitante: 
GREENERITY GMBH [DE]
Greenerity GmbH
KR_20250161638_PA

Resumen de: CN120981610A

The invention relates to a membrane electrode assembly (1) for a water electrolyser, comprising an anode (2), a cathode (3) and a hydrocarbon membrane (4) located between the anode (2) and the cathode (3), further comprising a first gas recombination layer (5) arranged between the anode (2) and the hydrocarbon membrane (4), in which at least one adhesion layer (6) is arranged between the gas recombination layer (5) and the hydrocarbon membrane (4), wherein the adhesive layer (6) comprises at least one ceramic material (7) and a proton-conducting polymer (8).

METHANOL SYNTHESIS WITH HYDROGEN RECOVERY UNIT

NºPublicación:  EP4688712A1 11/02/2026
Solicitante: 
TOPSOE AS [DK]
Topsoe A/S
WO_2024208792_PA

Resumen de: WO2024208792A1

A methanol plant and a process for the production of methanol is provided. A hydrogen recovery section receives off-gas stream from the methanol synthesis section and outputs a hydrogen-rich stream, which is recycled upstream the methanol synthesis section.

一种PEM电解水制氢膜电极涂布方法

NºPublicación:  CN121496432A 10/02/2026
Solicitante: 
山海氢(上海)新能源科技有限公司
CN_121496432_PA

Resumen de: CN121496432A

本发明属于质子交换膜(PEM)电解水制氢技术领域,具体涉及一种PEM电解水制氢膜电极涂布方法。该方法包括:步骤1:涂布浆料动态预处理;步骤2:质子交换膜张力稳定输送;步骤3:双面同步狭缝涂布;步骤4:涂布过程第一次OCT在线检测;步骤5:三阶段梯度干燥固化;步骤6:干燥后进行第二次OCT实时检测与闭环调整;步骤7:涂布成品收卷。解决了传统涂布工艺“单面离散效率低、厚度不均、缺陷检测滞后、转运褶皱”等问题。

用于水碱性分解成氢和氧的电化学电池的电极及其制造方法

NºPublicación:  CN121511328A 10/02/2026
Solicitante: 
艾蓝腾欧洲有限公司弗劳恩霍夫应用研究促进协会
CN_121511328_A

Resumen de: AU2024304508A1

According to the invention, electrodes are arranged on two opposite surfaces of a separator. Each electrode consists of an open-pore metal structure, in particular a metal foam made of at least one of the chemical elements Ni, Al, Mo, Fe, Mn, Co, Zn, La, Ce, or an alloy of at least two of said chemical elements or an intermetallic compound of at least two of said chemical elements. A continuously decreasing catalytic activity is provided from the surface facing a separator or the respective other electrode of each electrochemical cell to the opposite surface of the respective electrode, and/or a continuously increasing porosity and/or pore size and/or a continuously decreasing specific surface area is provided from the surface facing a separator or the respective other electrode of each electrochemical cell to the opposite surface of the respective electrode.

一种硒掺杂二氧化钌及其制备方法与应用

Nº publicación: CN121496460A 10/02/2026

Solicitante:

南通大学

CN_121496460_PA

Resumen de: CN121496460A

本发明公开了一种硒掺杂二氧化钌及其制备方法与应用,通过将三氯化钌和亚硒酸钠溶解在醇类溶剂后置于油浴锅中反应,再将反应后的样品洗涤、负载、烘干、煅烧,最终成功制得了硒掺杂的二氧化钌。制得的二氧化钌呈现多孔簇状形貌,能够暴漏更多活性位点,利用硒掺杂调控电子转移,诱导反应机制转变提升了二氧化钌的活性和稳定性,将其作为催化剂用于电解水制氢时表现出了优异的析氧性能,在电催化领域具有应用前景。

traducir