Ministerio de Industria, Turismo y Comercio LogoMinisterior
 

Alerta

Resultados 1083 resultados
LastUpdate Última actualización 21/03/2026 [07:23:00]
pdfxls
Publicaciones de solicitudes de patente de los últimos 60 días/Applications published in the last 60 days
previousPage Resultados 650 a 675 de 1083 nextPage  

니켈계 촉매 상에서의 암모니아의 분해

NºPublicación:  KR20260016969A 04/02/2026
Solicitante: 
티센크루프우데게엠베하티센크룹악티엔게젤샤프트
KR_20260016969_PA

Resumen de: WO2025012277A1

The invention relates to a method for the preparation of H2 from NH3. NH3 is introduced into a fixed-bed reactor at a gas temperature in the range from 550 to 850°C, in which fixed-bed reactor NH3 is decomposed on an NH3 decomposition catalyst partly into H2 and N2. The gas mixture obtained in this manner is discharged from the fixed-bed reactor at a gas temperature in the range from 300 to 700°C, is heated to a temperature in the range from 550 to 700°C and is then introduced into a tubular reactor in which further NH3 is decomposed on a nickel-based NH3 decomposition catalyst into H2 and N2. The gas mixture obtained in this manner is discharged from the tubular reactor at a gas temperature in the range from 550 to 750°C.

Gas turbine plant with ammonia decomposition system

NºPublicación:  KR20260016977A 04/02/2026
Solicitante: 
두산에너빌리티주식회사
KR_20260016977_PA

Resumen de: US2024401524A1

The present disclosure relates to a gas turbine plant that decomposes ammonia and supplies it as fuel to a combustor of a gas turbine. The gas turbine plant supplies sufficient heat to the ammonia in order to thermally decompose the ammonia effectively, and separates the residual ammonia present in the decomposition gas and supplies it to a combustor of the gas turbine.

アルカリ水電解セル、複極式アルカリ水電解ユニット、及びアルカリ水電解槽

NºPublicación:  JP2026017230A 04/02/2026
Solicitante: 
旭化成株式会社
JP_2026017230_PA

Resumen de: JP2026017230A

【課題】水素発生の起動と停止を繰り返し行う場合でも、隔膜への触媒付着を抑え、長期にわたって安定運転可能なアルカリ水電解セルを提供する。【解決手段】隔膜1と、該隔膜1を隔てて配置された酸素発生陽極2及び水素発生陰極3とを具え、酸素発生陽極2と水素発生陰極3の少なくともいずれか一方の電極が、導電性基材2a,3aと、該導電性基材の表面上に配置された触媒層2b,2c,3b,3cとを含み、前記隔膜1と向かい合わせる面から蛍光X線分析法を用いて解析した触媒層2c,3cの金属原子濃度/導電性基材2a,3aの金属原子濃度比R1と、隔膜1と反対の面から蛍光X線分析法を用いて解析した触媒層2b,3bの金属原子濃度/導電性基材2a,3aの金属原子濃度比R2との比(R1/R2)の値が0以上1未満であることを特徴とする、アルカリ水電解セル10である。【選択図】図1

一种光催化制氢与高值化学品联产的系统与方法

NºPublicación:  CN121446384A 03/02/2026
Solicitante: 
中国科学院理化技术研究所
CN_121446384_PA

Resumen de: CN121446384A

本发明提供了一种光催化制氢与高值化学品联产的系统与方法,属于光催化及绿色能源化工技术领域。所述系统和方法的核心在于利用双功能光催化剂,在光能驱动下,同步催化还原制氢与有机底物选择性氧化生成高值化学品,实现“氢化联产”。所述系统的运行模式包括利用光伏/风电转化的电能驱动特定波长LED光源的全天候模式,以及直接利用太阳光的户外模式。本发明有效解决了传统光催化制氢效率低、成本高的问题,通过联产高附加值化学品,显著提升了过程的经济性与可持续性。

様々な金属の水酸化物および酸化物ならびにそれらの誘導体の調製プロセス

NºPublicación:  JP2026016362A 03/02/2026
Solicitante: 
ネマスカリチウムインコーポレーテッド
JP_2026016362_PA

Resumen de: US2024294395A1

A process for preparing metal oxide comprising (i) at least one metal chosen from nickel and cobalt and optionally (ii) at least one metal chosen from manganese, lithium and aluminum. The process comprising:reacting a metal sulfate comprising (i) at least one metal chosen from nickel and cobalt and optionally (ii) at least one metal chosen from manganese, lithium and aluminum with lithium hydroxide and optionally a chelating agent to obtain a solid comprising a metal hydroxide comprising (i) at least one metal chosen from nickel and cobalt and optionally (ii) at least one metal chosen from manganese, lithium and aluminum, and a liquid comprising lithium sulfate, the metal sulfate comprising (i) at least one metal chosen from nickel and cobalt and optionally (ii) at least one metal chosen from manganese, lithium and aluminum;separating the liquid and the solid from one another to obtain the metal hydroxide;submitting the liquid comprising lithium sulfate to an electromembrane process for converting the lithium sulfate into lithium hydroxide; andreusing at least a first portion of said lithium hydroxide obtained by the electromembrane process for reacting with the metal sulfate;reacting at least a second portion of said lithium hydroxide obtained by the electromembrane process with the obtained metal hydroxide to obtain a mixture of metal hydroxides; androasting said mixture of metal hydroxides to obtain the metal oxide.

電気化学セルスタック

NºPublicación:  JP2026504204A 03/02/2026
Solicitante: 
シェフラーテクノロジーズアー・ゲーウントコー.カー・ゲー
JP_2026504204_PA

Resumen de: CN120659909A

An electrochemical cell stack (1) comprising a plurality of cells (2) separated from one another by bipolar plates (5, 5 '), where each cell (2) is formed by two half-cells (3, 4) between which a membrane (6) surrounded by a support frame (7) is arranged, and where a porous transport layer (10, 11) is present in each half-cell (3, 4). The support frame (7) describes a step shape having two adjacent cross-sectional areas (12, 13), in which the edge (18) of the membrane (6) lies in a step (17) formed by the cross-sectional areas (12, 13) and the porous transport layer (10) of the half-cell (3) extends into the step (17), and in which the porous transport layer (10) of the half-cell (3) extends into the step (17). According to the invention, the support frame (7) comprises at least one sealing arrangement (15) injection molded onto the support frame (7) and comprising an electrically insulating sealing material, according to the invention, the sealing arrangement (15) comprises three sealing regions (19, 20, 21), each having at least one sealing lip (22, 22 '), in particular a first sealing region (19) and a second sealing region (20) and a third sealing region (21), which are assigned to narrower regions of the two cross-sectional regions (12, 13) facing the membrane (6), the first sealing region and the second sealing region each contact exactly one bipolar plate (5, 5 '), and the third sealing region is located on a side of the support frame (7) facing away from the step (17)

海水分解による水素生成方法、水素生成装置および水素生成装置の製造方法

NºPublicación:  JP2026504223A 03/02/2026
Solicitante: 
ザリージェンツオブザユニヴァシティオブミシガン
JP_2026504223_PA

Resumen de: AU2023408768A1

A method of hydrogen production includes providing a solution and immersing a device in the solution. The device includes a substrate having a surface, an array of conductive projections supported by the substrate and extending outward from the surface of the substrate, and a plurality of catalyst nanoparticles disposed over the array of conductive projections. The solution includes dissolved sodium chloride (NaCl).

水反応性アルミニウム組成物を製造するための室温固体金属合金

NºPublicación:  JP2026504113A 03/02/2026
Solicitante: 
ファウンドエナジーカンパニー
JP_2026504113_PA

Resumen de: CN120677016A

Provided herein are water-reactive aluminum compositions comprising aluminum or an alloy thereof and an activating metal alloy (e.g., a non-eutectic activating metal alloy comprising bismuth, tin, indium, and gallium; or an activating metal alloy comprising bismuth, tin and indium). Some water-reactive aluminum compositions provided herein are free of gallium. Also provided herein are methods of activating aluminum to provide a water-reactive aluminum composition. Also provided are fuel mixtures comprising the water-reactive aluminum composition described herein and a water-reactive aluminum composition having an increased gallium content; and methods of providing hydrogen and/or steam using the water-reactive aluminum compositions described herein.

硼原子改性金属有机框架电催化剂的制备方法及其应用

NºPublicación:  CN121451226A 03/02/2026
Solicitante: 
天津仁爱学院
CN_121451226_PA

Resumen de: CN121451226A

本发明涉及电催化剂制备技术领域,且公开了硼原子改性金属有机框架电催化剂的制备方法及其应用,包括以下步骤:步骤一、制备金属有机框架材料:将2‑甲基咪唑溶于溶剂中得到溶液A,将六水合硝酸钴或六水合硝酸锌溶于溶剂中得到溶液B,将溶液A滴入溶液B中,搅拌后离心,洗涤沉淀并干燥,得到ZIF‑67或ZIF‑8;步骤二、制备金属有机框架材料溶液:将上述金属有机框架材料溶于溶剂中,超声处理得到溶液C。该硼原子改性金属有机框架电催化剂的制备方法及其应用,制备方法简单高效、成本低廉易实现,所合成的电催化剂在OER反应中具有更低的过电位和电化学阻抗,提升了金属有机框架材料的电催化性能。

一种用于制备碱性水电解复合隔膜的方法及复合隔膜

NºPublicación:  CN121451240A 03/02/2026
Solicitante: 
海卓迈博(苏州)新材料有限公司
CN_121451240_PA

Resumen de: CN121451240A

本申请公开了一种用于制备碱性水电解复合隔膜的方法及复合隔膜,属于隔膜制备技术领域,所述制备碱性水电解复合隔膜方法中,包括步骤1):将聚苯硫醚编织网浸渍于乳白色铸膜液,浸渍预定第一时间后取出,生成浸渍后的聚苯硫醚编织网;步骤2):采用预设间距的刮刀刮涂浸渍后的聚苯硫醚编织网,生成液体湿膜;步骤3):将液体湿膜放入第一凝固浴中,在第一凝固条件下进行凝固,生成成形的白色薄膜;步骤4):将成形的白色薄膜放入第二凝固浴中,在第二凝固条件下进行凝固,生成碱性水电解复合隔膜。通过调节有机凝固浴的组分实现对隔膜内部微观结构的调控,且制备的复合隔膜具有面电阻低及机械性能优异的特点。

电解槽电池单元、制备方法及可再生能源制氢设备

NºPublicación:  CN121451199A 03/02/2026
Solicitante: 
罗伯特·博世有限公司
CN_121451199_PA

Resumen de: DE102025128171A1

Die vorliegende Offenbarung betrifft eine Elektrolyseur-Batteriezelle, ein Herstellungsverfahren und eine Vorrichtung zum Erzeugen von Wasserstoffgas aus erneuerbarer Energie. Die Elektrolyseur-Batteriezelle umfasst eine Membranbaugruppe, die im zentralen Bereich der Elektrolyseur-Batteriezelle angeordnet ist; eine Anodenkomponente und eine Kathodenkomponente, die jeweils auf beiden Seiten der Membranbaugruppe angeordnet sind; wobei die Anodenkomponente eine Anodentransportstruktur umfasst, um Fluid innerhalb des Elektrolyseurs bei einer ersten Geschwindigkeit in der Anodentransportstruktur zu transportieren; wobei die Kathodenkomponente eine Kathodentransportstruktur umfasst, um Fluid innerhalb des Elektrolyseurs bei einer zweiten Geschwindigkeit in der Kathodentransportstruktur zu transportieren; wobei die Kathodentransportstruktur sich von der Anodentransportstruktur unterscheidet und der Durchschnittswert der zweiten Geschwindigkeit größer als der Durchschnittswert der ersten Geschwindigkeit ist. Die Lösung der vorliegenden Offenbarung verbessert die Transportrate des Fluids, unterstützt die Entladung der Gasprodukte auf der Kathodenseite und verhindert, dass die Gasprodukte auf der Kathodenseite die Katalysatorschicht bedecken, sodass die Reaktanten schnell die Elektrodenoberfläche erreichen können, wodurch die Reaktionsrate des elektrolysierten Wassers gewährleistet und die Leistung der Elektrolyseur-Batterie verbessert wird.

一种带有功能涂层的长寿命碱性电解水复合隔膜及其制备方法

NºPublicación:  CN121451239A 03/02/2026
Solicitante: 
海卓迈博(苏州)新材料有限公司
CN_121451239_A

Resumen de: CN121451239A

本发明公开了一种带有功能涂层的长寿命碱性电解水复合隔膜极其制备方法。本发明由基底材料和复合涂层构成,所述复合涂层包括内部复合层和外部功能涂层构成;所述基底材料包括表面改性的聚苯硫醚织物PPS;所述外部功能涂层包括含有磺酸基团的聚合物和含羟基的聚合物。本发明考虑对聚苯硫醚支撑织物表面进行强氧化处理,增加表面粗糙度,同时在表面引入‑COOH、‑OH、亚砜基等活性基团,降低网格布表面张力,增强涂布聚支撑织物与浆料的浸润速度和成型后支撑织物与涂层的结合力,从而增强复合隔膜的寿命。

一种梯度孔NiFe LDH碱性电解水制氢电极及其制备方法与应用

NºPublicación:  CN121451215A 03/02/2026
Solicitante: 
西安泰金新能科技股份有限公司
CN_121451215_PA

Resumen de: CN121451215A

本发明提供了一种梯度孔NiFe LDH碱性电解水制氢电极及其制备方法与应用。采用非传统三电极体系,镍板作为牺牲阳极提供Ni源,不锈钢板作为自腐蚀电极提供Fe源,金属网(镍网或不锈钢网)作为阴极同时发生析氢反应和电沉积反应,利用梯度电流密度控制气泡密度并调节Ni、Fe的电沉积速率,以气泡形核‑生长‑脱附的动态行为作为“动态模板”,在阴极表面原位共沉积形成梯度分布的多孔结构NiFe LDH。本发明的梯度孔NiFe LDH碱性电解水制氢电极用于电解水制氢过程,析氢活性优异,且在工况环境下稳定运行超500h性能无衰减,满足其在碱性电解水制氢领域高性能、长寿命使用需求。

一种高比表面积高熵氧化物催化剂及其制备方法和应用

NºPublicación:  CN121451218A 03/02/2026
Solicitante: 
天津大学稀土催化创新研究院(东营)有限公司
CN_121451218_PA

Resumen de: CN121451218A

本发明公开了一种高比表面积高熵氧化物催化剂及其制备方法和应用,属于电催化材料及其制备技术领域。所述高比表面积高熵氧化物催化剂化学式为(FeCoNiMnCr)O,比表面积为50~250 m2 g‑1,孔径为7~15nm,孔体积0.35~1.0cm3 g‑1,所述高比表面积高熵氧化物催化剂含有均匀分布的Fe、Co、Ni、Mn、Cr五种金属元素。本发明(FeCoNiMnCr)O高熵氧化物析氧催化剂,比表面积大,在电解水析氧反应过程中能提供更多的活性位点,氧气更容易析出,提高了催化剂的析氧催化活性,解决了现有技术中高熵氧化物的比表面积较低,电析氧反应时提供的活性位点数量不够的技术难题。

一种粉网复合气体扩散层及其制备方法

NºPublicación:  CN121451212A 03/02/2026
Solicitante: 
西北有色金属研究院
CN_121451212_PA

Resumen de: CN121451212A

本发明公开了一种粉网复合气体扩散层,其由钛粉和钛网骨架通过冶金结合制成,厚度为20µm~100µm、孔隙率为20%~50%、平均孔径为5µm~35µm、拉伸强度为200MPa~500MPa,本发明还公开了该粉网复合气体扩散层的制备方法,步骤一、将钛网骨架平铺后用钛粉进行填充,形成松装复合结构;步骤二、将步骤一中得到的松装复合结构进行真空压力烧结并随炉冷却,最终获得粉网复合气体扩散层。本发明公开的粉网复合气体扩散层具备超薄特性,可大幅度减少镀铂量,从而降低电解水制氢的成本,其中的钛网骨架能够有效增强气体扩散层的机械强度,避免了扩散层在装配操作过程中发生变形的问题。

一种高熵氧化物复合镍铁层状双氢氧化物催化剂及其制备方法与应用

NºPublicación:  CN121451230A 03/02/2026
Solicitante: 
北京师范大学
CN_121451230_PA

Resumen de: CN121451230A

本发明属于催化剂技术领域,尤其涉及一种高熵氧化物复合镍铁层状双氢氧化物催化剂及其制备方法与应用。与现有技术相比,本发明提供的高熵氧化物复合镍铁层状双氢氧化物催化剂通过在镍铁层状双氢氧化物设置高熵氧化物保护层作为一种路易斯酸层,高熵氧化物层中的高价元素具有更强的亲电性,路易斯酸度更高,可通过氧化物的高熵化调控路易斯酸度,吸附OH‑抑制氯化学反应,同时还可通过Zn组分的溶出增加表面空位增加OH‑,从而可使催化剂在电解海水OER反应中排斥Cl‑,提高催化剂催化活性和耐久性。

一体化ALK矩形波纹电极流场及其制备方法

NºPublicación:  CN121451209A 03/02/2026
Solicitante: 
江苏金松新材料有限公司
CN_121451209_PA

Resumen de: CN121451209A

本发明涉及电解制氢技术领域,具体公开了一体化ALK矩形波纹电极流场,包括极板、密封圈、矩形波纹电极网、隔膜,所述矩形波纹电极网冲压扩张成型,还公开了一体化ALK矩形波纹电极流场的制备方法,包括以下步骤:S1、制备微孔矩形波纹电极网,S2、极板流道加工,S3、将密封圈置于极板与矩形波纹电极网的接触面边缘,利用极板的凹槽和密封圈本身弹性固定,S4、进行组合连接固定,形成所述一体化ALK矩形波纹电极流场,本发明形成的一体化ALK矩形波纹电极流场将流场与电极集成整体,显著降低接触电阻,提升结构稳定性,有效抑制电化学腐蚀风险,提升了‌机械性能,降低了成本。

金属合金电催化剂及其制备方法

NºPublicación:  CN121451228A 03/02/2026
Solicitante: 
宁波大学
CN_121451228_PA

Resumen de: CN121451228A

本发明涉及用于电解水的催化剂技术领域,尤其涉及一种金属合金电催化剂及其制备方法,该金属合金电催化剂包括析氧催化剂和析氢催化剂,其中:析氧催化剂包括镍、钴、铜、铁四种元素,且镍、钴、铜、铁四种元素的摩尔比为1:1:1:1;析氢催化剂包括镍、钴、铜、钼四种元素,且镍、钴、铜、钼四种元素的摩尔比8.97:30.41:51.77:8.84。上述的析氢催化剂和析氧催化剂不含贵金属元素,成本低;其制备方法采用大气等离子喷涂技术,适用于工业化推广。

电解水装置、催化剂及其制备方法和应用

NºPublicación:  CN121451206A 03/02/2026
Solicitante: 
宁德时代新能源科技股份有限公司厦门时代研究院有限公司
CN_121451206_PA

Resumen de: CN121451206A

本发明涉及催化剂技术领域,涉及一种电解水装置、催化剂及其应用。膜电极包括离子交换膜和设于离子交换膜的催化层,催化层包括催化剂,催化剂包括基体及设于基体表面的第一包覆层,基体包括内核及设于内核表面的第二包覆层;第一包覆层包括金属原子、金属单质、金属氧化物、金属合金中的至少一种,金属原子、金属单质、金属氧化物、金属合金中的金属元素包括第一贵金属元素和/或第一过渡金属元素;内核包括合金,合金至少包括M元素和N元素,M元素包括第二贵金属元素或非贵金属元素,N元素包括稀土金属元素或第二过渡金属元素,第一贵金属元素与第二贵金属元素不同;第二包覆层包括M金属。本申请的催化剂具有较好的稳定性和催化活性。

一种压电极化诱导光生载流子转移的Z型异质结复合催化剂制备方法

NºPublicación:  CN121446522A 03/02/2026
Solicitante: 
西北机电工程研究所
CN_121446522_PA

Resumen de: CN121446522A

本发明公开了一种压电极化诱导光生载流子转移的Z型异质结复合催化剂制备方法,利用多铁性BiFeO3和有利的可见光响应CdS纳米片构建了具有主动电子传输特性的Z型异质结构,不仅优化了光吸收能力和能带结构,还降低了界面电阻和光生载流子重组,BiFeO3颗粒与超薄CdS的结合不仅抑制了CdS纳米片的团聚,还有助于提高反应体系的比表面积。本发明利用多铁性BiFeO3和有利的可见光响应CdS纳米片构建了具有主动电子传输特性的Z型异质结构。该活性电子传输系统的构建促进了载流子的分离和传输,为提高光催化制氢反应活性提供了一种新的策略。

一种PEM电解水膜电极及其制备方法和应用

NºPublicación:  CN121451214A 03/02/2026
Solicitante: 
中国石油化工股份有限公司中石化石油化工科学研究院有限公司
CN_121451214_PA

Resumen de: CN121451214A

本公开涉及一种PEM电解水膜电极及其制备方法和应用,该制备方法在阳极催化剂浆料中添加了羧甲基纤维素盐和碳纳米管,制得的PEM电解水膜电极具有铱负载量低、活性高、高电流密度下运行稳定的特点,且具有三维多孔道阵列结构,将其用于质子交换膜水电解(PEMWE)制氢时,膜电极的导电性和三相传质性能得到大幅度提高。

一种低铂-镍铁氮复合自支撑电极及其应用

NºPublicación:  CN121451234A 03/02/2026
Solicitante: 
浙江工业大学
CN_121451234_A

Resumen de: CN121451234A

本发明提供一种低铂‑镍铁氮复合自支撑电极,所述的低铂‑镍铁氮复合自支撑电极通过如下方法制备:以铂片作为阳极,镍片作为阴极,阳极与阴极间距为2~3 cm,以含有三氯化铁和三聚氰胺的盐酸水溶液为电解液,在恒定电压10~30 V、温度40~60 ℃的条件下,进行电化学阳极氧化和阴极电沉积耦合反应1~5 h,在阴极沉积得到所述低铂‑镍铁氮复合自支撑电极;该方法在控制低铂沉积量的同时,复合了镍、铁和氮元素,增加了自支撑催化剂的双功能性,避免了催化剂的团聚或脱落的问题,增强了催化活性,在工业化应用方面具有广阔的应用前景。

一种非晶态Sr-CoOOHv超薄纳米片电催化剂及制备方法和应用

NºPublicación:  CN121451219A 03/02/2026
Solicitante: 
西安交通大学
CN_121451219_PA

Resumen de: CN121451219A

本发明属于二维纳米材料电催化剂制备技术领域,具体涉及一种非晶态Sr‑CoOOHv超薄纳米片电催化剂及制备方法和应用。本发明通过水热法制备锶掺杂硒化钴纳米带作为基底,并在碱性电解水阳极析氧反应条件下发生原位电化学重构所得。本发明提供的富含钴空位的Sr‑CoOOHv超薄纳米片由于金属钴空位存在不仅能增强钴‑氧共价性活化晶格氧,同时也能提高羟基亲和力填充晶格氧,使得该催化剂在阴离子交换膜电解水制氢工业化应用中展示出优异的催化活性和耐久性。

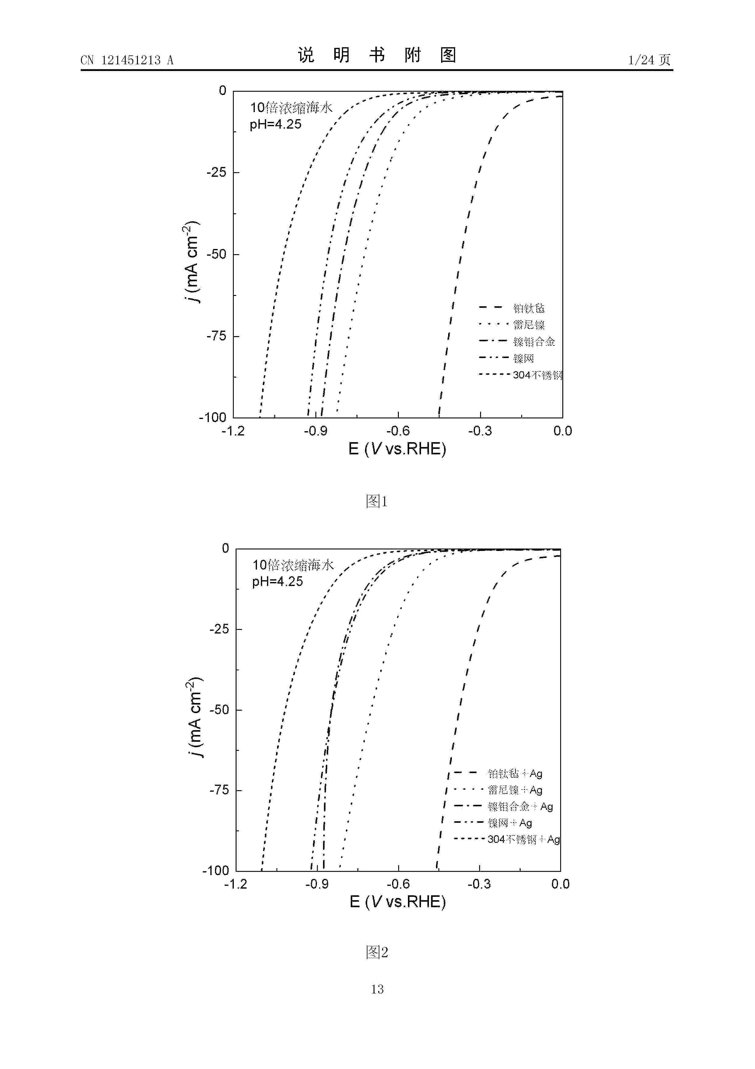
一种电解制氢斥固阴极及其改性方法和应用

NºPublicación:  CN121451213A 03/02/2026
Solicitante: 
浙江工业大学中国科学院宁波材料技术与工程研究所
CN_121451213_A

Resumen de: CN121451213A

本发明提供了一种电解制氢斥固阴极及其改性方法和应用,改性方法包括以下步骤:对HER电极进行预处理,去除HER电极表面的有机物和氧化层,得到预处理后的HER电极;将预处理后的HER电极浸渍在含有银离子的电镀液或化学镀液中进行电镀或者化学镀,使银颗粒沉积在HER电极的表面,得到改性的电解制氢斥固阴极。

一种氨分解制氢催化剂的制备方法及应用

Nº publicación: CN121446516A 03/02/2026

Solicitante:

壹碳环投(北京)科技有限公司

CN_121446516_PA

Resumen de: CN121446516A

本发明涉及制氢技术领域,公开一种氨分解制氢催化剂的制备方法及应用,包括以超细纳米为基础载体,通过并流共沉淀法引入助剂金属氧化物进行改性,再负载活性组分Ni和贵金属助剂制成。其制备方法关键在于:先采用回流法合成超细纳米悬浮液,再与助剂金属盐混合,通过并流共沉淀形成混合凝胶,经老化、洗涤、干燥、焙烧得到高比表面积、高热稳定性的催化剂载体,最后通过分步浸渍法负载活性金属组分。该催化剂在氨分解制氢反应中,尤其在450‑750℃、1‑3 MPa的加压条件下,表现出优异的低温活性、高氨转化率和长周期稳定性,适用于固定床反应器中的高效制氢过程。

traducir