Ministerio de Industria, Turismo y Comercio LogoMinisterior
 

Alerta

Resultados 1045 resultados
LastUpdate Última actualización 22/03/2026 [07:01:00]
pdfxls
Publicaciones de solicitudes de patente de los últimos 60 días/Applications published in the last 60 days
previousPage Resultados 700 a 725 de 1045 nextPage  

电解水制氢系统的控制指令确定方法、系统及电子设备

NºPublicación:  CN121451243A 03/02/2026
Solicitante: 
长春绿动氢能科技有限公司
CN_121451243_PA

Resumen de: CN121451243A

本申请公开了一种电解水制氢系统的控制指令确定方法、系统及电子设备。其中,该方法包括:获取在当前数据采集周期内电解水制氢系统的可再生能源发电设备的第一发电量,电解水制氢系统的储能设备的第一荷电状态,以及电解水制氢系统的电解槽的第一运行参数和第一退化特征参数;基于第一运行参数和第一退化特征参数,确定电解槽的第一预测剩余寿命;基于第一发电量,第一荷电状态,以及第一预测剩余寿命,确定电解水制氢系统的预测控制指令,其中,预测控制指令中包括电解槽的目标运行电流和储能设备的目标充放电功率。本申请解决了相关技术中存在的电解水制氢系统的预测控制指令确定结果不准确的技术问题。

SEPARATOR AND ELECTROLYSIS CELL COMPRISING THE SAME AND ELECTROLYSIS APPARATUS

NºPublicación:  KR20260015615A 03/02/2026
Solicitante: 
LG CHEM LTD [KR]
\uC8FC\uC2DD\uD68C\uC0AC \uC5D8\uC9C0\uD654\uD559
KR_20260015615_PA

Resumen de: WO2026023894A1

The present invention relates to a separator which comprises a porous substrate and a mesh substrate laminated on one surface of the porous substrate, and which solves the problem of pinholes occurring in a conventional commercial separator by specifying the porosity of the porous substrate and also has high chemical/mechanical strength while maintaining the pore characteristics of the porous substrate and, simultaneously, can maintain a high level of electrolysis efficiency.

암모니아 분해로부터 수소를 생성하기 위한 방법 및 시스템

NºPublicación:  KR20260015843A 03/02/2026
Solicitante: 
토프쉐에이에스
KR_20260015843_PA

Resumen de: TW202508960A

Method and system for producing a hydrogen product from ammonia, comprising: optionally at least one pre-cracking reactor, such as an adiabatic pre-cracking reactor, arranged to receive an ammonia feed stream, thereby producing a partly converted ammonia feed stream comprising ammonia, hydrogen and nitrogen; an ammonia cracking reactor such as an electrically heated reactor. The reactor is arranged to receive the partly converted ammonia feed stream or the ammonia feed stream for producing an effluent gas stream comprising hydrogen and nitrogen and optionally also unconverted ammonia; and a hydrogen recovery unit arranged to receive the effluent gas stream for producing the hydrogen product and an off-gas stream comprising hydrogen, nitrogen and optionally unconverted ammonia.

一种高催化活性的析氢电极材料及其制备方法和应用

NºPublicación:  CN121451229A 03/02/2026
Solicitante: 
天津大学
CN_121451229_PA

Resumen de: CN121451229A

本发明属于析氢电极技术领域,公开了一种高催化活性的析氢电极材料及其制备方法和应用,制备方法包括以下步骤:步骤1,清洗泡沫镍;步骤2,通过水热法在泡沫镍上制备钨铁铬共掺杂的羟基氟化钴/泡沫镍前驱体WFeCrCo(OH)F/NF;步骤3,将步骤2得到的WFeCrCo(OH)F/NF和次磷酸钠粉末分别放置在陶瓷舟的两个不同位置,次磷酸钠粉末位于管式炉的上游侧,在保护气体环境下保温,然后自然冷却到室温,得到钨铁铬共掺杂的磷化钴复合电极材料WFeCr‑CoP/NF。本发明通过钨、铁、铬三种元素的协同掺杂,提高了镍基析氢电极材料的催化活性。

다-단 전기분해용 장치 및 방법

NºPublicación:  KR20260015070A 02/02/2026
Solicitante: 
노람일렉트롤리시스시스템즈인코포레이티드
KR_20260015070_PA

Resumen de: CA3241482A1

An multi-stage electrolyzer cell is disclosed. The multi-stage electrolyzer cell comprises an anode, a cathode and at least one ion exchange membrane separating the anode and the cathode. The anode and cathode are exposed in the respective anode chamber and cathode chamber. At least one partition is arranged within at least one of the anode and cathode chambers, dividing the at least one chamber into a plurality of process stages. Each of the partitions comprises a feed port, allowing an electrolyte solution to transport sequentially through each of the plurality of process stages. Means are arranged to transport the electrolyte solution through each one of the plurality of process stages. A multi-stage electrolytic method is also disclosed.

REFORMING APPARATUS AND OPERATING METHOD FOR THE SAME

NºPublicación:  KR20260014745A 02/02/2026
Solicitante: 
HANWHA ENGINE CO LTD [KR]
\uD55C\uD654\uC5D4\uC9C4 \uC8FC\uC2DD\uD68C\uC0AC
KR_20260014745_PA

Resumen de: KR20260014745A

본 발명은 개질 장치 및 이를 위한 운전 방법에 관한 것으로서, 상기 개질 장치가 암모니아를 저장하는 암모니아 탱크; 연료를 연소시켜 연소 가스를 생성하는 버너; 상기 버너에서 생성된 연소 가스가 통과하는 연소 가스 채널 및 상기 연소 가스 채널과 열 교환되게 형성되고 촉매로 상기 암모니아 탱크로부터 공급받는 암모니아를 수소와 질소로 개질하는 개질 채널을 갖는 개질기; 상기 개질기에서 생성된 수소와 질소를 분리시키는 압력 변동 흡착 장치; 상기 암모니아 탱크와 상기 개질 채널을 연통시키는 개질 채널 공급 경로; 상기 개질기와 상기 압력 변동 흡착 장치를 연통시키는 개질 채널 배출 경로; 질소를 저장하는 질소 탱크; 상기 질소 탱크와 상기 개질 채널 공급 경로를 연통시키는 합류 경로; 상기 개질 채널 공급 경로와 상기 합류 경로 사이 연통 지점에서 유동 방향 및 유량을 제어하는 제1 밸브; 상기 버너로 연료를 공급하는 연료 공급 경로; 상기 개질 채널 배출 경로와 상기 연료 공급 경로를 연통시키는 분기 경로; 및 상기 개질 채널 배출 경로와 상기 분기 경로 사이 연통 지점에서 유동 방향 및 유량을 제어하는 제2 밸브;를 포함함에 따라, 준비 기간을 단축할 수 있고, 안전 사고를 방지할 수 있다.

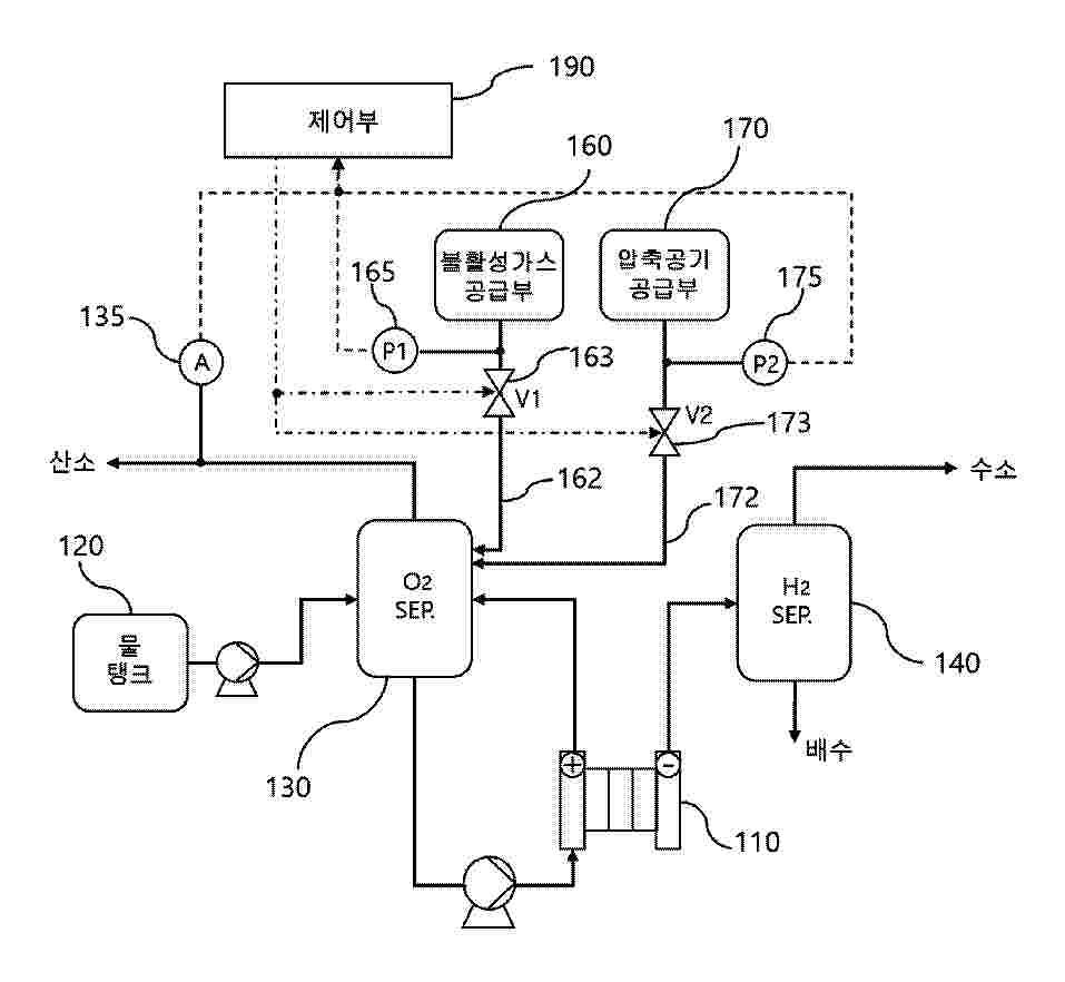
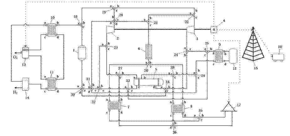
WATER ELECTROLYSIS SYSTEM AND CONTROL METHOD OF THE WATER ELECTROLYSIS SYSTEM CAPABLE OF CONTROLLING CONCENTRATION OF HYDROGEN IN OXYGEN GAS BY INJECTING INERT GAS AND COMPRESSED AIR

NºPublicación:  KR20260014927A 02/02/2026
Solicitante: 
주식회사테크로스
KR_20260014927_PA

Resumen de: KR20260014927A

본 발명에 따른, 불활성가스와 압축공기를 주입하여 산소 가스 내 수소의 농도를 제어하는 수전해 시스템은, 물을 전기분해하여, 양극측에서 산소를 포함하는 전해산물을 배출하고, 음극측에서 수소를 포함하는 전해산물을 배출하는 수전해 스택; 상기 수전해 스택의 양극측 전해산물을 입력받아 물과 가스로 분리하고, 상기 분리된 물과 가스를 각각 배출하는 산소측 기액분리기; 제1밸브를 통해 상기 산소측 기액분리기에 소정의 불활성가스를 공급하도록 구성된 불활성가스 공급부; 제2밸브를 통해 상기 산소측 기액분리기에 압축공기를 공급하도록 구성된 압축공기 공급부; 및 상기 수전해 스택에서 전기분해가 수행되는 도중에, 상기 불활성가스 및 상기 압축공기 중 적어도 하나를 상기 산소측 기액분리기로 공급하기 위해 상기 제1밸브 및 상기 제2밸브 중 적어도 하나를 제어하는 제어부를 포함한다.

- Method for Preparing Membrane-Electrode Assembly and Method for Regenerating Catalyst Layer

NºPublicación:  KR20260015099A 02/02/2026
Solicitante: 
HD KOREA SHIPBUILDING & OFFSHORE ENG CO LTD [KR]
INDUSTRY ACADEMIC COOPERATION FOUNDATION GYEONGSANG NATIONAL UNIV [KR]
\uC5D0\uC774\uCE58\uB514\uD55C\uAD6D\uC870\uC120\uD574\uC591 \uC8FC\uC2DD\uD68C\uC0AC,
\uACBD\uC0C1\uAD6D\uB9BD\uB300\uD559\uAD50\uC0B0\uD559\uD611\uB825\uB2E8
KR_20260015099_PA

Resumen de: KR20260015099A

본 발명은 다공성 수송층, 음이온 교환막 및 기체 확산층이 순서대로 적층된 구조체를 준비하는 단계, 상기 기체 확산층으로는 수산화칼륨 수용액을 순환시키면서 상기 다공성 수송층으로는 촉매 전구체 용액을 순환시켜 다공성 수송층 상에 촉매층을 형성하는 단계 및 상기 수산화칼륨 수용액과 촉매 전구체 용액을 제거하고 상기 구조체를 세척하는 단계를 포함하는 막-전극 접합체의 제조방법을 제공한다.

一种两步脉冲电沉积镍基三元金属电极的制备方法及其应用

NºPublicación:  CN121428626A 30/01/2026
Solicitante: 
广州恒汇氢能有限公司湖南恒汇科研院新能源有限公司
CN_121428626_PA

Resumen de: CN121428626A

本发明公开一种两步脉冲电沉积镍基三元金属电极的制备方法,主要包括以下步骤:对镍基基材预处理;在含有镍盐及两种不同过渡金属盐的混合盐溶液中,依次采用脉冲电流在预处理后的镍基基材上进行两步脉冲电沉积,并进行干燥,得到镍基三元金属电极。本发明的制备方法,电镀工艺沉积过渡金属层,其形成的负载催化层结构致密且兼具高耐磨性、强耐冲刷性,可大幅优化电极活性组分的负载状态与分散程度,能构建起致密耐磨、抗冲刷性能优异的负载催化层,对电极活性组分的负载量及分散均匀度有显著改善作用,所得镍基三元金属电极,具有丰富的活性位点,可显著提升电极导电性与电荷传输效率。本发明简单可控、成本低,性能稳定,适用于规模化生产。

一种纤维素及其衍生物掺杂型复合隔膜及制备方法和应用

NºPublicación:  CN121424582A 30/01/2026
Solicitante: 
辽宁瑞麟氢能科技有限公司
CN_121424582_PA

Resumen de: CN121424582A

本发明属于隔膜技术领域,具体涉及一种纤维素及其衍生物掺杂型复合隔膜及制备方法和应用,制备方法包括以下步骤:将热塑性有机高分子聚合物、纤维素衍生物和金属氧化物纳米颗粒加入有机溶剂中,溶解后加入致孔剂,混匀后消泡处理,得到铸膜液,刮涂,得到液膜;将液膜置于相对湿度为30%~80%的湿空气氛围中进行预相转化,预相转化过程中,湿空气中的水蒸气渗透到液膜中,与液膜中的有机溶剂发生交换,得到湿膜;将湿膜浸入萃取剂中进行相转换,得到纤维素及其衍生物掺杂型复合隔膜。本发明的制备方法不仅能确保隔膜的安全运行,而且显著提升了隔膜的电解效率,在长时间运行的稳定性方面表现优异。

用于电解器的能量供应设备、电解设备和用于控制能量供应设备的方法

NºPublicación:  CN121444330A 30/01/2026
Solicitante: 
茵梦达有限公司
CN_121444330_PA

Resumen de: WO2025002651A1

The invention relates to an energy supply device (1) for an electrolyzer (10). The energy supply device (1) has an input circuit (2) and a transformer (3). The input circuit (2) is designed to be connected to an energy source (4) or an energy supply network. In order to improve the energy supply device (1), the input circuit (2) is additionally designed to provide at least two different electric potentials at contacts (5), and the converter (3) is electrically connected to at least one of the contacts (5) on the input side by means of a respective conductor (6). The energy supply device (1) is designed to change the contact (5) connected to the converter (3) by reconnecting at least one conductor (6) of the energy supply device (1). The invention additionally relates to an electrolysis device comprising such an energy supply device (1) and an electrolyzer (10) and to a method for controlling such an energy supply device (1) or such an electrolysis device (100), wherein the converter (3) is operated using a voltage level produced by the input circuit, and at least one conductor (6) of the energy supply device (1) is manually reconnected from a first contact of the contacts (5) to a second contact of the contacts (5) in order to change the voltage level.

Optimized operation method, system, equipment, medium and product of hydrogen energy storage photovoltaic station

NºPublicación:  CN121440743A 30/01/2026
Solicitante: 
CHINA THREE GORGES CORP
\u4E2D\u56FD\u957F\u6C5F\u4E09\u5CE1\u96C6\u56E2\u6709\u9650\u516C\u53F8
CN_121440743_PA

Resumen de: CN121440743A

The invention belongs to the technical field of new energy station operation optimization, and provides a hydrogen energy storage photovoltaic station operation optimization method, system, device, medium and product, and the method comprises the steps: obtaining a representative scene set of photovoltaic output, day-ahead electricity price and real-time electricity price; based on the representative scene set, constructing a hydrogen energy storage photovoltaic station day-ahead income optimization model; and solving the day-ahead income optimization model, and obtaining the optimal operation parameters of the hydrogen energy storage photovoltaic station. According to the invention, the collaborative scheduling plan of the electrolytic cell, the hydrogen storage tank and the fuel cell can be effectively optimized, so that the flexibility and economy of the station are maximized.

低电导率PEM电解制氢系统及控制方法

NºPublicación:  CN121428583A 30/01/2026
Solicitante: 
北京怀柔实验室
CN_121428583_PA

Resumen de: CN121428583A

一种低电导率PEM电解制氢系统及控制方法,属于电解水制氢技术领域。低电导率PEM电解制氢系统包括水电解单元以及与该水电解单元连接通过氧侧水循环回路连接的氧侧气液分离装置,还包括换热装置,接收所述氧侧气液分离装置中的水并对水降温;水处理装置,内部具有去离子树脂,所述水处理装置接收换热装置中的降温后的水并吸收水中的离子;水缓冲装置,接收并存储所述水处理装置处理后的水;控制装置,控制所述水缓冲装置中的水供应至所述氧侧水循环回路,以调节所述水电解单元内的水温。本发明延长了去离子树脂的寿命,减少能源消耗,且提高电解用原料水的质量。

Multi-element alloyed TiMn2 type hydrogen storage alloy and preparation method thereof

NºPublicación:  CN121428379A 30/01/2026
Solicitante: 
HUANENG CLEAN ENERGY RES INSTITUTE
HUANENG INTERNATIONAL ENGINEERING TECH CO LTD
CHINA HUANENG GROUP HONGKONG CO LTD
BEIHANG UNIV
\u4E2D\u56FD\u534E\u80FD\u96C6\u56E2\u6E05\u6D01\u80FD\u6E90\u6280\u672F\u7814\u7A76\u9662\u6709\u9650\u516C\u53F8,
\u534E\u80FD\u56FD\u9645\u5DE5\u7A0B\u6280\u672F\u6709\u9650\u516C\u53F8,
\u4E2D\u56FD\u534E\u80FD\u96C6\u56E2\u9999\u6E2F\u6709\u9650\u516C\u53F8,
\u5317\u4EAC\u822A\u7A7A\u822A\u5929\u5927\u5B66
CN_121428379_PA

Resumen de: CN121428379A

The invention belongs to the field of hydrogen storage materials, and particularly relates to a multi-element alloyed TiMn2 type hydrogen storage alloy and a preparation method thereof. The chemical general formula is (Ti < 1-a > Zr < a >) < x > Mn < y > Cr < beta > V < delta > Fe < epsilon >, wherein 0.10 < = a < = 0.15, 1.02 < = x < = 1.10, 1.40 < = y < = 1.55, 0.05 < = beta < = 0.15, 0.25 < = delta < = 0.40, and 0.05 < = epsilon < = 0.14. The crystal structure and the electronic structure are optimized by accurately regulating and controlling the element composition and proportion, so that perfect matching of hydrogen absorption/desorption platform pressure, water electrolysis hydrogen production and fuel cell hydrogen supply at normal temperature is realized, and meanwhile, extremely high hydrogen storage capacity is kept. The problem that an existing TiMn2 type hydrogen storage alloy cannot be matched with alkaline electrolyzed water/PEM electrolyzed water hydrogen production pressure and fuel cell hydrogen pressure is solved.

Mars surface nuclear energy utilization system integrating thermoelectric hydrogen storage and production

NºPublicación:  CN121428578A 30/01/2026
Solicitante: 
HARBIN INSTITUTE OF TECH
\u54C8\u5C14\u6EE8\u5DE5\u4E1A\u5927\u5B66
CN_121428578_PA

Resumen de: CN121428578A

The invention discloses a Mars surface nuclear energy utilization system for comprehensive thermoelectric hydrogen storage and production, and relates to a Mars surface nuclear energy utilization system. The invention aims to solve the problem that the Mars base needs an efficient and reliable energy system. The system comprises a Brayton thermoelectric conversion device, one side of the Brayton thermoelectric conversion device is connected with a high-temperature electrolytic hydrogen production device, the other side of the Brayton thermoelectric conversion device is connected with a laser wireless energy transmission device, and the Brayton thermoelectric conversion device is further connected with a heat supply device and a Carnot battery energy storage device; the heat supply device provides heat for the Mars base, and the Brayton thermoelectric conversion device provides power for power utilization facilities, the high-temperature electrolytic hydrogen production device and the laser wireless capacity transmission device of the Mars base. The invention belongs to the technical field of nuclear energy comprehensive utilization.

一种花状Bi2CrO6产氧光催化剂及其制备方法

NºPublicación:  CN121422954A 30/01/2026
Solicitante: 
河南城建学院
CN_121422954_A

Resumen de: ZA202403652B

The present invention provides a flower-shaped Bi2CrO6 oxygen-evolving photocatalyst and its preparation method, which belongs to the field of photocatalytic material preparation technology. The method uses bismuth nitrate and potassium chromate as raw materials and employs microwave heating to complete the reaction within a relatively low temperature (100oC) and a short time (2 hs). The preparation method of the present invention is mild, energy-efficient, and requires simple and fast experimental equipment. The obtained Bi2CrO6 photocatalyst samples have uniform size, large specific surface area, and abundant active sites. Additionally, due to the reduced thickness of the flakes, the migration distance of electrons and holes from the semiconductor interior to the surface is shortened, resulting in higher catalytic activity.

一种基于核壳异质结构介导的磁邻近效应电催化材料的制备方法

NºPublicación:  CN121428599A 30/01/2026
Solicitante: 
常州大学
CN_121428599_A

Resumen de: CN121428599A

本发明提供一种基于核壳异质结构介导的磁邻近效应电催化材料的制备方法,属于电催化材料制备技术领域。本发明通过静电纺丝技术将过渡金属Fe、W等元素锚定在纳米纤维载体上,并结合高温化学气相沉积法形成Fe7S8@WS2核壳结构催化剂材料。Fe7S8和WS2形成核壳结构后,可借助磁性材料与非磁性材料的界面耦合,诱导非磁性材料产生自旋极化的磁邻近效应(MPE),进而优化反应中间体的吸附与电子转移过程,使Fe7S8@WS2在电解水OER反应中50 mA/cm2的过电位仅为239 mV,在电催化领域显示出巨大的应用前景。

Hydrogen production and hydrogenation all-in-one machine and method suitable for low-altitude aircraft

NºPublicación:  CN121429940A 30/01/2026
Solicitante: 
DALIAN INST OF CHEMICAL PHYSICS CHINESE ACADEMY OF SCIENCES
GUOKE LVQING DALIAN TECH CO LTD
\u4E2D\u56FD\u79D1\u5B66\u9662\u5927\u8FDE\u5316\u5B66\u7269\u7406\u7814\u7A76\u6240,
\u56FD\u79D1\u7EFF\u6C22\uFF08\u5927\u8FDE\uFF09\u79D1\u6280\u6709\u9650\u516C\u53F8
CN_121429940_PA

Resumen de: CN121429940A

The invention relates to a hydrogen production and hydrogenation all-in-one machine and method suitable for a low-altitude aircraft. The hydrogen production and hydrogenation all-in-one machine comprises a photovoltaic module, an energy storage module, a hydrogen production unit, a storage unit, a hydrogen diaphragm compressor module, a control module, an intelligent mechanical arm module and an auxiliary unit. The photovoltaic module converts solar energy into electric energy and outputs the electric energy in two paths: one path is supplied to the electrolytic cell after current stabilization by the rectification power supply module, so that stable hydrogen production is guaranteed; and the other path is stored to the energy storage module. When the solar energy is sufficient, the energy storage module supplies power to equipment except the rectification power supply; and a closed loop of power generation, energy storage and power supply is formed, dependence on a power grid is not needed, energy consumption is low, carbon emission is little, and a dual-carbon target is met. According to the invention, only one hydrogen diaphragm compressor module is needed to simultaneously undertake the pressurizing functions of hydrogen production and storage and hydrogen filling, so that the equipment configuration is simplified; the whole system is integrated into an all-in-one machine, occupies a small area, and can be flexibly deployed to a low-altitude aircraft operation site.

一种光热催化水煤气转换反应用铁基催化剂及其制备方法和应用

NºPublicación:  CN121422984A 30/01/2026
Solicitante: 
中国科学院理化技术研究所
CN_121422984_PA

Resumen de: CN121422984A

本发明公开一种光热催化水煤气转换反应用铁基催化剂及其制备方法和应用。该催化剂的结构中包含锌铁复合金属氧化物,以及负载在所述锌铁复合金属氧化物上的呈团簇状的贵金属颗粒。本发明的技术方案中首次实现了用此铁基催化剂光热催化水煤气转换反应,并在低温下具有较好的产氢活性。

水电解电极用金属无纺布

NºPublicación:  CN121443777A 30/01/2026
Solicitante: 
三井金属株式会社国立大学法人东京科学大学
CN_121443777_PA

Resumen de: WO2025013883A1

This metal nonwoven fabric for a water electrolysis electrode contains a metal fiber. The metal fiber has: a core part including a first metal; and a coating part disposed on the surface of the core part and including a second metal and/or a compound of said metal. The first metal comprises one or more metal elements. The second metal and/or the compound of said metal comprises a metal composed of one or more metal elements and/or a compound including one or more metal elements. The second metal and/or the compound of said metal has catalytic activity and corrosion resistance in a water electrolysis reaction environment. A ratio M2/S of the sum M2 of the masses of the second metal present in the coating part and the metal element present as the compound of said metal to the geometric area S of the surface of the core part per unit mass of the metal nonwoven fabric is 0.01 g/m2 to 20.0 g/m2.

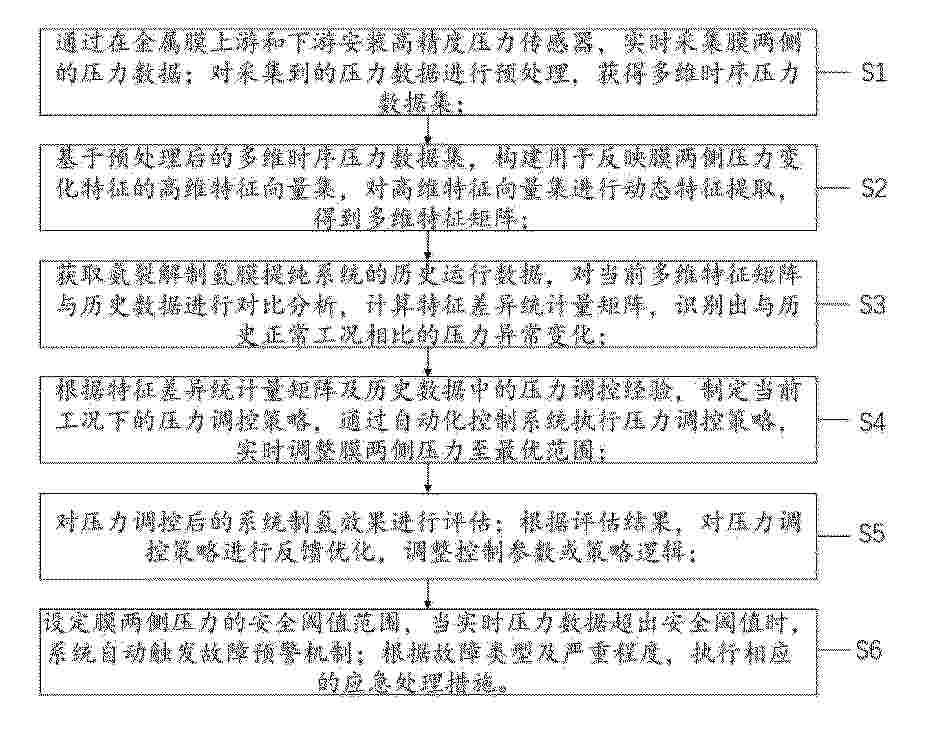
一种应用于氨裂解制氢膜提纯系统的压力检测方法及系统

NºPublicación:  CN121430902A 30/01/2026
Solicitante: 
氢联(江苏)高科技有限公司常州大学
CN_121430902_PA

Resumen de: CN121430902A

本发明提出了一种应用于氨裂解制氢膜提纯系统的压力检测方法及系统;属于压力检测技术领域。所述方法包括:通过在金属膜上游和下游安装高精度压力传感器,实时采集膜两侧的压力数据;对采集到的压力数据进行预处理,获得多维时序压力数据集;基于预处理后的多维时序压力数据集,构建用于反映膜两侧压力变化特征的高维特征向量集,对高维特征向量集进行动态特征提取,得到多维特征矩阵;通过在金属膜上游和下游安装高精度压力传感器,能够实时、精准地采集膜两侧的压力数据。同时,对采集数据进行预处理形成多维时序压力数据集,从而实现更加精准的系统控制调节,实现制氢系统的最优化。

一种表面氧化单原子纳米合金催化剂及其制备方法和应用

NºPublicación:  CN121428595A 30/01/2026
Solicitante: 
南京工程学院
CN_121428595_PA

Resumen de: CN121428595A

本发明公开了一种表面氧化单原子纳米合金催化剂及其制备方法和应用,属于先进纳米能源材料与电催化技术领域。一种表面氧化单原子纳米合金催化剂,包括羟基化碳纳米管载体,负载于羟基化碳纳米管载体上的双金属纳米合金颗粒,双金属纳米合金颗粒中,非贵金属元素以单原子形式分散于贵金属纳米颗粒中,双金属纳米合金颗粒的尺寸为3‑4nm,且双金属纳米合金颗粒表面具有0.3‑0.6 nm厚的氧化层;贵金属的负载量为5‑15 wt%。本发明将钌与其他非贵金属元素合金化并锚定在碳材料基底上,可以大幅提升催化剂的导电性,而将合金颗粒尺寸精准控制在3‑4 nm范围内,可最大限度地暴露活性位点并兼顾结构稳定性。

一种电解水单元结构、PEM电解槽及组装方法

NºPublicación:  CN121428581A 30/01/2026
Solicitante: 
佛山仙湖实验室
CN_121428581_PA

Resumen de: CN121428581A

本发明公开了一种电解水单元结构、PEM电解槽及组装方法,电解水单元结构包括:极板组件、膜电极组件和单元紧固组件,极板组件包括沿纵向相对设置的两块双极板膜电极组件夹装于两块双极板之间;多个单元紧固组件分布连接于两块双极板之间的四周,单元紧固组件用于在两块双极板相互压合于设定压紧状态时,将两块双极板之间的相对位置进行固定。本发明保证两块双极板与膜电极组件精准对位以及压装卸去外力后电解水单元结构的内部仍能保持相应的紧固力,防止在运输过程中内部组件错位,保证每个电解水单元结构受力一致性,以解决电解槽单室在组装时的复杂性导致单片之间以及各组件之间错位以及受力分布不均匀的问题。

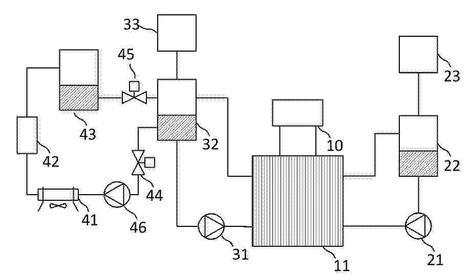
Energy management control system and method of electricity, heat and hydrogen cogeneration supply system

NºPublicación:  CN121439827A 30/01/2026
Solicitante: 
TSINGHUA UNIV
\u6E05\u534E\u5927\u5B66
CN_121439827_PA

Resumen de: CN121439827A

The invention discloses an energy management control system and method of an electricity, heat and hydrogen co-production supply system, and relates to the field of energy management, the energy management control system comprises a cooling system and an energy storage system, the cooling system is composed of a cooling-water machine, a water purifier, a valve and a heat exchanger, and the cooling system is used for cooling an electrolytic hydrogen production purification device and a power supply to realize circulating cooling; the energy storage system is composed of a circulating water tank, a living water tank and multiple sets of valves and used for recycling heat generated by power generation of the fuel cell and achieving the purpose of energy storage. Based on the energy management control strategy of the electricity, heat and hydrogen cogeneration supply system in different working modes, the utilization efficiency of energy is improved.

富含硫空位的ZnxCd1-xS纳米催化剂的制备方法与应用

Nº publicación: CN121422989A 30/01/2026

Solicitante:

安徽大学

CN_121422989_PA

Resumen de: CN121422989A

本发明涉及纳米催化剂技术领域,公开了富含硫空位的ZnxCd1‑xS纳米催化剂的制备方法与应用,包括富含硫空位的ZnxCd1‑xS纳米催化剂的制备方法,其特征在于,包括以下步骤:步骤S1、将镉盐、锌盐和硫脲在去离子水中混合得到混合溶液;步骤S2、将混合溶液置入反应釜中加热反应,冷却后收集反应产物,用去离子水对反应产物进行洗涤,将洗涤的反应产物干燥制备得到ZnxCd1‑xS纳米催化剂。本发明合成的ZnxCd1‑xS纳米催化剂分散均匀、尺寸均一、形貌规则,其中,随着反应温度的升高,所得ZnxCd1‑xS纳米催化剂的形貌由圆球状演变为表面粗糙的荔枝状的过渡态,进而生成形貌规则的松树状形貌。此外,所制备的催化剂富含一定硫空位,应用于光催化析氢领域性能提升显著。

traducir