Ministerio de Industria, Turismo y Comercio LogoMinisterior
 

Alerta

Resultados 824 resultados
LastUpdate Última actualización 06/10/2025 [06:57:00]
pdfxls
Publicaciones de solicitudes de patente de los últimos 60 días/Applications published in the last 60 days
previousPage Resultados 725 a 750 de 824 nextPage  

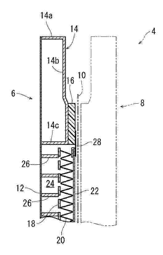
전해조 유닛에 있어서의 음극실 조립체 및 전해 장치

NºPublicación:  KR20250123765A 18/08/2025
Solicitante: 
가부시끼가이샤도꾸야마
KR_20250123765_PA

Resumen de: TW202428942A

There is provided a cathode chamber assembly, which may not require any skill for assembling, and which may not cause any problems such as formation of an undesirable space in the peripheral portion of the cathode chamber. The cathode can be easily replaced when it deteriorates. The cathode is attached detachably to ribs formed on the bulkhead, directly or indirectly with a plurality of fastening screws or fastening pins, and further or alternatively, a peripheral flange of a rectangular flame shape extending along the inner surface peripheral portion of the bulkhead is disposed. In the embodiment, the cathode may be attached by bonding one surface of a rectangular gasket to the inner surface of the peripheral flange, and by adhering an adhesive tape across the inner peripheral portion of the other surface of the gasket and the outer peripheral portion of the exposed surface of the cathode.

Módulo de pilas, electrolizador de óxido sólido con módulo de pilas y método para intercambiar módulo de pilas de electrolizador de óxido sólido

NºPublicación:  CL2025001202A1 18/08/2025
Solicitante: 
TOPSOE AS [DK]
TOPSOE A/S
KR_20250097822_PA

Resumen de: CN120202324A

The invention relates to a stack module having at least one solid oxide electrolysis stack comprising a plurality of stacked solid oxide electrolysis cells, in which the stack module comprises two gas inlet connections and two gas outlet connections. According to the invention, at least one solid oxide electrolysis stack is encapsulated in a metal container, with two gas inlet connections and two gas outlet connections connected to the metal container. The invention further relates to a solid oxide electrolyzer having at least one stacked module and to a method for replacing a stacked module of a solid oxide electrolyzer.

水电解系统

NºPublicación:  CN120485869A 15/08/2025
Solicitante: 
本田技研工业株式会社
CN_120485869_PA

Resumen de: US2025257489A1

A water electrolysis system includes: a water electrolysis stack that generates oxygen gas and hydrogen gas by electrolyzing water; a gas-liquid separator that separates the hydrogen gas from water; a hydrogen compression stack that compresses the hydrogen gas; a gas tank that stores an inert gas and is connected to a hydrogen flow path that connects the water electrolysis stack and the hydrogen compression stack; a supply valve that, when opened, supplies the inert gas to the hydrogen flow path; and a supply control unit that opens the supply valve in a case where the concentration of the oxygen gas that has flowed into the hydrogen flow path exceeds an oxygen concentration threshold determined in advance.

SYSTEM AND PROCESS FOR THE COMBINED PRODUCTION OF AMMONIA AND HYDROGEN

NºPublicación:  WO2025168743A1 14/08/2025
Solicitante: 
YARA INT ASA [NO]
YARA INTERNATIONAL ASA
WO_2025168743_A1

Resumen de: WO2025168743A1

The present disclosure provides an improved ammonia-producing plant and process for the simultaneous production of hydrogen and ammonia as end products, by integrating a hydrogen separation unit into an ammonia-producing plant. More in particular, the present disclosure provides an ammonia production plant comprising (a) a reforming section, (b) a purification section, downstream of the reforming section, and (c) an ammonia synthesis section, downstream of the purification section, wherein the plant further comprises (d) a hydrogen separation unit, wherein the hydrogen separation unit has an inlet for a hydrogen-containing gas stream, a first outlet for a pure hydrogen gas, particularly for providing the pure hydrogen to a hydrogen network, and a second outlet for a tail gas, particularly wherein the inlet of the hydrogen separation unit is in fluid communication with a hydrogen-containing gas stream in the purification section and/or in the ammonia synthesis section, and/or with a hydrogen-containing gas stream between the purification section and the ammonia synthesis section of the ammonia production plant, and, particularly, wherein the second outlet is in fluid communication with the reforming section and/or with the purification section of the ammonia production plant.

수전해용 개선된 다층 양성자 교환 막

NºPublicación:  KR20250123147A 14/08/2025
Solicitante: 
더블유엘고어앤드어소시에이트스인코포레이티드더블유엘고어앤드어소시에이츠게엠베하
WO_2024126749_PA

Resumen de: WO2024126749A1

There is provided a multi-layered proton exchange membrane for water electrolysis, comprising: at least two recombination catalyst layers, each of the at least two recombination catalyst layers comprising a recombination catalyst and a first ion exchange material, wherein at least two recombination catalyst layers are separated by a region devoid of or substantially devoid of a recombination catalyst, and at least two reinforcing layers, each of the at least two reinforcing layers comprising a microporous polymer structure and a second ion exchange material which is at least partially imbibed within the microporous polymer structure.

SYSTEMS AND METHODS FOR INCREASED SULFURIC ACID CONCENTRATION FROM SULFUR DIOXIDE DEPOLARIZED ELECTROLYSIS AND USES THEREOF

NºPublicación:  US2025257476A1 14/08/2025
Solicitante: 
PEREGRINE HYDROGEN INC [US]
Peregrine Hydrogen Inc
US_2025257476_PA

Resumen de: US2025257476A1

A method can include coupling sulfur dioxide depolarized electrolysis (e.g., electrochemical oxidation of sulfur dioxide to sulfuric acid with electrochemical reduction of water to hydrogen) with the contact process to facilitate formation of high concentration sulfuric acid with concurrent hydrogen production. The sulfuric acid and hydrogen can optionally be used cooperatively for downstream processes (e.g., metal extraction from ore, fertilizer production, hydrocarbon processing, etc.).

METHOD FOR OPERATING AN ELECTROLYSIS PLANT, AND ELECTROLYSIS PLANT

NºPublicación:  US2025257475A1 14/08/2025
Solicitante: 
SIEMENS ENERGY GLOBAL GMBH & CO KG [DE]
Siemens Energy Global GmbH & Co. KG
US_2025257475_PA

Resumen de: US2025257475A1

The invention relates to a method for operating an electrolysis plant which has an electrolyzer for generating hydrogen and oxygen as product gases, wherein water is fed as educt water to the electrolyzer and split into hydrogen and oxygen at an ion-exchange membrane. Prior to splitting, the educt water is brought into a thermodynamic state close to the boiling point of the water in terms of the pressure and temperature and is fed in this state to the membrane. Educt water is brought to a boil at the membrane and converted into the gas phase, wherein the water in the gas phase is split at the membrane. There is also described an electrolysis plant having an electrolyzer for generating hydrogen and oxygen as product gases.

DETERMINATION METHOD, QUALITY ASSURANCE METHOD, ELECTROLYSIS DEVICE, AND ELECTROLYSIS METHOD

NºPublicación:  US2025259714A1 14/08/2025
Solicitante: 
IHI CORP [JP]
IHI Corporation
US_2025259714_PA

Resumen de: US2025259714A1

A determination method determines whether or not target molecules including elemental hydrogen are electrolytic hydrogen-containing molecules which include: hydrogen molecules produced by water electrolysis; or molecules produced using the hydrogen molecules as a raw material. In the determination method, the method includes determining that the target molecules are the electrolytic hydrogen-containing molecules when an abundance ratio of deuterium to light hydrogen in the target molecules is less than or equal to a predetermined threshold which is smaller than an abundance ratio of deuterium to light hydrogen in nature.

RENEWABLE ENERGY SOURCE USING PRESSURE DRIVEN FILTRATION PROCESSES AND SYSTEMS

NºPublicación:  US2025257482A1 14/08/2025
Solicitante: 
IDE WATER TECH LTD [IL]
IDE WATER TECHNOLOGIES, LTD
US_2025257482_PA

Resumen de: US2025257482A1

Some embodiments relates generally to the production of a desalinated, filtrated or other way treated water simultaneously with generation of renewal energy source, in particular hydrogen, using osmotic and/or gauge pressure driven filtration processes and systems. The co-generation of hydrogen 11 from water 8 produced during pressure driven water desalination/filtration processes, such as reverse osmosis, forward osmosis, pressure retarded osmosis or ultrafiltration. A small part of feed, raw saline solution and/or permeate involved in a desalination/filtration processes is subjected to electrolysis thereby splitting the water to produce hydrogen. This is achieved by the provision of novel RO type semi-permeable membranes and UF type membrane that incorporate electrodes 9, 10 within the membrane to allow splitting of the water via electrolysis.

ELECTROLYSIS SYSTEM COMPRISING AN ELECTROLYSIS PLANT AND A RENEWABLE ENERGY PLANT AND METHOD FOR CONTROLLING AN ELECTROLYSIS SYSTEM

NºPublicación:  AU2024301470A1 14/08/2025
Solicitante: 
SIEMENS ENERGY GLOBAL GMBH & CO KG
SIEMENS ENERGY GLOBAL GMBH & CO. KG
AU_2024301470_PA

Resumen de: AU2024301470A1

The present invention relates to an electrolysis system (100) comprising a renewable power generation plant (1), an electrolysis plant (3), a transformer station (27) and an AC bus bar (5), wherein the renewable power generation plant (1) is connected to the public electricity grid at a point of connection (POC) via the AC bus bar (5) and comprises a power plant controller (7) and a self-controlled converter (9) that is connected to the AC bus bar (5). The electrolysis plant (3) comprises an electrolysis active power controller (11) and a converter arrangement (13) that is connected to the AC bus bar (5), and wherein the electrolysis active power controller (11) is configured for controlling active power (P) of the electrolysis plant (3) at the AC bus bar (5) and the power plant controller (7) is configured for controlling reactive power (Q) at the point of connection (POC).

水電解装置

NºPublicación:  JP2025119405A 14/08/2025
Solicitante: 
株式会社アイシン
JP_2025119405_PA

Resumen de: US2025250686A1

A water electrolysis device includes a water electrolysis module that generates hydrogen by water vapor electrolysis. The water electrolysis device includes: a blower configured to supply hydrogen to the water electrolysis module; a recycle passage configured to supply generated hydrogen generated by the water electrolysis module from the water electrolysis module to an intake port of the blower; a condenser configured to condense water vapor contained in the generated hydrogen; and a temperature increasing portion configured to increase a temperature of the generated hydrogen between the condenser and the blower.

WATER ELECTROLYSIS SYSTEM

NºPublicación:  WO2025169719A1 14/08/2025
Solicitante: 
TOKYO GAS CO LTD [JP]
\u6771\u4EAC\u74E6\u65AF\u682A\u5F0F\u4F1A\u793E
WO_2025169719_PA

Resumen de: WO2025169719A1

This water electrolysis system comprises: a water electrolysis cell stack; a water separator that is connected to the water electrolysis cell stack and separates water discharged from the water electrolysis cell stack from gas; a water circulation path that is provided with a water circulation pump and circulates the water separated by the water separator; a water supply path that is separate from the water circulation path, is provided with a water supply pump, and supplies the water to the water electrolysis cell stack; an ion exchange resin provided in the water circulation path; and a heat exchanger that is provided on the upstream side of the ion exchange resin in the water circulation path, and that cools the water in the water circulation path on the basis of the temperature of the water supplied from the water supply path to the water electrolysis cell stack.

COMPACT HYDROGEN ALKALINE ELECTROLYSER

NºPublicación:  WO2025168858A1 14/08/2025
Solicitante: 
METAMORFOSIS TEAM S L [ES]
METAMORFOSIS TEAM S.L
WO_2025168858_PA

Resumen de: WO2025168858A1

The present invention relates to a high-efficiency hydrogen electrolyser consisting of a single casing containing four inner cavities having identical cubic capacity which are intercommunicated at the top to share a common gas outlet and which may also be intercommunicated at mid-height to share filler material. At the bottom of each cavity there is a solid bar longitudinally arranged such that the upper bar serves as a cathode and the lower bar serves as an anode, resulting in the optimisation of the electrolysis system by adding acidified water and providing DC power supply.

METHOD FOR CONSTRUCTING NITROGEN-DOPED BIMETALLIC NANOFIBER MEMBRANE ELECTROCATALYST ON BASIS OF ELECTROSTATIC SPINNING METHOD AND USE OF NITROGEN-DOPED BIMETALLIC NANOFIBER MEMBRANE ELECTROCATALYST

NºPublicación:  WO2025166879A1 14/08/2025
Solicitante: 
ANHUI UNIV OF SCIENCE AND TECHNOLOGY [CN]
\u5B89\u5FBD\u7406\u5DE5\u5927\u5B66
WO_2025166879_PA

Resumen de: WO2025166879A1

The present invention belongs to the technical field of OER electrocatalysts. Provided are a method for constructing a nitrogen-doped bimetallic nanofiber membrane electrocatalyst on the basis of an electrostatic spinning method and the use of the nitrogen-doped bimetallic nanofiber membrane electrocatalyst. The electrocatalyst is prepared from a mixed high-molecular polymer of a metal salt, N,N-dimethylformamide and polyacrylonitrile by means of the coordinated and confined pyrolysis transformation of a one-dimensional porous carbon nanomaterial. The method comprises: S1, preparing a FeCo-NCNF precursor solution; S2, transferring the resulting FeCo-NCNF precursor solution into a plastic injector with a stainless steel needle to perform electrostatic spinning, so as to obtain a nanofiber membrane; and S3, subjecting the obtained nanofiber membrane to high-temperature carbonization and phosphorization in sequence, so as to obtain a nitrogen-doped bimetallic nanofiber membrane electrocatalyst. In the present invention, the nitrogen-doped bimetallic nanofiber membrane electrocatalyst prepared by using the method has the advantages of a large specific surface area, a porous structure, a high nitrogen content, a great number of active sites, etc., and therefore the catalytic performance of the electrocatalyst is improved.

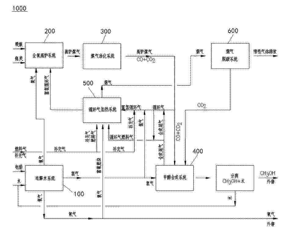
HYDROGEN-RICH BLAST FURNACE IRONMAKING SYSTEM BASED ONMASS-ENERGY CONVERSION, AND PRODUCTION CONTROL METHOD THEREFOR

NºPublicación:  US2025257415A1 14/08/2025
Solicitante: 
CHANGLI COUNTY XINGGUO PREC MACHINE PARTS CO LTD [CN]
SHANGHAI UNIV [CN]
CHANGLI COUNTY XINGGUO PRECISION MACHINE PARTS CO., LTD,
Shanghai University
US_2025257415_PA

Resumen de: US2025257415A1

A hydrogen-rich blast furnace ironmaking system based on mass-energy conversion, comprising a water electrolysis system (2). The water electrolysis system (2) is separately connected to a hydrogen storage tank (3) and an oxygen storage tank (4); a gas outlet of the hydrogen storage tank (3) is connected to a hydrogen compressor (5); an outlet of the hydrogen compressor (5) is connected to a hydrogen buffer tank (6); the hydrogen buffer tank (6) is connected to a hydrogen injection valve group (7); the hydrogen injection valve group (7) is connected to a hydrogen preheating system (8); and the hydrogen preheating system (8) is connected to a tuyere of a blast furnace body (1) or a hydrogen injector at the lower portion of the furnace body.

Biological and Chemical Process Utilizing Chemoautotrophic Microorganisms for the Chemosynthetic Fixation of Carbon Dioxide and/or Other Inorganic Carbon Sources into Organic Compounds and the Generation of Additional Useful Products

NºPublicación:  US2025257374A1 14/08/2025
Solicitante: 
KIVERDI INC [US]
Kiverdi, Inc
US_2025257374_A1

Resumen de: US2025257374A1

The invention described herein presents compositions and methods for a multistep biological and chemical process for the capture and conversion of carbon dioxide and/or other forms of inorganic carbon into organic chemicals including biofuels or other useful industrial, chemical, pharmaceutical, or biomass products. One or more process steps utilizes chemoautotrophic microorganisms to fix inorganic carbon into organic compounds through chemosynthesis. An additional feature described are process steps whereby electron donors used for the chemosynthetic fixation of carbon are generated by chemical or electrochemical means, or are produced from inorganic or waste sources. An additional feature described are process steps for recovery of useful chemicals produced by the carbon dioxide capture and conversion process, both from chemosynthetic reaction steps, as well as from non-biological reaction steps.

PURGE GAS CONDITIONING OF NH3 PLANTS

NºPublicación:  US2025256975A1 14/08/2025
Solicitante: 
STAMICARBON B V [NL]
Stamicarbon B.V
US_2025256975_PA

Resumen de: US2025256975A1

Embodiments of the disclosure pertain to the conditioning of the purge gas stream in an NH3 synthesis plant comprising a water electrolysis unit to produce a H2 stream, ammonia synthesis loop, and a treatment section for treating purge gas at 10-70 bar(a) using scrubbing and membrane separation.

Process For the Production of Methanol and Hydrogen from Methane Using a Solid Metal Hydroxide Reagent

NºPublicación:  US2025257022A1 14/08/2025
Solicitante: 
TOTALENERGIES ONETECH [FR]
SULZER MAN AG [CH]
TOTALENERGIES ONETECH,
SULZER MANAGEMENT AG
US_2025257022_PA

Resumen de: US2025257022A1

The present invention relates to a process for producing methanol (MeOH) and hydrogen (H2) from methane, comprising the steps: a) providing a gaseous feed stream comprising methane; b) reacting said gaseous feed stream with at least one halogen reactant (X2), under reaction conditions effective to produce an effluent stream comprising methyl halide (MeX), hydrogen halide (HX); c) separating from the effluent stream obtained in step b): (i) a methyl halide (MeX) stream, optionally comprising unreacted methane; and, (ii) a hydrogen halide (HX) stream; d) reacting the methyl halide (MeX) stream separated in step c) with a solid metal hydroxide (MOH(s)) under reaction conditions effective to produce metal halide (MX) and methanol (MeOH); and, e) decomposing by means of electrolysis said hydrogen halide (HX) stream separated in step c) under conditions effective to produce a gaseous hydrogen (H2) stream and a stream comprising halogen reactant (X2).

WATER ELECTROLYSIS SYSTEM

NºPublicación:  US2025257489A1 14/08/2025
Solicitante: 
HONDA MOTOR CO LTD [JP]
HONDA MOTOR CO., LTD
US_2025257489_PA

Resumen de: US2025257489A1

A water electrolysis system includes: a water electrolysis stack that generates oxygen gas and hydrogen gas by electrolyzing water; a gas-liquid separator that separates the hydrogen gas from water; a hydrogen compression stack that compresses the hydrogen gas; a gas tank that stores an inert gas and is connected to a hydrogen flow path that connects the water electrolysis stack and the hydrogen compression stack; a supply valve that, when opened, supplies the inert gas to the hydrogen flow path; and a supply control unit that opens the supply valve in a case where the concentration of the oxygen gas that has flowed into the hydrogen flow path exceeds an oxygen concentration threshold determined in advance.

Method of Producing H2 And/Or BR2 by Electrolysing HBr Using Fluoropolymer Membranes

NºPublicación:  US2025257487A1 14/08/2025
Solicitante: 
TOTALENERGIES ONETECH [FR]
SULZER MAN AG [CH]
TOTALENERGIES ONETECH,
SULZER MANAGEMENT AG
US_2025257487_PA

Resumen de: US2025257487A1

A method of producing hydrogen and/or bromine by electrolysing hydrogen bromide using a fluoropolymer membrane having a glass transition temperature Tg≥110° C. in an electrolysis of hydrogen bromide, wherein the hydrogen bromide stems from a bromination of a hydrocarbon.

METHOD FOR OPERATING AN ELECTROLYSIS SYSTEM, AND ELECTROLYSIS SYSTEM

NºPublicación:  US2025257488A1 14/08/2025
Solicitante: 
SIEMENS ENERGY GLOBAL GMBH & CO KG [DE]
Siemens Energy Global GmbH & Co. KG
US_2025257488_PA

Resumen de: US2025257488A1

An electrolysis system includes at least one electrolyzer for generating hydrogen and oxygen as products, and at least two downstream compressors for compressing at least one of the products produced in the electrolyzer. A method of operating the electrolysis system in a part-load operation of the electrolyzer that is optimized in terms of efficiency and is also cost-effective. During the part load operation of the electrolyzer, a first group of compressors is operated in part-load operation, while the compressor(s) of a second group can be switched on or off individually for full-load operation.

AN ELECTRODE FOR OXYGEN GENERATION

NºPublicación:  US2025257484A1 14/08/2025
Solicitante: 
OUE STARGATE HYDROGEN SOLUTIONS [EE]
O\u00DC Stargate Hydrogen Solutions
US_2025257484_PA

Resumen de: US2025257484A1

An electrode suitable for carrying out oxygen evolution reaction in the electrolysis of water in alkaline conditions. The electrode includes a ceramic material having a stability factor (SF) between 1.67≤SF≤2.8 and which is calculated by formula (II), where rO is the ionic radius of oxide ion (O2−), rB,av is the weighted average ionic radius of a transition metal, nA,Av is the weighted average oxidation state of a rare earth or alkaline earth metal, rA,av is the weighted average ionic radius of a rare earth or alkaline earth metal. An alkaline electrolysis stack includes the electrode, as well as a method for the electrolysis of water in alkaline conditions using the alkaline electrolysis stack.

CATALYST AND ANODE FOR HYDROGEN PRODUCTION BY ELECTROLYSIS AS WELL AS PREPARATION METHOD, ACTIVATION METHOD AND USE THEREOF

NºPublicación:  US2025257483A1 14/08/2025
Solicitante: 
NINGBO INSTITUTE OF MATERIALS TECH AND ENGINEERING CHINESE ACADEMY OF SCIENCES [CN]
NINGBO INSTITUTE OF MATERIALS TECHNOLOGY AND ENGINEERING, CHINESE ACADEMY OF SCIENCES
US_2025257483_A1

Resumen de: US2025257483A1

Clean version of Abstract A catalyst and anode for hydrogen production by electrolysis as well as a preparation method, activation method and use thereof are provided. The anode for hydrogen production by electrolysis includes a catalyst which is nickel iron barium hydrotalcite with a nano hexagonal sheet structure and a thickness of 100-200 nm. The catalyst can be prepared by a one-step solvothermal reaction method. Alkaline-earth metal ions are evenly doped in the nickel iron barium hydrotalcite and are in atomic level dispersion, so that the anode for hydrogen production by electrolysis based on the catalyst, when being applied to a process for hydrogen production by electrolysis of an aqueous solution containing chlorine ions, not only can maintain good catalytic performance, but also has greatly improved chlorine ion corrosion resistance, leading to significant improvement of working stability and service life.

METHOD OF ELECTROLYSING HYDROGEN BROMIDE AFTER H2SO4 SYNTHESIS

NºPublicación:  US2025257477A1 14/08/2025
Solicitante: 
TOTALENERGIES ONETECH [FR]
TOTALENERGIES ONETECH
US_2025257477_PA

Resumen de: US2025257477A1

A method of electrolysing hydrogen bromide comprising the steps i) synthesizing sulfuric acid such that hydrogen bromide is produced, ii) providing an electrolytic cell comprising an anode, a cathode, and a membrane sandwiched between the anode and the cathode, iii) feeding a first composition comprising hydrogen bromide and water to the anode, iv) feeding a second composition comprising hydrogen bromide and water to the cathode, and v) operating the electrolytic cell to produce hydrogen at the cathode.

- Pt-CNT composite for hydrogen evolution reaction electrode

Nº publicación: KR20250122697A 14/08/2025

Solicitante:

한남대학교산학협력단

Resumen de: KR20250122697A

본 발명에 의한 수소발생 촉매 전극용 백금-탄소나노튜브 복합체는 탄소나노튜브 표면에 백금이 도입되며, 백금 함량이 20 중량% 이하인 것을 특징으로 한다.

traducir