Ministerio de Industria, Turismo y Comercio LogoMinisterior
 

Alerta

Resultados 487 resultados
LastUpdate Última actualización 01/01/2026 [06:59:00]
pdfxls
Publicaciones de solicitudes de patente de los últimos 60 días/Applications published in the last 60 days
previousPage Resultados 125 a 150 de 487 nextPage  

电解槽系统中的气体压力平衡方法和具有压力平衡阀系统的电解槽系统

NºPublicación:  CN121079138A 05/12/2025
Solicitante: 
蒂森克虏伯新纪元股份有限及两合公司
CN_121079138_PA

Resumen de: AU2024224224A1

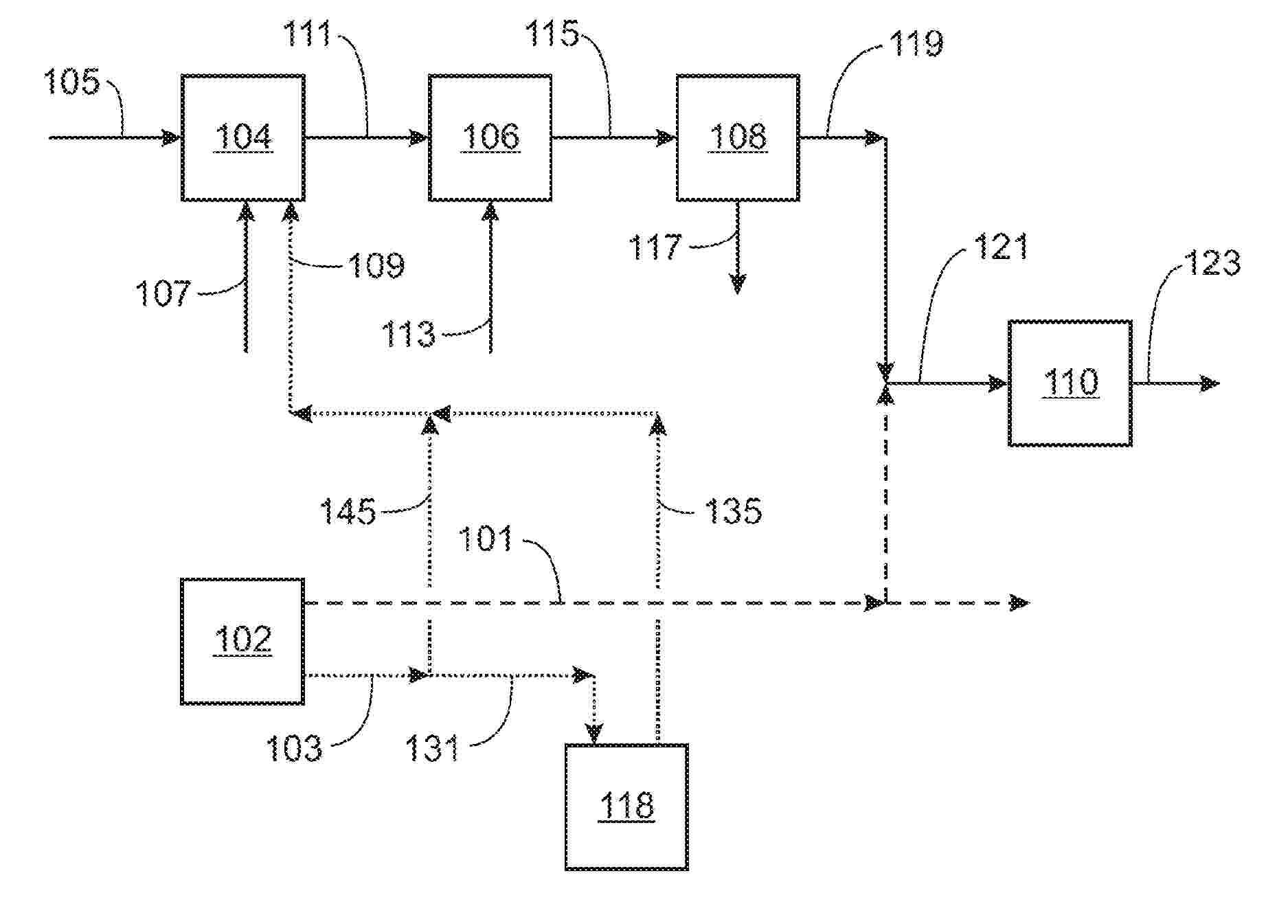
In a gas pressure balance method in an electrolyser system a predefined pressure difference between pressures in an oxygen gas separation tank and a hydrogen gas separation tank is maintained by controlled release of gases through an oxygen back pressure valve and a hydrogen back pressure valve. in a first step, for each of the oxygen back pressure valves and the hydrogen back pressure valves, a predefined, calibrated pilot gas pressure is generated and in a second step, the predefined, calibrated pilot gas pressures are forwarded to the respective back pressure valves and in a third step, hydrogen and oxygen gasses are released whenever the gas pressures in the hydrogen and oxygen separation tanks exceeds the predefined, calibrated pilot pressure in the respective pilot gas streams.

수용액 반응기

NºPublicación:  KR20250170593A 05/12/2025
Solicitante: 
어드밴스드컴버스턴테크놀로지스아이엔씨
CN_120659908_PA

Resumen de: CN120659908A

A hydrogen generating battery includes a pair of input electrode plates, a pair of output electrode plates, an additional X-plate electrode positioned adjacent the pair of output electrode plates, and a plurality of intermediate electrode plates disposed between the pair of input electrode plates and the pair of output electrode plates. The plasma torch is spaced apart from and inductively coupled to the pair of input electrode plates. A pulsed DC voltage is applied to the plasma torch and the X-plate, while a lower pulsed DC voltage is applied to the pair of input and output electrode plates such that hydrogen gas is generated from the aqueous solution in which the battery is immersed.

用于生产化合物的方法和用于生产化合物的设备

NºPublicación:  CN121079452A 05/12/2025
Solicitante: 
海兰德控股公司
CN_121079452_PA

Resumen de: WO2024184587A1

The invention relates to a method for producing a compound comprising at least one of hydrogen or oxygen. The method comprises providing water and a first substance, producing a mixture comprising the water and bubbles comprising the first substance, decreasing diameter of bubbles comprising the first substance, decomposing a part of the water, and composing a compound at least from the decomposed water and the first substance, and the compound comprising at least one of hydrogen or oxygen. The invention further relates to apparatus for producing a compound comprising at least one of hydrogen or oxygen.

生产低碳氢气的方法及其实施装置

NºPublicación:  CN121079266A 05/12/2025
Solicitante: 
诺瓦泰克公共股份公司
CN_121079266_PA

Resumen de: WO2025014390A1

Claimed are a method for producing hydrogen from ammonia and a plant for the implementation thereof. Liquid ammonia feedstock is heated, evaporated and superheated in a coil of a heat-reclaiming module. The gaseous ammonia feedstock is fed into an ammonia cracking reactor, the obtained nitrogen-hydrogen mixture is cooled in an air-cooling unit, and hydrogen is recovered. Liquid ammonia fuel is heated, evaporated and superheated. The gaseous ammonia fuel is mixed with the vent gases produced during the recovery of hydrogen, and the obtained fuel gas is fed together with heated air into the ammonia cracking reactor. The evaporation and superheating of the ammonia feedstock and the ammonia fuel are carried out in recuperative heat exchangers. An outlet for the flue gases of the ammonia cracking reactor is connected to the heat-reclaiming module. Arranged in series inside the heat-reclaiming module are coils for heating gaseous ammonia, fuel gas, air, a heat transfer agent, and liquid ammonia. The pressure of the flue gases is increased, the flue gases are cooled, and condensed distilled water is recovered in a separator, with the dewatered flue gases being released into the atmosphere. The invention makes it possible to increase the efficiency of low-carbon hydrogen production and to obtain an additional product in the form of distilled water.

DEVELOPMENT OF AN EFFICIENT AND PRACTICAL SUSTAINABLE LOWER CARBON AVIATION FUEL (LCAF) FOR IMPROVING AVIATION SUSTAINABILITY

NºPublicación:  US2025368585A1 04/12/2025
Solicitante: 
HAMAD BIN KHALIFA UNIV [QA]
HAMAD BIN KHALIFA UNIVERSITY

Resumen de: US2025368585A1

A carbon closed-loop system and process are provided. The carbon closed-loop system and process can be utilized in an industrial operation for producing, for example, a Lower Carbon Aviation Fuel (LCAF). The LCAF is produced by decarbonizing, for example, industrial furnaces and boilers, such as fired heaters, through the carbon closed-loop system and process which integrates renewable energy-driven H2 generation, CO2 capture, and methanation technologies to substantially reduce the carbon footprint of the industrial operation.

PHOTOCATALYTIC PANEL AND METHODS FOR CONTINUOUS HYDROGEN PRODUCTION

NºPublicación:  US2025368503A1 04/12/2025
Solicitante: 
QDSOL LTD [IL]
TECHNION RES AND DEVELOPMENT FOUNDATION LTD [IL]
QDSol, LTD,
TECHNION RESEARCH AND DEVELOPMENT FOUNDATION, LTD
JP_2025524419_PA

Resumen de: US2025368503A1

The disclosure relates to systems and methods for continuous hydrogen production using photocatalysis. Specifically, the disclosure relates to systems and methods for continuous hydrogen production using photocatalysis of water utilizing semiconductor charge carriers immobilized on removable carriers in the presence of a reducing agent such as tertiary amines.

SYSTEM AND METHOD FOR ELECTROLYTIC PRODUCTION OF HYDROGEN

NºPublicación:  WO2025250529A1 04/12/2025
Solicitante: 
BEST PLANET SCIENCE LLC [US]
BEST PLANET SCIENCE LLC
WO_2025250529_PA

Resumen de: WO2025250529A1

Systems and methods for generating hydrogen by electrolysis of water using electricity produced using a vortex generator that results in cavitation and implosion processes in a vortex. The vortex generator can produce conditions within the vortex generator that can allow deuterium molecules naturally occurring in water to acquire sufficient kinetic energy to overcome the Coulomb barrier so that their nuclei can get close enough to each other to undergo various nuclear reactions, discharging a large amount of nuclear energy at the microstate, imparting energy to the water, which can be used to drive a turbine to generate electricity, and the resulting electricity can be used at least in part for the electrolysis of water.

INTEGRATED PROCESSES FOR PRODUCING OLEFINIC PRODUCTS FROM CARBON DIOXIDE

NºPublicación:  WO2025250426A1 04/12/2025
Solicitante: 
EXXONMOBIL TECH AND ENGINEERING COMPANY [US]
EXXONMOBIL TECHNOLOGY AND ENGINEERING COMPANY
WO_2025250426_PA

Resumen de: WO2025250426A1

Olefinic products may be produced from various sources. For example, methods of production of olefinic products from carbon dioxide may include: performing an electrolysis reaction of water to form hydrogen and oxygen; providing at least a portion of the hydrogen and carbon dioxide to a methanation unit; reacting the hydrogen and the carbon dioxide via a methanation reaction in the methanation unit to produce methane and water; providing at least a portion of the methane and at least a portion of the oxygen to an oxidative coupling unit; and reacting the methane and the oxygen via an oxidative coupling reaction in the oxidative coupling unit to produce an olefinic product, water, and optionally, additional carbon dioxide.

LOW TEMPERATURE PRODUCTION OF HYDROGEN PEROXIDE

NºPublicación:  WO2025248075A1 04/12/2025
Solicitante: 
HPNOW APS [DK]
HPNOW APS
WO_2025248075_PA

Resumen de: WO2025248075A1

Embodiments for an apparatus for producing hydrogen peroxide are provided. The apparatus includes a heat exchanger configured to remove heat from deionized water prior to passing the deionized water through the anode passage of one or more cells. The apparatus is also configured to oxidize the deionized water in the anode passage of the one or more cells. The apparatus also includes a controller configured to control the heat exchanger and a first one or more temperature sensors electrically coupled to the controller. The first one or more temperature sensors are configured to provide a first temperature reading based on a temperature of the one or more cells, wherein the controller is configured to control the heat exchanger to maintain the first temperature reading at or below a first temperature threshold.

MEMBRANE-ELECTRODE ASSEMBLY FOR A WATER ELECTROLYSER

NºPublicación:  WO2025248230A1 04/12/2025
Solicitante: 
JOHNSON MATTHEY HYDROGEN TECHNOLOGIES LTD [GB]
JOHNSON MATTHEY HYDROGEN TECHNOLOGIES LIMITED
WO_2025248230_PA

Resumen de: WO2025248230A1

A membrane-electrode assembly for a water electrolyser is provided. The membrane-electrode assembly comprises a polymer electrolyte membrane with a first major surface and a second major surface, and an anode component in contact with the first major surface of the polymer electrolyte membrane. The anode component comprises (i) a porous framework of polymer fibres at least partially coated with a metal-containing thin film; and (ii) an oxygen evolution reaction (OER) catalyst supported on the porous framework of polymer fibres.

WATER-EFFICIENT METHOD OF STORING HYDROGEN USING A BICARBONATE/FORMATE BASED REACTION SYSTEM

NºPublicación:  WO2025247962A1 04/12/2025
Solicitante: 
AKROS ENERGY GMBH [DE]
AKROS ENERGY GMBH
WO_2025247962_A1

Resumen de: WO2025247962A1

The present invention relates to a water-efficient method of storing hydrogen using a bicarbonate/formate-based aqueous reaction system, wherein the method comprises: (A) reducing aqueous bicarbonate using hydrogen to form formate and water, (B) at least partially separating water from the aqueous reaction system to provide water and concentrated salt components comprising formate, and (C) using the water provided in step (B) to form hydrogen for use in step (A) and/or to dissolve concentrated salt components comprising bicarbonate to provide aqueous bicarbonate for use in step (A).

PROCESS AND FACILITY FOR OBTAINING A HYDROGEN-CONTAINING PRODUCT

NºPublicación:  WO2025247582A1 04/12/2025
Solicitante: 
LINDE GMBH [DE]
LINDE GMBH
WO_2025247582_PA

Resumen de: WO2025247582A1

The invention relates to a method and a facility (100) for producing a hydrogen-containing product, wherein ammonia (1) is subjected to a pretreatment (10) so as to obtain an ammonia feed (2), and the ammonia feed (2) is converted into a cracked gas (3), containing ammonia, hydrogen, and nitrogen, in a heated ammonia cracker (20), a sulfur-free fuel gas being burned so as to form a water-containing flue gas (4a) in order to heat the ammonia cracker (20). The invention is characterized in that at least part of the water-containing flue gas is cooled to below the dew point during the pretreatment (10) of ammonia, condensed water and heated ammonia being obtained.

HYDROGEN PURIFICATION SYSTEM AND METHOD FOR PURIFYING HYDROGEN

NºPublicación:  WO2025249989A1 04/12/2025
Solicitante: 
POSCO HOLDINGS INC [KR]
\uD3EC\uC2A4\uCF54\uD640\uB529\uC2A4 \uC8FC\uC2DD\uD68C\uC0AC
WO_2025249989_PA

Resumen de: WO2025249989A1

According to exemplary embodiments of the present invention, provided are a hydrogen purification system and a method for purifying hydrogen, the hydrogen purification system comprising: a first reactor configured to produce a metal nitride and a hydrogen-rich gas by reacting a mixed gas containing hydrogen and nitrogen with a metal absorbent; and a second reactor configured to receive the metal nitride from the first reactor and regenerate same into the metal absorbent, wherein the pressure of the first reactor is 1-5 bar.

ELECTRODE FOR ALKALINE HYDROGEN EVOLUTION REACTION COMPRISING NAFION AND METAL-ORGANIC FRAMEWORK COMPOSITE AND MANUFACTURING METHOD THEREOF

NºPublicación:  WO2025249719A1 04/12/2025
Solicitante: 
POSTECH RES AND BUSINESS DEVELOPMENT FOUNDATION [KR]
\uD3EC\uD56D\uACF5\uACFC\uB300\uD559\uAD50 \uC0B0\uD559\uD611\uB825\uB2E8
WO_2025249719_PA

Resumen de: WO2025249719A1

The present invention relates to an electrode for a hydrogen evolution reaction of an alkaline water electrolysis cell, the electrode being characterized by comprising: a cocatalyst which is a composite comprising a Lewis acid-containing material and a metal-organic framework (MOF); and a catalyst surrounded by the cocatalyst. Therefore, according to the present invention, a water dissociation step of an alkaline hydrogen evolution reaction is promoted, hydrogen gas generated by the hydrogen evolution reaction is easily permeated, and Nafion is evenly dispersed by large pores generated by the MOF, thereby minimizing catalyst poisoning while implementing the effect of the cocatalyst on the entire surface.

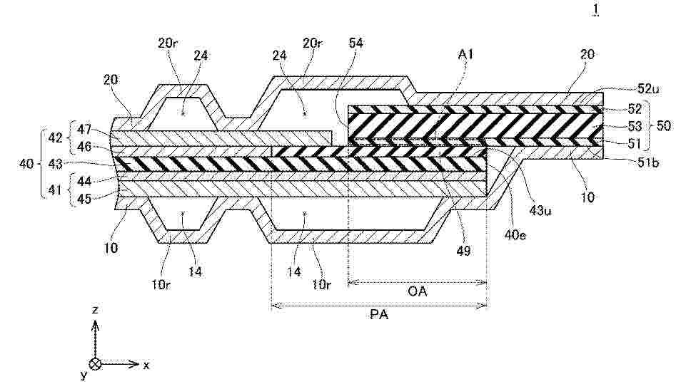
ELECTROCHEMICAL CELL, SOLID OXIDE ELECTROLYSIS CELL, CELL STACK, HOT MODULE, AND HYDROGEN PRODUCTION DEVICE

NºPublicación:  WO2025249472A1 04/12/2025
Solicitante: 
NITERRA CO LTD [JP]
\u65E5\u672C\u7279\u6B8A\u9676\u696D\u682A\u5F0F\u4F1A\u793E
WO_2025249472_PA

Resumen de: WO2025249472A1

An electrolysis cell 21 comprises a solid electrolyte layer 211, a fuel electrode layer 213 stacked and arranged on one surface side of the solid electrolyte layer 211, and an air electrode layer 212 stacked and arranged on the other surface side of the solid electrolyte layer 211. The fuel electrode layer 213 includes a functional layer 213a, a support layer 213b positioned on the side farther from the solid electrolyte layer 211 than from the functional layer 213a, and a mutual diffusion layer 213c positioned between the functional layer 213a and the support layer 213b so as to be in contact with both of the functional layer 213a and the support layer 213b. The mutual diffusion layer 213c includes: a first element which is one element constituting the functional layer 213a; and a second element which is one element constituting the support layer 213b and is different from the first element. The thickness of the mutual diffusion layer 213c is 1.1 μm or more and 9.7 μm or less.

ELECTROCHEMICAL CELL, SOLID OXIDE ELECTROLYSIS CELL, CELL STACK, HOT MODULE, AND HYDROGEN PRODUCTION DEVICE

NºPublicación:  WO2025249470A1 04/12/2025
Solicitante: 
NITERRA CO LTD [JP]
\u65E5\u672C\u7279\u6B8A\u9676\u696D\u682A\u5F0F\u4F1A\u793E
WO_2025249470_PA

Resumen de: WO2025249470A1

An electrolysis cell 21 includes: a solid electrolyte layer 211; a fuel electrode layer 213 stacked and arranged on the rear surface 211A side of the solid electrolyte layer 211; and an air electrode layer 212 stacked and arranged on the front surface 211B side of the solid electrolyte layer 211. A mutual diffusion layer 214 in contact with both the solid electrolyte layer 211 and the fuel electrode layer 213 is formed between the solid electrolyte layer 211 and the fuel electrode layer 213. The mutual diffusion layer 214 includes: a first element which is one element constituting the solid electrolyte layer 211; and a second element which is one element constituting the fuel electrode layer 213 and is different from the first element. The thickness T1 of the mutual diffusion layer 214 falls within the range of 1.5 μm or more and 4.8 μm or less.

ELECTROCHEMICAL CELL, SOLID OXIDE ELECTROLYSIS CELL, CELL STACK, HOT MODULE, AND HYDROGEN PRODUCTION DEVICE

NºPublicación:  WO2025249471A1 04/12/2025
Solicitante: 
NITERRA CO LTD [JP]
\u65E5\u672C\u7279\u6B8A\u9676\u696D\u682A\u5F0F\u4F1A\u793E
WO_2025249471_PA

Resumen de: WO2025249471A1

An electrolysis cell 21 comprises: a solid electrolyte layer 211 including ion-conductive oxide particles; a fuel electrode layer 213 laminated on the back surface 211A side of the solid electrolyte layer 211; and an air electrode layer 212 laminated on the upper surface 211B side of the solid electrolyte layer 211. The average particle diameter of the ion-conductive oxide particles in the solid electrolyte layer 211 is 0.40-1.24 µm.

ELECTROCHEMICAL CELL, SOLID OXIDE ELECTROLYSIS CELL, CELL STACK, HOT MODULE, AND HYDROGEN PRODUCTION DEVICE

NºPublicación:  WO2025249474A1 04/12/2025
Solicitante: 
NITERRA CO LTD [JP]
\u65E5\u672C\u7279\u6B8A\u9676\u696D\u682A\u5F0F\u4F1A\u793E
WO_2025249474_PA

Resumen de: WO2025249474A1

An electrolysis cell 21 comprises: a solid electrolyte layer 211 that includes oxide particles containing Zr; a fuel electrode layer 213 that is stacked and arranged on one surface side of the solid electrolyte layer 211 and includes metal particles and oxide particles containing Ce; and an air electrode layer 212 that is stacked and arranged on the other surface side of the solid electrolyte layer 211. A Raman spectrum of Stokes scattered light of each of the solid electrolyte layer 211 and the fuel electrode layer 213 (213a) has a peak in a wave number region of 334 cm-1 or more and 531 cm-1 or less. When the half widths of the peaks of the Raman spectra of the solid electrolyte layer 211 and the fuel electrode layer 213 (213a) in the wave number region are defined as an electrolyte half width and a fuel electrode half width, respectively, the ratio of the electrolyte half width to the fuel electrode half width is 3.5 or more and 5.7 or less.

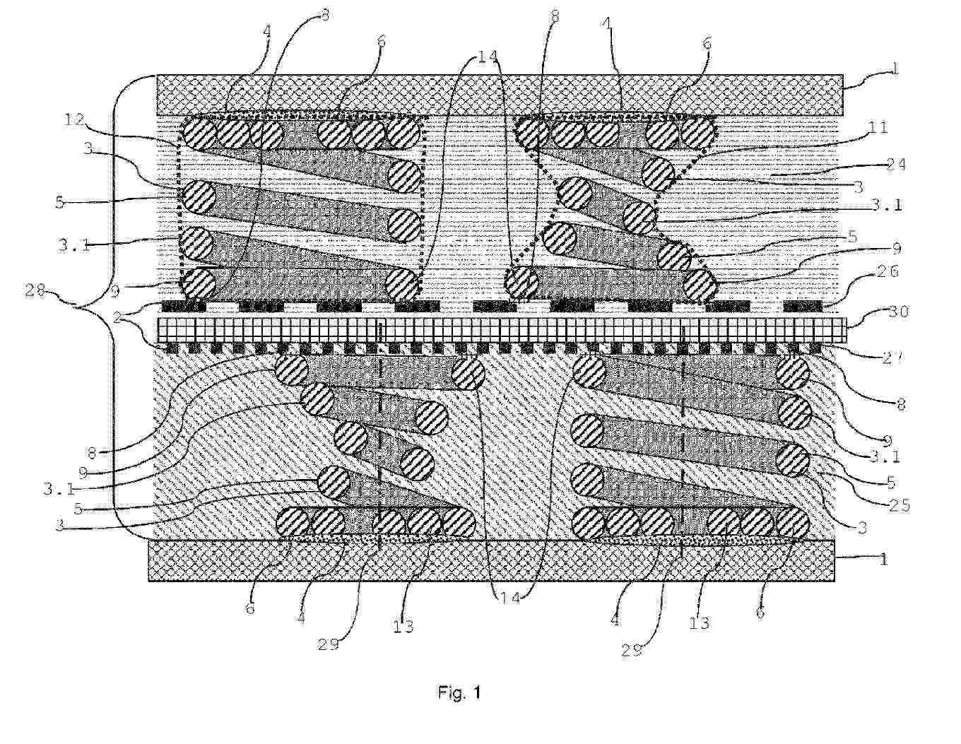
WATER ELECTROLYSIS DEVICE, GASKET, AND GASKET DEVICE

NºPublicación:  WO2025249562A1 04/12/2025
Solicitante: 
NOK CORP [JP]
\uFF2E\uFF2F\uFF2B\u682A\u5F0F\u4F1A\u793E
WO_2025249562_PA

Resumen de: WO2025249562A1

A water electrolysis device (5) is provided with gaskets (10). The gaskets (10) are configured to be used in a state where, with respect to one of the gaskets (10), another one of the gaskets (10) is reversed and overlayed. The gaskets (10) seal, in a cell (100), a space (S1) between a separator (101) and an electrolyte membrane (104) of a membrane assembly (103), and a space (S2) between a separator (102) and the electrolyte membrane (104). The gaskets (10) each have: a seal lateral surface (11) and a contact lateral surface (12) which form a pair; a first seal part (3) for sealing the space (S1) or the space (S2); and a second seal part (4) for sealing, on the outer peripheral side of the electrolyte membrane (104), a plurality of flow paths (2) between the separators (101, 102). The first seal part (3) is formed on the seal lateral surface (11) and the contact lateral surface (12), and the second seal part (4) is formed on the seal lateral surface (11) and the contact lateral surface (12).

METHOD FOR CONTROLLING WATER ELECTROLYSIS SYSTEM, AND WATER ELECTROLYSIS SYSTEM

NºPublicación:  WO2025249273A1 04/12/2025
Solicitante: 
HITACHI LTD [JP]
\u682A\u5F0F\u4F1A\u793E\u65E5\u7ACB\u88FD\u4F5C\u6240
WO_2025249273_PA

Resumen de: WO2025249273A1

Provided is a method for controlling a water electrolysis system with which operation states of a plurality of electrolysis stacks can be independently regulated highly responsively and highly efficiently. This method is for controlling a water electrolysis system which comprises: electrolysis stacks where water is electrolyzed to produce hydrogen and oxygen; a pure water feeder for feeding pure water to the electrolysis stacks; a first regulation part and a second regulation part, which are disposed between each electrolysis stack and the pure water feeder and are capable of regulating the operation state of the electrolysis stack; and an operation state regulation control unit which regulates the first regulation part and the second regulation part to regulate the operation states of the electrolysis stacks. The operation state regulation control unit, after receiving a command to change the operation state of an electrolysis stack, operates the first regulation part on the basis of the operation state and, when a predetermined requirement has been satisfied, operates the second regulation part simultaneously with the first regulation part on the basis of the operation state.

METHOD FOR ELECTROLYZING WATER, METHOD FOR PRODUCING HYDROGEN, AND METHOD FOR PRODUCING CELL OF PEM WATER ELECTROLYSIS DEVICE

NºPublicación:  WO2025248902A1 04/12/2025
Solicitante: 
TOHO TITANIUM CO LTD [JP]
\u6771\u90A6\u30C1\u30BF\u30CB\u30A6\u30E0\u682A\u5F0F\u4F1A\u793E
WO_2025248902_A1

Resumen de: WO2025248902A1

A method for electrolyzing water according to the present invention is a method for splitting water with the use of a PEM water electrolysis device which is provided with a cell in which a cathode, an electrolyte membrane, a porous transport layer, and an anode are stacked, wherein: the porous transport layer has a titanium porous body; in the electrolyte membrane-side surface of the titanium porous body, the average value of the areas of pores that open to the surface is 5 μm2 to 45 μm2 inclusive; the standard deviation value of the areas of the pores is 90 μm2 or less; the number of the pores that are present within a rectangular region that has an area of 22,000 μm2 and an aspect ratio of 4:3 is 120 or more; and the pressure applied in the stacking direction of the cathode, the electrolyte membrane, the porous transport layer, and the anode at the time of assembling the cell is set to 6 MPa or more.

COUPLING DEVICE FOR HYDROGEN GAS PRODUCTION AND CARBON DIOXIDE UTILIZATION

NºPublicación:  WO2025246521A1 04/12/2025
Solicitante: 
HUANENG CLEAN ENERGY RES INSTITUTE [CN]
\u4E2D\u56FD\u534E\u80FD\u96C6\u56E2\u6E05\u6D01\u80FD\u6E90\u6280\u672F\u7814\u7A76\u9662\u6709\u9650\u516C\u53F8
WO_2025246521_PA

Resumen de: WO2025246521A1

The present application provides a coupling device for hydrogen gas production and carbon dioxide utilization. The device comprises a spiral heat exchanger, a carbon dioxide collector, a steam generator, and an electrolytic cell, wherein the spiral heat exchanger inputs steam into the steam generator through a first pipe, the steam generator generates electric energy from the steam, the electric energy is transmitted to the electrolytic cell through a cable, and the steam is input into the electrolytic cell through a fourth pipe; the carbon dioxide collector is configured to collect carbon dioxide from flue gas produced by combustion and input the collected carbon dioxide into the spiral heat exchanger through a third pipe; the electrolytic cell is configured to produce hydrogen gas from the steam and the electric energy, and the produced hydrogen gas is introduced into the spiral heat exchanger through a second pipe; and the spiral heat exchanger is configured to promote a chemical reaction between the carbon dioxide and the hydrogen gas, and output a target compound.

ACTIVE WATER MOLECULE ELECTROLYSIS APPARATUS IN LIMITED SPACE, AND DEVICE

NºPublicación:  WO2025246212A1 04/12/2025
Solicitante: 
DELIGHTSTREAM ELECTRONIC TECH CHANGZHOU CO LTD [CN]
\u5E38\u5DDE\u6E90\u6B23\u7535\u5B50\u79D1\u6280\u6709\u9650\u516C\u53F8
WO_2025246212_PA

Resumen de: WO2025246212A1

Disclosed in the present invention is an active water molecule electrolysis apparatus in a limited space, comprising a housing having an airflow channel, wherein a membrane electrode assembly is disposed in the housing; the membrane electrode assembly divides the airflow channel into an air inlet end and an exhaust end, the air inlet end being provided with a continuous unidirectional moisture-permeable coating membrane, and the exhaust end being provided with an ePTFE microporous breathable protective membrane; and the housing is provided with an oxygen discharge channel that communicates the air inlet end with the outside. A device, comprising the active water molecule electrolysis apparatus, the internal space of the device being in communication with the air inlet end of the active water molecule electrolysis apparatus. In this way, the active water molecule electrolysis apparatus in a limited space and the device of the present invention utilize the difference in moisture permeability between the ePTFE microporous breathable protective membrane and the continuous unidirectional moisture-permeable coating membrane to realize continuous unidirectional discharge of water vapor from the inside to the outside environment, thereby effectively improving the efficiency of electrolytic dehumidification.

電解システムの制御装置および電解システム

NºPublicación:  JP2025176382A 04/12/2025
Solicitante: 
本田技研工業株式会社
JP_2025176382_PA

Resumen de: US2025361635A1

A control device for an electrolysis system includes a deterioration prediction unit that predicts a degree of deterioration of each of a water electrolysis stack and a compression stack, and a supplied electrical current control unit that controls an electrical current that is supplied to the water electrolysis stack and an electrical current that is supplied to the compression stack, wherein the supplied electrical current control unit controls the electrical current that is supplied to the stack having a larger degree of deterioration from among the water electrolysis stack and the compression stack to be constant, and adaptively controls the electrical current that is supplied to the stack having a smaller degree of deterioration from among the water electrolysis stack and the compression stack.

水素生成組成物及びその製造方法、並びに水素の生成方法

Nº publicación: JP2025176442A 04/12/2025

Solicitante:

トヨタ自動車株式会社

JP_2025176442_A

Resumen de: JP2025176442A

【課題】本発明は、水素を高収率及び高生成量で生成し得る手段を提供する。【解決手段】本発明の一態様は、粉体の形態の水素化マグネシウム及び粉体の形態のクエン酸を含み、水素化マグネシウムに対するクエン酸の質量比が2.5から3.5の範囲であり、加圧成型物の形態である、水素生成組成物に関する。本発明の別の一態様は、水素生成組成物の製造方法及び水素の生成方法に関する。【選択図】なし

traducir