Ministerio de Industria, Turismo y Comercio LogoMinisterior
 

Alerta

Resultados 487 resultados
LastUpdate Última actualización 01/01/2026 [06:59:00]
pdfxls
Publicaciones de solicitudes de patente de los últimos 60 días/Applications published in the last 60 days
previousPage Resultados 150 a 175 de 487 nextPage  

METAL OXIDE NANOTUBE ARRAY STRUCTURE CATALYST, AND PREPARATION METHOD THEREFOR AND USE THEREOF

NºPublicación:  WO2025246031A1 04/12/2025
Solicitante: 
NINGBO INSTITUTE OF MATERIALS TECH AND ENGINEERING CHINESE ACADEMY OF SCIENCES [CN]
\u4E2D\u56FD\u79D1\u5B66\u9662\u5B81\u6CE2\u6750\u6599\u6280\u672F\u4E0E\u5DE5\u7A0B\u7814\u7A76\u6240
WO_2025246031_PA

Resumen de: WO2025246031A1

A metal oxide nanotube array structure catalyst, and a preparation method therefor and a use thereof. The preparation method comprises the following steps: cleaning and polishing a metal sheet; immersing the polished metal sheet as an anode in an electrolyte solution to construct an electrochemical system and carrying out an anodic oxidation reaction to obtain a microporous template having a nanotube structure; immersing the microporous template into a metal salt sol for impregnation; taking out the impregnated microporous template, rinsing the surface of the impregnated microporous template with deionized water, then drying the impregnated microporous template, and calcining the impregnated microporous template at a high temperature to convert the metal salt sol into a metal oxide; and dissolving the microporous template with a dissolution solution to obtain the metal oxide nanotube array structure catalyst.

WATER ELECTROLYSIS MEMBRANE ELECTRODE, AND PREPARATION METHOD THEREFOR AND WATER ELECTROLYSER APPLYING SAME

NºPublicación:  WO2025246138A1 04/12/2025
Solicitante: 
EVE HYDROGEN ENERGY CO LTD [CN]
\u60E0\u5DDE\u4EBF\u7EAC\u6C22\u80FD\u6709\u9650\u516C\u53F8
WO_2025246138_A1

Resumen de: WO2025246138A1

A water electrolysis membrane electrode, and a preparation method therefor and a water electrolyser applying same. The water electrolysis membrane electrode comprises a cathode gas diffusion layer, a cathode catalytic layer, an anion exchange membrane, a hydrophobic anode catalytic layer and an anode gas diffusion layer. Raw materials for preparing the hydrophobic anode catalytic layer comprise an anode catalyst, a hydrophobic material and an anode ionomer, wherein calculated by mass, the ratio of the anode catalyst: the hydrophobic material: the anode ionomer is 10:1-3:1-3. The porosity of the hydrophobic anode catalytic layer is 10-40%.

ELEMENTO DE ELECTROLISIS, Y RECIPIENTE DE ELECTROLISIS DE AGUA ALCALINA

NºPublicación:  ES3047757A2 04/12/2025
Solicitante: 
TOKUYAMA CORP [JP]
TOKUYAMA CORPORATION
ES_3047757_PA

Resumen de: TW202441028A

Provided is an electrolysis element that can be easily maintained: for example, electrodes thereof can be easily replaced, and a separating wall thereof can be easily replated. The electrolysis element is provided with an electroconductive separating wall, an anode and a cathode which are electrically connected to the separating wall, a first gasket arranged in contact with the periphery of the separating wall, and a frame-shaped holding member receiving and holding the periphery of the separating wall and the first gasket. The holding member is provided with a frame-shaped base body, and a fixing means by which the separating wall is attachably and removably fixed to the frame-shaped base body.

SYSTEMS AND METHODS OF PROCESSING WASTE TO GENERATE ENERGY AND GREEN HYDROGEN

NºPublicación:  AU2024277487A1 04/12/2025
Solicitante: 
BERTRAM KAREN
BERTRAM, Karen
AU_2024277487_PA

Resumen de: US2025320419A1

Systems and methods for producing green hydrogen from a source material (e.g., biowaste) are contemplated. The source material is at least partially dehydrated to produce a dried intermediate and recovered water. The dried intermediate is pyrolyzed to produce syngas and a char. The recovered water is electrolyzed to produce oxygen and green hydrogen.

System and method for stabilizing the operation of facilities using hydrogen produced by low carbon sources

NºPublicación:  AU2025203497A1 04/12/2025
Solicitante: 
KELLOGG BROWN & ROOT LLC
Kellogg Brown & Root LLC
AU_2025203497_A1

Resumen de: AU2025203497A1

A system and a method for stabilizing hydrogen flow to a downstream process in a facility determining a hydrogen density and pressure profiles in the hydrogen storage unit 5 for different target net hydrogen flows at different time intervals of a time horizon of a renewable power availability profile, determining an operating target net hydrogen flow of a hydrogen feed to the downstream process, determining a target direct hydrogen flow of a hydrogen feed and a target stored hydrogen flow of a hydrogen feed to the downstream process, and controlling the operation of the downstream process based on the operating 10 target hydrogen flows. A system and a method for stabilizing hydrogen flow to a downstream process in a 5 facility determining a hydrogen density and pressure profiles in the hydrogen storage unit for different target net hydrogen flows at different time intervals of a time horizon of a renewable power availability profile, determining an operating target net hydrogen flow of a hydrogen feed to the downstream process, determining a target direct hydrogen flow of a hydrogen feed and a target stored hydrogen flow of a hydrogen feed to the downstream 10 process, and controlling the operation of the downstream process based on the operating target hydrogen flows. ay a y

DEVICE FOR HYDROGEN PRODUCTION

NºPublicación:  AU2024296614A1 04/12/2025
Solicitante: 
AFC ENERGY PLC
AFC ENERGY PLC
AU_2024296614_PA

Resumen de: AU2024296614A1

A hydrogen production device for producing a hydrogen rich gas from ammonia comprising a first chamber comprising an inner wall and an outer wall defining an internal volume, wherein the first chamber contains an ammonia decomposition catalyst disposed between the inner wall and the outer wall, the first chamber having one or more ammonia gas inlets and one or more raw cracked gas outlets, wherein said one or more ammonia gas inlets and one or more raw cracked gas outlets are arranged such that the ammonia flows through the first chamber from the one or more ammonia gas inlets to the one or more raw cracked gas outlets and contacts the ammonia decomposition catalyst; and one or more heat sources for heating the ammonia decomposition catalyst; wherein the first chamber has one or more fins, said one or more fins disposed between the inner wall and the outer wall of the first chamber, wherein the first chamber has an internal surface area, wherein the internal volume is between 10 ml and 100 litres and wherein the ratio of the internal surface area in mm2 to the internal volume in mm3 is between approximately 1:2 and 1:6.

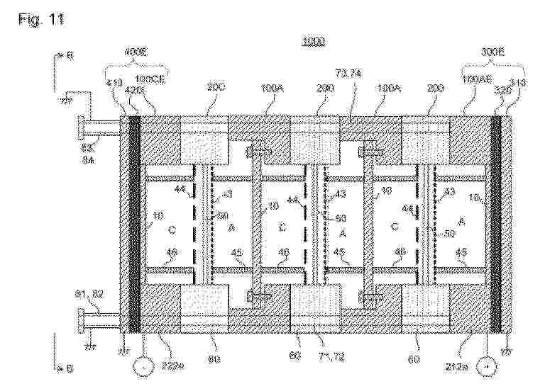
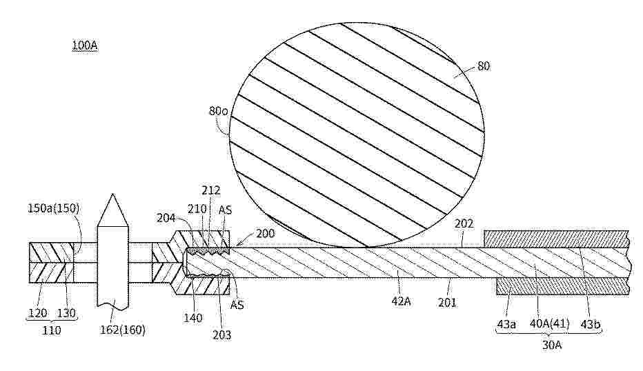
Water electrolysis cell, water electrolysis cell stack, and manufacturing method of water electrolysis cell

NºPublicación:  AU2025200173A1 04/12/2025
Solicitante: 
KK TOSHIBA
TOSHIBA ENERGY SYSTEMS & SOLUTIONS CORP
Kabushiki Kaisha Toshiba,
Toshiba Energy Systems & Solutions Corporation
AU_2025200173_A1

Resumen de: AU2025200173A1

A water electrolysis cell according to an embodiment includes: an anode electrode including an anode catalyst layer in which anode catalyst sheets are stacked via a gap, each anode catalyst sheet containing iridium oxide and being in the form of a nanosheet; a cathode electrode including a cathode catalyst layer in which cathode catalyst sheets are stacked via a gap, each cathode catalyst sheet containing platinum and being in the form of a nanosheet; and an electrolyte membrane containing a hydrocarbon-based material, placed between the anode electrode and the cathode electrode. A water electrolysis cell according to an embodiment includes: an anode electrode including an anode catalyst layer in 5 which anode catalyst sheets are stacked via a gap, each anode catalyst sheet containing iridium oxide and being in the form of a nanosheet; a cathode electrode including a cathode catalyst layer in which cathode catalyst sheets are stacked via a gap, each cathode catalyst sheet containing platinum and being in the form 10 of a nanosheet; and an electrolyte membrane containing a hydrocarbon-based material, placed between the anode electrode and the cathode electrode. an a n a n d t h e c a t h o d e e l e c t r o d e 36a 36b 36a34a 34b 34a 3/33/3 35 34 36 37 36a 34a 36b 34b 34a 36a an a n b b a a

DEVICE FOR PRODUCING HYDROGEN

NºPublicación:  AU2024296183A1 04/12/2025
Solicitante: 
AFC ENERGY PLC
AFC ENERGY PLC
AU_2024296183_PA

Resumen de: AU2024296183A1

The invention provides a device for producing hydrogen gas and a process therefor. It also provides a system for generating electrical energy from hydrogen gas. More particularly, the invention provides a device for producing hydrogen comprising an ammonia cracker having one or more raw cracked gas outlets in fluid communication with a common raw cracked gas flow conduit, one or more gas separators in fluid communication with the ammonia cracker via the common raw cracked gas flow conduit, and in fluid communication with a common partially purified cracked gas flow conduit; one or more filter assemblies, each having a first container having one or more walls, one or more partially purified cracked gas inlets and one or more purified cracked gas outlets, wherein the one or more partially purified cracked gas inlets are in fluid communication with the one or more gas separators via the common partially purified cracked gas flow conduit, the first container containing a single mass of adsorbent comprising silica gel, wherein the one or more partially purified cracked gas inlets and one or more purified cracked gas outlets are arranged such that a partially purified cracked gas flows through the single mass of adsorbent in use.

SYSTEM COMBINATION COMPRISING AT LEAST TWO ELECTROLYSIS SYSTEMS AND A POWER SUPPLY SOURCE

NºPublicación:  US2025373010A1 04/12/2025
Solicitante: 
SIEMENS ENERGY GLOBAL GMBH & CO KG [DE]
Siemens Energy Global GmbH & Co. KG
CN_119452539_PA

Resumen de: US2025373010A1

A system combination having at least two electrolysis systems, a power supply source having a direct voltage output, and a central supply line is provided. The central supply line is connected to the direct voltage output of the power supply source, so that a direct current can be fed into the central supply line and a central DC network designed for high voltage is provided, to which DC network the electrolysis systems are connected by means of the central supply line. The power supply source has, as a power generator, a wind turbine, to which a rectifier having a direct voltage output is connected, the direct voltage output being designed for the high voltage.

A SYSTEM AND METHOD FOR PRODUCING AMMONIA

NºPublicación:  US2025368520A1 04/12/2025
Solicitante: 
SIEMENS ENERGY GLOBAL GMBH & CO KG [DE]
Siemens Energy Global GmbH & Co. KG
JP_2025520839_PA

Resumen de: US2025368520A1

The invention relates to a system and a method for producing ammonia, including an ammonia reactor which is formed for the generation of ammonia (NH3) from a synthesis gas, where the synthesis gas includes hydrogen (H2) and nitrogen (N2), further including an electrolizer which is formed to generate hydrogen and oxygen from water, where the electrolizer is operated with renewable energies, further including a gas turbine operated with hydrogen, where the exhaust gas of the gas turbine containing nitrogen (N2) is employed for the generation of the synthesis gas.

WATER ELECTROLYSIS MEMBRANE ELECTRODE, METHOD FOR PREPARING THE SAME, AND WATER ELECTROLYZER APPLYING THE SAME

NºPublicación:  US2025369130A1 04/12/2025
Solicitante: 
EVE HYDROGEN ENERGY CO LTD [CN]
EVE HYDROGEN ENERGY CO., LTD
WO_2025246138_A1

Resumen de: US2025369130A1

The present disclosure provides a water electrolysis membrane electrode, a method for preparing the water electrolysis membrane electrode, and a water electrolyzer applying the water electrolysis membrane electrode. The water electrolysis membrane electrode includes a cathode gas diffusion layer, a cathode catalytic layer, an anion exchange membrane, a hydrophobic anode catalytic layer, and an anode gas diffusion layer that are stacked in sequence. Raw materials for preparing the hydrophobic anode catalytic layer include an anode catalyst, a hydrophobic material, and an anode ionomer. A mass ratio of the anode catalyst, the hydrophobic material, and the anode ionomer is 10:1-3:1-3. A porosity of the hydrophobic anode catalytic layer is 10%-40%.

NAFION AND METAL ORGANIC FRAMEWORK COMPOSITE ELECTRODE FOR ALKALINE HYDROGEN EVOLUTION REACTION AND MANUFACTURING METHOD THEREOF

NºPublicación:  US2025369135A1 04/12/2025
Solicitante: 
POSTECH RES & BUSINESS DEV FOUND [KR]
POSTECH RESEARCH AND BUSINESS DEVELOPMENT FOUNDATION
US_2025369135_PA

Resumen de: US2025369135A1

The present invention relates to an electrode for a hydrogen evolution reaction in an alkaline water electrolysis cell, wherein the electrode comprises: a co-catalyst consisting of a composite containing a Lewis acid-containing material and a metal-organic framework (MOF); and a catalyst surrounded by the co-catalyst. According to the present invention, the water dissociation step of the alkaline hydrogen evolution reaction is promoted, hydrogen gas generated by the hydrogen evolution reaction can easily permeate through the structure, and Nafion is uniformly dispersed by the large pores created by the MOF, thereby implementing the co-catalyst effect across the entire surface while minimizing catalyst poisoning.

OXYGEN GENERATION SYSTEMS FOR LOW GRAVITY APPLICATIONS

NºPublicación:  US2025369137A1 04/12/2025
Solicitante: 
HAMILTON SUNDSTRAND SPACE SYS [US]
Hamilton Sundstrand Space Systems International, Inc
US_2025369137_PA

Resumen de: US2025369137A1

Oxygen generation systems for use in low-gravity environments include a cell stack with an anode-side phase separator and a cathode-side phase separator fluidly coupled to outlets of the cell stack. An anode-side flow controller and a cathode-side flow controller are arranged downstream from the respective phase separators. A pressure differential is induced upstream of the anode-side flow controller that is greater in pressure than a downstream side thereof. A pressure differential is induced upstream of the cathode-side flow controller that is greater in pressure than a downstream side thereof. An input flow controller is arranged upstream from the stack inlet, the input flow controller configured to cause a pressure differential such that an upstream side of the input flow controller is greater than a downstream side of the input flow controller.

LOW TEMPERATURE PRODUCTION OF HYDROGEN PEROXIDE

NºPublicación:  US2025369126A1 04/12/2025
Solicitante: 
HPNOW APS [DK]
HPNow ApS
WO_2025248075_PA

Resumen de: US2025369126A1

Embodiments for an apparatus for producing hydrogen peroxide are provided. The apparatus includes a heat exchanger configured to remove heat from deionized water prior to passing the deionized water through the anode passage of one or more cells. The apparatus is also configured to oxidize the deionized water in the anode passage of the one or more cells. The apparatus also includes a controller configured to control the heat exchanger and a first one or more temperature sensors electrically coupled to the controller. The first one or more temperature sensors are configured to provide a first temperature reading based on a temperature of the one or more cells, wherein the controller is configured to control the heat exchanger to maintain the first temperature reading at or below a first temperature threshold.

OXYGEN GENERATION SYSTEMS FOR LOW GRAVITY APPLICATIONS

NºPublicación:  US2025369139A1 04/12/2025
Solicitante: 
HAMILTON SUNDSTRAND CORP [US]
Hamilton Sundstrand Corporation

Resumen de: US2025369139A1

Oxygen generation systems for use in low-gravity environments include a cell stack having an anode and a cathode. An anode-side phase separator and a cathode-side phase separator are each fluidly coupled to outlets of the cell stack. The anode-side phase separator separates a mixture into liquid water and gaseous oxygen and the cathode-side phase separates a mixture int liquid water and gaseous hydrogen. A ducting system is configured to house the cell stack and the cathode-side phase separator, a hydrogen sensor is arranged at an outlet of the ducting system, and a controller is configured to stop oxygen generation at the cell stack when a concentration of hydrogen is detected at or above a threshold level at the hydrogen sensor at the outlet of the ducting system.

SYSTEM AND METHODS FOR THE PRODUCTION OF HYDROGEN GAS

NºPublicación:  US2025369125A1 04/12/2025
Solicitante: 
SCHANK JR WILLIAM H [US]
CARDONA STEVEN C [US]
SCHANK, JR. William H,
CARDONA Steven C

Resumen de: US2025369125A1

Methods and systems are disclosed for using industrial waste for the production of hydrogen gas. The method includes examining a pH level of the industrial waste, removing contaminate from the industrial waste, conditioning and concentrating the industrial waste to a proton-rich solution, and using the resulting proton-rich solution as the proton source in a hydrogenase catalyzed hydrogen production system.

METHOD FOR ONE-STEP SYNTHESIS OF SINGLE ATOMS AND NANOPARTICLES CO-DECORATED CARBON NANOTUBE ARRAYS

NºPublicación:  US2025369134A1 04/12/2025
Solicitante: 
CITY UNIV OF HONG KONG [CN]
City University of Hong Kong

Resumen de: US2025369134A1

A liquid-assisted chemical vapor deposition method for preparing hierarchical Ni/NiO@Ru—NC nanotube arrays includes forming Ni/NiO@Ru—NC on surfaces of the NF with single-atom Ru anchored on N-doped carbon (Ru—NC) nanotube and Janus Ni/NiO NPs encapsulated on the tips. The forming Ni/NiO@Ru—NC includes pretreating the NF; creating a CH3CN/RuCl3/Ar atmosphere in the tube furnace to in-situ grow the Ni/NiO@Ru—NC nanotube arrays on the pretreated NF. The bifunctional Ni/NiO@Ru—NC electrocatalyst exhibits overpotentials of 88 m V and 261 m V for hydrogen evolution reaction (HER) and oxygen evolution reaction (OER) at 100 mA cm−2 in alkaline solution, respectively. Meanwhile, the bifunctional Ni/NiO@Ru—NC can stably operate an anion-exchange membrane water electrolysis (AEMWE) system for 50 hours under 500 mA cm−2 at a voltage of 1.95±0.05 V in a 1.0 M KOH solution at room temperature. An overall water-splitting electrolyzer can be efficiently driven by a solar cell.

Electrolysis apparatus using separation of high-concentrated proton

NºPublicación:  KR20250169953A 04/12/2025
Solicitante: 
주식회사한국비엔에스
KR_20250169953_PA

Resumen de: KR20250169953A

본 발명은 고농도 양성자 분리를 이용한 수전해장치에 관한 것으로, 보다 상세하게는 수소전극에 인접하여 고농도 양성자 분리하여 수소 발생 반응을 촉진할 수 있는 수전해장치에 관한 것이다.

CATALYST-LOADED CARBON, MEMBRANE ELECTRODE ASSEMBLY USING SAME FOR POLYMER ELECTROLYTE FUEL CELLS, AND POLYMER ELECTROLYTE FUEL CELL

NºPublicación:  EP4657576A1 03/12/2025
Solicitante: 
ISHIFUKU METAL IND [JP]
TPR CO LTD [JP]
Ishifuku Metal Industry Co., Ltd,
TPR CO., LTD
EP_4657576_PA

Resumen de: EP4657576A1

Problem To provide a catalyst-loaded carbon having a high initial activity and excellent durability. Solution A catalyst-loaded carbon including catalyst particles and a carbon support, the catalyst particles being loaded on the carbon support. The carbon support has a crystallite size of 3.5 nm or greater and 9 nm or less, a BET specific surface area of 300 m<sup>2</sup>/g or greater and 450 m<sup>2</sup>/g or less, and a pore size of 5.0 nm or greater and 20.0 nm or less. The catalyst particles are made of platinum or a platinum alloy, have a crystallite size of 2.5 nm or greater and 5.0 nm or less and a surface area of 40 m<sup>2</sup>/g or greater and 80 m<sup>2</sup>/g or less.

Hydrogen Distribution Management System

NºPublicación:  KR20250169507A 03/12/2025
Solicitante: 
주식회사케이엘테크놀로지
KR_20250048939_PA

Resumen de: KR20250169507A

본 발명은 수소 유통 관리 시스템에 관한 것으로, 풍력, 태양광 등의 재생에너지 및 기타 부생수소 등을 이용해 생산하는 수소 유통을 효율적으로 관리할 수 있도록, 풍력, 태양광 등 재생에너지 및 기타 부생수소 등을 이용해 전기에너지를 생산하는 재생에너지 발전장치에서 생산된 전기에너지를 이용해 물을 수전해장치에서 전기분해하여 수소를 추출하여 기체 또는 액체 상태로 저장하는 저장 탱크를 관리하는 공급자 단말기와; 수소를 주문하는 수요자 단말기와; 상기 수요자 단말기로부터 수소주문정보가 수신되면 상기 공급자 단말기로 수소주문정보를 전송하고, 상기 공급자 단말기로부터 상기 저장 탱크에 입출되는 수소공급정보를 수집하여 수소유통정보를 생성하는 수소유통 관리서버; 및 상기 저장 탱크의 수소를 상기 수요자가 주문한 목적지에 운송하는 수소운송수단에 구비되어 상기 수소운송수단의 상태를 감시하여 수소운송정보를 상기 수소유통 관리서버로 전송하는 운송감시장치;를 포함하는 것을 특징으로 하는 수소 유통 관리 시스템을 제공한다.

WATER ELECTROLYSIS STACK AND WATER ELECTROLYSIS SYSTEM

NºPublicación:  EP4656774A2 03/12/2025
Solicitante: 
TOYOTA MOTOR CO LTD [JP]
TOYOTA JIDOSHA KABUSHIKI KAISHA
EP_4656774_PA

Resumen de: EP4656774A2

Provided is a water electrolysis stack capable of improving durability. The water electrolysis stack includes a cell stack that is formed by stacking a plurality of water electrolysis cells, an inter-cell space is formed between each adjacent ones of the water electrolysis cells in the cell stack, and gas flows into the inter-cell spaces in water electrolysis.

A FLOATING POWER PLANT AND AN OFFSHORE ELECTRICITY GENERATION PLANT

NºPublicación:  EP4656506A1 03/12/2025
Solicitante: 
SOLARDUCK HOLDING B V [NL]
SolarDuck Holding B.V
EP_4656506_PA

Resumen de: EP4656506A1

A floating power plant (2) comprises a plurality of interconnected floating platforms (6) which are movable with respect to each other. Each floating platform (6) comprises a floating member (8), wherein the floating member (8) of at least one floating platform (6) has an internal chamber (9) for storing hydrogen. The floating power plant (2) is provided with an electrolyzer including a hydrogen output and a fuel cell including a hydrogen input. The largest number of the floating platforms (6) is provided with PV panels (3) and at least one of the floating platforms (6) is provided with the electrolyzer and/or the fuel cell. The electrolyzer is electrically connectable to the PV panels (3) and the hydrogen output and/or the hydrogen input is fluidly connectable to the internal chamber (9) of the floating member (8) of the at least one platform (6).

WATER-EFFICIENT METHOD OF STORING HYDROGEN USING A BICARBONATE/FORMATE BASED REACTION SYSTEM

NºPublicación:  EP4656590A1 03/12/2025
Solicitante: 
AKROS ENERGY GMBH [DE]
AKROS Energy GmbH
EP_4656590_A1

Resumen de: EP4656590A1

The present invention relates to a water-efficient method of storing hydrogen using a bicarbonate/formate-based aqueous reaction system, wherein the method comprises:(A) reducing aqueous bicarbonate using hydrogen to form formate and water,(B) at least partially separating water from the aqueous reaction system to provide water and concentrated salt components comprising formate, and(C) using the water provided in step (B) to form hydrogen for use in step (A) and/or to dissolve concentrated salt components comprising bicarbonate to provide aqueous bicarbonate for use in step (A).

A FLOATING HYDROGEN PRODUCTION PLANT AND AN OFFSHORE HYDROGEN PRODUCTION SYSTEM

NºPublicación:  EP4656771A1 03/12/2025
Solicitante: 
SOLARDUCK HOLDING B V [NL]
SolarDuck Holding B.V
EP_4656771_PA

Resumen de: EP4656771A1

A floating hydrogen production plant (2) comprises a plurality of interconnected floating platforms (6) which are movable with respect to each other. Each floating platform (6) comprises a floating member (7). The floating member (7) of at least one floating platform (6) has an internal chamber (8) for storing hydrogen. Each of the floating platforms (6) is provided with a plurality of hydrogen production devices (3) for producing hydrogen by electrolysis of water in the ambient air through solar energy. The hydrogen production devices (3) have respective hydrogen ports which are fluidly connectable to the internal chamber (8) of the floating member (7) of the at least one floating platform (6).

METHOD AND PLANT FOR OBTAINING A HYDROGEN-CONTAINING PRODUCT

Nº publicación: EP4656592A1 03/12/2025

Solicitante:

LINDE GMBH [DE]
SELAS LINDE GMBH [DE]
Linde GmbH,
Selas-Linde GmbH

EP_4656592_PA

Resumen de: EP4656592A1

Die Erfindung betrifft ein Verfahren sowie eine Anlage (100) zur Herstellung eines Wasserstoff enthaltenden Produkts, wobei Ammoniak (1) unter Erhalt eines Ammoniakeinsatzes (2) einer Vorbehandlung (10) unterworfen und der Ammoniakeinsatz (2) in einem beheizten Ammoniakcracker (20) zu einem Ammoniak sowie Wasserstoff und Stickstoff enthaltenden Spaltgas (3) umgesetzt wird, wobei zur Beheizung des Ammoniakcrackers (20) ein schwefelfreies Brenngas unter Bildung eines wasserhaltigen Rauchgases (4a) verfeuert wird. Kennzeichnend hierbei ist, dass zumindest ein Teil des wasserhaltigen Rauchgases in der Vorbehandlung (10) gegen Ammoniak bis unter den Taupunkt abgekühlt wird, wobei kondensiertes Wasser sowie angewärmtes Ammoniak erhalten werden.

traducir