Ministerio de Industria, Turismo y Comercio LogoMinisterior
 

Alerta

Resultados 487 resultados
LastUpdate Última actualización 01/01/2026 [06:59:00]
pdfxls
Publicaciones de solicitudes de patente de los últimos 60 días/Applications published in the last 60 days
previousPage Resultados 200 a 225 de 487 nextPage  

浮体式風力タービンから水上移動手段に水素を輸送する方法

NºPublicación:  JP2025538564A 28/11/2025
Solicitante: 
クルーズオフショアゲーエムベーハー
JP_2025538564_PA

Resumen de: WO2024115474A1

The aim of the invention is to transport energy produced in an environmentally friendly manner by means of an offshore wind turbine to land in a simple and reliable manner. This is achieved by a method (100) for transporting hydrogen from a floating wind turbine (10) to a water vehicle (11), wherein hydrogen is provided in a storage tank (31) of a floating wind turbine (10), and a water vehicle (11) with a transport tank (36) is positioned by the floating wind turbine (10). The hydrogen is transported from the storage tank (31) to the transport tank (36) using a line (35) which is designed to transport the hydrogen.

二酸化炭素の分離を伴う二酸化炭素からの合成燃料の製造

NºPublicación:  JP2025538590A 28/11/2025
Solicitante: 
イエフペエネルジヌヴェル
JP_2025538590_PA

Resumen de: CN120225638A

The invention relates to a device/method for capturing/converting CO2. The present invention relates to a process for producing CO and water, comprising/using a CO2 capture unit (2) that produces a CO2-rich effluent (3), a water electrolysis unit (5) that converts water (4) into oxygen (6) and hydrogen (7), an RWGS unit (8) that treats the CO2-rich effluent with hydrogen (7) and produces an RWGS gas (9) enriched in CO and water, an FT unit (13) that converts the RWGS gas and produces an FT effluent (14), a first separation unit (15) that treats the FT effluent and produces a hydrocarbon effluent (17) and a gas effluent (33), a second separation unit (34) separating the first gas (33) producing a CO2-lean gas (18) and a CO2-rich gas (35) fed to the RWGS unit, a hydrogen unit (20) treating the hydrocarbon effluent to produce a hydrocarbon fraction (21).

飛行体用気体供給システム

NºPublicación:  JP2025173908A 28/11/2025
Solicitante: 
愛三工業株式会社
JP_2025173908_PA

Resumen de: JP2025173908A

【課題】飛行体内の酸素濃度を制御することができる飛行体用気体供給システムを得る。【解決手段】飛行体用気体供給システム10は、飛行機12内に配置されて空気に含まれる水分を吸着しかつ光が照射されることで水を分解して酸素を発生させる光触媒作用を有する多孔性配位高分子を含んで構成された吸着体14と、飛行機12内に配置されて飛行機12内の酸素濃度を測定可能な酸素濃度センサ16と、飛行機12内に配置されて吸着体14に光を照射可能とされると共に光の光量を調整可能とされた照明装置18とを備えている。【選択図】図1

アンモニアを分解するためのプロセス及び装置

NºPublicación:  JP2025538428A 28/11/2025
Solicitante: 
エアプロダクツアンドケミカルズインコーポレイテッド
JP_2025538428_PA

Resumen de: CN120225461A

The process for cracking ammonia is improved by using heat generated in a compression unit for compressing PSA off-gas recycled to a PSA unit to preheat liquid ammonia prior to gasification and cracking. Heat is transferred using a heat transfer fluid, such as an aqueous solution comprising from about 50% to about 60% by weight of a diol, such as ethylene glycol or propylene glycol.

水電解セル、水電解セルスタックおよび水電解セルの製造方法

NºPublicación:  JP2025174833A 28/11/2025
Solicitante: 
株式会社東芝
JP_2025174833_PA

Resumen de: US2025354277A1

A water electrolysis cell according to an embodiment includes: an anode electrode including an anode catalyst layer in which anode catalyst sheets are stacked via a gap, each anode catalyst sheet containing iridium oxide and being in the form of a nanosheet; a cathode electrode including a cathode catalyst layer in which cathode catalyst sheets are stacked via a gap, each cathode catalyst sheet containing platinum and being in the form of a nanosheet; and an electrolyte membrane containing a hydrocarbon-based material, placed between the anode electrode and the cathode electrode.

Process for producing synthetic hydrocarbons from biomass

NºPublicación:  NZ788420A 28/11/2025
Solicitante: 
EXPANDER ENERGY INC
EXPANDER ENERGY INC
MX_2022005578_A

Resumen de: NZ788420A

A process for preparing synthetic hydrocarbons from a biomass feedstock is provided. The process involves electrolyzing water in an electrolyzer to produce oxygen and hydrogen, using the generated oxygen to gasify a biomass feedstock under partial oxidation reaction conditions to generate a hydrogen lean syngas, adding at least a portion of the generated hydrogen to the hydrogen lean syngas to formulate hydrogen rich syngas, which is reacted a Fischer Tropsch (FT) reactor to produce the synthetic hydrocarbons and water. At least a portion of the water produced in the FT reaction is recycled for use in the electrolysis step, and optionally using heat generated from the FT reaction to dry the biomass feedstock.

Conversion of solid waste into syngas and hydrogen

NºPublicación:  NZ799208A 28/11/2025
Solicitante: 
RWE GENERATION NL B V
RWE Generation NL B.V
TN_2023000049_A1

Resumen de: NZ799208A

The method and plant (1) for conversing solid recovered fuel pellets (117) made from municipal solid waste (103) allow the transformation of the municipal solid waste (103) into hydrogen with a high yield instead of landfilling or incinerating the municipal solid waste (103). The hydrogen rich product gas stream (601) can be used as feedstock for chemical reactions or for storing energy in a releasable manner.

电解槽电池框架组件和电解槽

NºPublicación:  CN121039324A 28/11/2025
Solicitante: 
星际之门氢解决方案公司
CN_121039324_PA

Resumen de: WO2024231569A1

The present invention discloses an electrolyser cell frame assembly comprising a cell frame with an inner peripheral edge and an outer peripheral edge; a gasket with an inner peripheral edge and an outer peripheral edge; and a cell element with a peripheral edge compressed between the gasket and the cell frame. The gasket exhibits compressible characteristics whereas the cell frame exhibits rigid characteristics. The outer peripheral edge of the gasket extends outwards over the peripheral edge of the cell element in the direction of the outer peripheral edge of the cell frame such that the gasket overlaps a predefined part of the cell frame.

从液体进料流中产生氢气和氧气的方法

NºPublicación:  CN121039323A 28/11/2025
Solicitante: 
马来西亚国家石油公司
CN_121039323_A

Resumen de: WO2024162842A1

A method of generating hydrogen and oxygen from a liquid feed stream through an integrated system of forward osmosis and electrolysis, wherein the method comprising the steps of feeding water into an electrolyte solution by means of forward osmosis and applying a voltage across the electrolyte solution to generate hydrogen and oxygen, characterized in that the electrolyte solution comprising an electrolyte, an ionic liquid and a solvent, wherein the electrolyte is used in an amount ranging between 1 wt% to 10 wt% of the electrolyte solution, wherein the ionic liquid is used in an amount ranging between 1 wt% to 5 wt% of the electrolyte solution and wherein the solvent is used in an amount ranging between 75 wt% to 99 wt% of the electrolyte solution.

用于生产氢的方法和用于生产氢的设备

NºPublicación:  CN121039322A 28/11/2025
Solicitante: 
海兰德控股公司
CN_121039322_PA

Resumen de: WO2024184586A1

The invention relates to a method for producing hydrogen. The method comprises providing water and a gaseous substance, the gaseous substance comprises hydrogen atoms and carbon atoms, producing a mixture comprising the water and bubbles comprising the gaseous substance, decreasing diameter of the bubbles comprising the gaseous substance, and producing gaseous hydrogen by decomposing the gaseous substance in the bubbles having the decreased diameter. The invention further relates to apparatus for producing hydrogen gas.

一种电极催化剂的制备方法

NºPublicación:  CN121023553A 28/11/2025
Solicitante: 
苏州莒纳新材料科技有限公司
CN_121023553_PA

Resumen de: CN118461035A

The invention provides an electrode catalyst and a preparation method and application thereof, the electrode catalyst comprises a nanosheet catalyst structure, a plurality of holes are formed in the surface of the nanosheet catalyst structure, and the size of the holes is smaller than 80 nm. According to the electrode catalyst and the preparation method and application thereof, electrode catalysts of different structures are obtained, the specific surface area of the electrode catalyst is increased, and active sites are increased, so that the catalytic efficiency is improved, and the production cost is reduced.

LAMINATE FOR WATER ELECTROLYSIS DEVICE, MEMBRANE ELECTRODE ASSEMBLY FOR WATER ELECTROLYSIS DEVICE, AND WATER ELECTROLYSIS DEVICE

NºPublicación:  US2025361629A1 27/11/2025
Solicitante: 
TOPPAN HOLDINGS INC [JP]
TOPPAN Holdings Inc
US_2025361629_PA

Resumen de: US2025361629A1

A laminate for a water electrolysis device includes a polymer electrolyte membrane and an electrode catalyst layer provided on one surface of the polymer electrolyte membrane. The electrode catalyst layer includes a catalyst, a polymer electrolyte, and a fibrous material. A membrane electrode assembly for a water electrolysis device includes the laminate for a water electrolysis device and a second electrode catalyst layer, and includes an electrode catalyst layer, a polymer electrolyte membrane, and a second electrode catalyst layer in this order.

PLANT AND PROCESS COMPRISING AN AUTOTHERMAL REFORMER FOR PRODUCING SYNTHETIC FUELS WITHOUT EMITTING CARBON DIOXIDE

NºPublicación:  WO2025242614A1 27/11/2025
Solicitante: 
EDL ANLAGENBAU GMBH [DE]
EDL ANLAGENBAU GESELLSCHAFT MBH
WO_2025242614_PA

Resumen de: WO2025242614A1

A plant for producing synthetic fuels, in particular aviation turbine fuel (kerosene), crude gasoline and/or diesel, comprises: • a) a synthesis gas production device for production of a crude synthesis gas comprising carbon monoxide, hydrogen and carbon dioxide from i) carbon dioxide, ii) water, iii) methane and/or hydrogen and iv) oxygen, wherein the synthesis gas production device comprises at least one autothermal reformer, wherein the at least one autothermal reformer comprises at least one feed conduit i) for carbon dioxide, ii) for water, iii) for methane and/or for hydrogen and iv) for oxygen, and a discharge conduit for crude synthesis gas, • b) a separation device for separation of carbon dioxide from the crude synthesis gas produced in the synthesis gas production device, having a discharge conduit for carbon dioxide and a discharge conduit for synthesis gas, • c) a Fischer-Tropsch device for production of hydrocarbons by a Fischer-Tropsch process from the synthesis gas from which carbon dioxide has been separated in the separation device, • d) a refining device for refining the hydrocarbons produced in the Fischer-Tropsch device to give the synthetic fuels and e1) an electrolysis device for separating water into hydrogen and oxygen and/or e2) a methane-steam reformer which is electrically heated by induction and comprises at least one feed conduit for methane, for water and for hydrogen, and a discharge conduit for crude synthesis gas, and the plant furthe

ELECTROLYSIS DEVICE

NºPublicación:  US2025361626A1 27/11/2025
Solicitante: 
HONDA MOTOR CO LTD [JP]
HONDA MOTOR CO., LTD
US_2025361626_PA

Resumen de: US2025361626A1

An electrolysis device includes a water electrolysis stack configured to electrolyze water, a gas-liquid separator configured to separate hydrogen gas from water discharged from the water electrolysis stack, and a hydrogen compression stack configured to compress the hydrogen gas separated by the gas-liquid separator. The gas-liquid separator includes a storage tank configured to store water, and a maximum storage water level that is a maximum value of a water level that can be allowed in the storage tank is predetermined, and the hydrogen compression stack is located above the maximum storage water level.

METHANE SYNTHESIS SYSTEM

NºPublicación:  US2025361637A1 27/11/2025
Solicitante: 
MITSUBISHI ELECTRIC CORP [JP]
Mitsubishi Electric Corporation
US_2025361637_PA

Resumen de: US2025361637A1

A methane synthesis system according to the present disclosure includes: a co-electrolysis part that obtains hydrogen and carbon monoxide by electrolyzing water and carbon dioxide, a methanation reaction part that obtains a product gas containing methane by a methanation reaction that uses the hydrogen and the carbon monoxide, and a cooler having a distribution channel in which a refrigerant capable of phase transition, is distributed. The cooler cools the methanation reaction part using heat of vaporization from vaporizing at least a portion of the refrigerant on an inside of the distribution channel.

PORE FILLING MEMBRANE, FUEL CELL, AND ELECTROLYSIS DEVICE

NºPublicación:  US2025361634A1 27/11/2025
Solicitante: 
NIPPON KAYAKU KK [JP]
INST OF SCIENCE TOKYO [JP]
Nippon Kayaku Kabushiki Kaisha,
INSTITUTE OF SCIENCE TOKYO
US_2025361634_PA

Resumen de: US2025361634A1

A pore-filling membrane having excellent chemical durability and mechanical strength, a fuel cell including the pore-filling membrane and having excellent durability, and an electrolysis device are provided. The pore-filling membrane has a porous base material and a polyarylene polymer, in which the polyarylene polymer is filled into pores of the porous base material.

TRANSITION METAL-DOPED OXIDE NANOPARTICLES GROWN ON NICKEL FOAM FOR ELECTROCHEMICAL GENERATION OF HYDROGEN

NºPublicación:  US2025361631A1 27/11/2025
Solicitante: 
KING FAHD UNIV OF PETROLEUM AND MINERALS [SA]
KING FAHD UNIVERSITY OF PETROLEUM AND MINERALS
US_2025361631_PA

Resumen de: US2025361631A1

A method of generating hydrogen using an electrocatalyst including NiMoxCo2-xO4 nanoparticles deposited on a nickel foam substrate, where x>0 and x≤0.06. A first portion of the NiMoxCo2-xO4 nanoparticles have a nano-needle morphology, where the nano-needles assemble to form a sphere in which the nano-needles project horizontally from the sphere, and the sphere has an average diameter of 1-5 micrometers (μm).

CONTROL DEVICE FOR ELECTROLYSIS SYSTEM AND ELECTROLYSIS SYSTEM

NºPublicación:  US2025361635A1 27/11/2025
Solicitante: 
HONDA MOTOR CO LTD [JP]
HONDA MOTOR CO., LTD
US_2025361635_PA

Resumen de: US2025361635A1

A control device for an electrolysis system includes a deterioration prediction unit that predicts a degree of deterioration of each of a water electrolysis stack and a compression stack, and a supplied electrical current control unit that controls an electrical current that is supplied to the water electrolysis stack and an electrical current that is supplied to the compression stack, wherein the supplied electrical current control unit controls the electrical current that is supplied to the stack having a larger degree of deterioration from among the water electrolysis stack and the compression stack to be constant, and adaptively controls the electrical current that is supplied to the stack having a smaller degree of deterioration from among the water electrolysis stack and the compression stack.

ELECTROLYZER HAVING AN ANODE-SIDE CATALYST AND RELATED METHODS

NºPublicación:  US2025361630A1 27/11/2025
Solicitante: 
GEORGIA TECH RES CORPORATION [US]
Georgia Tech Research Corporation
US_2025361630_PA

Resumen de: US2025361630A1

An electrolyzer system includes a cathode comprising a cathode catalyst: an anode comprising an anode catalyst configured to promote oxidation of water: and a proton exchange membrane (PEM) between the cathode and the anode, wherein the cathode, anode, and proton exchange membrane are configured such that water at the anode reacts to form oxygen and positively charged hydrogen ions, and the positively charged ions react at the cathode to form hydrogen (H2): wherein the catalyst comprises a Y2Ru2O7—NaBH4 catalyst.

PROCESS AND SYSTEM FOR GENERATING HYDROGEN

NºPublicación:  US2025361467A1 27/11/2025
Solicitante: 
HYDROBE PTY LTD [AU]
Hydrobe Pty Ltd
US_2025361467_PA

Resumen de: US2025361467A1

Disclosed is a process and system for generating hydrogen from carbon dioxide. The process and system for generating a hydrogen gas stream from a carbon dioxide gas stream comprises converting a first waste carbon dioxide gas stream to an organic feedstock using an algal source in a photosynthesis step. The organic feedstock is then converted using an organism to the hydrogen gas stream and gaseous by-products in a biodecomposition step. The generated hydrogen gas may then be collected.

RENEWABLE ENERGY FUELED INDUSTRIAL PLANTS WITH INTEGRATED CARBON CAPTURE

NºPublicación:  US2025361178A1 27/11/2025
Solicitante: 
TATA CONSULTANCY SERVICES LTD [IN]
TATA CONSULTANCY SERVICES LIMITED
US_2025361178_PA

Resumen de: US2025361178A1

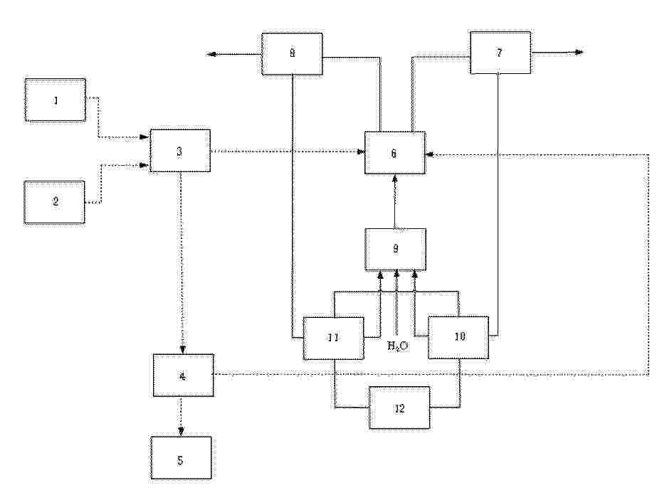
Providing an implementable renewable fuel gas plant processes with management of greenhouse gases with minimal changes to existing plant set ups is a technical challenge to be addressed. Embodiments herein provide a system for renewable fuel gas generation and utilization in industrial plants with carbon dioxide as heat carrier. The system design integrates renewable fuel gas (H2) which is generated within the system and utilized to meet the thermal energy requirements of the production process. CO2 produced as byproduct of calcination in a process equipment, such as during calcination in cement plant is used as a heat-transferring medium to heat the H2. Further, the system provides recycling of the generated byproducts by separating the exhaust gases, comprised of CO2 and H2O. The H2O is recycled to generate H2 via electrolysis. The separated CO2 again serves as a heat-transferring medium, while the excess CO2 is sequestrated.

SYSTEMS AND METHODS FOR CONTROLLING A POWER-TO-X PROCESS TO REDUCE FEEDSTOCK COSTS

NºPublicación:  US2025360480A1 27/11/2025
Solicitante: 
INFINIUM TECH LLC [US]
Infinium Technology, LLC
US_2025360480_PA

Resumen de: US2025360480A1

Provided herein are systems and methods for controlling production of low-carbon liquid fuels and chemicals. In an aspect, provided herein is a method controlling a process that produces e-fuels. In another aspect, provided herein is a system for producing an e-fuel.

HYDROGEN GENERATING DEVICE PROVIDED WITH SOUND INSULATION COVER AND HYDROGEN GENERATING DEVICE PROVIDED WITH NOVEL POWER MODULE

NºPublicación:  AU2024270923A1 27/11/2025
Solicitante: 
LIN HSIN YUNG
LIN, Hsin-Yung
AU_2024270923_PA

Resumen de: AU2024270923A1

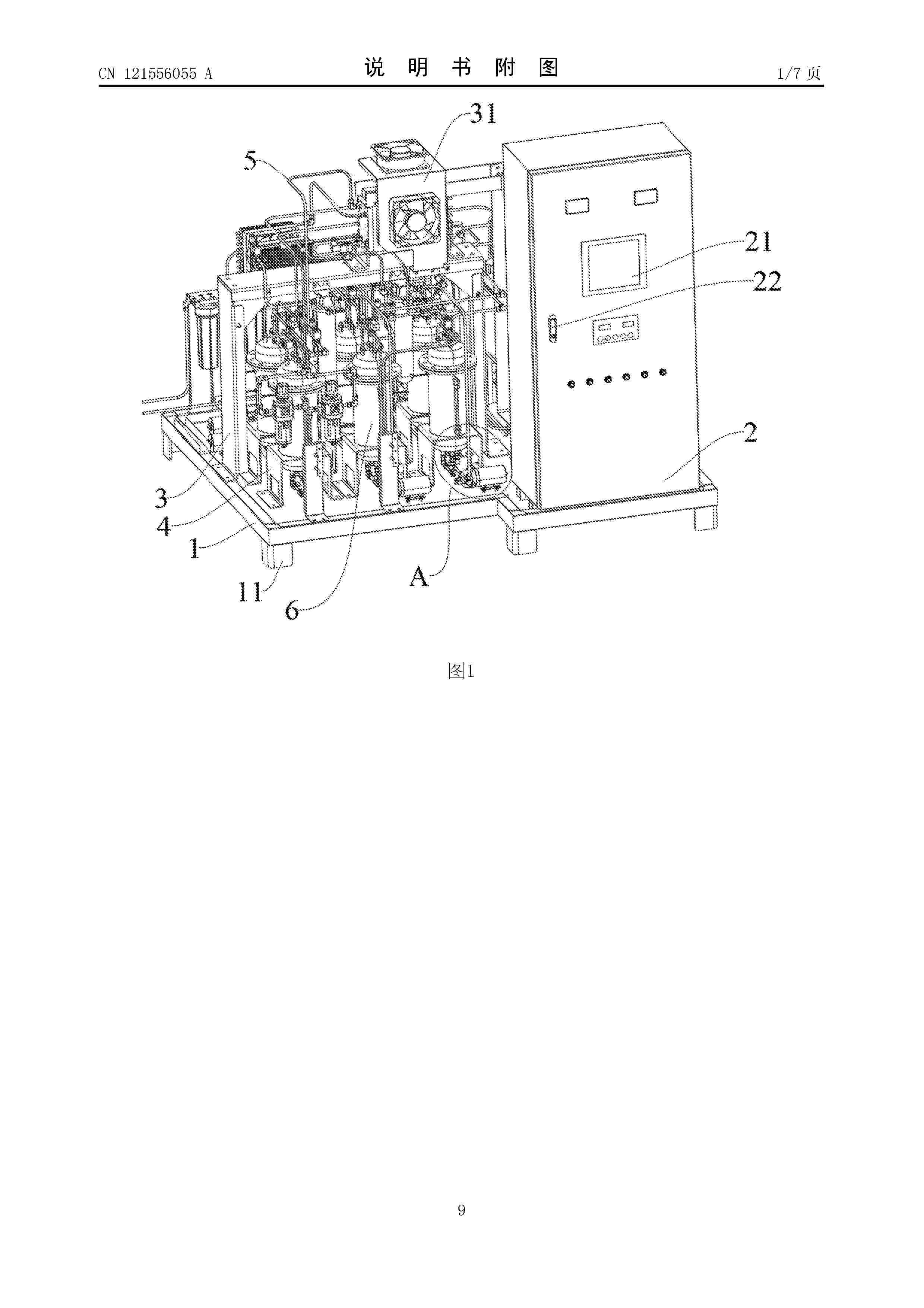
A hydrogen generating device provided with a sound insulation cover and a hydrogen generating device provided with a novel power module. The hydrogen generating device comprises a water tank, an electrolytic cell, a humidifier, a refining device, and a sound insulation cover; the water tank is used for containing electrolyzed water; the electrolytic cell is arranged in the water tank and is used for electrolyzing water to generate hydrogen-containing gas; the humidifier is provided with a humidifying chamber for containing supplementary water; the refining device is arranged in the humidifier and is used for refining the hydrogen-containing gas; the sound insulation cover is arranged in the humidifier and is provided with a sound insulation cavity, a connecting tube connecting the water tank and the refining device, and a gas outlet hole; the hydrogen-containing gas passes through the connecting tube and the refining device and flows into the supplementary water in the sound insulation cavity, and then the hydrogen-containing gas flows into the humidifying chamber through the gas outlet hole. Thus, according to the present invention, sound generated when the hydrogen-containing gas flows in the device can be insulated by means of the sound insulation cover, so as to improve the experience effect, and heat dissipation can be effectively carried out on a circuit board, thereby improving the operation efficiency.

ELECTROLYZER

NºPublicación:  AU2024291248A1 27/11/2025
Solicitante: 
IND DE NORA S P A
INDUSTRIE DE NORA S.P.A
AU_2024291248_PA

Resumen de: AU2024291248A1

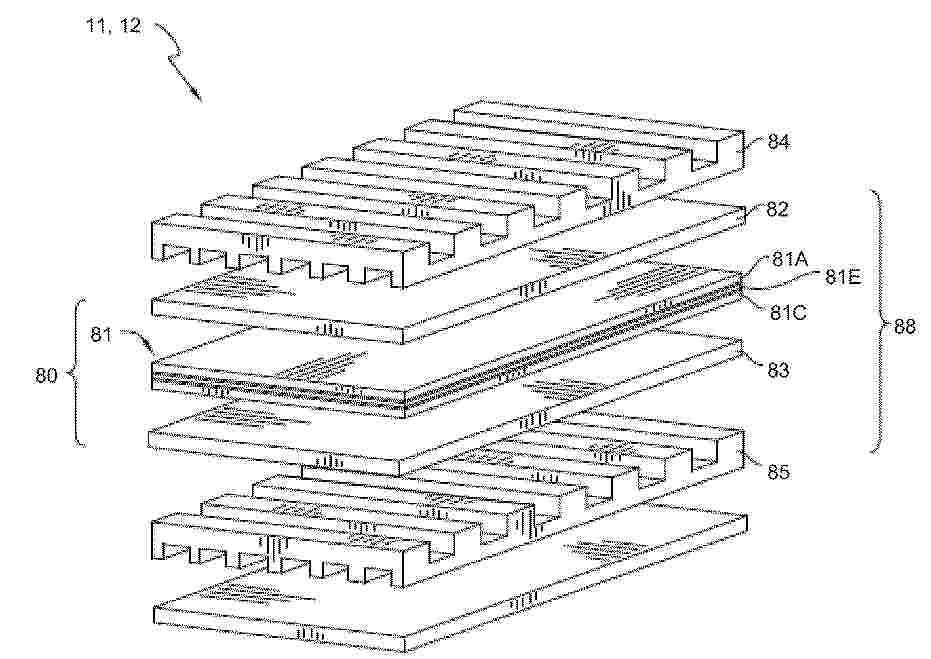
The present invention refers to an electrolyzer (1) for the production of hydrogen from an alkaline electrolyte. The electrolyzer (1) comprises a first header (11) and a second header (12) between which a plurality of elementary cells (20) and a plurality of bipolar plates (5, 5', 5'') are stacked. Each bipolar plate (5) separates two adjacent elementary cells. According to the invention, each of said bipolar plates (5, 5',5'') comprises two plate-form components (5A, 5B) coupled together and configured so as to define one or more inner cavities (66) for the circulation of a cooling fluid. Furthermore, each bipolar plate (5, 5', 5'') comprises an inlet section (SI) and an outlet section (SV) respectively for the inlet and outlet of said cooling fluid in said one or more inner cavities (66).

METHODS AND SYSTEMS FOR HYDROGEN PRODUCTION

Nº publicación: WO2025245515A1 27/11/2025

Solicitante:

UNIV NEW YORK STATE RES FOUND [US]
THE RESEARCH FOUNDATION FOR THE STATE UNIVERSITY OF NEW YORK

WO_2025245515_A1

Resumen de: WO2025245515A1

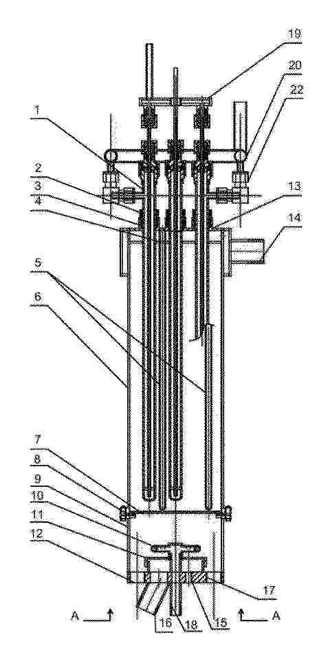
A portable device for generating hydrogen from ammonia includes a first reactor layer having an ammonia inlet a retentate port, and a chamber containing an ammonia decomposition catalyst. A first gas-collecting layer has a manifold with a hydrogen outlet. A first hydrogen-selective membrane is disposed between the first reactor layer and the first gas-collecting layer. In this way, hydrogen gas generated in the chamber of the first reactor layer will permeate through the hydrogen-selective membrane into the manifold of the first gas-collecting layer. A burner layer is adjacent to the first reactor layer and separated from the chamber by a first conduction plate. The burner layer includes an intake port and an exhaust port. The intake port is in fluid connection with the retentate port of the first reactor layer.

traducir