Ministerio de Industria, Turismo y Comercio LogoMinisterior
 

Alerta

Resultados 388 resultados
LastUpdate Última actualización 26/04/2026 [07:20:00]
pdfxls
Solicitudes publicadas en los últimos 60 días (excluida automoción) / Applications published in the last 60 days (Automotion publications excluded)
previousPage Resultados 225 a 250 de 388 nextPage  

一种原位合成法制备碳纳米管铝合金复合材料的方法

NºPublicación:  CN121781104A 03/04/2026
Solicitante: 
成都珈丰新能源科技有限公司
CN_121781104_PA

Resumen de: CN121781104A

本发明提供了一种原位合成法制备碳纳米管铝合金复合材料的方法,包括以下步骤:S1、铝合金载体选择与预处理:选择铝合金作为载体,对载体表面进行预处理;S2、钠基催化剂的负载;S3、分区化学气相沉积原位生长;S4、致密化加工:对碳纳米管‑铝合金复合前驱体进行致密化加工,得碳纳米管铝合金复合材料。本发明的有益效果是:该方法工艺合理,且制得的碳纳米管分散均匀、界面结合强度高,导电性和导热性高;且可实现碳纳米管生长的密度、长度、管径的有效调控,实现复合材料的按需定制。

一种钙钛矿量子点/聚合物分散液晶薄膜及其制备方法

NºPublicación:  CN121779751A 03/04/2026
Solicitante: 
北京科技大学
CN_121779751_PA

Resumen de: CN121779751A

本发明涉及聚合物分散液晶技术领域,公开了一种钙钛矿量子点/聚合物分散液晶薄膜及其制备方法,其方法包括:配制钙钛矿量子点的甲苯溶液,并加入二硫醇作为配体以对钙钛矿量子点进行表面修饰,然后使用体积比为1:2~2:1的甲苯和乙酸乙酯的混合溶剂进行清洗、离心,得到表面修饰后的钙钛矿量子点;将表面修饰后的钙钛矿量子点与紫外光可聚合单体、交联剂、液晶和紫外光引发剂混合均匀后注入液晶盒,紫外光固化,得到钙钛矿量子点/聚合物分散液晶薄膜。本发明提供的具有增强长波红外发射率、荧光图案及信息加密的钙钛矿量子点/聚合物分散液晶薄膜在液晶显示、智能玻璃、节能建筑材料,汽车装饰及其相关领域有着广阔的应用前景。

一种光伏组件边框材料及其制备方法和应用

NºPublicación:  CN121779864A 03/04/2026
Solicitante: 
深圳市华宝新能源股份有限公司
CN_121779864_PA

Resumen de: CN121779864A

本发明涉及一种光伏组件边框材料及其制备方法和应用,所述制备方法包括如下步骤:(1)将按质量百分比计的如下组分:环氧树脂86.4%~91.2%、固化剂4%~6%、促进剂0.8%~1.2%、抗氧剂0.3%~0.6%、纳米二氧化硅2%~3%、紫外线吸收剂0.5%~1%和脱模剂1.2%~1.8%混合,得到树脂混合液;(2)将按质量百分比计的如下组分:树脂混合液32%~38%和无碱玻纤纱62%~68%进行混合,拉挤成型,制备得到光伏组件边框材料。本发明提供的光伏组件边框材料,能与PET背板搭配,有助于满足光伏组件长期户外使用要求。

一种纳米氧化镓及其制备方法

NºPublicación:  CN121778773A 03/04/2026
Solicitante: 
广州大学
CN_121778773_PA

Resumen de: CN121778773A

本发明提供了一种纳米氧化镓及其制备方法。该制备方法包括以下步骤:S1. 制备前驱体溶液与沉淀反应:将镓源溶于去离子水中配置镓离子浓度为0.05‑0.25 mol/L的镓盐溶液,其pH控制为2‑3;向镓盐溶液中加入沉淀剂,控制反应体系pH值为7‑9,反应温度为20‑45℃,得到Ga(OH)3浆料;S2. 熟化处理:将Ga(OH)3浆料在30‑60℃、保持pH不变的条件下进行熟化处理,使Ga(OH)3转化为GaOOH;S3. 分离、洗涤与干燥:将纳米GaOOH悬浮液进行离心分离,用去离子水洗涤沉淀,经造浆、雾化干燥后,获得单分散均匀且含水量低于5%的纳米GaOOH粉体;S4. 动态煅烧:将纳米GaOOH粉体在富氧气氛下进行分梯度动态煅烧后冷却至室温,得到纳米氧化镓粉体。本发明的制备方法制得的纳米氧化镓具有高纯度、良好的分散性和均一的粒径。

FC-CVD 연속 합성 장치 및 방법

NºPublicación:  KR20260045837A 03/04/2026
Solicitante: 
캠브리지엔터프라이즈리미티드
KR_20260045837_PA

Resumen de: WO2025027320A1

A process for the production of a material agglomerate is described. The process comprises: (a) providing a temperature-controlled flow-through reactor; (b) introducing a flow of metal catalyst or metal catalyst precursor into the temperature-controlled flow-through reactor; (c) introducing a flow of a source of production material into the temperature-controlled flow-through reactor; (d) operating the source of thermal energy to expose the metal catalyst or metal catalyst precursor and source of production material to a temperature in a reaction zone of the flow-through reactor that is sufficient to generate particulate metal catalyst and to produce a production material precursor; (e) displacing the production material precursor as a continuous discharge through a discharge outlet of the temperature-controlled flow-through reactor; (f) collecting the continuous discharge. The method is characterised in that the source of thermal energy comprises a heat source within the flow through volume spaced apart from the reactor wall, the said heat source providing at least a major part of the thermal energy to raise the temperature of materials in the reaction zone of the flow-through reactor. An apparatus for performing the method is also described.

用碳水化合物功能化的磁性纳米颗粒

NºPublicación:  CN121793992A 03/04/2026
Solicitante: 
安达卢西亚进步与健康公共基金会塞维利亚大学
CN_121793992_PA

Resumen de: WO2025022037A1

The present invention describes metallic magnetic nanoparticles, preferably iron oxide, functionalised with specific ligands, preferably belonging to carbohydrates, having a high capacity for penetration into solid tumours in the central nervous system, specifically in high-grade gliomas. The invention further relates to the synthesis method and uses thereof.

水溶性量子点制造用添加剂、水溶性量子点分散液和复合量子点

NºPublicación:  CN121794332A 03/04/2026
Solicitante: 
日本化学工业株式会社
CN_121794332_A

Resumen de: WO2025053075A1

Provided are: an additive for producing water-soluble quantum dots, with which water-soluble quantum dots exhibiting an excellent quantum yield and excellent stability even in an aqueous solvent such as water can be obtained; a water-soluble quantum dot dispersion in which the water-soluble quantum dots are dispersed in an aqueous solvent; and composite quantum dots comprising the water-soluble quantum dots and the additive. This additive for producing water-soluble quantum dots contains a phosphine compound represented by formula (1), (2), (3), (4), or (5). (In the formulae, each R independently represents a hydroxyalkyl group, aminoalkyl group, mercaptoalkyl group, or cyanoalkyl group having 1-8 carbon atoms.)

Quantum-Grade Nanodiamonds and Related Methods

NºPublicación:  US20260091979A1 02/04/2026
Solicitante: 
THE GOVERNMENT OF THE US SECRETARY OF THE NAVY [US]
The Government of the United States of America, as represented by the Secretary of the Navy
US_20260091979_A1

Resumen de: US20260091979A1

According to some embodiments of the present disclosure, a method of forming quantum-grade nanodiamonds (Q-NDs) is provided. In particular, a plasma volume is provided in a reaction chamber of a plasma reactor, and molecular seeds are provided in the plasma volume. A carbon precursor is provided in the plasma volume to grow diamond around each of the molecular seeds in the plasma volume to provide nanodiamonds (NDs). Ones of the nanodiamonds (NDs) are passed out of the plasma volume based on the respective ones of the nanodiamonds reaching a size greater than a threshold size. The respective ones of the nanodiamonds reaching the size greater than the threshold size are collected. Related nanodiamonds are also discussed.

LIPID NANOPARTICLE mRNA VACCINES

NºPublicación:  US20260090989A1 02/04/2026
Solicitante: 
CUREVAC SE [DE]
ACUITAS THERAPEUTICS INC [CA]
US_20260090989_A1

Resumen de: US20260090989A1

0000 The invention relates to mRNA comprising lipid nanoparticles and their medical uses. The lipid nanoparticles of the present invention comprise a cationic lipid according to formula (I), (II) or (III) and/or a PEG lipid according to formula (IV), as well as an mRNA compound comprising an mRNA sequence encoding an antigenic peptide or protein. The invention further relates to the use of said lipid nanoparticles as vaccines or medicaments, in particular with respect to influenza or rabies vaccination.

METHOD FOR DETECTING DNA METHYLATION

NºPublicación:  WO2026067227A1 02/04/2026
Solicitante: 
KAOHSIUNG MEDICAL UNIV [CN]
FENG CHIA UNIV [CN]
WO_2026067227_A1

Resumen de: WO2026067227A1

The present invention provides a method for detecting DNA methylation, comprising reacting a DNA of a gene with a metal cluster modified with a molecule having a function for binding DNA, amplifying signals of methylated bases in the DNA by surface-enhanced Raman scattering (SERS) spectroscopy, and detecting the DNA methylation based on the SERS spectrum.

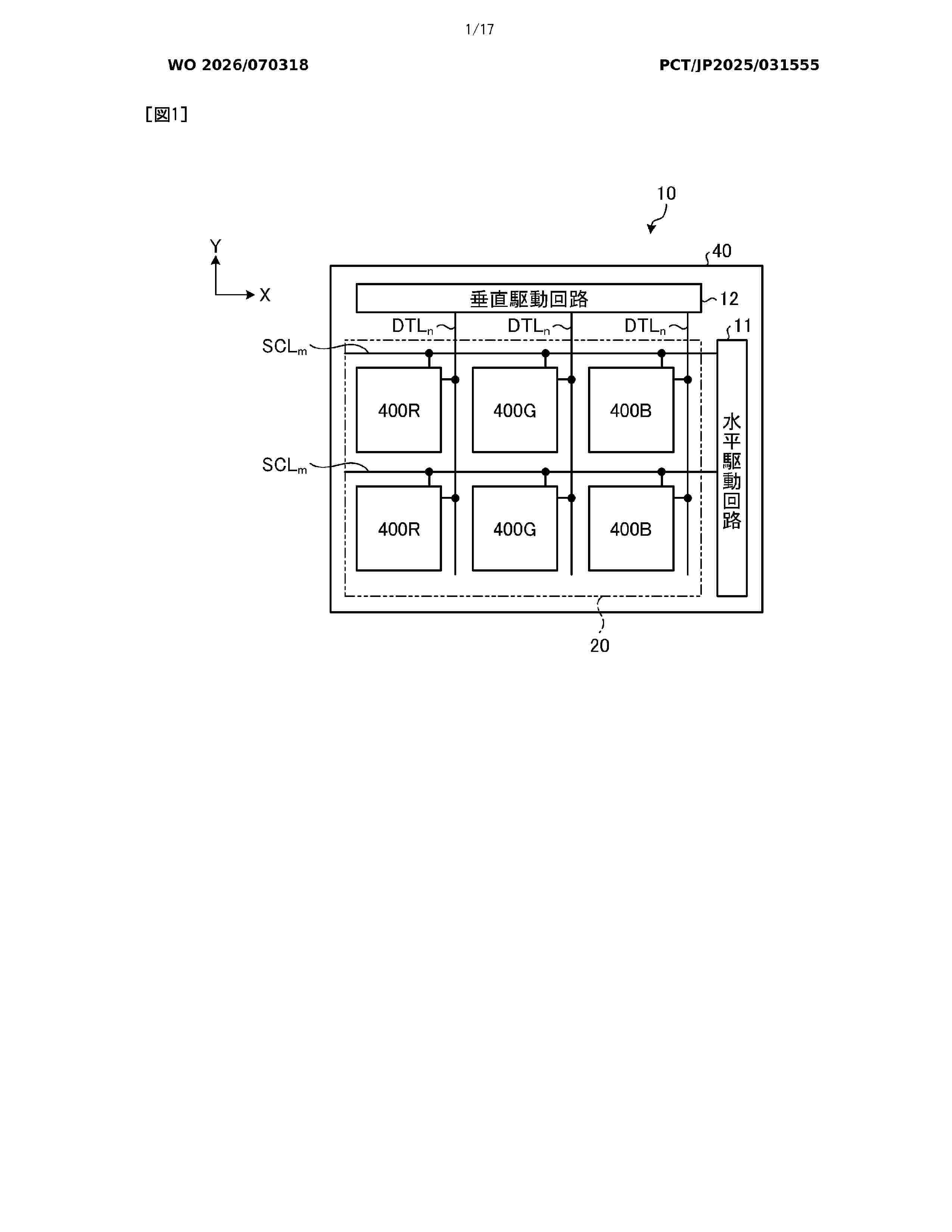
DISPLAY DEVICE

NºPublicación:  WO2026070318A1 02/04/2026
Solicitante: 
SONY GROUP CORP [JP]
\u30BD\u30CB\u30FC\u30B0\u30EB\u30FC\u30D7\u682A\u5F0F\u4F1A\u793E
WO_2026070318_A1

Resumen de: WO2026070318A1

Provided is a display device having a plurality of light-emitting elements arrayed on a substrate. Each of the light-emitting elements comprises: a light-emitting layer; a first electrode and a second electrode sandwiching the light-emitting layer from above and below; a photonic crystal structure provided so as to face the light-emitting layer across the second electrode; and an insulating layer that is provided between the first electrode and the light-emitting layer and has an opening over the center of the photonic crystal structure. The photonic crystal structure comprises: a plurality of columnar bodies arrayed periodically in a predetermined periodic length in a first region overlapping the opening and a second region not overlapping the opening; and a plurality of defects that disrupt the periodicity of the array of the plurality of columnar bodies and that are provided within the first region so as to be spaced apart from one another by three periods or more.

A CHEMIRESISTIVE NANOSENSOR

NºPublicación:  WO2026072019A1 02/04/2026
Solicitante: 
SABANCI UNIV [TR]
SABANCI UNIV NANOTEKNOLOJI ARASTIRMA VE UYGULAMA MERKEZI [TR]
GEBZE TEKNIK UNIV [TR]
WO_2026072019_A1

Resumen de: WO2026072019A1

The invention relates to a chemiresistive nanosensor based on polyglycerol-modified graphene oxide and bromophenol blue.

SAMPLE INDEXING FOR SINGLE CELLS

NºPublicación:  US20260092301A1 02/04/2026
Solicitante: 
BECTON DICKINSON CO [US]
US_20260092301_A1

Resumen de: US20260092301A1

Disclosed herein include systems, methods, compositions, and kits for sample identification. A sample indexing composition can comprise, for example, a protein binding reagent associated with a sample indexing oligonucleotide. Different sample indexing compositions can include sample indexing oligonucleotides with different sequences. Sample origin of cells can be identified based on the sequences of the sample indexing oligonucleotides. Sample indexing oligonucleotides can be barcoded using barcoded and lengthened using daisy-chaining primers.

READY-TO-USE GRAPHENE LIQUID DISPERSION FOR USE AS A CONDUCTIVE ADDITIVE FOR ELECTRODES

NºPublicación:  WO2026068763A1 02/04/2026
Solicitante: 
CARBON WATERS [FR]
CARBON WATERS
WO_2026068763_A1

Resumen de: WO2026068763A1

The present invention relates to a method for obtaining a graphene liquid dispersion, to a graphene liquid dispersion and to uses thereof, in particular as a conductive additive for electrodes. In particular, the present invention relates to a graphene liquid dispersion comprising a solvent, a polymer and at least 0.1 g/L of graphene, and having an absolute viscosity measured at 25°C using a rheometer of between 5 mPa·s and 10 Pa·s.

CARBON NANOTUBE-DISPERSED PASTE, METHOD FOR PRODUCING CARBON NANOTUBE-DISPERSED PASTE, MIXTURE PASTE FOR LITHIUM ION SECONDARY BATTERY, ELECTRODE LAYER FOR NON-AQUEOUS ELECTROLYTE LITHIUM ION SECONDARY BATTERY, ELECTRODE FOR NON-AQUEOUS ELECTROLYTE LITHIUM ION SECONDARY BATTERY, AND NON-AQUEOUS ELECTROLYTE LITHIUM ION SECONDARY BATTERY

NºPublicación:  WO2026071079A1 02/04/2026
Solicitante: 
KANSAI PAINT CO LTD [JP]
\u95A2\u897F\u30DA\u30A4\u30F3\u30C8\u682A\u5F0F\u4F1A\u793E
WO_2026071079_A1

Resumen de: WO2026071079A1

The present invention addresses the problem of providing: a carbon nanotube-dispersed paste which exhibits excellent carbon nanotube dispersibility, has a low initial viscosity at time of production, and exhibits excellent storage stability at high temperatures (for example, 45°C or higher, and especially 50°C or higher); a method for producing said carbon nanotube-dispersed paste; a mixture paste for a lithium ion secondary battery, which contains said carbon nanotube-dispersed paste; an electrode layer for a non-aqueous electrolyte lithium ion secondary battery, in which said mixture paste for a lithium ion secondary battery is used; an electrode for non-aqueous electrolyte lithium ion secondary battery, in which said electrode layer for a non-aqueous electrolyte lithium ion secondary battery is used; and a non-aqueous electrolyte lithium ion secondary battery comprising at least said electrode for non-aqueous electrolyte lithium ion secondary battery. As a solution, the present invention provides a carbon nanotube-dispersed paste which contains a dispersed resin (A) having an alkyl group with 15 or more carbon atoms, carbon nanotubes (B), and N-methyl-2-pyrrolidone (C). When the dispersed resin (A) is dissolved in the N-methyl-2-pyrrolidone and measured using a static light scattering method, the second virial coefficient at a liquid temperature of 50°C is 2.7×10-3 cm3·mol/g2 or less.

CARBON NANOTUBE DISPERSION PASTE, MIXTURE PASTE FOR LITHIUM ION SECONDARY BATTERY, ELECTRODE LAYER FOR NONAQUEOUS ELECTROLYTE LITHIUM ION SECONDARY BATTERY, ELECTRODE FOR NONAQUEOUS ELECTROLYTE LITHIUM ION SECONDARY BATTERY, AND NONAQUEOUS ELECTROLYTE LITHIUM ION SECONDARY BATTERY

NºPublicación:  WO2026071080A1 02/04/2026
Solicitante: 
KANSAI PAINT CO LTD [JP]
\u95A2\u897F\u30DA\u30A4\u30F3\u30C8\u682A\u5F0F\u4F1A\u793E
WO_2026071080_A1

Resumen de: WO2026071080A1

The present invention addresses the problem of providing: a carbon nanotube dispersion paste which has excellent dispersibility of carbon nanotubes, low initial viscosity during production, and excellent storage stability at high temperature (for example, 45°C or higher, particularly 50°C or higher); an electrode layer for a nonaqueous electrolyte lithium ion secondary battery which uses the mixture paste for a lithium ion secondary battery; an electrode for a nonaqueous electrolyte lithium ion secondary battery which uses the electrode layer for a nonaqueous electrolyte lithium ion secondary battery; and a nonaqueous electrolyte lithium ion secondary battery which is provided with at least the electrode for a nonaqueous electrolyte lithium ion secondary battery. As a means for solving the problem, provided is a carbon nanotube dispersion paste containing a dispersion resin (A), carbon nanotubes (B), and N-methyl-2-pyrrolidone (C), the dispersion term deltaD of the Hansen solubility parameter of the dispersion resin (A) being 16.35 or more, and Ra based on the Hansen solubility parameter of the dispersion resin (A) with respect to N-methyl-2-pyrrolidone (C) being 10.5 or less.

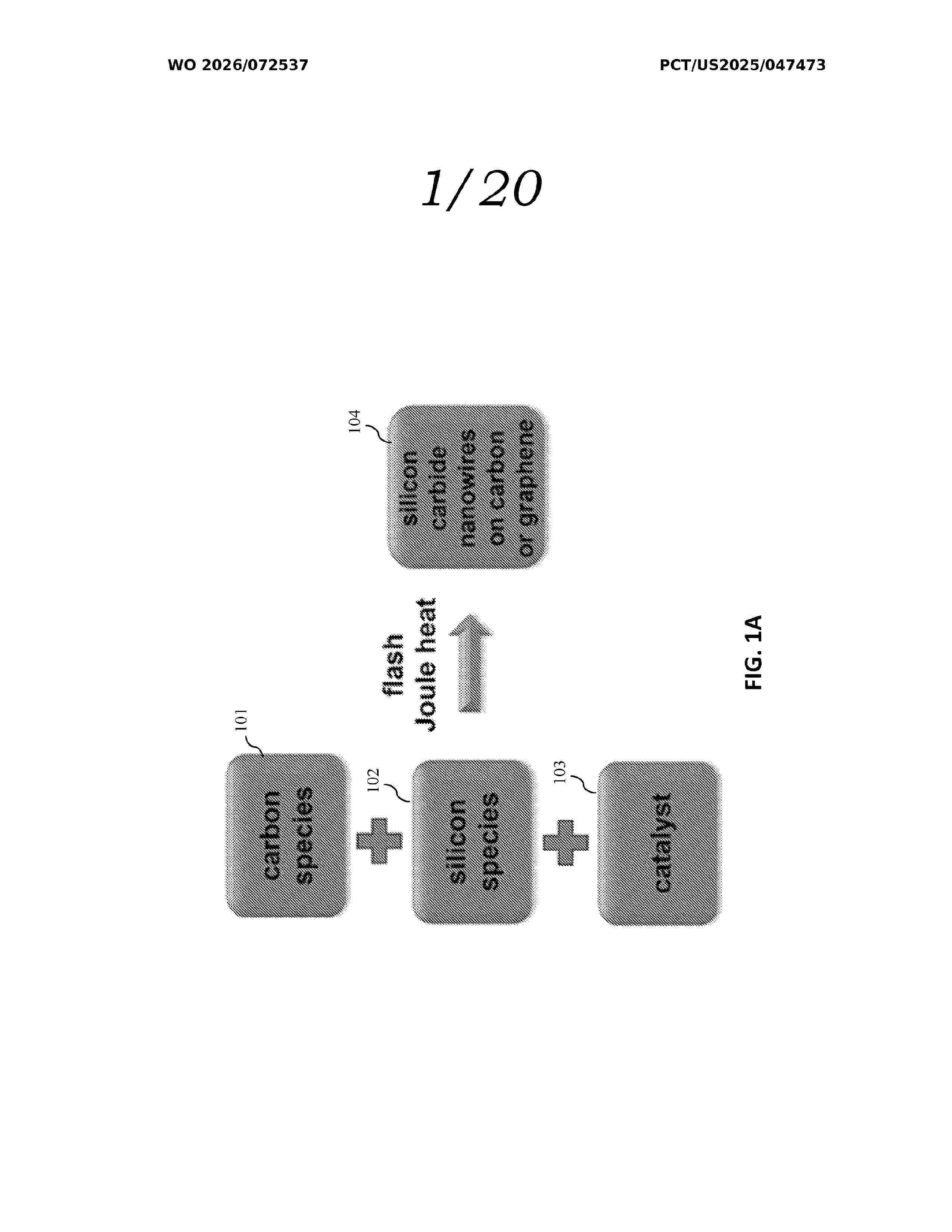
SILICON CARBIDE NANOWIRES ON CARBON SPECIES AND METHODS OF MAKING AND USING THEREOF

NºPublicación:  WO2026072537A1 02/04/2026
Solicitante: 
WILLIAM MARSH RICE UNIV [US]
WO_2026072537_A1

Resumen de: WO2026072537A1

Silicon carbide nanowires on carbon species and methods of making and using thereof, and, more particularly, silicon carbide nanowires on coal, graphene, graphite, and fibrous carbon species and methods of making and using thereof. Flash Joule heating and/or microwave reactions are performed in which silicon carbide nanotubes are grown on the surface of a coal-based feedstock, a carbon fiber-based feedstock, or a graphene or graphite feedstock derived from coal or carbon fiber.

LITHIUM IRON PHOSPHATE PRECURSOR, LITHIUM IRON PHOSPHATE MATERIAL, PREPARATION METHOD THEREFOR, AND USE THEREOF

NºPublicación:  AU2023463065A1 02/04/2026
Solicitante: 
SHANGHAI LIANGFU NEW ENERGY TECHNOLOGY CO LTD [CN]
AU_2023463065_PA

Resumen de: AU2023463065A1

Disclosed are a lithium iron phosphate precursor, a lithium iron phosphate material, a preparation method therefor, and a use thereof. The lithium iron phosphate material comprises a flower cluster structure, the flower cluster structure comprises secondary particles, and the secondary particles are formed by agglomerating primary particles by means of a coating layer; the material of the primary particles is lithium iron phosphate. The lithium iron phosphate material of the present invention has good electrochemical properties and processing properties when used in batteries.

POROUS CARBON, AND SILICON-CARBON NEGATIVE ELECTRODE MATERIAL AND PREPARATION METHOD THEREFOR AND USE THEREOF

NºPublicación:  WO2026067785A1 02/04/2026
Solicitante: 
SICHUAN ZICHEN TECH CO LTD [CN]
ANHUI ZICHEN TECH CO LTD [CN]
\u56DB\u5DDD\u7D2B\u5BB8\u79D1\u6280\u6709\u9650\u516C\u53F8
\u5B89\u5FBD\u7D2B\u5BB8\u79D1\u6280\u6709\u9650\u516C\u53F8
WO_2026067785_A1

Resumen de: WO2026067785A1

The present disclosure relates to the technical field of batteries, and particularly relates to a porous carbon, and a silicon-carbon negative electrode material and a preparation method therefor and the use thereof. Provided in the present disclosure is a porous carbon. The porous carbon comprises micropores, wherein the percentage of the pore volume of the micropores in the total pore volume is greater than or equal to 85%. In a pore size distribution curve obtained by nitrogen adsorption measurements and plotted with pore size as the abscissa and differential pore volume dV/dW as the ordinate, the pore size of the porous carbon is in the range of 1-2 nm, and the differential pore volume dV/dW thereof is greater than 0.05 cm3·g-1·nm-1. The porous carbon of the present disclosure has a suitable micro-porosity and a wavy pore size distribution; therefore, the loading efficiency of silicon can be effectively improved, a space is reserved for a volume increase caused by the expansion of silicon during the cycling process of nano-scale silicon, the effect of relieving the volume expansion of silicon during lithium intercalation is achieved, the volume expansion ratio of a silicon-based negative electrode material can be reduced, and the cycling stability of a battery can be improved.

ELECTRON EMISSION SOURCE INCLUDING HIGH-DENSITY CARBON STRUCTURE-BASED FILM, METHOD FOR MANUFACTURING THE SAME, AND X-RAY TUBE USING THE SAME

NºPublicación:  US20260094782A1 02/04/2026
Solicitante: 
LMX CO LTD [KR]
LMX CO., LTD
US_20260094782_A1

Resumen de: US20260094782A1

The present application relates to a method for manufacturing a densified carbon structure-based film, the method comprising: a step for providing a carbon structure-based film; and a carbon structure-based film densification step for obtaining a densified carbon structure-based film by immersing the carbon structure-based film in a polar solvent and then in an acidic aqueous solution, or obtaining a densified carbon structure-based film by immersing the carbon structure-based film in an acidic aqueous solution and then in a polar solvent.

POROUS CARBON MATERIAL, SILICON-CARBON NEGATIVE ELECTRODE MATERIAL AND PREPARATION METHOD THEREFOR AND USE THEREOF

NºPublicación:  WO2026067787A1 02/04/2026
Solicitante: 
LIYANG ZICHEN NEW MATERIALS TECH CO LTD [CN]
JIANGXI ZICHEN TECH CO LTD [CN]
ANHUI ZICHEN TECH CO LTD [CN]
\u6EA7\u9633\u7D2B\u5BB8\u65B0\u6750\u6599\u79D1\u6280\u6709\u9650\u516C\u53F8
\u6C5F\u897F\u7D2B\u5BB8\u79D1\u6280\u6709\u9650\u516C\u53F8
\u5B89\u5FBD\u7D2B\u5BB8\u79D1\u6280\u6709\u9650\u516C\u53F8
WO_2026067787_A1

Resumen de: WO2026067787A1

The present disclosure relates to the technical field of batteries, and in particular, to a porous carbon material, a silicon-carbon negative electrode material and a preparation method therefor and a use thereof. The porous carbon material has a surface functional group. The surface functional group comprises an alkaline functional group, a neutral functional group, and an acidic functional group. The content of the surface functional group is 0.4-1 mmol/g, the content of the alkaline functional group is 0.2-0.5 mmol/g, the content of the neutral functional group is 0.2-0.4 mmol/g, and the content of the acidic functional group is less than 0.2 mmol/g. The surface of the porous carbon material of the present disclosure has the appropriate contents and types of functional groups, so that the porous carbon has high conductivity and appropriate wettability, thereby improving the silicon utilization rate of the silicon-carbon negative electrode material and improving the cycle performance and rate performance thereof.

POLYION COMPLEXES FOR BIOMOLECULAR DELIVERY

NºPublicación:  US20260091128A1 02/04/2026
Solicitante: 
UNIV NORTH CAROLINA CHAPEL HILL [US]
UNIV DRESDEN TECH [DE]
US_20260091128_A1

Resumen de: US20260091128A1

0000 In one aspect, a block copolymer described herein comprises a hydrophilic block including oxazoline monomer or oxazine monomer, and a cationic block comprising monomer including a linear or branched polyamine side chain. In another aspect, a polyion complex comprises a block copolymer comprising a hydrophilic block including oxazoline monomer or oxazine monomer, and a cationic block comprising monomer including a linear or branched cationic polyamine side chain, and a negatively charged biomolecular species associated with the block copolymer. The negatively charged biomolecular species can comprise one or more nucleic acids, such as RNA, DNA, and/or other oligonucleotides.

TARGETED NANO-CARRIER, PREPARATION METHOD THEREFOR, APPLICATION THEREOF, TARGETED DRUG-LOADED NANO-CARRIER, AND PREPARATION METHOD THEREFOR

NºPublicación:  US20260090541A1 02/04/2026
Solicitante: 
UNIV HENAN [CN]
US_20260090541_A1

Resumen de: US20260090541A1

0000 The present disclosure belongs to the technical field of functional materials, and provided are a targeted nano-carrier, a preparation method therefor, an application thereof, a targeted drug-loaded nano-carrier, and a preparation method therefor. The targeted nano-carrier comprises a nano-carrier and a target chemically bonded on the nano-carrier, wherein the nano-carrier is nano-particles formed from an organic polymer or an inorganic material, and the target is aspartic acid or an aspartic acid derivative. The targeted nano-carrier provided by the invention can actively penetrate plant cell walls and cell membranes, is suitable for drug delivery for living plants, tissues etc., can reduce drug dosage and costs, has a protective effect on carried drugs and improves drug efficiency, prolongs the duration of drug action, reduces toxicity and contamination, and reduces the likelihood of drug resistance.

NANOPARTICLE WITH SINGLE SITE FOR TEMPLATE POLYNUCLEOTIDE ATTACHMENT

NºPublicación:  US20260091365A1 02/04/2026
Solicitante: 
ILLUMINA INC [US]
ILLUMINA CAMBRIDGE LTD [GB]
ILLUMINA SINGAPORE PTE LTD [SG]
US_20260091365_A1

Resumen de: US20260091365A1

Provided is a nanoparticle including a scaffold, a single template site for bonding a template polynucleotide to the scaffold, and a plurality of accessory sites for bonding accessory oligonucleotides to the scaffold, wherein the scaffold is selected from an asymmetrical acrylamide polymer one or a dendrimer including lysyl constitutional repeating units, the single template site for bonding a template polynucleotide to the scaffold is selected from a covalent template bonding site and a noncovalent template bonding site and the plurality of accessory sites for bonding accessory oligonucleotides to the scaffold are selected from covalent accessory oligonucleotide bonding sites and noncovalent accessory oligonucleotide bonding sites. Also provided are methods of using the nanoparticle.

Conductive Material Dispersion, and Electrode and Lithium Secondary Battery Manufactured Using the Same

Nº publicación: US20260094837A1 02/04/2026

Solicitante:

LG ENERGY SOLUTION LTD [KR]
LG Energy Solution, Ltd

US_20260094837_A1

Resumen de: US20260094837A1

A conductive material dispersion includes a carbon-based conductive material, a main dispersant, an auxiliary dispersant, and a dispersion medium, wherein the main dispersant is a nitrile-based copolymer and the auxiliary dispersant is a copolymer including an oxyalkylene unit and at least one selected from the group consisting of a styrene unit and an alkylene unit.

traducir