Ministerio de Industria, Turismo y Comercio LogoMinisterior
 

Alerta

Resultados 388 resultados
LastUpdate Última actualización 26/04/2026 [07:20:00]
pdfxls
Solicitudes publicadas en los últimos 60 días (excluida automoción) / Applications published in the last 60 days (Automotion publications excluded)
previousPage Resultados 250 a 275 de 388 nextPage  

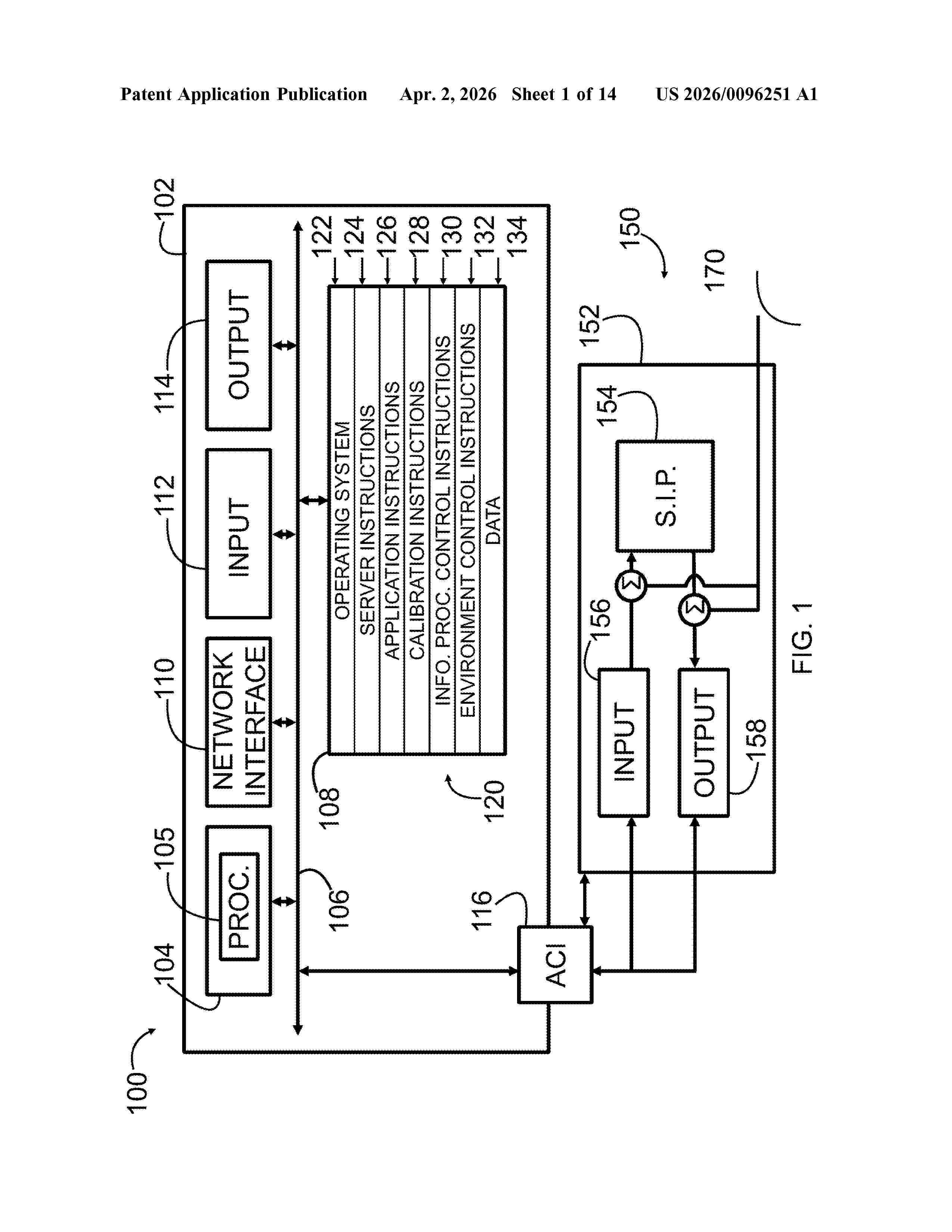
SYSTEMS, DEVICES, ARTICLES AND METHODS INCLUDING LUMINESCENT LOCAL DEFECTS IN SEMICONDUCTORS WITH LOCAL INFORMATION STATES

NºPublicación:  US20260096251A1 02/04/2026
Solicitante: 
PHOTONIC INC [CA]
US_20260096251_A1

Resumen de: US20260096251A1

A device, such as, an information processing or communications device, including a body of semiconductor material consisting principally of silicon, one or more luminescence centres disposed in the body of semiconductor material, one or more optical degrees of freedom associated with the one or more luminescence centres, and one or more local degrees of freedom associated with the one or more luminescence centres. A respective optical degree of freedom is associated with a respective luminescence centre. A respective local degree of freedom is associated with a respective luminescence centre. The one or more local degrees of freedom modify the one or more optical degrees of freedom.

FABRICATING HIGH QUALITY, HIGH STRESS CHANNEL REGIONS IN GATE-ALL-AROUND FIELD EFFECT TRANSISTORS (GAA FETS)

NºPublicación:  EP4718977A1 01/04/2026
Solicitante: 
INTEL CORP [US]
EP_4718977_PA

Resumen de: EP4718977A1

0001 In embodiments of the present disclosure, enhanced nanoribbons of GAA FETs are formed using a high-temperature diffusion process before the source/drain regions are formed. The diffusion process includes forming an additive material layer (212), for example comprising germanium, around crystalline nanoribbons (210), for example comprising silicon, (Fig. 2D), forming a capping layer (214) around the additive material layer (212) (Fig. 2D), diffusing the additive material into the crystalline nanoribbons via heating, (Fig. 2E), and removing the capping layer (214) (Fig. 2F).

METHOD FOR SYNTHESIZING BLACK PHOSPHORUS - POLYGLYCEROL NANOPARTICLES AND METHOD FOR RECOVERING A PRECIOUS METAL FROM A PRECIOUS METAL CONTAINING MATRIX

NºPublicación:  EP4717669A1 01/04/2026
Solicitante: 
UNIV BERLIN FREIE [DE]
EP_4717669_PA

Resumen de: EP4717669A1

0001 The invention relates to a method for synthesizing black phosphorus - polyglycerol (BP-PG) nanoparticles comprising the step of adding (100) black phosphorus (BP) nanoparticles, glycidol and a plurality of beads (10) to a chamber (21) of a milling device (20) and the step of rotating (200) the chamber (21) over a defined period of time. The invention also relates to a method for recovering a precious metal from a precious metal containing matrix comprising the step of providing (300) the precious metal containing matrix in the form of a solution containing dissolved precious metal ions and the step of adding (400) black phosphorus - polyglycerol (BP-PG) nanoparticles to the solution, wherein the black phosphorus - polyglycerol (BP-PG) nanoparticles are synthesized using the method for synthesizing black phosphorus - polyglycerol (BP-PG) nanoparticles.

脉冲式喷动流化床反应装置和硅碳复合材料的制备方法

NºPublicación:  CN121755122A 31/03/2026
Solicitante: 
苏州纽姆特纳米科技有限公司
CN_121755122_PA

Resumen de: CN121755122A

0001 本发明涉及锂离子电池材料制备技术领域,具体而言,涉及脉冲式喷动流化床反应装置和硅碳复合材料的制备方法。脉冲式喷动流化床反应装置包括自上而下为顶部沉降段、主反应段和喷动流化段;金属烧结气体分布器将喷动流化段分隔为上部的喷动流化区和下部的预热气室;切向辅助进气嘴位于主反应段的下部;实现向预热气室通入周期性脉冲气流,取代传统的机械搅拌,配合切向辅助进气喷嘴,共同驱动物料形成稳定的中心喷动柱与环形流化区。从根本上消除了因机械搅拌器磨损导致的金属杂质污染问题,同时有效解决了传统反应器的缩放困境与流场冲突,显著提高了硅烷利用率、产品均匀性与纯度,适用于高性能硅碳负极材料的规模化洁净生产。

一种含硼量子点及其制备方法、光学构件和电子设备

NºPublicación:  CN121759201A 31/03/2026
Solicitante: 
广纳珈源(广州)科技有限公司
CN_121759201_PA

Resumen de: CN121759201A

本发明涉及光学材料的技术领域,具体涉及一种含硼量子点及其制备方法、光学构件和电子设备。其中,含硼量子点包括核层和包覆于所述核层的壳层;所述核层和所述壳层中的至少一层包括硼和II‑VI族半导体化合物。所述硼以晶格间掺杂的形式掺杂至所述核层和所述壳层中的至少一层,且所述核层和/或所述壳层中,所述硼与所述II‑VI族半导体化合物中的非金属元素通过化学键连接。所述含硼量子点还包括位于所述壳层表面的吸附层,所述吸附层包括硼。所述II‑VI族半导体化合物包括II‑VI族二元化合物、II‑VI族三元化合物和II‑VI族四元化合物中的至少一种。本发明能够提高量子点材料的热稳定性。

一种二水磷酸铁及磷酸铁锂的制备方法和应用

NºPublicación:  CN121757826A 31/03/2026
Solicitante: 
广东邦普循环科技有限公司湖南邦普循环科技有限公司宜昌邦普循环科技有限公司
CN_121757826_PA

Resumen de: CN121757826A

本发明提出了一种二水磷酸铁及磷酸铁锂的制备方法和应用,所述二水磷酸铁的制备方法包括:(a)将磷源溶液与第一铁源混合,在加热条件下加入氧化剂进行反应,形成初级晶核分散液;(b)向所述初级晶核分散液同时加入第二铁源与磷酸溶液进行反应,对所得浆料陈化后得到二水磷酸铁;其中,所述第一铁源包括硫酸亚铁溶液,所述第二铁源包括氯化铁溶液;步骤(b)中的所述浆料中Cl‑的浓度为0.2~0.4mol/L,pH为0.25~1.0。以该方法制备得到的二水磷酸铁作为制备磷酸铁锂的前驱体,取消其高温脱水步骤,并结合优化混合与烧结工艺,可实现短流程、低成本制备高性能高压实磷酸铁锂。

碳量子点光敏剂、由其制备得到的细胞外囊泡及应用

NºPublicación:  CN121757847A 31/03/2026
Solicitante: 
中国科学院理化技术研究所
CN_121757847_PA

Resumen de: CN121757847A

本发明公开一种碳量子点光敏剂、由其制备得到的细胞外囊泡及应用。所述碳量子点光敏剂由包含如下步骤的方法制备得到:将聚噻吩衍生物均匀分散于氢氧化钠水溶液中,得溶液A;加热所述溶液A,进行反应;待反应结束,降温至室温,取出溶液,经过滤、透析后,得到所述碳量子点光敏剂。本发明的技术方案解决了细胞外囊泡制备复杂繁琐、大量生产困难的问题,且该方法工艺简单,普适性好,耗时少,成本低。

一种硫银铋量子点薄膜制备方法、薄膜及其成像芯片

NºPublicación:  CN121759200A 31/03/2026
Solicitante: 
华中科技大学温州先进制造技术研究院
CN_121759200_PA

Resumen de: CN121759200A

0001 本发明公开一种硫银铋量子点薄膜制备方法、薄膜及其成像芯片,该方法包括:通过脂肪族硫醇溶液对硫银铋AgBiS<2>原始油相溶液进行液相或准液相状态下的预处理,获得配体重排的AgBiS<2>量子点薄膜;采用具有刚性芳香结构的芳香硫醇,对配体重排的AgBiS<2>量子点薄膜进行钝化,获得钝化后的AgBiS<2>量子点薄膜。通过脂肪族硫醇溶液对硫银铋AgBiS<2>原始油相溶液的预处理,再固相钝化AgBiS<2>量子点的同时,有效保持AgBiS<2>量子点的单分散性和光谱稳定性,进一步通过脂肪族硫醇溶液进行固相二次钝化,使得AgBiS<2>量子点间形成致密的交联网络,从而使得该方法生成的硫银铋量子点薄膜具有机械强度高、电学性能一致、界面稳定的特点。

一种亲锂性中空碳纳米纤维材料的制备方法及应用

NºPublicación:  CN121760098A 31/03/2026
Solicitante: 
南昌大学南昌大学共青城光氢储技术研究院
CN_121760098_PA

Resumen de: CN121760098A

0001 本发明提供了一种亲锂性中空碳纳米纤维材料的制备方法及应用,属于锂金属负极材料技术领域。制备方法包括:将功能化非溶剂有机物加入低沸点有机溶剂,将碳源高分子聚合物加入高沸点有机极性溶剂,两溶液混合得混合溶液;将亲锂性金属盐溶解于混合溶液中,搅拌溶解得前驱体溶液;对前驱体溶液进行静电纺丝,利用溶剂与非溶剂的双扩散作用引发非溶剂致相分离,原位形成中空结构,制得含中空的碳纳米纤维原丝膜;随后依次进行烘干、预氧化处理和高温碳化处理,即得亲锂性中空碳纳米纤维材料。该材料能诱导锂均匀沉积、有效缓冲体积膨胀,且制备方法简便高效,可通过控制溶液比例实现对纤维结构的调控,满足锂金属电池的应用需求。

ZSM-5分子筛及其制备方法和在制备二甲苯中的应用

NºPublicación:  CN121757882A 31/03/2026
Solicitante: 
中国石油化工股份有限公司中石化(上海)石油化工研究院有限公司
CN_121757882_PA

Resumen de: CN121757882A

本发明公开了一种ZSM‑5分子筛及其制备方法和在制备二甲苯中的应用。所述ZSM‑5分子筛XRD谱图中2θ=7.9°、8.8°、23.1°和23.9°处特征衍射峰宽化,宽化的衍射峰的高宽比各自独立地选自2~7。所述ZSM‑5分子筛作为催化剂用于制备二甲苯的反应中,可以联产偏三甲苯,同时降低了二甲苯中的间二甲苯含量。

一种多功能储能防爆浸没液的合成与稳定性提升工艺

NºPublicación:  CN121769354A 31/03/2026
Solicitante: 
山东铁投能源投资集团有限公司
CN_121769354_PA

Resumen de: CN121769354A

本发明公开了一种多功能储能防爆浸没液的合成与稳定性提升工艺,属于储能技术领域,主要由以下成分按重量百分比组成:低成本环保碳氢溶剂作为基础液,占74‑84%,表面改性氮化硼纳米片,占10‑15%,微胶囊化全氟己酮,占5‑8%,聚二甲基硅氧烷改性二氧化硅,占1‑3%。解决了传统浸没液纳米颗粒易团聚、与电池材料兼容性差、功能单一及成本高昂等问题,通过创新工艺显著提升了纳米颗粒在环保基液中的分散稳定性与材料相容性,有效防止沉降与腐蚀,构建的协同导热网络大幅提升了热管理效率,同时微胶囊技术实现了热失控的智能主动抑制,安全性能实现质的飞跃。

一种在介孔材料内构建含铅氢氧化物钝化层的钙钛矿量子点

NºPublicación:  CN121759209A 31/03/2026
Solicitante: 
温州锌芯钛晶科技有限公司
CN_121759209_PA

Resumen de: CN121759209A

本发明提供一种在介孔材料内构建含铅氢氧化物钝化层的钙钛矿量子点,包括如下重量分数:介孔材料30‑50份;堵孔剂4‑8份;钙钛矿纳米晶42‑60份;含铅氢氧化物钝化层余量;所述堵孔剂为金属氧化物;所述钙钛矿纳米晶为ABX3结构;其中,A选自Cs+、CH3NH3+中的至少一种,B为Pb,X为Cl‑、Br‑或I‑中的至少一种。本发明通过在介孔材料的孔道内进行微量水的调节,提升钙钛矿量子点PLQY和稳定性。

一种纳米硫酸钡的制备方法

NºPublicación:  CN121757906A 31/03/2026
Solicitante: 
宜昌华昊新材料科技有限公司
CN_121757906_A

Resumen de: CN121757906A

本发明属于钡的化合物制备技术领域,涉及一种纳米硫酸钡的制备方法。该方法采用基于天然多糖衍生物的原位可降解分散剂,在反应中通过官能团吸附于硫酸钡晶核表面抑制团聚;反应结束后调节pH至3.0–6.0,使分散剂酸催化水解为水溶性小分子,经简单水洗即可获得高纯度、高分散性产物。本发明通过引入具有晶面选择性吸附能力与酸触发降解特性的天然多糖衍生物作为原位可降解分散剂,构建了一种反应‑分散‑自清除一体化的纳米硫酸钡绿色制备新范式。该方法在无需牺牲分散性能的前提下,从根本上消除了有机杂质残留风险,显著提升了产物纯度与应用安全性,同时简化了后处理工艺,降低了能耗与废水处理成本,兼具技术先进性与产业化可行性。

基于室温自组装策略的零维钙钛矿纳米晶规模化制备方法

NºPublicación:  CN121759207A 31/03/2026
Solicitante: 
郑州大学
CN_121759207_A

Resumen de: CN121759207A

本发明属于纳米材料制备技术领域,公开了基于室温自组装策略的零维钙钛矿纳米晶规模化制备方法,旨在解决现有技术中产物均匀性差、高发光效率与导电性难以兼得且波长无法精确调控的技术难题。该方法采用油包水微乳液体系作为纳米反应器,通过限域反应从根源上保证了纳米晶生长的高度均一性。该组合物创造性地包含两种配体:一种是兼具表面钝化与电荷传输功能的π共轭导电主功能配体,它在确保高光致发光效率的同时,解决了传统绝缘配体导致导电性差的难题,另一种是竞争性调谐配体,它与主配体形成动态竞争平衡。本发明协同解决了产物均匀性、导电性和波长可控性等关键问题,制得的纳米晶兼具高光学纯度、高量子产率和优良导电性。

一种钙钛矿量子点手性光学膜的制备方法

NºPublicación:  CN121759198A 31/03/2026
Solicitante: 
南开大学
CN_121759198_PA

Resumen de: CN121759198A

0001 本发明为一种钙钛矿量子点手性光学膜的制备方法。该方法引入合适位阻的手性溴化铵盐配体,采用一步法制备手性钙钛矿量子点薄膜,通过改变钙钛矿前驱液中的化学组分含量和比例,可获得具有不同尺寸的手性量子点圆偏振发光薄膜,具有良好的圆偏振发光性能。本发明无需预先通过热注入法合成胶体量子点,工艺简单,并且制备出的手性量子点薄膜具有圆偏振发光性能强、发射光谱连续可调、PLQY高等特性。

一种碳酸钙包覆过氧化钙缓释纳米材料及其制备方法与应用

NºPublicación:  CN121757902A 31/03/2026
Solicitante: 
中国科学院城市环境研究所
CN_121757902_PA

Resumen de: CN121757902A

本发明涉及环境修复技术领域,公开了一种碳酸钙包覆过氧化钙缓释纳米材料及其制备方法及应用;该缓释纳米材料的成分包括过氧化钙和碳酸钙,且呈核壳结构,内核层为过氧化钙,外壳为碳酸钙;其制备仅需在常温常压及敞开体系中,将过氧化钙悬浊液持续搅拌5~60分钟,即可自发完成碳酸钙包覆,无需使用其它材料或者化学试剂。本发明提供的缓释纳米材料中碳酸钙外壳不仅使过氧化钙实现H2O2缓释,而且将材料的pH适用范围拓宽至3.0~11.0。与现有技术相比,本发明制备工艺极简、成本低廉、绿色环保,适用于有机物污染场地的原位化学氧化修复。

用于锂电池热失控预警的自供电热电阵列制备方法及器件

NºPublicación:  CN121772597A 31/03/2026
Solicitante: 
重庆长嘉汇新能源材料有限公司
CN_121772597_PA

Resumen de: CN121772597A

本发明涉及功能材料与器件技术领域,尤其涉及用于锂电池热失控预警的自供电热电阵列制备方法及器件。将羧基化碳纳米管、1‑甲基咪唑三氟甲磺酸溶液与PEDOT/PSS水性分散液按特定质量比混合均匀,利用1‑甲基咪唑阳离子驱动PEDOT自组装有序生长至碳纳米管表面,采用气溶胶喷射技术打印热电传感阵列,并将其与锂离子电池正极极片铝箔集成制备热电传感器件,利用PEDOT/碳纳米管复合体系热电效应监测锂电池充放电过程热量的变化。本发明提供的用于锂电池热失控预警的自供电热电阵列制备方法及器件,制得的复合热电阵列具有三维网络微观结构,表现出优异的热电性能和可集成性,能直接与电池正极极片粘合,用于热失控预警。

基于电化学的金属铂纳米团簇的大规模合成方法

NºPublicación:  CN121760019A 31/03/2026
Solicitante: 
天津大学
CN_121760019_PA

Resumen de: CN121760019A

本发明公开了基于电化学的金属铂纳米团簇的大规模合成方法,属于金属纳米团簇合成技术领域,包括以下步骤:在碳纸上制备Pt源;基于电化学氧化和还原反应在碳纸或ALK膜或GDE上制造羟基和缺陷;通过恒电流电解反应在碳纸或ALK膜或GDE上沉积Pt纳米团簇。本发明以具有羟基和缺陷的载体作为工作电极、Pt源作为对电极进行电解反应,通过电沉积方式实现了室温条件下利用电化学方法绿色、清洁、大规模制造合成了粒径较小、金属分布均匀的Pt纳米团簇,反应条件温和,不需加热,操作简便,产物易分离,碳载金属铂纳米团簇催化剂易回收。整个合成过程无需使用有毒性、有危险性的有机试剂,且反应效率及产率高,能够在工业中大量生产。

一种硅碳复合负极材料及其制备方法和应用

NºPublicación:  CN121769041A 31/03/2026
Solicitante: 
四川长虹新材料科技有限公司
CN_121769041_PA

Resumen de: CN121769041A

本发明公开了一种硅碳复合负极材料及其制备方法和应用,该硅碳复合负极材料包括多孔碳,以及附着于多孔碳上的硅颗粒,多孔碳与硅颗粒之间的附着方法包括化学键附着。本发明中的硅碳复合负极材料制成的锂电池,具有优异的首效、比容量和循环容量保持率。并且本发明中的硅碳复合负极材料的制备方法具有一步双效,绿色高效的特点。此外,本发明利用等离子体技术激发介质气体,通过不同介质气体的协同作用一步完成了“造孔”和“官能化”两个关键步骤,其相比传统化学活化法,避免了强酸强碱的使用和繁琐的清洗过程,无废水排放,更加环保节能。

暗黒色表面を有する部品を製造する方法

NºPublicación:  JP2026055786A 31/03/2026
Solicitante: 
ザ・スウォッチ・グループ・リサーチ・アンド・ディベロップメント・リミテッド
JP_2026055786_A

Resumen de: EP1000000A1

The invention relates to an apparatus (1) for manufacturing green bricks from clay for the brick manufacturing industry, comprising a circulating conveyor (3) carrying mould containers combined to mould container parts (4), a reservoir (5) for clay arranged above the mould containers, means for carrying clay out of the reservoir (5) into the mould containers, means (9) for pressing and trimming clay in the mould containers, means (11) for supplying and placing take-off plates for the green bricks (13) and means for discharging green bricks released from the mould containers, characterized in that the apparatus further comprises means (22) for moving the mould container parts (4) filled with green bricks such that a protruding edge is formed on at least one side of the green bricks.

一种氧化镍薄膜与钙钛矿太阳能电池的制备方法

NºPublicación:  CN121759900A 31/03/2026
Solicitante: 
上海钙蓝时代光电科技有限公司
CN_121759900_PA

Resumen de: CN121759900A

本发明涉及一种氧化镍薄膜与钙钛矿太阳能电池的制备方法,氧化镍薄膜制备方法包括:在石墨烯层或氮掺杂石墨烯层上,再通过磁控溅射沉积NiO,得到;钙钛矿太阳能电池的制备方法包括:首先在基底上制备石墨烯层或氮掺杂石墨烯层,再通过磁控溅射沉积NiO,得到氧化镍薄膜;之后在氧化镍薄膜上依次制备自组装单分子层、钙钛矿光吸收层、电子传输层、空穴阻挡层、背电极,得到钙钛矿太阳能电池。与现有技术相比,本发明能够在3‑15纳米厚度范围内,获得可与ALD法相媲美的薄膜质量,同时兼具磁控溅射法的成本与效率优势,具备广阔的产业化应用前景。

一种还原氧化石墨烯膜及其制备方法与应用

NºPublicación:  CN121757853A 31/03/2026
Solicitante: 
华东理工大学
CN_121757853_PA

Resumen de: CN121757853A

本发明提供一种还原氧化石墨烯膜及其制备方法与应用,该还原氧化石墨烯膜的X射线衍射图谱在使用Cu Kα射线作为辐射源的测试条件下,在2θ为12.32°±0.2°和23.28°±0.2°处分别具有特征峰,且其拉曼光谱的ID/IG为0.97~0.99:本发明提供的还原氧化石墨烯膜具有独特且稳定的双层间距结构和高密度结构缺陷,能够对金离子产生强相互作用,在黄金回收中表现出优异的提取能力。

铜铁类普鲁士蓝/氧化石墨烯复合电催化阴极及其制备方法

NºPublicación:  CN121757884A 31/03/2026
Solicitante: 
南京理工大学
CN_121757884_PA

Resumen de: CN121757884A

本发明公开了一种铜铁类普鲁士蓝/氧化石墨烯复合电催化阴极及其制备方法。所述方法采用一步共沉淀法,将氯化铜、单层氧化石墨烯粉末、柠檬酸、柠檬酸钠溶于水中,水浴加热并保温反应后形成铜源前驱体溶液,再将铜源前驱体溶液和铁氰化钾溶液混合,保温陈化后取沉淀物离心洗涤,干燥研磨后得到催化剂粉末,最后将粉末和PVDF混合溶于NMP并涂覆在亲水碳布上,制得铜铁类普鲁士蓝/氧化石墨烯复合电催化阴极。本发明的制备工艺简单,可大批量生产,制备的复合电催化阴极兼具高效的过氧化氢生产能力和原位芬顿催化能力,可有效产生活性氧物种进行有机污染物降解,大大提升了普鲁士蓝类似物材料在水处理领域的应用潜力。

一种硫硼氮共掺杂石墨烯包覆铜镍合金纳米颗粒电催化剂及其制备方法和应用

NºPublicación:  CN121755703A 31/03/2026
Solicitante: 
山东电力工程咨询院有限公司山东鲁电国际贸易有限公司
CN_121755703_PA

Resumen de: CN121755703A

0001 本发明公开了一种硫硼氮共掺杂石墨烯包覆铜镍合金纳米颗粒电催化剂及其制备方法和应用,属于电催化材料制备技术领域。本发明提供的制备方法包括:将铜盐、镍盐和含硼还原剂,在惰性气氛下反应得到硼掺杂铜镍前驱体;将所述铜镍前驱体与碳源、氮源混合后进行第一热处理,得到硼氮共掺杂石墨烯包覆铜镍合金纳米颗粒;将所述硼氮共掺杂石墨烯包覆铜镍合金纳米颗粒进行第二热处理,即得。本发明所提供的制备方法简便,易于放大,原料来源广且价格低廉,制备而得的电催化剂具有良好的催化活性,且能有效避免铜、镍金属在强碱性条件下的溶出,耐久性良好,同时能够在温和条件下实现氨氧化定向生成硝酸盐,且硝酸盐产率和选择性高。

单面修饰二维材料纳米片、晶圆级薄膜及其制备与应用

Nº publicación: CN121772480A 31/03/2026

Solicitante:

郑州大学

CN_121772480_PA

Resumen de: CN121772480A

本发明公开一种单面修饰二维材料纳米片、晶圆级薄膜及其制备与应用。针对现有技术中溶液法难以制备晶圆级大面积二维材料薄膜且纳米片易二次堆叠的技术问题,本发明采用油水两相界面限域反应策略,使硅氧烷偶联剂选择性地在界面处与二维材料纳米片单面接枝,形成具有亲水‑疏水不对称结构的Janus纳米片;通过界面张力驱动纳米片在油水界面自组装成连续薄膜,并采用倾斜提拉法将薄膜转移至基底。该方法在不破坏材料本征结构前提下扩大了层间距,有效避免二次堆叠,实现了4英寸以上晶圆级高质量薄膜制备,同时调控了材料电学性能,适用于光电子器件功能层。工艺简单、成本低廉,具有良好的普适性和产业化前景。

traducir