Ministerio de Industria, Turismo y Comercio LogoMinisterior
 

Alerta

Resultados 176 resultados
LastUpdate Última actualización 04/02/2026 [07:21:00]
pdfxls
Solicitudes publicadas en los últimos 30 días / Applications published in the last 30 days
previousPage Resultados 50 a 75 de 176 nextPage  

基于羟基磷灰石、氧化镁和单宁酸的多孔复合材料的制备方法

NºPublicación:  CN121371323A 23/01/2026
Solicitante: 
中国矿业大学徐州市中心医院江苏摩尔声学技术研究院有限公司
CN_121371323_PA

Resumen de: CN121371323A

本发明公开了一种基于羟基磷灰石、氧化镁和单宁酸的多孔复合材料的制备方法,该方法以聚乙二醇二丙烯酸酯为光交联单体,二苯基(2,4,6‑三甲基苯甲酰基)氧化膦为光引发剂,通过将纳米羟基磷灰石、纳米氧化镁和单宁酸均匀分散于单体溶液中,形成光固化浆料,并在紫外光下通过光固化3D打印技术成形。其中,纳米羟基磷灰石提供骨传导性,纳米氧化镁释放镁离子以促进成骨细胞分化,单宁酸赋予材料抗菌抗炎性能;采用三周期极小曲面中的Gyroid结构作为支架结构,该结构结合各组分的功能协同作用,使制备出的复合材料骨支架同时具备高孔隙率、优良的抗压强度、显著的生物活性以及主动的抗菌抗炎能力,能够有效促进骨组织的修复与再生。

基于云模式的脑出血穿刺手术区域协同方法、系统及介质

NºPublicación:  CN121370368A 23/01/2026
Solicitante: 
绵阳市第三人民医院四川互慧软件有限公司
CN_121370368_PA

Resumen de: CN121370368A

本发明涉及一种基于云模式的脑出血穿刺手术区域协同方法、系统及介质,涉及医疗手术区域协同技术领域。第一服务终端响应于获取的需要实施脑出血穿刺手术患者的脑出血穿刺手术信息,生成脑出血穿刺手术协同请求并发送至第二服务终端,第二服务终端响应于收到的脑出血穿刺手术协同请求确认是否同意协同的指令,若是同意协同的指令,则向第一服务终端发送同意协同的反馈,第一服务终端响应于收到的同意协同的反馈,向第二服务终端发送确认信息;第二服务终端响应于第一服务终端的确认信息,制定脑出血穿刺手术协同方案,制作脑出血穿刺手术3D打印导板。该方案,可以在患者不需要转院的情况下,及时提供可靠性更高的脑出血穿刺手术,促进便民医疗。

一种采用双重冷萃冻干工艺制备的颅骨组织工程支架及其制备方法

NºPublicación:  CN121371305A 23/01/2026
Solicitante: 
北京呈诺智颅科技有限公司
CN_121371305_PA

Resumen de: CN121371305A

本发明公开了一种采用双重冷萃冻干工艺制备的颅骨组织工程支架及其制备方法,本发明首次创造性地提出引入“双重冷萃冻干工艺”,以实现“打印‑干燥‑交联‑再干燥”的温和处理过程,在保留支架形貌精度的同时,显著增强其力学性能与结构稳定性,为3D打印骨组织工程材料的临床转化提供了全新思路与技术支撑,在临床骨修复领域具有广阔的应用前景。

一种复合支架材料及其制备方法与应用

NºPublicación:  CN121371168A 23/01/2026
Solicitante: 
江西理工大学南昌校区

Resumen de: CN121371168A

本发明提供一种复合支架材料及其制备方法与应用,涉及复合材料技术领域,制备方法包括:将六水合氯化铁、无水乙酸钠加入乙二醇中反应,得到Fe3O4纳米颗粒;将铁氰化钾、分散介质加入盐酸溶液中溶解,再加入Fe3O4纳米颗粒反应,得到Fe3O4/PB异质结;将Fe3O4/PB异质结与左旋聚乳酸混合研磨,通过激光打印形成PLLA‑Fe3O4/PB微波抗菌复合支架材料,本发明以PLLA为载体,负载Fe3O4/PB异质结构建支架材料,通过磁‑介协同效应增强微波吸收性能,在微波照射下,借助界面极化与偶极子极化双重机制,同步实现微波热疗与微波动力,二者协同对金黄色葡萄球菌感染的骨髓炎展现出高效抗菌效果。

微流体装置及其形成方法

NºPublicación:  CN121398907A 23/01/2026
Solicitante: 
悉尼大学心脏研究协会有限公司
CN_121398907_PA

Resumen de: AU2024233284A1

A method of manufacturing a patient-specific microfluidic device and a patient-specific microfluidic device are provided. The method includes obtaining three-dimensional (3D) information associated with vascular geometry in a region of interest from one or more clinical images associated with a patient, and fabricating the patient-specific microfluidic device using said 3D information. The patient-specific microfluidic device includes a flow channel having a geometry that substantially corresponds to the vascular geometry in the region of interest.

一种适配复杂热源的光固化3D打印热电水凝胶及其制备方法与应用

NºPublicación:  CN121378794A 23/01/2026
Solicitante: 
南开大学
CN_121378794_PA

Resumen de: CN121378794A

本发明涉及柔性热电材料领域,公开了一种适配复杂热源的光固化3D打印热电水凝胶及其制备方法与应用,其制备方法包括:将氯化胆碱、丙烯酸、甘油混合配制成深共晶溶剂,然后加入HEA、PEGDA和TPO形成前驱体墨水;采用前驱体墨水通过3D光固化打印机进行打印,得到深共晶凝胶并用有机溶剂进行洗涤,再在含有铁氰化钾、亚铁氰化钾、盐酸胍的混合水溶液中浸泡处理,得到适配复杂热源的光固化3D打印热电水凝胶。本发明的3D打印热电水凝胶可以实现形状定制化,在不规则热源收集、定制化可穿戴热电设备和健康监测等领域具有良好的应用前景。

一种义齿3D打印材料的过筛装置

NºPublicación:  CN223819114U 23/01/2026
Solicitante: 
合肥卓越义齿制作有限公司
CN_223819114_U

Resumen de: CN223819114U

本申请涉及3D打印材料领域,且公开了一种义齿3D打印材料的过筛装置,包括箱体,所述箱体的上表面固定连接有进料口,所述箱体的内侧壁滑动连接有第一过滤筛和第二过滤筛,所述第一过滤筛与所述第二过滤筛的上表面均贯穿开设有下料槽,所述箱体的侧表面卡合连接有第一接料盒、第二接料盒、第三接料盒,且所述第一接料盒位于所述第一过滤筛的下方,所述第二接料盒与所述第三接料盒均位于所述第二过滤筛的下方;本申请能够对义齿3D打印材料进行双重筛分,从而提高了义齿3D打印材料的筛分效率和均匀度,进而提高了筛分效率与筛分质量。

METHOD AND SYSTEM OF CREATING A REPLICA OF AN ANATOMICAL STRUCTURE

NºPublicación:  AU2025287348A1 22/01/2026
Solicitante: 
SHUBIN SR STEVEN
SHUBIN Sr, Steven
AU_2025287348_A1

Resumen de: AU2025287348A1

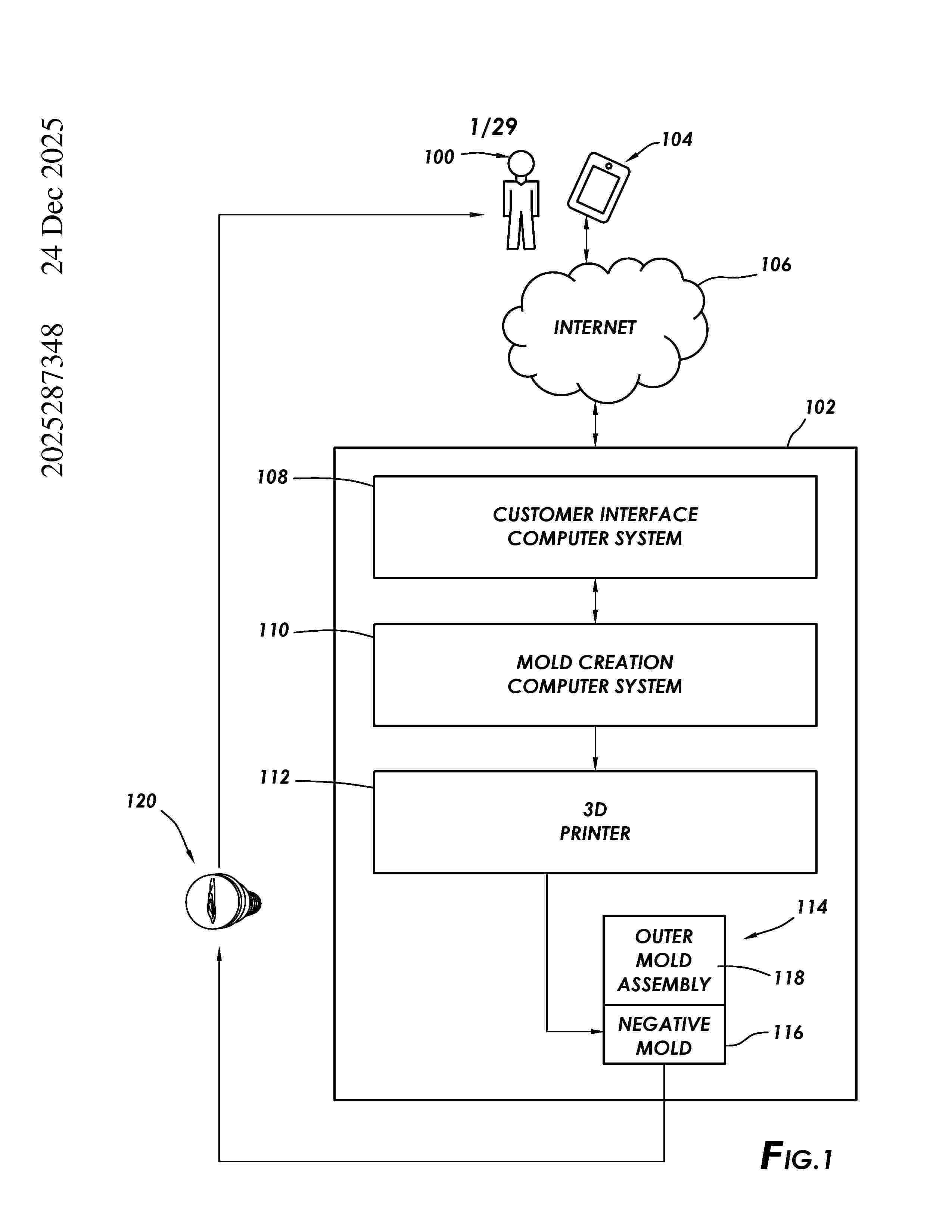
Creating a replica of an anatomical structure. In one embodiments a method includes: accepting pictures of the anatomical structure of a subject; creating an object file that contains an initial model of an outside surface of the anatomical structure; cutting the initial model to a predetermined exterior shape circumscribing the anatomical structure to create a positive model; creating a negative model from the positive model; placing a stem tool object on an outside surface of the negative model in relationship to an orifice, thereby creating a final negative model; placing a zeroing and angling object to align the negative model to a predetermined angle; placing a base tool object by coupling the base tool object to the outside surface; and casting the replica of the anatomical structure using the negative mold. ec e c

HYDROGEL WITH A HYDROPHILIC THICKENING POLYMER AND PARTICLES OF EGGSHELL MEMBRANE, AND ITS BIOPRINTED PRODUCTS

NºPublicación:  US20260022330A1 22/01/2026
Solicitante: 
UNIV COTE DAZUR [FR]
CENTRE HOSPITALIER UNIV DE NICE [FR]
UNIVERSITE COTE D'AZUR,
Centre Hospitalier Universitaire de Nice
US_20260022330_A1

Resumen de: US20260022330A1

A composition which is a hydrogel including, in an aqueous medium: at least one hydrophilic thickening polymer, and particles of eggshell membrane, in an amount of less than 5% by weight of the total weight of the composition, wherein the particles are rod-shaped, needle-shaped or fibrous, having a specific particle size. Also described is a bioink including the composition, a method for manufacturing a 2D or 3D product using the hydrogel, a kit including the hydrogel or bioink, and to uses thereof.

POLYMERIC MICRONEEDLES AND RAPID ADDITIVE MANUFACTURING OF THE SAME

NºPublicación:  US20260021632A1 22/01/2026
Solicitante: 
THE UNIV OF NORTH CAROLINA AT CHAPEL HILL [US]
THE UNIVERSITY OF NORTH CAROLINA AT CHAPEL HILL
US_20260021632_PA

Resumen de: US20260021632A1

The invention generally relates to microneedle devices, methods of making same, pharmaceutical compositions comprising same, and methods of treating a disease comprising administering same. Specifically, the disclosed microneedle devices comprise a plurality of biocompatible microneedles having one or more of: (i) a curved, discontinuous, undercut, and/or perforated sidewall; (ii) a sidewall comprising a breakable support; and (iii) a cross-section that is non-circular and non-polygonal. The microneedles may also be tiered. Alternatively, the microneedles may be tiered. This abstract is intended as a scanning tool for purposes of searching in the particular art and is not intended to be limiting of the present invention.

SYSTEM AND METHOD FOR CREATING TISSUE

NºPublicación:  US20260022324A1 22/01/2026
Solicitante: 
DEKA PRODUCTS LP [US]
DEKA Products Limited Partnership
US_20260022324_PA

Resumen de: US20260022324A1

A system and method for growing and maintaining biological material including producing a protein associated with the tissue, selecting cells associated with the tissue, expanding the cells, creating at least one tissue bio-ink including the expanded cells, printing the at least one tissue bio-ink in at least one tissue growth medium mixture, growing the tissue from the printed at least one tissue bio-ink, and maintaining viability of the tissue.

PHOTOPOLYMERIZATION OF NON-MODIFIED PROTEINS

NºPublicación:  US20260021222A1 22/01/2026
Solicitante: 
YISSUM RESEARCH DEVELOPMENT COMPANY OF THE HEBREW UNIV OF JERUSALEM LTD [IL]
SHEBA IMPACT LTD [IL]
Yissum Research Development Company of the Hebrew University of Jerusalem Ltd,
Sheba Impact Ltd
US_20260021222_PA

Resumen de: US20260021222A1

A biological 3D printed multilayered scaffold is provided, which comprises a crosslinked native or non-modified protein containing a di-tyrosine matrix: the scaffold being configured for containing living cells introduced thereto during printing or post-printing.

SYSTEM ADAPTED FOR PROVIDING A THERMAL, MEDICAL AND THERAPEUTICAL EFFECT AT A SPECIFIC POINT OF BODY OF A PATIENT

NºPublicación:  US20260020978A1 22/01/2026
Solicitante: 
CRYOTHERMO 4 0 SARL [CH]
CRYOTHERMO 4.0 S\u00C0RL
US_20260020978_PA

Resumen de: US20260020978A1

The present invention relates to a system (1) adapted for providing a thermal and therapeutical effect to a patient (10) at a specific point of his body. The system comprises an element of contact (20a, 20b), adapted to be placed in contact to the point of body. The element of contact comprises a structural element (21) defining a tridimensionality shape. The system also comprises a thermal regulation device (50) and a regulation fluid circulating through the thermal regulation device and the element of contact. The present invention also relates to a process adapted to manufacture such a structural element.

CUTTING BLOCK

NºPublicación:  US20260020865A1 22/01/2026
Solicitante: 
SMITH & NEPHEW INC [US]
SMITH & NEPHEW ORTHOPAEDICS AG [CH]
Smith & Nephew, Inc,
Smith & Nephew Orthopaedics AG
US_20260020865_PA

Resumen de: US20260020865A1

A low-cost disposable. 3-D printed cutting guide. The cutting guide may be made with modular attachment spikes. The cutting guide may be provided in connection with a femoral trial for use in preparing a patient's bone to receive an implant.

DEVICE AND METHOD FOR FOOTWEAR CUSTOMIZATION

NºPublicación:  US20260020643A1 22/01/2026
Solicitante: 
SUPERFEET AGGREGATOR LLC [US]
Superfeet Aggregator LLC
US_20260020643_PA

Resumen de: US20260020643A1

A device and method for the formation of customized footwear insoles and pads is provided. The system employs computers operatively engaged to scanning components to produce individual electronic footprints of a foot of a wearer. Software operating to the tasks of employing the digital data from one or a plurality of electronic footprints, correlating to scans of the feet of a footwear user, will customize an insole or pad for positioning in the footwear to more comfortably support the foot therein.

Positioning Device For Bioprinting

NºPublicación:  US20260021487A1 22/01/2026
Solicitante: 
NEW JERSEY INSTITUTE OF TECH [US]
New Jersey Institute of Technology
US_20260021487_PA

Resumen de: US20260021487A1

A novel portable, and attachable device allows precise positioning of micro-tissues, tumor spheroids, and other biological samples during bioprinting. The device features an interchangeable connector for handling samples of various sizes and uses a manually adjustable pressure system for suction and deposition. A programmable control unit coordinates pressure and positioning based on input commands, enhancing accuracy and consistency in tissue handling. Compatible with multiple bioprinter systems and supporting both manual and automated operation, it streamlines workflows and improves user experience. This device addresses challenges in high-throughput biological positioning, critical for tissue engineering, clinical, pharmaceutical, and research applications. It supports advancements in customized medicine, biological models, and environmental monitoring, meeting the growing demand for precise biologic handling in the multi-billion-dollar bioprinting and biopsy markets. The device offers superior control over tissue biopsy positioning compared to current manual devices reliant on operator skill.

Additive Manufacturing on Machined Assembled Parts

NºPublicación:  US20260020963A1 22/01/2026
Solicitante: 
HOWMEDICA OSTEONICS CORP [US]
Howmedica Osteonics Corp
US_20260020963_PA

Resumen de: US20260020963A1

An implant having two adjacent solid parts, a third solid part disposed between the two solid parts, and a porous part extending from the solid parts. The implant is fabricated by a process that includes first assembling the solid parts before additively manufacturing the porous part on surfaces defined by the solid parts. This process may include positioning a first fabricated component adjacent to a second fabricated component such that a side surface of the first fabricated component and a side surface of the second fabricated component form a build surface. Then additively manufacturing a structure on the build surface such that the structure extends across and is permanently fixed to both of the side surfaces of the first and the second fabricated components such that the first and the second fabricated components form part of the implant.

ANTI-INFECTION CATHETER AND MANUFACTIRUNG METHOD

NºPublicación:  EP4680320A1 21/01/2026
Solicitante: 
CALIFORNIA INST OF TECHN [US]
California Institute of Technology
CN_121335733_PA

Resumen de: US2025128021A1

Systems and methods for altering the geometry of a fluid channel to prevent upstream mobility of bacteria, using angled obstacles on the interior of the channel that among other things creates vortices that restrict the mobility. An optimized geometry can be realized by an artificial intelligence algorithm or similar methods based on performance of various configurations of obstacle parameters.

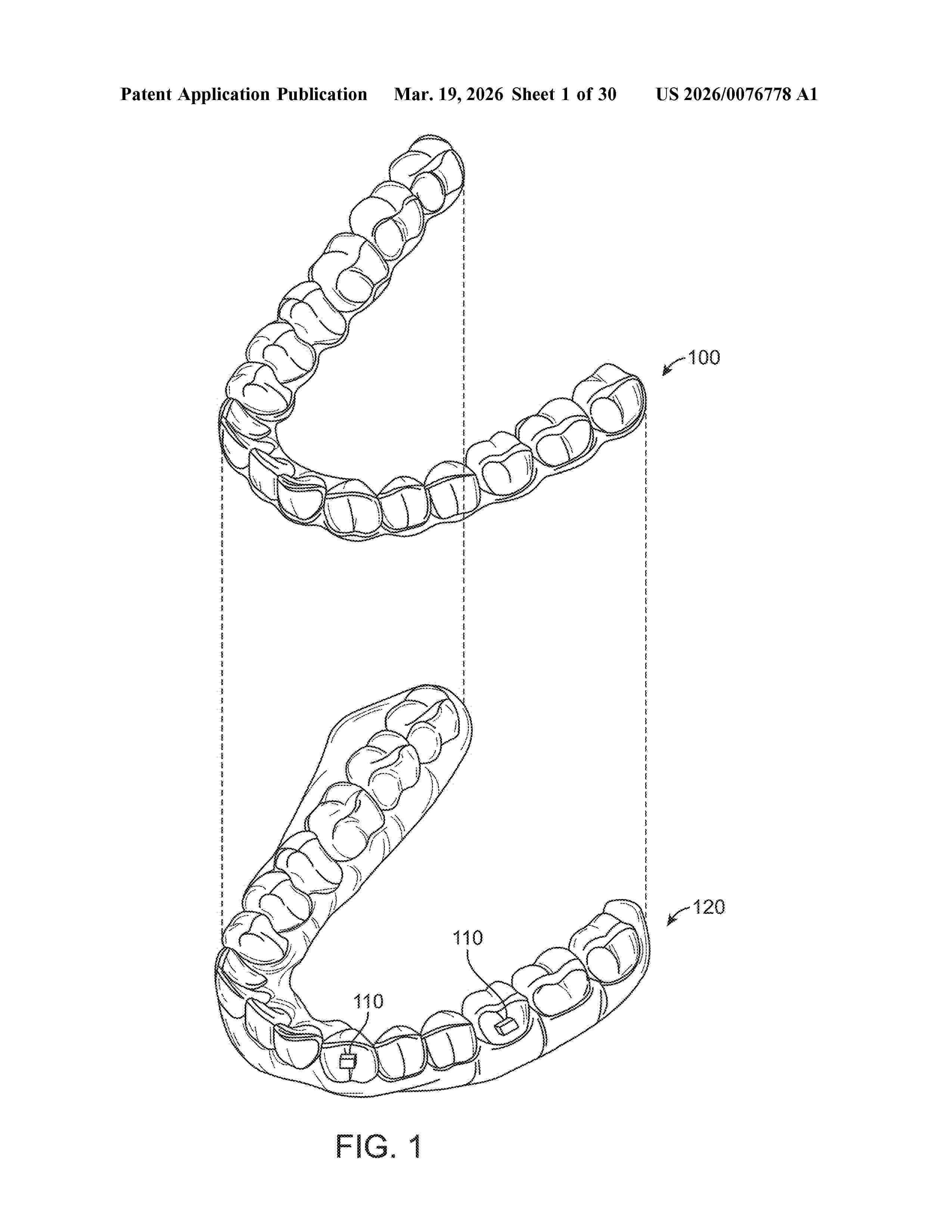
CROSSLINKERS AND COMPOSITIONS

NºPublicación:  EP4680180A1 21/01/2026
Solicitante: 
ALIGN TECHNOLOGY INC [US]
Align Technology, Inc
CN_121038767_PA

Resumen de: CN121038767A

The present disclosure provides crosslinker compounds that can produce desired polymeric materials, polymeric compositions, and/or photocurable resins. Further provided herein are methods of producing crosslinker compounds, compositions, resins, devices, and polymeric materials. Also provided herein are methods of making (e.g., by 3D printing) a medical device (e.g., an orthodontic appliance) using a crosslinker compound, a resin, and a polymeric material.

PHOTOCURABLE POLYMERS AND COMPOSITIONS FOR 3D PRINTING RESINS

NºPublicación:  EP4680464A1 21/01/2026
Solicitante: 
ALIGN TECHNOLOGY INC [US]
Align Technology, Inc
CN_121127368_PA

Resumen de: US2024400859A1

The present disclosure provides a miktoarm polymer having the following structure:where polymer chain 1, 2, 3, 4, A1 and A2 are as defined herein. These miktoarm polymers can produce desirable polymeric materials and being used as a component in photo-curable resins. Further provided herein are methods of producing miktoarm polymers, as well as compositions, resins, devices, and polymeric materials by use of the same. Also provided herein are methods of using miktoarm polymers, resins, and polymeric materials for the fabrication (e.g., via 3D printing) of medical devices, such as orthodontic appliances.

MIXTURE, POLYMER, DENTAL POLYMER FOR 3D PRINTING AND MEDICAL PRODUCT THEREOF

NºPublicación:  EP4680181A1 21/01/2026
Solicitante: 
PRO3DURE MEDICAL GMBH [DE]
PRO3DURE MEDICAL GMBH
WO_2024189111_A1

Resumen de: WO2024189111A1

The present invention relates to a mixture, for 3D printing, particularly a resin for 3D printing comprising - a monomer, oligomer or polymer, or a mixture thereof, comprising at least one acrylate or methacrylate subunit, and - a lactam, characterized in that the lactam concentration is 0.001 to 0.3 wt%, particularly the lactam concentration is 0.001 to 0.15 wt%, more particularly the lactam concentration is 0.01 to 0.1 wt%. Furthermore, the present invention relates to a polymer, in particular a dental polymer or an otoplastic polymer comprising polymerised monomers and/or oligomers or polymers and a lactam, as well as a medical product comprising said polymer.

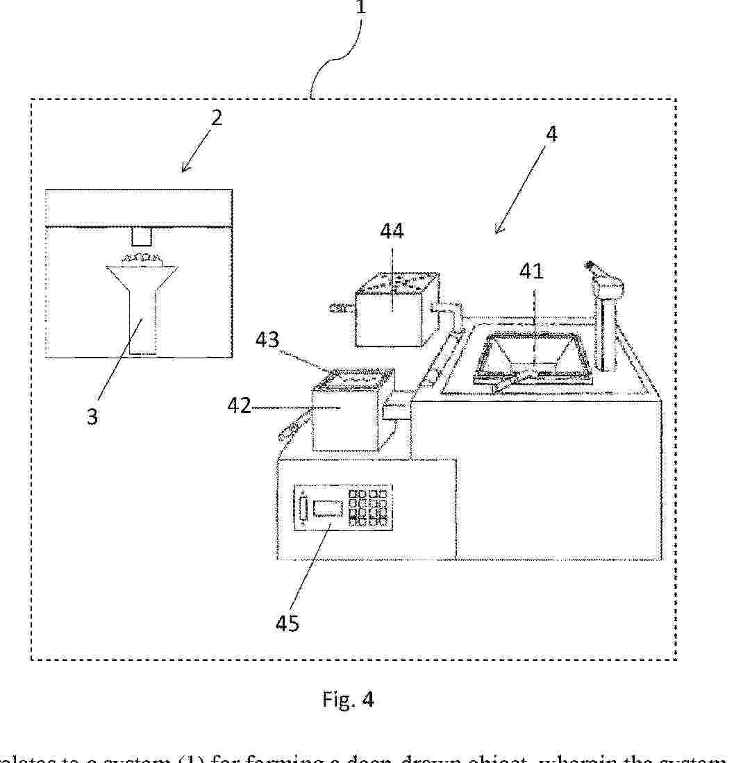
SYSTEM, DEEP-DRAWING DEVICE AND METHOD FOR FORMING A DEEP-DRAWN OBJECT

NºPublicación:  EP4680450A1 21/01/2026
Solicitante: 
PRO3DURE MEDICAL GMBH [DE]
PRO3DURE MEDICAL GMBH
WO_2024189093_PA

Resumen de: WO2024189093A1

The invention relates to a system (1) for forming a deep-drawn object, wherein the system (1) comprises: - a generative manufacturing device (2) configured to generate a three-dimensional (3D) object on a build platform (3) and - a deep-drawing device (4), characterized in that the deep-drawing device (4) comprises a receiving structure (41) configured to receive the build platform (3), particularly the build platform (3) with the 3D object (5) on the build platform (3), such that when the build platform (3) is received by the receiving structure (41), the deep-drawn object can be generated by the deep-drawing device (4) based on the 3D object (5). The invention also relates to a deep-drawing device (4) and a method for forming a deep-drawn object.

FUNCTIONALIZED RECOMBINANT BACTERIAL COLLAGEN-LIKE PROTEINS

NºPublicación:  EP4680622A1 21/01/2026
Solicitante: 
EVONIK OPERATIONS GMBH [DE]
Evonik Operations GmbH
KR_20250158066_PA

Resumen de: CN120882736A

A recombinant bacterial collagen-like protein, preferably having an amino acid sequence at least > = 60% identical to the amino acid sequence of SEQ ID NO: 1, where the amino acid sequence comprises a deletion of at least 38 amino acids at the N-terminus of the amino acid sequence of SEQ ID NO: 1, where the recombinant collagen-like protein is functionalized with at least one non-terminal alkenyl group. The present invention relates to a functionalized recombinant bacterial collagen-like protein, a bio-ink comprising the functionalized recombinant bacterial collagen-like protein, at least one solvent and at least one photoinitiator, a method for producing a hydrogel by crosslinking the functionalized recombinant bacterial protein or the bio-ink and the hydrogel obtained therefrom. In addition, the scaffold for tissue engineering comprises a hydrogel.

SURGICAL CLAMP

NºPublicación:  EP4680132A1 21/01/2026
Solicitante: 
VIORTEC PTY LTD [AU]
Viortec Pty Ltd
AU_2024235637_PA

Resumen de: AU2024235637A1

A surgical clamp for providing a stable mechanical grasp and stabilisation of bone during an orthopaedic surgical procedure, comprising: a first arm comprising: an extended section comprising a mount at the distal end thereof; and a first jaw portion located at the distal end of the first arm; a second arm comprising: a fastening platform located at the proximal end of the second arm; and a second jaw portion located at the distal end of the second arm; engagement means comprising a bolt to engage the first arm with the second arm about a pivot point formed by the engagement means to provide relative rotation of the first and second arms between: an open configuration whereby first jaw portion and second jaw portion are urged apart; and a clamped configuration whereby first jaw portion and second jaw portion are urged into clamping engagement with the patient's bone in use during the surgical procedure; a fastening component comprising a fastening bolt and a fastening nut, adapted to engage the first and second arm into a locked clamped configuration about the bone of a patient during the surgical procedure; and a handle adapted to be gripped by a surgical assistance for stabilisation of the patient's joint or bone during the surgical procedure.

インプラントおよびインプラントの形成方法

Nº publicación: JP2026010214A 21/01/2026

Solicitante:

ベラセノゲーエムベーハー

JP_2026010214_PA

Resumen de: EP4484167A2

Embodiments herein relate to a three-dimensional implant for tissue reconstruction or tissue augmentation for insertion into a patient and a method for forming thereof. The implant comprises a plurality of strands forming a three-dimensional structure. The three-dimensional structure comprises a plurality of hollow channels. Each hollow channel comprises a plurality of sidewalls. A sidewall comprises a plurality of strand segments and a plurality of gaps arranged alternatingly so that a gap is formed between adjacent strand segments of the sidewall. The gap comprises a gap length (gl) and a resting gap height (gh). The plurality of gaps are reversibly expandable gaps. The height of the gap increases due to an object being received by the gap which causes a deflection (δ) in each of the adjacent strand segments, and the height of the gap decreases due to the object being removed from the gap. The plurality of strands are formed from a material having a yield strength (σyield) and elastic modulus (E). A ratio of a radius (R) of the plurality of strands to a square of the gap lengths (gl) of a reversibly expandable gap is based on the yield strength (σyield) of the material, the elastic modulus (E) of the material and a deflection capability δ of a strand segments of the gap, wherein the deflection capability (δ) is the deflection of the adjacent strand segments caused by the insertion of the object into the gap. The ratio of the radius (R) of the plurality of strands (101)

traducir