Ministerio de Industria, Turismo y Comercio LogoMinisterior
 

Alerta

Resultados 162 resultados
LastUpdate Última actualización 11/12/2025 [07:04:00]
pdfxls
Solicitudes publicadas en los últimos 30 días / Applications published in the last 30 days
previousPage Resultados 100 a 125 de 162 nextPage  

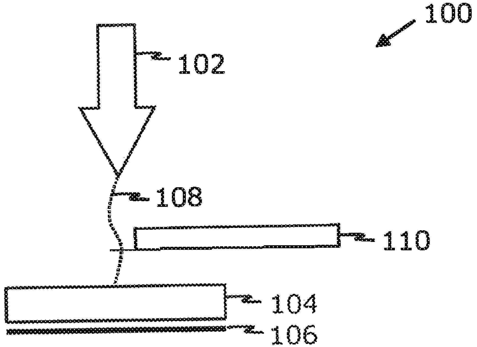
REMOTE TRACKING AND APPROVAL OF MEDICATION DELIVERY

NºPublicación:  US2025353632A1 20/11/2025
Solicitante: 
OPIO CONNECT INC [US]
OPIO CONNECT, INC

Resumen de: US2025353632A1

A system for dispensing and verifying a dosage in a bottle. The system includes a stage for holding the bottle. The system further includes a pump-printer module, configured to receive a set of dosage specifications. The module includes a dosage dispenser configured to fill the bottle with the dosage according to the set of dosage specifications, and a printer device configured to print and apply a label onto the bottle listing out the set of dosage specifications. The dosage dispenser and the printer device are configured to operate simultaneously. The system further includes one or more imaging components disposed optically in-line with the stage, configured to capture a plurality of images of the bottle and the label.

A MULTI-TECHNOLOGY PRINTING SYSTEM

NºPublicación:  WO2025238634A1 20/11/2025
Solicitante: 
PRECISE BIO 3D LTD [IL]
PRECISE BIO 3D LTD
WO_2025238634_PA

Resumen de: WO2025238634A1

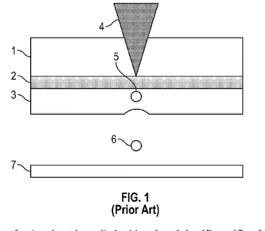
A system for performing substrateless and/or local donor Laser Induced Forward Transfer (LIFT), comprising a reservoir comprising at least one opening and an energy source configured to deliver energy to a donor material within said reservoir, characterized by at least one of: said reservoir is embedded into a medical device; said reservoir is in fluid connection with a medical device; said reservoir is incorporated into a medical device; said reservoir contains at least one biologically active substance; and, said reservoir is in fluid connection with at least one source of at least one biologically active substance. This system enables deposition of material by LIFT without any need for a donor substrate. Methods of substrateless and local donor LIFT, in particular for medical and biological applications, are also disclosed.

TACTILE DIFFERENTIATION OF DRUGS FOR THE BLIND AND VISUALLY IMPAIRED

NºPublicación:  WO2025238558A1 20/11/2025
Solicitante: 
VERRANA LLC [US]
VERRANA LLC
WO_2025238558_PA

Resumen de: WO2025238558A1

Disclosed is a system and method for providing solutions for differentiating medications for blind and visually impaired patients. Applicant provides for a method of medication management that enables a user to differentiate solid and semi-solid dose forms using non-visual sense, namely tactical. By configuring a top, bottom, edge or side of said device to have one or more raised or indented letters, symbols, figures, logos, geometric figures, markings or textural differences, or any combination thereof, or in any variable shape and size thereof, to induce a tactile sensation, the system and method disclosed herein provide for on-dose tactile features that can improve the ability of patients to tell medications apart by touch and can be scaled into tablet manufacturing.

PREPARATION METHOD OF A HIP JOINT BONE CEMENT PLACEHOLDER

NºPublicación:  US2025352364A1 20/11/2025
Solicitante: 
THE THIRD AFFILIATED HOSPITAL GUANGZHOU MEDICAL UNIV GZ CRITICAL PREGNANT WOMEN CENTER [CN]
The Third Affiliated Hospital, Guangzhou Medical University (GZ Critical Pregnant Women Center)
WO_2024175135_PA

Resumen de: US2025352364A1

Disclosed are a metal inner core, a placeholder and a preparation method for a hip joint bone cement placeholder. By designing the metal inner core including a frame body and a supporting portion inside the hip joint bone cement placeholder, the strength of the placeholder is enhanced; due to the fact that the metal inner core is hollow, the antibiotic bone cement can fill the inner portion of the metal inner core, the content of antibiotics in the placeholder cannot be affected, and infection is effectively controlled; the hollowed-out structure endows the placeholder with lighter weight and stronger structural strength, and meanwhile, the material cost is effectively reduced; and according to the preparation method of the hip joint bone cement placeholder, the size design of the placeholder and the metal inner core is carried out, so that the joint matching degree between the placeholder and the patient is high.

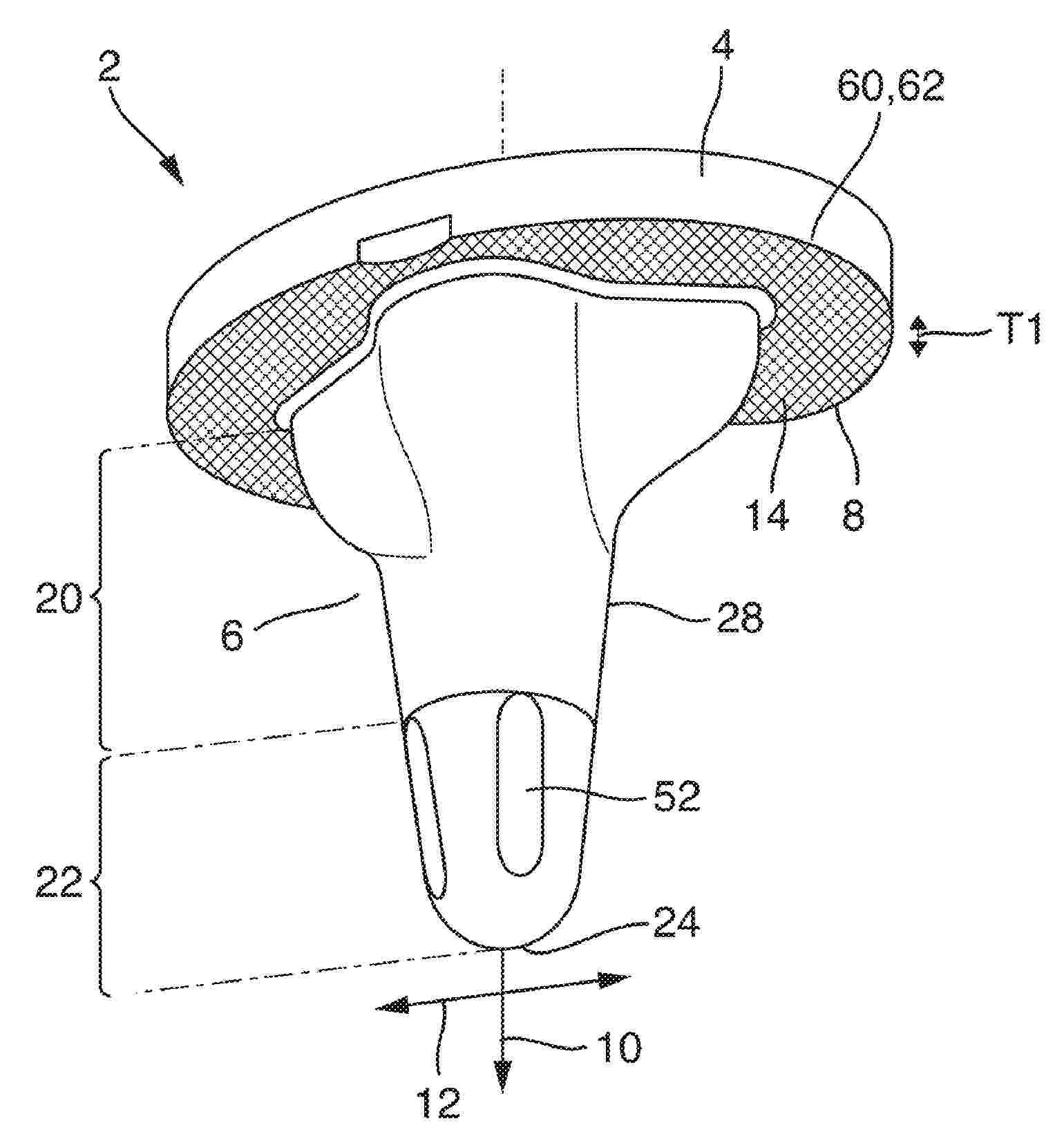
GYNECOLOGICAL PROTHETIC WITH ANCHOR MEMBERS AND EXPANDABLE CONNECTING LINKS, AND METHOD FOR CUSTOM-DESIGNNG THE SAME

NºPublicación:  US2025352320A1 20/11/2025
Solicitante: 
FEMTHERAPEUTICS INC [CA]
FEMTHERAPEUTICS INC
WO_2023212798_PA

Resumen de: US2025352320A1

Disclosed is a gynecological prosthetic including a plurality of anchor members configured to rest on anchor points within a vagina, and a plurality of connecting links that couple the anchor members together. The connecting links are configured to be compressible to enable a compact state when the gynecological prosthetic is being installed in the vagina. Also, the connecting links are configured to be expandable from the compact state after the gynecological prosthetic is installed in the vagina so as to push the anchor members outward against inside surfaces of the vagina to resist displacement of the gynecological prosthetic. This gynecological prosthetic can have a better fit to an anatomical shape of an upper vagina compared to current gynecological prosthetics, in part because its design and flexibility enable it to expand in certain directions. Also disclosed is a method and apparatus for custom-designing the gynecological prosthetic.

APPARATUS AND METHOD FOR MANUFACTURING CUSTOMIZED 3D-PRINTED UPPER-JAW FIXATION DEVICE

NºPublicación:  WO2025239483A1 20/11/2025
Solicitante: 
WONKWANG UNIV CENTER FOR INDUSTRY ACADEMY COOPERATION [KR]
\uC6D0\uAD11\uB300\uD559\uAD50\uC0B0\uD559\uD611\uB825\uB2E8
WO_2025239483_PA

Resumen de: WO2025239483A1

The present invention relates to an apparatus and a method for manufacturing a customized 3D-printed upper-jaw fixation device. The apparatus for manufacturing a customized 3D-printed upper-jaw fixation device according to an embodiment of the present invention may comprise: a scanning unit for collecting a digital impression of an oral cavity through an intraoral scanner; a design unit for setting an engagement of a clasp by considering positions of teeth and a buccal surface in the digital impression; an output setting unit for setting a thickness and applying an offset to the digital impression in which the clasp engagement is set so as to generate an output file; and a printing unit for outputting the upper-jaw fixation device on the basis of the output file.

TUMOR MODEL AND PROCESS OF PREPARATION THEREOF

NºPublicación:  EP4650437A1 19/11/2025
Solicitante: 
ASOCIACION CENTRO DE INVESTIG EN BIOMATERIALES CIC BIOMAGUNE [ES]
Asociaci\u00F3n Centro de Investigaci\u00F3n en Biomateriales - CIC biomaGune
EP_4650437_A1

Resumen de: EP4650437A1

The present invention refers to a process for preparing a three-dimensional tumor model having a core-shell structure using bioprinting techniques leading to tumor models capable of better reproducing the physiopathological complexity of real tumors, mimicking the tumor microenvironment and the original tumor tissue extracellular matrix. The process is based on the use of dECM (decellularized extracellular matrix) bioinks but with the particularity that no exogenous biopolymers that modify the rheological properties to improve printability are needed. The absence of rheological modifiers in the bioinks avoids any kind of physical or biochemical interference in the tumor model so obtained.

METHODS FOR GENERATING SUPPORT STRUCTURES FOR ADDITIVELY MANUFACTURED OBJECTS

NºPublicación:  EP4648962A1 19/11/2025
Solicitante: 
ALIGN TECHNOLOGY INC [US]
Align Technology, Inc
CN_120858020_PA

Resumen de: US2024227300A1

Methods and systems for generating support structures for additively manufactured objects are described herein. In some embodiments, a method includes receiving a digital representation of a dental appliance configured to implement a treatment stage of a treatment plan for a patient's teeth. The method can include generating a support structure arrangement configured to support the dental appliance during an additive manufacturing process. The support structure arrangement can be generated using a machine learning model. The machine learning model can be trained on a training data set including appliance data representing geometries of a plurality of dental appliances, support structure data representing geometries of a plurality of support structure arrangements, and outcome data representing outcomes of the additive manufacturing process for the plurality of dental appliances with the respective support structure arrangements.

BIOMETRIC MODEL OF FIBROSIS

NºPublicación:  EP4648807A1 19/11/2025
Solicitante: 
FOND DEMOCENTER SIPE [IT]
Fondazione Democenter Sipe
WO_2024150259_PA

Resumen de: WO2024150259A1

Method for producing a biomimetic model of fibrosis which comprises the steps of: associating at least one cell type with at least one bio-ink containing collagen, obtaining a first compound; depositing said first compound in a culture medium obtaining a first deposited compound; keeping said first deposited compound in said culture medium for a period of time longer than 1 day, preferably comprised between 2 and 5 days; adding a profibrotic factor TGF-beta (TGFP) to said first deposited compound, obtaining a second added compound; keeping said second added compound in said culture medium for an additional period of time longer than 1 day, preferably comprised between 2 and 7 days; a biomimetic model of fibrosis which comprises at least one cell type associated with at least one bio-ink containing type I collagen and at least one profibrotic factor TGFβ is added to said bio-ink.

換気のためのデバイスおよび関連する方法

NºPublicación:  JP2025170361A 18/11/2025
Solicitante: 
フルーイドアイキューインク.
JP_2025170361_PA

Resumen de: US2024091483A1

Provided herein are devices and methods that relate to ventilation and respiration. In one embodiment, a ventilator device comprising a fluidic amplifier with one or more coaxially aligned components, where there are no internal moving components. In another embodiment, a device and related methods for treating a patient who needs ventilation such as after infection by the coronavirus Covid-19.

一种非均匀融合结构多孔陶瓷及其制备方法与应用

NºPublicación:  CN120965363A 18/11/2025
Solicitante: 
陕西工业职业技术大学
CN_120965363_PA

Resumen de: CN120965363A

本申请公开了一种非均匀融合结构多孔陶瓷的制备方法,包括:步骤一、构造融合函数,确定融合函数的参数;步骤二、制备蜡型负模板;步骤三、配置陶瓷浆料;步骤四、浸渍、冷冻;步骤五、低压干燥;步骤六、烧结,获得TPMS结构多孔陶瓷。本申请还包括一种非均匀融合结构多孔陶瓷。本申请还包括非均匀融合结构多孔陶瓷在仿生骨支架领域中的应用。本申请融合G形函数和TPMS函数构造融合函数,实现多种孔型的非均匀融合;采用蜡质负模板冷冻铸造,间接成型的方式,保留了复杂结构的设计自由度的同时,解决了直接3D打印多孔陶瓷时面临的分辨率限制、收缩变形和支撑困难等问题,使用效果好。

ORAL MODEL DATA MATCHING METHOD AND DEVICE

NºPublicación:  FI4101407T3 18/11/2025
Solicitante: 
OSSTEM IMPLANT CO LTD
Osstem Implant Co., Ltd
FI_4101407_T3

Resumen de: US2023076682A1

The present disclosure relates to a method and device for matching oral model data that can provide matching points to a user to match oral model data and computerized tomography (CT) data even for edentulous patients. In this way, convenience is increased and matched data can be effectively generated even for edentulous patients for whom matching has been difficult conventionally.

一种用于眼部疾病治疗的跨巩膜持续给药装置

NºPublicación:  CN223555063U 18/11/2025
Solicitante: 
爱尔眼科医院集团股份有限公司长沙爱尔眼科医院
CN_223555063_U

Resumen de: CN223555063U

本实用新型公开一种用于眼部疾病治疗的跨巩膜持续给药装置,包括圆弧体、翼型固定板和固定带;圆弧体的底面开设有凹槽;两翼型固定板对称设置在圆弧体的两侧;两翼型固定板分别纳入外直肌的肌腹下和下直肌的肌腹下;若干固定带固接在圆弧体的底面上,固定带与凹槽的内壁之间设有间隙,间隙用于存放药膜;两翼型固定板远离圆弧体的一端设有间隔,圆弧体和两翼型固定板整体呈C字形。本实用新型能良好贴合眼球、减少对眼球的压迫,从而不影响眼球自由转动,提高佩戴舒适感及药物生物利用度,减少药物成分外渗于角结膜面及筋膜组织,避免药物通过结膜血管及淋巴管进步血压循环,降低全身副作用的风险,减少毒性及不良反应的发生。

一种腰椎压缩性骨折俯卧过伸复位手术垫板制备方法

NºPublicación:  CN120959957A 18/11/2025
Solicitante: 
中国人民解放军部队
CN_120959957_PA

Resumen de: CN120959957A

本发明属于医疗器械技术领域,涉及一种腰椎压缩性骨折俯卧过伸复位手术垫板的制备方法,包括以下步骤:收集患者胸腰椎影像学资料(X线片和CT图像);通过三维重建软件生成腰椎三维立体模型;分析骨折椎体解剖学关系;利用Surgimap软件进行3D过伸位复位模拟,计算过伸角度(β‑α),生成胸部垫子和髂部垫子的三维数字化模型;采用3D打印技术制作手术垫板,表面覆盖泡沫或硅胶软垫。本方法基于患者个性化数据,精准设计垫板参数,使腰椎稳定于过伸位,显著提高复位效果,降低手术难度和并发症。适用于PVP、PKP等手术,制作成本低,易推广,改善患者预后。

一种可降解材料及其制备方法和用途

NºPublicación:  CN120960503A 18/11/2025
Solicitante: 
中国石油化工股份有限公司中石化(北京)化工研究院有限公司
CN_120960503_PA

Resumen de: CN120960503A

本发明公开了一种可降解材料及其制备方法和用途。所述可降解材料,包括脂肪族聚酯和/或改性脂肪族聚酯,所述可降解材料为薄片状,其厚度为0.1‑8mm,优选为2‑5mm。本发明制备的可降解(面部填充塑形)材料厚度可控并可根据实际需求加工成不同形状,质地柔软,形态轻薄,减少了因重力引起的移位和骨吸收;厚度仅0.1‑8mm厚,填充时异物感不明显,植入手术简便,耗时短;具有良好的组织整合性,术后稳固不易移位,不会形成凸起和肉芽,并且不会对人体产生危害。

3D Multi-purpose wear-resistant dental 3D printing resin composition and manufacturing method of dental medical supplies using the same

NºPublicación:  KR20250161722A 18/11/2025
Solicitante: 
송준엽
KR_20250161722_PA

Resumen de: KR20250161722A

본 발명은 다용도 내마모성 치과용 3D 프린팅 레진 조성물 및 이를 이용한 치과용 의료물품의 제조방법에 관한 것이다. 더욱 상세하게는, 본 발명은 무기 필러를 포함하지 않으면서도 내마모성 등 우수한 기계적 특성을 가지며, 치과용 모형(model), 주조품(casting), 의치(denture), 및 임시치(temporary crown & bridge) 등의 제조에 적합하게 이용될 수 있는 다용도 내마모성 치과용 3D 프린팅 레진 조성물 및 이를 이용한 치과용 의료물품의 제조방법에 관한 것이다.

一种带卫生消毒功能的3D打印一次性碗盘装置及方法

NºPublicación:  CN120963029A 18/11/2025
Solicitante: 
林桂枝
CN_120963029_PA

Resumen de: CN120963029A

本发明公开了一种带卫生消毒功能的3D打印一次性碗盘装置及方法,旨在解决日常三餐洗碗的问题,同时确保餐具的卫生安全性。该装置包括3D打印模块、材料供给系统、成型平台、消毒模块及控制系统;所述方法通过预设模型选择、快速3D打印成型、紫外线+热风双重消毒的流程,实现一次性碗盘的即时制造与卫生保障。本发明采用食品级可降解材料,打印时间短(1‑3分钟/个),消毒后可直接使用,用完即弃且环保可降解,适用于家用、办公及户外场景,既省去洗碗步骤,又通过内置消毒环节提升餐具卫生等级。

一种混合支持式多角度可视化自适应正畸种植支抗导板的制备方法

NºPublicación:  CN120963041A 18/11/2025
Solicitante: 
南京医科大学附属口腔医院
CN_120963041_PA

Resumen de: CN120963041A

本发明公开了一种混合支持式多角度可视化自适应正畸种植支抗导板的制备方法,包括以下步骤:S1、数据采集;S2、数据拟合;S3、设计正畸种植钉;S4、设计混合支持式多角度可视化自适应正畸种植导板:获得牙冠‑牙根‑粘膜模型,设计牙齿‑粘膜‑咬合三重混合支持式多角度可视化自适应种植导板,进一步生成混合支持式多角度可视化自适应正畸种植导板STL文件;S5、3D打印;S6、制成成品:将打印后的导板去除支撑杆、打磨抛光,消毒后,制作完成。本发明使导板抗旋位移力提升,术中无需额外器械固定;可视化轨道与头端开口全程暴露钻头与钉尖,方便导板脱位,医生可在直视下避开牙根、上颌窦及神经管,牙根损伤率降低。

一种具有光热介导形状记忆和热疗功能的大豆油基复合骨支架及其制备方法

NºPublicación:  CN120960519A 18/11/2025
Solicitante: 
广西大学
CN_120960519_A

Resumen de: CN120960519A

本发明公开了一种具有光热介导形状记忆和热疗功能的大豆油基复合骨支架及其制备方法。该方法以生物基丙烯酸化环氧大豆油和聚乙二醇二丙烯酸酯为复合基体,将天然黑色素纳米颗粒作为功能组分掺入其中制得复合光敏树脂,最终通过数字光处理3D打印技术制备成多孔支架。在近红外光的照射下,复合支架表现出可控的和高效的光热响应行为,能够通过调整天然黑色素纳米颗粒的负载量和照射条件来达到目标的稳态温度。一方面,光热效应能够触发形状记忆恢复,以实现对不规则骨缺损的微创植入与形状自适应填充。另一方面,复合支架表现出对人骨肉瘤细胞高效的光热抑制效应(抑制率超过90%)。此外,复合支架表现出增强的体外生物矿化能力。本发明为设计和制备多功能生物基3D打印骨支架以应对复杂骨缺损的挑战提供了一个有前景的解决方案。

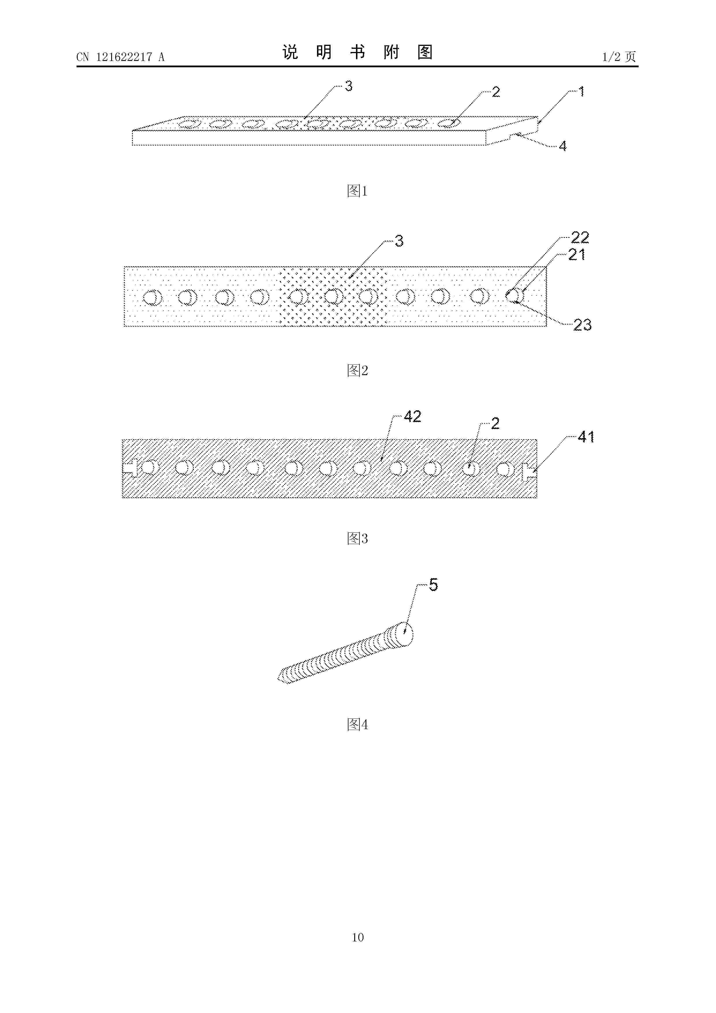
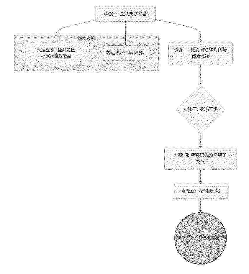
一种利用低温3D打印技术制备多孔丝素蛋白骨水泥支架的方法

NºPublicación:  CN120960511A 18/11/2025
Solicitante: 
湖南易天然医疗科技有限公司
CN_120960511_PA

Resumen de: CN120960511A

本发明公开了一种利用低温3D打印技术制备多孔丝素蛋白骨水泥支架的方法,属于生物医用材料技术领域。该方法包括采用同轴喷头,将包含丝素蛋白、海藻酸盐及生物活性陶瓷的壳层墨水与牺牲性芯层墨水,共同挤出至温度呈梯度分布的低温平台;将形成的冷冻核‑壳结构丝束进行冷冻干燥后,浸入钙离子溶液中,以同步实现牺牲性芯层的洗脱移除来构筑中孔,以及海藻酸盐的离子交联来增强结构;最后通过温和的乙醇蒸汽处理完成最终固化。本发明可构筑兼具大孔、中孔及梯度微孔的三级仿生孔道结构,且制备的支架具有优异的结构可控性和力学性能。

一种基于3D打印的功能化胶原支架及其在跟腱修复与异位骨化预防中的应用

NºPublicación:  CN120960505A 18/11/2025
Solicitante: 
中山大学附属第七医院(深圳)
CN_120960505_PA

Resumen de: CN120960505A

本发明涉及生物医学工程与组织再生技术领域,具体公开了一种基于3D打印的功能化胶原支架及其在跟腱修复与异位骨化预防中的应用,所述支架是结合聚乳酸‑羟基乙酸共聚物与Ⅰ型胶原的复合基材,集成经BMP抑制剂预处理及胶原结合肽修饰的CD26+肌腱干细胞外泌体,形成的3D打印支架。本发明通过集成BMP信号抑制与胶原靶向缓释双功能策略,结合3D打印技术制备的复合支架,显著解决了现有肌腱修复技术中再生效果不足与异位骨化(HO)高发的难题。

一种基于中医治疗的护心灸制备工艺及其使用方法

NºPublicación:  CN120960041A 18/11/2025
Solicitante: 
广东省第二中医院(广东省中医药工程技术研究院)
CN_120960041_PA

Resumen de: CN120960041A

本发明公开了一种基于中医治疗的护心灸制备工艺及其使用方法,具体涉及护心灸技术领域,包括步骤如下:S1、药物配方研制,S2、灸具设计,使用方法包括步骤如下:S1、精准穴位定位,S2、灸疗方案制定,S3、优化灸疗过程。本发明通过现代技术优化药物配方与剂型提升疗效,创新灸具设计保障安全舒适,借助先进手段实现精准个性化治疗,综合管理系统协同各模块为优化治疗和工艺改进提供支持,带来更优质中医治疗体验。

用于弧形3D物品的旋转立体光刻

NºPublicación:  CN120981335A 18/11/2025
Solicitante: 
3D\u7CFB\u7EDF\u516C\u53F8
CN_120981335_PA

Resumen de: US2024351282A1

A three-dimensional (3D) printing system is configured to manufacture a plurality of arcuate 3D articles. The 3D printing system includes a build vessel, at least one build assembly, a light engine, and a controller. The at least one build assembly individually includes an axle, a build plate, and a motorized gear assembly. The motorized gear assembly is coupled to the axle and configured to rotationally position the axle about an axis of rotation. The light engine is located above the build vessel. The controller is configured to operate the motorized gear assembly to incrementally rotate the build plates about the axis of rotation between a plurality of stop positions. The controller is configured to operate the light engine at individual stop positions to selectively irradiate the photocurable liquid within a plurality of spatially separated build planes that are individually above one of the plurality of build plates.

BONE STABILIZING IMPLANTS ACROSS SI JOINTS

NºPublicación:  ES3042147T3 18/11/2025
Solicitante: 
SI BONE INC
SI-Bone, Inc
JP_2025166248_PA

Resumen de: AU2025230762A1

Abstract The invention relates to a threaded bone implant, comprising: an elongate body extending from a proximal end of the bone implant to a distal end of the bone implant, the elongate body including an inner shank, one or more threads, each of which extend radially from the inner shank and extend along at least a portion of a length of the elongate body, a porous network of interconnected struts extending radially from the inner shank and disposed and extending axially between the one or more threads, the inner shank, the one or more threads, and the porous network of interconnected struts being formed together with an additive manufacturing process such that the inner shank, the one or more threads, and the porous network of interconnected struts are integral, and wherein the porous network of interconnected struts has a greater surface area in a central region of the elongate body than in a distal region of the elongate body, wherein the central region includes a midpoint of the length of the elongate body. Abstract The invention relates to a threaded bone implant, comprising: an elongate body extending from a proximal end of the bone implant to a distal end of the bone implant, the elongate body including an inner shank, one or more threads, each of which extend radially from the inner shank and extend along at least a portion of a length of the elongate body, a porous network of interconnected struts extending radially from the inner shank and disposed and extending a

AUTOMATIC DETECTION OF DENTAL INDICATIONS

Nº publicación: ES3041853T3 17/11/2025

Solicitante:

IVOCLAR VIVADENT AG
Ivoclar Vivadent AG

JP_2023153040_PA

Resumen de: JP2023153040A

To provide a method of identifying an indication of a digital dental object based on a geometric shape so that a suitable manufacturing method can be selected.SOLUTION: A dental recognition method using a manufacturing device (200) is provided, comprising providing a digital dental object in a coordinate system describing a shape of a dental object to be manufactured (S101), and automatically assigning the digital dental object to a predetermined class based on the shape using a self-learning algorithm (S102).SELECTED DRAWING: Figure 6

traducir