Ministerio de Industria, Turismo y Comercio LogoMinisterior
 

Alerta

Resultados 521 resultados
LastUpdate Última actualización 02/12/2025 [06:53:00]
pdfxls
Solicitudes publicadas en los últimos 15 días / Applications published in the last 15 days
previousPage Resultados 175 a 200 de 521 nextPage  

METHOD AND SYSTEM FOR PUBLISHING PRODUCTS ON MULTIPLE PLATFORMS

NºPublicación:  US2025363537A1 27/11/2025
Solicitante: 
SHENZHEN MEIYUNJI NETWORK TECH CO LTD [CN]
SHENZHEN MEIYUNJI NETWORK TECHNOLOGY CO., LTD
US_2025363537_PA

Resumen de: US2025363537A1

A method and system for publishing products on multiple platforms. The method includes: determining, in response to a platform determination instruction, ports of e-commerce platforms corresponding to the platform determination instruction; obtaining initial product data in response to a first publishing instruction, and generating first publishing information based on the initial product data; identifying the initial product data based on a preset model to generate second publishing information; detecting a blank mandatory item related to product attributes in a publishing page of each of the e-commerce platforms, and setting a preset sequence option of the blank mandatory item as third publishing information; and sending the first publishing information, the second publishing information, and the third publishing information to the ports of the e-commerce platforms to publish a product corresponding to the initial product data on each of the e-commerce platforms.

物品所在管理システム、方法およびプログラム

NºPublicación:  JP2025172275A 26/11/2025
Solicitante: 
島根県
JP_2025172275_PA

Resumen de: JP2025172275A

【課題】管理領域内のRFIDタグの設置に制限のある環境で利用可能な物品所在管理システムを提供する。【解決手段】本開示に係る物品所在管理システムを構成するシステム処理装置は、物品位置管理計測データを処理して、それぞれの物品RFタグごとに、返信RF信号の最大電波強度を計測した時刻tpを算出して、時刻tpの前後各一定時間の範囲である集計区間に含まれる複数の番地RFタグからの返信RF信号を集計し、物品RFタグごとに集計した番地RFタグからの返信RF信号に基づいて番地RFタグを順位付けして記録し、物品RFタグごとに記録された番地RFタグの順位に基づいて、番地RFタグの情報を、順位を示す情報とともに複数表示した物品所在情報を表示するよう構成されている。【選択図】図10

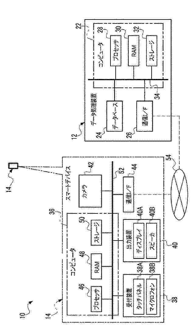
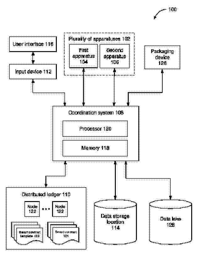
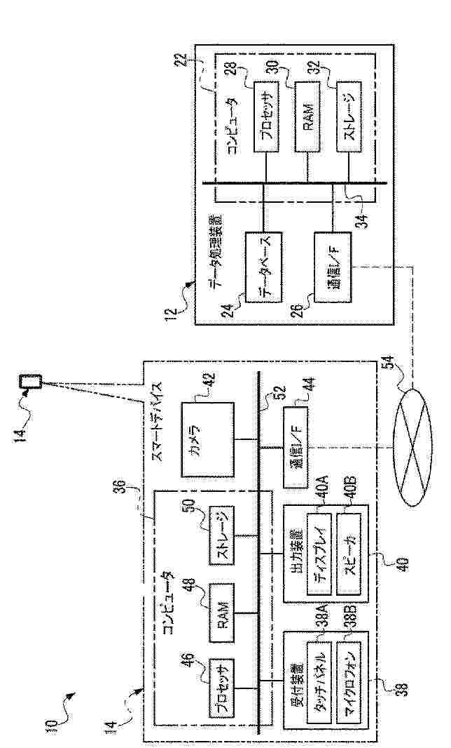
生物学的材料の取り扱いを制御する方法

NºPublicación:  JP2025538173A 26/11/2025
Solicitante: 
ヴィトラフィーライフサイエンシズリミテッド
JP_2025538173_PA

Resumen de: CN120513485A

The invention discloses a method for controlling biological material treatment. The method comprises the steps of: receiving status information of a biological material and identification information identifying a smart contract associated with the biological material from a first device of a plurality of devices, an apparatus associated with a user interface for inputting data related to the biological material, or a biological material packaging apparatus; querying a distributed account book to retrieve a current state of the smart contract associated with the material; querying a data storage position of a non-secure distributed account book; retrieving an executable instruction; executing the instructions to process the state information, the processing including: verifying the state information and determining a portion of the state information to be stored on the distributed ledger; the determined partial state information is stored, and the state of the intelligent contract is updated.

情報共有装置及び情報共有システム

NºPublicación:  JP2025172573A 26/11/2025
Solicitante: 
有限会社森山環境科学研究所
JP_2025172573_PA

Resumen de: JP2025172573A

【課題】荷降ろし・荷揚げ予定位置の状態の変化を、移動体と共有し、荷降ろし・荷揚げの安全確認を行える情報共有装置及び情報共有システムを提供する。【解決手段】無人航空機60が、荷降ろし・荷揚げ作業に移行した場合に、情報共有装置側端末40は、初期状態情報と監視情報とが合致する場合には、無人航空機60に荷降ろし・荷揚げ作業を継続するように指示を送信し、初期状態情報と監視情報とが合致しない場合には、無人航空機側端末70は、無人航空機60を待機状態とする指示を受けた場合、無人航空機60を操作する操作者側端末80に、荷降ろし・荷揚げ作業を取りやめるか否かの確認報知を行い、操作者側端末80に、確認報知があった場合、操作者の操作により、操作者側端末80から、無人航空機に、荷降ろし・荷揚げ作業を取りやめる指示の送信をする場合と、荷降ろし・荷揚げ作業を継続する指示の送信をする場合と、がある。【選択図】図1

管理装置、管理方法、及びプログラム

NºPublicación:  JP2025172532A 26/11/2025
Solicitante: 
株式会社ZEROFOOD
JP_2025172532_PA

Resumen de: JP2025172532A

【課題】高湿低温条件で保管した在庫品の品質保証期限を推定する管理装置、管理方法、及びプログラムを提供すること。【解決手段】高湿低温条件で物品を在庫品として保管する保管庫における管理装置であって、生産者から前記在庫品の入庫を受け付ける受付部と、前記在庫品に基づいて、前記在庫品の品質保証期限を推定する推定部と、を有する、管理装置。【選択図】図1A

SYSTEM AND METHOD FOR CONTROLLING INDOOR FARMS REMOTELY AND USER INTERFACE FOR SAME

NºPublicación:  EP4654604A2 26/11/2025
Solicitante: 
80 ACRES URBAN AGRICULTURE INC [US]
80 Acres Urban Agriculture Inc
EP_4654604_PA

Resumen de: EP4654604A2

This system for remotely controlling a plurality of indoor farming facilities over a computer network, comprises: a network communication interface configured to couple one or more indoor farming modules of the plurality of the indoor farming facilities to the computer network; a tray-handling system coupled to the network communication interface and configured to receive instructions from a remote server for autonomously loading and unloading a plurality of carts in the one or more indoor farming modules; and a plurality of devices configured to sense a water level, pH levels, temperatures, humidity levels, and carbon dioxide (CO<sub>2</sub>) levels in each of the one or more indoor farming modules, wherein the remote server is coupled to the computer network and further includes a database for storing environmental parameters and instructions for analyzing data information provided by the plurality of devices in each of the one or more indoor farming modules.

Improvements in or relating to catalyst carriers for tubular reactors

NºPublicación:  GB2700202A 26/11/2025
Solicitante: 
JOHNSON MATTHEY DAVY TECH LIMITED [GB]
Johnson Matthey Davy Technologies Limited
CA_3250441_A1

Resumen de: GB2700202A

A method of installing a catalyst carrier 10 into a tubular reactor 1. The tubular reactor 1 has a plurality of reactor tubes 8, each reactor tube 8 being configured to receive a plurality of catalyst carriers 10. The method comprises, for each of at least some of the catalyst carriers 10 marking the catalyst carrier 10 with a carrier identifier 31, reading the carrier identifier 31 when installing the catalyst carrier 10 into a reactor tube 8, accessing a database 41 to retrieve installation data associated with the identified catalyst carrier 10, using the installation data retrieved from the database 41 to select an installation position for the identified catalyst carrier 10. Then, the catalyst carriers 10 are ordered for installation according to the selected installation positions and are installed into the tubular reactor 1. Figure 3

AUTOMATIC CONTROL SYSTEM FOR A PRINTER SYSTEM

NºPublicación:  EP4653200A1 26/11/2025
Solicitante: 
RICOH CO LTD [JP]
Ricoh Company, Ltd
EP_4653200_PA

Resumen de: EP4653200A1

The present invention relates to an automated printer system for loading a printed set of printed material items into a container. The printer system is operative to determine which printer device, from one or more available printer devices, to output a print job to, for controlling the printer devices based on identifier marks provided on containers.

METHOD FOR OPERATING A CONVEYOR DEVICE INCLUDING A MAINTENANCE DEVICE, CONVEYOR DEVICE AND USE

NºPublicación:  EP4653349A1 26/11/2025
Solicitante: 
DEUTSCHE POST AG [DE]
Deutsche Post AG
EP_4653349_PA

Resumen de: EP4653349A1

Die Erfindung betrifft eine Fördervorrichtung (2) zum Fördern von Objekten (70), aufweisend eine umlaufende Förderstrecke (10), längs der eine Vielzahl von Fördereinrichtungen (20) und eine Wartungseinrichtung (30) aneinandergereiht beweglich geführt sind, wobei die Fördereinrichtungen (20) jeweils zum Abladen von einem darauf aufliegenden Objekt (70) quer zur Förderstrecke (10) ausgebildet sind, und die Wartungseinrichtung (30) eine Aktoreinrichtung (40) zum Durchführen von Wartungsarbeiten an der Förderstrecke (10) aufweist. Die Erfindung betrifft ferner ein Verfahren und eine Verwendung.

METHOD AND COLLISION CLASSIFICATION SYSTEM FOR CLASSIFYING A COLLISION EVENT ON A SHELF SYSTEM

NºPublicación:  EP4653377A1 26/11/2025
Solicitante: 
JUNGHEINRICH AG [DE]
Jungheinrich AG
EP_4653377_PA

Resumen de: EP4653377A1

Die Erfindung betrifft u.a. ein Verfahren zum Klassifizieren eines Kollisionsereignisses (40) an einem Regalsystem (20), umfassend die folgenden Schritte:- eine an einem Regalsystem (20) angeordnete Sensoreinheit (22) erkennt ein Kollisionsereignis (40) zwischen einem Flurförderzeug (30) und dem Regalsystem (20) und ermittelt eine Stärke des Kollisionsereignisses (S110), vergleicht die ermittelte Stärke mit einer Referenzstärke (S120) und sendet ein dem Kollisionsereignis (40) zugeordnetes Kollisionssignal (42) aus, falls die ermittelte Stärke die Referenzstärke überschreitet (S130);- eine Empfangseinheit (34) eines Flurförderzeugs (30) empfängt das Kollisionssignal (42) und leitet es an eine Steuereinheit (36) des Flurförderzeugs (30) weiter (S210), welche eine Klassifikation des Kollisionsereignisses (40) in Abhängigkeit von Zustandsdaten des Flurförderzeugs (30) und vom Kollisionssignal (42) durchführt (S220), wobei die Klassifikation des Kollisionsereignisses (40) ein Zuordnen eines Kollisionstyps aus einer Kollisionstypliste umfasst, wobei die Kollisionstypliste mindestens einen Kollisionstyp, für den das Kollisionsereignis (40) nicht dem Flurförderzeug (30) zugeordnet wird, und mindestens einen Kollisionstyp, insbesondere mindestens zwei verschiedene Kollisionstypen, für den bzw. die das Kollisionsereignis (40) dem Flurförderzeug (30) zugeordnet wird, umfasst.

A METHOD FOR ESTABLISHING NETWORK CONNECTIONS BETWEEN A CLIENT, AN ORIGINATING TRACEABILITY APPLICATION AND A CUSTOMER-RELATED COMPUTER SYSTEM IN A NETWORK AND EVOKING FUNCTIONS ON DATA FROM BOTH SYSTEMS

NºPublicación:  EP4652725A1 26/11/2025
Solicitante: 
KEZZLER AS [NO]
Kezzler AS
WO_2024167419_A1

Resumen de: WO2024167419A1

A method for facilitating a network connection: providing a network director and a list of resolvable network addresses of traceability applications; providing serialized product items unique identifiers, originated by an originating traceability application within said plurality of traceability applications, a network director receives an initial request comprising said unique identifier from a client, and sends a subsequent request to one or more of said network addresses of said traceability applications, for the purpose of receiving a response whether said traceability application recognizes said unique identifier as the originating traceability application, and network director establishes a connection between client and originating traceability application; and connection to a customer-related computer system; and connection to the client; originating traceability application and computer system exchange data, being processed by a federated function generating additional data.

MASS TRANSIT LOADING AND UNLOADING SYSTEM

NºPublicación:  EP4652081A1 26/11/2025
Solicitante: 
TULIPS CORP [US]
Tulips Corporation
WO_2024155543_A1

Resumen de: WO2024155543A1

System and method for loading and unloading mass transit vehicles (MT Vs) using an autonomous wheeled siding vehicle (ASV) comprising an external frame for rolling along an ASV way adjacent to an MTV throughway and a container depositing and retrieving means, comprising an internal frame movable laterally perpendicularly with respect to the ASV way and the external frame, the ASV adapted for picking up, retaining, and moving a container from within the external frame to a position at least partially outside of the external frame and within the MTV, the internal frame being further enabled to further extend the container from within the internal frame, or to retrieve the container to within the internal frame, and to adjust the height of the internal frame and container relative to a floor portion of the MVT for depositing or retrieving the container.

SYSTEM AND METHOD FOR REAL-TIME ORDER PROJECTION AND RELEASE

NºPublicación:  EP4652122A1 26/11/2025
Solicitante: 
DEMATIC CORP [US]
Dematic Corp
WO_2024154090_PA

Resumen de: WO2024154090A1

Order fulfillment (100) for a warehouse (200) includes a controller (304), a memory (306), a current state (408), and a trainer (404). The controller (304) controls fulfillment activities and issues orders to pickers (202, 204), and records operational data corresponding to the fulfillment activities in the warehouse (200). The memory (306) holds operational data. The current state (408) holds data corresponding to the current state of the warehouse (200) defined by the operational data. The inference module (406) includes a release control to issue an order release recommendation to the controller (304) when a set of live data is received from the current state storage (408). The trainer (404) retrains the order release control. The trainer (404) performs reinforcement learning on the operational data to retrain and update the order release control. The order release control is retrained based upon priorities for optimal operation of the warehouse (200).

Improvements in or relating to catalyst carriers for tubular reactors

NºPublicación:  GB2700201A 26/11/2025
Solicitante: 
JOHNSON MATTHEY DAVY TECH LIMITED [GB]
Johnson Matthey Davy Technologies Limited
CA_3250441_A1

Resumen de: GB2700201A

A method of installing catalyst carriers 10 into a tubular reactor 1. The tubular reactor 1 comprises a plurality of reactor tubes 8, each reactor tube 8 being configured to receive a plurality of catalyst carriers 10. The method comprises, for each of at least some of the catalyst carriers 10, marking the catalyst carrier 10 with a carrier identifier 31, reading the carrier identifier 31 when installing the catalyst carrier 10 into a reactor tube 8 by scanning the carrier identifier 31 using a reader 40, and accessing a database 41 to retrieve and/or record installation data associated with the identified catalyst carrier 10. The reader 40 comprises a part of an installation tool (20, fig 2) for installing the catalyst carrier 10 into the reactor tube 8. Preferably, the installation tool has a hydraulic ram mounted to an installation frame, and one or more anchors for anchoring the frame to an upper tube sheet (6, fig 2) of the reactor 1. The installation tool may have a side-facing reader to scan carrier identifiers 31 and a down-facing reader to read tube identifiers 32. Figure 3

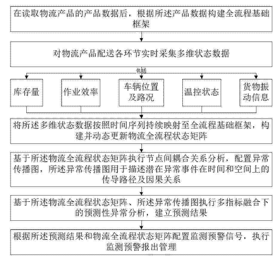
一种物流分拣中心货量预测及人员排班优化方法及系统

NºPublicación:  CN121010292A 25/11/2025
Solicitante: 
广州大学
CN_121010292_PA

Resumen de: CN121010292A

本申请提供了一种物流分拣中心货量预测及人员排班优化方法及系统,本申请的方法包括:对物流分拣相关数据进行采集,对采集的多源数据进行预处理,得到标准化数据集;基于标准化数据集进行动态权重融合,得到融合特征,将标准化数据集和融合特征作为原始训练集,抽样后得到若干个子数据集;利用子数据集对随机森林模型进行训练,得到货量预测模型,通过货量预测模型得到货量预测结果;基于货量预测结果构建班次出勤人数优化模型,利用该模型对人员排班进行优化,得到最终的人员排班结果。本申请能有效捕捉线路调整等因素导致的货量非线性变化,使正式工和临时工的互补性得到充分发挥,通过反馈机制不断优化排班方案,提高分拣中心智能化管理水平。

一种基于大数据的艾滋筛查及确证远程管控方法及系统

NºPublicación:  CN121011317A 25/11/2025
Solicitante: 
重庆市疾病预防控制中心(重庆市预防医学科学院)
CN_121011317_PA

Resumen de: CN121011317A

本发明公开了一种基于大数据的艾滋筛查及确证远程管控方法及系统,方法包括:在基层医疗机构采集受检者血液样本及基础信息后,形成带数字指纹的初始筛查包;基于大数据分析各基层医疗机构的样本采集量、样本保存时效及交通路网数据,生成集中配送调度方案,将初始筛查包集中配送至上级确证机构;在上级确证机构接收配送的初始筛查包后,生成包含确证结果与实验溯源信息的确证数据包;基于大数据构建艾滋信息访问权限矩阵,生成信息安全管控日志;整合初始筛查包、配送调度方案、确证数据包及安全管控日志,生成艾滋筛查确证全流程溯源管控报告。本发明能够实现集中配送、安全可靠的艾滋筛查确证,优化资源配置效率。

一种用于智慧供应链的服务平台

NºPublicación:  CN121010305A 25/11/2025
Solicitante: 
重庆宇果科技有限公司
CN_121010305_A

Resumen de: CN121010305A

本发明涉及一种用于智慧供应链的服务平台,包括服务平台,服务平台包括:数据采集单元,所述数据采集单元包括传感器单元和移动终端单元,用于实时采集供应链各环节数据;本发明的有益效果是:智慧供应链服务平台通过实时数据采集、智能优化调度和可信数据共享,显著提升供应链的透明度、响应速度和运营效率,首先,基于区块链技术的数据存储确保交易信息、物流状态及库存情况不可篡改,实现各供应链节点之间的数据可信共享,减少信任成本,其次,智能优化算法能够精准预测市场需求,动态调整库存和物流调度方案,降低库存积压与运输成本,提高资源利用率,智能合约单元的自动化执行减少人为干预。

一种海江河多式联运智能化匹配系统

NºPublicación:  CN121010060A 25/11/2025
Solicitante: 
江苏河海物流股份有限公司
CN_121010060_PA

Resumen de: CN121010060A

本发明提供了一种海江河多式联运智能化匹配系统,涉及多式联运物流技术领域,包括基础信息模块、数据库模块、信息关联模块、布局规划模块、路径规划模块和可视化模块,所述基础信息模块用于管理出货目的地、运输方式及成本项数据,支持算法参数动态配置;本发明通过基础信息模块实现了对多式联运相关数据的统一管理和算法参数的智能设置,为后续的智能化匹配提供了数据基础,数据库模块采用共享模式和科学的数据分类,提高了数据管理效率和利用价值,为各模块提供了可靠的数据支撑,信息关联模块借助区块链技术,打破了信息壁垒,实现了运输全程的信息共享,增强了业务的安全性和透明度,智能合约的应用减少了人工投入,提高了业务办理效率。

一种物品拣选的方法和装置

NºPublicación:  CN121010290A 25/11/2025
Solicitante: 
北京京东远升科技有限公司
CN_121010290_PA

Resumen de: CN121010290A

本发明公开了一种物品拣选的方法和装置,涉及仓储管理技术领域。该方法的一具体实施方式包括:响应于物品拣选请求,获取待拣选物品的物品编码和用户终端在仓库中的用户终端位置;根据物品编码对应的电子标签在仓库中的位置确定物品位置;根据物品位置和用户终端位置进行路径规划,并根据路径规划结果生成路线提醒指令,路线提醒指令用于指示用户终端上安装的提醒设备发出路线提醒;根据路线提醒进行物品拣选。该实施方式物品定位和查找简单,提高了物品查找的准确性,提高了物品拣选效率。

库存寻源方法和装置

NºPublicación:  CN121010303A 25/11/2025
Solicitante: 
北京京东远升科技有限公司
CN_121010303_PA

Resumen de: CN121010303A

本公开的实施例公开了一种库存寻源方法和装置。该方法的具体实施方式包括:响应于接收到订单,获取本地仓中所述订单所需商品的现货库存量,其中,所述本地仓由所述订单的收货地址确定;若本地仓中所述商品的现货库存量不满足订单需求,则获取本地仓中所述订单所需商品的在途库存量;若本地仓中所述订单所需商品的现货库存量和在途库存量之和不满足订单需求,则获取至少一个候选仓中所述商品的现货库存量;从所述至少一个候选仓中选择现货库存量满足订单需求的目标仓。该实施方式不增加客户成本,通过系统优化和运营管控,提升末端客户体验,支持多种策略进行寻源。

煤矿管理部门实现三级应用的电煤履约管控方法与系统

NºPublicación:  CN121010189A 25/11/2025
Solicitante: 
贵州中扬科技有限公司
CN_121010189_PA

Resumen de: CN121010189A

本发明公开了煤矿管理部门实现三级应用的电煤履约管控方法与系统,涉及煤炭供应链管理技术领域。本发明解决了数据处理能力不足和实时性差的问题;通过分布式数据库、智能合约和区块链技术,增强了多方协同的信任机制,优化了任务分配,弥补了传统方法在协同效率上的缺陷;同时,利用线性规划和时间序列分析技术实现资源调度优化和动态调整,提高了供应链的灵活性和适应性,进一步保障了履约评价的准确性和合同执行的及时性,实现了煤炭供应链的高效、稳定、精准管理,为能源保障和企业经济效益提升提供了有力支持。

基于北斗的制造业合同物流数据融合与调度方法及系统

NºPublicación:  CN121010294A 25/11/2025
Solicitante: 
上马科技有限公司福建识途科技有限公司
CN_121010294_PA

Resumen de: CN121010294A

一种基于北斗的制造业合同物流数据融合与调度方法及系统,属于专门适用于管理的数据处理方法领域,在该方法中,基础地理与路网数据模块获取基础地理数据;北斗动态监测数据模块采集运输车辆数据;货物与合同数据模块存储货物与合同数据;物流节点数据模块获取物流节点数据;数据融合处理模块对基础地理数据、运输车辆数据、货物与合同数据及物流节点数据进行空间匹配,得到制造业物流数据关联表;数据融合处理模块基于制造业物流数据关联表进行数据融合,得到统一数据集;智能调度模块基于统一数据集和预设约束条件生成最优调度控制指令,并将最优调度控制指令发送至对应的车载终端。本申请用于提高调度方案在复杂制造业场景下的精准性。

一种基于自动化算法的智能物流输送系统调度方法

NºPublicación:  CN121010247A 25/11/2025
Solicitante: 
北京广嘉自动化系统有限公司
CN_121010247_PA

Resumen de: CN121010247A

本发明公开了一种基于自动化算法的智能物流输送系统调度方法,包括:步骤一:采集物流输送系统中的运行数据;步骤二:将运行数据进行预处理,形成标准化物流数据集;步骤三:将标准化物流数据集输入至改进型GraphGPS网络,执行边增强局部传播与稀疏全局建模操作,生成节点嵌入特征张量;步骤四:基于节点嵌入特征张量,构建多目标调度优化函数集;步骤五:采用改进型海象优化算法对多目标调度优化函数集进行求解,输出最优调度方案;步骤六:将最优调度方案下发至物流输送系统的执行单元;步骤七:实时采集执行单元的运行反馈数据,并更新改进型GraphGPS网络和最优调度方案。本发明提升了物流输送系统的响应效率与执行稳定性。

一种煤矿生产核心环节耦合的物质-能量建模方法

NºPublicación:  CN121010159A 25/11/2025
Solicitante: 
中国矿业大学
CN_121010159_PA

Resumen de: CN121010159A

本发明公开了一种煤矿生产核心环节耦合的物质‑能量建模方法,包括以下步骤:S1、确定煤矿生产核心环节数量及环节间关系,并环节分类为连续环节、间断环节;S2、建立连续环节、间断环节的物质产出与能量消耗常规时序关系模型;S3、明确物质产出与能量消耗常规时序关系模型的安全运行约束。本发明可精准计算不同时间断面各环节的能耗与物质产出情况,实现“物质‑能量”双流协同优化,也可根据不同矿井地质条件调整模型参数,以适配不同煤矿的生产场景,令煤矿实现精准生产时序调度。

一种集装箱易损部件识别与3D展示方法和系统

Nº publicación: CN121010213A 25/11/2025

Solicitante:

佛罗伦(中国)有限公司

CN_121010213_PA

Resumen de: CN121010213A

本发明属于集装箱维修分析和展示领域技术领域,提出一种集装箱易损部件识别与3D展示方法和系统,通过随机森林模型,从收集到的历史维修数据包括的各因子字段中选择出重要性较高的关键因子字段,有助于准确识别易损部件。通过分析部件与损坏原因的关联关系,根据关联关系和关联规则,生成关联特征,基于关联特征、关键因子字段和目标集装箱的当前静态特征,通过损坏预测模型提前准确地对长时间未维修过的目标集装箱中的部件进行损坏风险预测,以准确识别易损部件。通过可视化展示目标集装箱的3D模型和易损部件,以更加清晰、直观和生动向用户展示集装箱结构、易损部件,且提高用户对集装箱结构和易损部件认知的全面性,提高维修决策的准确性。

traducir