Ministerio de Industria, Turismo y Comercio LogoMinisterior
 

Alerta

Resultados 158 resultados
LastUpdate Última actualización 22/10/2025 [07:02:00]
pdfxls
Solicitudes publicadas en los últimos 15 días / Applications published in the last 15 days
previousPage Resultados 75 a 100 de 158 nextPage  

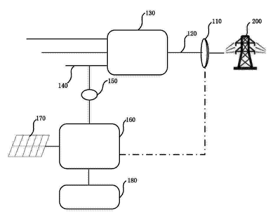
COMBINER DEVICE, PHOTOVOLTAIC SYSTEM AND FAULT DETECTION METHOD

NºPublicación:  US2025317104A1 09/10/2025
Solicitante: 
SUNGROW POWER SUPPLY CO LTD [CN]
SUNGROW POWER SUPPLY CO., LTD
US_2025317104_PA

Resumen de: US2025317104A1

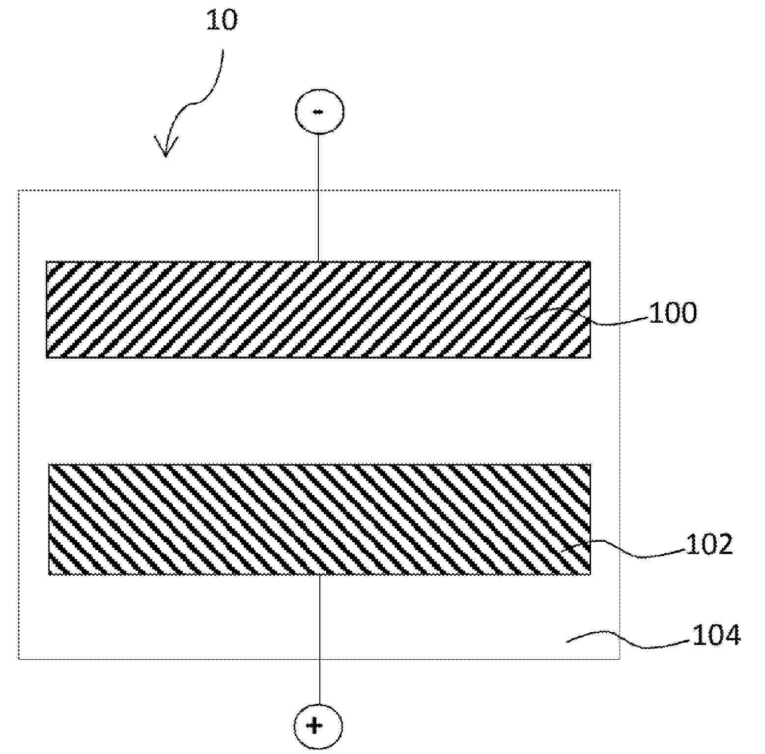
The present application discloses a combiner device, a photovoltaic system and a fault detection method. The combiner device comprises at least two photovoltaic strings connected in parallel; and further comprises a current measurement circuit, a voltage measurement circuit, an insulation resistance measurement circuit and a controller. The current measurement circuit is used for measuring the current of each photovoltaic string; the voltage measurement circuit is used for measuring the voltage of the photovoltaic strings connected in parallel; the insulation resistance measurement circuit is used for measuring the insulation resistance of the photovoltaic strings connected in parallel; and the controller determines, according to the current, the voltage and the insulation resistance, whether the photovoltaic strings have a reverse connection fault.

SYSTEMS AND METHODS FOR SPLIT-CELL AND MULTI-PANEL PHOTOVOLTAIC TRACKING CONTROL

NºPublicación:  US2025317092A1 09/10/2025
Solicitante: 
NEXTRACKER LLC [US]
Nextracker LLC
US_2025317092_PA

Resumen de: US2025317092A1

Split-cell and multi-panel photovoltaic backtracking control systems and methods allow for increased total power generation during low sun elevation conditions by shading a percentage of panel modules, thereby allowing for a lower angle of incidence on unshaded modules. The control systems and methods involve determining a sun elevation angle, a traditional backtracking angle, a split-cell or multi-panel backtracking angle, a single-cell or single-panel relative light transmission (RLT) based on the single-cell or single-panel backtracking angle, and a split-cell or multi-panel RLT based on the split-cell or multi-panel backtracking angle. If twice the single-cell or single-panel RLT is greater than the split-cell or multi-panel RLT, the split-cell or multi-panel backtracking angle is used; otherwise, the single-cell or single-panel backtracking angle is used. The control systems and methods may further involve determining a diffuse fraction index (DFI) and, if the DFI is greater than a DFI limit, using a DFI tracking angle.

Solar Module Skirt Assembly

NºPublicación:  US2025317095A1 09/10/2025
Solicitante: 
UNIRAC INC [US]
Unirac, Inc
US_2025317095_PA

Resumen de: US2025317095A1

A solar module skirt assembly includes a skirt that is attached to a frame of a solar module, and a clip to attach the skirt to the solar module. The clip includes a first portion to attach to a frame of the solar module and to the skirt, a second portion to hold a portion of the frame of the solar module and a portion of the skirt, and a fastener to affix the clip to the frame of the solar module and the portion of the skirt.

Double or single sided sheet metal thin film solar panel

NºPublicación:  AU2025201472A1 09/10/2025
Solicitante: 
SOLSPAN PTY LTD
Solspan Pty Ltd
AU_2025201472_A1

Resumen de: AU2025201472A1

The present invention relates to a method of producing either a double sided (bifacial) or single sided steel based solar panel by laminating adhesive rolls of printed thin flexible photo voltaic film to a steel profile formed by a roll forming machine where the rolling of the steel profile and the application to it of the solar lamination occurs in a single pass through the roll forming machine specifically designed for that purpose. The present invention relates to a method of producing either a double sided (bifacial) or single sided steel based solar panel by laminating adhesive rolls of printed thin flexible photo voltaic film to a steel profile formed by a roll forming machine where the rolling of the steel profile and the application to it of the solar lamination occurs in a single pass through the roll forming machine specifically designed for that purpose. eb h e p r e s e n t i n v e n t i o n r e l a t e s t o a m e t h o d o f p r o d u c i n g e i t h e r a d o u b l e s i d e d ( b i f a c i a l ) o r s i n g l e s i d e d s t e e l b a s e d s o l a r p a n e l b y l a m i n a t i n g a d h e s i v e r o l l s o f p r i n t e d t h i n f l e x i b l e p h o t o v o l t a i c e b f i l m t o a s t e e l p r o f i l e f o r m e d b y a r o l l f o r m i n g m a c h i n e w h e r e t h e r o l l i n g o f t h e s t e e l p r o f i l e a n d t h e a p p l i c a t i o n t o i t o f t h e s o l a r l a m i n a t i o n o c c u r s i n a s i n g l e p a s s t h r o u g

SOLAR MODULE COUPLINGS FOR SOLAR TRACKER

NºPublicación:  AU2024253411A1 09/10/2025
Solicitante: 
NEXTRACKER LLC
NEXTRACKER LLC
AU_2024253411_PA

Resumen de: AU2024253411A1

A coupling for use with a solar tracker includes an elongate body defining opposed top and bottom surfaces, the bottom surface defining a pair of protuberances disposed in spaced relation along a length of the elongate body and defining a gap therebetween, each of the pair of protuberances including a tab disposed thereon adjacent the gap, wherein the gap is configured to receive a torque tube such that an inner surface of the gap and the tabs of each of the pair of protuberances abut a portion of the torque tube, wherein each tab of the pair of protuberances includes a bore defined therethrough that is configured to receive a fastener to couple the elongate body to a torque tube.

SOLAR-BASED POWER GENERATION MODULES

NºPublicación:  AU2024237958A1 09/10/2025
Solicitante: 
VOLTIRIS SA
VOLTIRIS SA
AU_2024237958_PA

Resumen de: AU2024237958A1

The present invention relates to Energy generation panel comprising at least two energy generation modules, each energy generation modules comprising a first surface presenting an energy harvesting device, a second surface, a reflecting surface, and a holding structure connecting the first and second surfaces together so as to present a volume in between, wherein the reflecting surface is configured to filter an incident sunlight thereby letting a first portion of said sunlight pass through it and reflecting a second portion of said sunlight, characterized in that said reflecting surface presents a plurality of reflecting regions differently oriented with respect to each other and each being configured to homogeneously reflect said second portion of incident light on a collecting surface of said energy harvesting device.

DETERMINATION OF PREFERRED WIRELESS LASER POWER TRANSMISSION MODE

NºPublicación:  AU2024237485A1 09/10/2025
Solicitante: 
SPACE POWER LTD
SPACE POWER LTD
AU_2024237485_PA

Resumen de: AU2024237485A1

A method of determining a preferred wireless power transmission mode is disclosed. Each wireless laser power transmission mode defines a combination of at least two laser pulses, each of the at least two laser pulses having a different wavelength. The method comprises receiving an indication of a power received at a wireless power receiver for each of a plurality of test wireless power transmissions received at the wireless power receiver, each of the wireless power transmissions corresponding to a different wireless power transmission mode; and determining a preferred wireless power transmission mode based on the indications of power received by the wireless power receiver for at least one of the test wireless power transmissions. A corresponding computer program, non-transitory memory and satellite are also provided.

A STRUCTURAL PHOTOVOLTAIC (PV) PANEL AND REINFORCED FRAME ELEMENT ADAPTED FOR MODULAR CONSTRUCTION AND ENCLOSURES AND PV DEVICES FORMED THEREFROM

NºPublicación:  AU2024224278A1 09/10/2025
Solicitante: 
BRIGGS MAURICE
BRIGGS, Maurice
AU_2024224278_PA

Resumen de: AU2024224278A1

The invention describes a structural frame element adapted to accommodate photovoltaic (PV) modules to form a photovoltaic panel capable of being used as a construction element. A framed PV panel adapted to be coupled to further framed PV panels to form an array for mounting on structure surfaces and to form walls, roofs and doors of self-supporting structures, enclosures and equipment cabinets. The invention describes a structural frame element adapted to accommodate photovoltaic (PV) modules to form a PV panel capable of being used as a construction element to facilitate the coupling of framed PV panels together for fixing PV panels to existing structures and for forming said self-supporting structures, enclosures and equipment cabinets. Reinforcement members embedded within the frame elements provide busbar connectivity for the PV panels.

A CABINET OR FRAME-MOUNTABLE PHOTOVOLTAIC ARRAY FOR SUB-OPTIMAL SOLAR POWER CONVERSION AND METHODS AND APPARATUS FOR MAXIMISING COLLECTION EFFICIENCY

NºPublicación:  AU2024225247A1 09/10/2025
Solicitante: 
BRIGGS MAURICE
BRIGGS, Maurice
AU_2024225247_PA

Resumen de: AU2024225247A1

The invention describes a photovoltaic (PV) power generator ideally suited for off- grid and remoted locations having a substantially upright structure and comprising an enclosure, adapted to be ground-engaging, upon which there is mounted a plurality of vertically disposed PV panels. The enclosure houses control circuitry for the harvesting, storage and delivery of electrical energy generated via the PV panels. Excess energy is accumulated in battery packs and delivered upon demand when supply via the PV panels is insufficient. The generator is optimised to a power rating ideal for off-grid living (average daily output of 200Wh/day) and for sustaining a domestic dwelling during seasonal minima of solar radiation and is provided with sufficient PV energy harvesting area to deliver the average daily rated output.

A PHOTOVOLTAIC APPARATUS FOR AND METHOD OF CHARGING AN ELECTRIC VEHICLE (EV) OR BATTERY THEREOF

NºPublicación:  AU2024224018A1 09/10/2025
Solicitante: 
BRIGGS MAURICE
BRIGGS, Maurice
AU_2024224018_PA

Resumen de: AU2024224018A1

A charging station comprising a structure or enclosure for charging batteries of an EV vehicle whether said batteries are removed from an EV for a charging cycle or where the EV is coupling directly to charging point. The invention provides for the accommodation or storage of electric vehicles (EVs) or batteries used therein to facilitate charging thereof via means for charging battery cells of an electric vehicle (EV) utilising power predominantly derived from solar radiation via photovoltaic panels or PV arrays. Embodiments include charging stations for electric vehicles (EVs), particularly bikes and scooters. There is further described methods of forming a charging station having multiple access doors through which batteries for an EV or an EV can be coupled to a charging port. In a preferred construction, a standalone charging station for EV scooters provides means for mounting and storing the scooters during a charging cycle. A municipal scooter hiring system is also disclosed.

PHOTOVOLTAIC ARRAY CLEANING SYSTEM

NºPublicación:  US2025317100A1 09/10/2025
Solicitante: 
KING FAHD UNIV OF PETROLEUM AND MINERALS [SA]
KING FAHD UNIVERSITY OF PETROLEUM AND MINERALS
US_2025317100_PA

Resumen de: US2025317100A1

A cleaning system for a photovoltaic surface includes one or more of an electrostatic dust repellant, a vacuum device, and a compressed air spray device, powered by the photovoltaic array, and configured to function when the photovoltaic surface, including a photovoltaic array mounted on a base, is rotated from a first position with exposure to sunlight, to a second position, where the photovoltaic surface is almost parallel to the ground. The system includes a rotor to turn the base, and hence the photovoltaic surface, from first position to second position, rotating a front surface of the photovoltaic array by over 105 degrees. The cleaning device is housed in a half cylindrical box with an opening for exposure, and is positioned at an edge of the photovoltaic array when in its first position.

PRESSURE AND ELECTROSTATIC PHOTOVOLTAIC CLEANING SYSTEM

NºPublicación:  US2025317098A1 09/10/2025
Solicitante: 
KING FAHD UNIV OF PETROLEUM AND MINERALS [SA]
KING FAHD UNIVERSITY OF PETROLEUM AND MINERALS
US_2025317098_PA

Resumen de: US2025317098A1

A cleaning system for a photovoltaic surface includes one or more of an electrostatic dust repellant, a vacuum device, and a compressed air spray device, powered by the photovoltaic array, and configured to function when the photovoltaic surface, including a photovoltaic array mounted on a base, is rotated from a first position with exposure to sunlight, to a second position, where the photovoltaic surface is almost parallel to the ground. The system includes a rotor to turn the base, and hence the photovoltaic surface, from first position to second position, rotating a front surface of the photovoltaic array by over 105 degrees. The cleaning device is housed in a half cylindrical box with an opening for exposure, and is positioned at an edge of the photovoltaic array when in its first position.

PHOTOVOLTAIC PANEL AIR SPRAY CLEANING SYSTEM

NºPublicación:  US2025317099A1 09/10/2025
Solicitante: 
KING FAHD UNIV OF PETROLEUM AND MINERALS [SA]
KING FAHD UNIVERSITY OF PETROLEUM AND MINERALS
US_2025317099_PA

Resumen de: US2025317099A1

A cleaning system for a photovoltaic surface includes one or more of an electrostatic dust repellant, a vacuum device, and a compressed air spray device, powered by the photovoltaic array, and configured to function when the photovoltaic surface, including a photovoltaic array mounted on a base, is rotated from a first position with exposure to sunlight, to a second position, where the photovoltaic surface is almost parallel to the ground. The system includes a rotor to turn the base, and hence the photovoltaic surface, from first position to second position, rotating a front surface of the photovoltaic array by over 105 degrees. The cleaning device is housed in a half cylindrical box with an opening for exposure, and is positioned at an edge of the photovoltaic array when in its first position.

Freitragender Unterstand

NºPublicación:  DE102024109327A1 09/10/2025
Solicitante: 
KFI METALLBAU GMBH [DE]
KFI Metallbau GmbH

Resumen de: DE102024109327A1

Die Erfindung betrifft einen Unterstand (2; 2') zum nach oben hin geschützten Unterstellen von mindestens einem Gegenstand, insbesondere eines Fahrzeugs. Der Unterstand (2; 2') umfasst mindestens zwei auf einer Seite des Unterstands (2; 2') angeordnete Stützen (4) und eine an einem oberen Ende (6) der Stützen (4) befestigte Dachfläche (8), die als Schutz des untergestellten Gegenstands nach oben hin dient. Ferner umfasst der Unterstand (2; 2') mindestens zwei Querträger (10), welche die Dachfläche (8) tragen und jeweils mit einem proximalen Ende (12) seitlich an dem oberen Ende (6) einer der Stützen (4) mittels Schrauben (14) befestigt sind und von der Stütze (4) seitlich abragen, so dass sich eine freitragende Konstruktion des Unterstands (2; 2') ergibt.Es wird vorgeschlagen, dassdie Stützen (4) und die Querträger (10) als Metallprofile, vorzugsweise als Stahlprofile, mit einer mehreckigen, vorzugsweise einer viereckigen, besonders bevorzugt mit einer quadratischen oder rechteckigen, Querschnittsfläche ausgebildet sind;die Querträger (10) mit einer an ihrem proximalen Ende (12) ausgebildeten Stirnseite (16) bündig an einer zur Befestigung an einem der Querträger (10) vorgesehenen Seite (18) der Stützen (4) anliegen; unddie Schrauben (14) zur Befestigung der Querträger (10) an den Stützen (4) bei an den Stützen (4) befestigten Querträgern (10) im Inneren der Metallprofile von außerhalb des Unterstands (2; 2') nicht sichtbar angeordnet sind.

Modulhalteelement zum Halten eines Solarmoduls auf einem Modulträger

NºPublicación:  DE102025113814A1 09/10/2025
Solicitante: 
STANGL FRANZ [DE]
Stangl, Franz

Resumen de: DE102025113814A1

Es wird ein Modulhalteelement (10,11) zum Halten eines Solarmoduls (90) auf einem Modulträger (95) aufgezeigt, wobei das Modulhalteelement (10,11) folgendes umfasst: ein Befestigungselement (20) mit mindestens einem Vorsprungselement (25, 26) zum Kontaktieren einer Oberseite (92) des Solarmoduls (90), eine Schraube (30), die durch eine Öffnung in dem Befestigungselement (20) geführt ist, zum Halten des Solarmoduls (90) an dem Modulträger (95), ein Gegenelement (40), ein Abstandselement zum Halten des Befestigungselements (20) auf einem vorgegebenen Abstand zu dem Gegenelement (40), wobei der Abstand zwischen dem Befestigungselement (20) und dem Gegenelement (40) durch Anziehen der Schraube (30) verringerbar ist, wobei die Schraube (30) derart ausgebildet ist, dass die Schraube (30) von einer ersten dem Befestigungselement (20) abgewandten Seite des Gegenelements (40) aus anziehbar ist.

Verfahren zum Herstellen eines Solarmehrschichtverbundstückes zum Anordnen an einem Karosseriebauteil, ein Karosseriebauteil mit Solarmehrschichtverbundstück und Kraftfahrzeug mit dem Karosseriebauteil

NºPublicación:  DE102025105604A1 09/10/2025
Solicitante: 
AUDI AG [DE]
AUDI Aktiengesellschaft

Resumen de: DE102025105604A1

Die Erfindung betrifft ein Verfahren zum Herstellen eines Solarmehrschichtverbundstückes (1) zum Anordnen an einem vorgegebenen Karosseriebauteil, das wiederum zumindest einen Teil einer Außenhaut eines Kraftfahrzeugs bildet, umfassend folgende Verfahrensschritte: Herstellen einer Trägerschicht (5) durch Positionieren (3) von Solarzellen (6) auf einem Glasfasergewebe (4); Herstellen einer losen Mehrschichtanordnung durch Anordnen der Trägerschicht (5) zwischen einer Deckschicht (7) und einer Bodenschicht (8), wobei die Deckschicht (7) und die Bodenschicht (8) einen thermoplastischen Kunststoff aufweisen; stoffschlüssiges Zusammenfügen der Schichten (5,7,8) zu einem Solarmehrschichtverbund (2) durch Erwärmen und Pressen der Mehrschichtanordnung und Herstellen des Solarmehrschichtverbundstückes (1) durch Zuschneiden des Solarmehrschichtverbundes (2) in Abhängigkeit von Abmessungen des vorgegebenen Karosseriebauteils.

MODULAR SOLAR POWER GENERATION SYSTEM

NºPublicación:  WO2025211486A1 09/10/2025
Solicitante: 
ROBOLIFE CO LTD [KR]
(\uC8FC)\uB85C\uBCF4\uB77C\uC774\uD504
KR_102743961_B1

Resumen de: WO2025211486A1

The present invention relates to a modular solar power generation system which comprises: a solar panel comprising a plurality of solar cells and support members disposed at either side thereof; a tracking module which enables the solar panel to be rotated along the movement trajectory of the sun; coupling members connected to the support members of the solar panel; and a mounting member for mounting the solar panel onto a structure, wherein a solar panel assembly is formed by connecting the support members of a plurality of solar panels using the coupling members, and the solar panel assembly is mounted onto a structure by connecting the mounting member to the solar panel assembly.

CRYPTO SOLAR WIND OASIS TREE

NºPublicación:  WO2025210380A1 09/10/2025
Solicitante: 
CHOW MICHAEL [CA]
CHOW, Michael

Resumen de: WO2025210380A1

The present disclosure pertains to the Crypto Solar Wind Oasis Tree, an inventive cryptocurrency mining system engineered to harmonize with environmental sustainability goals. This system integrates renewable energy sources, including vertical axis wind turbines and photovoltaic solar panels, with a novel water reservoir that facilitates both cooling and hydroelectric power generation. Designed to mimic the natural structure of a tree, this invention optimizes the capture and utilization of solar and wind energy, while its innovative cooling system leverages water from the integrated reservoir, reducing the thermal load on the mining hardware. An advanced control system, employing artificial intelligence and real-time data analysis, dynamically manages energy production, storage, and operational efficiency, ensuring the system's adaptability to varying environmental conditions. Additionally, the inclusion of green walls or vertical gardens enhances its aesthetic appeal and environmental benefits, making the Crypto Solar Wind Oasis Tree a cutting-edge solution for sustainable cryptocurrency mining. The present disclosure pertains to the Crypto Solar Wind Oasis Tree, an inventive cryptocurrency mining system engineered to harmonize with environmental sustainability goals. This system integrates renewable energy sources, including vertical axis wind turbines and photovoltaic solar panels, with a novel water reservoir that facilitates both cooling and hydroelectric power generati

SOLAR PANEL CLEANING ROBOT FOR BUILDING-ATTACHED SOLAR POWER GENERATION SYSTEM

NºPublicación:  WO2025211487A1 09/10/2025
Solicitante: 
ROBOLIFE CO LTD [KR]
(\uC8FC)\uB85C\uBCF4\uB77C\uC774\uD504
KR_102692424_B1

Resumen de: WO2025211487A1

The present invention relates to a solar panel cleaning robot for a building-attached solar power generation system having a plurality of solar panel modules (20) spaced apart from each other between a plurality of frames (10) spaced apart from and in parallel with each other on a wall surface, wherein the solar panel modules (20), as represented by figure 2, are installed to adjust the angles thereof, around an axis (22) perpendicular to the pair of frames (10), in accordance with the position of the sun. The solar panel cleaning robot (30) comprises: a body (32); electrical wheels (34) which travel along rails (12) (represented by figure 2) formed in the frames (10) provided at either end of the body (32) and for installing the solar panel modules (20); a brush (36) rotatably disposed in the body (32) to clean the surfaces of the solar panel modules (20); and a driving unit (not shown) disposed in the body (32) to drive the brush (36) while controlling the movement of the electrical wheels (34).

Haltevorrichtung und Befestigungsanordnung für ein Solarmodul, Solaranlage sowie Verfahren zur Installation einer solchen

NºPublicación:  DE102024109491A1 09/10/2025
Solicitante: 
SOLWERK GMBH [DE]
Solwerk GmbH

Resumen de: DE102024109491A1

Offenbart ist eine Haltevorrichtung 100 zur Befestigung mindestens eines Solarmoduls 300, 300' an einer C-Profilschiene 200. Die Haltevorrichtung umfasst ein Montageelement 10 zur Montage in einer Rinne R der C-Profilschiene sowie ein Riegelelement 20. Das Riegelelement 20 ist dazu eingerichtet, einer Einsteckrichtung E folgend teilweise in eine im Montageelement 10 ausgebildete Aufnahme A eingesteckt zu werden, dabei in ihr zu verrasten und mit mindestens einem Überstandsbereich 21 senkrecht zur Einsteckrichtung E über das Montageelement 10 hinauszuragen.Weiterhin offenbart sind eine Befestigungsanordnung 1 für mindestens ein Solarmodul 300, 300' an einer Tragstruktur und eine Solaranlage, die jeweils insbesondere eine solche Haltevorrichtung 100 umfassen, sowie ein Verfahren zu Installation einer Solaranlage unter Verwendung einer solchen Haltevorrichtung 100.

Rahmen für ein Fotovoltaikmodul

NºPublicación:  DE102024109244A1 09/10/2025
Solicitante: 
VECON GMBH [DE]
VECON GmbH

Resumen de: DE102024109244A1

Die vorliegende Erfindung betrifft einen Rahmen für ein Fotovoltaikmodul, wobei der Rahmen ausgestaltet ist, den Rand einer Modulplatte vollständig zu umschließen. Im Rahmen der Erfindung wird vorgeschlagen, dass der Rahmen Hohlrohre aufweist, wobei die Hohlrohre im Wesentlichen außerhalb der Fläche der Modulplatte angeordnet sind, wobei die Hohlrohre eine Nut zur Verbindung mit der Modulplatte aufweisen, wobei die Nut an der Innenseite des Rahmens angeordnet ist, wobei die Nut weitgehend außerhalb der Hohlrohre angeordnet ist, wobei der Rahmen Mittel zum Befestigen des Rahmens an einem Seil oder einem Träger aufweist, wobei die Mittel zum Befestigen des Rahmens an einem Seil oder einem Träger ein Gelenk umfassen. Vorteilhaft verleiht der Rahmen dem Fotovoltaikmodul die für frei schwingende Fotovoltaikmodule notwendige Steifigkeit.

Modulhalteelement zum Halten eines Solarmoduls auf einem Modulträger

NºPublicación:  DE102025113817A1 09/10/2025
Solicitante: 
STANGL FRANZ [DE]
Stangl, Franz

Resumen de: DE102025113817A1

Es wird ein Modulhalteelement (10,11) zum Halten eines Solarmoduls (90) auf einem Modulträger (95) aufgezeigt, wobei das Modulhalteelement (10,11) folgendes umfasst: ein Befestigungselement (20) mit mindestens einem Vorsprungselement (25, 26) zum Kontaktieren einer Oberseite (92) des Solarmoduls (90), eine Schraube (30), die durch eine Öffnung in dem Befestigungselement (20) geführt ist, zum Halten des Solarmoduls (90) an dem Modulträger (95), ein Gegenelement (40), ein Abstandselement zum Halten des Befestigungselements (20) auf einem vorgegebenen Abstand zu dem Gegenelement (40), wobei der Abstand zwischen dem Befestigungselement (20) und dem Gegenelement (40) durch Anziehen der Schraube (30) verringerbar ist, wobei die Schraube (30) derart ausgebildet ist, dass die Schraube (30) von einer ersten dem Befestigungselement (20) abgewandten Seite des Gegenelements (40) aus anziehbar ist.

HOME PHOTOVOLTAIC ENERGY STORAGE MANAGEMENT SYSTEM AND CONTROL METHOD THEREFOR

NºPublicación:  WO2025209417A1 09/10/2025
Solicitante: 
HAIER ENERGY TECH CO LTD [CN]
\u6D77\u5C14\u65B0\u80FD\u6E90\u79D1\u6280\u6709\u9650\u516C\u53F8
CN_118353056_PA

Resumen de: WO2025209417A1

A home photovoltaic energy storage management system comprises: a solar photovoltaic panel, which is used for being arranged in an illumination area in a home and generating electric energy using illumination; an energy storage battery, which is used for storing and releasing the electric energy; a wireless current sensor, which is arranged on a drop line of a power grid and is used for collecting the direction and/or magnitude of a current on the drop line; an electric energy conversion device, which is in signal connection with the wireless current sensor in a wireless transmission mode and is configured to, on the basis of the direction and/or magnitude of the current, controllably convert the electric energy among the solar photovoltaic panel, the energy storage battery, and the external power grid. The electric energy conversion device can adjust the working states of the solar photovoltaic panel and the energy storage battery in a timely manner, improve the use efficiency and economic benefits of the electric energy, and reduce the power fluctuation of electric energy of the power grid. Further provided is a control method for the home photovoltaic energy storage management system.

PEROVSKITE PHOTOVOLTAIC MODULE, ELECTRICAL DEVICE, PHOTOVOLTAIC SYSTEM AND POWER GENERATION DEVICE

NºPublicación:  WO2025209411A1 09/10/2025
Solicitante: 
CONTEMPORARY AMPEREX TECH CO LIMITED [CN]
\u5B81\u5FB7\u65F6\u4EE3\u65B0\u80FD\u6E90\u79D1\u6280\u80A1\u4EFD\u6709\u9650\u516C\u53F8
CN_222928760_U

Resumen de: WO2025209411A1

Provided in the present application are a perovskite photovoltaic module, an electrical device, a photovoltaic system and a power generation device. The perovskite photovoltaic module comprises a perovskite battery, flow convergence members, an encapsulation layer and a cover plate, which are stacked in sequence, wherein the perovskite battery comprises a perovskite layer and a first electrode layer, which are stacked; the encapsulation layer is at least laid on an outer edge of the perovskite battery, the encapsulation layer is provided with hole channels, and openings of the hole channels are located in a side face of the encapsulation layer; and the flow convergence members are connected to the first electrode layer and pass through the hole channels in the side face of the encapsulation layer. In the perovskite photovoltaic module, by means of the provision of the hole channels in the encapsulation layer and making the openings of the hole channels located in the side face of the encapsulation layer, the permeation distance of moisture can be adjusted by means of the covering length of the encapsulation layer on the flow convergence members to reduce the risk of moisture penetration, thereby reducing the risk of the perovskite layer being damaged, and facilitating an improvement in the stability of the power conversion efficiency of the perovskite photovoltaic module.

SOLAR POWER SUPPLY APPARATUS FOR OUTDOOR CAMPING

Nº publicación: WO2025208905A1 09/10/2025

Solicitante:

JIANGXI TEMINGLIANG LIGHTING CO LTD [CN]
GONGQINGCHENG JINGZHONGTE TECH CO LTD [CN]
\u6C5F\u897F\u7279\u94ED\u4EAE\u7167\u660E\u6709\u9650\u516C\u53F8,
\u5171\u9752\u57CE\u6676\u4F17\u7279\u79D1\u6280\u6709\u9650\u516C\u53F8

Resumen de: WO2025208905A1

A solar power supply apparatus for outdoor camping, comprising a power supply mechanism (2), wherein the power supply mechanism (2) comprises several solar panels (22), the solar panels (22) being fixedly mounted on a base plate (24); surfaces of the upper and lower ends of the back surface of the base plate (24) are fixedly connected to attachment fasteners (27); the attachment fasteners (27) are attached to an attachment panel (3); an electric wire (25) extends from the bottom of the base plate (24), with the tail end of the electric wire (25) being fixedly connected to a connector (26); a straight slot is provided at the upper end of the base plate (24); and a handle (21) is fixedly mounted inside the straight slot. The solar power supply apparatus is characterized in that the back surface of the solar power supply mechanism (2) is provided with the attachment fasteners (27) that are easy to attach, while the matching attachment plate (3) is correspondingly fixed to a surface of a tent (1), so that a user can easily mount or remove the power supply apparatus by means of simple attaching and peeling actions, thereby greatly facilitating self-sufficient power supply during camping and making the solar power supply apparatus more convenient to carry and store.

traducir