Ministerio de Industria, Turismo y Comercio LogoMinisterior
 

Alerta

Resultados 182 resultados
LastUpdate Última actualización 18/03/2026 [07:03:00]
pdfxls
Solicitudes publicadas en los últimos 15 días / Applications published in the last 15 days
previousPage Resultados 100 a 125 de 182 nextPage  

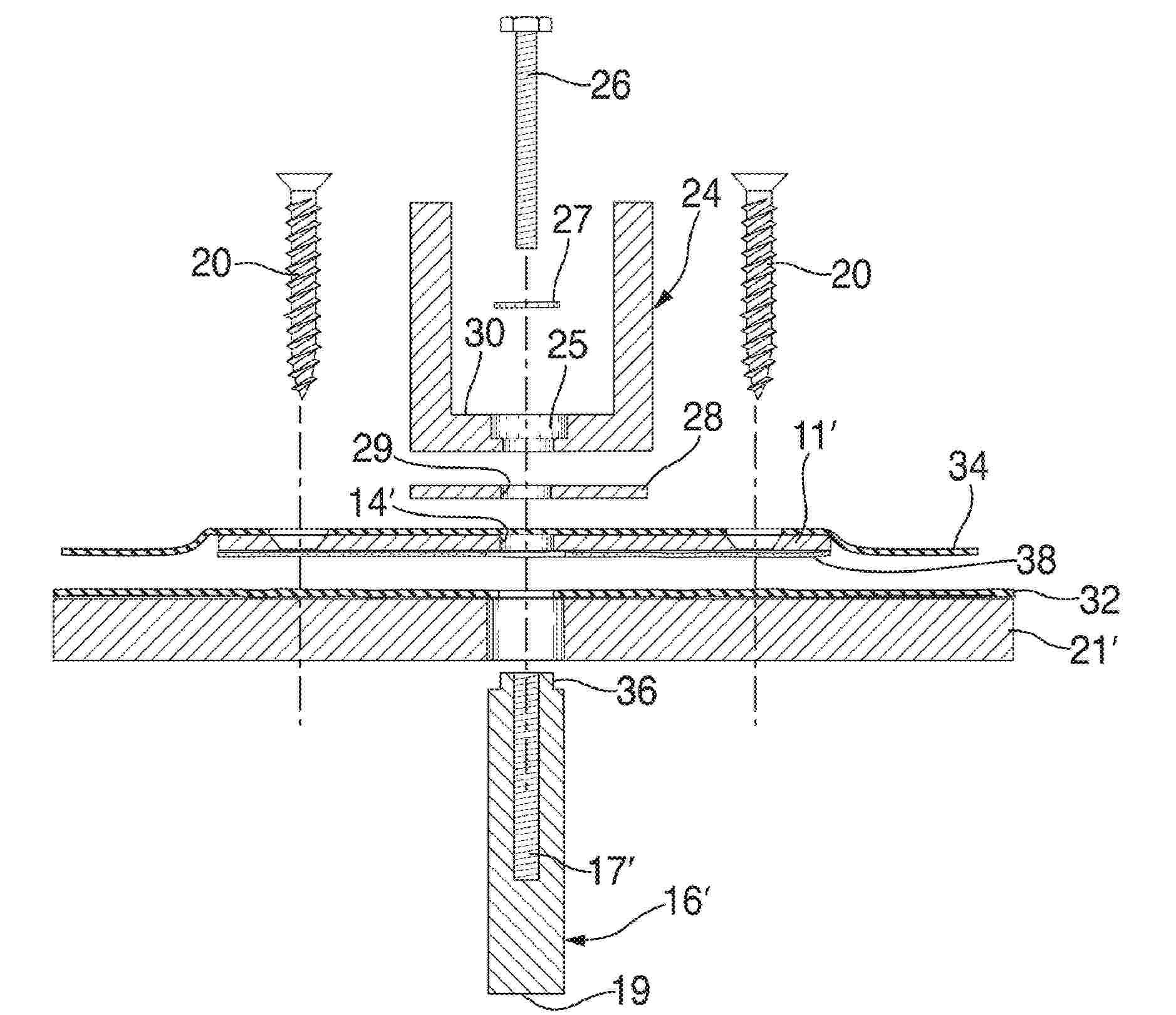
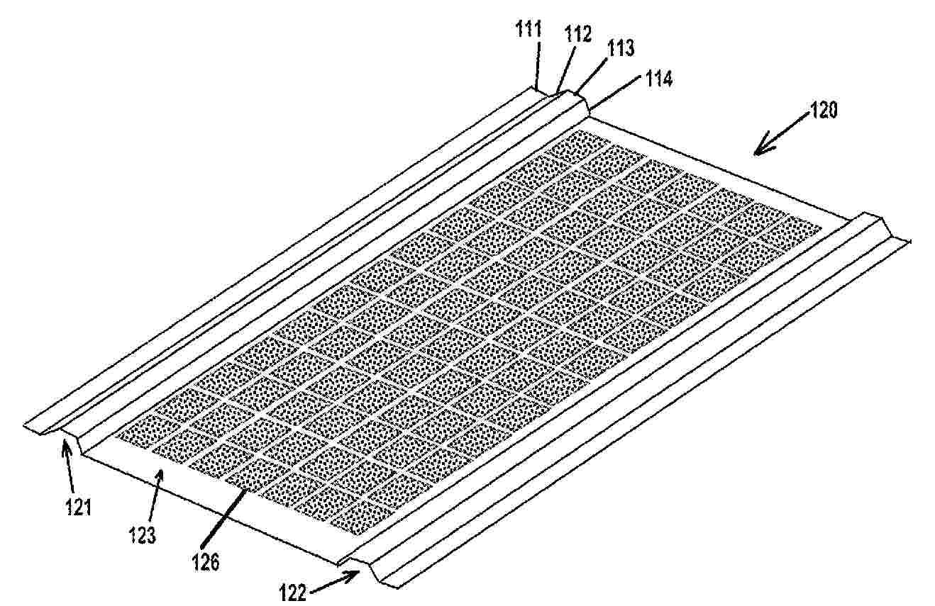
Method of retrofitting an existing flat or flat-inclined roof of a building, flat or flat-inclined roof for a building and assembly for a retrofit system to be used on an existing flat or flat-inclined roof of a building

NºPublicación:  WO2026046901A1 05/03/2026
Solicitante: 
ROCKWOOL AS [DK]
ROCKWOOL A/S
WO_2026046901_PA

Resumen de: WO2026046901A1

The inventions relates to a method of retrofitting an existing flat or flat-inclined roof (1) of a building, the existing roof (1) comprising at least a first layer (3) of a combustible insulation being arranged on a substructure (2) and being covered with a first membrane (4) as a roof seal, whereby a second layer (5) of a preferably non-combustible insulation is arranged on top of the first membrane (3) before the second layer (5) of preferably non-combustible insulation is covered with a second waterproofing membrane (6) and before finally a photovoltaic system (7) with at least one photovoltaic panel (9) is arranged with a distance to and on top of the second waterproofing membrane (6).

PHOTOVOLTAIC CONVERTER WITH SELECTIVE SWITCH-OFF IN CASE OF AN ARC EVENT AND A PHOTOVOLTAIC ASSEMBLY COMPRISING SUCH A PHOTOVOLTAIC CONVERTER

NºPublicación:  WO2026046640A1 05/03/2026
Solicitante: 
SIEMENS AG [DE]
SIEMENS AKTIENGESELLSCHAFT
WO_2026046640_PA

Resumen de: WO2026046640A1

The invention relates to a photovoltaic converter (1) having a plurality of photovoltaic inputs (8) for in each case at least one photovoltaic module (3) or at least one photovoltaic string (4), also called a multi-string photovoltaic converter, and to a photovoltaic assembly (1, 3, 4) having such a photovoltaic converter (1). The photovoltaic converter (1) is equipped with a feed converter (6), a DC voltage intermediate circuit (7), a plurality of photovoltaic inputs (8) for in each case one photovoltaic module (3) or one photovoltaic string (4), an arc detector (12), a plurality of DC/DC converter groups (10) and a control unit (13). The feed converter (6) is designed to draw electrical energy stored in the DC voltage intermediate circuit (7) from said circuit, to invert the drawn stored electrical energy and to feed the inverted electrical energy into a supply network (2). The arc detector (12) is designed to detect the occurrence of an arc event at one of the photovoltaic inputs (8). Each DC/DC converter group (10) contains one or more DC/DC converters (11), wherein each DC/DC converter group (10) is connected between a respective subset of the plurality of photovoltaic inputs (8) and the DC voltage intermediate circuit (7), and is designed to draw a respective PV electrical energy available at the respective subset of the photovoltaic inputs (8) and to feed said PV electrical energy into the DC voltage intermediate circuit (7). The control unit (13) is connected to at le

SANDWICH PANEL AND BUILDING ENVELOPE THEREOF

NºPublicación:  WO2026047432A1 05/03/2026
Solicitante: 
ARCELORMITTAL [LU]
ARCELORMITTAL
WO_2026047432_PA

Resumen de: WO2026047432A1

The invention relates to a process for manufacturing a sandwich panel comprising a photovoltaic active area positioned on the outer sheet and whose upper, respectively lower, electrical conductor is connected to an upper, respectively lower, cable at the backside of the outer sheet, the process comprising positioning the outer sheet in a mold, inserting at least one of the first upper electrical connector and the first lower electrical connector, with a downstream portion of its cable, in a groove formed in the outer sheet, putting insulation in place and maintaining the inner sheet at a given distance from the outer sheet.

SANDWICH PANEL AND BUILDING ENVELOPE THEREOF

NºPublicación:  WO2026047433A1 05/03/2026
Solicitante: 
ARCELORMITTAL [LU]
ARCELORMITTAL
WO_2026047433_PA

Resumen de: WO2026047433A1

The invention relates to a sandwich panel comprising a photovoltaic active area positioned on the outer sheet, whose upper electrical connector is positioned in an upper cavity positioned within the insulation material adjacent to the upper transverse side of the insulation material so that the upper electrical connector can be accessed from the upper cavity along the upper transverse side, and whose lower electrical connector is positioned in a lower cavity positioned within the insulation material adjacent to the lower transverse side of the insulation material so that the lower electrical connector can be accessed from the lower cavity along the lower transverse side.

SANDWICH PANEL AND BUILDING ENVELOPE THEREOF

NºPublicación:  WO2026047431A1 05/03/2026
Solicitante: 
ARCELORMITTAL [LU]
ARCELORMITTAL
WO_2026047431_PA

Resumen de: WO2026047431A1

The invention relates to a sandwich panel comprising a photovoltaic active area positioned on an outer sheet comprising an outer mortise and an outer tenon, the upper, respectively lower, electrical connector of the photovoltaic active area being positioned in an upper, respectively lower, cavity, the upper cavity being positioned within the insulation material in the upper half of the sandwich panel and adjacent to either one of the longitudinal sides of the insulation material or the inner sheet so that the upper electrical connector can be accessed from the upper cavity, the lower cavity being positioned within the insulation material in the lower half of the sandwich panel and adjacent to either one of the longitudinal sides of the insulation material or the inner sheet so that the first lower electrical connector can be accessed from the lower cavity.

SANDWICH PANEL AND BUILDING ENVELOPE THEREOF

NºPublicación:  WO2026047434A1 05/03/2026
Solicitante: 
ARCELORMITTAL [LU]
ARCELORMITTAL
WO_2026047434_PA

Resumen de: WO2026047434A1

The invention relates to a sandwich panel comprising a photovoltaic active area positioned on the outer sheet and whose electrical connectors are positioned in a first cavity positioned within the insulation material and adjacent to either one of the sides of the insulation material or the inner sheet so that the electrical connectors can be accessed from the first cavity.

SANDWICH PANEL AND BUILDING ENVELOPE THEREOF

NºPublicación:  WO2026047430A1 05/03/2026
Solicitante: 
ARCELORMITTAL [LU]
ARCELORMITTAL
WO_2026047430_PA

Resumen de: WO2026047430A1

The invention relates to a process for manufacturing a sandwich panel comprising a photovoltaic active area positioned on the outer sheet and whose upper, respectively lower, electrical conductor is connected to an upper, respectively lower, cable at the backside of the outer sheet, the latter comprising a cavity in which one of the first upper electrical connector and the first lower electrical connector is positioned, the process comprising positioning the outer sheet in a mold, inserting the other of the first upper electrical connector and the first lower electrical connector, with a downstream portion of its cable, either in a hole in one of the sides of the mold or in a groove formed in the inner sheet or in a groove formed in the outer sheet, putting insulation in place and maintaining the inner sheet at a given distance from the outer sheet.

Solar Cell, Cell Component, and Photovoltaic System

NºPublicación:  US20260068356A1 05/03/2026
Solicitante: 
ZHUHAI FUSHAN AIKO SOLAR ENERGY TECH CO LTD [CN]
ZHEJIANG AIKO SOLAR ENERGY TECH CO LTD [CN]
TIANJIN AIKO SOLAR ENERGY TECH CO LTD [CN]
GUANGDONG AIKO SOLOR ENERY TECH CO LTD [CN]
SHENZHEN AIKO DIGITAL ENERGY TECH CO LTD [CN]
ZHUHAI FUSHAN AIKO SOLAR ENERGY TECHNOLOGY CO., LTD,
ZHEJIANG AIKO SOLAR ENERGY TECHNOLOGY CO., LTD,
TIANJIN AIKO SOLAR ENERGY TECHNOLOGY CO., LTD,
GUANGDONG AIKO SOLOR ENERY TECHNOLOGY CO., LTD,
SHENZHEN AIKO DIGITAL ENERGY TECHNOLOGY CO., LTD
US_20260068356_PA

Resumen de: US20260068356A1

The disclosure provides a solar cell, a cell component, and a photovoltaic system. The solar cell includes a silicon substrate, first doped layers, second doped layers, a first passivation film layer, and first welding spots. The silicon substrate has a first surface and a second surface opposite each other. The first doped layers are arranged on the first surface. The first doped layers each have several first preset zones. The several second doped layers are arranged on the first preset zones, and the second doped layers are arranged in a spaced manner. The first passivation film layer is arranged on the second doped layers and the first doped layers. The first welding spots are arranged on the first passivation film layer. Orthographic projections of the first welding spots on the first doped layers at least partially overlap orthographic projections of the second doped layers on the first doped layers.

LONG-STRIP POWER JUNCTION BOX

NºPublicación:  US20260066633A1 05/03/2026
Solicitante: 
ZHUHAI SHENGCHANG ELECTRONICS CO LTD [CN]
Zhuhai Shengchang Electronics Co., Ltd
US_20260066633_PA

Resumen de: US20260066633A1

The present disclosure discloses a long-strip power junction box, aiming to provide a long-strip power junction box that saves space, is convenient for adjustment of electrical parameters and can be installed in a slender space. The long-strip power junction box includes a main body, which is internally provided with a power chamber and a plurality of wiring chambers, wherein the plurality of wiring chambers are respectively disposed at two ends of the power chamber, and the power chamber is internally provided with a circuit board, an adjustment module and adjusting holes; the circuit board is electrically connected to the adjustment module, and the adjusting holes correspond to the adjustment module; and a cover plate is disposed on the main body and covers the power chamber and the plurality of wiring chambers. The present disclosure is applied to the technical field of power junction boxes.

FLOOR BRUSH ASSEMBLY AND FLOOR CLEANING APPARATUS

NºPublicación:  US20260060501A1 05/03/2026
Solicitante: 
GUANGDONG XINBAO ELECTRICAL APPLIANCES HOLDINGS CO LTD [CN]
GUANGDONG XINBAO ELECTRICAL APPLIANCES HOLDINGS CO., LTD
US_20260060501_PA

Resumen de: US20260060501A1

A floor brush assembly (1) and a floor cleaning apparatus, belonging to the technical field of floor cleaning. The floor brush assembly (1) comprises: a floor brush main body (10); a roller brush assembly (12), comprising a roller brush (120) and a roller brush holder (121), a second end of the roller brush (120) being sleeved on a roller brush driving shaft, and a handle recess (1213) being provided on the roller brush holder (121); a roller brush handle (13) having a first state of being hidden in the handle recess (1213) and a second state of being exposed outside the handle recess (1213); and a roller brush release member (11) for being snapped onto or separated from the roller brush handle (13), thereby switching the roller brush handle (13) between the first state and the second state. The present invention facilitates detachment and mounting of the roller brush (120).

Magnetohydrodynamic electric power generator

NºPublicación:  AU2026200883A1 05/03/2026
Solicitante: 
BRILLIANT LIGHT POWER INC
Brilliant Light Power, Inc
AU_2026200883_A1

Resumen de: AU2026200883A1

MAGNETOHYDRODYNAMIC ELECTRIC POWER GENERATOR A power generator that provides at least one of electrical and thermal power comprising (i) at least one reaction cell for the catalysis of atomic hydrogen to form hydrinos identifiable by unique analytical and spectroscopic signatures, (ii) a reaction mixture comprising at least two components chosen from: a source of H20 catalyst or H20 catalyst; a source of atomic hydrogen or atomic hydrogen; reactants to form the source ofH20 catalyst or H20 catalyst and a source of atomic hydrogen or atomic hydrogen; and a molten metal to cause the reaction mixture to be highly conductive, (iii) a molten metal injection system comprising at least one pump such as an electromagnetic pump that provides a molten metal stream and at least one reservoir that receives the molten metal stream, (iv) an ignition system comprising an electrical power source that provides low- voltage, high-current electrical energy to the at least one steam of molten metal to ignite a plasma to initiate rapid kinetics of the hydrino reaction and an energy gain due to forming hydrinos, (v) a source ofH2 and 02 supplied to the plasma, (vi) a molten metal recovery system, and (vii) a power converter capable of (a) converting the high-power light output from a blackbody radiator of the cell into electricity using concentrator thermophotovoltaic cells or (b) converting the energetic plasma into electricity using a magnetohydrodynamic converter. MAGNETOHYDRODYNAMIC ELECTRIC P

METHODS AND SYSTEMS TO MONITOR PHOTOVOLTAIC SYSTEMS

NºPublicación:  AU2024317051A1 05/03/2026
Solicitante: 
SHOALS TECHNOLOGIES GROUP LLC
SHOALS TECHNOLOGIES GROUP, LLC
AU_2024317051_PA

Resumen de: AU2024317051A1

A method may include generating current and voltage (I-V) data of a photovoltaic (PV) panel at a plurality of predetermined time intervals during operation of the PV panel. The method may also include generating environmental data of a site of the PV panel at the plurality of predetermined time intervals. In addition, the method may include generating I-V characteristic data based on the I-V data and the environmental data. The I-V characteristic data may be representative of actual operating performance of the PV panel over a predetermined period of time corresponding to a duration of the predetermined time intervals.

BATTERY STRING AND PHOTOVOLTAIC MODULE

NºPublicación:  AU2024329709A1 05/03/2026
Solicitante: 
LONGI GREEN ENERGY TECHNOLOGY CO LTD
LONGI GREEN ENERGY TECHNOLOGY CO., LTD
AU_2024329709_PA

Resumen de: AU2024329709A1

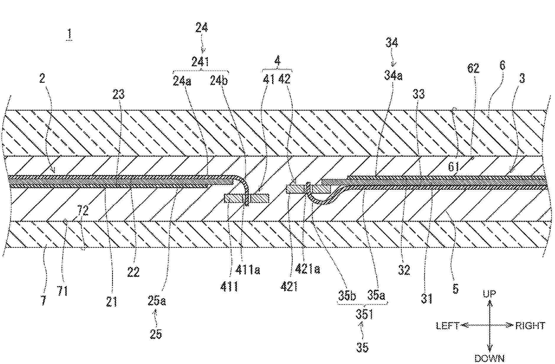
A battery string and a photovoltaic module, belonging to the technical field of photovoltaic modules. The battery string comprises: a first connection wire, and a first cell and a second cell which are electrically connected by means of the first connection wire. The first connection wire extends in a first direction on a first surface of the first cell. The first cell has a first edge and a second edge which are opposite in the first direction; and the first surface of the first cell is provided with a first end wire extending in the first direction, the first end wire being close to the first edge and far away from the second edge. Part of the first connection wire extends onto the first end wire to form an overlap portion, the ratio of the length of the overlap portion to the length of the first end wire being less than or equal to 80%.

FAHRZEUG, KÜHLVERFAHREN UND SPEICHERMEDIUM

NºPublicación:  DE102025118100A1 05/03/2026
Solicitante: 
TOYOTA MOTOR CO LTD [JP]
TOYOTA JIDOSHA KABUSHIKI KAISHA

Resumen de: DE102025118100A1

Ein Fahrzeug umfasst ein Solarpaneel, das an einem oberen Abschnitt eines Fahrzeugkörpers vorgesehen ist, und einen vorstehenden Abschnitt, der vor dem Solarpaneel an dem Fahrzeugkörper vorgesehen ist. Der vorstehende Abschnitt hat eine Form, die sich in einer Vorne-Hinten-Richtung des Fahrzeugkörpers nach vorne verjüngt.

Farbbeschichtung für ein Photovoltaikmodul

NºPublicación:  DE102024125504A1 05/03/2026
Solicitante: 
KARL IMMOBILIEN UND BETEILIGUNG GMBH & CO KG [DE]
Karl Immobilien und Beteiligung GmbH & Co. KG

Resumen de: DE102024125504A1

Die Erfindung betrifft eine Farbbeschichtung für ein Photovoltaikmodul (6) aus bedruckten Flächen (1) beispielsweise direkt auf der Oberfläche oder der den Solarzellen (4) zugewandten Unterseite eines transparenten Substrats (3) selbst, wobei die Farbbeschichtung aus einem gedruckten Raster bestehend aus einem gleichmäßig verteilten Muster einzelner Rasterdruckelemente als bedruckter Flächen (1) gleicher Größe und/oder Rasterdrucklinien gebildet ist, und der Rasterdruck der Farbbeschichtung der bedruckten Flächen (1) lichtundurchlässig, stark remittierend oder zumindest zweischichtig aufgebaut ist, wobei bei einem zweischichtigen Aufbau ein dem Lichteinfall zugewandter Farbauftrag zumindest durch eine Reflexionsbeschichtung in Form einer weißen oder reflektierende Fläche (1c) hinterlegt ist.

VERFAHREN UND VORRICHTUNG ZUM BETRIEB EINES PV-GENERATORS AM ARBEITSPUNKT MAXIMALER LEISTUNG

NºPublicación:  DE102024125501A1 05/03/2026
Solicitante: 
SMA SOLAR TECHNOLOGY AG [DE]
SMA Solar Technology AG

Resumen de: DE102024125501A1

In einem Verfahren zum Betrieb eines PV-Generators (11) am Arbeitspunkt maximaler Leistung (MPP, 22) mittels eines Wechselrichters (12) zum Umwandeln elektrischer DC-Leistung (P_PV, P_DC) des PV-Generators (11) in elektrische AC-Leistung (P_AC) weist der PV-Generator (11) eine PV-Kennlinie (21) auf und der Wechselrichter (12) wird mittels einer Droop-Steuerkurve (31) betrieben. Dabei gibt die Droop-Steuerkurve (31) Sollwerte für die Leistung (P_DC, PAC) des Wechselrichters (12) in Abhängigkeit von einer DC-Spannung (U_DC) des Wechselrichters (12) vor, wobei der Wechselrichter (12) einen Istwert der Leistung (P_DC, P_AC) mittels einer leistungselektronischen Brückenschaltung auf den durch die Droop-Steuerkurve (31) für die aktuelle DC-Spannung (U_DC) vorgegebenen Sollwert einstellt, so dass sich im Betrieb des PV-Generators (11) ein Arbeitspunkt (41) einstellt, der dem Schnittpunkt der aktuellen Droop-Steuerkurve (31) mit der aktuellen PV-Kennlinie (21) entspricht. In einem ein iteratives MPP-Tracking wird die Droop-Steuerkurve (31) schrittweise verändert, um den Arbeitspunkt (41) entlang der DC-Spannung (U_DC) zu verschieben. Der resultierende Istwert der Leistung (P_DC, P_AC) wird erfasst, und die Droop-Steuerkurve (31) wird in jedem Tracking-Schritt so verändert, dass der Arbeitspunkt (41) in eine Richtung verschoben wird, die von einer Richtung einer Änderung des Istwertes der Leistung (P_DC, P_AC) am Arbeitspunkt (41) aufgrund der Änderung der Droop-Steuerkurve (3

Photovoltaikumrichter mit selektiver Abschaltung bei Auftreten eines Lichtbogenereignisses und eine Photovoltaikanordnung mit einem solchen Photovoltaikumrichter

NºPublicación:  DE102024208142A1 05/03/2026
Solicitante: 
SIEMENS AG [DE]
Siemens Aktiengesellschaft

Resumen de: DE102024208142A1

Die Erfindung betrifft einen Photovoltaikumrichter (1) mit einer Mehrzahl von Photovoltaikeingängen (8) für jeweils wenigstens ein Photovoltaikmodul (3) oder wenigstens einen Photovoltaikstring (4), auch Multistring-Photovoltaikumrichter genannt, und eine Photovoltaikanordnung (1, 3, 4) mit einem solchen Photovoltaikumrichter 1.Der Photovoltaikumrichter (1) ist mit einem Einspeiseumrichter (6), einem Gleichspannungszwischenkreis (7), eine Mehrzahl von Photovoltaikeingängen (8) für jeweils ein Photovoltaikmodul (3) oder einen Photovoltaikstring (4), einem Lichtbogendetektor (12), eine Mehrzahl von DC/DC-Stellergruppen (10) und einer Steuereinheit (13) ausgestattet. Der Einspeiseumrichter (6) ist dazu ausgebildet, dem Gleichspannungszwischenkreis (7) darin gespeicherte elektrische Energie zu entnehmen, die entnommene gespeicherte elektrische Energie wechselzurichten und die wechselgerichtete elektrische Energie in ein Versorgungsnetz (2) einzuspeisen. Der Lichtbogendetektor (12) ist dazu ausgebildet, ein Auftreten eines Lichtbogenereignisses an einem der Photovoltaikeingänge (8) zu detektieren. Jede DC/DC-Stellergruppe (10) enthält einen oder mehrere DC/DC-Steller (11), wobei jede DC/DC-Stellergruppe (10) zwischen eine jeweilige Teilmenge der Mehrzahl von Photovoltaikeingängen (8) und den Gleichspannungszwischenkreis (7) geschaltet und dazu ausgebildet ist, eine an der jeweiligen Teilmenge der Photovoltaikeingänge (8) verfügbare jeweilige PV-elektrische Energie zu entn

INSTALLATION OF STRAIGHT OR CONCAVE REFLECTORS BEHIND AND BELOW MODULE HOLDER DURING SOLAR POWER GENERATION (GROUND-MOUNTED, BUILDING-MOUNTED, FLOATING, AND HIGH-RISE VERTICAL LADDER-TYPE SOLAR POWER PLANTS)

NºPublicación:  WO2026049586A1 05/03/2026
Solicitante: 
YUM DONGOK [KR]
\uC5FC\uB3D9\uC625
WO_2026049586_PA

Resumen de: WO2026049586A1

According to the present invention, straight or concave reflectors are installed on the rear surface of a module holder and below the module holder, and reflected light is guided in multiple directions to maximize power generation. A solar module is installed on the front surface of a solar module holder to generate power, and at the same time, straight or concave reflectors are installed on the rear surface of the holder and below the holder to enable additional power generation using reflected light.

MICROINVERTER

NºPublicación:  WO2026049193A1 05/03/2026
Solicitante: 
HANWHA SOLUTIONS CORP [KR]
\uD55C\uD654\uC194\uB8E8\uC158 \uC8FC\uC2DD\uD68C\uC0AC
WO_2026049193_PA

Resumen de: WO2026049193A1

The present invention relates to a microinverter which may comprise: a case in which a circuit board is disposed in an inner space; a potting material stored in the inner space of the case and covering the circuit board; and a heat dissipation structure disposed to pass through the case and having one surface exposed to the outside of the case and the opposite surface in contact with the potting material.

AGRIVOLTAIC DUAL-PURPOSE STRUCTURE WITH DISTRIBUTED COLUMNS ENABLING HIGH UTILIZATION OF LAND FOR PLANTING AND INCLUDING BUILT IN TRACK FOR ROBOTIC CLEANING SYSTEM

NºPublicación:  WO2026047662A1 05/03/2026
Solicitante: 
ARYT SUSTAINABILITY LTD [IL]
ARYT SUSTAINABILITY LTD
WO_2026047662_A1

Resumen de: WO2026047662A1

A profile includes two opposed linear edges, and two opposed edges that are at least partially curvilinear. The edges are arranged sequentially to form a tube. An external groove is configured along an extent of each of the edges. The curvilinear edges may be dimensioned such that they are each along a circumference of a circle that circumscribes the profile. A three-dimensional assembly for supporting a row of rotatable solar panels may be built from the profiles. The assembly includes: an upper row and a lower row arranged in parallel, each of the upper and lower rows comprising two or more of the profiles arranged linearly, a plurality of internal connectors spanning the central internal cavities of adjacent profiles, and a plurality of struts connecting between external grooves of the parallel profiles. A plurality of rotatable panels are arranged on panel connectors that are on the upper row.

PHOTOVOLTAIC POWER GENERATION ENHANCEMENT

NºPublicación:  WO2026047666A1 05/03/2026
Solicitante: 
SHER RONEN [IL]
ENGLANDER BOAZ [IL]
SHER, Ronen,
ENGLANDER, Boaz
WO_2026047666_A1

Resumen de: WO2026047666A1

Disclosed herein is a photovoltaic (PV) power system, comprising: a) one or more solar panels, and b) one or more dedicated reflectors positioned in irradiated areas near said one or more solar panels, to reflect solar irradiance of said irradiated areas towards the photovoltaic (PV) surface of each of said one or more solar panels, thereby adding reflected irradiance to the direct irradiance received by said one or more solar panels. The dedicated reflectors are configured with predetermined inclination and one or more curvatures, to optimize the receipt of solar irradiance by said one or more reflectors and provide a determined level of homogeneity of the added irradiance across the PV surfaces.

PHOTOVOLTAIC DEVICE

NºPublicación:  WO2026045462A1 05/03/2026
Solicitante: 
SHENZHEN HELLO TECH ENERGY CO LTD [CN]
\u6DF1\u5733\u5E02\u534E\u5B9D\u65B0\u80FD\u6E90\u80A1\u4EFD\u6709\u9650\u516C\u53F8
WO_2026045462_PA

Resumen de: WO2026045462A1

A photovoltaic device (100), comprising a case (10) and a photovoltaic module (20). The case (10) can be opened and closed. The photovoltaic module (20) comprises a plurality of photovoltaic apparatuses (21); each photovoltaic apparatus (21) is rotatably connected to another photovoltaic apparatus (21); the photovoltaic module (20) can be in a folded state and an unfolded state; the photovoltaic module (20) can be accommodated in the case (10) when in the folded state; the photovoltaic module (20) can be unfolded outside the case (10) when the case (10) is opened; each photovoltaic apparatus (21) comprises photovoltaic panels (211) and frames (212); the frames (212) wrap the edges of the photovoltaic panels (211); when the photovoltaic device (100) is in an unfolded state, the frames (212) of adjacent photovoltaic apparatuses (21) abut against each other, so that the adjacent photovoltaic apparatuses (21) are kept at a predetermined angle.

THIN FILM PHOTOVOLTAIC DEVICES USING ZINTL-PHOSPHIDE

NºPublicación:  WO2026050508A1 05/03/2026
Solicitante: 
THE TRUSTEES OF DARTMOUTH COLLEGE [US]
UNIV CATHOLIQUE DE LOUVAIN [BE]
THE TRUSTEES OF DARTMOUTH COLLEGE,
UNIVERSIT\u00C9 CATHOLIQUE DE LOUVAIN
WO_2026050508_PA

Resumen de: WO2026050508A1

A methodology for performing high throughput, computational screening for materials usable as thin film absorbers is disclosed. The method includes selecting a search set of inorganic compounds, and sequentially filtering the search set with a set of filters. The filters exclude materials on the basis of optical and electrical properties such as band gap, carrier effective mass and the presence of low-formation-energy, deep defects that can act as strong nonradiative recombination centers. The application of this search methodology suggests certain classes of materials usable as absorbers in thin film photovoltaic cells.

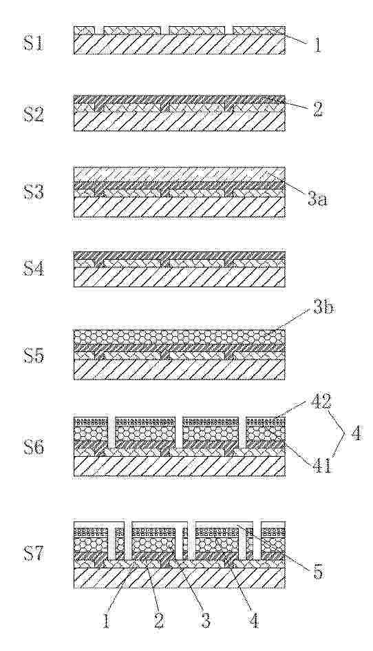
BACK-CONTACT CELL AND PHOTOVOLTAIC MODULE

NºPublicación:  WO2026046185A1 05/03/2026
Solicitante: 
LONGI GREEN ENERGY TECH CO LTD [CN]
\u9686\u57FA\u7EFF\u80FD\u79D1\u6280\u80A1\u4EFD\u6709\u9650\u516C\u53F8
WO_2026046185_PA

Resumen de: WO2026046185A1

The present application relates to the technical field of photovoltaic cell manufacturing, and in particular, to a back-contact cell and a photovoltaic module. The cell comprises a substrate, an electrode structure, and a plurality of first insulation blocks. The substrate has an electrode region and a non-electrode region. The plurality of first insulation blocks are disposed facing the electrode structure and are respectively attached to the corresponding electrode structure. The plurality of first insulation blocks comprise a first edge insulation block adjacent to the non-electrode region, and a plurality of first central insulation blocks and a second edge insulation block. The plurality of first central insulation blocks are located between the first edge insulation block and the second edge insulation block in a second direction intersecting with a first direction, and the first edge insulation block has a first edge close to the non-electrode region and a second edge away from the non-electrode region. By making the width of the first edge insulation block different from the width of the plurality of first central insulation blocks and the width of the second edge insulation block, the printing process is simpler; and the first edge insulation block ensures that the non-electrode region is not occupied while also ensuring an insulation effect, thereby reducing the usage of insulation materials to alleviate the warpage problem of the cell, and also improving the printi

BACK CONTACT CELL, CELL STRING, CELL MODULE AND PHOTOVOLTAIC SYSTEM

Nº publicación: WO2026045280A1 05/03/2026

Solicitante:

ZHEJIANG AIKO SOLAR ENERGY TECH CO LTD [CN]
TIANJIN AIKO SOLAR ENERGY TECH CO LTD [CN]
GUANGDONG AIKO SOLAR ENERGY TECH CO LTD [CN]
SHANDONG AIKO SOLAR ENERGY TECH CO LTD [CN]
CHUZHOU AIKO SOLAR TECH CO LTD [CN]
\u6D59\u6C5F\u7231\u65ED\u592A\u9633\u80FD\u79D1\u6280\u6709\u9650\u516C\u53F8,
\u5929\u6D25\u7231\u65ED\u592A\u9633\u80FD\u79D1\u6280\u6709\u9650\u516C\u53F8,
\u5E7F\u4E1C\u7231\u65ED\u79D1\u6280\u6709\u9650\u516C\u53F8,
\u5C71\u4E1C\u7231\u65ED\u592A\u9633\u80FD\u79D1\u6280\u6709\u9650\u516C\u53F8,
\u6EC1\u5DDE\u7231\u65ED\u592A\u9633\u80FD\u79D1\u6280\u6709\u9650\u516C\u53F8

WO_2026045280_PA

Resumen de: WO2026045280A1

The present disclosure is applicable to the technical field of solar cells, and provides a back contact cell, a cell string, a cell module and a photovoltaic system. The back contact cell comprises: a cell piece, the cell piece having a front surface and a back surface that are opposite to each other; and a plurality of fingers provided on the back surface, wherein the plurality of fingers extend in a first direction and are arranged in a second direction. Each finger is provided with a base portion, a base arc portion and a top arc portion, the base portion being arranged on the cell piece, the base arc portion and the top arc portion extending out from the base portion in the thickness direction of the cell piece, and the base arc portion being separately connected to the base portion and the top arc portion and being recessed towards the center of a section of the finger. The base arc portions are configured to be in contact connection with a circular welding strip; the circular welding strip is at least partially disposed on the base arc portions; and the circumferential arc of the circular welding strip and an arc-shaped opening of the base arc portions are consistent in direction. The back contact cell provided by the present disclosure increases the connection area between the fingers and the circular welding strip, thereby ensuring the stability and reliability of connection and avoiding stress concentration.

traducir