Ministerio de Industria, Turismo y Comercio LogoMinisterior
 

Biomarcadores para diagnóstico de Demencia

Resultados 238 resultados
LastUpdate Última actualización 22/04/2026 [07:25:00]
pdfxls
Solicitudes publicadas en los últimos 60 días / Applications published in the last 60 days
previousPage Resultados 50 a 75 de 238 nextPage  

一种用于疾病的疗效评估方法、系统和相关生物标志物

NºPublicación:  CN121737286A 27/03/2026
Solicitante: 
深圳湾实验室浙江大学医学院附属第一医院(浙江省第一医院)
CN_121737286_PA

Resumen de: CN121737286A

本公开提供了一种用于疾病的疗效评估方法、系统和相关生物标志物,方法包括:获取第一状态的第一检测物,检测所述第一检测物中的生物标志物;获取第二状态的第二检测物,检测所述第二检测物中的生物标志物;比较所述第一检测物中的生物标志物和所述第二检测物中的生物标志物,得到比较结果;根据所述比较结果,确定评估结果。

人Tau蛋白抗体及应用

NºPublicación:  CN121736098A 27/03/2026
Solicitante: 
深圳市药品检验研究院(深圳市医疗器械检测中心)
CN_121736098_PA

Resumen de: CN121736098A

本发明公开了一种人Tau蛋白抗体及应用,该抗体的轻链CDR1、CDR2和CDR3氨基酸序列依序如SEQ ID NO:1~3所示,重链CDR1、CDR2和CDR3氨基酸序列依序如SEQ ID NO:4~6所示。该人Tau蛋白抗体能够特异性结合磷酸化及非磷酸化人Tau蛋白,亲和力强、稳定性高,EC50低于3.6ng/mL。基于该抗体制备的酶联免疫检测试剂盒具有灵敏度高的特点,检测灵敏度小于19.5 pg/mL,线性检测范围为0‑20000 pg/mL,并且特异性强、准确性好,能够实现准确、高通量地检测样品中的Tau蛋白含量,具有优异的应用前景。

PAD4 조정제의 시트룰린화 및 활성을 평가하는 방법

NºPublicación:  KR20260041867A 27/03/2026
Solicitante: 
브리스톨마이어스스큅컴퍼니
KR_20260041867_PA

Resumen de: US2018099049A1

Stable lyophilized therapeutic protein compositions and their methods of manufacture are provided. Specifically, the use of water as a solid cake plasticizer and protein stabilizer is described. Also, the inclusion of a multicomponent stabilizer comprising a larger molecular entity and a smaller molecular entity is described. Also, the inclusion of post-drying annealing under certain conditions improves protein stability. Proteins are predicted to remain stable over 24 months at 25° C.

DNA MISMATCH ANCHORING COMPOUNDS AND USES THEREOF

NºPublicación:  WO2026064356A2 26/03/2026
Solicitante: 
KASSIS AMIN I [US]
WO_2026064356_A2

Resumen de: WO2026064356A2

Mismatch anchoring compounds (MACs) are disclosed that recognize and bind to specific base-pair mismatches (mmBP) present within single stranded or double stranded DNA, RNA, and oligonucleotide sequences, and enable the ex vivo identification of DNA/RNA point mutations (DNAPM/RNAPM), including disease-associated, rare, and low abundance DNAPM/RNAPM, and the isolation and elimination of mmBP-positive cells. The use of MACs in vitro and in vivo (a) blocks mmBP-positive DNA replication and gene transcription/expression, (b) inhibits mmBP-positive cell proliferation, (c) reverses, prevents, and/or treats mmBP-rnediated disease, aging, and age-related disorders, (d) blocks mmBP-positive RNA and/or RNA-DNA duplex translation and inhibits the production of abnormal disease-causing proteins, (e) silence mmBP-positive genes, and (f) blocks intracellular pathogen replication. MAC-conjugates and their uses are disclosed, including MACs radiolabeled with SPECT/PET/particle-emitting isotopes for radioimaging and/or radiotherapy of mmBP-positive diseases.

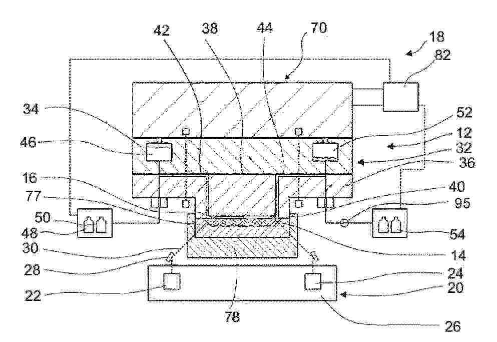
Mikrofluidische Vorrichtung, Biomarkerdetektionsvorrichtung mit mikrofluidischer Vorrichtung und Verfahren

NºPublicación:  DE102024127976A1 26/03/2026
Solicitante: 
BETASENSE GMBH [DE]
DE_102024127976_PA

Resumen de: DE102024127976A1

Eine mikrofluidische Vorrichtung (12) zum Probenauftrag einer Körperflüssigkeit auf ein konditioniertes Sensorelement für eine Detektion von molekularen Biomarkern in der Körperflüssigkeit und/oder zum Konditionieren des Sensorelements (14) mittels eines Konditionierungsfluids umfasst zumindest eine Interaktionskammer (40), die abschnittsweise durch ein Sensorelement (14) geschlossen ist. Eine Pneumatikeinheit (70) ist mit der zumindest einen ersten Aufnahme (46) verbunden und dazu eingerichtet, diese mit Überdruck zu beaufschlagen und die Körperflüssigkeit oder das Konditionierungsfluid durch die zumindest eine Interaktionskammer (40) entlang der behandelten Oberfläche (16) einmalig und unidirektional und anschließend in den zumindest einen Entsorgungsbehälter (52) zu pumpen, so dass bei Körperflüssigkeit Biomarker an der Oberfläche (16) haften oder bei Konditionierungsfluid die Oberfläche konditioniert ist. Ferner werden eine Biomarkerdetektionsvorrichtung (18) und eine Verfahren zum Probenauftrag einer Körperflüssigkeit auf ein konditioniertes Sensorelement (14) für eine Biomarkerdetektion und/oder zum Konditionieren eines Sensorelements (14) für eine Biomarkerdetektion vorgeschlagen.

FLUORESCENT NANODIAMOND FOR IMAGE GUIDED TARGETED DRUG DELIVERY

NºPublicación:  WO2026064744A1 26/03/2026
Solicitante: 
UNIV TEXAS [US]
WO_2026064744_A1

Resumen de: WO2026064744A1

The subject invention provides materials and methods for treating diseases affecting the central nervous system (CNS) and/or other viral reservoir organs utilizing nanoscopic diamond particles, i.e., nanodiamonds (ND), loaded with drug molecules and microglial targeting moiety.

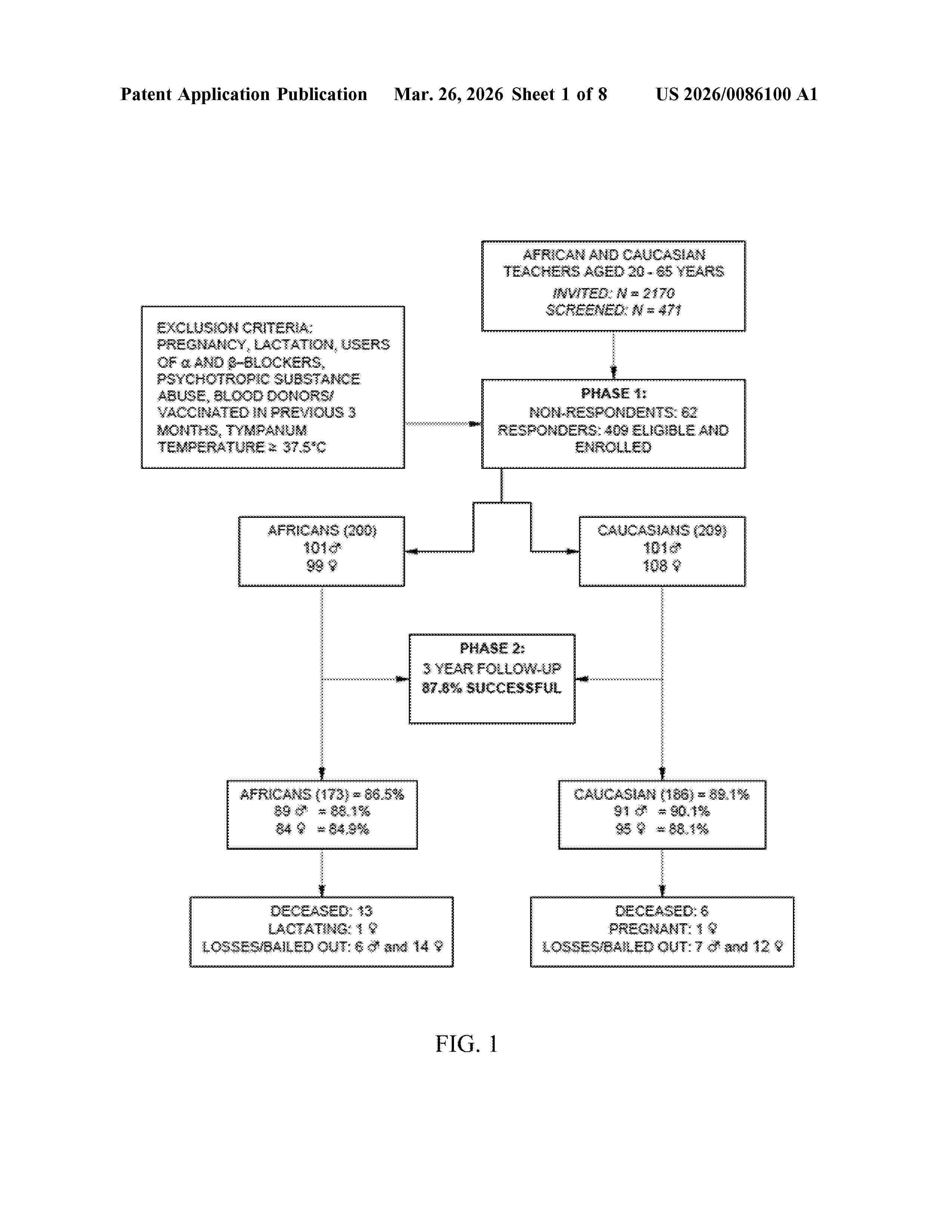
Method of Determining Risk for Chronic Stress and Stroke

NºPublicación:  US20260086100A1 26/03/2026
Solicitante: 
UNIV NORTHWEST [ZA]
US_20260086100_A1

Resumen de: US20260086100A1

0000 Provided are methods of determining risk for chronic stress and stroke. More specifically, provided is an early prognostic index that can be used to predict chronic stress and stroke risk. There is provided a method of evaluating the risk of developing chronic stress and stroke, the method including obtaining a biological sample from an individual; measuring the levels of a set of biomarkers in the biological sample obtained from the individual; measuring the levels of a set of clinical markers of the individual; using a computer to programmatically generate an index based on the levels of biomarker in the biological sample obtained from the individual in combination with levels of the individual's clinical marker; and using the index to identify a likelihood that the individual will experience chronic stress and stroke.

METHODS TO DETERMINE DRUG TARGET RESIDENCE TIME AND TO SELECT BEST DRUG-TARGET CANDIDATES

NºPublicación:  US20260086093A1 26/03/2026
Solicitante: 
BIOGNOSYS AG [CH]
US_20260086093_A1

Resumen de: US20260086093A1

0000 The present invention relates to methods for the determination of the residence time between at least one Target and at least one Ligand, optionally in their native biological context, using limited proteolysis e.g., combined with selected reaction monitoring, parallel reaction monitoring, data-independent acquisition (DIA), including Sequential Windowed Acquisition of All Theoretical Fragment Ion Mass Spectra (SWATH) methods and the like.

NEW SYNTHETIC DRUGS FOR TREATING ALZHEIMER'S DISEASE

NºPublicación:  US20260083826A1 26/03/2026
Solicitante: 
OKINAWA INSTITUTE OF SCIENCE AND TECH SCHOOL CORPORATION [JP]
OKINAWA INSTITUTE OF SCIENCE AND TECHNOLOGY SCHOOL CORPORATION
US_20260083826_A1

Resumen de: US20260083826A1

The present invention aims to provide a novel agent for treating Alzheimer's disease, a method for treating Alzheimer's disease, a method for screening for a candidate substance for a therapeutic drug for Alzheimer's disease, and the like. The present invention is a prophylactic and/or therapeutic agent for Alzheimer's disease comprising a peptide corresponding to dynamin 1. The peptide preferably corresponds to dynamin 1-pleckstrin-homology domain or dynamin 1-proline rich domain. In addition, the peptide is preferably encapsulated in nano-particles or linked to a peptide sequence that improve delivery of the peptide into the brain.

METHODS OF DIAGNOSING ACUTE CIRCULATORY FAILURE

NºPublicación:  US20260086063A1 26/03/2026
Solicitante: 
INST NAT SANTE RECH MED [FR]
CENTRE NAT RECH SCIENT [FR]
CT HOSPITALIER UNIVERSITAIRE TOULOUSE [FR]
UNIV TOULOUSE 3 PAUL SABATIER [FR]
US_20260086063_A1

Resumen de: US20260086063A1

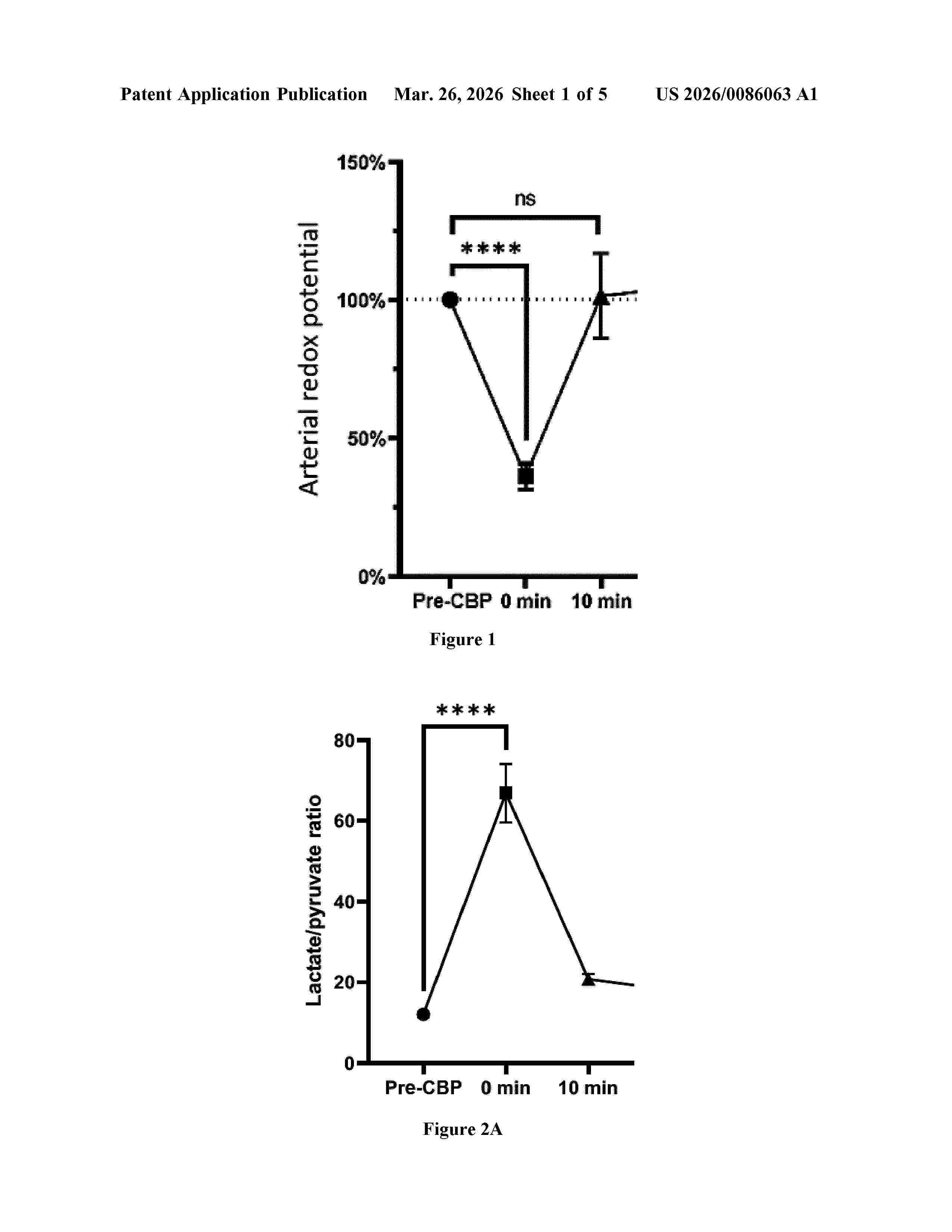
0000 Circulatory failure generates hypoxia and leads to accumulation of reductive species in tissue and circulatory failure monitoring tools are needed but rare. Cardiopulmonary bypass (CPB) is known to promote brief circulatory failure during its initiation. In the present study, the Inventors demonstrate a correlation between whole blood redox potential and circulatory failure during (CPB). They made a prospective study with 17 patients eligible for cardiac surgery with cardiopulmonary bypass. They demonstrated a frank reduction of the whole blood redox potential during circulatory failure during the initiation of CPB. They also demonstrated that they were able to classify patients in 3 groups, one of them presenting an unfavorable post-operative outcome. Accordingly, the present invention relates to a method of diagnosing acute circulatory failure in a patient comprising determining the level of redox potential in a sample obtained from said patient, wherein the level of redox potential indicates whether the patient suffers or not from an acute circulatory failure.

VOLTAGE INDICATOR POLYPEPTIDES AND METHODS OF USE FOR RECORDING ELECTRICAL ACTIVITY OF NEURONS

NºPublicación:  WO2026064655A1 26/03/2026
Solicitante: 
UNIV LELAND STANFORD JUNIOR [US]
WO_2026064655_A1

Resumen de: WO2026064655A1

Provided are nucleic acids encoding voltage indicator polypeptides. In some instances, the voltage indicator polypeptide comprises a voltage-sensing domain (VSD) comprising four transmembrane segments, and a circularly permuted fluorescent protein inserted into an extracellular loop between the third transmembrane segment (S3) and the fourth transmembrane segment (S4) of the VSD. The voltage indicator polypeptide may comprise one or more amino acid substitutions and/or deletions, non-limiting examples of which include one or more substitutions at I412, F413 and/or Q414, wherein numbering of positions is according to SEQ ID NO: 1. Cells comprising the nucleic acids are also provided. In some embodiments, the cells are neurons that express the voltage indicator polypeptide on the plasma membrane of the neuron in a pan-membrane or targeted manner. Methods of recording the electrical activity of neurons are also provided, as are methods of assessing an effect of an agent on the electrical activity of neurons.

A NOVEL AND IMPROVED METHOD OF DIFFERENTIATING INFECTION FROM INFLAMMATION

NºPublicación:  AU2024327213A1 26/03/2026
Solicitante: 
ABACUSLABS LTD [IE]
AU_2024327213_PA

Resumen de: AU2024327213A1

A method of determining a health status of an individual, the method comprising the steps of assaying a biological sample from the individual for the positive expression of SAA1 and/or SAA2, and wherein the positive expression of the SAA1 and/or SAA2 above or below a threshold expression level in a control sample correlates with the health status of the individual.

Methods and Treatment Involving Excess Free LIGHT

NºPublicación:  US20260085112A1 26/03/2026
Solicitante: 
AVALO THERAPEUTICS INC [US]
US_20260085112_A1

Resumen de: US20260085112A1

The present disclosure relates to methods of detecting free (active) LIGHT in biological samples to diagnose conditions associated with elevated free LIGHT, as well as to predict the effectiveness of anti-LIGHT therapies. The disclosure also relates to treating such conditions with anti-LIGHT antibodies. Conditions include acute lung injury (ALI) and acute respiratory distress syndrome (ARDS), optionally wherein the ALI and ARDS are associated with viral infection, including coronavirus infection. Conditions also include Crohn's Disease or an inflammatory condition associated with Crohn's Disease.

CIRCUIT CARRIER, PCB, FOR A CLIP FOR MOUNTING ON AN ABSORBENT ARTICLE AND A CLIP FOR MOUNTING ON AN ABSORBENT ARTICLE

NºPublicación:  WO2026062142A1 26/03/2026
Solicitante: 
ASSISTME GMBH [DE]
WO_2026062142_A1

Resumen de: WO2026062142A1

The invention relates to a circuit carrier (2), PCB, for a clip (1) for mounting on an absorbent article (4). The circuit carrier (2) comprises an impedance and electrochemical sensing module (21) configured to obtain a first measurement signal, a gas sensing module (22) configured to obtain a second measurement signal, a motion and position sensing module (23) configured to obtain a third measurement signal, a temperature sensing module (24) configured to obtain a fourth measurement signal, and a main controller (29) configured to control an operation of the sensing modules (21, 22, 23, 24) for obtaining the measurement signals, to sample and process the obtained measurement signals from the sensing modules (21, 22, 23, 24) and determine an output based on the sampled measurement signals, wherein the main controller (29) comprises a communication unit configured to exchange the measurement signals and/or the determined output with an external device and/or a server using an radio-frequency, RF, module, a gateway and a wireless personal area network transmission, WPAN, protocol, and/or using serial data transmission. The invention further relates to a clip (1) comprising the circuit carrier (2) according to the invention.

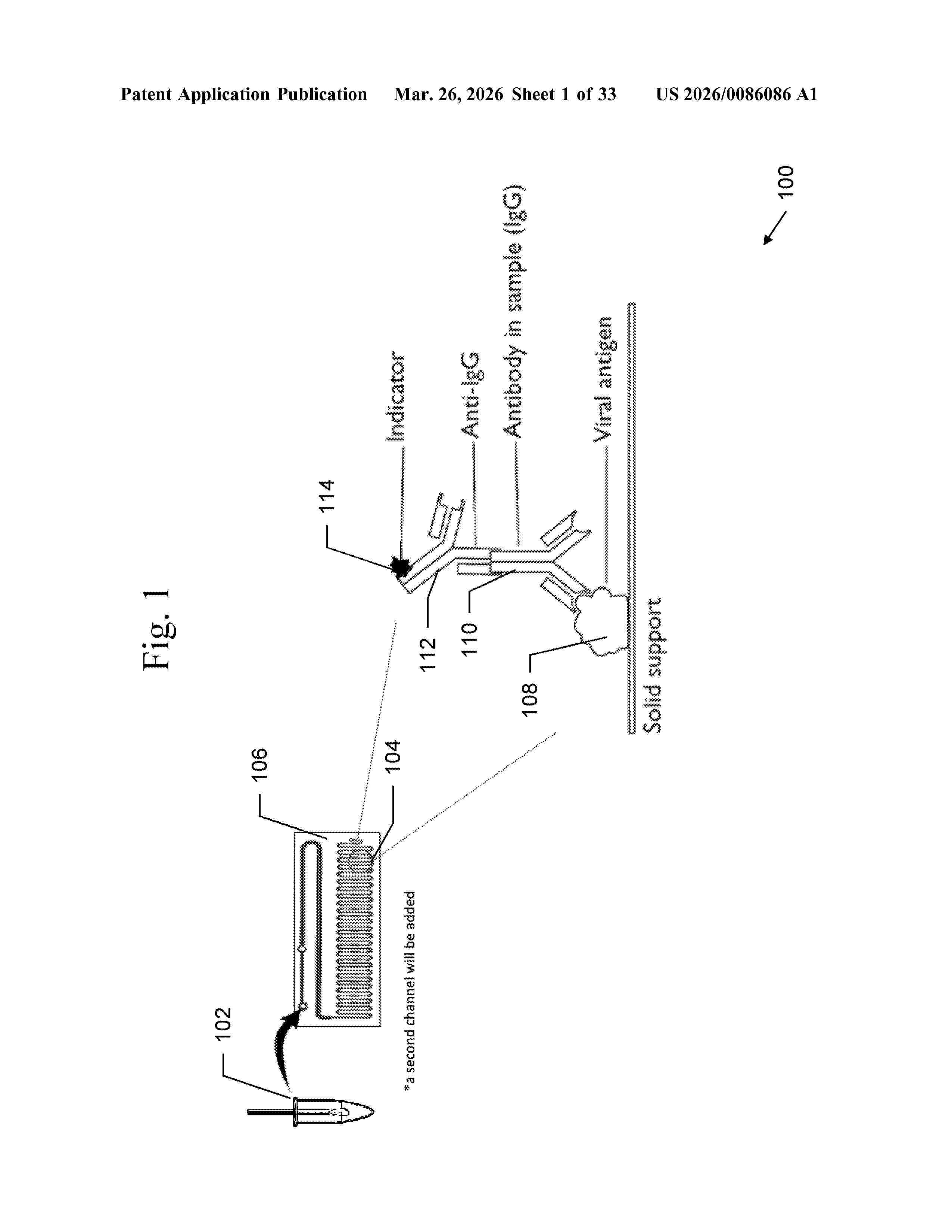
CARTRIDGE-BASED AUTOMATED RAPID TEST ANALYZER

NºPublicación:  US20260086086A1 26/03/2026
Solicitante: 
GENESIS INTELLIGENCE LLC [US]
US_20260086086_A1

Resumen de: US20260086086A1

0000 Embodiments may include a rapid test device that provide rapid detection of substances, including those involved in pathogen infection, for example, using Microscale Affinity Chromatography (MAC), indirect ELISA, and optical molecular sensing technology. For example, in an embodiment, an apparatus may comprise a loading bay disposed on the apparatus to receive a cartridge, a door disposed on the apparatus to cover the loading bay, a plurality of prongs disposed on an interior of the door to provide actuation force to dispense blister reservoirs disposed on the cartridge when the door is closed, and a device disposed relative to the cartridge to move at least a portion of contents of the cartridge among chambers of the cartridge.

ANTIBODY SPECIFICALLY BINDING TO TDP-43 AND USE THEREOF

NºPublicación:  WO2026063647A1 26/03/2026
Solicitante: 
PEOPLEBIO INC [KR]
\uC8FC\uC2DD\uD68C\uC0AC \uD53C\uD50C\uBC14\uC774\uC624
WO_2026063647_A1

Resumen de: WO2026063647A1

The present invention relates to an antibody specifically binding to TDP-43 and use thereof. When the antibody of the present invention is used, the level of TDP-43, particularly TDP-43 aggregates, can be effectively detected. Therefore, the present invention can be a powerful tool for distinguishing TDP-43 proteinopathy from other clinically similar neurodegenerative diseases and diagnosing TDP-43 proteinopathy, serving as a biomarker for TDP-43 proteinopathy, including FTD, ALS, LATE, and the like.

METHODS OF TREATING ALZHEIMER'S DISEASE

NºPublicación:  WO2026064441A1 26/03/2026
Solicitante: 
OTHAIR PROTHENA LTD [IE]
ALBRECHT JIRI [US]
QUADRINI KAREN J [US]
VERNHES FREDERIQUE [US]
OTHAIR PROTHENA LIMITED,
ALBRECHT, Jiri,
QUADRINI, Karen, J,
VERNHES, Frederique
WO_2026064441_A1

Resumen de: WO2026064441A1

The disclosure is related to methods of treating a subject with Alzheimer's Disease (AD) using anti-amyloid beta (Aβ) therapy. The patient may be treated based on the measurement and analysis of biomarker levels, such as plasma Aβ42/40 ratio, pTau181 and pTau217. The disclosure includes a systematic approach called CP Convert for converting biomarker measurements across different analytical platforms, enabling comparison of pTau217 data from LC-MS/MS, SIMOA, and chemiluminescent enzyme immunoassay platforms. Methods demonstrate that pTau217 has superior diagnostic accuracy compared to Aβ42/40 ratio and pTau181 for detecting brain amyloid positivity. Implementation of pTau217 prescreening can significantly reduce Aβ-PET testing, decreasing patient burden and clinical trial costs. The CP Convert methodology can be validated using independent cohorts, demonstrating robust cross-platform conversion for research applications.

治療における線維芽細胞活性化マーカー及びTGFBI

NºPublicación:  JP2026509766A 25/03/2026
Solicitante: 
キーバイオサイエンス・ソチエタ・アノニマ
JP_2026509766_A

Resumen de: EP1000000A1

The invention relates to an apparatus (1) for manufacturing green bricks from clay for the brick manufacturing industry, comprising a circulating conveyor (3) carrying mould containers combined to mould container parts (4), a reservoir (5) for clay arranged above the mould containers, means for carrying clay out of the reservoir (5) into the mould containers, means (9) for pressing and trimming clay in the mould containers, means (11) for supplying and placing take-off plates for the green bricks (13) and means for discharging green bricks released from the mould containers, characterized in that the apparatus further comprises means (22) for moving the mould container parts (4) filled with green bricks such that a protruding edge is formed on at least one side of the green bricks.

METHOD TO DETERMINE THE EFFICACY OF A NEURODEGENERATIVE DISEASE TREATMENT

NºPublicación:  EP4713689A1 25/03/2026
Solicitante: 
GRIFOLS WORLDWIDE OPERATIONS LTD [IE]
Grifols Worldwide Operations Limited
CN_121152975_PA

Resumen de: CN121152975A

The present invention relates to the use of biomarkers for measuring the efficacy or effectiveness of a treatment for neurodegenerative diseases, in particular Alzheimer's disease.

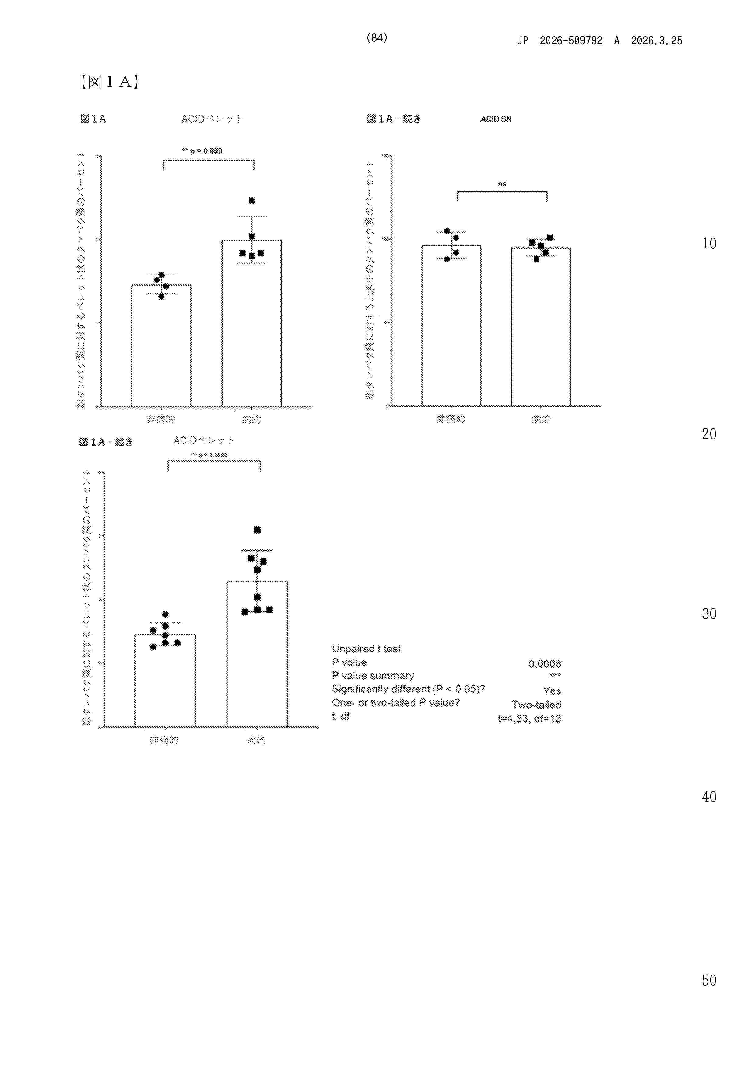
がん及び/又は急性炎症性疾患を診断するための手段及び方法

NºPublicación:  JP2026509792A 25/03/2026
Solicitante: 
カルツィムンビオテックゲゼルシャフトミットベシュレンクテルハフツング
JP_2026509792_A

Resumen de: EP1000000A1

The invention relates to an apparatus (1) for manufacturing green bricks from clay for the brick manufacturing industry, comprising a circulating conveyor (3) carrying mould containers combined to mould container parts (4), a reservoir (5) for clay arranged above the mould containers, means for carrying clay out of the reservoir (5) into the mould containers, means (9) for pressing and trimming clay in the mould containers, means (11) for supplying and placing take-off plates for the green bricks (13) and means for discharging green bricks released from the mould containers, characterized in that the apparatus further comprises means (22) for moving the mould container parts (4) filled with green bricks such that a protruding edge is formed on at least one side of the green bricks.

一种空间蛋白质组学分析方法

NºPublicación:  CN121721289A 24/03/2026
Solicitante: 
南方科技大学
CN_121721289_PA

Resumen de: CN121721289A

本发明属于分子生物学领域,具体地,涉及一种空间蛋白质组学分析方法,更具体地,涉及一种同时进行细胞类型成像和原位蛋白质组学分析的空间蛋白质组学分析方法。使用本发明的方法能够在同一组织切片上同时进行细胞类型成像和原位蛋白质组学分析,减小潜在的偏差,使得分析结果更为准确。

一种基于人工智能算法的单分子计数免疫分析系统

NºPublicación:  CN121721265A 24/03/2026
Solicitante: 
深圳先进技术研究院
CN_121721265_PA

Resumen de: CN121721265A

本公开涉及生物医学传感领域,具体涉及一种基于人工智能算法的单分子计数免疫分析系统,用于解决现有技术中在痕量蛋白检测和定量分析方面的灵敏度不足、信噪比不足、定量精度受限和数据处理效率低等问题。本公开技术方案通过明场和暗场双模式成像技术,针对基于利用离散载体及微纳荧光材料进行免疫分析的体系,结合图像处理算法和深度学习模型,提供高灵敏度、高精度、高信噪比的单分子免疫物质检测。

抗ペントシジンモノクローナル抗体及びその抗体を利用したペントシジン測定試薬

NºPublicación:  JP2026052367A 24/03/2026
Solicitante: 
日東紡績株式会社
JP_2026052367_A

Resumen de: EP1000000A1

The invention relates to an apparatus (1) for manufacturing green bricks from clay for the brick manufacturing industry, comprising a circulating conveyor (3) carrying mould containers combined to mould container parts (4), a reservoir (5) for clay arranged above the mould containers, means for carrying clay out of the reservoir (5) into the mould containers, means (9) for pressing and trimming clay in the mould containers, means (11) for supplying and placing take-off plates for the green bricks (13) and means for discharging green bricks released from the mould containers, characterized in that the apparatus further comprises means (22) for moving the mould container parts (4) filled with green bricks such that a protruding edge is formed on at least one side of the green bricks.

人BCMA抗体及其应用

NºPublicación:  CN121717907A 24/03/2026
Solicitante: 
江西省人民医院
CN_121717907_PA

Resumen de: CN121717907A

本公开涉及生物医药领域,提供了一种人BCMA抗体及其应用。本公开提供的抗BCMA单克隆抗体1F5与BCMA抗原具有较强的亲和能力,Kd值为0.752×10‑9 M;为鼠源IgG1亚型,轻链为κ链;能够高亲和力结合BCMA阳性细胞系H 929和RPMI 8226,与多发性骨髓瘤病人来源的CD138阳性骨髓单个核细胞也能高亲和力结合。鉴于这些特性,单克隆抗体1F5既可用于检测表达人BCMA的细胞,也能够单独或与其它方法联合应用在靶向人BCMA的肿瘤免疫治疗中,具有诊断和治疗价值。

一种抗人磷酸化tau217的兔源单克隆抗体及其制备方法和应用

Nº publicación: CN121717902A 24/03/2026

Solicitante:

中国科学技术大学

CN_121717902_PA

Resumen de: CN121717902A

本公开提供了一种抗人磷酸化tau217的兔源单克隆抗体及其制备方法和应用,属于生物检测、生物工程技术领域。抗人磷酸化tau217的兔源单克隆抗体包括轻链可变区和重链可变区,单克隆抗体包括HZK33‑B0010、HZK33‑B0011和HZK33‑B0029。本公开开发了识别p‑tau217的三种兔单克隆抗体,其不会与非磷酸化的tau蛋白或其他位点的磷酸化tau蛋白发生交叉反应,能够高度特异性地结合p‑tau217,并以此开发出更具特异性的相关体液标记物检测试剂盒。

traducir