Ministerio de Industria, Turismo y Comercio LogoMinisterior
 

Hidrógeno electrolítico

Resultados 927 resultados
LastUpdate Última actualización 06/04/2026 [07:00:00]
pdfxls
Publicaciones de solicitudes de patente de los últimos 60 días/Applications published in the last 60 days
previousPage Resultados 825 a 850 de 927 nextPage  

水電解陽極触媒、その水電解陽極触媒を含む複合部材、およびその複合部材を含む水電解装置

NºPublicación:  JP2026020857A 10/02/2026
Solicitante: 
国立大学法人北海道大学
JP_2026020857_A

Resumen de: JP2026020857A

【課題】Irを含有しなくても、十分な触媒性能および十分な耐久性を有する新規な水電解陽極触媒を提供する。【解決手段】第四周期以上第六周期以下の第IV、V、VI族元素および第二周期以上第六周期以下のXIV族元素からなる群から選択される少なくとも一種の元素、を含む炭化物、窒化物、およびホウ化物からなる群から選択される少なくとも一種の化合物、を含む水電解陽極触媒。【選択図】なし

水電解用電極の製造方法及び水電解用電極の製造装置

NºPublicación:  JP2026020881A 10/02/2026
Solicitante: 
パナソニックIPマネジメント株式会社
JP_2026020881_PA

Resumen de: JP2026020881A

【課題】従来よりも電極性能に関連する状態のばらつきが少ない水電解用電極を製造する観点から有利な水電解用電極の製造方法を提供する。【解決手段】水電解用電極の製造方法は、第1の設置状態及び第2の設置状態において少なくとも1つの導電性基材21上に水電解用電極を形成させるための原料溶液L1を少なくとも1つの導電性基材21が配置された容器11を経由して循環させる。第2の設置状態における少なくとも1つの導電性基材21の向きは、第1の設置状態における少なくとも1つの導電性基材21を、所定の直線を回転軸として半回転させたときの少なくとも1つの導電性基材21の向きと一致する。所定の直線は、少なくとも1つの導電性基材21の主面上の直線又は少なくとも1つの導電性基材の主面と交差する直線である。【選択図】図5

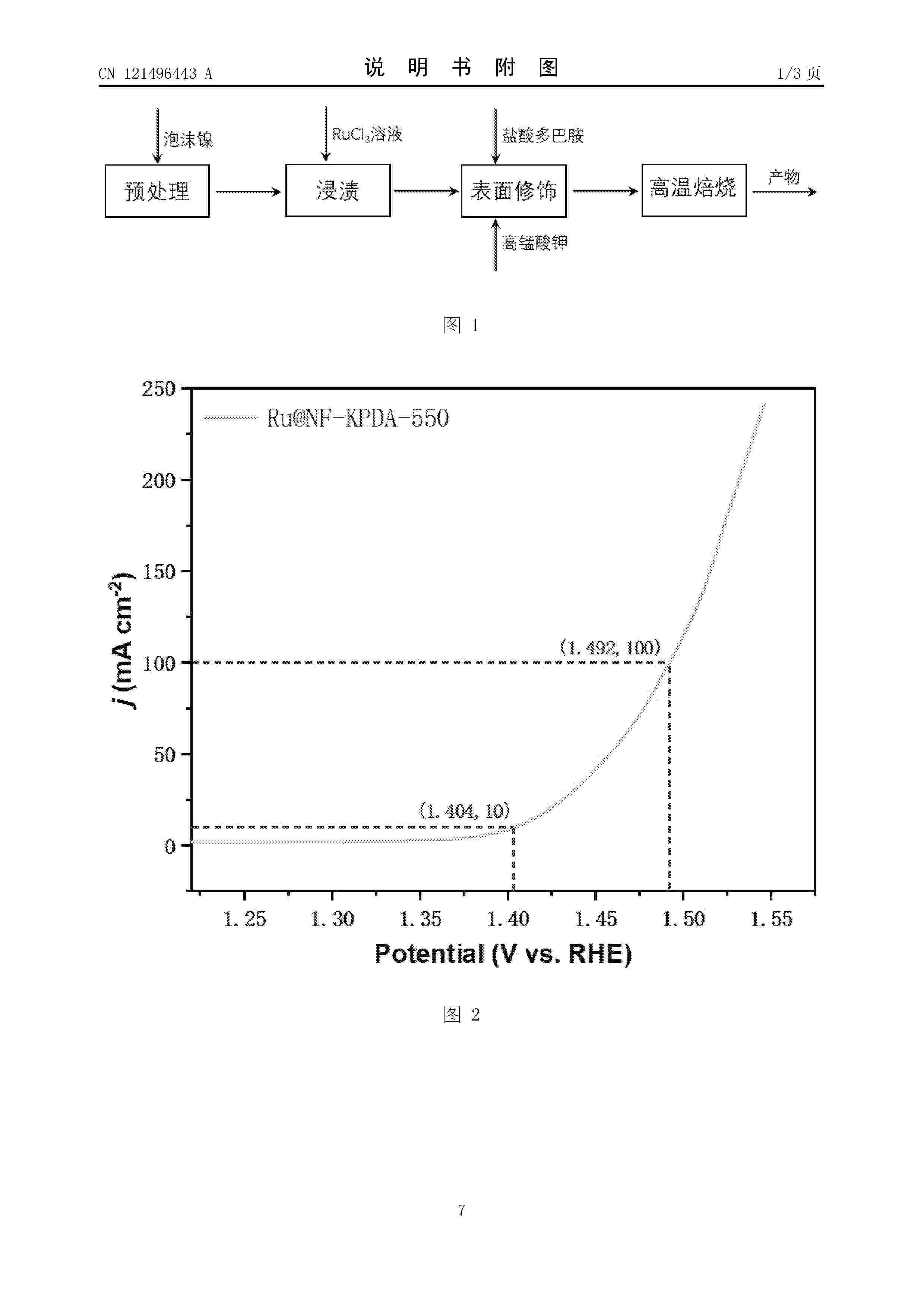
一种新型酸性电解水析氧反应电催化剂及其制备方法

NºPublicación:  CN121496443A 10/02/2026
Solicitante: 
四川大学
CN_121496443_A

Resumen de: CN121496443A

本发明公开了一种新型酸性电解水析氧反应电催化剂及其制备方法,所述电催化剂为一种以泡沫镍为基底的新型材料,该材料的制备方法是将预处理后的泡沫镍浸渍在RuCl3水溶液中,一定时间后取出再浸渍在高锰酸钾和盐酸多巴胺的氨水溶液中反应,最后在惰性气氛下焙烧制得。本发明提供了酸性电解水析氧反应电催化剂的方法,Ru在泡沫镍基底分散均匀,负载量低,在0.5M H2SO4酸性电解水析氧反应中,在10mA cm‑2电流密度下,过电位仅为174mv,稳定性超过44h。本发明解决了酸性电解质电解水制氢过程中OER催化剂活性较差、稳定性差、成本高的问题。

一种基于缺陷工程的钌基碱性析氢催化剂及其制备方法

NºPublicación:  CN121496463A 10/02/2026
Solicitante: 
中国科学院长春应用化学研究所
CN_121496463_PA

Resumen de: CN121496463A

本发明涉及析氢催化剂技术领域,尤其涉及一种基于缺陷工程的钌基碱性析氢催化剂及其制备方法。制备方法包括以下步骤:将钛源、无水乙醇、聚乙二醇200、硼酸的混合体系凝胶老化得到第一前驱体;所述第一前驱体于空气氛围、200~800℃下煅烧5~20h,得到第二前驱体;所述第二前驱体与钌盐和还原剂混合后洗涤干燥,得到所述催化剂。这种催化剂包括电子耦合的载体和Ru活性成分,所述载体为B替位取代Ti的TiO2载体。本发明通过B替位取代Ti,局部引入晶格应力和畸变,实现了快速的水解离,为Ru提供了更多、更强的锚定位点,增强了Ru与载体TiO2之间的电子耦合,至少从强水解能力、优化Ru的氢吸附能两个方面提高催化HER的活性。

一种质子交换膜水电解池的阳极结构及其制备方法和应用

NºPublicación:  CN121496455A 10/02/2026
Solicitante: 
浙江大学
CN_121496455_PA

Resumen de: CN121496455A

本发明公开了一种质子交换膜水电解池的阳极结构的制备方法,所述质子交换膜水电解池的阳极结构包括锗掺杂二氧化钌片状聚集体阳极催化剂,所述锗掺杂二氧化钌片状聚集体阳极催化剂的制备方法包括如下步骤:将固体无机钌盐、有机锗配合物和聚乙烯吡咯烷酮溶于溶剂中,室温搅拌,得到原液;获得的原液进行静电纺丝,干燥得到纳米纤维前驱体;对前驱体进行热处理,得到所述锗掺杂二氧化钌片状聚集体阳极催化剂。本发明还公开了上述制备得到催化剂及其在酸性溶液中,电解水析氧反应和在质子交换膜PEM电解水制氢反应中的应用。该催化剂应用于PEM电解水制氢反应和电解水氧化反应中均展现出优异的电催化活性,且长期工作下仍具有较好稳定性。

一种高效制氢空分一体化设备

NºPublicación:  CN121496424A 10/02/2026
Solicitante: 
杭州普菲科空分设备有限公司
CN_121496424_PA

Resumen de: CN121496424A

本发明涉及氢气制备技术领域,公开了一种高效制氢空分一体化设备,包括用于存储电解液的蓄液组件和储气组件,蓄液组件内部设置有用于对电解液电解的电解模块,蓄液组件内部设置有用于对电解液充分搅拌的搅拌组件,蓄液组件一侧设置有用于放置储气组件并带动储气组件升降的顶升机构,磁力耦合传动组件有效减少了磨损,并使设备运行更加稳定,氢气通过氢气传输机构输送至储气组件进行储存,而空分过滤组件则进一步提纯氢气,去除氧气和氮气,确保氢气的高纯度,顶升机构和支撑组件提高了设备的操作灵活性和稳定性,该设备的设计有效地提高了氢气生产的效率和安全性,同时减少了设备的维护成本,并增强了其在中小型应用场景中的适应性。

电解池及其制造方法

NºPublicación:  CN121511327A 10/02/2026
Solicitante: 
合瑞迈欧洲中东和非洲有限公司
CN_121511327_PA

Resumen de: TW202446996A

The present disclosure relates to an electrolysis cell comprising a porous transport layer which comprises at least one metallic support layer and at least one macroporous layer which comprises titanium particles deposited on the at least one support layer so that the titanium particles are at least partly covered with at least one conductive titanium suboxide surface layer.

一种单原子-钛氧簇协同催化剂及其制备方法与应用

NºPublicación:  CN121490828A 10/02/2026
Solicitante: 
聊城大学
CN_121490828_A

Resumen de: CN121490828A

本发明公开了一种单原子‑钛氧簇协同催化剂及其制备方法与应用,该复合催化材料,包括:钛氧多核团簇结构单元;以及以单原子形式通过配位键锚定在所述钛氧多核团簇结构单元上的金属活性中心;其中,所述金属活性中心与钛氧多核团簇之间形成电子协同,增强光生电荷分离与传输。所述钛氧多核团簇为Ti6O6、Ti8O8、由NH2‑MIL‑125(Ti)热解衍生的钛氧簇单元、经有机配体修饰的MOF材料,或通过多羧酸配体调控尺寸的钛氧簇中的至少一种;所述金属活性中心选自Cu、Pt、Ru、Pd、Co中的至少一种。本发明能够实现催化剂的克级制造,具有良好的重复性与稳定性,并且实现钛氧簇与单金属原子的协同光催化水产氢。

质子交换膜电解水制氢的智能调控方法、装置和系统

NºPublicación:  CN121496483A 10/02/2026
Solicitante: 
嘉庚创新实验室
CN_121496483_PA

Resumen de: CN121496483A

本发明提供了质子交换膜电解水制氢的智能调控方法、装置和系统,包括:在不增加上机前器件制备工艺和成本的前提下,实现改善使用寿命的目标;可在线实时进行状态监测,并利用监测数据研判状态,避免人为经验误判;可采集长时间PEMWE电解槽器件的电化学信息,助推其老化机制的解析;当面对外部环境变化时,可快速识别并进行响应,避免因无人值守等情况造成不必要的性能损失。

一种碱性电解水制氢气液分离装置

NºPublicación:  CN121496494A 10/02/2026
Solicitante: 
内蒙古绿氢科技有限公司安徽华赛能源科技股份有限公司
CN_121496494_PA

Resumen de: CN121496494A

本发明涉及分离技术领域,公开了一种碱性电解水制氢气液分离装置,包括保护外壳,所述保护外壳的内部固定连接有气相出口,所述气相出口的外部固定连接有法兰环,所述气相出口的底端固定连接有套筒,所述套筒的外部固定连接在保护外壳的内部,所述气相出口的内部固定连接有支撑板,所述支撑板的内部设置有泄压组件,所述泄压组件的外部滑动连接在气相出口的内部,所述泄压组件包括浮球,所述浮球的底端滑动连接在支撑板的内部,所述浮球的外部滑动连接在气相出口的内部。通过气相出口支撑支撑板进行固定,从而可以实现自动、智能地调整浮球的位置和密封方式的效果,极大地提升了装置在各种工况下的运行安全性和可靠性。

一种基于高频阻抗分析的电解槽在线故障检测方法及系统

NºPublicación:  CN121499980A 10/02/2026
Solicitante: 
国网江苏省电力有限公司常州供电分公司
CN_121499980_PA

Resumen de: CN121499980A

一种基于高频阻抗分析的电解槽在线故障检测方法及系统。通过实验测定AEM电解槽液位的上限、安全工作温度对应的高频阻抗范围以及高频安全阻抗阈值范围;实时计算AEM电解槽的高频阻抗值,与安全工作温度对应的高频阻抗范围进行对比;当高频阻抗值处于安全工作温度对应的高频阻抗范围内,则判定AEM电解槽工作在安全环境中;否则,进入故障诊断流程;在故障诊断流程中,将高频阻抗值与高频安全阻抗阈值范围进行对比;区分上限对比结果与下限对比结果,判定AEM电解槽的故障类型并执行对应的处理措施。本申请方法实现了对AEM电解槽的实时监测、故障诊断和动态调控,确保电解槽的稳定、安全运行。

一种制氢加氢自动化控制方法及系统

NºPublicación:  CN121496493A 10/02/2026
Solicitante: 
永氢(江苏)能源科技有限公司
CN_121496493_PA

Resumen de: CN121496493A

本发明公开了一种制氢加氢自动化控制方法,它包括如下步骤:步骤S1、系统上电初始化,然后进行系统自检;步骤S2、根据不同的使用场景选择对应的氢气生产控制模式,进行制氢加氢操作,所述氢气生产控制模式包括电解制氢加氢模式、高压钢瓶加氢模式和制氢充固态储氢模式。本发明提供一种制氢加氢自动化控制方法及系统,从而提升制氢加氢一体机的可靠性、灵活性和多样性。

一种高安全性家用智能氢氧治疗机及工作方法

NºPublicación:  CN121490213A 10/02/2026
Solicitante: 
林传敬
CN_121490213_PA

Resumen de: CN121490213A

本发明公开了一种高安全性家用智能氢氧治疗机及工作方法,该设备包括壳体、电解槽、气液分离装置、控制模块、电源模块以及集成的安全监测系统、闭环控制系统和人机交互系统;安全监测系统通过水流、差压、水质、水位、温度等多重传感器实时监控设备状态,确保运行安全;闭环控制系统根据电解槽实时电流、电压及输出差压反馈,精确调节电源功率,保证产气稳定可靠;人机互系统通过触摸显示屏和语音交互模块提供丰富的状态信息和直观的故障指导,本发明从根本上解决了现有家用氢氧治疗机在安全性、可靠性及交互体验方面不足的问题,特别适用于家庭保健环境。

一种原位刻蚀生长嵌套式SrTiO3/TiO2异质结光催化材料的制备方法

NºPublicación:  CN121490747A 10/02/2026
Solicitante: 
青岛科技大学
CN_121490747_A

Resumen de: CN121490747A

本发明涉及材料制备领域,具体为一种原位刻蚀生长嵌套式SrTiO3/TiO2异质结光催化材料的制备方法,解决了现有制备方法无法原位合成嵌套式SrTiO3/TiO2异质结构的问题。具体为将SrCl2·6H2O的水溶液与LiOH·H2O的水溶液混合,搅拌得到溶液A,将TiCl4加入1,2‑丙二醇的溶液中,搅拌得到溶液B;将溶液A和溶液B混合搅拌并水热反应一段时间,得到十八面体形状SrTiO3;盐酸水热刻蚀后,SrTiO3内部也会被部分刻蚀,并在其(001)晶面生长出锥形小颗粒,形成SrTiO3与TiO2内外嵌套结构;经过冷却、离心、清洗及干燥后,即可得到原位刻蚀生长嵌套式SrTiO3/TiO2异质结光催化材料。本发明在一般水热条件下即可进行,操作简单、成本低廉、具有较高的产率和纯度,且光催化活性较高,具备实际应用的潜力。

多层集成式电转氨系统

NºPublicación:  CN121511213A 10/02/2026
Solicitante: 
凯洛格·布朗及鲁特有限公司
CN_121511213_PA

Resumen de: AU2024281599A1

A multi-tier integrated power-to-ammonia system includes a converter for generating ammonia and heat through a reaction involving a compressed mixture of hydrogen and nitrogen gases. The system includes a steam generator that can generate steam using the heat from the reaction, and a reversible solid-oxide system in fluid communication with the steam generator that can separate the steam into oxygen gas and hydrogen gas.

一种Co2P/Fe2P异质结纳米片阵列材料及其制备方法和应用

NºPublicación:  CN121496465A 10/02/2026
Solicitante: 
绵阳职业技术学院
CN_121496465_PA

Resumen de: CN121496465A

本发明公开了一种Co2P/Fe2P异质结纳米片阵列材料及其制备方法和应用,属于电催化材料技术领域。本发明提供的制备方法包括:将预处理后的泡沫镍置于含钴盐、铁盐、尿素和氟化铵的前驱体溶液中,通过水热反应在其表面生长CoFe‑LDH纳米片阵列前驱体;随后在惰性气氛下进行低温磷化处理,将前驱体转化为Co2P/Fe2P异质结,最终得到生长于泡沫镍上的Co2P/Fe2P异质结纳米片阵列材料。该材料在碱性电解质中表现出优异的双功能电催化活性与稳定性,用于全水分解时仅需1.50V的低槽压即可驱动20 mA cm‑2的电流密度。本发明工艺简单、成本低廉,为高效、稳定的非贵金属水分解催化电极的制备提供了新方案。

一种面向酸性电解水的钴基高密度单原子催化剂及其制备方法、应用

NºPublicación:  CN121496447A 10/02/2026
Solicitante: 
中国科学技术大学
CN_121496447_A

Resumen de: CN121496447A

本发明公开了一种面向酸性电解水的钴基高密度单原子催化剂及其制备方法、应用,属于催化剂技术领域。所述的钴基高密度单原子催化剂包括:纳米四氧化三钴载体和负载在该载体上的单分散的铱单原子;所述铱单原子的负载量在6wt%以上,所述铱单原子的密度为4个/nm2以上。本发明公开了上述单原子催化剂在电催化分解水反应中的应用;通过提高单原子的利用率和负载密度,其在电催化分解水反应中具有高活性和高稳定性。此外,所述钴基高密度单原子催化剂合成便捷,成本低廉,在产业化应用中有巨大潜力。

水素化マグネシウムと水酸化マグネシウム結晶が晶出しないように塩化マグネシウム水溶液にクエン酸或いはグルコン酸と言ったハイドロオキシカルボン酸を使用した塩化マグネシウム水溶液から製造したクロロマグネシウムプラズマで水から水素を製造する方法

NºPublicación:  JP2026021217A 10/02/2026
Solicitante: 
土井匡
JP_2026021217_A

Resumen de: JP2026021217A

【課題】水素の製造効率が良く、水酸化マグネシウムの産業廃棄物を産出しない、水から水素を製造する方法を提供する。【解決手段】水素化マグネシウムとクエン酸やグルコン酸などのハイドロオキシカルボン酸を水酸化マグネシウムの1.2モル比倍以上加えた塩化マグネシウム水溶液から製造したクロロマグネシウムプラズマで水から水素を製造する方法である。【選択図】なし

水電解用電極の製造方法及び水電解用電極の製造装置

NºPublicación:  JP2026020879A 10/02/2026
Solicitante: 
パナソニックIPマネジメント株式会社
JP_2026020879_PA

Resumen de: JP2026020879A

【課題】電極性能に関連する状態のばらつきが少ない水電解用電極を製造する観点から有利な水電解用電極の製造方法を提供する。【解決手段】水電解用電極の製造方法は、下記(I)及び(II)を含んでいる。(I)少なくとも1つの導電性基材21上に水電解用電極を形成させるための原料溶液L1を少なくとも1つの導電性基材21が配設された容器11を経由して循環させる。(II)容器11の内部における原料溶液L1の流れの向きを反転させる。【選択図】図1

一种高韧性碱性电解水制氢复合隔膜及其制备方法

NºPublicación:  CN121496474A 10/02/2026
Solicitante: 
鄂尔多斯市新能源研究应用有限公司北京元泰能材科技有限公司氢合元泰(鄂尔多斯)科技有限公司
CN_121496474_PA

Resumen de: CN121496474A

本发明公开了一种高韧性碱性电解水制氢复合隔膜及其制备方法,属于电解水制氢复合隔膜的技术领域,所述复合隔膜包括聚砜、软链段单体、催化剂、1wt%~5wt%致孔剂和基于硅烷偶联剂改性的无机纳米氧化物颗粒,所述聚砜与硅烷偶联剂改性的无机纳米氧化物颗粒的质量比为1:3~8;所述无机纳米氧化物颗粒为二氧化硅、二氧化钛、二氧化锆中的任意一种或者多种,且颗粒中位粒径为D50=0.2μm~1μm。本发明通过体系内接枝柔软链段构建互穿网络结构,从而显著提升隔膜的韧性,使其在液氮极端低温环境下仍能保持抗脆断性能,为隔膜在寒冷地区的应用提供了潜在解决方案,具有较好的实用性。

一种锶铋钒氧化物光催化剂及其制备方法与应用

NºPublicación:  CN121490749A 10/02/2026
Solicitante: 
重庆大学
CN_121490749_PA

Resumen de: CN121490749A

本发明涉及光催化技术领域,具体涉及一种锶铋钒氧化物光催化剂及其制备方法与应用,光催化剂的化学式为Sr3.59Bi19.41V4O42,其晶体结构属于正交晶系,空间群为Immm,是一种由阳离子三重板层构成的独特层状结构;光催化剂通过熔盐法合成,在可见光下表现出光催化分解水产氧活性。本发明通过将SrO、Bi2O3和V₂O₅前驱体与熔盐介质混合研磨后,经程序升温煅烧合成目标产物;该方法所制备的催化剂具有高结晶度、缺陷少、形貌规整的特点,其光催化产氧性能显著优于传统固相法合成的同组分样品,可在波长≥420 nm的可见光照射下,以硝酸银、硝酸铁、氯化铁或者铁氰化钾水溶液为牺牲剂体系实现光催化分解水产氧。

控制电解槽电池堆的方法

NºPublicación:  CN121511329A 10/02/2026
Solicitante: 
赛瑞斯知识产权有限公司
CN_121511329_PA

Resumen de: AU2024303309A1

The present invention provides a method of controlling an electrolyser cell stack within a system having a fluid temperature control system, a current control system, a voltage monitoring system, monitoring/control systems for the temperatures of the fluid inlet and outlet, by controlling the current to a fixed value, calculating a temperature delta between the fluid inlet and outlet, and adjusting the fluid input temperature if the delta is greater than a threshold value. The present invention also provides a method of determining a stack operating condition is the temperature delta as measured above is lower than a threshold value. The present invention also provides a control device and computer program capable of executing the method as outlined above.

一种通过氧化镍晶面调控吸附磷化氢制备电催化剂的方法

NºPublicación:  CN121493905A 10/02/2026
Solicitante: 
云南民族大学
CN_121493905_A

Resumen de: CN121493905A

本发明公开了一种通过氧化镍晶面调控吸附磷化氢制备电催化剂的方法,属于电催化材料制备技术领域;其包括:以镍源为原料,通过溶剂热法或水热法合成具有特定晶面暴露的形貌可控氧化镍颗粒,对氧化镍颗粒进行热处理得到前驱体,再将前驱体置于磷化氢氛围中进行磷化处理,最终制备得到含NixPy的电催化材料;其中,特定晶面包括(111)晶面和(110)晶面。本发明探究了不同形貌氧化镍对磷化氢吸附性能的差异,在实现高效脱除尾气中磷化氢的同时合成了电催化剂所形成的电催化剂材料,实现了环保治理与资源利用的双重目标。

메탄올 제조 공정

NºPublicación:  KR20260020076A 10/02/2026
Solicitante: 
TOPSOE A [DK]
\uD1A0\uD504\uC250 \uC5D0\uC774/\uC5D0\uC2A4
KR_20260020076_A

Resumen de: CN121285539A

The invention relates to a method for preparing methanol. The method comprises the following steps: (a) preparing a hydrogen raw material through electrolysis; (b) providing a carbon oxide feedstock during the electrolysis operation in step (a); (c) mixing at least part of the hydrogen feed and a carbon oxide source consisting of a carbon monoxide and/or carbon dioxide feed to obtain methanol syngas; (d) adjusting the molar content of hydrogen, carbon monoxide and/or carbon dioxide in step (c) to a modulus M of 1.9 to 2.2, said modulus M being (H2-CO2)/(CO2 + CO); (e) converting the methanol syngas to methanol in one or more boiling water reactors; during the electrolysis inoperation in step (a): (f) interrupting the conversion of methanol syngas by heat exchange with boiling water in one or more boiling water reactors, in which step (f) the one or more boiling water reactors are heated by one or more auxiliary heaters to maintain boiling of water in the one or more boiling water reactors.

수소의 생성을 위한 반응기

Nº publicación: KR20260019656A 10/02/2026

Solicitante:

지멘스에너지글로벌게엠베하운트코카게

DE_102023206000_PA

Resumen de: WO2025002798A1

The invention relates to a reactor (2) for generating hydrogen and at least one other product from at least one reactant, the reactor comprising a tubular reactor vessel (4) which contains a catalyst (6) in the form of a ceramic bed. Improved corrosion resistance against a variety of media and thus an increased service life of the reactor (2) is achieved by forming the reactor vessel (4) from silicon-infiltrated silicon carbide (SiSiC).

traducir