Ministerio de Industria, Turismo y Comercio LogoMinisterior
 

Almacenamiento en baterías

Resultados 1280 resultados
LastUpdate Última actualización 05/12/2025 [07:09:00]
pdfxls
Publicaciones de los últimos 15 días/Last 15 days publications (excluidas pubs. CN y JP /CN and JP pubs. excluded)
previousPage Resultados 450 a 475 de 1280 nextPage  

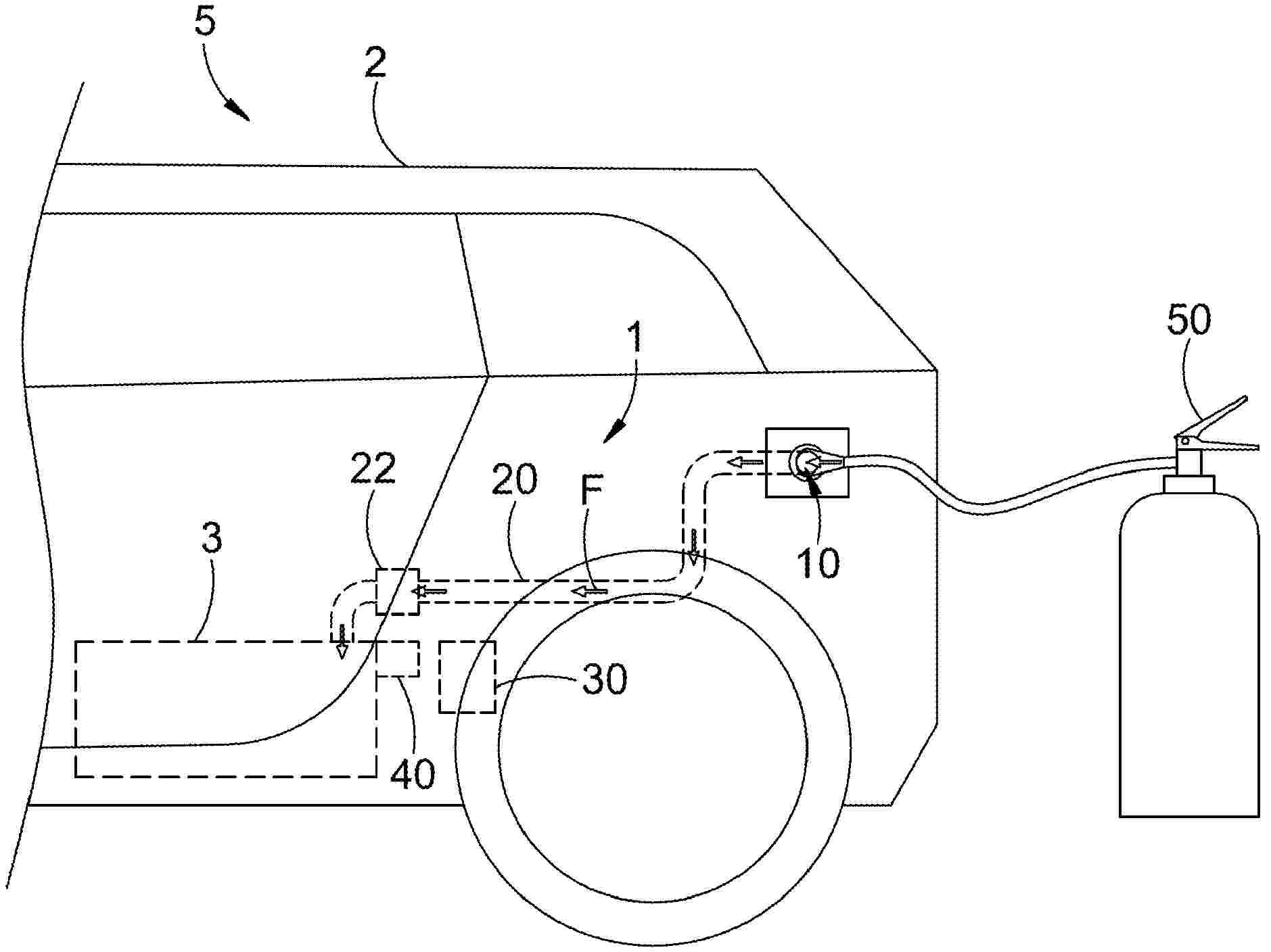
COOLING AND FIRE EXTINGUISHING DEVICE FOR ELECTRIC STORAGE SYSTEM

NºPublicación:  US2025364632A1 27/11/2025
Solicitante: 
HSU CHUN HSIANG [TW]
Hsu Chun-Hsiang
US_2025364632_PA

Resumen de: US2025364632A1

The present application provides a cooling and fire extinguishing device for electric storage system, disposed in a casing including at least one power supply unit, and a second liquid inlet of the cooling device for the power storage system penetrates an outer side of the casing, and a fluid The pipeline disposed on the inner side of the casing, one end of the fluid pipeline is connected to the second liquid inlet, another end of the fluid pipeline is connected to the at least one power supply unit, and a sensing unit electrically connected to the processing unit, and sense the temperature of the at least one power supply unit to generate a sensing signal, wherein a fluid enters the fluid pipeline from the second liquid inlet, and the fluid passes through the fluid pipeline to the at least one power supply unit.

ELECTRIC FRONT END ACCESSORY DEVICES ASSEMBLY

NºPublicación:  US2025364628A1 27/11/2025
Solicitante: 
HEXAGON PURUS NORTH AMERICA HOLDINGS INC [US]
Hexagon Purus North America Holdings Inc
US_2025364628_PA

Resumen de: US2025364628A1

An accessory component assembly is provided that includes a frame, a first vehicle accessory, and a second vehicle accessory. The frame is configured to support vehicle accessories. The first vehicle accessory is mounted to the frame. The second vehicle accessory is mounted to the frame. The frame is configured to simultaneously couple the first vehicle accessory and the second vehicle accessory to a chassis of a vehicle such that the accessory component assembly can be functionally coupled to at least two other vehicle sub-systems.

BOX ASSEMBLY, BATTERY AND ELECTRICAL DEVICE

NºPublicación:  US2025364629A1 27/11/2025
Solicitante: 
CONTEMPORARY AMPEREX TECH CO LIMITED [CN]
Contemporary Amperex Technology Co., Limited
US_2025364629_PA

Resumen de: US2025364629A1

A box assembly is used to accommodate a battery cell, the box assembly comprising a box body, a bottom protective plate and a thermal management component, and the box body comprising a bottom plate used to support the battery cell. The bottom protective plate is connected to the bottom plate. At least a portion of the thermal management component is disposed between the bottom plate and the bottom protective plate, the thermal management component being used to adjust the temperature of the battery cell by means of the bottom plate. In this design, the thermal management component is located outside the box body; when liquid leakage or corrosion perforation occurs to the thermal management component, this reduces the risk of thermal runaway of the battery cell caused by contact between leaked liquid and the battery cell when the thermal management component is located in the box body.

LIQUID COOLING PLATE STRUCTURE AND BATTERY PACK

NºPublicación:  US2025364627A1 27/11/2025
Solicitante: 
EVE ENERGY STORAGE CO LTD [CN]
Eve Energy Storage Co., Ltd
US_2025364627_PA

Resumen de: US2025364627A1

The present disclosure relates to a liquid cooling plate structure and a battery pack. The liquid cooling plate structure includes a liquid cooling plate body provided with a liquid cooling chamber, a liquid inlet and a liquid outlet communicating with the liquid cooling chamber; a liquid inlet connector detachably disposed at the liquid inlet; and a liquid outlet connector detachably disposed at the liquid outlet; and at least one of the liquid outlet connector and the liquid inlet connector is provided with a check member. In the present disclosure, a new liquid cooling plate can be replaced without disassembling the whole battery pack, and backflow can be prevented.

ELECTROLYTE AND BATTERY HAVING THE ELECTROLYTE

NºPublicación:  US2025364601A1 27/11/2025
Solicitante: 
AESC JAPAN LTD [JP]
AESC Japan Ltd
US_2025364601_A1

Resumen de: US2025364601A1

Disclosed are an electrolyte and a battery including the electrolyte, the electrolyte includes a solvent, a lithium salt and an additive. The solvent is constituted by a fluorinated solvent, the fluorinated solvent includes fluorinated ethylene carbonate (FEC), and the additive includes diethyl 2-(thiophene methyl)phosphonate (DTYP). The content of DTYP is 0.01% to 1.2% based on the total mass of the electrolyte. The electrolyte of the present disclosure, on basis of using fluorinated solvent as solvent to provide the battery with good high voltage performance, also through the synergistic effect of FEC and DTYP with specific content, forms SEI and CEI films with excellent thermal stability at the positive and negative electrode interfaces, thus enabling the battery to have both good high-temperature storage performance and high-temperature cycling performance.

POSITIVE ELECTRODE ACTIVE MATERIAL COMPOSITION, POSITIVE ELECTRODE PLATE, BATTERY, AND ELECTRICAL APPARATUS

NºPublicación:  US2025364543A1 27/11/2025
Solicitante: 
CONTEMPORARY AMPEREX TECH CO LIMITED [CN]
CONTEMPORARY AMPEREX TECHNOLOGY CO., LIMITED
US_2025364543_PA

Resumen de: US2025364543A1

A positive electrode active material composition, a positive electrode plate, a battery, and an electrical apparatus are provided. The composition includes a first positive electrode active material and a second positive electrode active material having a crystal form different from that of the first. The first active material comprises a phosphate. The particle size distribution curve of the composition exhibits at least two volume distribution peaks. The peak with the highest intensity is defined as the first peak, with a corresponding volume-based particle size Dv1. The peak with the second highest intensity is defined as the second peak, with particle size Dv2. The relative difference in particle sizes satisfies the condition 0<|Dv1−Dv2|/Dv1≤50. This dual-peak structure improves the electrochemical performance of the electrode.

POSITIVE ELECTRODE ACTIVE MATERIAL AND METHOD FOR MANUFACTURING A POSITIVE ELECTRODE ACTIVE MATERIAL

NºPublicación:  US2025364548A1 27/11/2025
Solicitante: 
UMICORE [BE]
Umicore
JP_2025519661_PA

Resumen de: US2025364548A1

Positive electrode active material, wherein the metal has a composition M, which consists of Ni in a content x, Mn in a content y, Co in a content z, and A in a content a. A is at least one chemical element other than Li, Ni, Mn, Co, and O. x, y, z, and a are expressed as molar contents and x+y+z+a=100%. Further, x≥70.0%, 0≤y≤30.0%, 0≤z≤30.0%, 0≤a≤5.0%, and an X-Ray diffractogram from Cu K-α X-ray radiation source of the positive electrode active material has a (003) peak at 2θ=17.0° to 20.0° and (104) peak at 2θ=43.0° to 46.0°. The ratio (maximum intensity of the (003) peak)/(maximum intensity of the (104) peak) is at least 1.880.

LITHIUM-ION BATTERY, BATTERY MODULE, BATTERY PACK, AND ELECTRICAL DEVICE

NºPublicación:  US2025364544A1 27/11/2025
Solicitante: 
CONTEMPORARY AMPEREX TECH HONG KONG LIMITED [CN]
CONTEMPORARY AMPEREX TECHNOLOGY (HONG KONG) LIMITED
US_2025364544_PA

Resumen de: US2025364544A1

This application provides a lithium-ion battery, including: an electrode assembly and an electrolytic solution. The electrolytic solution may comprise a first lithium salt LixR1(SO2N)xSO2R2, wherein R1 and R2each independently represent an alkyl with 1 to 20 fluorine atoms or carbon atoms, or a fluoroalkyl with 1 to 20 carbon atoms, or a fluoroalkoxyl with 1 to 20 carbon atoms, and x is an integer of 1, 2, or 3, and a second lithium salt, wherein the second lithium is at least one selected from LiPF6, LiAsF6, or LiBF4, wherein a thickness of the metallic conductive layer, β1, is in a range of 0.52 um to 2.4 μm, and a mass percentage of the first lithium salt, w, is 5% to 30% based on a total mass of the electrolytic solution.

POSITIVE ELECTRODE ACTIVE MATERIAL FOR NON-AQUEOUS ELECTROLYTE SECONDARY BATTERY, AND NON-AQUEOUS ELECTROLYTE SECONDARY BATTERY

NºPublicación:  US2025364549A1 27/11/2025
Solicitante: 
PANASONIC INTELLECTUAL PROPERTY MAN CO LTD [JP]
Panasonic Intellectual Property Management Co., Ltd
US_2025364549_PA

Resumen de: US2025364549A1

The positive electrode active material that is included in the non-aqueous electrolyte secondary battery includes a lithium transition metal composite oxide, said lithium transition metal composite oxide containing Ni and Sr, and including secondary particles that are formed by flocculation of primary particles. In an element concentration distribution of a cross-section of the lithium transition metal composite oxide that is obtained using time-of-flight secondary ion mass spectrometry, the Gini coefficient of Sr on the secondary particle surface is 0.85 or less, the Gini coefficient of Sr in the secondary particle interior is 0.7 or less, and the ratio ISr_OUT/ISr_IN of the standardized strength ISr_OUT of the Sr on the secondary particle surface to the standardized strength ISr_IN of the Sr in the secondary particle interior is 1-5 inclusive.

FOLDABLE SOLAR PANEL

NºPublicación:  US2025364947A1 27/11/2025
Solicitante: 
LAT ENTPR INC D/B/A MEDIPAK ENERGY SYSTEMS [US]
LAT Enterprises, Inc., d/b/a MediPak Energy Systems
US_2025364947_PA

Resumen de: US2025364947A1

A foldable solar panel including at least two solar modules mounted to a substrate. The foldable solar panel includes hook and loop tape to secure the foldable solar panel in the folded configuration. The foldable solar panel includes at least two straps and at least two horizontal rows of webbing operable to attach the foldable solar panel to a load-bearing platform.

ELECTROLYTE AND BATTERY INCLUDING THE SAME

NºPublicación:  US2025364596A1 27/11/2025
Solicitante: 
AESC JAPAN LTD [JP]
AESC Japan Ltd
US_2025364596_A1

Resumen de: US2025364596A1

Disclosed are an electrolyte and a battery including the same. The electrolyte includes a solvent, a lithium salt, and an additive. The solvent is composed of a fluorinated solvent. The additive includes tetravinylsilane (TVSI). Based on a total mass of the electrolyte, a content of the TVSI is 0.01% to 1%. The fluorinated solvent in combination with a specific content of the TVSI is used in the electrolyte, so that the battery has excellent high-temperature storage capacity performance and high-temperature cycle performance when showing good performance of high-voltage resistance.

LITHIUM-ION BATTERY AND ELECTRONIC APPARATUS

NºPublicación:  US2025364599A1 27/11/2025
Solicitante: 
NINGDE AMPEREX TECH LIMITED [CN]
Ningde Amperex Technology Limited
US_2025364599_A1

Resumen de: US2025364599A1

A lithium-ion battery includes a positive electrode, a negative electrode, and an electrolyte. The negative electrode includes a negative electrode current collector and a negative electrode active material layer formed on the negative electrode current collector, the negative electrode active material layer includes a silicon material and polyisocyanate, and the electrolyte includes trifluoroalkyl acetate; based on a weight of a negative electrode active material, a weight percentage of polyisocyanate is a %; and based on a weight of the electrolyte, a weight percentage of trifluoroalkyl acetate is b %, and 0.1≤a/b≤5. This design can effectively improve the adhesiveness of the negative electrode and the low-temperature output characteristics of the lithium-ion battery.

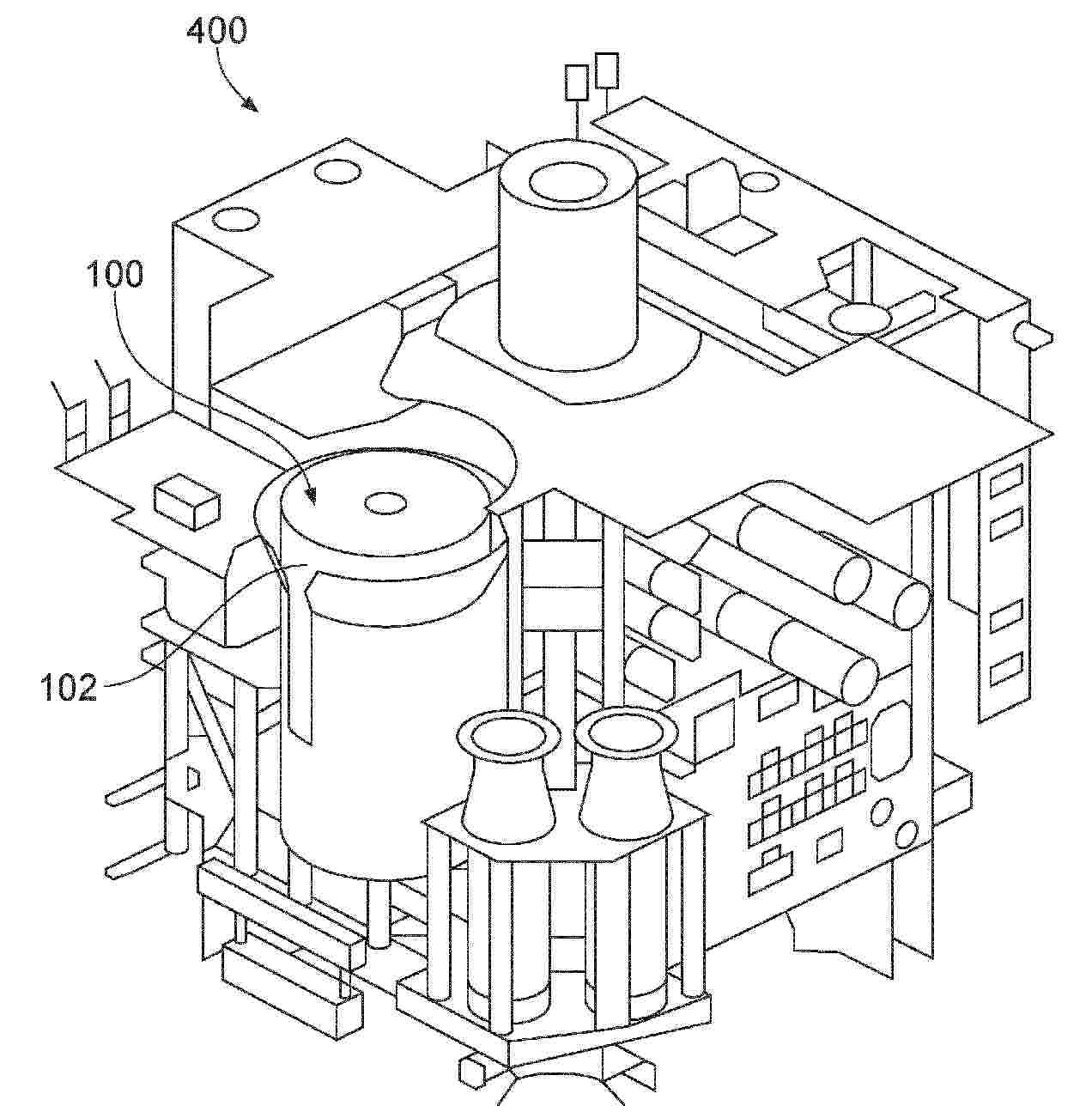
Subsea Christmas Tree Comprising a Control and Battery Module and Related Method

NºPublicación:  US2025364608A1 27/11/2025
Solicitante: 
FMC KONGSBERG SUBSEA AS [NO]
FMC Kongsberg Subsea AS
US_2025364608_PA

Resumen de: US2025364608A1

A subsea hydrocarbon Christmas tree (400) comprising a control and battery module (100) for controlling electrically actuated valves (200) is described. The control and battery module has first and second subsea electronics modules (110A, 110B) forming a redundant pair, wherein each subsea electronics module is configured for receiving electric power provided from a top-side power supply (300) to operate the valves (200), and a plurality of power back-up battery pack modules (120A, 120B, 120C). The power back-up battery pack modules comprises: a first battery pack module (120A) which is connectable to the first subsea electronics module to provide back-up electric power to the first subsea electronics module should power from the top-side power supply be interrupted; a second battery pack module (120B) which is connectable to the second subsea electronics module to provide back-up electric power to the second subsea electronics module should power from the top-side power supply be interrupted; and at least one additional battery pack module (120C) which is connectable to at least one of the first and the second subsea electronics modules (110A, 110B). A related method is also described (FIG. 2)

TRACTION BATTERY FOR A MOTOR VEHICLE AND METHOD FOR PRODUCING A TRACTION BATTERY

NºPublicación:  US2025364621A1 27/11/2025
Solicitante: 
AUDI AG [DE]
AUDI AG
US_2025364621_PA

Resumen de: US2025364621A1

A traction battery for a motor vehicle, with a cell module having a battery cell arrangement and a temperature control device for temperature control of the battery cell arrangement. The temperature control device has a temperature control element having at least one fluid channel, against which the battery cell arrangement rests in a first direction and from which a holding projection extends, against which the battery cell arrangement is supported in a second direction different from the first direction.

BATTERY, THERMAL RUNAWAY EARLY-WARNING METHOD AND APPARATUS THEREFOR, AND STORAGE MEDIUM

NºPublicación:  US2025364618A1 27/11/2025
Solicitante: 
CONTEMPORARY AMPEREX TECH CO LIMITED [CN]
CONTEMPORARY AMPEREX TECHNOLOGY CO., LIMITED
US_2025364618_PA

Resumen de: US2025364618A1

The present application relates to the field of batteries, and provides a battery, a thermal runaway early-warning method and apparatus therefor, and a storage medium. The battery is provided with an accommodating space, the accommodating space is configured to discharge smoke in the event of thermal runaway of a battery cell of the battery, and the method includes: acquiring a detection signal at a detection position including the accommodating space; and generating a thermal runaway early-warning signal according to the detection signal.

MULTI-LAYER COMPOSITE MATERIAL FOR SECONDARY LITHIUM-ION BATTERY, PREPARATION METHOD THEREFOR AND USE THEREOF

NºPublicación:  US2025364540A1 27/11/2025
Solicitante: 
TIANMULAKE EXCELLENT ANODE MAT CO LTD [CN]
Tianmulake Excellent Anode Materials Co, Ltd
US_2025364540_PA

Resumen de: US2025364540A1

A multi-layer composite material comprises a carbon matrix, a nano silicon-based composite material, and a carbon shell. The carbon matrix is a matrix material used for depositing the nano silicon-based composite material. The nano silicon-based composite material is prepared by vapor deposition of silane and one or more gaseous compounds containing any one of C, N, B and P elements. Carbon atoms in the nano silicon-based composite material are uniformly embedded and distributed in an atomic scale, and the carbon atoms and silicon atoms are combined to form amorphous Si—C bonds. Nitrogen atoms and the silicon atoms are combined to form amorphous Si—N bonds. Boron doping and/or phosphor doping forms defects in silicon crystals in the nano silicon-based composite material. The carbon shell coats the outer layer of the carbon matrix on which the nano silicon-based composite material is deposited.

POSITIVE ELECTRODE ACTIVE MATERIAL, POSITIVE ELECTRODE SHEET, SECONDARY BATTERY, AND ELECTRIC DEVICE

NºPublicación:  US2025364539A1 27/11/2025
Solicitante: 
CONTEMPORARY AMPEREX TECH HONG KONG LIMITED [CN]
Contemporary Amperex Technology (Hong Kong) Limited
US_2025364539_PA

Resumen de: US2025364539A1

Provided are a positive electrode active material, a positive electrode sheet, a secondary battery, and an electric device. The positive electrode active material includes a first active material and a second active material. The first active material and the second active material have different material compositions. In a test curve of the positive electrode active material using a state of charge SOC as an abscissa and dV/dSOC as an ordinate, 0.5≤dV/dSOC≤2.0, and 0.3≤ΔSOC<1.0, where V represents a voltage value, and ΔSOC represents a difference value of an SOC value range corresponding to the dV/dSOC value range. For self-discharge using the positive electrode active material, self-discharge screening accuracy can be improved.

VOLTAGE-CONFIGURABLE RECHARGEABLE BATTERY DEVICE AND CHARGING TERMINAL AND CHARGING STATION

NºPublicación:  US2025364827A1 27/11/2025
Solicitante: 
ETRONTA LTD [CN]
ETRONTA LIMITED
US_2025364827_PA

Resumen de: US2025364827A1

The present invention discloses a voltage-configurable rechargeable battery device and charging terminal and charging station, wherein the voltage-configurable rechargeable battery device comprises a rechargeable battery, a battery voltage management circuit, and a battery capacity acquisition circuit; the rechargeable battery is electrically connected to a charging terminal; the battery voltage management circuit comprises a boost/buck management circuit; the battery capacity acquisition circuit is connected to the battery voltage management circuit; the rechargeable battery can realize discharge curve following according to the current capacity via the battery voltage management circuit. The present invention can ensure basically consistence of the actual power level and the displayed power level, and improve users' experience.

POSITIVE ELECTRODE ACTIVE MATERIAL AND NON-AQUEOUS ELECTROLYTE SECONDARY BATTERY

NºPublicación:  US2025364537A1 27/11/2025
Solicitante: 
PRIME PLANET ENERGY & SOLUTIONS INC [JP]
Prime Planet Energy & Solutions, Inc
US_2025364537_A1

Resumen de: US2025364537A1

A positive electrode active material comprises a first active material and a second active material having an average particle size (D50) smaller than an average particle size (D50) of the first active material. The first active material is a lithium-(transition metal) composite oxide containing Ni at 75 mol % or more and Ti at 0.5 to 2.8 mol % relative to a total number of moles of metallic element except Li. The second active material is a lithium-(transition metal) composite oxide containing Ni at 75 mol % or more relative to a total number of moles of metallic element except Li. A content of Ti in the second active material is 0.1 mol % or less relative to the total number of moles of metallic element except Li. Ni disorder of the first active material is from 2.1 to 2.6%, and Ni disorder of the second active material is 2.0% or less.

TRACTION BATTERY FOR A MOTOR VEHICLE AND METHOD FOR PRODUCING A TRACTION BATTERY

NºPublicación:  US2025364620A1 27/11/2025
Solicitante: 
AUDI AG [DE]
AUDI AG
US_2025364620_PA

Resumen de: US2025364620A1

A traction battery for a motor vehicle, including a cell module having a battery cell arrangement and a temperature control device for temperature control of the battery cell arrangement. The temperature control device has a temperature control element having at least one fluid channel, which is connected to the battery cell arrangement by a holding frame of the cell module, is inserted together with the battery cell arrangement into a battery housing of the traction battery and is thermally coupled to the battery cell arrangement via a heat conducting conductor.

SEPARATOR, BATTERY CELL, BATTERY AND ELECTRICAL APPARATUS

NºPublicación:  US2025364684A1 27/11/2025
Solicitante: 
CONTEMPORARY AMPEREX TECH CO LIMITED [CN]
CONTEMPORARY AMPEREX TECHNOLOGY CO., LIMITED
US_2025364684_PA

Resumen de: US2025364684A1

The present application provides a separator, a battery cell, a battery and an electrical apparatus. The separator includes a separator body and a polymer layer arranged on at least one surface of the separator body. The polymer layer comprises an ester polymer. The ester polymer is made into a sheet-like structural body; the sheet-like structural body is subjected to a dynamic frequency scanning test at (Tm+20)° C. to obtain an elastic modulus G′-loss modulus G″ curve, and the elastic modulus G′-loss modulus G″ curve has a slope of K, wherein 1

SEPARATOR, BATTERY CELL, BATTERY AND ELECTRICAL APPARATUS

NºPublicación:  US2025364685A1 27/11/2025
Solicitante: 
CONTEMPORARY AMPEREX TECH CO LIMITED [CN]
CONTEMPORARY AMPEREX TECHNOLOGY CO., LIMITED
US_2025364685_PA

Resumen de: US2025364685A1

Provided in the present application are a separator, a battery cell, a battery and an electrical apparatus. The separator includes a separator body and a polymer layer disposed on at least one surface of the separator body, wherein the polymer layer includes a fluoropolymer, the crystallinity of the fluoropolymer as measured by using a differential scanning calorimetry method is XC %, where 0

BATTERY CELL, BATTERY, AND POWER CONSUMING DEVICE

NºPublicación:  US2025364675A1 27/11/2025
Solicitante: 
CONTEMPORARY AMPEREX TECH CO LIMITED [CN]
CONTEMPORARY AMPEREX TECHNOLOGY CO., LIMITED
US_2025364675_PA

Resumen de: US2025364675A1

Embodiments of the present application relate to battery technologies and provide a battery cell, a battery, and a power-consuming device. The battery cell includes a housing and an electrode assembly. The housing has a length L (where L≥80 mm) and is divided into a first and a second half region by a central section perpendicular to the length direction. The electrode assembly, housed within, includes a body portion and a tab at at least one longitudinal end. The body portion spans both half regions. Each region includes at least one pressure relief mechanism. A central hole runs through the body portion along the length direction, providing communication between the internal spaces of the two regions. This configuration improves the battery cell's pressure balance and overall reliability.

BATTERY CELL, BATTERY AND ELECTRIC DEVICE

NºPublicación:  US2025364689A1 27/11/2025
Solicitante: 
CONTEMPORARY AMPEREX TECH CO LIMITED [CN]
CONTEMPORARY AMPEREX TECHNOLOGY CO., LIMITED
US_2025364689_PA

Resumen de: US2025364689A1

A battery cell, a battery, and an electric device are described. The battery cell includes a casing, an electrode assembly, and a support member. The casing is provided with an accommodation cavity. The electrode assembly is disposed in the accommodation cavity and includes a first electrode plate and a second electrode plate arranged according to a preset order in a first direction, the first electrode plate including a first portion overlapping the second electrode plate and a second portion extending beyond the second electrode plate. At least part of the support member is disposed between the electrode assembly and the casing in the first direction, a bending strength of the support member is greater than a bending strength of the first electrode plate, and a projection of the support member in the first direction covers a projection of the second portion in the first direction.

CHARGING METHOD AND APPARATUS, AND ELECTRONIC DEVICE

Nº publicación: US2025364825A1 27/11/2025

Solicitante:

VIVO MOBILE COMMUNICATION CO LTD [CN]
VIVO MOBILE COMMUNICATION CO., LTD

US_2025364825_PA

Resumen de: US2025364825A1

This application discloses a charging method and apparatus, and an electronic device. The charging method includes: in a process of detecting, based on a target voltage level sequence, whether a charger supports a first fast charging protocol, when a first signal line of a charging interface of the electronic device is at a high level, configuring the first signal line as a receive signal line in a universal asynchronous receiver/transmitter UART serial port mode, and configuring a second signal line of the charging interface as a transmit signal line in the UART serial port mode; performing, when a first data packet supporting a second fast charging protocol is received from the charger within a first duration, charging according to the second fast charging protocol; and performing charging according to the first fast charging protocol when the first data packet is not received within the first duration.

traducir