Ministerio de Industria, Turismo y Comercio LogoMinisterior
 

Almacenamiento en baterías

Resultados 1296 resultados
LastUpdate Última actualización 07/04/2026 [07:17:00]
pdfxls
Publicaciones de los últimos 15 días/Last 15 days publications (excluidas pubs. CN y JP /CN and JP pubs. excluded)
previousPage Resultados 617 a 1234 de 1296 nextPage  

仓储作业中的任务处理方法、装置、服务器和仓储系统

NºPublicación:  CN121809980A 07/04/2026
Solicitante: 
深圳市库宝软件有限公司
CN_121809980_PA

Resumen de: CN121809980A

本申请涉及智能仓储技术领域,公开了一种仓储作业中的任务处理方法、装置、服务器、计算机可读存储介质和仓储系统。该方法包括:确定源工作站,其中,源工作站为处于尾波状态,且若按其原任务计划执行将导致额外产生未满载周转箱的工作站;确定目标工作站,其中,目标工作站为当前周转箱未满载且能够容纳源工作站的剩余拣选任务所对应的货物的工作站;将剩余拣选任务的目的地工作站从源工作站修改为目标工作站,以使搬运设备将货物搬运至目标工作站。本申请提高了工作站资源和容器资源的利用率。

一种基于不确定需求下联运服务网络设计的优化方法及系统

NºPublicación:  CN121809957A 07/04/2026
Solicitante: 
浙江大学
CN_121809957_PA

Resumen de: CN121809957A

本发明属于多式联运物流服务网络设计技术领域,具体的说是一种基于不确定需求下联运服务网络设计的优化方法及系统,包括两阶段随机混合整数规划模型;其中,第一阶段决策变量是0‑1离散变量,用来表征节点是否被选中作为货运枢纽位置,第二阶段决策变量包括货运需求的网络流连续变量,表征货物在物流网络中的分布数量,还包括在货运枢纽间不同类型货车辆的分配决策变量,属于离散的整数变量;本发明针对不确定需求下多式联运服务网络设计中的随机枢纽选址和车辆分配问题,构建两阶段随机混合整数规划模型,并采用加速Benders分解算法求解模型获得精确解。

行驶信息规划方法、装置、电子设备及存储介质

NºPublicación:  CN121804448A 07/04/2026
Solicitante: 
罗博网联(杭州)信息技术有限公司
CN_121804448_PA

Resumen de: CN121804448A

本申请实施例提供了一种行驶信息规划方法、装置、电子设备及存储介质,涉及计算机技术领域。该方法包括:获取矿区内各第一矿车的初始位置和目标位置;对于每一第一矿车,基于矿车的初始位置和矿车的目标位置构建矿车的参考线;对于每一第一矿车,通过自身的运动学模型和自身的参考线获得矿车的第一行驶信息;对于每一第一矿车,基于各第二矿车的第一行驶信息和矿车的参考线,获得第一矿车的第二行驶信息。每个矿车可以将其他矿车预测构建得到的行驶信息与自身的参考线相结合,从而规划出不与其他矿车发生碰撞的实际行驶信息,无需单独设置用于矿车调度的智能中心体,使得推理复杂度不会随矿车车辆的增加而出现超线性增长的情况,节约了计算成本。

基于集群资源动态调度的仓储分拣路径协同优化方法

NºPublicación:  CN121810169A 07/04/2026
Solicitante: 
深圳市埃西尔电子有限公司
CN_121810169_PA

Resumen de: CN121810169A

本发明公开了一种基于集群资源动态调度的仓储分拣路径协同优化方法,属于物流自动化技术领域,包括:基于订单截止时长、订单物品重量和订单物品价值获取订单评价系数;基于机器人转运总距离、机器人当前负载、机器人队列中紧急订单比例获取转运评价系数;基于工作台的队列长度、队列中紧急订单比例和加塞次数占比获取工作台繁忙度;基于路径的繁忙度、转弯次数和坡度路段占比获取路径评价系数;基于订单评价系数、转运评价系数、工作台繁忙度和路径评价系数获取转运‑工作台‑路径匹配度;基于转运‑工作台‑路径匹配度和确定转运订单物品的当前机器人平均速度获取目标平均速度;本发明通过多维度协同优化,提升仓储分拣效率与资源利用率。

一种食品安全风险预警方法及其系统

NºPublicación:  CN121810022A 07/04/2026
Solicitante: 
山东能源集团发展服务集团有限公司
CN_121810022_PA

Resumen de: CN121810022A

本发明涉及知识图谱技术领域,具体为一种食品安全风险预警方法及其系统,包括以下步骤:录入产品批次、仓储单元、运输单元和操作人员的实体信息,以及供应商地理位置、当地天气预警和财经新闻的属性信息。本发明通过深度整合产品批次、仓储运输单元等内部运营实体与供应商位置、天气预警、财经新闻等外部环境属性,并定义表征物流过程的转运、存储关系和表征风险耦合的共同存储、共同运输关系,构建出动态的物流异构关系图谱,通过从图谱中抽取历史履约记录并结合实时更新的物流路径、天气、舆论等多维度风险信号,实现了从单纯的历史数据统计向未来风险主动预测的转变,增强了供应链稳定性的预判能力。

一种基于多模态数据的制造物流智能匹配推荐系统

NºPublicación:  CN121810154A 07/04/2026
Solicitante: 
湖南工商大学
CN_121810154_PA

Resumen de: CN121810154A

本发明公开了一种基于多模态数据的制造物流智能匹配推荐系统,涉及匹配推荐技术领域,包括通过数据采集模块获取并预处理订单与物流数据;匹配推荐模块据此随机筛选符合条件的车辆,构建运输资源浪费系数,并运用概率收敛算法全局寻优,选出系数最小的车辆组合;最终由车辆调用模块将调度指令推送至司机终端,经确认后完成状态更新,实现从匹配到调度的全流程闭环。本发明通过构建运输资源浪费系数模型与概率收敛算法,实现车辆匹配的全局优化与科学决策,在显著提升载重、容积利用率并降低油耗的同时,依托全流程自动化闭环,高效完成从智能匹配到实际调度,最终达成降本增效与提升供应链响应速度的核心目标。

一种药品出库方法、装置、存储介质和电子终端

NºPublicación:  CN121812098A 07/04/2026
Solicitante: 
苏州艾隆科技股份有限公司
CN_121812098_PA

Resumen de: CN121812098A

本发明公开了一种药品出库方法、装置、存储介质和电子终端,药品出库方法包括:基于药品字典信息,确定药品基准单位、各包装层级对应的包装码及层级间换算系数,并建立多层级包装码与数量的关联关系;获取目标药品的出库数量,判定出库数量与药品基准单位之间的匹配关系;根据匹配关系,选择对应层级的包装码进行采集,通过关联关系对不同包装层级对应数量进行换算;将换算后的实际数量与出库数量进行比对并调整采集操作,直至实际数量与出库数量一致完成出库。本发明通过建立多层级包装码与数量的关联关系,可根据采集到的多等级包装码自动完成层级系数换算并与实际出库数值进行交叉验证匹配,无需人工干预,大幅提升了药品出库的整体效率。

一种产品进出库控制方法及系统

NºPublicación:  CN121810182A 07/04/2026
Solicitante: 
广州华立学院
CN_121810182_PA

Resumen de: CN121810182A

本发明提供一种产品进出库控制方法及系统,包括确定产品的商品标识码,根据商品标识码确定产品核心规格属性形成多维属性;将商标识别码以及多维属性进行对应存储;将商品标识码和商品放置货位的库内码生成复合二维码,将复合二维码附着于对应产品的货位上;出库管理时,确定待出库商品的产品核心规格属性,通过NLP技术模块解析并与多维属性数据模型匹配,根据基础属性维度和功能属性维度确定库存中待出库商品,获取当前位置,并根据复合二维码中商品放置货位,在当前位置与商品放置货位之间进行路径规划;按照规划路径到达商品放置货位,拣选商品后,按库存单元减去出库单元更新库存记录,解决了抽象的“多规格”问题,避免了工作过程中的人为失误,提高了库管人员的工作效率。

一种危险货物运输车辆路径规划方法及系统

NºPublicación:  CN121810137A 07/04/2026
Solicitante: 
中国石油天然气集团有限公司中国石油昆仑物流有限公司北京华油信通科技有限公司
CN_121810137_PA

Resumen de: CN121810137A

本发明涉及危险货物运输技术领域,公开了一种危险货物运输车辆路径规划方法及系统,该方法包括以下步骤:获取资源数据;其中,资源数据包括:油品数据、车辆数据、驾驶员数据;构建以运输成本、运输时间、运输安全风险为目标的路径规划模型;设定路径规划模型的约束条件;其中,约束条件包括:分配给车辆的仓位的油品数量低于仓位的额定容量;车辆的相邻仓位的油品类型相容;驾驶员资质匹配油品类型;求解路径规划模型,将目标函数值最小时的路径规划函数的解对应的路径作为最优路径。本发明解决了现有技术存在的难以从源头杜绝了违规调度方案的产生等问题,解决现有技术存在的难以从源头杜绝了违规调度方案的产生等问题。

一种伤员后送决策方法、装置、设备及其存储介质

NºPublicación:  CN121812093A 07/04/2026
Solicitante: 
中国人民解放军军事科学院军事医学研究院
CN_121812093_PA

Resumen de: CN121812093A

本申请提供一种伤员后送决策方法、装置、设备及其存储介质,涉及医学信息化技术领域,该方法包括:获取当前时刻环境状态信息;进行特征向量化处理得到医疗机构嵌入向量和运输工具嵌入向量;通过注意力机制计算得到初始的注意力偏好矩阵;对初始的注意力偏好矩阵进行修正;进行动作解码生成运输工具的联合调度动作。本方法利用Transformer结构处理变长序列,实现了对动态医疗资源的全局自适应建模。通过引入距离衰减项修正注意力矩阵,显式引入地理空间约束,有效抑制无效的长距离配对。这种机制兼顾时效性与资源利用率,显著提升了系统在复杂环境下的决策效率与鲁棒性。

谷物品种和纯度识别方法及装置

NºPublicación:  CN121808500A 07/04/2026
Solicitante: 
北京中仪智控科技有限公司
CN_121808500_PA

Resumen de: CN121808500A

本申请实施例提供一种谷物品种和纯度识别方法及装置,通过创新性地设计多模态特征提取体系,通过特征选择和重要性评估,实现特征的有效筛选。构建分布建模机制,结合多尺度分析和密度估计,建立可靠的概率模型。引入纯度评价,通过重叠分析和权重组合,确保评估的准确性。该方法有效解决了传统技术在特征提取、分布建模和纯度评价等方面的不足,为谷物品质管理提供了技术保障。

一种医疗器械供应链追溯管理系统

NºPublicación:  CN121812090A 07/04/2026
Solicitante: 
徐州市第一人民医院
CN_121812090_PA

Resumen de: CN121812090A

本发明公开了一种医疗器械供应链追溯管理系统,涉及供应链管理技术领域,包括供应链管理平台,所述供应链管理平台通信连接有如下模块:孪生感知智控模块,集成数字孪生与深度Q网络,构建医疗器械供应链运输环境的动态虚拟映射,实时学习环境参数变化,模拟医疗器械在途状态并预测风险。本发明通过建立运输环境虚拟模型,实现对医疗器械在途状态的实时、动态映射与可视化监控,集成深度强化学习算法,能够基于历史与实时环境数据自主预测运输途中的质量风险,并生成精准的调控指令,主动调节冷链设备、触发报警或优化运输路径,将传统被动、滞后的监控模式转变为自适应的智能调控,提升运输环节的质量保障能力与风险应对效率。

一种基于货物运输的智能派车方法及系统

NºPublicación:  CN121809938A 07/04/2026
Solicitante: 
广州市扬海数码科技有限公司
CN_121809938_PA

Resumen de: CN121809938A

本发明涉及货物运输调度的技术领域,尤其是涉及一种基于货物运输的智能派车方法及系统,其方法包括步骤:首先整合出库单、车辆及仓库地理信息,自动识别并合并同一联系人不同地址的异常订单,形成统一配送任务;其次基于历史数据动态评估每日运力负荷,对超阈值订单智能推荐替代配送日期;最后根据区域限制筛选订单,以重量最大订单为路径锚点,结合车辆区域熟练度与载重容积进行实时路径规划,确保满足工作时间窗等约束条件后生成最优派车方案。本申请通过智能数据整合、动态负荷评估和自适应路径规划,实现了货物运输派车的自动化和精准化,有效提升了配送效率与资源利用率,降低了人工调度成本及错误风险,并增强了系统的灵活性和实用性。

训练集生成方法、模型训练方法及配送时长预测方法

NºPublicación:  CN121808379A 07/04/2026
Solicitante: 
拉扎斯网络科技(上海)有限公司
CN_121808379_PA

Resumen de: CN121808379A

本申请实施例提供一种训练集生成方法、模型训练方法及配送时长预测方法。涉及人工智能领域,该方法包括:基于目标模型的各历史版本对应的历史配送数据和当前版本对应的第一配送数据,从第一配送数据中,分别筛选历史配送数据中各历史样本对应的正样本数据;基于各历史样本对应的正样本数据,从各历史样本中筛选目标历史样本;基于目标历史样本和第一配送数据,生成目标训练集。本申请实施例中通过筛选有充足正样本支撑的历史样本用来丰富训练集,生成的目标训练集可提供跨版本差异的稳定配送规律,提高了训练集的丰富度和数据质量,解决了相关技术难以有效引入长周期历史数据,导致训练集的丰富度不足的技术问题。

一种动态探索与课程学习的多AGV路径规划算法

NºPublicación:  CN121809791A 07/04/2026
Solicitante: 
昆明理工大学
CN_121809791_PA

Resumen de: CN121809791A

本发明提供一种动态自适应探索与课程学习的多AGV路径规划算法,涉及自动化与智能物流技术领域。本发明综合考虑传统深度强化学习方法虽已在多AGV系统路径规划中初步应用,但仍存在效率低下、动态适应性差及协同竞争关系处理不足等局限,具体表现为探索效率低、样本利用不充分、收敛速度缓慢甚至不收敛。对此设计一种基于自适应探索与课程学习的多智能体深度确定性策略梯度算法(AECL‑MADDPG),采用集中式训练,分布式执行”框架,通过实时感知环境拥塞度与决策不确定性动态调整探索强度,增强AGV在高密度环境中的避障能力与隐性协作效率,同时构建基于课程学习的优先经验回放机制,将“从易到难”的训练范式与关键经验优先采样相结合,显著加速模型收敛并提升最终策略的鲁棒性。本发明依据自动化与智能物流领域实际运行工况下建立,设计的算法在收敛速度、任务成功率、平均路径长度等关键指标上均展现显著优势,为复杂动态环境下多智能体路径规划问题提供了高效可靠的解决方法。

应急物资赋码管理方法、系统、设备及存储介质

NºPublicación:  CN121810195A 07/04/2026
Solicitante: 
数智云联(山东)数字技术有限公司
CN_121810195_PA

Resumen de: CN121810195A

本发明涉及数据处理技术领域,具体提供一种应急物资赋码管理方法、系统、设备及存储介质,包括:根据应急物资的物资类型和用途属性生成唯一的身份标识;接收出/入库信息,基于出/入库信息包含的身份标识,为所述身份标识关联仓储状态信息;通过物联网采集仓储环境信息,并基于所述仓储状态信息对应的仓库,为所述身份标识关联该仓库的仓储环境信息;校验所述仓储状态信息和仓储环境信息的合规性,若不合规则生成告警提示信息。本发明能够显著提升应急物资管理效率,降低人为操作风险。

一种基于图像识别的包装箱外观检测系统

NºPublicación:  CN121811141A 07/04/2026
Solicitante: 
安徽永盛印务科技有限公司
CN_121811141_PA

Resumen de: CN121811141A

本发明涉及智能物流装备与工业机器视觉检测技术领域,具体为一种基于图像识别的包装箱外观检测系统,包括:视觉数据采集模块,生成待检测目标图像序列;特征解耦提取模块,构建纹理表征特征图与拓扑结构骨架图;语义模糊度量化模块,生成数值化的视觉‑物理语义模糊度指数;推断模式仲裁模块,生成自适应检测策略指令;结构完整性判定模块,生成包装箱适航性验证结果;物流分拣控制模块,生成针对包装箱的传输路径导向信号,用于驱动分拣执行机构动作;本发明有效解决了传统算法难以区分表面污渍、旧胶带与真实物理裂缝的难题,阻断了非结构性表面干扰,显著提升了在复杂工况下对包装箱实质损伤的识别准确度。

一种算法驱动的电力仓储与供需匹配优化方法和系统

NºPublicación:  CN121809768A 07/04/2026
Solicitante: 
国网浙江省电力有限公司诸暨市供电公司国网浙江省电力有限公司绍兴供电公司
CN_121809768_PA

Resumen de: CN121809768A

本发明公开了一种算法驱动的电力仓储与供需匹配优化方法和系统,涉及智能优化调度技术领域,包括以下步骤1,获取仓储的物资信息,物资信息包括物资的种类和数量;步骤2,构建以收益最大化和满足用户物资需求相平衡为目标的仓储优化算法模型,根据仓储优化算法模型计算未来设定时间点物资的库存数量;步骤3,将未来设定时间点物资的库存数量与物资信息中现有的数量比较,根据差额确定物资的采购数量;步骤4,将采购种类、采购数量以及需求的采购完成时间生成采购单,根据采购单进行物资采购。本方案通过仓储优化算法模型能够实时、准确的计算未来设定时间点的物资库存数量,大大减少了人工干预和主观判断,提高了物资采购的效率和准确性。

一种基于产业级多智能体的制造业渠道协同决策方法

NºPublicación:  CN121809536A 07/04/2026
Solicitante: 
浙江开心果数智科技有限公司
CN_121809536_PA

Resumen de: CN121809536A

本发明公开了一种基于产业级多智能体的制造业渠道协同决策方法,涉及制造业智能决策与多智能体协同控制技术领域,包括采集制造企业内部数据,并进行时间对齐和一致性校验,生成协同基础数据集;构建反映产品、渠道、合同与履约关系的协同语义结构,输出渠道协同状态描述数据;多个业务智能体基于所述渠道协同状态描述数据分别抽取需求波动、库存压力和履约风险状态,并转化为渠道约束条件和产供约束条件,形成协同策略输入集;在数字孪生环境中对所述协同策略输入集进行并行推演评估,筛选稳定性与一致性满足预设条件的策略结果,输出渠道分配和排产决策。本发明显著降低了实际执行风险,提高了订单满足率、库存周转效率与履约稳定性。

一种用于综保区货物卸载的自动识别方法及系统

NºPublicación:  CN121810223A 07/04/2026
Solicitante: 
宁波亚集物流有限公司
CN_121810223_PA

Resumen de: CN121810223A

本申请涉及智慧物流与海关特殊监管区域信息化管理技术领域,公开了一种用于综保区货物卸载的自动识别方法及系统,该方法首先解析入库预报文件构建特征数据集;在货物卸载时,利用多维感知技术采集货物的实际身份、体积及重量生成实时采集向量;随后执行物理一致性校验,严格比对实物属性与预报数据的偏差;根据目的门店代码自动判定直接出口或集货模式,生成路由指令驱动现场机械机构进行物理分流及投影指引;最后基于物理合规数据更新电子底账并向海关自动发送核注清单。本发明实现了货物从物理卸载到监管核注的全流程自动化,确保了海关底账与实物库存的严格同步,解决了账实不符及人工效率低下的问题。

一种药品管理方法及系统

NºPublicación:  CN121812096A 07/04/2026
Solicitante: 
深圳诺博医疗器械有限公司
CN_121812096_PA

Resumen de: CN121812096A

本发明公开了一种药品管理方法及系统。该方法包括:采集药品取放区域的视频流图像,其中,药品取放区域为从药匣内取放药品经过的区域,药匣包括围成一环形空间的药格组件;提取视频流图像中的首尾相连的闭合线特征;提取闭合线特征中的角点,并根据角点构建识别区域;对识别区域的手部和目标药品进行目标跟踪检测,并判断手部和目标药品是否进入识别区域,以得到药品取放状态;根据药品取放状态更新药品库存。本发明通过图像识别和动态区域构建,解决了人工核对效率低、易出错的问题,实现了药品取放动作与库存更新的自动联动;避免了依赖人工录入导致的数据滞后,提升了库存管理的准确性和实时性,且可适应不同药匣布局,增强了系统的灵活性。

一种车辆配载方法

NºPublicación:  CN121810149A 07/04/2026
Solicitante: 
安徽江汽物流有限公司
CN_121810149_PA

Resumen de: CN121810149A

本申请涉及一种车辆配载方法,依据所述车辆的车厢内部尺寸与器具最大堆叠参数进行预堆叠操作,得到若干堆叠单元;把目标装载空间按照预设最小单位划分成规则的网格;根据所述车辆的车厢信息与车型模板、以及所述目标装载空间确定安全边距;根据所述网格与所述安全边距对所述车厢的车型尺寸进行处理,生成车型的候选槽位;根据所述车型候选槽位、全局最大车辆数、车型上限、多车型容量前缀和下界以及槽位松弛量确定候选槽位对应的指标;根据所述堆叠单元和所述候选槽位对应的指标以及所述器具朝向确定复杂度指标;基于所述复杂度指标与预设阈值确定装载策略,可以兼顾求解速度与车辆配载方案质量。

面向气力输送称重给料的产能能耗协同负荷管理系统

NºPublicación:  CN121799947A 07/04/2026
Solicitante: 
福建龙亿粉体装备制造有限公司
CN_121799947_PA

Resumen de: CN121799947A

本发明提供了面向气力输送称重给料的产能能耗协同负荷管理系统,涉及能耗协同负荷管理技术领域,包括:设备初始化模块,用于将粉体气力输送协同管控产线标记为目标产线,获取目标产线的初始产能,对目标产线所属各运行设备进行运行参数的初始化配置;系数构建模块,用于在初始化配置完成后,从初始化配置中提取各运行设备对应的调节步长,从而构建若干协同响应系数;补偿管理模块,用于根据目标产线能耗与负载状态确定目标产线的负荷异常程度,并判断是否基于初始化配置对各运行设备进行同步补偿管理,使系统具备自适应优化能力,能够在工况波动、物料性质变化及管网阻力改变情况下动态调整控制强度,实现产能目标与能耗控制之间的平衡与稳定。

金属瓦生产线的智能化物料配送与调度优化方法及系统

NºPublicación:  CN121809792A 07/04/2026
Solicitante: 
杭州锐墨尔新型建材有限公司
CN_121809792_PA

Resumen de: CN121809792A

本发明涉及金属瓦生产自动化技术领域,公开了一种金属瓦生产线的智能化物料配送与调度优化方法及系统。该方法通过获取物料需求信息和生产状态生成配送预警,基于物料消耗预测计算缺料风险指数,确定配送请求时序特征并排序形成任务队列,进而生成配送批次并规划最短路径,最终向配送料车发送指令实现配送。本发明能够优化物料配送效率,降低生产线缺料风险,提高生产线运行稳定性和资源利用率。

用于智慧物流的自动分配系统

NºPublicación:  CN121811544A 07/04/2026
Solicitante: 
镇江邦达物流科技有限公司
CN_121811544_A

Resumen de: CN121811544A

本发明涉及一种用于智慧物流的自动分配系统,包括:数据存储设备,设置在蜂巢式存放柜内,所述蜂巢式存放柜包括多个容积不同的存放单元;状态通知设备,用于在智能解析获得的当前待存放物件的现场解析体积小于等于多份存放容积中的一份以上存放容积时,执行允许接收物件对应的现场状态通知,并将所述一份以上存放容积中与接收到的现场解析体积数值最接近的存放容积对应的存放单元作为参考存放单元进行所述参考存放单元的存放编号的现场播报。通过本发明,能够智能解析当前待存放物件对应的3D实体体积,并基于3D实体体积确定蜂巢式存放柜是否拒收以及在未执行拒收时确定最匹配的存放单元,从而提升了物件存放的速度和效率。

用于评估化妆品组合物的成分的相容性的计算机实现的方法

NºPublicación:  CN121816617A 07/04/2026
Solicitante: 
帝斯曼知识产权管理有限公司
CN_121816617_PA

Resumen de: WO2025012397A1

In a computer-implemented method for assessing a compatibility of at least two ingredients of a cosmetic composition a list (1) of the at least two ingredients is requested. A first database (10) storing a first set (11) of compositions is accessed, wherein for each composition (12.1, 12.2, 12.3, 12.4, 12.5) of the first set (11) of compositions a corresponding compatibility rating (13.1, 13.2, 13.3, 13.4, 13.5), obtained from laboratory tests, is stored. A first score (s1) is obtained from a first comparison of the list (1) with the first set (11) of compositions to identify a first set of matches and from the compatibility rating (13.1, 13.2, 13.3, 13.4, 13.5) of the matches in the first set (11) of matches. A second database (20) is accessed, storing a second set (21) of compositions of cosmetic products available on the market, and a second score (s2) is obtained from a second comparison of the list (1) with the second set (21) of compositions to identify a second set of matches. A measure for compatibility of the at least two ingredients is determined based on the first score (s1) and the second score (s2). The method provides a quick, non-expensive way of preliminary testing of ingredients' compatibility.

一种基于蓝牙的智能仓储系统及控制方法

NºPublicación:  CN121815234A 07/04/2026
Solicitante: 
重庆先锋智能科技有限公司
CN_121815234_PA

Resumen de: CN121815234A

一种基于蓝牙的智能仓储系统及控制方法,涉及仓储管理技术领域,包括:多个有源蓝牙标签分别安装于一个金属管状货物内部,每个有源蓝牙标签包括蓝牙通信模块和定向天线,蓝牙通信模块基于预设的广播间隔和随机延迟,在多个蓝牙广播信道间进行跳频,以广播包含自身唯一识别码的数据包;定向天线沿金属管状货物的轴向汇聚并收发信号;终端设备中的应用程序控制蓝牙扫描模块在多个蓝牙广播信道上循环监听,以在预设扫描时长内批量采集多个有源蓝牙标签广播的唯一识别码得到识别码集合;服务器接收识别码集合,在数据库中查询与每个唯一识别码关联的货物信息,并更新对应货物的仓储状态。实施本技术方案,达到提高仓储管理效率的效果。

一种基于物品压缩特性响应的智能装箱方法及系统

NºPublicación:  CN121799737A 07/04/2026
Solicitante: 
北京神州光大科技有限公司
CN_121799737_PA

Resumen de: CN121799737A

本发明公开了一种基于物品压缩特性响应的智能装箱方法及系统,涉及物流管理技术领域,方法包括:获取物品参数与箱型参数;在混合整数规划框架下构建压缩响应与三维物理稳定性耦合的统一装箱优化模型,设置箱型选择、旋转选择、位置、空间分离、支撑关系、压缩率及实际尺寸变量,构建以箱型成本最小为目标的空间、物理与逻辑约束并求解,得到包含目标箱型、姿态、位置、支撑关系及压缩率的装箱方案并输出;系统包括数据采集、智能优化、执行指导与反馈校验模块。通过本发明的技术方案,实现了可压缩物品受压尺寸变化与堆叠稳定性的协同约束与全局优化,降低了箱型成本,提高了装箱可行性与运输稳定性。

一种储料控制方法、装置、设备及存储介质

NºPublicación:  CN121810189A 07/04/2026
Solicitante: 
浙江科强智能控制系统有限公司
CN_121810189_A

Resumen de: CN121810189A

本发明涉及仓储管理技术领域,尤其涉及一种储料控制方法、装置、设备及存储介质;根据实际需出库数量和预设的优化参数公式对历史运行参数进行优化,以得到当前运行参数;根据当前运行参数进入储料工作状态;当储料工作状态为储料完成状态,则根据预设的时间差值范围生成储料完成工作信息;以出库物料编码精准生成实际需出库数量,复用历史运行参数优化得到当前运行参数,判定储料工况‑冷却工况达标后生成可追溯信息,保障工艺与物料质量,减少人工干预,提升作业效率,通用性强。

一种基于大数据处理的医药供应链智能管理方法

NºPublicación:  CN121812094A 07/04/2026
Solicitante: 
翰庭达(厦门)数智科技有限公司
CN_121812094_PA

Resumen de: CN121812094A

本发明公开了一种基于大数据处理的医药供应链智能管理方法,包括:采集多源数据,预处理生成标准化数据集;构建统一实体集合,生成全链路追溯关系数据;构建多变量时间序列,形成变量Token;构建改进iTransformer模型,得到结构化结果;基于近似最近邻搜索,输出场景集合及处置记录;根据结构化结果、场景集合与处置记录,生成可执行指令集合;输出至业务执行端,生成执行结果与追溯审计记录。本发明通过结合改进iTransforme模型的预测预警与近似最近邻搜索的相似场景检索,实现了医药供应链的可感知、可追溯与可执行闭环智能管理。

一种用于预制梁长距离转运的智能安全监测评估方法

NºPublicación:  CN121809059A 07/04/2026
Solicitante: 
宁波甬台温交通发展有限公司宁波交通工程建设集团有限公司
CN_121809059_PA

Resumen de: CN121809059A

本发明公开了一种用于预制梁长距离转运的智能安全监测评估方法,具体涉及预制梁工程运输安全技术领域,S1风险防控设备安装,S2仿真建模,S3风险评估和S4执行管控预警措施。本发明在虚拟环境中进行零成本、破坏性的海量试错,验证了多维决策逻辑的有效性,通过执行环节,依据风险等级实现从“轻微提示”到“强制干预”及“远程联动”的精准分级管控,既有效避免了无效报警对驾驶员的干扰,又通过“车-路-云”协同与全流程数据记录功能,彻底解决了预制梁转运中重心高易倾覆、车身长盲区大及长途运输易疲劳的三大核心痛点,显著提升了运输过程的主动安全性、事故预防能力及事后责任界定的科学性。

物料的库位分配方法、系统和计算机可读存储介质

NºPublicación:  CN121810175A 07/04/2026
Solicitante: 
珠海格力智能装备有限公司珠海格力数控机床有限公司
CN_121810175_PA

Resumen de: CN121810175A

本申请提供了一种物料的库位分配方法、系统和计算机可读存储介质,该方法包括:在接收到入库订单信息时,根据入库订单信息,确定待入库物料的物料身份标识信息和物料类型;根据物料类型,从入库订单信息中提取物料特征信息;根据物料类型、物料特征信息以及仓库中多个库位的库位信息,确定待入库物料与各库位的匹配度;至少根据匹配度,从多个库位中确定待入库物料的最终库位,将最终库位的库位状态调整为待占用状态并开始计时;在检测到待入库实物到达入库口的情况下,读取待入库实物的实物身份标识信息,在实物身份标识信息与物料身份标识信息一致且计时时长小于预设时长阈值的情况下,生成入库任务。

一种基于机器视觉的智能钢材标签自动识别方法及系统

NºPublicación:  CN121809504A 07/04/2026
Solicitante: 
马鞍山智龙起重技术有限公司
CN_121809504_PA

Resumen de: CN121809504A

本发明涉及标签识别技术领域,且公开了一种基于机器视觉的智能钢材标签自动识别方法及系统,包括获取正对钢卷的场景图像数据,作为识别输入;基于所述场景图像数据进行图像增强和行目标检测,识别并获得钢材二维码标签的边界框;基于边界框,采用简化版2d‑3d位姿求解流程,计算钢材二维码标签相对于图像采集设备空间位置坐标;对处于目标空间位置坐标的钢材二维码标签进行图像捕捉与识别,读取钢材二维码标签上的身份信息将结果上传至仓储管理系统并完成钢材身份登记。

快递堵塞检测方法、计算机设备和可读存储介质

NºPublicación:  CN121810159A 07/04/2026
Solicitante: 
顺丰科技有限公司
CN_121810159_PA

Resumen de: CN121810159A

本申请涉及一种快递堵塞检测方法、计算机设备和计算机可读存储介质,可用于物流技术领域。该方法包括:基于预设的目标检测方法,对待检测分拣区域的视频数据进行目标检测处理,得到快递的位置信息、摆轮装置的位置信息和滑槽的位置信息;基于预设的多目标跟踪方法,对快递的位置信息进行轨迹跟踪处理,得到快递的运动轨迹信息;根据快递的运动轨迹信息,确定快递的运动状态检测结果;在运动状态检测结果表示停滞的情况下,根据快递的位置信息、摆轮装置的位置信息和滑槽的位置信息,确定待检测分拣区域的快递堵塞检测结果,其中,快递堵塞检测结果包括摆轮区域堵塞或滑槽区域堵塞。采用本方法能够提高快递堵塞检测的准确性。

集装过程中快件物流信息修正方法、电子设备及程序产品

NºPublicación:  CN121810142A 07/04/2026
Solicitante: 
深圳顺丰泰森控股集团有限公司
CN_121810142_PA

Resumen de: CN121810142A

本公开提供了一种集装过程中快件物流信息修正方法、电子设备及程序产品,涉及物流技术领域。方法包括:响应于对目标快件的扫描操作,在人机交互界面中显示所述目标快件的快件信息和关联的容器类型,以及显示容器类型修正功能入口;所述容器类型包括扁平箱或笼车;所述快件信息包括快件类型,所述快件类型包括带有扁平件标记的类型或不带有扁平件标记的类型;响应于调用所述容器类型修正功能入口的操作,对所述关联的容器类型进行修正,基于修正后容器类型保存所述目标快件的集装物流信息。本公开用以解决扁平件对应记录的集装物流数据与实际不符的问题。

电子封记组件、电子封记自动施封管理系统及自动施封管理方法

NºPublicación:  CN121809507A 07/04/2026
Solicitante: 
深圳市欣横纵技术股份有限公司
CN_121809507_PA

Resumen de: CN121809507A

本发明提供一种电子封记组件、电子封记自动施封管理系统及自动施封管理方法,通过设置电子封记记录核材料容器的溯源信息以及通断状态;还通过设置通断锁紧组件连接于所述电子封记的安装位,在对核材料容器锁紧状态下连通所述电子封记,并在对核材料容器松开状态下断开所述电子封记,能够实现自动监管核材料的存储信息及存储状态,减少核材料对工作人员的伤害,并且实时监测核材料容器的施封状态,稳定可靠,无需人工盘库,提高管理效率。

一种酒店智能服务系统、酒店智能服务方法、设备及介质

NºPublicación:  CN121810451A 07/04/2026
Solicitante: 
北京云迹科技股份有限公司
CN_121810451_PA

Resumen de: CN121810451A

本申请提供了一种酒店智能服务系统、酒店智能服务方法、设备及介质,服务器在用户办理酒店入住登记时,接收用户端发送的身份认证信息,并基于所述身份认证信息对用户进行身份认证;用户端接收用户输入的服务请求,并将所述服务请求发送至所述服务器;服务器对服务请求进行解析,确定出目标服务,并生成所述目标服务求对应的服务指令,将所述服务指令发送至所述目标服务对应的服务模块,以使服务模块基于所述服务指令进行处理;服务管理端当接收到服务器发送人工介入服务的介入请求时,生成所述介入请求对应的请求信息并显示在显示界面。通过所述系统及方法,解决了当前酒店服务中存在的多渠道碎片化、响应延迟、人力成本高、智能化水平低等问题。

基于人工智能及大数据的智慧物流管理系统及方法

NºPublicación:  CN121810179A 07/04/2026
Solicitante: 
陕西智邦数创信息科技有限公司
CN_121810179_PA

Resumen de: CN121810179A

本发明公开了基于人工智能及大数据的智慧物流管理系统及方法,涉及物流管理技术领域,包括:采集窄巷道内AMR集群的运动数据、货架电磁场数据及环境数据,通过多维度特征提取,构建N×M维特征向量矩阵;以特征向量矩阵为输入,构建三维势能场模型,将多AMR路径决策转化为非合作博弈模型,采用改进粒子群优化算法求解,生成AMR的平滑运动轨迹;基于边缘计算单元与联邦服务器构建二级联邦学习架构,通过局部训练和全局参数聚合优化三维势能场模型;在AMR底盘集成分布式磁流变阻尼器,当检测到调度失效且极端拥堵时,通过差异化控制指令实现减速或转向调整,实现了复杂电磁环境下AMR集群的高效协同作业与紧急脱困。

基于AI与数字孪生的智能仓库动态储位优化系统及方法

NºPublicación:  CN121810178A 07/04/2026
Solicitante: 
峰禾(北京)科技有限公司
CN_121810178_PA

Resumen de: CN121810178A

本发明公开了一种基于AI与数字孪生的智能仓库动态储位优化系统及方法,涉及储位优化技术领域。获取货架当前的库存状态信息;基于各储位与仓库入口的距离及各储位所存放货物单位的重量建立最近货物存放距离约束函数、货架承重能力约束函数以及货架稳定性约束函数,并建立目标函数;基于待存放货物单位的数量以及各货架当前的库存状态信息初始化粒子种群;利用遗传算法对粒子种群进行求解,得到最优的粒子个体;基于最优的粒子个体确定出各待存放货物单位的储位分配方案;建立仓库的数字孪生模型,并基于各待存放货物单位的储位分配方案在数字孪生模型中突出显示各待存放货物单位的储位模型。本发明可在确保入出库效率的同时兼顾货物存放安全。

考虑保鲜约束的榴莲物流优化方法及装置

NºPublicación:  CN121810160A 07/04/2026
Solicitante: 
榴莲先生(广东)实业有限公司
CN_121810160_A

Resumen de: CN121810160A

本发明涉及一种考虑保鲜约束的榴莲物流优化方法及装置,根据榴莲的物流车辆的分销中心以及各物流车辆装载榴莲的保鲜状态特征,确定各物流车辆的中心集合以及动态保鲜特征集合;通过结合榴莲品质衰减模型的引入构建物流路线图,并通过物流路线图的信息交互训练,通过模型优化输出作为最优运输路线图,明确各物流车辆进行物流组合的最优组合时间及最优组合对象,对物流组合范围进行基于保险约束下的限缩,有效地降低大规模物流车辆的物流时间、成本和货损,并有效保证榴莲品质。

一种设备服役期内产品有效部件的筛选和跟踪方法

NºPublicación:  CN121810207A 07/04/2026
Solicitante: 
南京国睿信维软件有限公司
CN_121810207_PA

Resumen de: CN121810207A

本发明涉及一种设备服役期内产品有效部件的筛选和跟踪方法,属于产品结构管理与部件有效性控制领域,定义CI/DSI/DR建模,基于特征管理;定义部件属性可追踪条件,基于架次进行追踪;定义部件的架次有效性范围,值有校验与约束,对应关联到相应生效的产品;结合实际应用架次,进行有效性筛选。本发明设备服役期内产品有效部件的筛选和跟踪方法,通过规范化的建模、属性追踪与有效性范围约束,实现部件与架次的精准匹配,满足行业对部件管理的高精度、高可靠性需求。

基于分批次管理的采制化一体化自动控制方法和系统

NºPublicación:  CN121810198A 07/04/2026
Solicitante: 
国能河北沧东发电有限责任公司
CN_121810198_PA

Resumen de: CN121810198A

本发明涉及燃料智能化管控技术领域,具体地公开了一种基于分批次管理的采制化一体化自动控制方法及系统。该方法首先为每批次物料创建具有唯一标识ID的全流程动态数据档案;在采样环节,将样品与智能容器绑定,并关联多维身份特征;在样品处理过程中,实时采集操作参数,与预设标准比对,动态计算并更新数据档案的过程置信度;在样品流转时,通过“握手请求”进行双向ID验证,并结合过程置信度进行决策,只有验证通过且置信度高于安全阈值时才授权后续设备启动;当样品分割时,其数据档案也随之分裂并完整继承历史信息。本发明通过主动质询与动态评估,实现了物理样品与数字信息在全流程中的强制一致性,确保了质量检测结果的可靠性。

物流数字化仓储管理方法

NºPublicación:  CN121810188A 07/04/2026
Solicitante: 
福州为正科技有限公司
CN_121810188_PA

Resumen de: CN121810188A

本发明具体为物流数字化仓储管理方法,涉及仓储物流管理技术领域,包括:将仓库抽象为带权重有向图,构建AGV运动学参数表,把物理惯性参数转化为节点访问代价,完成模型映射与初始化。本发明中,带权重有向图与AGV运动学参数表,将仓库物理信息、AGV惯性参数转化为计算机可计算的数字模型,消除物理与数字层的映射断层;把时间作为独立维度融入拓扑结构,从根源规避多AGV时空冲突;同时采用可达性与运动学内存级剪枝,直接剔除无效节点、切断无效边,大幅压缩算法搜索空间,解决节点爆炸导致的计算复杂度高问题。

一种机器人交互协同方法、系统及储存介质

NºPublicación:  CN121810167A 07/04/2026
Solicitante: 
深圳市今天国际软件技术有限公司
CN_121810167_A

Resumen de: CN121810167A

本发明涉及智能交互技术领域,尤其涉及一种机器人交互协同方法、系统及储存介质。该方法包括以下步骤:构建物流环境的拓扑图,计算拓扑图中节点的割集出现频率和物理容量参数,将割集出现频率除以物理容量参数得到节点的节点拥堵度系数;根据节点拥堵度系数筛选出全局关键节点集合;机器人接收任务后计算任务割集,计算任务割集与全局关键节点集合的交集形成任务瓶颈节点集合;对任务瓶颈节点集合中的每个节点计算路径冗余度;机器人广播包括节点标识、预计到达时间、预计离开时间和路径冗余度的节点占用声明。本发明利用路径冗余度优化决策,减少不必要的路径重规划,并通过时间弹性余量和速度调节实现错峰通行,提高任务连续性和系统吞吐量。

基于路网节点中断的多式联运替代路径和运输方案生成方法

NºPublicación:  CN121809798A 07/04/2026
Solicitante: 
中国国家铁路集团有限公司北京交通大学中国铁路经济规划研究院有限公司中铁第五勘察设计院集团有限公司
CN_121809798_PA

Resumen de: CN121809798A

本发明提供一种基于路网节点中断的多式联运替代路径和运输方案生成方法,所述方法的步骤包括:获取路网中断信息;若路网中断信息更新,则对于每条原始路径,判定所述原始路径中是否包括路网中断信息;若是,则标记所述原始路径中的中断点,并基于第一约束条件构建上游候选装卸点集合和下游候选装卸点集合,以最小化时长作为第一目标函数,采用上层模型从上游候选装卸点集合和下游候选装卸点集合各选定一个装卸节点;将选定的第一装卸节点和第二装卸节点输入到下层模型中,下层模型采用遗传算法构建多式联运替代路径集合;当运输单元行驶至路径的一端时,基于每条路径的消耗时间确定最终的路径,并构建多式联运运输方案。

一种基于空间位置关联的应急资源可视化调度方法及系统

NºPublicación:  CN121809974A 07/04/2026
Solicitante: 
北京人人平安科技有限公司
CN_121809974_PA

Resumen de: CN121809974A

本发明公开了一种基于空间位置关联的应急资源可视化调度方法及系统,方法包括以下步骤:先获取应急事件发生地坐标;从资源空间数据库中,查询与当前应急事件场景相关的物资和存放物资的仓库坐标;然后计算每个相关物资仓库与应急事件发生地之间的空间距离;结合空间距离与物资应急优先级,对相关的物资仓库进行综合排序;同步生成并展示资源列表视图和资源地图视图;最后,响应于用户在资源列表视图或资源地图视图中对特定仓库的选定操作,触发导航功能和直接通讯功能。本发明采用上述的一种基于空间位置关联的应急资源可视化调度方法及系统,适用于APP端和PC端应急调度系统,显著缩短应急响应时间,提升资源利用效率。

应用于氢能源行业的氢气质量可追溯系统和方法

NºPublicación:  CN121810305A 07/04/2026
Solicitante: 
内蒙古润泰汇能新能源科技有限责任公司
CN_121810305_PA

Resumen de: CN121810305A

本发明公开了应用于氢能源行业的氢气质量可追溯系统和方法,涉及氢气质量追溯技术领域。本发明包括云服务器、存储单元、抽检单元、运输单元和远程管理终端,云服务器作为系统运行载体,存储单元对氢气进行中间端存储,抽检单元在氢气存储过程中的转运两端对氢气质量进行即时抽检,运输单元为氢气的运输环节,远程管理终端基于云服务器,对氢气的流转流程进行统筹,云服务器与远程管理终端通信连接。本发明将监管单位、流转企业和用户集成在统一的平台上,便于进行追溯,加强可控度,通过增加抽检单元,在氢气的出库和入库环节对氢气进行即时抽检,加强对氢气流转过程中的质量把控度,提升质量追溯效果。

一种基于多源数据融合的港口成本追溯方法

NºPublicación:  CN121809843A 07/04/2026
Solicitante: 
山东港口烟台港集团有限公司
CN_121809843_PA

Resumen de: CN121809843A

本发明公开了一种基于多源数据融合的港口成本追溯方法,包括:S1、采集港口作业多源数据,并执行标准化处理;S2、对执行时间对齐与空间对齐;S3、生成作业单元复合标识并构建作业单元模型,形成作业单元数据集;S4、通过Dirichlet证据分布,执行证据建模与融合,生成具有置信度和冲突度的融合结果;S5、对所述融合结果中的能耗数据生成功率曲线,积分得到能耗量;对人员工时记录进行处理得到工时量;对财务凭证记录执行文本抽取生成费用信息;S6、识别成本驱动因子,并采用改进型Aumann-Shapley方法生成作业单元分摊值集;S7、计算作业单元总成本,输出成本追溯结果。本发明显著提高港口作业成本追溯的精度与可解释性。

一种考虑碳排放的干散货码头多资源协同调度方法

NºPublicación:  CN121809963A 07/04/2026
Solicitante: 
大连海事大学
CN_121809963_PA

Resumen de: CN121809963A

本发明公开了一种考虑碳排放的干散货码头多资源协同调度方法,包括,采集干散货码头规划期内的基础数据;基于基础数据构建以最小化码头总碳排放量和最小化总作业成本为目标的双目标优化模型和约束条件;使用遗传算法对模型进行求解,获得多资源协同调度方案集;使用熵权TOPSIS法计算多资源协同调度方案集中每个方案的贴近度系数,选取贴近度系数最高的方案作为最优的多资源协同调度方案;解析最优的多资源协同调度方案,提取泊位分配、堆场分配及机械调度数据,生成结构化调度数据,将结构化调度数据发送至码头操作系统执行,实现多资源低碳协同作业;本发明能够在保证作业效率的同时有效降低碳排放强度,推动港口作业系统向高效化、低碳化方向发展。

山区电力应急多机与地面站协同任务分配处理方法及系统

NºPublicación:  CN121806994A 07/04/2026
Solicitante: 
国网四川省电力公司电力应急中心
CN_121806994_PA

Resumen de: CN121806994A

本发明提供山区电力应急多机与地面站协同任务分配处理方法及系统,涉及电力应急技术领域,所述方法包括:步骤1,解析原始任务请求,生成包含抢修目标点坐标、待运输物资质量与待运输物资包络尺寸、任务时间窗口的结构化任务描述,并基于抢修目标点坐标,获取对应区域的高程与气象数据,生成任务区域的三维环境模型;步骤2,对三维环境模型进行空间栅格化采样,得到空间离散采样场,并识别目标抢修结构采样簇与空域通道采样簇,得到基准方向向量与偏移方向向量。本发明通过三维环境建模、风险量化空域网络构建、适配编队筛选及精准控制与协同校正,有效规避山区复杂地形和气流干扰,提升山区电力应急物资协同运输的安全性、精准度与执行效率。

一种面向绿色低碳物流运输的三阶段进化策略车辆路径规划优化方法

NºPublicación:  CN121810166A 07/04/2026
Solicitante: 
武汉科技大学
CN_121810166_A

Resumen de: CN121810166A

本发明提出一种面向绿色低碳物流运输的三阶段进化策略车辆路径规划优化方法。该算法将搜索过程划分为自变异、局部搜索和随机重构三个阶段,以实现对解空间的多样化探索。在自变异阶段,算法结合贪婪插入和随机车辆路径移除算子,进行解空间的初步多样化探索。随后进入局部搜索阶段,利用后悔插入和基于相关性的客户移除算子对优势解进行优化,以进一步提高解的质量。最后,在随机重构阶段,算法通过随机移除和随机插入算子对停滞解进行扰动,有效避免陷入局部最优。这种分阶段设计,前期注重收敛性而后期注重多样性,通过在不同搜索阶段应用特定的算子组合,有效解决了不同算子组合在搜索过程中应用时机的问题。

一种基于LSTM神经网络的物体运动状态判断方法

NºPublicación:  CN121808479A 07/04/2026
Solicitante: 
北京计算机技术及应用研究所
CN_121808479_A

Resumen de: CN121808479A

本发明涉及一种基于LSTM神经网络的物体运动状态判断方法,属于物流和仓储自动化技术领域。本发明在仓库大门的里面或外面安装红外传感器对;车厢出入仓库大门时,利用红外传感器对采集物体运动状态序列;将采集到的物体运动状态序列输入经过训练的长短时记忆网络LSTM,判断车厢出入库方向,每采集到一个长度为n的红外传感器状态序列,就输入LSTM判断一次,实时输出车厢出入库方向。本发明能够处理传感器状态的时间序列数据,精准判断车厢的移动状态,显著减少人工干预,提升仓库运营的安全性、可靠性与整体效率。

一种基于AI与智能合约的生鲜农产品智慧仓储物流系统

NºPublicación:  CN121810170A 07/04/2026
Solicitante: 
北京中科院软件中心有限公司
CN_121810170_PA

Resumen de: CN121810170A

本发明涉及农产品技术领域,揭露了一种基于AI与智能合约的生鲜农产品智慧仓储物流系统,包括:新鲜度计算模块,用于采集生鲜农产品在仓储物流过程中的环境状态数据与货物属性数据,以计算生鲜农产品对应的货物新鲜度;智能合约生成模块,用于利用预设的AI路径优化算法确定配送任务对应的配送路径,以计算配送任务的配送货损率,构建配送任务对应的履约智能合约;能耗效能评测模块,用于计算配送任务的配送热负荷,确定配送任务产生的运输能耗当量,以评测配送任务的物流能耗效能;仓储优化模块,用于执行生鲜农产品的仓储物流优化处理,得到仓储物流优化结果。本发明可以提高生鲜农产品智慧仓储物流的管理效率。

基于移动运输车与楼层提升机协同的物料搬运调控方法

NºPublicación:  CN121809982A 07/04/2026
Solicitante: 
天纺标检测认证股份有限公司
CN_121809982_PA

Resumen de: CN121809982A

本发明公开了基于移动运输车与楼层提升机协同的物料搬运调控方法,涉及智能物流控制技术领域,包括计算每一待分配任务与每一可达提升机配对的总完成时间,生成初始分配方案,通过迭代执行任务交换操作并评估交换后总完成时间的变化,对分配方案进行优化,得到最优分配方案;将最优分配方案封装为导航任务指令下发至移动运输车,并封装为物料运输任务预约指令发送至对应提升机控制器,协同控制移动运输车与提升机完成跨层运输及卸货操作,任务完成后恢复空闲状态。本发明在任务分配阶段综合考虑移动运输车到达提升机交互区的时间、提升机当前任务队列及可用时刻。

一种换电站充放电策略优化方法

NºPublicación:  CN121809999A 07/04/2026
Solicitante: 
国网吉林省电力有限公司电力科学研究院吉林省电力科学研究院有限公司
CN_121809999_PA

Resumen de: CN121809999A

本发明公开了一种换电站充放电策略优化方法,步骤包括:S1、采集换电站的历史换电需求、电池库存状态及分时电价数据;S2、构建具备在线参数更新能力的换电需求预测模型,滚动输出预测时域内未来多个时间步的换电需求序列;S3、计算在预测时域内为满足未来服务所需维持的最小安全库存,进而确定电池库存状态的动态安全运行区间;S4、构建以运行经济性为目标的充放电策略优化问题,结合电池库存动态及功率限制生成最优功率决策;S5、求解所述充放电策略优化模型,获得预测时域内的充放电功率决策序列,进入下一时间步重复步骤S2至S5。本发明通过将未来需求转化为反映服务能力的库存硬约束,在保障换电服务零中断的前提下实现了运营成本最小化。

多车辆循环取货三维装箱的路径优化方法、终端及介质

NºPublicación:  CN121810155A 07/04/2026
Solicitante: 
合肥工业大学
CN_121810155_PA

Resumen de: CN121810155A

本发明涉及路径规划技术领域,公开了多车辆循环取货三维装箱的路径优化方法、终端及介质。该方法获取相关数据,将供应商的零部件需求统一映射为以包装箱为单位的箱体集合,并确定单位剩余空间机会成本系数;根据相关数据构建原始模型,其目标函数包含车辆行驶成本、车辆启用固定成本以及车厢剩余空间机会成本;采用Dantzig‑Wolfe分解方法将原始模型分解为限制主问题和定价子问题;通过列生成算法迭代求解限制主问题和定价子问题;若限制主问题的解包含非整数,则进入分支定界流程,在分支节点上重复执行列生成算法,直至满足预设终止条件,输出包括车辆路径规划及车厢三维装箱布局在内的最优循环取货方案。本发明可提高循环取货的运输效率。

基于物联网的冷链物流全程温湿度监控预警方法及系统

NºPublicación:  CN121810162A 07/04/2026
Solicitante: 
峰禾(北京)科技有限公司
CN_121810162_PA

Resumen de: CN121810162A

本发明属于数据监控技术领域,具体公开了基于物联网的冷链物流全程温湿度监控预警方法及系统,通过将固定节点和动态节点的温湿度传感数据融合,并进行区块划分和异常检测,有效避免了区域单点传感故障而导致的误报,保证了温湿度监控数据的准确性和可靠性。通过对各区块温湿度数据进行特征提取和融合,得到温湿度数组,然后对各历史时间点及当前时间点的温湿度数组进行组合,得到温湿度时间序列,再利用时序预测模型进行温湿度预测,以判定温湿度动态变化趋势,进而进行相应预警,实现从事后报警到事前预警的跨越,具有预警前瞻性。本发明可提供数据更可靠、预警更及时且具备动态诊断和分类预警功能的冷链物流车温湿度监控预警方式。

物品损坏评估方法和装置

NºPublicación:  CN121809824A 07/04/2026
Solicitante: 
北京京东远升科技有限公司
CN_121809824_PA

Resumen de: CN121809824A

本发明公开了一种物品损坏评估方法和装置,涉及计算机技术领域。该方法的一具体实施方式包括:响应于监测到仓储物流环境中的传感器采集的传感数据在预设范围以外,确定传感器的监测范围;根据传感器的类型,获取监测范围对应的范围监测数据;根据范围监测数据,确定监测范围是否符合损坏评估条件;响应于监测范围符合损坏评估条件,从监测范围中,确定出待评估物品,并对待评估物品进行损坏评估处理。该实施方式能够及时对损坏物品进行损坏评估处理。

一种基于车辆称重的工厂内部物流系统

NºPublicación:  CN121809796A 07/04/2026
Solicitante: 
张政
CN_121809796_PA

Resumen de: CN121809796A

本发明公开了一种基于车辆称重的工厂内部物流系统,有效地提高了物流系统的效率,包括:智能称重与识别模块,生成包含生产订单号的入场触发数据包;边缘调度服务器,通过高速通信网络与所述智能称重与识别模块、生产执行系统MES以及物流执行单元集群通信连接,所述边缘调度服务器被配置为:接收所述入场触发数据包;基于所述生产订单号,从所述MES获取对应的至少一个目标工位的实时生产需求信息,本发明结构新颖,构思巧妙,操作简单方便,有效地增加了对货物的紧急程度进行判断的功能,平衡了紧急需求和交通流畅,降低了延迟、提高了可靠性,提高了系统的容错能力和鲁棒性,保护了系统在更极端故障场景下的生存能力。

一种仓储机器人分配方法及系统

NºPublicación:  CN121810184A 07/04/2026
Solicitante: 
中北大学
CN_121810184_A

Resumen de: CN121810184A

本申请公开了一种仓储机器人分配方法及系统,涉及智能仓储物流技术领域。该方法先获取仓储系统中机器人自身状态、工作站状态及人类拣选员的疲劳状态与压力状态,后基于预先训练好的多智能体强化学习策略网络对各机器人实时局部观测进行推断,生成分配动作,最终将机器人动态分配至对应工作站,以实现订单吞吐量最大化与人类拣选员职业健康风险最小化的协同优化。这样,通过多智能体强化学习策略网络对多维度实时状态信息的精准捕捉与动态决策,使得机器人分配策略能够自适应拣选员的疲劳‑压力耦合变化,在避免工作站负荷失衡的同时,有效减缓拣选员生理状态的恶性演化,达到了运营效率与人因健康双向提升的效果。

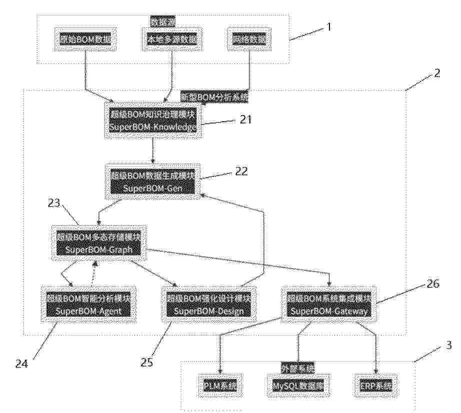
基于光伏行业垂域大模型的BOM分析系统

NºPublicación:  CN121810191A 07/04/2026
Solicitante: 
爱士惟科技股份有限公司
CN_121810191_PA

Resumen de: CN121810191A

本发明公开了一种基于光伏行业垂域大模型的BOM分析系统,其包括:BOM知识治理模块,用于自一或多个数据源获取数据并进行筛选;BOM数据生成模块,用于将BOM知识治理模块提供的标准化数据转换为多元组数据结构,多元组数据结构包括型号设计信息和物理零件信息;BOM多态存储模块,用于将BOM数据生成模块输出的多元组数据结构存储,通过重排序算法提供查询结果;BOM智能分析模块,用于对BOM多态存储模块的多元组数据进行分析,优化BOM多态存储模块的权重配置;BOM强化设计模块,用于根据BOM多态存储模块的多元组数据,生成候选BOM,若多规则评估满足需求,则向BOM数据生成模块输出最优BOM。

一种物联网物流信息管理平台系统及管理方法

NºPublicación:  CN121810145A 07/04/2026
Solicitante: 
昆山仁耀国际货运代理有限公司
CN_121810145_PA

Resumen de: CN121810145A

本发明涉及物联网技术与物流管理技术领域,公开了一种物联网物流信息管理平台系统及管理方法,包括物联网数据采集终端、多维异构数据融合模块、动态风险量化引擎、自适应稳态调控模块、干预代价推演模块及指令下发与人机交互模块的协同工作,实现以下过程:实时融合内外部多源异构数据,动态计算出综合风险分数;基于风险分数生成主动干预预案,并量化其预期风险降低量;本发明还并行推演该预案的资源消耗、次生风险及操作复杂度,计算出综合干预代价分数;最后,通过比较预期收益与干预代价,实现对调控指令的自动执行或向管理者推送决策辅助信息,完成人机协同的闭环调控。

一种飞机时控件精准高效记实的方法

NºPublicación:  CN121810190A 07/04/2026
Solicitante: 
中航通飞华南飞机工业有限公司
CN_121810190_PA

Resumen de: CN121810190A

本发明属于数字化技术领域,涉及一种飞机时控件精准高效记实的方法。包括如下步骤:1)在EBOM中增加时控件的属性标识,2)根据飞机维修口盖、通道与区域设计要求,精细化时控件的安装区域规划,3)将梳理好的单机时控件安装位置清单,4)在PLM平台建立时控件安装位置标准化库。5)装配指令编制时,调用时控件安装位置标准化库。6)时控件新增或安装位置改变,7)在MES平台实现时控件记实数据的提取与汇总。本发明搭建时控件安装位置标准化库,该库不与零件件号/图号强关联,减少设计更改对数据库的影响,增加数据库的抗扰性,例如时控件新增或安装位置调整,库内的安装位置描述仍有可以精准描述该时控件安装位置的词条,数据库数据无需更改。

一种基于自适应通信机制的多智能体海运脱碳决策系统

NºPublicación:  CN121810157A 07/04/2026
Solicitante: 
宁波工程学院
CN_121810157_PA

Resumen de: CN121810157A

本发明公开了一种基于自适应通信机制的多智能体海运脱碳决策系统,属于海运智能调度技术领域,包括感知层、自适应通信层、多智能体决策层、执行层及反馈优化层;自适应通信层基于碳、通信与算力三元耦合机制动态调整通信参数,多智能体决策层支持分层与扁平动态切换并采用多目标强化学习模型生成决策,通过反馈优化层形成全链路闭环。本发明能适配海洋复杂通信场景,平衡全局协同与紧急响应,实现碳减排、时效、成本与能源可及性的全局最优,且适配多船舶类型与海域场景,为海运规模化脱碳提供高效、可落地的技术方案。

智慧物流分发使能控制系统

NºPublicación:  CN121797629A 07/04/2026
Solicitante: 
镇江捷腾物流有限公司
CN_121797629_A

Resumen de: CN121797629A

本发明涉及一种智慧物流分发使能控制系统,包括:厚度辨识器件,用于采用针对性视觉分析机制智能辨识当前快递盒体的实体厚度数值;使能控制器件,与所述厚度辨识器件连接,用于在接收到的实体厚度数值小于等于当前存放柜体的最大容置厚度时,使能当前快递盒体到最大容置厚度等于设定厚度阈值的当前存放柜体的推送操作。通过本发明,能够采用使能控制器件用于在针对性视觉化分析获得的盒体对应的实体厚度数值小于等于最大容置厚度时,使能当前快递盒体到最大容置厚度等于设定厚度阈值的存放柜体的推送操作,否则,禁止当前快递盒体到最大容置厚度等于设定厚度阈值的存放柜体的推送操作,从而实现对快递盒体逐件的智慧化管理。

一种基于化学试剂种类的差异化预警推送方法及系统

NºPublicación:  CN121810187A 07/04/2026
Solicitante: 
苏州毕恩思实验器材有限公司
CN_121810187_PA

Resumen de: CN121810187A

本发明公开一种基于化学试剂种类的差异化预警推送方法及系统,包括:获取试剂的属性数据与状态数据;根据属性数据分类确定基础管理类别,并基于状态数据动态更新,识别高风险试剂;针对高风险试剂分析变质趋势,预测剩余有效期范围;将其与库存使用周期比对,当剩余有效期小于库存使用周期时生成预警信号;根据试剂特性和实时状态确定推送优先级,生成推送序列并发送通知;持续监测试剂状态,当关键参数变化时重新执行上述步骤。本发明能够结合试剂的属性数据与动态状态数据进行分类识别、趋势预测和优先级推送,实现对不同试剂的精准化、动态化管理,在试剂实际失效前发出针对性预警,保障实验结果可靠性,优化资源配置并降低安全风险。

一种成品油配送路径规划方法及系统

NºPublicación:  CN121809795A 07/04/2026
Solicitante: 
中国石油天然气集团有限公司中国石油昆仑物流有限公司北京华油信通科技有限公司
CN_121809795_PA

Resumen de: CN121809795A

本发明涉及危险货品运输技术领域,公开了一种成品油配送路径规划方法及系统,该方法包括以下步骤:计算路网中的每个路段的综合安全风险值,计算公式为:综合安全风险值=风险浓度×路段长度×通行时间;将一条候选路径的所有途经路段的综合安全风险值进行加权和,得到候选路径的总安全风险;构建多目标规划的车辆路径规划函数;为车辆路径规划函数设置约束条件;求解车辆路径规划函数,将目标函数值最小时的车辆路径规划函数的解对应的候选路径作为最优路径。本发明解决了现有技术存在的难以实现在考虑社会公共安全风险的基础上实现路径优化等问题。

一种智能化的城市生境质量评估方法及系统

NºPublicación:  CN121810115A 07/04/2026
Solicitante: 
吉林化工大学
CN_121810115_A

Resumen de: CN121810115A

本发明具体为一种智能化的城市生境质量评估方法及系统,涉及城市生态保护与物流配送协同技术领域,包括:多维多源生态敏感度时空数据库模块;物流业务与车辆状态融合中心模块;路径规划模块;车辆自适应控制指令下发与执行模块。本发明中,构建多维多源生态敏感度时空数据库,实现了城市生态敏感区的精准化、动态化评估,打破了传统评估静态化、数据单一的局限;整合数据,经多重验证过滤虚假信息,结合时空编码技术与动态校准算法,可根据物种活动密度实时调整敏感等级与时间窗口,将敏感区量化分级并分类敏感类型,形成城市级生态敏感区数字孪生体。

一种基于深度学习的岸边集装箱起重机安全预警系统

NºPublicación:  CN121810051A 07/04/2026
Solicitante: 
宁波舟山港股份有限公司北仑第二集装箱码头分公司测控人(天津)科技有限公司
CN_121810051_PA

Resumen de: CN121810051A

本发明公开了一种基于深度学习的岸边集装箱起重机安全预警系统,涉及机械工程技术领域,包括,根据评估结果,通过结合工作状态数据和外部因素,通过因果图分析法识别导致起重机存在风险的安全隐患;基于安全隐患,通过贝叶斯网络分析法,计算未来安全隐患的存在概率,根据未来安全隐患的存在概率,预测风险演变趋势;基于风险演变趋势,生成安全预警报告。本发明通过多任务学习模型和贝叶斯网络分析法,实现了对岸边集装箱起重机的全面监控和风险评估。多任务学习模型通过联合优化多个相关任务,生成综合安全评分,提升了整体性能和预警的准确性。

一种基于多模式撮合与风险定价的企业采购交易控制方法及系统

NºPublicación:  CN121810331A 07/04/2026
Solicitante: 
杭州营简智联科技有限公司
CN_121810331_PA

Resumen de: CN121810331A

本发明公开了一种基于多模式撮合与风险定价的企业采购交易控制方法及系统,属于供应链管理、人机协同经营管理及人工智能算法应用领域。本发明构建包含需求识别、供应匹配、多模式撮合与风险定价、执行与履约反馈四大核心模块的智能系统。通过采集实时库存、客流预测、供应商信用等多维度数据,建立风险因子加权评价模型,从固定价格采购、拼单采购等六种交易模式中自动筛选最优方案,同步实现动态风险定价;并通过全流程自动化执行与履约数据反馈,完成模型迭代优化。本发明可显著降低采购成本与损耗,提升采购智能化水平与供应链稳定性,适用于多行业B2B采购场景,通过计算机系统实现企业采购交易的自动化控制与风险定价。

一种基于多阶段混合搜索的托盘装载包装尺寸协同优化方法及系统

NºPublicación:  CN121799960A 07/04/2026
Solicitante: 
北京神州光大科技有限公司
CN_121799960_PA

Resumen de: CN121799960A

本发明公开了一种基于多阶段混合搜索的托盘装载包装尺寸协同优化方法及系统,涉及物流管理技术领域,方法包括:获取托盘尺寸及包装工艺参数,构建包装箱长宽高尺寸可行域并转化为二维尺寸搜索区域,在该区域内采用网格搜索生成候选包装箱尺寸组合;针对各候选尺寸,基于扩展装载点启发式与广度优先树搜索求解托盘装载方案并计算装载数量和托盘面积利用率,随后按稳定支撑规则对包装箱布局进行整体居中、分散摆放及奇偶层旋转调整,形成多层堆垛方案。通过本发明的技术方案,实现了包装尺寸设计与托盘装载优化的一体化协同,能够在满足装载稳定性的前提下显著提高托盘空间利用率和装载效率,减少人工试算成本。

基于动态应急模式的分拣任务控制方法

NºPublicación:  CN121797622A 07/04/2026
Solicitante: 
益模(重庆)智能制造研究院有限公司
CN_121797622_PA

Resumen de: CN121797622A

本发明提供的一种基于动态应急模式的分拣任务控制方法,包括以下步骤:S1.确定待分拣货物的任务优先级,分拣时按照任务优先级将待分拣货物从分拣通道分拣至出货区;S2.在分拣过程中,获取待分拣货物的滞留时间,并确定待分拣货物的滞留时间阈值;S3.判断是否存在滞留时间大于滞留时间阈值的待分拣货物,如是,则在分拣通道中确定出紧急分拣通道;S4.将滞留时间大于滞留时间阈值的待分拣货物由紧急分拣通道进行分拣,当滞留时间大于滞留时间阈值的待分拣货物分拣完成后,紧急分拣通道恢复为正常分拣通道。

特需急救药品、物品仓储与配送构建系统及方法

NºPublicación:  CN121810163A 07/04/2026
Solicitante: 
南京鼓楼医院
CN_121810163_PA

Resumen de: CN121810163A

本发明公开了特需急救药品、物品仓储与配送构建系统及方法,系统包括物联网模块、多主体协同模块、院际协作模块、云计算平台模块、区块链模块、智能调度中心模块、仓储网络模块和应急响应模块;方法包括步骤一,需求整合与联合采购;步骤二,仓储网络构建与库存优化;步骤三,智能调度与路径规划;步骤四,应急响应与跨机构调配;步骤五,全流程追溯与数据上链;步骤六,性能监控与持续优化;本发明设计有特需急救药品、物品仓储与配送构建系统,通过建立联合采购、库存共享、应急调配及性能监控等多主体协同机制,实现了医疗机构、供应商与物流企业之间的标准化数据交互和紧密合作,联合采购模块通过集合区域内医疗机构的采购需求。

三维装箱优化方法、装置和计算机设备

NºPublicación:  CN121810147A 07/04/2026
Solicitante: 
武汉华工赛百数据系统有限公司
CN_121810147_PA

Resumen de: CN121810147A

本申请涉及一种三维装箱优化方法、装置和计算机设备。方法包括:获取工件参数、料框参数及关联下游工序的业务约束参数,并为每一料框构建虚拟表面模型;根据业务约束参数对工件进行排序,并基于排序结果依次为每一工件在可用料框的虚拟表面模型中确定候选放置方案;从候选放置方案中选取最优放置方案,并执行多维约束校验;在最优放置方案通过校验的情况下执行工件放置操作,并动态更新相关料框的虚拟表面模型与约束状态;迭代直至所有工件均被处理,输出包含各工件在对应料框中具体放置位置的最终装箱方案。采用本方法能够同时考虑几何布局和物理稳定性,并能制约下料、分拣等环节。

基于多源数据融合的虚拟运单生成方法、系统及设备

NºPublicación:  CN121810148A 07/04/2026
Solicitante: 
中路智链科技集团有限公司
CN_121810148_PA

Resumen de: CN121810148A

本发明公开基于多源数据融合的虚拟运单生成方法、系统及设备,涉及智能交通与物流信息化技术领域,用于解决现有技术中运单生成方式存在的信息不全、真实性差、自动化程度低的问题。包括:获取目标多源数据,并对其进行融合处理,生成装卸货事件识别结果;根据装卸货事件识别结果、车辆信息及地图兴趣点关联的公开信息,进行检索增强生成与语义推理,生成货物品类推测结果;根据装卸货事件识别结果、货物品类推测结果以及多维度影响数据进行融合推理,生成货运收入预估结果;基于装卸货事件识别结果、货物品类推测结果及货运收入预估结果,进行置信度融合与结构化处理,生成虚拟运单。

一种订单处理方法和装置

NºPublicación:  CN121810158A 07/04/2026
Solicitante: 
北京京东远升科技有限公司
CN_121810158_PA

Resumen de: CN121810158A

本发明公开了一种订单处理方法和装置,涉及计算机技术领域。该方法的一具体实施方式包括:基于接收到的待申报订单集对应的仓库产能数据,确定各个仓库的申报优先级;根据各个仓库的申报优先级,设置各个仓库的订单申报策略;基于各个仓库的订单申报策略对待申报订单集中的待申报订单进行申报处理。本实施例根据仓库产能数据动态调整每个仓库的申报优先级,并根据申报优先级进行申报策略地动态调整,基于产能缺口进行订单申报,提高了订单申报效率,避免了仓库订单积压,提高了仓库作业速度。

一种工厂物流调配系统

NºPublicación:  CN121810152A 07/04/2026
Solicitante: 
张政
CN_121810152_PA

Resumen de: CN121810152A

本发明公开了一种工厂物流调配系统,有效地解决了传统调度系统基于静态规则、无法适应实时变化的问题,包括:智能决策层,用于集成来自订单、设备及外部环境的多源数据,并采用人工智能模型处理所述多源数据,以生成动态的物流调度指令;数字孪生层,与所述智能决策层通信连接;全链路协同层,分别与所述智能决策层以及外部供应链系统通信连接;本发明结构新颖,构思巧妙,操作简单方便,有效地提升了调度方案的成功率和经济性,使决策更经济、更环保,实现了经济成本和环境成本的平衡,增加了针对设备突发扰动的动态惩罚项,减少了因突发故障导致的生产中断的概率,提升了故障预测的准确性。

用于药库的药品存放方法及其装置

NºPublicación:  CN121812099A 07/04/2026
Solicitante: 
苏州艾隆科技股份有限公司
CN_121812099_PA

Resumen de: CN121812099A

本发明公开了一种用于药库的药品存放方法及其装置,该药品存放方法包括以下步骤:获取多个领单,以及所有领单中的所有种类的药品,将所有药品划分为若干类;每个类均对应到一个储药区域,对每个类均进行以下处理:持续优化所述类中的核心药品对应的储药装置,直至任意两个核心药品对应的距离测量值之和最小,距离测量值=两个核心药品对应的储药装置之间的距离×对应的关联度×两个核心药品对应的优先级的和,之后,将核心药品放入到对应的储药装置中。该药品存放方法能够合理规划各类药品的存放位置,减少取药过程中的行走路程,进而提升取药效率、降低劳动强度、保障用药及时性与准确性。

一种面向长途运输的大型运载车辆安全管控方法、系统、装置及存储介质

NºPublicación:  CN121810151A 07/04/2026
Solicitante: 
合肥维天运通信息科技股份有限公司黄山路歌物流科技有限公司
CN_121810151_PA

Resumen de: CN121810151A

本发明公开了一种面向长途运输的大型运载车辆安全管控方法及系统,包括:车辆完成装载货物后记录车厢总载重、车厢载物后的原始图像;构建总载重‑位移量关联模型数据库、总行驶时长‑位移量关联模型数据库;车辆行驶过程中获取并计算货物的,并在总载重‑位移量关联模型数据库内查找对应的预设位移量;当偏移量与预设位移量超过预设值a时,在总行驶时长‑位移量关联模型数据库内查找对应的位移量;当对比结果超过预设值b时,启动报警。本申请通过构建总载重‑位移量关联模型数据库、总行驶时长‑位移量关联模型数据库,通过实时数据对比判断车厢内的货物是否存在移位风险,实现对长途运输过程中货物安全与运营效率的管控。

一种基于大型运载车辆的长途运输安全管控方法

NºPublicación:  CN121810150A 07/04/2026
Solicitante: 
合肥维天运通信息科技股份有限公司黄山路歌物流科技有限公司
CN_121810150_PA

Resumen de: CN121810150A

本发明公开了一种基于大型运载车辆的长途运输安全管控方法及系统,包括:车辆完成装载货物后记录车厢总载重及原始整体图像;将车厢划分为m个子区域,记录子区域的载重及原始子图像;构建总载重‑位移量关联模型数据库、分载重‑位移量关联模型数据库;车辆行驶过程中计算车厢货物整体的偏移量,与预设位移量比对;当超出预设值a时,计算m个子区域的偏移量,与平均位移量进行对比,当超出预设值b时,启动报警。本申请建立双模型数据库协同体系,利用两种模型互补形成全面且精准的货物移位风险判断体系,直接降低货物损失、提升运营效率,适用于长途物流、多品类货物运输、复杂路况等场景,有助于物流企业实现安全化、智能化、高效化管理。

基于单通道模型与分支界限法的AMR调度方法及系统

NºPublicación:  CN121809898A 07/04/2026
Solicitante: 
怡丰技术有限公司
CN_121809898_PA

Resumen de: CN121809898A

本发明提供一种基于单通道模型与分支界限法的AMR调度方法及系统,该方法中,首先建立单通道模型,构建单通道坐标系并将AMR的二维空间占用投影为坐标系X轴上的一维区间,基于所述单通道模型,采用分支界限法进行多AMR任务分配与任务执行时序规划,针对时序规划中检测到的冲突,非同向冲突时生成等待分支和推车分支,生成调度策略,基于分支界限法求解得到的最优时序解,建立相邻AMR间的时序硬约束,根据调度策略分配段表并触发控制信号,执行过程中监控子任务状态及相邻AMR运行状态,满足时序硬约束时启动移动子任务,通过上述方式,实现多AMR的高效协同、低延迟及零碰撞运行。

一种基于标签盘点的货物管理方法、装置、介质及产品

NºPublicación:  CN121810185A 07/04/2026
Solicitante: 
重庆先锋智能科技有限公司
CN_121810185_PA

Resumen de: CN121810185A

一种基于标签盘点的货物管理方法、装置、介质及产品,涉及数据处理领域。在该方法中,启动扫描会话,并创建暂存标签集合和确认标签集合;监听并接收蓝牙标签广播的数据包,并提取每个数据包对应的蓝牙标签的标签ID和信号强度指示值;在暂存标签集合中,为每个标签ID创建信号特征档案;若确定标签ID通过读取质量验证,则将标签ID从暂存标签集合移动至确认标签集合;在预设扫描周期结束时,终止扫描会话,并将确认标签集合中的所有标签ID作为成功读取列表,将暂存标签集合中的标签ID识别为弱信号标签;将成功读取列表和弱信号标签上传至中央管理平台,以进行货物管理和复扫提醒。实施本申请提供的技术方案,提高了货物扫描的准确性。

面向续航约束的多无人机物流换电协同调度优化方法

NºPublicación:  CN121809991A 07/04/2026
Solicitante: 
陕西子竹实业股份有限公司
CN_121809991_PA

Resumen de: CN121809991A

本发明涉及无人机物流管理技术领域,具体涉及面向续航约束的多无人机物流换电协同调度优化方法,包括:利用无人机的剩余电量,获取电状态置优因子;确定物流工况紧迫度;基于电状态置优因子和物流工况紧迫度,获取续航约束系数;利用无人机与其最近换电站的间距,以及续航约束系数,确定续航作业告警度;基于最近换电站内的总空缺位占比以及已换电时长均值,获取修正后的续航作业告警度;根据修正后的续航作业告警度,确定机用电需表现度;利用机用电需表现度,获取物流换电迫切度;基于物流换电迫切度,确定换电调度预警指标;根据换电调度预警指标进行换电预警。本发明能够提高面向续航约束的多无人机物流换电协同调度优化效率。

一种基于图神经网络的应急资源储备智能预测系统及方法

NºPublicación:  CN121809987A 07/04/2026
Solicitante: 
福建港航船舶工程咨询管理有限公司
CN_121809987_PA

Resumen de: CN121809987A

本发明涉及智能预测技术领域,公开了一种基于图神经网络的应急资源储备智能预测系统及方法,包括:时空图构建模块,采集港口、泊位、航道段、应急仓库和船舶信息、通行时窗信息及突发事件信息,构建事件流异构时空图;骨干筛选模块,筛选骨干子图并设置关系特征转换规则和时间特征表示规则;图记忆更新模块,更新节点与边特征;多任务预测模块,输出分位数需求预测、可达性评分、运输时效和安全库存阈值;一致约束训练模块,执行一致性约束训练;库存调拨决策模块,生成调拨分配量并输出预计到达时间;泊位时窗回灌模块,生成泊位作业时间窗并回灌实际到达时间。本发明实现了应急资源需求预测、库存阈值计算与调拨及泊位作业联动决策。

基于全链路数据的零售库存优化方法及系统

NºPublicación:  CN121810177A 07/04/2026
Solicitante: 
智慧零售技术服务(深圳)有限公司
CN_121810177_PA

Resumen de: CN121810177A

本发明公开了基于全链路数据的零售库存优化方法及系统,涉及库存管理技术领域,通过搭建全链路数据采集通道,协同采集零售业务全流程的多维度数据,并对数据进行分层预处理构建全链路数据资源池;同时构建库存关联分析模型,明确多维度数据与库存状态及临期商品分级的关联逻辑;基于模型输出结果生成包含商品补货、库存调拨、滞销商品处理以及临期商品分级处置等方案的初始库存优化方案;并建立动态调整与供应链闭环反馈机制,实时调整方案并将处置数据反馈至上游供应链,有效解决了传统技术中数据整合不足、临期商品处置缺乏标准化体系、供应链协同缺失等问题。

可持续航空燃料供应链网络的低碳路径优化方法、装置、设备及存储介质

NºPublicación:  CN121809802A 07/04/2026
Solicitante: 
中国民航大学
CN_121809802_PA

Resumen de: CN121809802A

本申请公开了一种可持续航空燃料供应链网络的低碳路径优化方法、装置、设备及存储介质,该方法包括:获取可持续航空燃料供应链网络相关对象的空间分布信息以及碳排放因子;采用产量加权的聚类方法基于生物质原料产量分布进行聚类,确定生物质原料收集站的初始位置,基于所述初始位置和铁路缓冲区确定生物质原料收集站的最终位置;构建可持续航空燃料供应链网络;在可持续航空燃料供应链网络的基础上构建可持续航空燃料供应链网络的碳排放模型,并对碳排放模型进行优化求解,得到可持续航空燃料供应链网络的最优低碳路径方案。由此,可以提供合理的低碳路径方案,可以进一步降低碳排放。

一种基于BIM的建筑用物流机器人任务分配方法及装置

NºPublicación:  CN121809995A 07/04/2026
Solicitante: 
上海建工五建集团有限公司
CN_121809995_PA

Resumen de: CN121809995A

本发明所述的基于BIM的建筑用物流机器人任务分配方法,包括获取施工BIM数据信息,根据所述BIM数据信息确定建筑施工所需建筑材料用量及对应时间节点信息;将所述所需建筑材料用量及对应时间节点,与物流机器人的运力相匹配,确定在对应时间节点至少所需物流机器人的数量信息;根据当前物流机器人的数量及运力情况,分配对应时间节点的物流机器人的搬运任务。上述基于BIM的建筑用物流机器人任务分配方法能够根据施工BIM数据信息,结合物流机器人的数量和运力,分配对应的搬运任务,无需人工参与,提高了搬运效率。

一种油改电各物料溯源管理系统及方法

NºPublicación:  CN121810322A 07/04/2026
Solicitante: 
龙岩学院福建龙辉青云新能源科技有限公司
CN_121810322_PA

Resumen de: CN121810322A

本发明涉及物料溯源管理技术领域,具体为一种油改电各物料溯源管理系统及方法,系统包括节点行为分析模块、编号链延展模块、压力调整模块、跨域权重迁移模块和编号链固化模块。本发明中,通过将跨周期节点的编码差异汇集为可比对状态序列,异常节点在路径延展中呈现更易察觉的变化轨迹,装配记录与紧固表现被纳入统一状态体系,质检信息在同一逻辑下完成跨环节对照,物料在多环节间形成连续衔接与稳定过渡,节点关系在链路中展现更具一致性的结构特征,每类状态在统一下保持递进关联,异常来源因状态固化而具备可识别性,跨环节记录因逻辑统一而维持顺畅衔接,整体流转链在连贯性、可校核性、异常察觉能力与跨节点关联度方面均得到提升。

基于时序多模态特征融合的集装箱状态智能预测方法及系统

NºPublicación:  CN121810146A 07/04/2026
Solicitante: 
广西机电职业技术学院
CN_121810146_PA

Resumen de: CN121810146A

本发明公开了基于时序多模态特征融合的集装箱状态智能预测方法及系统,涉及人工智能领域,本方案采集集装箱的视觉图像序列与传感器数据,并进行时序对齐;随后提取数据的结构、纹理及时频特征,经时序卷积网络与双流Transformer获取具有时空上下文的模态特征;通过特征交叉注意力融合模块对视觉与传感特征执行双向关联增强,输出融合联合特征表示;在此基础上,构建因果图模型并进行因果效应估计与反事实推理,生成异常成因解释报告;最后将融合特征与因果信息输入共享主干的多任务预测网络,输出多级告警与优先级运维建议;本方法实现了多模态数据的统一建模、异常成因可解释与预测决策联动,显著提升集装箱运输过程的安全性与运维智能化水平。

物流快速分拣输送方法及装置

NºPublicación:  CN121810174A 07/04/2026
Solicitante: 
进仓侠物流供应链(苏州)有限公司
CN_121810174_PA

Resumen de: CN121810174A

本申请提供了物流快速分拣输送方法及系统,该方法包括:采集货物的时序图像以获取识别结果;基于识别结果、订单信息和仓库拓扑数据,利用多目标路径优化模型以获取最优路径调度信息;基于最优路径调度信息,实时调整分拣臂以实现抓取和投放操作;基于最优路径调度信息、分拣臂抓取位置和投放速度,同时同步更新货物对应的输送带的速度和方向,以实现及时定点分拣和输送;监测并计算分拣过程的错误率,若超过预设区间,则触发自适应学习模块以优化多目标路径优化模型。该方法显著提升分拣系统的整体响应速度与处理精度,且具备持续迭代能力,能够主动识别分拣偏差并优化路径规划策略,从而降低人工干预需求,提高仓储作业的智能化水平与长期稳定性。

吊挂系统业务处理方法、装置和存储介质

NºPublicación:  CN121807957A 07/04/2026
Solicitante: 
浙江杰克成套智联科技有限公司
CN_121807957_PA

Resumen de: CN121807957A

本申请涉及一种吊挂系统业务处理方法、装置和存储介质,其中,该吊挂系统业务处理方法包括:配置异步线程及缓存数据库;缓存数据库用于存储出站读卡后业务主线程写入的衣架数据,且业务主线程在写入衣架数据的同时,同步触发对衣架出站指令的下发;利用异步线程从缓存数据库中获取多个衣架数据,并将衣架数据暂存至异步线程队列;在异步线程队列中的衣架数据数量超过预设数量阈值,或距离上一次产量计算任务完成的时间到达预设时间阈值时,利用异步线程触发产量计算任务,并计算产量数据;利用异步线程将产量数据推送至预设的终端看板进行实时展示,通过本申请,解决了相关技术中无法兼顾快速出站与实时数据统计的问题。

基于MES的轴承销售管理系统

NºPublicación:  CN121810171A 07/04/2026
Solicitante: 
域创(山东)信息科技发展有限公司
CN_121810171_PA

Resumen de: CN121810171A

本发明涉及轴承销售技术领域,尤其涉及基于MES的轴承销售管理系统,包括销售管理模块、仓库管理模块、备货管理模块、统计报表模块、修造协同模块,本发明建立实时联动机制,提升交付效率:通过打通订单状态与库存状态的实时数据通道,解决了订单与库存脱节的核心问题,实现按需、精准、自动化的备货指令生成,有效提升了大修轴承的修造精度与产品一致性,保障了客户端关键部件的运行安全性。

任务信息处理方法、装置、计算机设备、可读存储介质和程序产品

NºPublicación:  CN121809877A 07/04/2026
Solicitante: 
顺丰科技有限公司
CN_121809877_PA

Resumen de: CN121809877A

本申请涉及一种任务信息处理方法、装置、计算机设备、计算机可读存储介质和计算机程序产品。所述方法包括:获取第一配送对象的初始配送任务信息;在初始配送任务信息指示初始配送任务满足任务协作条件的情况下,获取第一配送对象的任务协作规则;根据任务协作规则对初始配送任务进行任务分配,得到第一配送对象的第一配送任务和第二配送对象的第二配送任务;其中,第二配送对象与第一配送对象存在任务协作关系;向第一配送对象发送第一配送任务信息,向第二配送对象发送第二配送任务信息;第一配送任务信息用于提示第一配送对象执行第一配送任务,第二配送任务信息用于提示第二配送对象执行第二配送任务。采用本方法能够提高物流配送效率。

一种柔性供应链韧性评估的全链路协同优化方法

NºPublicación:  CN121810186A 07/04/2026
Solicitante: 
浙江开心果数智科技有限公司
CN_121810186_PA

Resumen de: CN121810186A

本发明公开了一种柔性供应链韧性评估的全链路协同优化方法,涉及供应链智能管理技术领域,包括获取供应链多源数据并进行预处理,得到结构化时序数据集;构建供应链异构图并与领域知识图谱融合,得到供应链语义图结构;通过规则计算和大语言模型推理相结合的方式,生成韧性指标集并识别供应链薄弱环节;将订单数据输入时序预测模型得到未来需求预测值,计算供应链风险预测结果;生成候选方案集,将韧性指标集和候选方案集输入多目标优化模型进行求解,生成协同指令集;执行协同指令集并采集反馈数据,根据反馈数据更新模型参数。本发明实现了供应链韧性的智能化评估和风险的精准预警,通过协同优化显著提升了供应链的抗风险能力和响应效率。

一种自动导引车避让调度方法、设备及介质

NºPublicación:  CN121799449A 07/04/2026
Solicitante: 
潍柴动力股份有限公司
CN_121799449_PA

Resumen de: CN121799449A

本申请公开了一种自动导引车避让调度方法、设备及介质,其中方法包括:响应于单个调度系统产生新配送任务,获取来自于多个调度系统的当前调度信息;响应于当前调度信息会导致预先构建的物流仿真模型发生路径冲突,确定各自动导引车的避让路径,以及避让路径对应的目标优化数据;基于遗传算法,对目标优化数据进行优化,得到目标调度信息;基于目标调度信息,对各自动导引车进行避让调度。通过将多个调度系统的自动导引车物流整合至同一虚拟仿真模型内,提前预测多调度系统的自动导引车移动过程中的潜在冲突,并根据任务紧急度动态调整路径规划,将路径分别发送至不同调度系统,从而实现全局优化调度。

基于交通网和电网耦合模型的港口韧性优化方法和系统

NºPublicación:  CN121809797A 07/04/2026
Solicitante: 
国网上海市电力公司上海交通大学
CN_121809797_PA

Resumen de: CN121809797A

本发明涉及一种基于交通网和电网耦合模型的港口韧性优化方法和系统,方法包括:获取港口的交通网和电力网络的系统配置和结构参数;在港口发生极端事件前计算港口初始状态的集装箱吞吐量;在港口发生极端事件后,根据交通网和电网耦合模型,逐步计算各个时刻由交通网和电力网络构成的耦合网络的运行状态,计算港口最低状态的集装箱吞吐量;在对港口进行修复工作后,根据交通网和电网耦合模型逐步获取恢复策略,以对港口进行修复,并获取港口恢复后达到稳定状态的集装箱吞吐量;根据港口在初始状态、最低状态和稳定状态的集装箱吞吐量,计算港口韧性指数,以进行港口配置优化。与现有技术相比,本发明实现了港口韧性的准确、完整的量化评估和优化。

一种物流仓库内基于客户订单流的拣选路径优化方法

NºPublicación:  CN121810183A 07/04/2026
Solicitante: 
宁波亚集物流有限公司
CN_121810183_PA

Resumen de: CN121810183A

本发明涉及仓储物流数据处理与作业控制技术领域,公开了一种物流仓库内基于客户订单流的拣选路径优化方法,该方法包括:构建配送网络并生成基于后进先出规则的理论装载顺序向量;执行拣选打托并采集实测物理属性;生成植入门店拓扑索引的托盘识别码;建立单证数据与实物属性的关联映射;构建动态装载联锁状态机定义合法装载集合;解码托盘识别码并与状态机比对以控制装载权限。本发明通过单证迟延绑定与拓扑编码技术,实现了物理作业与单证流转的时间解耦,并利用状态机联锁机制强制约束装载时序,有效提升了仓库作业效率,杜绝了多点卸货场景下的装载死锁风险,保障了供应链交付数据的准确性。

一种基于多模态数据融合的粮仓粮情监控方法和系统

NºPublicación:  CN121810181A 07/04/2026
Solicitante: 
重庆安全技术职业学院重庆三峡学院
CN_121810181_PA

Resumen de: CN121810181A

本申请提供了一种基于多模态数据融合的粮仓粮情监控方法和系统,该方法通过获取粮仓内粮堆的当前状态数据,粮仓外的当前环境温度数据、当前环境湿度数据,根据当前状态数据,确定粮仓内粮堆的当前风险指数,若当前风险指数大于或等于预设风险指数阈值,则将粮仓内粮堆的存储状态异常作为粮情监控结果,若当前风险指数小于预设风险指数阈值,则基于当前多模态融合数据和历史多模态融合数据,确定粮仓内粮堆在未来时刻的风险指数,将未来时刻的风险指数与预设风险指数阈值的比对结果,作为粮情监控结果;本申请能够对未来时刻粮仓内粮食存储状态的估计,有利于管理人员根据粮仓内粮食存储状态的估计结果,及时采取应对措施。

一种基于冷链运输品质劣化趋势分析的预警系统及方法

NºPublicación:  CN121810161A 07/04/2026
Solicitante: 
亳州远信冷链物流有限公司
CN_121810161_PA

Resumen de: CN121810161A

本发明涉及食品冷链物流技术领域,具体公开了一种基于冷链运输品质劣化趋势分析的预警系统及方法,所述方法包括:S1、实时获取目标冷链运输单元在运输过程中的多维时序环境数据;S2、根据预设的特定易腐食品的基质物性参数与物理结构稳定性参数,通过预设的计算规则,对所述多维时序环境数据进行分析,分别获得反映该食品生化品质变化的实时基础劣化因子以及反映其物理结构损伤风险的实时机械劣化因子;本发明通过实时采集多维环境数据,并依据食品特性将其转化为分别反映生化与物理劣化的实时因子,进而融合为综合指数,最终对该指数的未来趋势进行数学外推并与动态阈值进行前瞻性比对,实现了从静态监控到动态预测的转变。

基于计算机视觉的分拣自动识别与预警系统

NºPublicación:  CN121797645A 07/04/2026
Solicitante: 
河南交通职业技术学院
CN_121797645_PA

Resumen de: CN121797645A

本申请涉及物流自动化与智能检测技术领域,公开了基于计算机视觉的分拣自动识别与预警系统,包括视觉感知模块,用于采集包裹多维信息并进行物理预分类;策略生成模块,根据预分类结果动态生成探测参数集;物理探测模块,根据所述参数集对包裹施加主动物理激励,并同步采集声学、热学及表面形变等多模态响应数据;融合决策模块,处理所述多模态响应数据以提取物理特征向量,进而确定包裹的健康状态并生成分拣预警指令。本发明还提供了一种相应的方法。通过上述方案,实现了对包裹内部破损、结构疲劳等潜在风险的前置性识别,探测方案具有自适应性,且多模态融合决策提升了识别的准确性与鲁棒性。

物流信息处理方法、装置、设备及介质

NºPublicación:  CN121810165A 07/04/2026
Solicitante: 
北京百度网讯科技有限公司
CN_121810165_PA

Resumen de: CN121810165A

本公开提供了一种物流信息处理方法、装置、设备及介质,涉及数据处理领域,具体涉及深度学习、人工智能和大模型技术领域。具体实现方案为:获取物流系统发送的当前物流轨迹信息;当确定当前物流轨迹信息命中映射关系中标准物流状态时,获取所述当前物流轨迹信息命中的标准物流状态;当确定当前物流轨迹信息未命中映射关系中标准物流状态时,根据历史物流信息,对所述当前物流轨迹信息进行语义识别,得到所述当前物流轨迹信息命中的标准物流状态;将所述当前物流轨迹信息和命中的标准物流状态,添加到物流聚合表中。本公开实施例可以兼顾提高物流轨迹的聚合效率和准确性。

一种物品装载的方法和装置

NºPublicación:  CN121810164A 07/04/2026
Solicitante: 
北京京东远升科技有限公司
CN_121810164_PA

Resumen de: CN121810164A

本发明公开了一种物品装载的方法和装置,涉及物流管理技术领域。该方法的一具体实施方式包括:基于订单出发点、目标点和装货时间窗口组成的三维索引构建待处理订单数据的树形数据结构,且待处理订单数据分别存储在树形数据结构中的叶子节点,根据待处理订单数据的目标订单参数查询叶子节点中的数据,得到各个目标参数对应的查询结果,并生成订单分组,根据装载约束条件和订单分组生成装载方案。该实施方式能够对物品进行准确分组,快速生成物品装载方案,以提高装载效率。

一种仓储库位动态分配方法

NºPublicación:  CN121810173A 07/04/2026
Solicitante: 
无锡星智数服科技有限公司
CN_121810173_PA

Resumen de: CN121810173A

本发明涉及库位智能分配的技术领域,公开了一种仓储库位动态分配方法,包括以下步骤:获取运输任务、实时的库位信息和运输工具信息;从库位信息中筛选出空闲库位作为候选库位并生成不同的计划路径;基于预设的算法计算出每个计划路径的综合得分;将综合得分最高的计划路径作为最优路径;根据最优路径生成多个按顺序依次排列的行动指令;若行动指令存在潜在冲突,则在对应行动指令之前插入等待指令,并获取冲突对象的时间窗,在冲突对象的时间窗中插入避让指令,当所有行动指令均判断结束后,将所有行动指令和等待指令按序存储到运输工具的时间窗中。通过上述方法有效提高设备、仓库库位的利用率,且基于冲突预测有效避免操作中的冲突率。

一种变压器铁心包装及运输方案的生成方法

NºPublicación:  CN121809754A 07/04/2026
Solicitante: 
无锡星智数服科技有限公司
CN_121809754_PA

Resumen de: CN121809754A

本发明涉及方案设计的技术领域,公开了一种变压器铁心包装及运输方案的生成方法,包括以下步骤:获取任务单,并将任务单存储到预设的临时库中;基于预设的触发条件根据临时库中的任务单生成初始方案、若干优化方案和若干拼托方案,每个子方案包含相应的包装信息和物流信息;分别计算初始方案、优化方案和拼托方案的综合评分;选取综合评分最高的方案作为最优方案。将任务单集中处理,以便于尝试更多种跨订单的组合方式,形成多样化的拼托方案,从而在初始方案、优化方案、拼托方案中筛选出最佳的包装、运输方案,改变了依赖人工经验的模式,使包装运输方案基于真实的物料、物流数据计算得出,兼顾了成本、时效、安全等多个方面。

啤酒包材的库存管控方法、装置和计算机设备

NºPublicación:  CN121810172A 07/04/2026
Solicitante: 
华润雪花啤酒(中国)有限公司
CN_121810172_A

Resumen de: CN121810172A

本申请涉及一种啤酒包材的库存管控方法、装置和计算机设备。方法包括:获取啤酒包材的各版本包材的包材属性信息、各啤酒产品的产品配方信息和产品库存参数、以及产品生产月计划,并通过需求分析策略,识别各版本包材的生产需求齐套量;基于各啤酒产品的产品库存参数、以及产品生产月计划,通过差异化库存参数适配策略,适配安全库存参数,并基于安全库存参数,通过历史产品生产数据库,识别每个啤酒产品对应的各版本包材的安全库存齐套量;基于各版本包材的生产需求齐套量、以及各版本包材的安全库存齐套量,生成各版本包材的库存调整建议信息。采用本方法能够提升了对啤酒包材的库存管控效果。

用于扁平件的标签修正方法、系统、电子设备及程序产品

NºPublicación:  CN121810143A 07/04/2026
Solicitante: 
深圳顺丰泰森控股集团有限公司
CN_121810143_PA

Resumen de: CN121810143A

本公开提供了一种用于扁平件的标签修正方法、电子设备及程序产品,涉及物流技术领域。方法包括:响应于扁平件专用分拣设备对快件的扫描操作,获取所述快件的扁平件标签识别结果;基于所述扁平件标签识别结果,为运单系统中缺少扁平件标签的快件增加用于本次分拣的临时扁平件标签后,指示所述扁平件分拣设备进行分拣,以及在分拣后进行扁平箱装箱操作,获得所述快件对应的扁平件装箱操作结果;基于所述快件对应的扁平箱装箱操作结果,对运单系统中所述快件对应的快件类型进行修正。本公开用以提高扁平件的保障率和保障效果。

列车运行分配方法、装置、计算机设备、介质和产品

NºPublicación:  CN121799476A 07/04/2026
Solicitante: 
国家能源集团新能源技术研究院有限公司国家能源投资集团有限责任公司国网浙江省电力有限公司杭州供电公司
CN_121799476_PA

Resumen de: CN121799476A

本申请涉及一种列车运行分配方法、装置、计算机设备、介质和产品,建立联合张量并写入调度共享内存单元,可在毫秒级完成对全网状态的一次性对齐,为并行的节点智能体提供同步、不丢帧的决策基座,并为后续全局‑局部耦合奠定低时延的共享数据环境。联邦批评器同步接收动作与全局张量,计算天窗挤压、股道拥堵、空车不足三指标并广播差分激励,实现信息一致、时延受控的多轮联邦协同,区别于传统多智能体框架只能依赖单一全局奖励而难以快速分摊信用的模式。在批评器侧引入基于最坏百分位模板及哈达玛掩码的扰动生成器,提升极端场景鲁棒性。实时闭环监控在触发阈值后复用该链路,实现算法‑调度一体化的连续运转。

一种物流运输服务智能决策方法

NºPublicación:  CN121810153A 07/04/2026
Solicitante: 
四川蜀坦人工智能科技有限公司
CN_121810153_PA

Resumen de: CN121810153A

本发明属于医药物流运输领域,具体涉及一种物流运输服务智能决策方法,其中方法包括S1、获取待配送医药订单的行业约束信息;S2、基于所述行业约束信息,动态确定适用于当前订单的决策策略,所述决策策略定义成本、服务质量合规性及操作风险之间的量化权衡关系;S3、依据所述决策策略,对多个候选物流服务商进行多目标综合评价,生成融合了预测配送成本与物流服务商历史合规风险表现的综合评价结果;S4、根据所述综合评价结果,选定物流服务商以执行订单配送;S5、基于所选物流服务商执行订单后反馈的实际配送结果数据,对步骤S2中的决策策略确定逻辑进行优化迭代。

一种基于动态配置的供应链业务指标计算与监控方法

NºPublicación:  CN121807404A 07/04/2026
Solicitante: 
扬腾创新(福建)信息科技股份有限公司
CN_121807404_PA

Resumen de: CN121807404A

本发明公开了一种基于动态配置的供应链业务指标计算与监控方法,包括:提供统一动态的配置表;基于调度类型与调度参数,选择调度策略类并创建调度任务,进行任务生命周期管理;在调度任务触发时,根据数据源信息与数据查询语句获取业务数据;根据计算规则类型,调用计算策略类,结合计算表达式对业务数据进行计算,得到指标值;根据业务服务标识和业务指标名称将指标值封装为监控指标,为监控指标附加监控标签,将监控指标上报至可视化监控平台;在可视化监控平台中,自动发现并展示该监控指标,支持按监控标签进行多维度展示和下钻分析,并配置告警规则。本发明解决了指标新增需硬编码、计算规则固定、调度策略僵化、配置分散的问题。

基于多传感器融合的原粮静态仓储在线检测系统

NºPublicación:  CN121810180A 07/04/2026
Solicitante: 
无锡中粮工程科技有限公司中粮贸易江苏有限公司
CN_121810180_PA

Resumen de: CN121810180A

本发明涉及原粮仓储管理技术领域,尤其涉及基于多传感器融合的原粮静态仓储在线检测系统,包括:采集粮堆的收购粮源初检数据,并通过部署于粮仓内的多源传感器网络,同步采集粮堆的化学气体数据和环境状态数据;结合收购粮源初检数据与环境状态数据,对粮堆的异质性风险进行溯源分析;结合粮堆的化学气体数据和环境状态数据,对粮堆的呼吸积热风险进行动态模拟分析;融合粮堆的异质性风险溯源分析结果和呼吸积热风险动态模拟分析结果,对仓储原粮的储粮风险进行评估;根据仓储原粮的储粮风险评估结果,对仓储原粮进行处置决策;从而提升了储粮安全的保障水平与管理效率,从源头上降低了霉变腐败风险、有效避免了原粮在仓储过程中的品质劣变。

一种基于大数据分析的医院供应链订单数据优化方法

NºPublicación:  CN121810176A 07/04/2026
Solicitante: 
四川高芯数康生物医药有限公司
CN_121810176_PA

Resumen de: CN121810176A

本发明公开了一种基于大数据分析的医院供应链订单数据优化方法,涉及订单数据优化技术领域,包括,在SPD业务链路中的业务事件统一写入订单计划账本、实物流账本与临时出库账本,并同步生成数字孪生仓控塔的状态快照;对紧急临时领用的物资进行预扣减,生成可用库存口径,并写回数字孪生仓控塔;通过从数字孪生仓控塔中读取各类物资的可用库存口径,得到各类物资的余量信息清单,根据余量信息清单对各类物资进行调拨和采购,并将采购单写入订单计划账本;对于每个批次的订单,对订单计划账本与实物流账本进行差异对账,并更新数字孪生仓控塔。本发明通过以账本新增写入触发数字孪生仓控塔刷新,提升库存可用性判定的实时性与准确性。

基于车辆的物件接收方法、装置、系统及车控终端

NºPublicación:  CN121810168A 07/04/2026
Solicitante: 
重庆蓝电汽车科技有限公司
CN_121810168_PA

Resumen de: CN121810168A

本申请公开了一种基于车辆的物件接收方法、装置、系统及车控终端,涉及车辆技术领域。其中方法包括:在车控终端已确认将当前待投送物件投送至车辆的情况下,响应于信息转发平台的车辆信息请求,向信息转发平台发送车辆信息,以使得信息转发平台将车辆信息经由目标物流平台转发至投送终端;其中,信息转发平台还与至少一个物流平台通信连接,用于各物流平台与车控终端之间的信息转发;在投送终端与车辆之间的距离小于预设距离阈值的情况下,接收信息转发平台转发的开门请求消息;开门请求消息是投送终端发送给物流平台后,由物流平台转发至信息转发平台的;基于开门请求消息,控制车辆开启车门。采用该方法,可提高物件接收的便利性。

一种基于多智能体强化学习的港口集装箱自动调度方法

NºPublicación:  CN121809933A 07/04/2026
Solicitante: 
安徽海润信息技术有限公司
CN_121809933_PA

Resumen de: CN121809933A

本发明公开了一种基于多智能体强化学习的港口集装箱自动调度方法,包括:S1、建立设备与智能体对应关系,构建任务集合;S2、采集作业状态数据,构建全局与局部状态向量;S3、生成调度约束向量,并依据资源、堆场及路径状态裁剪动作,形成可行动作集合;S4、基于改进型QPLEX算法构建含duplex dueling结构的个体价值网络,计算个体动作价值;S5、构建联合动作价值混合网络,依据全局状态向量混合个体价值,形成联合动作价值;S6、构建训练样本,区分聚合即时与延迟回报,更新网络参数;S7、在线调度时,依据联合动作价值选择最优动作组合,生成并下发调度指令。本发明实现了港口集装箱作业的自动化协同调度。

箱型推荐方法、计算机设备、可读存储介质和程序产品

NºPublicación:  CN121810144A 07/04/2026
Solicitante: 
顺丰科技有限公司
CN_121810144_PA

Resumen de: CN121810144A

本申请涉及一种箱型推荐方法、计算机设备、可读存储介质和程序产品,涉及智能物流与供应链优化技术领域,能够适应复杂多变的物流业务场景。方法包括:获取物流业务开展过程中的多维度特征信息;多维度特征信息,包括表征待装箱的第一货物的物理属性的货物特征信息、表征多个可用的箱型的物理属性和承载性能的箱型特征信息及表征物流业务需求的业务场景特征信息;根据多维度特征信息,确定多个第一三维模型及各第一三维模型与多个候选箱型之间的第一箱型匹配度;第一三维模型表征第一货物的可能摆放组合,第一箱型匹配度表征第一三维模型摆放在候选箱型对应的箱体内的可行性;根据各第一箱型匹配度,在各候选箱型中确定第一货物的推荐箱型。

基于区块链的产品验证和客户奖励方法、系统以及非暂时性计算机可读介质

NºPublicación:  CN121810306A 07/04/2026
Solicitante: 
乔治·斯特彻夫
CN_121810306_PA

Resumen de: CN121810306A

本申请公开一种基于区块链的产品验证和客户奖励方法、系统以及非暂时性计算机可读介质。所述方法包括:通过在与客户关联的电子装置上执行的去中心化应用程序接收包括与消费产品相关联的唯一码的信息;将所述唯一码与存储在区块链账本上的授权记录进行比较,以验证消费产品的真实性;在验证成功后,将与消费产品链接的集体非同质化代币的一部分分发到与客户关联的数字钱包;以及启用由所述集体非同质化代币的一部分衍生的加密货币代币的质押,并质押情况向客户分发奖励。因此,本申请可以确保消费产品真实性,提供防篡改的审计追踪,并通过代币激励机制提高客户参与度与品牌忠诚度。

一种废钢加工配送方法

NºPublicación:  CN121810227A 07/04/2026
Solicitante: 
中冶赛迪工程技术股份有限公司
CN_121810227_PA

Resumen de: CN121810227A

本发明涉及提供一种废钢加工配送方法,属于再生资源回收技术领域,通过废钢管理系统来保证废钢加工中心的透明公开,公平公正,打消钢铁厂客户对废钢掺假和废钢资源不足难以保供生产的顾虑。通过减少废钢多次堆存、转运的工序,降低废钢成本,为废钢加工中心和钢铁厂创造效益。本发明从废钢回收、分选、加工、配送全过程考虑,整体优化废钢加工中心和钢铁厂共同承担的工序步骤,通过减少不必要的废钢转运、堆存,促进再生钢铁资源的高质化应用,还有利于让废钢加工中心朝着大型化、规模化、智能化、高效化发展。

智能物流调度方法、装置和计算机设备

NºPublicación:  CN121810002A 07/04/2026
Solicitante: 
深圳市智汇奇策科技有限公司
CN_121810002_PA

Resumen de: CN121810002A

本申请涉及一种智能物流调度方法、装置和计算机设备。所述方法包括:响应于资源调度触发事件,获取订单数据和/或运力数据;获取扰动配置模板,按照扰动配置模板分别对订单数据和/或运力数据进行相应的调整,得到扰动组合数据;基于扰动组合数据预测得到参考物流积压时段以及对应的参考物流积压数据;在参考物流积压时段内,若基于当前物流积压数据与参考物流积压时段对应的参考物流积压数据之间的差距确定出目标参考物流积压数据,则获取与目标参考物流积压数据对应的参考调度资源和参考调度方式,以进行资源调度。采用本方法能够通过预先推测调度方案显著提升资源调度的响应速度,从而提升高峰时段系统的稳定性。

用于物流管理平台的异常监测分析方法

NºPublicación:  CN121810156A 07/04/2026
Solicitante: 
四川水利职业技术学院
CN_121810156_PA

Resumen de: CN121810156A

本发明涉及用于物流管理平台的异常监测分析方法,包括以下步骤:S1:通过平台的协同监控层,实时采集并整合来自订单管理、仓储管理、运输管理和成本结算各子系统中的结构化与非结构化异构数据,获取到整合后的数据;S2:基于整合后的数据,构建并运行一个多模型并行的异常分析引擎;该引擎包括至少四个独立的异常分析模型,分别用于时效异常、路径偏移异常、运单状态逻辑异常以及成本消耗异常的分析;本发明可整合多子系统数据,多模型覆盖多个异常场景,经聚合验证与置信评估降误漏,可视化溯源与模型自适应优化,实现高效精准智能的物流异常监测。

一种低空物流无人机集群自适应航线规划与避障方法

NºPublicación:  CN121806996A 07/04/2026
Solicitante: 
西安航普电子有限责任公司
CN_121806996_PA

Resumen de: CN121806996A

本发明公开了一种低空物流无人机集群自适应航线规划与避障方法,涉及航线规划技术领域,用于解决在局部限飞区或临时管控空域条件下容易出现任务中断或整体返航的问题,通过对空域管控信息进行结构化解析,结合无人机航线控制点数据,对航线进行受限航段与可执行航段的精确划分,通过路径搜索算法为受限航段生成最短绕飞路径,并基于可执行航段预测无人机的任务剩余执行时间,对于不具备绕飞优势的无人机,触发任务接力决策,通过综合分析非标记无人机的飞行距离、能耗余量及任务延误影响,选择最优节点接管末端航段任务,从而避免整体返航或任务中断,能够在复杂空域条件下显著提升无人机集群的任务连续性与物流时效。

基于人机交互的物流配送控制平台

NºPublicación:  CN121808843A 07/04/2026
Solicitante: 
福建智联万物科技有限公司
CN_121808843_PA

Resumen de: CN121808843A

本发明具体为基于人机交互的物流配送控制平台,涉及物流信息技术领域,包括:物理‑数字索引映射与状态采集模块;空间几何姿态验证模块;基于视口偏差的动态渲染模块;易失性数据安全管理模块。本发明中,物理‑数字索引脱敏结合纯硬件几何姿态无感验证,从源头解决物流隐私泄露与配送作业效率难以兼顾的行业痛点;采用仅印制脱敏基础信息与加密索引的物理面单;敏感信息以加密索引为唯一密钥云端存储,终端拉取后默认进入安全遮蔽态,无前置越权显示可能。

一种大宗物流园区车辆智能排队与调度系统及方法

NºPublicación:  CN121787867A 03/04/2026
Solicitante: 
安徽中凯信息产业股份有限公司
CN_121787867_PA

Resumen de: CN121787867A

本申请提供一种大宗物流园区车辆智能排队与调度系统及方法,涉及智能交通领域,解决了现有技术无法量化多车在入口区域的时空冲突风险,导致高时效货物常因无差别排队而延误的技术问题。该方法包括:获取园区预约范围内各待调度车辆的状态信息,构建每辆待调度车辆的动态优先级得分;将园区入口缓冲区划分为时空网格队列,基于各待调度车辆的动态优先级得分及引导路径,计算待调度车辆两两之间的时空冲突势能值;以最小化总等待时间和总时空冲突势能值为目标,构建多目标混合线性规划模型,基于多目标混合线性规划模型,生成预设时间阈内待调度车辆的滚动调度计划领域。本申请用于物流园区车辆智能排队与调度过程中。

一种炼钢环节废钢配料比例计算方法及系统

NºPublicación:  CN121786300A 03/04/2026
Solicitante: 
中冶赛迪工程技术股份有限公司
CN_121786300_PA

Resumen de: CN121786300A

本发明涉及一种炼钢环节废钢配料比例计算方法,属于炼钢技术领域,包括以下步骤:S1:实时采集炼钢过程中各类废钢的库存情况、废钢收得率、废钢堆密度、温度信息以及钢种的化学成分要求;S2:基于线性规划数学模型,利用采集的数据对目标函数和约束方程进行求解,得到废钢的最佳配料比例;S3:基于最佳配料比例向炼钢设备加入废钢。本发明可以和实际冶炼生产很好地结合,起到降低废钢冶炼成本、避免加入废钢时堵料、稳定生产、提高冶炼质量等作用。

基于多终端协同的冷链供应链智能管理系统及方法

NºPublicación:  CN121788074A 03/04/2026
Solicitante: 
深圳集源冷链科技有限公司
CN_121788074_PA

Resumen de: CN121788074A

本申请涉及数据处理技术领域,公开了一种基于多终端协同的冷链供应链智能管理系统及方法,所述方法包括对多模态基础数据进行区块链哈希存证,生成哈希存证数据;通过金融管理模型和哈希存证数据,确定冷链供应链的风险信息,并根据风险信息生成冷链供应链的目标金融服务信息。通过上述方式,本申请通过各终端设备采集多模态基础数据,并对这些数据实施区块链哈希存证,形成不可篡改的可信数据链。通过预设的金融管理模型对哈希存证数据进行分析,能够动态评估冷链供应链的履约风险、资产价值和资金流健康状况,自动生成适配的金融服务方案,降低了冷链供应链的金融风险系数。

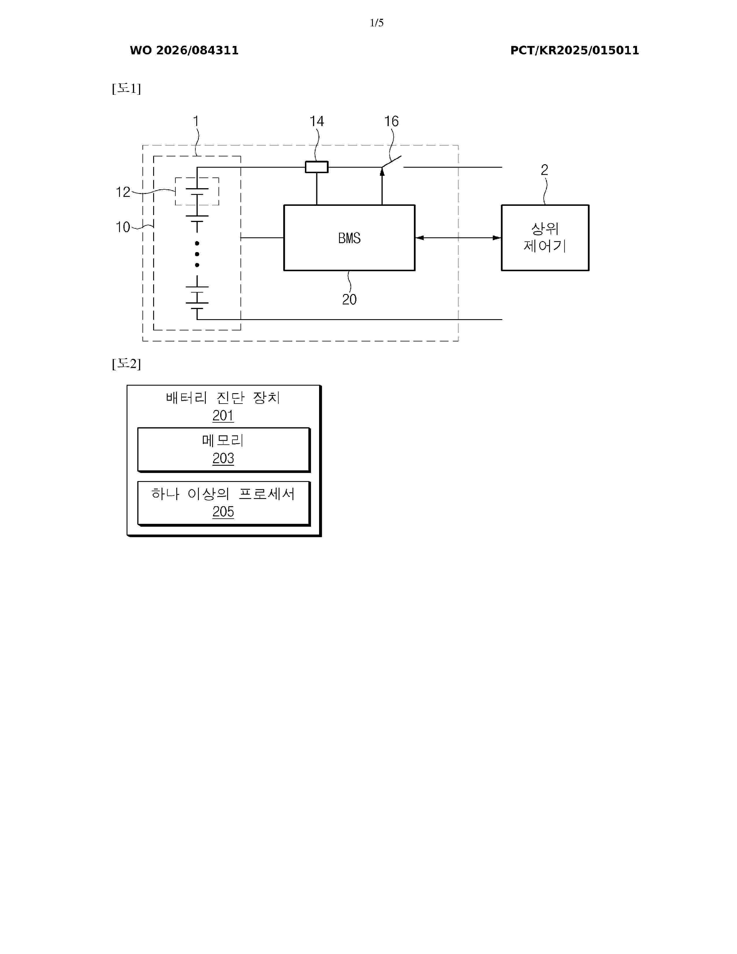
一种解决热点商品高并发场景的方法、装置和存储介质

NºPublicación:  CN121788036A 03/04/2026
Solicitante: 
北京北纬三十度网络科技有限公司
CN_121788036_PA

Resumen de: CN121788036A

本发明公开了电商库存信息管理技术领域的一种解决热点商品高并发场景的方法、装置和存储介质,包括:步骤S1:初始化库存存储结构;步骤S2:库存扫描与排序;步骤S3:锁定库存;步骤S4:分段判定算法;步骤S5:动态库存分段逻辑;步骤S6:最终结果返回,基于动态倍增分段库存方式解决热点商品的高并发访问中的库存加锁等待问题,不仅提升库存管理系统性能,同时提升系统运维效率。

一种港口综合能源系统的运行优化方法及装置

NºPublicación:  CN121787666A 03/04/2026
Solicitante: 
中国电力工程顾问集团有限公司
CN_121787666_PA

Resumen de: CN121787666A

本发明公开了一种港口综合能源系统的运行优化方法及装置,属于能源系统运行调度领域。方法包括:获取港口综合能源系统的运行数据;根据所述运行数据分别建立用于表征起重机配置对船舶停靠状态影响的物流系统模型,以及包含海水淡化装置和水电解制氢装置的能源系统模型;根据所述物流系统模型和所述能源系统模型建立港口综合能源系统的物能耦合模型;根据预设的优化算法,以港口综合能源系统总成本最小为目标函数,物流和能源运行平衡为约束条件对所述物能耦合模型求解,得到港口综合能源系统运行调度的最优方案。本发明能够降低港口运营成本,提升港口能源效率。

一种模块化仓储货架及货物追踪方法

NºPublicación:  CN121778341A 03/04/2026
Solicitante: 
江苏维暻智能物流装备有限公司
CN_121778341_PA

Resumen de: CN121778341A

本发明涉及仓储货架技术领域,公开了一种模块化仓储货架,包括底座、模块化层叠在底座上的多层框架、以及用于承载装有货物的容器的支撑板,所述支撑板安装在框架的内部,上下两个所述框架之间通过限位机构连接;位于顶部的所述框架上安装有用于扫描RFID标签并与WMS关联的RFID读写器,每一层所述框架上均安装有用于检测货架上是否有货的传感器;在储位、容器、货物上均设置了唯一RFID标签,并在货架顶部安装RFID读写器,自动扫描货架储位上容器的RFID标签,实现非接触、批量数据采集,RFID读写器与传感器将采集的数据实时传输至仓库管理系统(WMS),实现了货物从入库到出库的全流程、自动化、高精度实时追踪。

一种基于大数据的供应链运输状态实时监测系统

NºPublicación:  CN121788006A 03/04/2026
Solicitante: 
中京腾沅供应链科技有限公司
CN_121788006_PA

Resumen de: CN121788006A

本发明公开了一种基于大数据的供应链运输状态实时监测系统,涉及实时监测技术领域,包括:开口面积计算模块,基于车内图像帧和车外图像帧生成轮廓集合,基于轮廓集合计算开口面积比;水汽分压计算模块,基于开口面积比计算外部暖湿空气在局部空气中的混入比例,基于混入比例计算混合水汽分压;饱和温度确定模块,基于车内图像帧生成深度位置的图像微对比度,基于深度位置的图像微对比度确定深度位置的表面等效饱和温度。本发明实现了全域深度分布下的精细化热湿环境映射。

物流订单异常的监测方法和装置、电子设备及存储介质

NºPublicación:  CN121786669A 03/04/2026
Solicitante: 
顺丰科技有限公司
CN_121786669_PA

Resumen de: CN121786669A

本申请实施例提供了一种物流订单异常的监测方法和装置、电子设备及存储介质,属于物流技术领域。该方法包括:采集每一物流在途订单的当前物流多模态信息;其中,当前物流多模态信息为物流在途订单在当前物流链路中的多种数据模态的信息流;根据当前物流多模态信息对每一物流在途订单进行物流状态识别,得到每一物流在途订单的当前物流状态;若当前物流状态为物流异常状态,采集物流在途订单的物流异常数据;根据物流异常数据生成物流预警信息,并将物流预警信息发送至预设的物流监测端以使物流监测端对物流在途订单进行异常处理。本申请实施例能够提高物流订单异常的监测时的人力,并提高物流订单异常时的处理效率。

一种成本管理系统及管理方法

NºPublicación:  CN121788039A 03/04/2026
Solicitante: 
谢春村
CN_121788039_PA

Resumen de: CN121788039A

本发明提供一种成本管理系统及管理方法,涉及成本管理领域。该成本管理系统,包括:原材料成本、委外工序成本与员工工资成本,所述原材料成本包括原料金额、入库单号,所述委外工序成本包括采购人员信息、采购金额、采购单号,所述员工工资成本包括工作时间、派工单号与派工金额。通过对不同的成本进行分类,并分别经过单号进行对应即可避免成本核算过程中容易产生重复的问题,并充分考虑成本之间联系,进而利于对成本进行预测并制定控制成本的策略。

一种适用于复杂城区的快递无人机自主航线规划系统

NºPublicación:  CN121788012A 03/04/2026
Solicitante: 
河北雄安朔禧科技有限公司
CN_121788012_PA

Resumen de: CN121788012A

本发明公开了一种适用于复杂城区的快递无人机自主航线规划系统,涉及低空无人机物流配送技术领域;本发明通过动态管制数据交互与预处理模块,实时获取并处理城管、交管部门的动态禁飞/限飞区域数据,确保了航线规划所依据的数据源精准且实时,同时,投递任务优先级判定模块根据快递的时效要求、品类属性及收件用户的历史偏好数据,通过加权算法计算投递任务的优先级系数,为航线规划提供了核心约束条件,这些措施共同提升了航线规划的精准度与效率,确保了快递无人机能够在复杂城区环境中高效、安全地执行投递任务。

基于BIM的地下结构钢格栅设计方法、装置、设备及介质

NºPublicación:  CN121786935A 03/04/2026
Solicitante: 
中水北方勘测设计研究有限责任公司
CN_121786935_PA

Resumen de: CN121786935A

本发明提出了一种基于BIM的地下结构钢格栅设计方法、装置、设备及介质,涉及地下工程设计领域。针对现有技术中洞室形态的拓扑结构变化需依赖设计人员反复手动调整BIM模型,导致建模效率低下且易引入人为误差;钢格栅BIM模型创建与支护力计算分属独立流程,分别由不同人员通过BIM软件与有限元分析软件执行,造成模型几何特征与力学需求无法实时关联,由此产生支护能力不足或设计保守的技术矛盾,本发明根据洞室形态数据进行几何参数分析与支撑构件参数确定,实现了钢格栅设计的全流程自动化与力学需求精准匹配,具有提高地下结构钢格栅设计的自动化程度和精确性,实现了BIM模型创建与力学分析的集成,减少了传统方法中的人为误差和设计脱节问题。

一种基于RFID的药品冷链数据追溯方法及系统

NºPublicación:  CN121788007A 03/04/2026
Solicitante: 
江苏联恒物宇科技有限公司
CN_121788007_PA

Resumen de: CN121788007A

一种基于RFID的药品冷链数据追溯方法及系统,其中,方法包括:获取目标药品电子标签的多个接收信号强度指示,构建RSSI矢量;基于RSSI矢量确定目标传感节点,并获取目标传感节点的当前环境参数值;计算目标药品电子标签的相对位置坐标;分析目标药品电子标签与目标传感节点之间的空间距离关系;基于空间距离关系生成空间映射权重系数;基于空间映射权重系数及当前环境参数值生成目标药品电子标签的虚拟微环境参数;计算目标药品电子标签的环境偏差值,当环境偏差值大于预设环境偏差阈值时,生成异常状态编码并将异常状态编码写入目标药品电子标签的非易失性存储区。本申请能够提高药品冷链数据追溯的准确性。

一种装封箱机二维码管理系统、方法、介质以及程序产品

NºPublicación:  CN121786220A 03/04/2026
Solicitante: 
湖北中烟工业有限责任公司
CN_121786220_PA

Resumen de: CN121786220A

本发明公开了一种装封箱机二维码管理系统、方法、介质以及程序产品,涉及装封箱机自动化作业技术领域。装封箱机二维码管理系统,包括:装封箱机PLC、工控机、触摸屏、相机以及光源控制器;装封箱机PLC,用于向光源控制器以及相机发送第一拍照触发信号以及第二拍照触发信号;光源控制器,用于根据第一拍照触发信号点亮第一光源;根据第二拍照触发信号点亮第二光源;相机,用于根据第一拍照触发信号,拍摄第一待识别二维码图像;根据第二拍照触发信号,拍摄第二待识别二维码图像;工控机用于将第一待识别二维码图像以及第二待识别二维码图像发送至触摸屏。本发明实施例的技术方案能够在设备低维护成本的前提下,对条烟二维码精准追溯。

一种基于多源数据融合的智慧物流数据治理方法及系统

NºPublicación:  CN121788038A 03/04/2026
Solicitante: 
贵州现代数智科技有限公司
CN_121788038_PA

Resumen de: CN121788038A

本发明涉及物流数据处理技术领域,尤其涉及一种基于多源数据融合的智慧物流数据治理方法及系统,该方法包括步骤:获取传感器集合的原始数据及业务指令流并进行归一化,得到初步治理数据;基于传感器与邻域传感器的物理坐标计算空间偏差度,融合时间变化率与空间偏差度确定物理置信度;利用指令响应模型将业务指令强度映射为特征变化幅值,基于其与时间变化率的偏差确定业务置信度;根据物理与业务置信度确定自适应权重,对初步治理数据进行加权融合得到目标治理数据。本发明通过引入物理与业务双维度的置信度评估机制,能够有效应对环境干扰导致的数值跳变,提高了物流数据治理的准确度与逻辑关联性。

一种基于强化学习的仓储作业在线协作拣选优化方法

NºPublicación:  CN121787849A 03/04/2026
Solicitante: 
浙江工业大学
CN_121787849_PA

Resumen de: CN121787849A

本发明涉及一种基于强化学习的仓储作业在线协作拣选优化方法。包括:对仓储环境进行建模,生成动态环境状态图并输出多个动态节点特征矩阵;将动态节点特征矩阵输入预设的协作拣选决策模型;基于序列化子决策与动作掩码机制,协作拣选决策模型输出用于指派三元组任务的联合动作指令;对协作拣选决策模型进行训练,在预设成本权重下输出训练完成的协作拣选策略模型;进行多目标成本权重外层优化,迭代生成一组最优决策方案集;基于多维运营指标的加权需求,从最优决策方案集中选取目标策略来动态调整当前运行的协作拣选策略模型。本方法可适用于订单随机到达、状态复杂多变的真实仓储场景;可以显著提高订单履行速度、资源利用率和系统吞吐量。

一种基于跨境供应链态风险评估的智能贸易合规预警系统

NºPublicación:  CN121787910A 03/04/2026
Solicitante: 
宏桥高科技集团有限公司
CN_121787910_PA

Resumen de: CN121787910A

本发明公开了一种基于跨境供应链态风险评估的智能贸易合规预警系统,包括多源数据采集模块、数据语义解析与标准化模块、供应链图建模模块、多维风险指标构建模块、图神经网络态势建模模块、时序异常检测模块以及合规预警与策略联动模块。本发明通过融合多国海关政策、实时物流状态及地缘政治事件多源异构数据,构建跨境供应链拓扑图并基于图神经网络与时序异常检测实现合规风险的动态传播建模与前瞻性识别,不仅能够统一刻画多国政策差异及其叠加效应,还可对政策突变、制裁扩散非平稳风险进行提前预警,从而显著提升跨境贸易合规管理的实时性、准确性与整体防控能力。

基于加密二维码的药品防伪及渠道流向管控方法及系统

NºPublicación:  CN121788150A 03/04/2026
Solicitante: 
舞阳县奥凯医药科技有限公司
CN_121788150_PA

Resumen de: CN121788150A

本发明涉及药品防伪技术领域,具体涉及一种基于加密二维码的药品防伪及渠道流向管控方法。其方法包括:获取药品包装纹理图像及身份信息;基于身份信息生成第一伪随机序列,从纹理多尺度小波包分解系数中采样、量化及编码得到隐藏信息;生成承载身份信息的初始二维码;基于身份信息生成第二伪随机序列以确定二维元胞自动机转换规则及迭代次数;将隐藏信息作为自动机初始状态迭代,将最终状态与初始二维码数据模块比对并翻转状态不一致的模块,得到嵌有纹理特征的最终二维码。本发明的方案实现了数字信息与实体的深度融合,解决了信息与实物分离的难题,保障了药品追溯的真实可靠。

基于预空计算的集装箱码头内集卡智能调度系统及方法

NºPublicación:  CN121787794A 03/04/2026
Solicitante: 
上海海事大学上海咪啰信息科技有限公司
CN_121787794_PA

Resumen de: CN121787794A

本发明公开了基于预空计算的集装箱码头内集卡智能调度系统及方法,包括数据采集、时间矩阵构建、预空状态预测、调度模型建立、最优任务分配及动态更新步骤。通过在集卡未上报空闲前预测其未来空闲时刻与位置,实现任务的前置分配;通过时间矩阵计算任意作业点间的行驶时间,结合多目标优化模型在任务延迟、行驶距离和载重平衡之间求得全局最优解。该方法有效减少车辆空驶与桥吊等待时间,提升调度实时性、资源利用率及系统鲁棒性,适用于港口码头集卡作业调度领域。

轮渡甩挂作业人工智能辅助决策系统

NºPublicación:  CN121788002A 03/04/2026
Solicitante: 
北京鑫平物流有限公司
CN_121788002_PA

Resumen de: CN121788002A

本发明公开了轮渡甩挂作业人工智能辅助决策系统,涉及智能物流调度技术领域,本发明针对现有系统将航次选择与贝位选择解耦导致短视决策、舱容碎片化与通道阻塞的问题,通过同一决策循环内的联合输出以及调度/配载单元的消息向量交互,实现航次与贝位的耦合优化,从而提升整体装载可行性与连续作业流畅性;针对实时连续到达场景下难以量化当前分配对未来车辆队列潜在影响的问题,本发明通过未来价值预测网络结合预约车流信息或历史到达分布生成车流情景,对候选航次动作进行长期回报评估与排序,使航次选择具备前瞻性。

利用商品存放柜的提货服务提供方法及系统

NºPublicación:  CN121794704A 03/04/2026
Solicitante: 
宇博世有限公司
CN_121794704_PA

Resumen de: WO2025053597A1

A method for providing a pickup service using product storage according to an embodiment of the present invention, in which a purchaser pickup application executed by a processor of a purchaser terminal performs a pickup process in order to provide a pickup service, comprises the steps of: generating purchase data including at least one product; acquiring an order identification code on the basis of the generated purchase data; providing the acquired order identification code to an operator terminal; and receiving a receipt confirmation certificate including an electronic signature of a purchaser from the operator terminal.

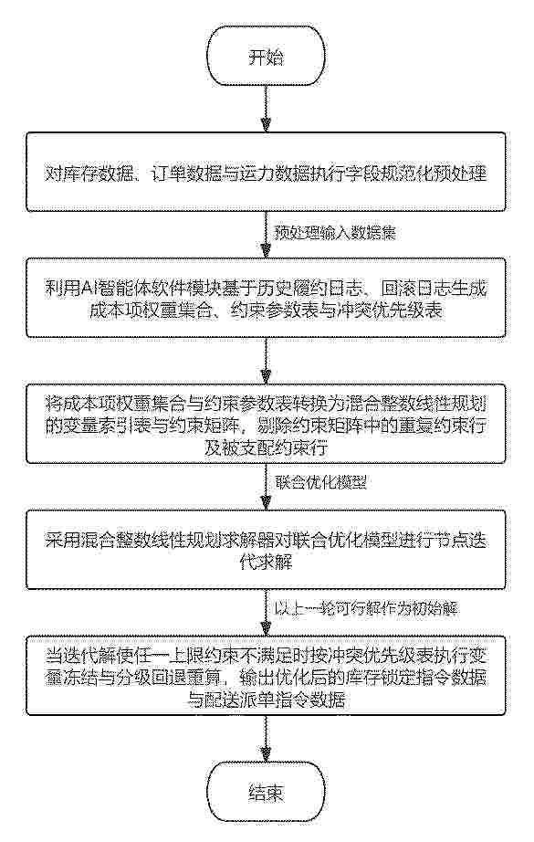
一种基于AI智能体的库存与配送数据处理及优化方法

NºPublicación:  CN121788037A 03/04/2026
Solicitante: 
南京联成科技发展股份有限公司
CN_121788037_PA

Resumen de: CN121788037A

本发明公开了一种基于AI智能体的库存与配送数据处理及优化方法,包括:对库存数据、订单数据与运力数据执行字段规范化预处理得到预处理输入数据集;由服务器端AI智能体结合历史履约日志与回滚日志生成成本项权重集合、约束参数表及冲突优先级表;将成本项权重集合与约束参数表转换为变量索引表与约束矩阵,构建联合优化模型并剔除重复约束行及被支配约束行;采用混合整数线性规划求解器进行节点迭代求解并以上一轮可行解初始化,触发上限约束违背时按冲突优先级表执行变量冻结与分级回退重算,输出库存锁定指令数据与配送派单指令数据。本发明提高了库存分配与派单准确率,降低了缺货与回滚成本。

基于数字孪生技术的物流园区仓储物流一体化管理系统

NºPublicación:  CN121787988A 03/04/2026
Solicitante: 
杭州多协信息技术有限公司
CN_121787988_PA

Resumen de: CN121787988A

发明涉及物流仓储技术领域,特别涉及基于数字孪生技术的物流园区仓储物流一体化管理系统,包括:采集多维数据,基于数据基因标签对多维数据进行预处理,获得标准关联数据;基于全链路因果干预理论与图神经网络,对标准关联数据进行全链路因果链图谱构建,根据图谱关键节点状态预测问题根源及发生概率,获得预判干预数据;为接入的异构设备生成动态能力画像,通过博弈协商算法形成动态设备联盟,根据闭环预判干预数据控制动态设备联盟,得到设备协同数据;为每件货物赋予唯一数字身份,通过数字身份结合设备协同数据及闭环预判干预数据,得到货物自主管理数据。本方案通过构建全链路因果链图谱实现风险预判,提升管理决策的精准性与时效性。

基于计算机网络的信息管理系统及方法

NºPublicación:  CN121789923A 03/04/2026
Solicitante: 
江西省人民医院
CN_121789923_A

Resumen de: CN121789923A

本申请涉及信息管理领域,其具体地公开了一种基于计算机网络的信息管理系统及方法,其首先获取患者处方信息和药房药品库存信息,然后利用深度学习技术,对二者进行特征提取和关联分析,最后通过生成器,以生成药品出库审计报告,从而实现对药品出库流程的自动化监控和审计,进而帮助药房更好地制定采购策略、优化库存管理和服务患者的能力,并减少人为错误和潜在的药品管理风险。

包裹跟踪标签

NºPublicación:  CN121787457A 03/04/2026
Solicitante: 
高通股份有限公司
CN_121787457_PA

Resumen de: CN111066035A

In some examples of the disclosure a tracking label may be used for packages that automatically activates when applied to a package and deactivates when the package is opened. The tracking label may include a Bluetooth Low Energy circuit printed on a single use label that is activated when an adhesive backing of the label is removed and deactivated when opening the package tears an end of life tabconnected to the label.

一种物料库存数据管理方法及系统

NºPublicación:  CN121788034A 03/04/2026
Solicitante: 
苏州礼简信息科技有限公司
CN_121788034_PA

Resumen de: CN121788034A

本发明涉及物料库存数据管理技术领域,公开了一种物料库存数据管理方法及系统,通过获取物料操作请求并关联操作凭证,实现了对物料操作的全面追踪。通过向多个物料管理系统查询物料识别信息和当前状态信息,并进行比对,能够根据物料固有属性确定统一的物料身份,有效解决了多系统物料编码不兼容导致的数据源头不一致问题。

运力调度方法、系统、电子设备、存储介质及程序产品

NºPublicación:  CN121787796A 03/04/2026
Solicitante: 
上海蜂鸟即配信息科技有限公司
CN_121787796_PA

Resumen de: CN121787796A

本申请实施例提供一种运力调度方法、系统、电子设备、存储介质及程序产品。涉及计算机技术领域,该方法包括:响应于客户端的运力调度请求,获取客户端的运力信息,运力信息用于指示客户端可调用的多个运力;基于来自客户端的配送需求信息,确定多个运力的调用顺序;基于多个运力分别对应的历史响应信息,确定对多个运力分别设置的调用间隔,历史响应信息表示在历史时间段内对应的运力对历史调用请求的响应信息,调用间隔为等待对应的运力响应的时长;根据多个运力分别对应的调用间隔和调用顺序,从多个运力中调度目标运力,目标运力为响应运力调度请求的运力。本申请解决了相关技术提供的运力调度方式不准确,导致运力响应效率不理想的技术问题。

软总线高并发场景流量调度与传输方法及系统

NºPublicación:  CN121792542A 03/04/2026
Solicitante: 
深圳讯天信达科技有限公司
CN_121792542_PA

Resumen de: CN121792542A

本发明提供一种软总线高并发场景流量调度与传输方法及系统,其中,所述方法包括:确定位于运输场所的各运输区域,并基于车辆运输计划将对应每一运输车辆的起点区域、终点区域的运输区域确定为起点区域、终点区域;响应任一运输车辆到达起点区域,建立由所述起点区域到达所述终点区域的运输路径,并响应任一运输车辆基于对应的运输路径到达终点区域,获取对应该运输车辆基于所述终点区域进行卸货操作的卸货需求流量;确定预先设置于所述终点区域的通讯连接单元,并响应对应该通讯连接单元的剩余通讯流量大于等于所述卸货需求流量,控制所述通讯连接单元向所述运输车辆进行对应卸货需求流量的资源配置。本发明至少提高了运输运转效率。

一种基于标识的煤炭堆场批次识别方法、系统及装置

NºPublicación:  CN121788033A 03/04/2026
Solicitante: 
济南大陆机电股份有限公司
CN_121788033_PA

Resumen de: CN121788033A

本发明提出了一种基于标识的煤炭堆场批次识别方法、系统及装置,该方法包括:为每一批次煤炭样本分配唯一的工业互联网标识代码;分别采集每一批次煤炭样本堆场的空间位置数据、堆叠状态数据和所处环境数据;将煤炭样本堆场的空间位置数据、堆叠状态数据和所处环境数据作为空间分割算法的输入,将煤炭样本堆场的不同批次作为空间分割算法的输出,将划分后不同批次煤炭样本的批次空间边界与工业互联网标识代码进行关联,建立批次标识信息库;采集待识别煤炭堆场的空间位置数据、堆叠状态数据和所处环境数据,基于批次标识信息库中不同批次煤炭样本的批次边界,确定待识别煤炭所属批次,提高了电厂中煤炭堆场批次识别的效率以及可靠性。

一种基于大语言模型的零部件库存智能替代分析方法

NºPublicación:  CN121788029A 03/04/2026
Solicitante: 
克劳斯玛菲机械(中国)有限公司
CN_121788029_A

Resumen de: CN121788029A

本申请提供了一种基于大语言模型的零部件库存智能替代分析方法,属于智能制造与企业数字化供应链管理技术领域。该方法包括:实时采集需求物料数据、基于混合召回策略结合规则过滤与语义向量检索计算需求物料与库存物料的语义相似度,从库存中筛选出最相关的候选替代物料;构建包含领域知识与规则模板的结构化Prompt并注入大语言模型,调用模型对候选对列表进行替代性判定与风险评估,生成结构化输出。本申请将大语言模型的语义理解与供应链领域知识结合,通过结构化Prompt与多层校验机制实现了替代性分析的高准确率与高可解释性。

一种燃气工程的材料核销处理方法、系统、终端及存储介质

NºPublicación:  CN121787807A 03/04/2026
Solicitante: 
深圳市赛易特信息技术有限公司深圳市燃气集团股份有限公司
CN_121787807_A

Resumen de: CN121787807A

本发明公开了一种燃气工程的材料核销处理方法、系统、终端及存储介质,所述方法包括:获取燃气工程的材料清单信息,对所述材料清单信息进行信息确认,得到材料确认结果,并根据所述材料确认结果生成材料需求单;对所述材料需求单进行审核处理,得到第一审核结果,根据所述第一审核结果获取竣工用量信息,并对所述竣工用量信息进行审核处理,得到第二审核结果;对所述第二审核结果进行核销处理,得到材料核销结果,并对所述材料核销结果进行复核处理,得到目标材料核销结果。本发明能够有效的对燃气工程的材料进行闭环验证,以反向验证材料的使用合理性,从而对材料进行有效核销,提高了材料核销结果的准确率。

一种基于端边云协同的多模态大模型仓储监控方法及系统

NºPublicación:  CN121792507A 03/04/2026
Solicitante: 
杨梦雨
CN_121792507_PA

Resumen de: CN121792507A

本发明公开了一种基于端边云协同的多模态大模型仓储监控方法及系统,涉及智慧物流与人工智能技术领域。该系统构建了包含多模态感知接入、高吞吐网络、异构算力及智能交互终端的分层架构,具体包括:通过部署于现场的设备采集视觉、音频及物联传感数据;在边缘侧进行基于时空稀疏性的动态剪枝与音频级联唤醒,并利用物理引擎进行轨迹预警;在云端,通过视觉‑语言特征对齐模块构建多模态提示词,输入大语言模型并采用思维链解码策略生成逻辑化的异常判定报告;最后利用人工反馈与强化学习算法实现模型的自适应闭环进化。本发明有效解决了现有技术语义理解不足、边缘实时性差及模型难以迭代的问题,提升了仓储安全管理的智能化水平。

考虑道路实时通行状态的低空地面协同配送方法及系统

NºPublicación:  CN121788015A 03/04/2026
Solicitante: 
中山大学
CN_121788015_PA

Resumen de: CN121788015A

本申请公开了考虑道路实时通行状态的低空地面协同配送方法及系统,涉及技术领域,方法包括:分段构建配送车辆随时间和路段变化的行驶时间函数的通行速度函数;对无人机的单位时间耗电率构建能耗函数;根据通行速度函数和能耗函数构建混合整数规划模型;生成初始解;基于初始解在搜索空间内进行多线程并行扰动的可变邻域搜索,进而迭代求解得到混合整数规划模型的最优解;重置最优解,得到一次优化解;优化一次优化解得到最终解。本申请通过构建混合整数规划模型,可以在配送车辆和无人机协同配送的场景下提高配送效率。

一种考虑不确定性因素的海上航线规划方法

NºPublicación:  CN121787689A 03/04/2026
Solicitante: 
中华人民共和国洋山港海事局
CN_121787689_PA

Resumen de: CN121787689A

本发明公开了一种考虑不确定性因素的海上航线规划方法,属于海上交通安全管理领域,S1、多源数据预处理与特征融合;S2、海上航线不确定性建模,量化不确定性参数的概率分布;S3、基于PCA分层注意力预测候选航线轨迹;S4、结合不确定性参数的概率分布以及预测的候选航线轨迹,计算航线各段的可操作性超概率,生成概率可操作性指数;S5、采用近似MinSumA算法,以最小化总航行时间融合最大化概率可操作性指数为目标,输出最优航线。采用上述一种考虑不确定性因素的海上航线规划方法,构建数据‑建模‑预测‑评估‑优化闭环,解决了传统方法忽略不确定性、优化复杂度高、实时性差的痛点,实现安全‑效率‑实时性协同优化。

智能仓储综合管理系统

NºPublicación:  CN121788018A 03/04/2026
Solicitante: 
浙江省肿瘤医院
CN_121788018_PA

Resumen de: CN121788018A

本发明提供一种智能仓储综合管理系统,通过数据处理模块统一获取入库、出库及库存数据,避免各算法单元因数据割裂导致决策偏差,算法决策模块中各单元协同工作,尤其库存分配单元调用货架热度分析单元的预测数据修正拣选方案,不再仅依赖订单与实时库存,能优先从高热度近距货架拣选,减少搬运耗时;各算法单元还围绕全流程联动,如仓位推荐为订单组波、库存分配提供合理布局,避免局部优化损耗。指令执行模块按协同指令控制设备,避免动作冲突,以解决现有技术中仓储管理系统无法实现全流程智能化协同作用的缺陷。

快件分拣集装方法、电子设备及程序产品

NºPublicación:  CN121776114A 03/04/2026
Solicitante: 
深圳顺丰泰森控股集团有限公司
CN_121776114_PA

Resumen de: CN121776114A

本公开提供了一种快件分拣集装方法、电子设备及程序产品,涉及物流技术领域。方法包括:扫描获得当前进行集装的笼车的标识以及箱的标识;扫描获得待分拣的目标快件的单号,根据所述目标快件的单号查询获得所述目标快件的快件类型,根据所述快件类型确定集装类型;所述快件类型包括扁平件类型或非扁平件类型;所述集装类型用于指示装入的容器为箱或笼车;按照所述目标快件的所述集装类型以及所述笼车的标识以及箱的标识进行分拣集装。本公开用以能够同时操作扁平件装箱和快件装笼操作,保证时效的同时降低成本。

基于流程节点的供应链智能管控方法及系统

NºPublicación:  CN121788013A 03/04/2026
Solicitante: 
深圳集源冷链科技有限公司
CN_121788013_PA

Resumen de: CN121788013A

本发明公开了基于流程节点的供应链智能管控方法及系统,属于供应链管理技术领域,包括:登录管理模块,用于根据获取的相关信息对用户安全防护;物流路径规划模块,用于生成待选路径,并从待选路径中选出运输路径;承运商匹配模块,用于从系承运商库中匹配最优承运商进行运输;货物追踪模块,用于对货物实时追踪,判断货物是否存在运输异常;预警模块,基于判断结果进行相应响应。本发明通过正负向关联信息量化的方式来选择运输路径,可同时兼顾运输效率、成本等优势因素并以及拥堵、天气等风险因素进行综合分析,使选择的运输路径更符合实际运输,避免了传统选路的片面性,提高运输效率。

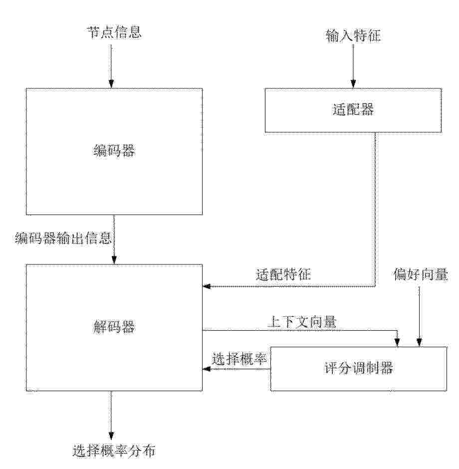
一种基于偏好感知的专家混合的深度强化学习的多目标车辆路径优化方法

NºPublicación:  CN121787681A 03/04/2026
Solicitante: 
广东工业大学
CN_121787681_PA

Resumen de: CN121787681A

本申请涉及一种基于偏好感知的专家混合的深度强化学习的多目标车辆路径优化方法,属于路径优化领域。该方法包括:输入问题实例和偏好向量至编码器;编码器通过多头注意力机制输出节点嵌入集合;将节点嵌入集合输入至适配器,根据偏好向量对解码器进行调制,得到适配特征,所述适配特征用于解码器中的每一个时间步;解码器的状态信息通过上下文向量表示,在解码器的每一个时间步,根据适配特征和评分级调制推理节点,直到全部节点都被访问,得到选择概率分布。本申请解决了因缺乏有效的零样本偏好泛化机制、偏好建模粗糙、参数效率低下且训练策略不稳定,导致难以在保证性能的前提下实现高效可扩展的实时推理与泛化能力的问题。

一种多式联运公铁路径动态规划方法

NºPublicación:  CN121787991A 03/04/2026
Solicitante: 
四川长虹民生物流股份有限公司
CN_121787991_PA

Resumen de: CN121787991A

本发明涉及一种多式联运公铁路径动态规划方法,通过实时采集公路、铁路、衔接点多源动态数据,通过预测未来指定时间段数据并预处理,生成动态数据库;构建以总运输时间最短、总运输成本最低、公铁衔接效率最高为协同目标的时空耦合目标函数;引入适应度动态校准机制修正目标函数值;以当前时刻为起点设定决策窗口,滚动求解局部最优路径,生成含公路实时导航路径、铁路动态班次匹配、衔接点资源预约时间片的初始方案;基于预测值设定三级预警阈值,触发分级调整机制生成调整方案;评估调整方案的时间/成本变动率及执行可行性,达标后执行。有效提升路径规划的前瞻性、动态适配性与落地可靠性,有效降低运输成本与延误,显著提高公铁联运效率。

物流处理方法、电子设备、存储介质及程序产品

NºPublicación:  CN121786719A 03/04/2026
Solicitante: 
上海淘信宝网络技术有限公司
CN_121786719_PA

Resumen de: CN121786719A

本申请实施例提供一种物流处理方法、电子设备、存储介质及程序产品。涉及人工智能领域,该方法包括:获取目标物品的多个描述信息以及第一客户端上传的目标物品的初始规格,多个描述信息包括不同模态的信息;对多个描述信息分别进行特征提取,得到各描述信息的目标物品特征;输入各描述信息的目标物品特征和初始规格至目标模型进行处理,得到目标物品的目标物流属性以及对目标物流属性的推理信息。本申请实施例通过结合跨模态的描述信息,进而实现对目标物品的高鲁棒性识别,提升物流属性识别的准确性和泛化能力,本申请解决了相关技术中存在对物品的物流属性识别能力不准确的技术问题。

一种智能仓储拣选系统及方法

NºPublicación:  CN121788019A 03/04/2026
Solicitante: 
浙江省肿瘤医院
CN_121788019_PA

Resumen de: CN121788019A

本发明属于仓储管理技术领域,提供一种智能仓储拣选系统及方法,系统包括:关联存储子系统和拣选管理子系统;关联存储子系统用于获取物料主数据,建立关联权重图谱,确定待存储物料的最优存储位置,并调度物料搬运设备将装有待存储物料的料箱搬运至最优存储位置,以将高关联物料分配至相邻区域;拣选管理子系统用于在接收到待处理订单后,对待处理订单进行订单合并和优先级排序,生成波次搬运任务,依据波次搬运任务调度物料搬运设备将装有待拣选物料的料箱从最优存储位置搬运至拣选工作站,并在拣选工作站完成物料拣选任务后,若信息一致性双重验证结果存在异常,则生成并发出拣选异常预警信息。该方案大幅提升了仓储作业效率与精准度。

面向煤炭码头卸储煤机械设备驱动机构的数字化智能PHM平台

NºPublicación:  CN121787210A 03/04/2026
Solicitante: 
广东粤电博贺能源有限公司
CN_121787210_PA

Resumen de: CN121787210A

本发明公开了煤炭码头的卸储煤机械设备驱动机构数字化智能PHM平台,包括数据采集层、数据传输层、数据存储与处理层、数字化建模层、可视化与决策支持层五个核心部分,其中:数据采集层包括通过在设备关键部位布置多模态传感器;数据存储与处理层包括利用边缘计算与云计算结合的架构,对原始数据进行清洗、降噪、特征提取,并通过多源信息融合技术构建驱动机构运行状态画像;数字化建模层包括基于物理建模和数据驱动算法的融合,形成可实时更新的设备数字孪生体;可视化与决策支持层提供可视化界面与运维策略推荐;本发明通过实现数据统一采集和集中管理,解决传统监测系统中数据分散、互不兼容的问题,为设备全生命周期管理奠定数据基础。

一种高值医用耗材大数据分析管理系统

NºPublicación:  CN121789924A 03/04/2026
Solicitante: 
天津市肿瘤医院(天津医科大学肿瘤医院)
CN_121789924_PA

Resumen de: CN121789924A

本发明公开了一种高值医用耗材大数据分析管理系统,涉及医疗信息技术领域,用于解决需求预测的准确性降低,导致高值耗材运输不及时,从而影响临床诊疗以及医疗服务质量的问题,采集预测误差分析信息以及需求波动信息,建立数据分析模型,得到精度评估系数,并与精度阈值比对,得到当前计算周期内各预测次数的精度比对结果,统计小于精度阈值的精度评估系数数值,并按数值大小排序,获取总波动强度,并与波动阈值比对,依据比对结果评估预测模型,通过时间序列模型进行库存耗材分配预测分析,得到耗材需求数据,依据其预测结果的最大值和最小值,动态调整库存耗材分配,提高库存管理的准确性以及临床诊疗以及医疗服务质量。

一种制造业生产执行系统及方法

NºPublicación:  CN121788041A 03/04/2026
Solicitante: 
谢春村
CN_121788041_PA

Resumen de: CN121788041A

本发明提供一种制造业生产执行系统及方法,涉及制造业生产技术领域。该制造业生产执行系统及方法,包括生产执行系统和生产执行方法,所述生产执行系统包括工艺信息管理、考核管理、生产管理、报表管理、质量管理、仓库管理、采购管理、销售管理、成本管理、设备管理、可视化管理、基础信息管理、流程管理、办公室管理;所述生产执行方法,包括以下步骤:步骤一:对生产的基础信息进行管理;步骤二:对生产的质量情况进行管理;步骤三:对生产的收益情况进行管理;步骤四:对生产的整体流程进行管理。本发明,通过对生产的基础信息进行管理,有效保证了生产的有序进行,其次对生产进行考核,并对问题进行处理,提高生产的效率。

基于区块链技术的稀缺人体标本流转管理方法

NºPublicación:  CN121788008A 03/04/2026
Solicitante: 
张家港市德仁科教仪器设备有限公司
CN_121788008_PA

Resumen de: CN121788008A

本发明属于物流管理和数据处理技术领域,具体涉及基于区块链技术的稀缺人体标本流转管理方法,其方法包括:在流转周期内采集容器内部压力、倾斜角度及机械冲击力;根据压差变化量与密封材料时间衰减特性计算容器漏气指数;依据倾斜角度对应的重力负载和位姿持续时长计算姿态形变分;结合各物流区间内有效冲击次数与运输时效偏差计算累计风险熵;融合流转结束时刻的容器漏气指数、姿态形变分及累计风险熵计算最终质量分,并根据预设判定阈值评定稀缺人体标本流转质量。本发明能够识别流转过程中的潜在损伤,提升稀缺人体标本流转质量监测的准确性。

一种基于RFID轻量级算法的快件运输管理系统及方法

NºPublicación:  CN121787989A 03/04/2026
Solicitante: 
福州海洋研究院闽江学院
CN_121787989_PA

Resumen de: CN121787989A

本发明提供了一种基于RFID轻量级算法的快件运输管理系统及方法,系统由RFID标签、读写器、阅读器、后端服务器及智能终端设备(如手机、电脑)等组成,通过RFID技术优化人工分拣流程,提升快件追踪、定位与信息管理的智能化水平。为保障数据隐私,系统设计中引入轻量级安全协议,确保非授权模块无法读取用户敏感信息,并以电子标签替代传统纸质快递面单,有效规避用户隐私泄露问题。本技术方案在保护用户个人信息的前提下,提升物流过程的数字化管理水平与整体运行效率。该方法融合了RFID(射频识别)技术与身份认证机制,并采用一种自研的轻量级安全算法协议,构建了从发货端至收货端的完整物流流程。

即将被释放机器人纳入统筹考虑的任务分配方法

NºPublicación:  CN121787853A 03/04/2026
Solicitante: 
湖南工程学院
CN_121787853_PA

Resumen de: CN121787853A

本发明公开了一种即将被释放机器人纳入统筹考虑的任务分配方法,包括以下步骤:把待分配的任务按照目的地分类,按照机器人容量切分为若干任务组;将所有即将被释放机器人和当前所有空闲机器人一起纳入候选机器人集合;添加若干虚拟的任务或者虚拟的机器人,使得任务组集合数量和候选机器人集合数量相等,从而形成待匹配的二分图;针对二分图,采用KM算法寻找任务组和机器人的最佳匹配结果,即最小化匹配结果中的所有边的权重之和;过滤任务分配结果中的实际状态为空闲机器人作为真正的任务分配结果。本发明把即将被释放机器人也纳入统筹考虑任务分配算法,能够尽量避免机器人效率的浪费,从而提升整个仓储系统的总体运营效率。

一种基于时序演化模型的电动汽车运输事故态势预测方法及系统

NºPublicación:  CN121787876A 03/04/2026
Solicitante: 
交通运输部公路科学研究所
CN_121787876_PA

Resumen de: CN121787876A

本发明属于公开了一种基于时序演化模型的电动汽车运输事故态势预测方法及系统,方法包括:采集电动汽车历史运输过程中的电池数据和运输车辆数据,得到历史动态风险序列;处理历史动态风险序列中连续时间点上的参数变化,确定历史风险演化向量;构建长短期记忆网络,利用历史风险演化向量和历史事故情况对长短期记忆网络进行训练,得到事故演化模型;获取当前动态风险序列,输入至事故演化模型中模拟未来时间步的风险状态演变,判断潜在事故触发点;基于潜在事故触发点确定具体的事故类型;根据确定的事故类型生成预测精度评估报告并输出趋势干预信号,获得最终事故态势预测结果。

一种门店备货量建议生成方法、装置、设备及存储介质

NºPublicación:  CN121788174A 03/04/2026
Solicitante: 
创优数字科技(广东)有限公司
CN_121788174_A

Resumen de: CN121788174A

本发明公开了一种门店备货量建议生成方法、装置、设备及存储介质,用于解决现有的备货指导方法存在滞后性、粒度粗糙、依赖主观经验的技术问题。本发明包括:采集各城市所有目标酒店的入住关联数据;根据入住关联数据计算各城市不同区域在预设节假日的价格波动指数;根据价格波动指数生成门店备货量指导建议。

基于人工智能和区块链的电商大数据物流供应链控制系统

NºPublicación:  CN121787995A 03/04/2026
Solicitante: 
北京工商大学
CN_121787995_PA

Resumen de: CN121787995A

本发明涉及电子商务物流供应链管理技术领域,具体公开了基于人工智能和区块链的电商大数据物流供应链控制系统。该系统包括由供应链参与方节点构成的区块链网络、人工智能分析引擎以及部署于链上的智能合约系统。智能合约系统包含规则管理合约与任务执行合约,规则管理合约维护着定义决策逻辑与证据结构的可更新规则库;任务执行合约则在实际物流任务中,依据规则调用人工智能引擎提供的结构化数据,通过执行规则定义的链上计算或组织节点动态权重共识,生成资源调度指令。该系统通过将决策逻辑透明化、共识化与可优化,实现了在多方参与环境中数据可信、利益均衡、动态适应的供应链协同控制。

一种智能化生产节拍装配方法及系统

NºPublicación:  CN121787870A 03/04/2026
Solicitante: 
太原福莱瑞达物流设备科技有限公司
CN_121787870_PA

Resumen de: CN121787870A

本发明提供了一种智能化生产节拍装配方法及系统,涉及智能化生产技术领域,所述方法包括WMS系统生成装配订单;WMS系统发送配货指令,通过WCS系统调度物流设备将当前部件所需物料的物料箱从仓库运出并放置在挑选区的指定位置;WMS系统更新电子标签,装配人员基于电子标签的显示信息在挑选区选取物料并放置在装配台上进行装配,直至完成当前部件的总节拍数的全部装配;WMS系统判断下一个待装配部件与当前部件的所需普通零件是否有重合项,并对应进行所需物料的调整;WMS系统将下一个待装配部件更新为当前部件进行装配,直至完成待装配的部件的全部装配。本申请保障了零件的利用效率和取换合理性,提高了装配效率。

纸箱智能化生产管理系统及方法

NºPublicación:  CN121787840A 03/04/2026
Solicitante: 
南宁市庭伟纸业包装有限公司
CN_121787840_PA

Resumen de: CN121787840A

本发明涉及智能生产管理技术领域,具体为纸箱智能化生产管理系统及方法,系统包括:产线参数采集模块、产能预测计算模块、库存需求分析模块、配额动态调整模块、执行控制反馈模块。本发明中,通过对裁切环节运行参数与纸板特性进行同步标记与处理,使生产状态以连续数据形式呈现,基于参数变化构建产出与消耗之间的映射关系,使生产效率具备可计算与可比较特征,结合时间窗口分析形成与库存需求联动的状态判定依据,使生产配额随状态变化进行动态修正,并在执行过程中引入产量偏差检测与反馈校正,使控制指令与实际运行保持一致,生产调节由经验判断转向数据驱动,减少库存波动,提高资源利用与生产稳定性。

快递员行为分析方法、设备及存储介质

NºPublicación:  CN121786691A 03/04/2026
Solicitante: 
深圳前海微众银行股份有限公司
CN_121786691_PA

Resumen de: CN121786691A

本申请公开了一种快递员行为分析方法、设备及存储介质,本申请涉及物流技术领域,该方法包括:获取目标快递员执行各上门核验任务时生成的任务记录;对各任务记录进行特征抽取,得到任务特征,其中,任务特征表征上门核验任务的执行属性和结果属性;基于任务特征构建目标快递员的目标行为指标;基于目标行为指标与预设的基线指标,确定目标快递员的行为异常等级。本申请能够对执行上门核验任务的快递员异常行为进行识别,以提升上门核验任务的真实性和合规性。

一种基于智能效期管理器的医疗耗材管理系统及方法

NºPublicación:  CN121789930A 03/04/2026
Solicitante: 
岳池县人民医院
CN_121789930_PA

Resumen de: CN121789930A

本发明公开了一种基于智能效期管理器的医疗耗材管理系统及方法,属于医疗耗材管理技术领域,包括智能效期管理器和移动终端;通过在传统储物柜与电子表格之间加入智能效期管理器,实现了物理耗材与电子信息的实时双向关联,使每一批耗材具备独立的可识别标记与主动预警能力;依托低功耗蓝牙通信与声光提示机制,系统能够对近效期耗材自动提醒、耗材的当前库存数量和对目标耗材快速定位,大幅降低人工巡查与查找负担;在无需部署复杂WMS系统的前提下,即可构建低成本、可扩展、适应科室现状的智能化耗材管理体系,从根本上解决多批次混放、效期管理滞后、查找效率低及数据不同步等问题,显著提升耗材管理的安全性、及时性与工作效率。

基于状态数据的工业仓库的AI管理方法及系统

NºPublicación:  CN121788027A 03/04/2026
Solicitante: 
深圳市前海文仲信息技术有限公司
CN_121788027_PA

Resumen de: CN121788027A

本申请涉及一种基于状态数据的工业仓库的AI管理方法及系统,其包括通过获取工业仓库内各存储单元在第一监测周期内的状态数据,并生成标准化的状态数据集;基于标准化的状态数据集,利用预设的数据分析模型对工业仓库的运行状态进行评估,得到详细的运行状态评估结果;根据运行状态评估结果生成第一监测周期内的优化管理策略表,包含货物调度计划、调控指令以及人员分配方案等;将优化管理策略表发送至工业仓库的管理系统,指示其在第二监测周期内执行相应的管理操作;该方案能够实现对工业仓库运行状态的精准评估,并生成科学合理的优化管理策略,提升工业仓库的管理效率和运营水平。

一种实物存货可视化系统和方法

NºPublicación:  CN121788023A 03/04/2026
Solicitante: 
广西华昇新材料有限公司中国铝业股份有限公司
CN_121788023_PA

Resumen de: CN121788023A

本发明公开了一种实物存货可视化系统和方法,涉及巡检机器人技术领域,实物存货可视化系统包括:第一导轨,第一导轨设置于待测目标上方,并围绕待测目标设置;巡检机器人,巡检机器人滑动设置于第一导轨的一侧,巡检机器人靠近待测目标的一侧设有采集模块,以获得待测目标的目标信息;其中,第一导轨设有多个测量点位,巡检机器人内设有处理模块,处理模块用于处理巡检机器人在多个测量点位获得的目标信息,以根据目标信息获得待测目标的体积信息。本申请解决的技术问题是现有技术中,通过固定式摄像头或激光扫描仪进行测量的方式往往存在视觉盲区,无法对货物进行全方位的扫描,导致体积测量结果不准确。

基于数字孪生的多模式运输路径优化方法

NºPublicación:  CN121788011A 03/04/2026
Solicitante: 
邯郸职业技术学院
CN_121788011_PA

Resumen de: CN121788011A

本发明属于物流运输路径优化技术领域,具体涉及基于数字孪生的多模式运输路径优化方法。首先,采集运输网络、中转节点、跨方式衔接规则及载运工具数据,整合为多模式运输数据库,同步搭建含虚拟建模、数据映射与精度校准的数字孪生环境;其次,结合约束条件生成3组及以上联运方案,在孪生环境仿真输出量化指标,依据货物优先级用层次分析法确定权重选最优方案,经实时数据仿真校验无风险后下发;最后,实时采集中转拥堵、设备故障数据,同步至孪生环境推演调整策略,生成适配方案优化路径并更新数据库。本发明通过提升路径优化精准度与动态适应性,使其适配大型构件等多元运输需求,保障运输高效可靠。

智能远程终端系统的理货方法、装置和电子设备

NºPublicación:  CN121788021A 03/04/2026
Solicitante: 
珠海格力电器股份有限公司珠海联云科技有限公司
CN_121788021_PA

Resumen de: CN121788021A

本申请公开了一种智能远程终端系统的理货方法、装置和电子设备,属于数据处理领域。方法包括:判断智能远程终端系统对应的智能销售冷柜是否为第一次备货;当判定智能销售冷柜为第一次备货时,获取智能销售冷柜针对目标商品进行备货处理时录入的商品基础信息,商品基础信息包括目标商品的最佳销售日期;当判定智能销售冷柜不是第一次备货时,基于商品基础信息获取智能销售冷柜中剩余商品的历史销售信息和/或剩余商品的最佳销售日期;根据历史销售信息和/或最佳销售日期判断剩余商品是否需要补货;在判定剩余商品需要补货时,确定智能销售冷柜中剩余商品的补货信息,并按照补货信息对智能销售冷柜的剩余商品进行补货处理,实现智能化理货。

自动引导车调度方法、系统、装置、电子设备及介质

NºPublicación:  CN121787683A 03/04/2026
Solicitante: 
珠海格力智能装备有限公司珠海格力数控机床有限公司
CN_121787683_PA

Resumen de: CN121787683A

本发明公开了一种自动引导车调度方法、系统、装置、电子设备及介质,属于智能调度技术领域。上述方法包括:发送运输任务至自动引导车,以使自动引导车根据运输任务生成初始预约信息,初始预约信息包括最优路径和时间信息,时间信息用于反映自动引导车根据最优路径行驶占用行驶区域的预计时间段;接收多个自动引导车发送的多条初始预约信息,并根据多条初始预约信息建立时间地图;时间地图用于记录行驶区域在不同时间段的预约占用状态;根据时间地图生成目标预约信息;将各目标预约信息发送至对应的自动引导车,以使自动引导车根据目标预约信息执行运输任务。因此,本发明实施例解决了现有技术中自动引导车调度方法响应延迟的问题。

一种电商产品仓储全流程监控管理方法及系统

NºPublicación:  CN121787644A 03/04/2026
Solicitante: 
杭州格调女王科技有限公司
CN_121787644_PA

Resumen de: CN121787644A

本发明属于电子商务物流管理技术领域,具体涉及一种电商产品仓储全流程监控管理方法,该方法包括:通过感知设备网络,实时同步采集多源异构监控数据;原始数据进行时空对齐预处理,将异构数据转换为统一数据格式;对标准化数据进行语义融合,构建具有完整时空上下文的作业行为知识图谱;图谱输入至预训练混合模型中,检测库存异常事件;结合实时订单与资源数据,生成策略指令,并对操作人员进行联合解析,输出合规性评分及具体违规操作类型。本申请通过采用上述技术方案,能够实现作业行为上下文的完整重建,显著提升异常检测准确率,缩短异常事件响应延迟,并降低人为差错导致的库存损耗率。

快件视频定位方法、计算机设备和可读存储介质

NºPublicación:  CN121789108A 03/04/2026
Solicitante: 
顺丰科技有限公司
CN_121789108_PA

Resumen de: CN121789108A

本申请涉及一种快件视频定位方法、计算机设备、计算机可读存储介质和计算机程序产品,可用于物流技术领域。该方法包括:响应于针对异常事件的触发操作,根据目标快件的物流路由信息,确定目标快件对应的摄像端标识;根据目标快件的非结构化信息中的拍摄时间标识,确定摄像端标识对应的摄像时间段;根据摄像端标识和摄像时间段,从云端系统的快件特征数据库中,获取候选图像特征向量;根据参考图像特征向量与候选图像特征向量之间的相似度信息,从候选图像特征向量中,确定目标快件的目标图像特征向量;根据目标图像特征向量关联的目标摄像端标识和快件定位信息,从快件视频中定位目标快件的目标视频。采用本方法能够提高快件视频定位的效率。

燃煤电厂入炉煤跟踪与煤仓动态管理方法及装置

NºPublicación:  CN121787765A 03/04/2026
Solicitante: 
国能长源汉川发电有限公司武汉华中思能科技有限公司
CN_121787765_PA

Resumen de: CN121787765A

本申请公开了一种燃煤电厂入炉煤跟踪与煤仓动态管理方法及装置,涉及燃煤电厂配煤燃烧技术领域,包括在原煤仓进入上煤流程时读取原煤仓的当前上煤煤种、当前煤位以及机组当前负荷数据;基于当前煤位和当前上煤煤种确定当前上煤煤种与原煤仓煤种的分界面初始位置;根据当前煤位和煤位‑煤量曲线确定原煤仓的原煤种剩余重量;基于原煤种剩余重量、分界面初始位置以及机组当前负荷数据对原煤仓进行二次配煤调整;获取二次配煤调整后的当前给煤量和分界面实时位置,基于当前给煤量确定预测燃用时间;根据预测燃用时间进行预警,实现煤仓内煤种分层界面的实时监测、煤量精准计算及配煤动态调整,解决传统配煤方案的时间滞后与煤仓管理效果较差的问题。

車両管理装置及び車両管理方法

NºPublicación:  JP2026057984A 03/04/2026
Solicitante: 
日産自動車株式会社
JP_2026057984_A

Resumen de: JP2026057984A

【課題】無人自動運転サービス車両の中に、タイヤ空気圧低下車両が発生した場合に、サービス効率の低下を防ぐ。【解決手段】車両管理装置は、乗員が乗り合わせて自動運転によって運行される車両を管理し、乗員から受信した配車要求に基づいて車両の配車を管理する演算処理装置と、車両のタイヤの空気圧及び空気圧の減圧速度を検出するタイヤ空気圧検出センサとを備え、演算処理装置は、タイヤ空気圧検出センサから検出結果を含むデータを取得し、取得したデータに含まれる現在のタイヤ空気圧と、減圧速度とに基づいて、走行可能時間と第1の上限速度を算出し、算出した走行可能時間が所定時間以下となりかつ第1の上限速度よりも高い第2の上限速度の他車両の需要が供給より低いとき、走行可能時間と整備場までに要する走行時間とを比較し、比較した結果に基づいて、所定のサービスエリア内の他車両との乗り継ぎを含んだ目的地への走行ルートを設定する。【選択図】図1

一种基于物联网的商品批发数据管理方法、设备及介质

NºPublicación:  CN121788020A 03/04/2026
Solicitante: 
天津京顺通达供应链管理有限公司
CN_121788020_PA

Resumen de: CN121788020A

本发明公开了一种基于物联网的商品批发数据管理方法、设备及介质,涉及商品运营技术领域,包括,将商品质量衰减系数与静态信息进行绑定后,生成动态库存清单,采集商品下游分销节点的物联网感知信号数据包,并与动态库存清单进行关联分析,生成差异化补货需求指令,以差异化补货需求指令为调度目标,结合动态库存清单构建单目标数学规划模型,采用元启发式优化算法对单目标数学规划模型进行求解,获取商品调度方案,将商品调度方案转化为具体调度指令后,下发至对应的仓库管理中心执行;本发明通过数据驱动的商品批发管理方法解决了商品批发管理中因质量监控缺失、需求响应滞后导致的库存积压与缺货,提升了供应链的整体运营效率与资产保值水平。

一种火工园区火工品无人运输系统及安全运输方法

NºPublicación:  CN121787990A 03/04/2026
Solicitante: 
北京机械设备研究所
CN_121787990_PA

Resumen de: CN121787990A

本公开是关于一种火工园区火工品无人运输系统及安全运输方法、电子设备以及存储介质。其中,该方法包括:基于预设车辆箱体安全性措施,对车辆厢体进行安全性设计;基于预设安全装载方法,对车辆装载过程进行安全性设计;基于预设安全运输方法,对车辆运输过程进行安全性设计;基于预设安全卸载方法,对车辆卸载过程进行安全性设计;对云端设计并实施包括火工品运输审批流程、实时车端监测预警系统、云端远程紧急控制和安全事故应急预案的安全管理措施。本公开结合火工品运输的安全相关标准,从车辆厢体安全性、装卸过程安全性、运输过程安全性、云端安全管理措施四个方面进行安全性设计,提高了运输过程中的安全性,保障火工品运输的安全运输。

基于实时追踪的立库物料管理系统

NºPublicación:  CN121788017A 03/04/2026
Solicitante: 
浙江省肿瘤医院
CN_121788017_PA

Resumen de: CN121788017A

本发明提供一种基于实时追踪的立库物料管理系统,应用于自动化立体仓库,包括:识别设备,部署于立体仓库的入库口、出库口及货架通道的关键节点,用于读取料箱上的标识码;立库管理服务器,与识别设备及仓库内的搬运机器人通信连接,被配置为:接收标识码,建立料箱与立体仓位之间的实时映射关系;基于实时映射关系,通过仓位优化算法为待入库料箱动态计算目标仓位;依据实时映射关系与目标仓位,生成调度搬运机器人执行存取任务的控制指令;监控终端,与立库管理服务器通信连接,用于接收并图形化显示实时映射关系所表征的库存状态、料箱位置及任务执行进度,有效地提升了仓库中的物料管理效率。

基于机器视觉与神经网络模型的多规格多目标物料智能识别、跟踪管理系统与方法

NºPublicación:  CN121788776A 03/04/2026
Solicitante: 
黄巩伟
CN_121788776_PA

Resumen de: CN121788776A

本专利公开了一种基于机器视觉的多物料目标识别与跟踪管理方法及设备。通过为种类、形状、性质及颜色各异的待管理物料生成唯一物料编码及图像标签,然后将其粘贴于物料特定方位。通过工业摄像头采集存放于标准尺寸柜架物料的标签图像,通过神经网络模型对复杂物料仓中的物料实现快速识别、定位、追踪,并解析其编码信息。在用户取用时,系统可自动引导用户快速取物,无需特定分类放置规则,同时自动生成相应的物料管理记录,显著降低物料管理人力成本。为管理储存多种类型、形状外观不一的物料提供了一种适应性强、成本低廉并且易于部署的智能化管理方案,可广泛应用于医院、实验室、检测公司、档案室等多种使用场景。

一种基于自营平台的动态任务分发及结算方法和系统

NºPublicación:  CN121787754A 03/04/2026
Solicitante: 
中宝智运(吉林)科技有限公司
CN_121787754_PA

Resumen de: CN121787754A

本发明涉及智慧物流技术领域,公开了一种基于自营平台的动态任务分发及结算方法和系统,包括:在每个调度时刻采集自营平台关联的所有物流系统的部分或全部运力信息和物流系统所在的区域的部分或全部天气信息;记录每个调度时刻生成的调度信息;定义当前时刻为v时刻,将v‑n至v时刻的观测向量和调度向量组合为综合特征序列;将综合特征序列输入动态任务模型中,动态任务模型输出调度信息;根据调度信息将订单分发到对应的物流系统中,然后由物流系统结算分发到的订单的物流费用;本发明只需要使用一套系统,就可以实现海陆空多种物流系统的订单监控管理,并且跨系统的结算订单费用,极大提升客户的物流资源匹配效率。

一种基于RFID的板材运输监控方法及系统

NºPublicación:  CN121787439A 03/04/2026
Solicitante: 
江西华昌木业有限公司
CN_121787439_PA

Resumen de: CN121787439A

本发明实施例涉及RFID技术领域,具体公开了一种基于RFID的板材运输监控方法及系统。本发明实施例通过基于RFID技术,在多个板材转运站点,获取多个板材身份信息;在具有板材运输错误时,识别运输错误车辆进行异常定位报警;进行震动的实时监测与记录,获取震动记录数据;对震动记录数据进行分析,标记多个目标运输板材的可疑损坏等级;按照多个可疑损坏等级,对多个目标运输板材进行不同的检测与记录,筛选并接收正常运输板材。能够在多个板材转运站点,进行板材身份的RFID读取,识别板材运输错误,识别运输错误车辆进行异常定位报警,并进行实时的震动监测记录,标记可疑损坏等级,进而进行不同的板材检测与接收处理。

用于跟踪和管理回收的嵌入式数字标识符(ID)解决方案

NºPublicación:  CN121794201A 03/04/2026
Solicitante: 
亚历山大·亚明埃利亚斯·亚明
CN_121794201_PA

Resumen de: AU2023457717A1

A device for tracking and managing homogeneous recycling waste containers utilizing a unique embedded digital encoded element comprising specific information which links disposed homogeneous recyclable waste to a first user through a first singular optical tag on an enclosure linking enclosed group associations of a plurality of embedded digital encoded element containers. The plurality of embedded digital encoded element containers are of specific genres of homogeneous waste such as Paper, Plastic, Metal, Glass, General and Organic waste and have a unique digital association within said embedded digital encoded element residing on a homogeneous waste container.

一种跨境电商仓储管理系统

NºPublicación:  CN121788004A 03/04/2026
Solicitante: 
广东月盈轩科技有限公司
CN_121788004_PA

Resumen de: CN121788004A

本发明涉及仓储管理技术领域,具体是一种跨境电商仓储管理系统,该系统通过插值算法生成覆盖整个仓库的最终连续信号强度分布图;通过数据采集器的实时位置坐标与所述连续信号强度分布图进行匹配确定信号区域类型;根据当前信号区域类型和实时无线信号强度指标计算网络连接质量评分;根据所述网络连接质量评分选择对应的数据传输模式对数据采集器扫描获得的盘点数据单元进行数据处理;当网络连接质量评分超过预设质量评分阈值时,将数据采集器存储的盘点数据单元上传至边缘服务器后更新本地库存数据并异步传输至仓储管理云端服务器。有效解决了仓库信号不稳定导致的数据传输和处理问题,提高了跨境电商仓储管理的效率和准确性。

物流供应链管理方法、装置、计算机设备、计算机可读存储介质和计算机程序产品

NºPublicación:  CN121788003A 03/04/2026
Solicitante: 
深圳市智汇奇策科技有限公司智汇奇策(青岛)智能科技有限公司
CN_121788003_PA

Resumen de: CN121788003A

本申请涉及一种物流供应链管理方法、装置、计算机设备、计算机可读存储介质和计算机程序产品。所述方法包括:响应于物流资源占用请求,获取多个资源提供方分别提供的物流资源对象的实时运行数据,进行物流资源分配规划,得到物流资源占用请求对应的初始物流资源调度方案;获取各个资源提供方针对物流资源调度子方案返回的反馈信息;根据所有资源提供方返回的反馈信息,对初始物流资源调度方案进行调整,得到物流资源占用请求对应的目标物流资源调度方案;根据目标物流资源调度方案对物流资源对象进行调度控制。采用本方法能够提高物流资源调度的效率、可行度和资源利用率。

一种基于人工智能的全自动配药设备及方法

NºPublicación:  CN121789942A 03/04/2026
Solicitante: 
深圳市大算度人工智能科技有限公司
CN_121789942_PA

Resumen de: CN121789942A

本申请涉及医疗器械自动化技术领域,公开了一种基于人工智能的全自动配药设备及方法。方法应用于全自动配药设备,通过解析待配药的处方信息,生成配药任务,规划机械臂抓取目标药瓶的最优路径;控制机械臂按照规划的路径移动至目标储存窗,并将目标药瓶倒置放置于全自动配药设备的第一配药模块的指定放药槽内,使目标药瓶的瓶口向下;利用视觉识别技术获取目标药瓶在放药槽内的位置信息,并与全自动配药设备的第二配药模块中对应料杯容纳槽内的料杯位置进行校准;根据配药任务中的剂量要求,使目标药瓶内的药品在重力作用下定量落入下方的料杯中;配药完成后,更新对应药品的库存信息,并生成配药流程追溯记录。

一种企业用销售管理系统及管理方法

NºPublicación:  CN121788201A 03/04/2026
Solicitante: 
谢春村
CN_121788201_PA

Resumen de: CN121788201A

本发明提供一种企业用销售管理系统及管理方法,涉及销售管理系统领域。该基于一种企业用销售管理系统及管理方法,包括,客户信息系统、货物管理系统、合同管理系统与发票管理系统,所述货物管理系统包括发货、退货管理,所述合同管理系统包括投标合同、销售合同与投标/销售合同浏览,所述发票管理系统包括销售发票、销售红字发票。通过设计白名单将财务与销售区别于其他部分,避免其他人会泄露价格,并且会根据价格的有效性展示有效的价格,避免造成谈判的失败,通过设计图号,便于对相同产品的产品进行追踪以及交货情况,并可以完成交货前的检查,避免产生交货的差错。

一种报表管理系统及管理方法

NºPublicación:  CN121788040A 03/04/2026
Solicitante: 
谢春村
CN_121788040_A

Resumen de: CN121788040A

本发明提供一种报表管理系统及管理方法,涉及信息系统领域。该报表管理系统及管理方法,包括数据处理系统、数据存储模块、数据输入输出终端、数据关键词提取模块和云存储模块;所述数据处理系统预设报表项目索引目录,所述报表项目索引目录链接的报表项目,所述报表项目包括销售合同查询报表、发货管理查询报表、生产计划查询报表、派工计划查询报表、收款核销单查询报表、成本结算查询报表、投标合同查询报表。通过预设报表项目索引目录,在对输入的内容进行关键字提取后,与报表项目索引目录进行对比后自动链接到对应的报表项目,非常方便。

基于工业物联网的原材料自动监管的方法、装置及设备

NºPublicación:  CN121788025A 03/04/2026
Solicitante: 
常州机电职业技术学院常州纳尔森机电有限公司
CN_121788025_PA

Resumen de: CN121788025A

本发明涉及原材料自动监管技术领域,本发明提供了基于工业物联网的原材料自动监管的方法、装置及设备,所述方法包括:获取各原材料的种类及每个原材料种类对应的采购信息;计算每个原材料种类对应的成本占比及临界储备量关联因子;获取每个原材料种类对应的第一临界储备量,根据临界储备量关联因子和第一临界储备量计算每个原材料种类对应的第二临界储备量;获取每个原材料种类对应的实时储备量,根据实时储备量和第二临界储备量判断相应的原材料种类是否出现供应不足,若供应不足则生成提示信息发送并至原材料采购管理平台。本发明能够有效地避免出现原材料供应不足或者储备过多的情况,进而避免对公司收益造成影响。

一种基于水陆两栖飞机的物料资源平衡设计方法

NºPublicación:  CN121787763A 03/04/2026
Solicitante: 
中航通飞华南飞机工业有限公司
CN_121787763_PA

Resumen de: CN121787763A

本发明涉及飞机智能制造信息化领域,涉及一种基于水陆两栖飞机的物料资源平衡设计方法。包括初始化待运算数据,获取用户配置的资源平衡策略,修正可用资源数量;根据用户设定的资源平衡策略,执行平衡运算等方式,通过灵活配置资源平衡策略,有效进行资源集中平衡和统筹分配,解决了现有技术中采用手工模式分配管理的难题,解决了现有技术中管理软件相对单一的问题,使得采购计划更具准确性和可行性,并支持大规模的企业级应用。

一种生产管理系统及管理方法

NºPublicación:  CN121787750A 03/04/2026
Solicitante: 
谢春村
CN_121787750_PA

Resumen de: CN121787750A

本发明提供一种生产管理系统及管理方法,涉及生产管理领域。该基于一种生产管理系统及管理方法,包括,工单管理模块、计划模块、生产入库模块与质量管理模块,所述工单管理模块包括生产制令工单、工单材料变更、工单展料信息修改与工单工序维护,所述计划模块包括生产计划、派工计划,所述生产入库模块包括生产领料、委派领料通知单与委外请购申请单。通过将每一个工序进行单独的模块化,并进行标号,便于在生产时,调整工序的顺序,并进行追踪,便于详细了解派工计划为生产计划的执行结果,依据对产品的分类再进行检测即可了解生产过程中不同的因素,对产品的影响,便于对生产计划的修改与优化,进而节约原料。

基于大数据的3pl仓储计费预扣费和财务管控系统

NºPublicación:  CN121788127A 03/04/2026
Solicitante: 
武汉翼仓宝网络科技有限公司
CN_121788127_PA

Resumen de: CN121788127A

本发明属于仓储管理技术领域,具体为基于大数据的3pl仓储计费预扣费和财务管控系统,包括数据采集模块用于采集仓储运营全链路数据;数据处理模块用于对仓储运营全链路数据进行预处理;动态数据生成模块用于处理标准仓储数据;智能计费引擎用于输出动态预扣费方案;预扣费管理模块用于建立三级预警机制;配置自动划扣策略;风控决策中心用于构建客户商业生态风险评估模型,并通过多维度风险指标加权计算,输出客户风险等级及预扣费调整策略;财务执行层用于执行实际资金划扣操作;本发明中通过动态费率模型与预测式计费逻辑实现个性化预扣费方案精准生成,结合三级预警机制保障预扣费执行可控,实现客户风险精准研判及差异化扣费策略调整。

一种货物配送路径优化方法、装置、计算机设备及介质

NºPublicación:  CN121787997A 03/04/2026
Solicitante: 
华南理工大学
CN_121787997_PA

Resumen de: CN121787997A

本发明提供了一种货物配送路径优化方法、装置、计算机设备及介质,属于路径优化领域,该方法包括:构建以最小化总配送成本为目标的车辆路径优化模型;采用遗传算法对所述车辆路径优化模型进行迭代求解,在所述遗传算法迭代过程中,根据当代种群的适应度分布,动态计算并应用交叉概率与变异概率,并通过引入移民算子,周期性在种群间交换精英个体;在迭代次数达到预设次数的情况下,所述遗传算法停止迭代,输出最优路径。这样,本发明在进行路径优化时能根据搜索进程自动调整搜索策略,并增加种群多样性,进一步拓展搜索空间,增强算法稳定性,在合理时间内稳定获得高质量生鲜物流配送方案。

一种基于深度强化学习的仓储货位智能分配方法

NºPublicación:  CN121788030A 03/04/2026
Solicitante: 
山东广晟进出口有限公司
CN_121788030_PA

Resumen de: CN121788030A

本发明公开了一种基于深度强化学习的仓储货位智能分配方法,包括如下步骤:获取并预处理仓储系统的多源业务数据与空间资源数据;构建仓储货位分配环境的状态要素集合;对状态要素集合进行统一编码,生成状态表示向量;构建仓储货位分配的动作集合并进行动态筛选,生成动态可执行动作集;构建复合奖励函数,并结合状态表示向量与动态可执行动作集生成训练环境交互数据集;训练价值网络与策略网络,生成货位分配策略模型;基于货位分配策略模型进行策略推理,生成目标货位分配决策并转换为仓储执行指令集。本发明采用深度强化学习方法构建动态货位分配模型,实现仓储货位智能决策与执行,具备自适应性强、资源利用率高和作业效率优的优点。

一种基于物联网的智慧社区管理设备

NºPublicación:  CN121788121A 03/04/2026
Solicitante: 
安居智联(深圳)技术有限公司
CN_121788121_PA

Resumen de: CN121788121A

本发明涉及物联网技术领域,尤其涉及一种基于物联网的智慧社区管理设备,包括集合柜体、固定连接于集成柜体内侧的控制装置、固定连接于集成柜体内侧的回收箱、固定连接于集成柜体内侧的活动座椅、固定连接于集成柜体内侧的固定箱,所述集成柜体包括有柜体、开设于柜体正面右侧的收纳槽、固定连接于收纳槽正面的观察窗、开设于柜体正面的固定槽。本发明通过控制装置作为基础,通过数据处理模块分析激光测距仪、压力传感器等采集的数据,当回收箱或伞柜存量不足时通过控制装置箱社区服务终端发送信息提醒补货提,通过社区内设置的摄像头与控制装置无线信号连接传输停车场的停放数据并储存于数据储存装置内再通过数据处理模块进行信息处理。

一种高校仪器设备全生命周期信息化管理系统

NºPublicación:  CN121788042A 03/04/2026
Solicitante: 
遵义师范学院
CN_121788042_PA

Resumen de: CN121788042A

本发明涉及设备管理技术领域,具体涉及了一种高校仪器设备全生命周期信息化管理系统。账户管理模块,用于根据账户登录信息,确定登录账户的职能部门身份,并对不同身份职能部门分配不同权限;论证管理模块,用于接收二级学院提交关于仪器设备申购请求,以及申购请求的购置论证,对购置论证进行审核;采购管理模块,用于对购置论证审核通过的申购请求,生成采购计划,将采购计划发送给招标职能部门,获取招标职能部门对采购计划的执行情况,将执行情况发送给财务职能部门;设备管理模块,用于对已采购的仪器设备的仪器设备数据进行录入,获取各二级学院提交的设备上报,根据设备上报对仪器设备生命周期内的所产生的生命周期数据进行记录。

智能仓储机器人搬运任务的最优目的地选择方法

NºPublicación:  CN121787854A 03/04/2026
Solicitante: 
湖南工程学院
CN_121787854_PA

Resumen de: CN121787854A

本发明公开了一种智能仓储机器人搬运任务的最优目的地选择方法,包括以下步骤:以机器人的行驶时间范围来表示灵活度,计算每个机器人的灵活度;按灵活度降序排序机器人;初始化目的地的就绪时间;按照降序排序后的机器人,逐个分配机器人到目的地;计算最终每个目的地完成所有交付任务的时间最大值,即得到初始解;使用启发式搜索优化算法进一步优化初始解,得到最优解。本发明通过最优目的地选择的优化算法,减少了所有工作站的总交付时间,大幅提升了整个仓储系统的总体运营效率。

一种货物集装方法及装置

NºPublicación:  CN121788001A 03/04/2026
Solicitante: 
军事科学院系统工程研究院后勤科学与技术研究所
CN_121788001_PA

Resumen de: CN121788001A

本发明公开了一种货物集装方法及装置,该方法包括获取货物集装信息,货物集装信息包括集装箱信息和待装箱货物信息;集装箱信息包括集装箱长度信息、集装箱宽度信息和集装箱高度信息;待装箱货物信息包括货物重量、体积、形状、材质、抗压强度、易碎等级、运输优先级、目的地、存储环境要求;对集装箱信息和所述待装箱货物信息进行处理,得到货物装箱方案。本发明引入HMM模型实现货物摆放序列的全局最优推断,避免了传统算法局部最优陷阱,减少方案迭代调整的次数;通过货物列表与装箱列表的规范化构建,实现了货物信息与集装箱信息的高效匹配,相比人工规划或传统算法,装箱方案的生成效率显著提升,实现全流程智能化管理。

一种基于风险传播动力学的桶式医疗废物智能调配系统及方法

NºPublicación:  CN121787996A 03/04/2026
Solicitante: 
艾信智慧科技发展(苏州)股份有限公司
CN_121787996_PA

Resumen de: CN121787996A

本发明公开了一种基于风险传播动力学的桶式医疗废物智能调配系统及方法,属于自动化控制技术领域。该系统通过智能传感器网络实时采集废物桶状态与环境参数、风险传播动力学引擎基于微分方程模型计算废物桶的动态风险演化、风险场计算引擎构建医院三维空间的风险分布图、风险相变检测器对整体风险状态进行监测并提前预警潜在风险爆发、风险中和调度器则结合风险分布和资源约束生成最优调度序列并驱动相关运输单元执行,实现了医疗废物全流程的动态化、智能化管控。

一种基于多模通信自适应决策的智能药柜信息交互方法及系统

NºPublicación:  CN121788028A 03/04/2026
Solicitante: 
南京天奥智能医疗科技有限公司
CN_121788028_PA

Resumen de: CN121788028A

本发明公开了一种基于多模通信自适应决策的智能药柜信息交互方法及系统,涉及智慧医疗领域,包括:采集模块,用于采集智能药柜出药过程中输出药品关联信息;提取模块,用于遍历药品关联信息,与药品关联信息中提取药品特征信息;交互模块,用于与智能药柜交互,获取智能药柜当前执行配药任务的药品属性及参数;本发明通过多维度信息采集与精准核验,结合动态调整的可信度判定标准,大幅降低出药错误率,有效规避用药风险,保障取药用户用药安全,针对不同风险等级药品灵活适配管控要求。

一种用于电梯部件生产物流的周转车定位管理方法及系统

NºPublicación:  CN121788009A 03/04/2026
Solicitante: 
天津盛驰精工有限公司
CN_121788009_PA

Resumen de: CN121788009A

本发明提供了一种用于电梯部件生产物流的周转车定位管理方法及系统,包括以下步骤:在周转车上设置车辆识别码和定位装置;使用扫描设备扫描车辆识别码采集周转车的身份信息,将物料信息与周转车的身份信息关联并上传至服务器;定位装置以固定间隔时间将位置信息发送至服务器;生产执行系统与服务器连接,实时更新物料信息和位置信息;通过物料信息和位置信息形成物流热力图和流转路径。本发明有益效果:通过定位装置实时发送位置信息,能够精准地追踪周转车的实时位置和所承载的物料信息,解决了传统方法中物料信息更新滞后和难以追踪的问题,通过二维码扫描设备自动采集周转车和物料信息,避免了人工录入错误,提高了数据的准确性和一致性。

基于强化学习的港口多资源低碳协同调度优化方法

NºPublicación:  CN121787994A 03/04/2026
Solicitante: 
杭州电子科技大学
CN_121787994_PA

Resumen de: CN121787994A

本发明公开了基于强化学习的港口多资源低碳协同调度优化方法,包括构建包含泊位、岸桥、堆场及移动岸电调度的混合整数非线性规划模型,确定目标函数与约束;依据输入数据生成多样化初始解并初始化算法参数;在主迭代循环中,通过Q‑learning智能体选择破坏/修复算子对并执行ALNS破坏‑修复操作生成候选解;根据目标函数与模拟退火接受准则确定是否接受候选解,计算并反馈奖励给Q‑learning模块以更新Q表与算子权重;逐步冷却温度并判断终止条件,输出最优调度方案与相关性能指标。本发明能够实现船舶、泊位、岸桥、移动岸电与堆场等多资源的协同优化,具有算法自适应性强、求解效率高、碳排放控制效果显著等特点,适用于复杂港口。

一种农产品的仓储溯源跟踪方法及系统

NºPublicación:  CN121788000A 03/04/2026
Solicitante: 
四川信特农牧科技有限公司
CN_121788000_PA

Resumen de: CN121788000A

本发明涉及仓储数字化技术领域,具体而言,涉及一种农产品的仓储溯源跟踪方法及系统,采用本发明所提供的方法,主要包括了基于图像识别模型对图像数据进行识别,输出当前是否有损坏的结果;若有,则发送告警至接收终端,若无,则等待接收终端发送被储存产品损坏的反馈信号,获取每个节点的输入数据,建立预测问题节点模型。通过上述方法,对每个节点进行了综合评估,并给出了问题评价指数的排序,客服终端可以根据排序的结果做维护辅助引导,去得到进行排除问题的顺序,在核查出节点有问题时,则可以进行相关的整改工作,而不浪费问题排除的时间。

一种机器人货架巡检方法、装置、设备和系统

NºPublicación:  CN121788035A 03/04/2026
Solicitante: 
苏州万店掌网络科技有限公司
CN_121788035_PA

Resumen de: CN121788035A

本申请涉及货架巡检领域,特别是涉及一种机器人货架巡检方法、装置、设备和系统,方法包括:获取针对第一目标货架的巡检任务;依据目标门店的门店地图,按照巡检任务控制机器人对第一目标货架进行商品缺货巡检并得到单点位检测结果,确定缺货位置;基于单点位检测结果,结合第一目标货架的货架标准信息和历史检测数据,能够精准确定第一目标货架缺失的商品信息,其中,货架标准信息提供了每个位置应有的商品信息,历史检测数据则能反映出该货架过去的情况,二者相互补充,使得对缺失商品信息的判断更加准确可靠,从而有效提高了货架巡检的效率和准确性,及时发现缺货情况,保障了门店商品的正常供应。

基于深度学习与鸟瞰视觉的仓储货位状态监测方法及系统

NºPublicación:  CN121788032A 03/04/2026
Solicitante: 
合肥市极点智库智能装备有限公司
CN_121788032_PA

Resumen de: CN121788032A

本发明型涉及智慧仓储领域,具体公开了基于深度学习与鸟瞰视觉的仓储货位状态监测方法及系统,该方法包括:通过单摄像头采集仓储区域图像,利用预先标定的参数进行去畸变和鸟瞰变换,生成鸟瞰图像;采用预先训练的深度学习目标检测模型识别出图像中的货位状态;将识别出的货位状态与虚拟货位网格空间位置匹配,根据匹配结果确定或更新各虚拟货位的状态信息,系统包括图像采集模块、边缘计算单元和配置存储模块;本发明显著降低了模型训练难度,提高了系统鲁棒性;通过虚拟网格配置实现软件定义货位布局,大幅提升了系统灵活性和可扩展性;以低成本视觉方案替代高成本传感器阵列,实现了对大规模仓储区域货位状态的实时、准确、自动化监测。

一种物流仓储库存动态优化方法、设备、介质及产品

NºPublicación:  CN121788010A 03/04/2026
Solicitante: 
江苏联恒物宇科技有限公司
CN_121788010_PA

Resumen de: CN121788010A

一种物流仓储库存动态优化方法、设备、介质及产品。在该方法中,获取与货物关联的RFID的相位信号,以及多普勒频移;根据相位信号和多普勒频移,通过融合算法,得到货物的三维空间坐标;根据货物的尺寸与存取频率,生成第一特征子向量;根据货物的保质期与当前系统时间计算出剩余有效期,并对剩余有效期进行归一化处理,生成第二特征子向量;将第一特征子向量与第二特征子向量进行拼接,构成货物的节点特征向量;将节点特征向量与三维空间坐标,输入货位动态拓扑模型,得到实时关联权重;获取实时销售数据与供应链风险因子,并结合实时关联权重,通过补货决策逻辑生成补货计划。实施本方案,实现了库存水平的动态平衡与风险前瞻性管控。

退款请求的处理方法及装置、设备

NºPublicación:  CN121788138A 03/04/2026
Solicitante: 
北京百度网讯科技有限公司
CN_121788138_PA

Resumen de: CN121788138A

本公开提供了一种退款请求的处理方法及装置、设备和介质,涉及计算机技术领域,尤其涉及电子商务平台技术领域。实现方案为:响应于接收到用户针对已发货的目标订单提交的退款请求,从订单数据库中查询目标订单的物流商的信息、商品类目和订单金额;通过调用物流商的信息查询接口,查询目标订单的物流状态;基于目标订单的物流状态和目标订单的详情信息进行校验;响应于目标订单满足校验通过条件,调用物流商的通信接口下发拦截指令;监听物流商的通信接口;以及响应于监听到拦截成功的反馈信号,执行针对目标订单的退款操作。

一种煤矿柴油机尾气隔爆栅栏清洗作业管理方法及系统

NºPublicación:  CN121787805A 03/04/2026
Solicitante: 
鄂尔多斯市营盘壕煤炭有限公司
CN_121787805_PA

Resumen de: CN121787805A

本申请涉及煤矿安全生产管理领域,公开了一种煤矿柴油机尾气隔爆栅栏清洗作业管理方法及系统,其方法包括:获取隔爆栅栏的清洗历史数据、柴油机尾气的实时排气压力、柴油机累计运行时间以及隔爆栅栏所在区域的井下环境参数;评估隔爆栅栏的结垢风险,并根据结垢风险分配清洗任务的优先级,根据结垢风险以及清洗任务的优先级,计算清洗剂的预估消耗量;汇总未来预设时间段内优先级高于预设等级的清洗任务的预估消耗量形成汇总消耗量,将汇总消耗量与当前清洗剂库存量进行对比,触发补货预警,根据补货预警,并结合清洗剂运输周期,发出补货指令或区域间调配建议。本申请有效解决了现有技术中清洗剂消耗模式变化导致库存管理失效的问题。

一种基于多模型协同的物流单据智能录入方法及系统

NºPublicación:  CN121787993A 03/04/2026
Solicitante: 
中化能源科技有限公司
CN_121787993_PA

Resumen de: CN121094666A

The invention relates to a logistics receipt intelligent input method and system based on multi-model collaboration, and the method comprises the steps: obtaining a logistics receipt image through an image collection device, and carrying out the preprocessing of the logistics receipt image; identifying the preprocessed logistics document image by using a multi-modal identification model, and starting an independent thread for synchronous processing to obtain an identification result; the inference model classifies the identification results based on a business rule base to obtain business keywords, and ledger information is generated based on a ledger template and the business keywords; monitoring arrangement and scheduling conditions of the multi-modal recognition model and the reasoning model, adjusting an execution sequence based on the arrangement and scheduling conditions, and optimizing a distribution path; and encrypting the generated standing book, and connecting the encrypted standing book to a service system through an interface to complete input. Through cooperative operation of a multi-modal identification model and an inference model and an innovative interaction mode, end-to-end automation of logistics document data from acquisition to input is realized.

智能仓库存储转运调度系统及其应用方法

NºPublicación:  CN121788024A 03/04/2026
Solicitante: 
苏州信泰中运物流有限公司
CN_121788024_PA

Resumen de: CN121788024A

本发明公开了智能仓库存储转运调度系统及其应用方法,涉及智能仓储物流技术领域,该系统包括服务器模块、手持终端模块和快递存取模块:服务器模块基于实时需求和历史使用数据,通过机器学习时序预测模型动态分配存储位数量;手持终端模块通过颜色编码地图直观显示存取箱实时可用空间,并自动生成最优投递路径;快递存取模块通过虚拟资源单元为合作快递公司创建独立虚拟存储空间,应用方法包括实时数据采集、需求峰值预测、虚拟配额调整、可视化导引界面生成及改道建议触发,实现了存储位资源的智能动态调度、公平弹性分配、操作便捷导引及拥堵预警优化,显著提升了仓储转运效率和系统适应性。

辅料缺货预警方法、设备、介质及程序产品

NºPublicación:  CN121787902A 03/04/2026
Solicitante: 
浙江中烟工业有限责任公司
CN_121787902_PA

Resumen de: CN121787902A

本申请公开一种辅料缺货预警方法、设备、介质及程序产品,方法包括:获取待检测辅料对应的生产源数据;根据生产源数据,以及预设缺货贝叶斯网络模型,计算得到待检测辅料的先验缺货概率;将生产源数据输入预先训练的缺货风险预测模型中,得到缺货风险预测模型输出的待检测辅料的缺货风险预测值;根据待检测辅料的先验缺货概率以及缺货风险预测值,确定待检测辅料的辅料缺货风险评估结果,并在辅料缺货风险评估结果不满足预设评估需求时,触发目标辅料缺货预警。即本申请的方案,根据生产源数据确定辅料的缺货风险预测值,结合先验缺货概率得到辅料的缺货风险评估结果,触发辅料缺货预警,即对辅料缺货进行提前预警,进而保证了生产计划。

一种基于自注意力机制的港口堆场集装箱存放时间预测方法和装置

NºPublicación:  CN121786783A 03/04/2026
Solicitante: 
浙江工业大学
CN_121786783_PA

Resumen de: CN121786783A

一种基于自注意力机制的港口堆场集装箱存放时间预测方法和装置,其方法包括:利用灰色关联度分析计算各特征变量与存放时间的关联度,并基于关联度筛选出具有高度相关性的特征变量作为预测输入引入多头自注意力网络建模变量间复杂依赖关系与长程序列特征,并结合全连接网络实现非线性映射与拟合,从而有效提升预测结果的准确性;在模型训练过程中,设计具有度量单调一致性的损失函数,约束模型在不损失预测精度的前提下保持输出结果的单调顺序一致性,降低堆场作业中因预测顺序偏差导致的翻箱与二次转运风险;从预测精度和单调一致性两个维度对模型预测性能进行全面评估。本发明兼顾预测精度与应用实用性,能够为堆场集装箱存放优化提供可靠的时间信息。

物体体积确定方法、计算机设备和可读存储介质

NºPublicación:  CN121788592A 03/04/2026
Solicitante: 
顺丰科技有限公司
CN_121788592_PA

Resumen de: CN121788592A

本申请涉及一种物体体积确定方法、计算机设备和可读存储介质,涉及物流技术领域。该方法包括:获取物体的图像;图像包括物体的参考物体区域;对图像中的各点进行聚类处理,得到图像对应的初始平面集;初始平面集中的每个初始平面均对应多个平面点;确定初始平面集中的待分离平面,对待分离平面进行分离处理,得到候选平面集;待分离平面为对应的多个平面点属于不同平面的初始平面;根据参考物体区域,从候选平面集中确定出与参考物体区域相交的相交平面集以及物体的支撑平面;根据相交平面集和参考物体区域,确定物体的第一物体点云,根据支撑平面的平面点云和第一物体点云,确定物体的体积。采用本方法能够提高物体体积的确定效率。

烟草生产设备的配件需求预测方法及系统

NºPublicación:  CN121787645A 03/04/2026
Solicitante: 
红云红河烟草(集团)有限责任公司
CN_121787645_PA

Resumen de: CN121787645A

本申请公开了一种烟草生产设备的配件需求预测方法及系统,涉及烟草生产设备技术领域,方法实时采集工况与库存数据,经标准化预处理构建统一多源数据集,奠定结构化数据基础;基于图数据库建立融合模型,通过节点关系网络关联机型、配件与寿命指标,实现多维度关系可视化与快速检索;采用健康评估算法,通过特征加权融合与层次聚合量化工况健康指数,形成设备健康状态数值化标准;利用动态区间分类算法将健康指数映射为预设健康状态类别,输出分类结果;构建时间序列预测系统,综合设备健康状态与历史消耗数据,采用分解‑预测‑重组策略生成未来周期需求预测序列。全流程通过数据标准化、关系建模、健康量化、状态分类与预测算法闭环。

订单信息处理系统、方法、装置、电子设备及存储介质

NºPublicación:  CN121788210A 03/04/2026
Solicitante: 
拉扎斯网络科技(上海)有限公司
CN_121788210_PA

Resumen de: CN121788210A

本申请公开了订单信息处理系统、方法、装置、电子设备及存储介质,在该系统中,由于打印扫描设备获得的目标待打印数据为与目标备货工序对应的待打印数据,进而便于通过查看目标备货小票提升针对目标商品在目标备货工序的备货效率,同时避免漏掉对目标商品的目标备货工序;在完成该目标备货工序后,打印扫描设备对目标编码信息进行扫描获得目标扫描结果信息,将目标扫描结果信息提供给云端服务器,以便于云端服务器基于目标扫描结果信息确定目标商品的目标备货工序,并在判断目标商品还存在下个备货工序时,将与下个备货工序对应的下个待打印数据发送给执行下个备货工序任务的打印扫描设备,便于执行下个备货工序,进而提升了商品的备货效率。

用于确定飞机产品制造适航条款符合性表明流程的方法

NºPublicación:  CN121788146A 03/04/2026
Solicitante: 
中航通飞华南飞机工业有限公司
CN_121788146_PA

Resumen de: CN121788146A

本发明属于航空产品适航审定技术领域,涉及一种用于确定飞机产品制造适航条款符合性表明流程的方法。包括如下步骤:S1:基于飞机取证构型,根据产品类型确定产品清单;S2:基于产品FMEA等级,根据零件类型确定产品零件清单;S3:基于产品零件制造材料和工艺,确定工艺规范清单;S4:基于工艺规范来源和使用场景,确定符合性表明方法。按此方法开展民用飞机产品制造方法适航条款适航验证工作可以明确验证思路,提高适航文件编写质量,减少适航审查更改次数,缩短民用飞机产品适航取证周期,助力飞机产品制造方法尽快获得适航当局批准,实现某飞机制造方法适航条款快速取证的目的。

一种多区域协同的物流运输路径全局规划管理系统

NºPublicación:  CN121788014A 03/04/2026
Solicitante: 
中永智慧科技(深圳)有限公司
CN_121788014_PA

Resumen de: CN121788014A

本发明涉及路径规划技术领域,具体为一种多区域协同的物流运输路径全局规划管理系统,系统包括路径节点特性识别模块、路径段通行负载分析模块、路径调度缓冲构建模块、路径序列稳定分级模块和路径执行顺序优化模块。本发明,通过采集物流网络中各节点在单位时间内的入出境货物流通体积并计算其差值,结合节点任务密度筛选出负荷与流通方向一致的调度关键点,识别运输路径中的压强异常区段,提取调度碰撞点,提升任务之间的调度弹性,通过对路径段在缓冲时间内的任务序列稳定性分析实施稳定等级划分并优化路径执行顺序,实现对路径动态变化的快速响应与任务冲突的前置规避,有效提升了路径规划的灵活性与全局调度的协调性。

一种多温冷链自动配送系统及配送方法

NºPublicación:  CN121788005A 03/04/2026
Solicitante: 
韶关学院
CN_121788005_PA

Resumen de: CN121788005A

本发明涉及一种多温冷链自动配送系统及配送方法。本发明所述的一种多温冷链自动配送方法,包括如下步骤:S1,装载货物;S2,自动配送,根据货物信息进行路径规划并自动配送至目标取货地;S3,自动取货,通知客户并为客户自动取货;S4,遍历全部配送点后返回配送站。本发明所述的一种多温冷链自动配送方法,将货物分装于若干货箱体内,在每次取货时,待取货的货箱体自动转动至取货门后方,实现自动取货;每次取件仅需打开一个取货门,可以有效地避免在配送过程中需频繁地取货所导致的大量的冷气散失,能够减少箱内温度的波动及提高能源利用率;同时搭载自动导航机构,能够实现全自动配送货物,节省人力,降低配送成本。

基于群体智能算法的末端配送网络负载均衡方法及系统

NºPublicación:  CN121787992A 03/04/2026
Solicitante: 
深圳市海渡翼科技有限公司
CN_121787992_PA

Resumen de: CN121787992A

本发明公开了一种基于群体智能算法的末端配送网络负载均衡方法及系统,涉及智能物流领域,所述方法通过改进的聚类算法将配送区域划分为多个子区域;采用带容量约束的负载均衡模型,利用改进的蚁群算法进行订单分配;设计融合负载信息的信息素更新规则;建立动态负载反馈机制;采用多目标Pareto最优解集筛选机制。与传统方法相比,本发明在保持配送效率的同时,提升了系统负载均衡度,提高了资源利用率,缩短了动态场景下的重分配响应时间,有效解决了末端配送中因负载不均导致的资源闲置与过载问题,显著提升了配送系统的吞吐量和稳定性。

一种跨境电商数据驱动的智能库存与物流调度方法及系统

NºPublicación:  CN121788026A 03/04/2026
Solicitante: 
电能易购(北京)科技有限公司
CN_121788026_A

Resumen de: CN121788026A

本发明公开了一种跨境电商数据驱动的智能库存与物流调度方法及系统,属于跨境电商系统技术领域。本发明为解决跨境业务中数据同步延迟高、库存调拨复杂及物流路径选择困难的问题,通过事件驱动的数据同步架构、分布式差分同步、加密机制、多目标库存调拨优化和物流路径优化方法实现。本发明能够实现跨境订单、库存及物流数据的实时安全同步,自动化多仓库存调拨和跨境物流路径优化,提高系统调度效率与可靠性。

一种基于AI的自动导引车调度系统和方法

NºPublicación:  CN121787772A 03/04/2026
Solicitante: 
北京计算机技术及应用研究所
CN_121787772_PA

Resumen de: CN121787772A

本发明涉及一种基于AI的自动导引车调度系统和方法,属于车辆调度技术领域。本发明的系统包括:任务管理模块、环境感知模块、多智能体强化学习调度中心、路径规划与冲突预测模块和通信模块。本发明通过多智能体强化学习,系统能够从历史数据中学习复杂的调度策略,自适应动态变化的环境,实现长期整体效益的最大化,而非简单的规则响应;引入动态权重机制,能够同时考虑任务紧急程度、路径效率、设备状态、交通拥堵等多个因素,并根据实际效果自我调整权重,实现多目标之间的精细平衡;将冲突预测融入路径规划阶段,变被动解决为主动避免,显著减少了系统死锁和拥堵风险,提高了运行的流畅度和可靠性。

一种供电所物资管理优化分析方法

NºPublicación:  CN121788022A 03/04/2026
Solicitante: 
国网河南省电力公司商丘供电公司
CN_121788022_PA

Resumen de: CN121788022A

本发明公开了一种供电所物资管理优化分析方法,包括以下分析步骤:S1、对仓储库存数据进行采集,得到仓储管理数据和物资图像数据信息;S2、基于高斯分布对物资图像数据进行几何分类;S3、对分类后的物资图像数据进行融合,并输出图像数据信息;S4、构建电力数据信息关联模型,对各种仓储数据之间的关系进行分析;S5、将经过关联分析后的数据信息输入改进后的YOLOv8算法中,对仓储库存数据进行分析,输出不同电力仓储数据管控信息;本发明可对供电所物资管理进行优化,大幅降低了人工干预,提升了管理精度和效率,实现智能化仓储管理。

物品配送方法、物品分拣方法、计算机设备、可读存储介质和程序产品

NºPublicación:  CN121788016A 03/04/2026
Solicitante: 
顺丰科技有限公司
CN_121788016_PA

Resumen de: CN121788016A

本申请涉及一种物品配送方法、物品分拣方法、计算机设备、计算机可读存储介质和计算机程序产品。所述方法包括:根据接收自第一终端的配送信息获取请求,获取待配送物品对应的配送意图和配送区域;其中配送意图和配送区域根据待配送物品的收件信息识别得到;在待配送物品的配送意图指示非上门配送,且配送区域属于集中配送区域的情况下,得到指示对待配送物品进行集中配送的配送提示信息;向第一终端发送待配送物品的配送提示信息。采用本方法能够提高物品的配送效率。

一种基于区块链的水路供应链货物溯源方法及系统

NºPublicación:  CN121787999A 03/04/2026
Solicitante: 
江苏水上丝路供应链管理有限公司
CN_121787999_PA

Resumen de: CN121787999A

本发明属于水路运输技术领域,具体公开了一种基于区块链的水路供应链货物溯源方法及系统。该方法包括确定与指定节点在时间上具有先后关系的关键节点,并将其标定为起始节点与终节点,以起始节点与所述终节点为起点执行方向性溯源,以建立关联节点集,当接收到包含方向标识的用户查询需求时,从关联节点集中筛选出延伸节点,并结合指定节点与延伸节点,生成溯源信息。本发明通过将溯源范围限定在由起始节点与终节点确定的关键区段内,提升了溯源的精准度,同时通过基于方向标识实现灵活查询,以提升响应的速度。

港口作业人员安全行为智能识别与管理系统

NºPublicación:  CN121787998A 03/04/2026
Solicitante: 
黄剑华
CN_121787998_PA

Resumen de: CN121787998A

本发明涉及安全监管技术领域,公开了港口作业人员安全行为智能识别与管理系统,包括多源数据网格化感知模块、智能行为识别与分析模块、实时预警与干预模块、可视化与决策支持模块和作业人员安全监管模块,多源数据网格化感知模块构建港口全域的空间数字化底座,通过融入坐标系网格化采集、电子围栏、危险区域划分、违规闯入响应的手段,实现从泛化行为识别到空间精准管控的升级,并能够以网格化数据为底座,将电子围栏划定为行为红线,危险区域标注风险靶点,智能识别锁定违规人员,同时分级响应阻断危险,最终形成区域可定义、风险可量化、响应可闭环的港口人员安全管控体系,显著降低港口作业的事故风险。

一种设备任务生成方法、装置、设备、介质及产品

NºPublicación:  CN121788031A 03/04/2026
Solicitante: 
浙江海蜂智能科技有限公司
CN_121788031_PA

Resumen de: CN121788031A

本申请公开了一种设备任务生成方法、装置、设备、介质及产品,包括:获取仓储业务单据的目标信息,其中,所述目标信息包括业务类型、任务类型以及目标关键数据项;基于各任务模型的预设匹配规则以及所述目标信息为所述仓储业务单据匹配目标任务模型;基于所述目标任务模型中的预设聚合规则对所述仓储业务单据进行聚合,得到聚合业务单据,其中,所述预设聚合规则为按照预设维度将同属于该预设维度的仓储业务单据聚合,所述预设维度包括容器;生成所述聚合业务单据对应的设备任务。这样,能够提升任务生成的可扩展性,适应不同业务场景,并提升设备运行效率。

煤炭企业上报数据真实性判断方法、装置设备及存储介质

NºPublicación:  CN121787730A 03/04/2026
Solicitante: 
北京至简能源有限公司
CN_121787730_PA

Resumen de: CN121787730A

本申请涉及一种煤炭企业上报数据真实性判断方法、装置、设备及存储介质。其中,该方法包括以预设周期同步采集业务系统的各原始数据;基于预设的多维度验真规则,对各原始数据进行交叉验证;基于交叉验证所得到的验证结果,判断原始数据所对应上报数据的真实性。由此,本公开实施例通过同步采集业务系统的各原始数据,并进行交叉验证,以消除单一数据由于数据壁垒,难以验证上报数据真实性的问题。

外卖配送服务范围划分方法、装置、设备及存储介质

NºPublicación:  CN121788178A 03/04/2026
Solicitante: 
武汉数智云科技有限公司
CN_121788178_A

Resumen de: CN121788178A

本发明公开了一种外卖配送服务范围划分方法、装置、设备及存储介质,所述方法通过门店位置信息、动态交通因子、动态出餐因子、骑手类型因子、优化因子和终点送达难度因子动态计算配送时间;根据配送时间计算门店到路网中各节点的最短通行时间,根据最短通行时间生成专送等时线和快送等时线;根据预设运力密度阈值和预设历史准时率阈值对专送等时线进行动态优化,根据优化结果和快送等时线生成快送服务区,有效解决了传统外卖配送范围划分方法依赖静态距离、无法实时适应运力分布、天气变化及订单密度波动导致的资源浪费和服务盲区问题,能够实现配送服务范围的精准动态调整,显著提升了配送准时率、资源利用率及用户下单体验。

配達員管理方法およびそのシステム

NºPublicación:  JP2026510210A 02/04/2026
Solicitante: 
クーパンコーポレイション
JP_2026510210_A

Resumen de: TW202538614A

There are provided a method and system for deciding whether or not a delivery person performs a target behavior unrelated to a specific delivery in performing the specific delivery and managing the delivery person based on a decision result. A method for managing a delivery person may include obtaining trajectory information on a specific delivery of a delivery person, identifying a low-speed trajectory segment based on the trajectory information, and deciding whether or not the identified low-speed trajectory segment is associated with a target behavior unrelated to the specific delivery.

GRAIN TRACKING SYSTEM AND METHOD FOR USE IN AGRICULTURE SUPPLY CHAINS

NºPublicación:  AU2024346395A1 02/04/2026
Solicitante: 
PERDUE AGRIBUSINESS LLC
PERDUE AGRIBUSINESS LLC
AU_2024346395_PA

Resumen de: AU2024346395A1

Disclosed is a method for tracking an agricultural product variety such as a variety of a grain through a supply chain by identifying the agricultural product variety or the variety of the grain based on a distinguishable characteristic of a sample of the agricultural product or grain; wherein the distinguishable characteristic is phenotypic; and the distinguishable characteristic is (i) a seed characteristic of a plurality of seed in the sample; or (ii) a secondary characteristic of plants grown from the seed; or (iii) a combination thereof. Also disclosed is a method of making an agricultural product variety or variety of a grain identifiable by breeding to establish the distinguishable characteristic. Further disclosed is a taxonomy system for identifying an agricultural product variety, such as a grain variety, by defining a set of distinguishable structural features of the agricultural product variety.

INTELLIGENTES AUFBEWAHRUNGSSYSTEM

NºPublicación:  DE102024133776A1 02/04/2026
Solicitante: 
GM GLOBAL TECH OPERATIONS LLC [US]
GM Global Technology Operations LLC

Resumen de: DE102024133776A1

Ein Fahrzeug enthält mehrere Aufbewahrungszonen. Ein Satz Bildgebungssensoren definiert Sichtfelder und jede Aufbewahrungszone ist in mindestens einem definierten Sichtfeld enthalten. Ein Controller ist in Kommunikation mit dem Satz Bildgebungssensoren und enthält einen Satz Verarbeitungsmodule, die konfiguriert sind, zusammenwirkend ein intelligentes Aufbewahrungsverfolgungssystem zu implementieren, das ein Personenerkennungsverarbeitungsmodul und ein Objekterkennungsverarbeitungsmodul enthält. Das Personenerkennungsverarbeitungsmodul enthält einen Prozess zum Identifizieren eindeutiger Personen unter Verwendung von Bildanalyse und das Objekterkennungsmodul enthält einen Prozess zum Identifizieren eindeutiger Objekte unter Verwendung von Bildanalyse. Das intelligente Aufbewahrungsverfolgungssystem definiert einen Objekt-zu-Person-und-Ort-Dateneintrag in einer Datenbank unter Verwendung des Personenerkennungsverarbeitungsmoduls und des Objekterkennungsverarbeitungsmoduls. Die Datenbank ist in Kommunikation mit dem Controller und speichert jeden definierten Objekt-zu-Person-und-Ort-Dateneintrag.

"FOREVER QURAN PAPER" recycling qurans and treating the papers to reproduce new qurans. to renew the lifecycle of the quran. treat and reuse paper for qurans

NºPublicación:  AU2024219673A1 02/04/2026
Solicitante: 
ALLOUCHE SALIM
allouche, salim
AU_2024219673_A1

Resumen de: AU2024219673A1

Abstract This invention provides a method for recycling old Quran pages and repurposing them into new paper suitable for printing new Quran copies. The process involves collecting worn-out Quran pages, shredding and pulping them using environmentally friendly methods, and producing high-quality paper for reprinting. The recycling process is overseen by religious scholars to ensure that Islamic guidelines are followed, creating a "Forever Quran" cycle that respects the sanctity of the Quran and contributes to environmental sustainability.

判定装置、判定システム、判定方法、プログラム、及び記憶媒体

NºPublicación:  JP2026057208A 02/04/2026
Solicitante: 
株式会社東芝
JP_2026057208_A

Resumen de: JP2026057208A

【課題】業務災害の発生を抑制可能な、判定装置、判定システム、判定方法、プログラム、及び記憶媒体を提供する。【解決手段】実施形態に係る判定装置は、画像から人及び物を検出するとともに、読取装置によって読み取られた人の識別情報を取得する。判定装置は、検出された人に、識別情報と、データベースに登録された人の情報と、を紐付ける。判定装置は、検出された物を識別する。判定装置は、画像から計算される人の位置、画像から計算される物の位置、人の情報、データベースに登録された物の情報から、危険性の判定に使用される要素を抽出する。判定装置は、抽出された要素を危険性の判定条件と比較し、危険性があると判定された場合に、危険を回避するための安全指示を送信する。【選択図】図1

ARBEITSMASCHINE UND TRAGBARE ENDGERÄTVORRICHTUNG FÜR ARBEITSMASCHINE

NºPublicación:  DE102025138427A1 02/04/2026
Solicitante: 
SUMITOMO CONSTRUCTION MACHINERY CO LTD [JP]
SUMITOMO CONSTRUCTION MACHINERY CO., LTD
DE_102025138427_PA

Resumen de: DE102025138427A1

Eine Arbeitsmaschine umfasst einen unteren Fahrkörper; einen oberen Schwenkkörper, der an dem unteren Fahrkörper schwenkbar montiert ist; ein Ansatzstück, das an dem oberen Schwenkkörper angebracht ist; eine Informationserfassungsvorrichtung, die so konfiguriert ist, dass sie Nutzlastinformationen erfasst, die Informationen über ein Gewicht eines Objekts sind, die von dem Ansatzstück auf eine Ladefläche eines Lieferfahrzeugs geladen wurde; und eine Kommunikationsvorrichtung, die so konfiguriert ist, dass sie die Nutzlastinformationen an eine tragbare Endgerätvorrichtung überträgt, die so konfiguriert ist, dass sie drahtlose Kommunikation mit dem Lieferfahrzeug ermöglicht.

INFORMATION PROCESSING METHOD, INFORMATION PROCESSING DEVICE, AND INFORMATION PROCESSING PROGRAM

NºPublicación:  WO2026070421A1 02/04/2026
Solicitante: 
PANASONIC INTELLECTUAL PROPERTY MAN CO LTD [JP]
\u30D1\u30CA\u30BD\u30CB\u30C3\u30AF\uFF29\uFF30\u30DE\u30CD\u30B8\u30E1\u30F3\u30C8\u682A\u5F0F\u4F1A\u793E
WO_2026070421_A1

Resumen de: WO2026070421A1

This information processing device acquires past daily inventory levels, demand, and incoming quantities of a product. On the basis of the inventory levels, the device calculates a moving average convergence/divergence (MACD) value of the past daily inventory levels and a signal value indicating a moving average of the MACD value. Using the inventory levels, demand, incoming quantities, MACD value, and signal value, the device creates an analysis report analyzing the inventory status and outputs the analysis report.

INFORMATION PROCESSING METHOD, INFORMATION PROCESSING DEVICE, AND INFORMATION PROCESSING PROGRAM

NºPublicación:  WO2026070417A1 02/04/2026
Solicitante: 
PANASONIC INTELLECTUAL PROPERTY MAN CO LTD [JP]
\u30D1\u30CA\u30BD\u30CB\u30C3\u30AF\uFF29\uFF30\u30DE\u30CD\u30B8\u30E1\u30F3\u30C8\u682A\u5F0F\u4F1A\u793E
WO_2026070417_A1

Resumen de: WO2026070417A1

This information processing device: acquires current and past demand results for a product; creates, on the basis of the demand results, a plurality of demand forecast patterns indicating daily demand in a future first period; calculates, for each of the plurality of demand forecast patterns, daily production plan amounts, sales plan amounts, and inventory plan amounts using a dynamic buffer management algorithm; creates, for each of the plurality of demand forecast patterns, a plurality of sets of PSI (production/sales/inventory) plan information including monthly production plan amounts, sales plan amounts and inventory plan amounts obtained by aggregating the daily production plan amounts, sales plan amounts and inventory plan amounts by month; and selects one set of the PSI plan information from among the plurality of sets of PSI plan information on the basis of at least one of cost, the number of times the inventory runs out, and the number of times the inventory becomes excessive.

INFORMATION PROCESSING DEVICE AND INFORMATION PROCESSING SYSTEM

NºPublicación:  WO2026070053A1 02/04/2026
Solicitante: 
SONY SEMICONDUCTOR SOLUTIONS CORP [JP]
\u30BD\u30CB\u30FC\u30BB\u30DF\u30B3\u30F3\u30C0\u30AF\u30BF\u30BD\u30EA\u30E5\u30FC\u30B7\u30E7\u30F3\u30BA\u682A\u5F0F\u4F1A\u793E
WO_2026070053_A1

Resumen de: WO2026070053A1

Problem To automatically identify work to be performed on a vehicle. Solution An information processing device comprising a processing unit that identifies the start of work on the basis of the overlapping of a first detection target of a vehicle and a second detection target that performs work on the vehicle in an image captured by a camera.

SYSTEM AND METHOD FOR CLASSIFICATION, CLEANSING AND ENRICHMENT OF A PRODUCT AND MATERIAL MASTER DATA

NºPublicación:  WO2026069044A1 02/04/2026
Solicitante: 
SAIS016 TECH SOLUTIONS PRIVATE LIMITED [IN]
SAIS016 TECHNOLOGY SOLUTIONS PRIVATE LIMITED
WO_2026069044_A1

Resumen de: WO2026069044A1

A system (100) for classification, cleansing and enrichment of a product and material master data is disclosed The input module (120) receives one or more files from a user via an user interface for creation of a master data. The processing module (130) processes the one or more files by utilizing a large language model. The classification module (140) categorizes the one or more files based on a taxonomy file or a default taxonomy uploaded by the user. The cleansing module (150) assigns a plurality of characteristics corresponding to the plurality of products based on the class, subclass and the one or more files. The enrichment module (160) extracts an additional information about the plurality of products from an external source. The output module (170) provides the data of the one or more files in a plurality of formats.

METAL RECOVERY AND REGENERATION PRODUCTION HISTORY RECORDING APPLICATION PROGRAM WITH CARBON DISCLOSURE FUNCTION

NºPublicación:  US20260094169A1 02/04/2026
Solicitante: 
HF INVEST LTD [TW]
HF investment Ltd
US_20260094169_A1

Resumen de: US20260094169A1

An application for metal recycling and regeneration production traceability with carbon disclosure is installed on a device and executes a method. The device is signal-connected to a server. The method includes steps of: displaying a user interface to receive necessary carbon disclosure data, initiating a recycling program on the server, and generating corresponding labels along with an access node for each of the label; reading each of the label via barcode recognition or image recognition and obtaining access permissions for multiple access nodes associated with the labels from the server; receiving or obtaining data of audio-visual information or detection, transmitting the data to the server, and recording the data in the corresponding access node; displaying the data by retrieving the access node from the server and presenting at least material comparison results, raw material production history, grade compensation, real-time carbon data, or carbon certificates through the user interface.

System and method for tracking objects or batches within a work environment

NºPublicación:  US20260093007A1 02/04/2026
Solicitante: 
KOMETE SMART FACTORY MADE EASY SRL [IT]
Komete Smart Factory Made Easy Srl
US_20260093007_A1

Resumen de: US20260093007A1

An automatic system for tracking an object or batch of products within a work area such as a yard or an industrial building includes at least one emitter asset tag that can be uniquely associated with the object or batch of products, at least one device having at least one receiving unit defining a first action area, and a central unit operably connectable with the at least one device. When the emitter asset tag is within the action area, the central unit detects the presence of the at least one emitter asset tag.

SYSTEMS AND METHODS FOR INTELLIGENT DETECTION OF ABNORMAL CONDITIONS ASSOCIATED WITH SHIPPING CONTAINERS

NºPublicación:  US20260091813A1 02/04/2026
Solicitante: 
BNSF RAILWAY COMPANY [US]
BNSF Railway Company
US_20260091813_A1

Resumen de: US20260091813A1

Systems and techniques for intelligent detection of abnormal conditions associated with a shipping container. A system includes an on-site system configured to capture sensor data associated with a condition of a container carried by a train car of a train, analyze the sensor data to determine whether the condition of the container indicates an abnormal condition, and identify one or more of the train car, the container, and the train. The system also includes a backend system configured to receive a detection message from the on-site system and generate an alert signal in response to a determination that the condition of the container indicates an abnormal condition. The alert includes the abnormal condition and identification information, and causes one or more remedial actions to respond to the abnormal condition of the container.

RADIO DEVICE, READER DEVICE AND METHOD FOR OPERATING THEM

NºPublicación:  US20260095249A1 02/04/2026
Solicitante: 
FRAUNHOFER GES ZUR FOERDERUNG DER ANGEWANDTEN FORSCHUNG E V [DE]
Fraunhofer-Gesellschaft zur F\u00F6rderung der angewandten Forschung e.V
US_20260095249_A1

Resumen de: US20260095249A1

A radio device for a wireless communication network includes a backscatter transmitter for transmitting a signal using a backscattered signal, and to at least one or more groups of a plurality of different device groups.

METHOD AND APPARATUS OF VERIFYING AUTHENTICITY OF SELLER'S IDENTITY FOR LICENSE AGENCY SERVICE

NºPublicación:  US20260094170A1 02/04/2026
Solicitante: 
AUTOWINI INC [KR]
AUTOWINI INC
US_20260094170_A1

Resumen de: US20260094170A1

A method and an apparatus of license agency service based on authenticity of a seller’s identity. The method may include: receiving license agency service application information of a seller and product information of one or more products that the seller will export from one or more devices related to the seller; verifying an authenticity of the seller’s identity; transmitting license application information generated based on the license agency service application information and the product information to a user device of one or more agents; receiving license information issued from a customs management authority, corresponding to the license application information, from the agent or the customs management authority; and providing the license information to the one or more devices.

METHOD OF DATA DRIVEN REGULATION FOR CANNABIS

NºPublicación:  US20260094116A1 02/04/2026
Solicitante: 
METRC LLC [US]
METRC LLC
US_20260094116_A1

Resumen de: US20260094116A1

A method and system in accordance with the subject invention establishes industry norms for every step in the production, cultivation, harvest, and packaging process for a regulated industry to follow with respect to a regulated product. An embodiment relates to the regulated product cannabis where product is accurately recorded into the system is legal while any product that is not recorded into the system is illegal.

Verkaufsvorrichtung für einen Verkauf von Waren

NºPublicación:  DE102024128670A1 02/04/2026
Solicitante: 
MEAL REVOLUTION GMBH [DE]
Meal Revolution GmbH

Resumen de: DE102024128670A1

Die vorliegende Erfindung betrifft eine Verkaufsvorrichtung (10) für einen Verkauf von Waren (W), aufweisend ein Verkaufsvolumen (20), in welchem wenigstens zwei Aufnahmevorrichtungen (30) für eine Aufnahme der Waren (W) angeordnet sind, wobei das Verkaufsvolumen (20) einen mit einer Zugangstür (22) reversibel verschlossenen Zugangsabschnitt (24) aufweist für ein Einbringen von Waren (W) in und ein Ausbringen von Waren (W) aus dem Verkaufsvolumen (20), wobei auf wenigstens zwei Aufnahmevorrichtungen (30) zumindest zwei Gewichtssensoren (32) angeordnet sind für ein Erzeugen eines Waren-Gewichtssignals (WGS) zu einer oder mehreren auf der Aufnahmevorrichtung (30) angeordneten Waren (W) jeweils an einer Gewichtssensor-Position der Aufnahmevorrichtung (30), dadurch gekennzeichnet, dass auf den wenigstens zwei Aufnahmevorrichtungen (30) mit Gewichtssensoren (32) zumindest ein lokales Verarbeitungsmodul (34) angeordnet ist, welches signalkommunizierend mit den Gewichtssensoren (32) der jeweiligen Aufnahmevorrichtung (30) verbunden und zumindest für eine Teilverarbeitung der Waren-Gewichtssignale (WGS) zur Erzeugung von Waren-Bewegungssignalen (WBS) ausgebildet ist, wobei die Verkaufsvorrichtung (10) weiter ein Auswertmodul (40) aufweist, welches mit den Verarbeitungsmodulen (34) signalkommunizierend verbunden ist für ein Auswerten der Waren-Bewegungssignale (WBS) zu Waren-Metasignalen (WMS) für den Verkauf der Waren (W).

BATTERY HEALTH MANAGEMENT

NºPublicación:  US20260094113A1 02/04/2026
Solicitante: 
MOTOROLA SOLUTIONS INC [US]
MOTOROLA SOLUTIONS, INC
US_20260094113_A1

Resumen de: US20260094113A1

A system including an electronic processor that is configured to receive identifying information for a battery, retrieve, from a database, data regarding the battery and, when a date when a most recent state of charge (SOC) included in the data or a most recent integrated current accumulator (ICA) included in the data was determined is less than one month ago, determine a current SOC to be the most recent SOC or the current ICA to be a most recent ICA. The electronic processor is also configured to, when the data does not include the most recent SOC or ICA or when the date when the most recent SOC or ICA was determined is at least one month ago, estimate the current SOC or ICA and, in response to determining the current SOC or the current ICA of the battery is equal to 0, automatically charge the battery.

COUNTING A NUMBER OF OBJECTS IN AN IMAGE

NºPublicación:  US20260094115A1 02/04/2026
Solicitante: 
INSIGHT DIRECT USA INC [US]
Insight Direct USA, Inc
US_20260094115_A1

Resumen de: US20260094115A1

A product count of a number of physical products within a physical grouping of a plurality of the physical products is determined based on an image of the physical grouping. A cycle counter generates image coordinates for visible product surfaces within the image. The cycle counter generates three-dimensional virtual base coordinates for the expected locations of the plurality of the physical products within the physical grouping. The cycle counter determines the actual locations of the visible product surfaces within three-dimensional space based on a comparison of the image coordinates and the virtual base coordinates. The cycle counter determines the product count of the number of physical products within the physical grouping based on the actual locations.

ASSET MANAGEMENT TECHNIQUES

NºPublicación:  US20260094112A1 02/04/2026
Solicitante: 
UNIVERSAL CITY STUDIOS LLC [US]
Universal City Studios LLC
US_20260094112_A1

Resumen de: US20260094112A1

An asset management system includes a sensor that detects asset tags to acquire asset geolocation codes of a plurality of assets in a geographic area. The asset management system also includes a controller communicatively coupled to an image sensor that receives the asset geolocation codes of the plurality of assets, receives the image data, generates a model of the geographic area using locations associated with the asset geolocation codes and the image data to place the plurality of assets in the model, and determines a geographic distance between a first asset and a second asset of the plurality of assets using the model.

E-commerce Systems Including Cross-Selling and E-commerce for Social Media

NºPublicación:  US20260094202A1 02/04/2026
Solicitante: 
GOVYRL INC [US]
GoVyrl, Inc
US_20260094202_A1

Resumen de: US20260094202A1

An e-commerce system and associated methods are provided to facilitate the cross-selling of products and services across virtual and physical stores, as well as through social media platforms. The system typically includes a store manager that allows a store owner to manage the characteristics of an e-commerce store, and a machine learning system trained to identify combinations of products that are likely to sell well together. A recommendation engine, including a store parser, inventory analysis logic, and recommendation logic, utilizes the machine learning system to generate recommendations for additional products to add to the e-commerce store based on a set of products available from external e-commerce stores and the store's current inventory. An optional product browser enables the store owner to review and select products from the generated recommendations. Methods for managing an e-commerce store and adding products to a social media feed are also disclosed, leveraging the machine learning system to enhance sales and customer engagement by recommending products based on store characteristics, social media content and customer interactions.

SYSTEMS AND METHODS FOR CARGO VEHICLE ASSET MANAGEMENT

NºPublicación:  US20260094110A1 02/04/2026
Solicitante: 
WABASH NAT L P [US]
Wabash National, L.P
US_20260094110_A1

Resumen de: US20260094110A1

A method of resource orchestration for cargo vehicles includes receiving a plurality of user inputs, the plurality of inputs including geographical data associated with a lane of travel and a desired volume of assets for traveling on the lane of travel. The method further comprising obtaining a plurality of data sets, the plurality of data sets including a first data set associated with the lane of travel and a second data set associated with a pool of assets. Further, generating, based upon the plurality of data sets and the plurality of user inputs, a proposed resource allocation including a proposed volume of assets for traveling on the lane of travel, and providing, to a user computing device, an indication of the proposed resource allocation for display to a user of the user computing device.

ITEM-LEVEL PRESCRIPTIVE RECOMMENDATIONS

NºPublicación:  US20260094102A1 02/04/2026
Solicitante: 
NCR VOYIX CORP [US]
NCR Voyix Corporation
US_20260094102_A1

Resumen de: US20260094102A1

Underperforming items in retail stores are identified by comparing item sales data across similar stores. Similar stores are identified based on total item sales and item catalog sizes. Departments that can be optimized are identified. Item sales within selected departments are compared and undersold items are identified using specific criteria. In an embodiment, undersold items are determined as item sales that have less than half the average sales amount in similar stores and that meet a minimum sales threshold in the similar stores. A data-driven approach is employed to detect underperforming items without requiring complex machine learning models or tiresome exploration in reports and dashboards. Results are presented to users, showing proposed items with observed and expected sales data, enabling store managers to make informed decisions for improving the performance of their departments.

SYSTEMS AND METHODS FOR DEMAND PLANNING, FORECASTING, AND PROCUREMENT

NºPublicación:  US20260094175A1 02/04/2026
Solicitante: 
TARGET BRANDS INC [US]
TARGET BRANDS, INC
US_20260094175_A1

Resumen de: US20260094175A1

A software application is configured to receive item demand data and user inputs associated with a construction project, aggregate the item demand data and the user inputs, and generate a forecast for the item demand. The software application can generate and transmit notices (e.g., purchase orders, transfer orders) to a supply chain system based on the forecast of the item demand. Alternatively, the software application can transmit the forecast of the item demand to another software application that is configured to generate and transmit notices (e.g., purchase orders, transfer orders) to the supply chain system.

Mobile Viewer Object Statusing

NºPublicación:  US20260093376A1 02/04/2026
Solicitante: 
PROCORE TECH INC [US]
Procore Technologies, Inc
US_20260093376_A1

Resumen de: US20260093376A1

An example client device is configured to (i) display a representation of a three-dimensional, federated model of a construction project, the model including respective objects created using at least two different authoring tools, (ii) receive one or more user inputs that collectively (a) select a displayed representation of a given object within the model and (b) assign a value for a property of the given object, (iii) based on the one or more user inputs, identify a globally unique identifier (GUID) that uniquely identifies the given object within a hierarchical data structure for the model and cause the model to be updated by associating the assigned value for the property with the GUID that uniquely identifies the given object, and (iv) display a representation of the updated model including an indication of the assigned value for the property of the given object.

INTEGRATED CONSUMABLE DATA MANAGEMENT SYSTEM & PLATFORM

NºPublicación:  US20260092936A1 02/04/2026
Solicitante: 
MESO SCALE TECH LLC [US]
MESO SCALE TECHNOLOGIES, LLC
US_20260092936_A1

Resumen de: US20260092936A1

The present invention relates to methods, devices and systems for associating consumable data with an assay consumable used in a biological assay. Provided are assay systems and associated consumables, wherein the assay system adjusts one or more steps of an assay protocol based on consumable data specific for that consumable. Various types of consumable data are described, as well as methods of using such data in the conduct of an assay by an assay system. The present invention also relates to consumables (e.g., kits and reagent containers), software, data deployable bundles, computer-readable media, loading carts, instruments, systems, and methods, for performing automated biological assays.

AUTOMATED TOOL DATA GENERATION IN AUTOMATED ASSET MANAGEMENT SYSTEMS

NºPublicación:  AU2026201851A1 02/04/2026
Solicitante: 
SNAP ON INCORPORATED
Snap-on Incorporated
AU_2026201851_A1

Resumen de: AU2026201851A1

An asset management system automatically generates and updates tool data stored in and used by the system for determining the presence or absence of tools or other inventory objects in the systems. The tool data can be automatically generated when a tool is newly added to the automated asset management system, and can be updated if and when characteristics of the tool and/or automated asset management system change. The automatic generation and updating includes automatically recognizing unique identifiers of tags located on inventory objects, automatically identifying an inventory object to associate with each unique identifier, and automatically populating a database to store each unique identifier in association with stored data for the corresponding inventory object. ar a r

SYSTEMS AND METHODS FOR MACHINE-LEARNING OPTIMIZATION FOR ESTIMATED TIME OF ARRIVAL ANALYSIS

NºPublicación:  AU2024371102A1 02/04/2026
Solicitante: 
RADIUS NETWORKS INC
RADIUS NETWORKS, INC
AU_2024371102_PA

Resumen de: AU2024371102A1

Techniques for determining an estimated time of arrival associated with a pickup location are described herein. For example, a customer can order a good or service for pickup at a pickup location. In some examples, order data can include a pickup location intent, such as a drive-through location, a pickup window, or a parking location. A location of a user computing device can be determined and can be input to a machine-learning model trained to determine estimated times of arrival for a particular location. In some examples, the machine-learning model can be trained with ground truth data specific to the location for which the model is to determine estimated times of arrival. The machine-learning model can output the estimated time of arrival and can update the time at any regular or irregular intervals, which can be used to prioritize an order in an order queue.

電池セルの不良判定方法

NºPublicación:  JP2026510195A 02/04/2026
Solicitante: 
エルジーエナジーソリューションリミテッド
JP_2026510195_A

Resumen de: CN120092189A

Disclosed is a defective battery cell determination method, comprising: a first step of obtaining resistance values according to temperatures of a plurality of battery cells belonging to the same type; a second step of measuring the temperature and resistance of another battery cell belonging to the same type but not corresponding to the plurality of battery cells; and a third step of determining whether the measured value of the other battery cell corresponds to a predetermined good quality criterion using the data obtained in the first step, in which it is determined whether the battery cell is defective based on the value measured in the second step without measuring the time required between the first step and the second step.

フローティングタンク及びバイオ燃料の物流方法

NºPublicación:  JP2026056279A 01/04/2026
Solicitante: 
NX商事株式会社
JP_2026056279_A

Resumen de: JP2026056279A

【課題】バイオ燃料を船舶燃料としての供給するための技術を提供する。【解決手段】船舶バイオ燃料の物流方法は、重油又は軽油である船舶燃料と廃油から再生したバイオ燃料とを輸送手段13、14、15により取扱施設10に輸送することと、取扱施設に係留される非自航式水上浮体であるフローティングタンク100に船舶燃料とバイオ燃料とを貯蔵することと、フローティングタンクに貯蔵されている船舶燃料とバイオ燃料とを混合して複数油種の船舶バイオ燃料を生成することと、フローティングタンクから給油対象物11に船舶バイオ燃料を供給することとを含む。【選択図】図1

ADAPTIVE AUTONOMOUS MOBILE ROBOT TASKING AND MANAGEMENT

NºPublicación:  EP4716618A2 01/04/2026
Solicitante: 
DEMATIC CORP [US]
Dematic Corp
WO_2024241249_PA

Resumen de: WO2024241249A2

A system having autonomous mobile robots (AMRs) (204, 206) for retrieving, transporting, and delivering items to and from locations within a facility (200). The system includes picking stations (120) and a common waiting area (140). Each picking station (120) is used for picking operations as part of order fulfillment in the facility (200). The common waiting area (140) is associated with picking workstations (120). The common waiting area (140) provides a holding space for an AMRs (204, 206) when transporting items for order fulfillment at a picking station (120) that is not ready to receive the AMR (204, 206). The picking station (120) sends a prompt to the AMR (204, 206) when it's ready for the AMR (204, 206). The AMR (204, 206) will leave the common waiting area (140) and proceed to the picking station (120) when prompted by the picking station (120).

LOGICAL RELOCATION OF SORT DESTINATIONS

NºPublicación:  EP4716602A1 01/04/2026
Solicitante: 
TOMPKINS ROBOTICS INC [US]
Tompkins Robotics, Inc
AU_2023449396_A1

Resumen de: AU2023449396A1

System for use in directing a sorting operation comprises a server, a receptacle logical destination identification (ID) assignment engine, a plurality of receptacles, and an automated transport device for transporting and depositing articles into the receptacles. The system is configured to: assign a first logical destination ID to a first receptacle; and direct an automated transport device to transport and deposit a first article into the first receptacle associated with the first logical destination ID. The system is further configured to: determine that the first receptacle is full; re-assign the first logical destination ID to a second receptacle; and re-direct the automated transport device to transport and deposit the first article into the second receptacle associated with the first logical destination ID.

MERCHANDISING SHELF AND SYSTEM HAVING A CONTROLLER WITH MULTIPLE INTERFACES

NºPublicación:  EP4718355A1 01/04/2026
Solicitante: 
UMDASCH STORE MAKERS LEIBNITZ GMBH [AT]
Umdasch Store Makers Leibnitz GmbH
EP_4718355_PA

Resumen de: EP4718355A1

Die Erfindung betrifft ein Verkaufsregal mit einem Steuergerät, wobei das Verkaufsregal das Steuergerät lagert und wobei das Steuergerät aufweist: einen Stromversorgungsanschluss; eine Netzwerkschnittstelle; wenigstens eine erste Schnittstelle, eingerichtet zur Ansteuerung und elektrischen Versorgung einer Beleuchtungseinrichtung, und wenigstens eine zweite Schnittstelle, eingerichtet zur Ansteuerung und elektrischen Versorgung eines Sensors, einen Spannungswandler, welcher eingerichtet ist, eine Eingangsspannung, welche über ein Netzteil an dem Stromversorgungsanschluss anliegt, in Versorgungsspannungen für die wenigstens eine erste Schnittstelle und die wenigstens eine zweite Schnittstelle zu wandeln; wobei das Steuergerät eingerichtet ist, Steuerbefehle für eine Beleuchtungseinrichtung und einen Sensor über die Netzwerkschnittstelle von einem Server zu empfangen und die Beleuchtungseinrichtung über die wenigstens eine erste Schnittstelle und den Sensor über die wenigstens eine zweite Schnittstelle entsprechend anzusteuern sowie erfasste Daten und/oder Statusinformationen der Beleuchtungseinrichtung über die wenigstens eine erste Schnittstelle und des Sensors über die wenigstens eine zweite Schnittstelle einzulesen und über die Netzwerkschnittstelle an den Server zu übertragen. Des Weiteren betrifft die Erfindung ein Verkaufsregalsystem.

WEARABLE HEADS-UP DISPLAY ("HUD") FOR A PHARMACY WORKFLOW MANAGEMENT SYSTEM

NºPublicación:  EP4718354A2 01/04/2026
Solicitante: 
BAXTER INT [US]
BAXTER HEALTHCARE SA [CH]
BAXTER INTERNATIONAL INC,
BAXTER HEALTHCARE SA
EP_4718354_PA

Resumen de: EP4718354A2

A wearable heads-up display ("HUD") for a pharmacy workflow management system is disclosed herein. An example HUD includes smart-glasses that are communicatively coupled to a client device. The smart-glasses include at least one camera and/or barcode scanner to record information needed for the verification of a medication dose during medication formulation preparation. The smart-glasses include at least one microphone to record voice commands. Further, the smart-glasses include at least one embedded display screen that shows sequential steps of a preparation protocol for guiding a pharmacy technician to prepare a medication dose. An application on the client device and/or the smart-glasses is configured to recognize and use voice commands to provide navigation for the embedded display screen. The voice commands may also be used to provide data entry for medication dose preparation verification. Gestures may be detected by the camera and translated by the application into navigation or data entry commands.

商品入库检测方法、装置、设备及存储介质

NºPublicación:  CN121766899A 31/03/2026
Solicitante: 
深圳优之派电子商务有限公司
CN_121766899_PA

Resumen de: CN121766899A

本发明涉及商品入库检测方法、装置、设备及存储介质,方法包括采集待入库商品的视觉图像与重量数据,对所述视觉图像进行外观区域分割,获得目标区域图像;识别所述目标区域图像的包装表观特征,从所述目标区域图像的商品主体区域提取商品身份特征集;根据所述商品身份特征集从预存的品类数据库提取基准重量区间和基准包装特征模板,将所述重量数据与所述基准重量区间进行重量比对;分析所述包装表观特征与所述基准包装特征模板之间的表观差异值;若所述表观差异值在预设容限范围时,则生成允许入库指令;本发明能够对商品身份与包装状态进行独立且协同的校验,从而有效识别出包装轻微破损或视觉近似品类的异常情况。

垃圾回收的云端协同管理与分拣方法及系统

NºPublicación:  CN121766713A 31/03/2026
Solicitante: 
浙江虎哥废物管理有限公司
CN_121766713_PA

Resumen de: CN121766713A

本发明提供了一种垃圾回收的云端协同管理与分拣方法及系统,涉及垃圾管理技术领域,方法包括:计算各个垃圾容器的垃圾填充率和垃圾填充速率;将垃圾填充率和垃圾填充速率上传至云端管理平台;通过模糊推理模型,生成垃圾清运优先级集合;根据垃圾清运优先级集合,结合垃圾投放站点的地理位置信息和实时交通信息,构建动态成本图和路径代价函数;通过Dijkstra算法,对动态成本图进行求解,确定垃圾收运路径;根据垃圾收运路径,通过控制垃圾收集车辆将各个垃圾投放站点的垃圾输送至分拣流水线;对分拣流水线上垃圾的垃圾流量和垃圾密度进行监测;根据垃圾清运过程数据和垃圾分拣结果对模糊推理模型、路径代价函数以及流平衡模型进行优化。

面向塑料贸易场景的货物进销存数据管理系统

NºPublicación:  CN121766889A 31/03/2026
Solicitante: 
广东塑划算产业互联网股份有限公司
CN_121766889_PA

Resumen de: CN121766889A

本发明公开有面向塑料贸易场景的货物进销存数据管理系统,属于货物进销存管理技术领域,具体包括数据库、采购管理模块、销售管理模块、库存管理分配模块以及订单跟踪模块;本发明是引入“采购订单‑库存实时绑定” 机制,以在途库存数据更新原始库存数据,将传统的库存区分为“可用库存”和“在途库存”的新库存概念,在获取销售订单数据后,调用库存锁定引擎机制,生成销售订单与新库存的绑定关系,通过销售订单与库存匹配锁定确定“已锁定库存”,再次更新库存数据进行锁定库存的核销,实现库存数据与采购、销售数据的动态监控与同步关联,不仅有效的提升库存管理效率和订单履约准确性,还有效的防止货物超卖和错卖。

一种基于物联网的智能工具管理系统及方法

NºPublicación:  CN121766703A 31/03/2026
Solicitante: 
贵州西南中创科技有限公司
CN_121766703_PA

Resumen de: CN121766703A

本发明属于智能工具柜管理领域,具体而言,涉及一种基于物联网的智能工具柜管理系统及方法。包括至少一个智能工具柜终端、用户移动终端、系统后台服务器;本发明通过核心处理引擎模块的优化算法,使得该系统能够基于历史使用数据自动计算出各工具柜的最优工具配置方案打破了传统固定配置模式,实现按需动态调整,显著提高工具利用率配置决策从依赖人工经验转变为数据驱动,提高了决策的科学性和准确性,解决了现有技术方案仍存在管理模式僵化,且资源配置与动态需求严重脱节根本性局限,导致工具管理始终处于“被动响应”和“局部优化”的初级阶段,无法实现真正的智能化与全局优化的问题。

基于混合深度学习架构的码头道口外集卡流量预测方法及系统

NºPublicación:  CN121766535A 31/03/2026
Solicitante: 
同济大学
CN_121766535_PA

Resumen de: CN121766535A

本发明涉及一种基于混合深度学习架构的码头道口外集卡流量预测方法及系统,方法包括:采集码头道口外集卡数据,进行预处理、数据匹配计算及特征工程处理,构建码头道口外集卡流量预测数据集;码头道口外集卡流量预测数据集包括码头道口外集卡流量时序特征、码头道口外集卡流量空间特征以及码头道口外集卡预约量特征;将码头道口外集卡流量预测数据集输入预训练的预测模型中,输出未来若干小时内每个小时的码头道口外集卡流量预测值。与现有技术相比,本发明充分考虑码头道口外集卡流量时间序列的全局特征与短时特征,并引入空间特征与集卡预约量特征实现码头道口外集卡流量的时空信息融合,从而实现码头道口外集卡流量的动态实时精确预测。

基于BIM模型自动化协同构建系统

NºPublicación:  CN121766942A 31/03/2026
Solicitante: 
中国铁建电气化局集团有限公司中铁建电气化局集团第三工程有限公司
CN_121766942_PA

Resumen de: CN121766942A

本发明涉及BIM模型构建技术领域,尤其涉及一种基于BIM模型自动化协同构建系统,包括网络构建模块、参数录入模块、计划制定模块、方案优化模块和物流执行模块。通过构建BIM协同网络并接入云端平台,实现设计参数的自动录入与构件信息表的生成上传;基于云端共享的构件信息,智能提取生产需求并制定生产计划;进一步构建生产排程‑物流配送网络,生成最优生产排程方案并动态更新至信息表;最终依据最优排程制定物流配送计划并执行配送,实现了从设计到生产再到物流的全流程数据贯通与自动化协同,打破信息孤岛,提升生产排程科学性与物流响应效率,显著提高预制构件生产管理的数字化、智能化水平,适用于装配式建筑大规模高效建造需求。

基于RFID识别的智能试剂管理方法及系统

NºPublicación:  CN121766893A 31/03/2026
Solicitante: 
广东顺德中科优联医学检验有限公司
CN_121766893_PA

Resumen de: CN121766893A

本发明提出基于RFID识别的智能试剂管理方法及系统,方法包括:试剂入库时,同步采集试剂的RFID标签编号和试剂瓶体的第一图像,基于所述第一图像提取第一图像特征向量,并生成第一身份签名;在试剂周期性盘点时,提取第二图像特征向量,并结合所述当前RFID标签编号生成第二身份签名;并计算所述第二图像特征向量与所述第一图像特征向量之间的结构差异度;基于所述结构差异度、所述第二身份签名与所述第一身份签名的比对结果、以及该试剂的历史识别记录,构建综合异常度模型,以计算综合异常度;当所述综合异常度超过预设阈值时,自动触发预设的管理动作。本发明适用于对安全性和准确性要求极高的实验室试剂管理场景。

基于AI的物料信息处理方法、装置、设备及存储介质

NºPublicación:  CN121765401A 31/03/2026
Solicitante: 
深圳市造物工场科技有限公司深圳市金百泽电子科技股份有限公司
CN_121765401_PA

Resumen de: CN121765401A

本申请涉及仓储与物料识别技术领域,公开了一种基于AI的物料信息处理方法、装置、设备及存储介质,包括:获取目标物料的图像数据,并对图像数据进行预处理,以得到待识别图像;对待识别图像执行光学字符识别处理,生成结构化的文本识别结果;基于文本识别结果和预设的物料清单信息进行相似度计算,确定候选匹配物料项;利用预设的匹配规则,对候选匹配物料项进行匹配判断,得到物料信息识别结果。本申请的方法实现了物料信息的自动识别与匹配,显著提升了收检效率,降低了人工操作的工作量和出错风险。同时增强了匹配过程的可追溯性,为生产质量管理提供了可靠的数据基础。

一种用于手机保护膜生产用的监测及管理方法

NºPublicación:  CN121766672A 31/03/2026
Solicitante: 
合肥稻丰智谷电子科技有限公司
CN_121766672_PA

Resumen de: CN121766672A

本发明公开了一种用于手机保护膜生产用的监测及管理方法,涉及生产监测管理技术领域,首先根据厂家不同质量等级的各手机保护膜类型的销售信息和仓库信息,获取各标记手机保护膜类型,其次分析各标记手机保护膜类型的质量与存储时长的关联,并设置各标记手机保护膜类型的初始质量等级,然后根据各标记手机保护膜类型的初始质量等级,设置各工艺参数组合,分析在不同参数工艺组合下各标记手机保护膜类型的质量变化率,并设置各生产环节的工艺参数所需数值,最后在进行生产时,实时监测各生产环节的工艺参数数值,并进行调整,保障了手机保护膜的质量,也保障了在仓库存储过程中手机保护膜的质量变化率。

基于物联网的智能食品销售库存管理系统

NºPublicación:  CN121766890A 31/03/2026
Solicitante: 
新宁县恒发果业有限公司
CN_121766890_PA

Resumen de: CN121766890A

本发明涉及计算机应用技术与物联网技术领域,尤其涉及基于物联网的智能食品销售库存管理系统。该系统包括物联网传感器网络、数据采集模块、数据处理模块和决策控制模块。物联网传感器网络具有温度传感器、湿度传感器、重量传感器和RFID标签,用于实时采集食品库存环境参数和库存数据。数据采集模块连接传感器网络和外部数据源,对销售数据、天气预报数据和节假日事件数据进行整合与预处理。数据处理模块采用长短期记忆网络模型进行销售预测,并采用支持向量机模型评估食品变质风险。本发明通过多源数据融合与机器学习实现了食品库存的实时监控、精准预测与动态优化,有效降低了食品浪费和库存成本,提升了运营效率。

一种基于大数据的物流监控系统及方法

NºPublicación:  CN121766872A 31/03/2026
Solicitante: 
合肥赋域数字科技有限公司
CN_121766872_A

Resumen de: CN121766872A

本发明涉及物流领域,公开了一种基于大数据的物流监控系统及方法,数据采集模块、环境耦合分析模块、预警处理模块以及路径动态调控模块;所述数据采集模块,用于获取包括货物特性数据、实时路况数据、环境监测数据及车辆状态数据的多维数据;所述环境耦合分析模块,用于基于所述多维数据进行耦合分析;所述预警处理模块,用于将所述耦合风险系数与预设风险阈值比较;所述路径动态调控模块,用于在接收到所述高风险预警时,基于当前货物目的地、实时路况及环境数据生成至少一条备选优化路径并输出。本发明与现有技术相比优点在于,提升对物流运输过程综合风险的动态感知与主动应对能力。

基于运维系统的数据中心资产盘点方法及计算设备

NºPublicación:  CN121766883A 31/03/2026
Solicitante: 
超聚变数字技术股份有限公司
CN_121766883_PA

Resumen de: CN121766883A

本申请实施例涉及基于运维系统的数据中心资产盘点方法及计算设备,其方法包括:获取第一资产数据和第二资产数据;其中,第一资产数据基于资产管理系统提供的静态资产台账数据得到,静态资产台账数据记录有数据中心硬件资产的基准信息,第二资产数据基于运维系统获得的实际资产数据得到,实际资产数据表示所述数据中心硬件资产的当前状态;核对第一资产数据和第二资产数据,生成资产盘点结果;基于所述资产盘点结果,生成数据同步指令。这样通过资产数据的联动和自动核对,确保资产管理系统的记录与运维系统反映的实际状况保持动态一致,进而能够有效克服相关技术中人工盘点成本高、效率低和易出错等问题,能够显著提升资产管理的准确性。

采购跟踪方法、装置、服务器以及存储介质

NºPublicación:  CN121766867A 31/03/2026
Solicitante: 
国能数智科技开发(北京)有限公司
CN_121766867_PA

Resumen de: CN121766867A

本公开涉及一种采购跟踪方法、装置、服务器以及存储介质,所述方法包括:第一服务器发送目标采购计划至承运终端以及第二服务器;接收所述第二服务器反馈的入库货物信息以及所述承运终端反馈的出库货物信息;将所述入库货物信息和所述出库货物信息进行比对,得到目标采购计划对应的计划完成情况;将所述计划完成情况上传至区块链平台。如此,通过自动接收并比对出库和入库信息,实现了对采购计划执行状态的精准核验。相较于人工比对转为自动化流程,极大提升了效率与准确性。并且,核验结果被上传至区块链,确保了计划完成情况的不可篡改性与可溯源性,从而构建了从执行到验证的可信闭环。

快递物流自动检测需要帮扶对象和触达系统

NºPublicación:  CN121766943A 31/03/2026
Solicitante: 
上海圆擎信息科技有限公司
CN_121766943_PA

Resumen de: CN121766943A

本发明公开了快递物流自动检测需要帮扶对象和触达系统,涉及物流管理技术领域,包括:多源数据采集层,用于通过标准化接口实时采集并整合快递小哥的多维度作业数据,所述多维度作业数据包括基础属性数据、作业行为数据、质量结果数据和环境关联数据;智能分析决策层,连接所述多源数据采集层,用于基于所述多维度作业数据通过预设的算法模型自动识别需要帮扶的快递小哥。本发明提出的快递物流自动检测需要帮扶对象和触达系统,通过多维度数据实时采集与智能分析,实现了对快递人员能力的精准评估与潜在问题的提前识别,有效降低了管理成本,确保了帮扶措施的针对性和有效性,提升了快递人员的专业能力和服务水平。

订单分配方法、装置、电子设备及可读存储介质和程序产品

NºPublicación:  CN121766625A 31/03/2026
Solicitante: 
北京京东远升科技有限公司
CN_121766625_PA

Resumen de: CN121766625A

本公开提供了一种订单分配方法、装置、电子设备及可读存储介质和程序产品,涉及计算机技术领域、智慧物流领域,该方法包括:将待处理订单集合划分为至少一个商品集合;计算商品集合的容积性能;响应于商品集合的容积性能满足预设参数范围,根据预设数值条件对商品集合进行拆分,得到满足预设数值条件的第一类商品子集,以及第二类商品子集,其中,预设数值条件包括:容积性能等于预设容积值;在第二类商品子集未满足预设数值条件的情况下,将与第二类商品子集对应的订单分配至目标批次订单集合,其中,目标批次订单集合的生成时间晚于待处理订单集合的生成时间。

商品管理方法及相关设备

NºPublicación:  CN121766900A 31/03/2026
Solicitante: 
广州品唯软件有限公司
CN_121766900_PA

Resumen de: CN121766900A

本申请公开了一种商品管理方法及相关设备,涉及数据处理技术领域,包括:获取多个商品对应的预测到仓时间和商品数据,将多组商品数据进行分组,得到多个商品数据集合,将所述多个商品数据集合进行排序,得到商品数据集合队列,依次对商品数据集合队列中的多个商品数据集合执行分配操作,以将所述多组商品数据均匀分配到多个分片中,进行商品管理。本申请基于预测到仓时间,将多组商品数据按照时间段进行分组,再根据每个商品数据集合对应的时间段和每组商品数据对应的预测到仓时间,按照时间顺序,对多个商品数据集合依次执行分配任务,使多个分片可以并行处理多个商品数据,实现有序的、高效的处理商品数据。

基于清关时效预测的跨境物流路径优化系统

NºPublicación:  CN121766873A 31/03/2026
Solicitante: 
江苏建筑职业技术学院
CN_121766873_PA

Resumen de: CN121766873A

本发明一种基于清关时效预测的跨境物流路径优化系统公开了一种通过清关数据采集与特征构建实现清关时效的量化建模,通过清关时效预测模块提前评估不同清关口岸和条件下的通关时间,通过跨境物流路径生成与综合评估模块将清关时效引入路径优化决策,通过路径动态调整模块在清关偏离时实时重构后续路径,从而实现跨境物流路径的智能优化、时效可控与风险降低的基于清关时效预测的跨境物流路径优化系统。其特征在于包括清关时效预测模块、跨境物流路径生成模块、路径综合评估与优化模块和路径动态调整模块,所述清关时效预测模块包括清关数据采集子模块、清关特征构建子模块、清关时效预测子模块和预测结果校正子模块。

基于需求侧的港区内集卡调度方法、装置及设备

NºPublicación:  CN121766668A 31/03/2026
Solicitante: 
招商局国际科技有限公司
CN_121766668_A

Resumen de: CN121766668A

本发明属于港口车辆调度技术领域,公开了基于需求侧的港区内集卡调度方法、装置及设备。该方法包括:实时监测各作业点当前适卸拖车数量,若当前适卸拖车数量低于预先为作业点配置的适卸拖车数量阈值,则选取当前空闲或即将空闲的集卡作为候选集卡,并根据作业模式从指令池中选取待分配的作业指令;确定每一个候选集卡与待分配的作业指令的匹配代价,并以总体匹配代价最小化为目标,对候选集卡与作业指令进行配对,以实现集卡调度。上述方式基于需求侧的响应,可以减少拖车空跑和空等,同时建立更精确的量化拥堵识别,在拖车路径规划时考虑路径冲突,使得计算拖车行驶时间更精准,从而提升调度效果。

一种基于多源渠道的库存供应管理方法

NºPublicación:  CN121766885A 31/03/2026
Solicitante: 
广东工业大学广州哆啦科技有限公司
CN_121766885_PA

Resumen de: CN121766885A

本发明属于库存管理技术领域,公开了一种基于多源渠道的库存供应管理方法,该方法首先通过多源采集模块实时获取各类货物的出货与供应数据,经数据清洗与标准化处理后,分别计算两类核心管理指标:第一管理指标综合实时库存、最低缓冲量、提前期需求量及供需差异,用于动态优化单次供货量,预防缺货;第二管理指标为出货量与供货量之比,用于判断供需平衡状态,并据此按比例调整供货周期。本发明通过双指标协同调控,实现了供应量与供应周期的闭环优化,有效提升了库存管理的精准性与响应效率,降低了缺货与积压风险。

基于货源交易的供需对接方法、装置及设备

NºPublicación:  CN121766869A 31/03/2026
Solicitante: 
北京牛卡福网络科技有限公司
CN_121766869_PA

Resumen de: CN121766869A

本申请公开了一种基于货源交易的供需对接方法、装置及设备,涉及货物交易领域,包括根据第一货源信息和基本属性信息,确定目标司机的第一实时属性信息,第一货源信息为货源交易平台中获取的多个货源信息中的任一货源信息;根据第一实时属性信息和多个货源信息中除第一货源信息之外的其他货源信息,对其他货源信息进行排序,获取其他货源信息中每一个货源信息的排序顺序;确定与第一货源信息对应的货源进行承接时,结束操作。基于此方法,不仅让目标司机承接到了最适合于目标司机自身的货源,还由于缩短了承接、磋商的时间,还让货主出货花费的时间更短,提高了货主出货的效率,减少了时间消耗,提升了磋商率。

一种基于人工智能的农产品数据协同管理系统

NºPublicación:  CN121766903A 31/03/2026
Solicitante: 
山东尼诺智能科技有限公司
CN_121766903_PA

Resumen de: CN121766903A

本发明涉及农产品智能管理技术领域,特别是一种基于人工智能的农产品数据协同管理系统,包括,监测系统,包括第一处理模块以及通过传导线分别与第一处理模块电性连接的第一收发模块、第一输入模块和区域划分模块电性连接;销售系统,包括第三处理模块以及通过传导线分别与第三处理模块电性连接的第三收发模块、第三输入模块、第二显示模块和第二定位模块;以及,中控系统,包括第四处理模块以及通过传导线分别与第四处理模块电性连接的云储存模块、派单模块、第四收发模块和线路规划模块,该协同管理系统即可以避免农产品的滞销,也可以避免销售方造成损耗,且在农产品生长过程中的监测滞后性低,实用性好。

一种基于多思维链调配的货物存放方法、装置及存储介质

NºPublicación:  CN121757507A 31/03/2026
Solicitante: 
中国移动通信集团内蒙古有限公司中国移动通信集团有限公司
CN_121757507_PA

Resumen de: CN121757507A

一种基于多思维链调配的货物存放方法、装置及存储介质,应用于智能仓储管理技术领域,方法包括:获取智能仓储机器人可用的第一货位集合;根据第一货位集合以及货架条件规约因素,生成第一摆放链;根据第一摆放链的预设截止时间,确定第一摆放链中无法被摆放的第二货物;根据第二货物的摆放属性和智能仓储机器人的设备状态参数,构建可以同车存放同属性的多个第二货物的第二摆放链;根据已存放货物,对未处于第二摆放链中的第二货物进行同策略临近存放,并构建第三摆放链;根据三个摆放链,依次控制智能仓储机器人进行货物存放。实现了对货物存放动态需求的灵活应对,提高了仓库的全面自动化管理水平,提升了作业效率,实现了多仓库的差异化管理。

一种电池仓储管理方法和系统

NºPublicación:  CN121766892A 31/03/2026
Solicitante: 
中车大连机车车辆有限公司
CN_121766892_PA

Resumen de: CN121766892A

本发明公开了一种电池仓储管理方法和系统。电池仓储管理方法包括:获取各电池仓储位内存放的电池的电池信息;以设定规则依序遍历各电池的电池信息,在当前遍历的电池的电池信息为首个满足第一预设条件的电池信息时,根据当前遍历的电池信息确定目标容量和目标电池批次;在当前遍历的电池的电池信息不是首个满足第一预设条件的电池信息时,则将当前遍历的电池的电池信息确定为提取电池信息,并根据当前遍历的提取电池信息确定容量为目标容量,以及电池批次为目标电池批次时,将当前遍历的电池信息为提取电池信息的电池确定为出库电池,并控制出库电池的计数值加1;根据各出库电池所处的电池仓储位的位置信息提取各出库电池。

一种区块链驱动的循环包装权属追溯与复用优化系统

NºPublicación:  CN121766868A 31/03/2026
Solicitante: 
山东零度供应链有限公司
CN_121766868_PA

Resumen de: CN121766868A

本发明涉及供应链管理与区块链技术交叉领域,公开一种区块链驱动的循环包装权属追溯与复用优化系统,解决现有循环包装权属追溯不可信、复用率低、数据共享壁垒及结算低效问题。系统包括感知层、网络层、区块链层及应用层:感知层采集包装全生命周期数据;网络层预处理并5G传输数据;区块链层采用联盟链部署权属变更、全生命周期记录及隐私保护合约;应用层内置XGBoost需求预测与遗传算法调度的核心单元,实现权属追溯、复用调度等功能。实施表明:权属追溯可信度100%,复用率提升至90%以上,结算时间从3天缩至1.5小时,适用于冷链等循环包装场景。

车用动力锂电池智能回收系统及方法

NºPublicación:  CN121766968A 31/03/2026
Solicitante: 
索提斯云智控科技(上海)有限公司
CN_121766968_PA

Resumen de: CN121766968A

本发明提出了一种车用动力锂电池智能回收系统及方法,该系统包括设备执行层、S20边缘节点模组和E7云平台,依次双向通信;其中,S20边缘节点模组包括入库节点、仓储区节点和出库区节点;入库节点设置于入库检测区;仓储区节点设置于仓储区,出库区节点设置于出库区;E7云平台为智能化中央仓储管理平台。本发明解决了车用动力锂电池回收中安全性与回收效率的平衡难题。

集装箱港口内拖车动态调度与路径规划方法、装置及设备

NºPublicación:  CN121768226A 31/03/2026
Solicitante: 
招商局国际科技有限公司
CN_121768226_PA

Resumen de: CN121768226A

本发明属于港口车辆调度技术领域,公开了集装箱港口内拖车动态调度与路径规划方法、装置及设备,通过在对原始定位数据进行去噪处理后,基于去噪处理后的定位数据得到车道级连续轨迹,基于车道级连续轨迹沿道路设置滑动扫描窗口,计算窗口内的车辆密度指标与速度损失率指标并判定各窗口的拥堵等级,最终输出实时拥堵等级信息,基于实时拥堵等级信息进行路径优化,得到预计到达时间;融合车道级连续轨迹、实时拥堵等级信息以及预计到达时间生成并下发调度指令,以实现调度与路径规划。上述方式通过车道拥堵状态的动态识别与预测、导航最优路径和预估用时的批量规划,指导调度指令的智能下发,优化了内拖车调度效果,显著提升了港区内拖车作业效率。

一种港口业务受理的危险品信息校验与处理优化方法

NºPublicación:  CN121766911A 31/03/2026
Solicitante: 
广西北部湾港网络服务有限公司
CN_121766911_PA

Resumen de: CN121766911A

本发明提供了一种港口业务受理的危险品信息校验与处理优化方法,包括以下步骤:获取直装直提业务的受理申请的申请信息;根据危险品识别字段识别受理的直装直提业务是否为危险品;当获取的受理申请的危险品识别字段为是时,进入危险品校验流程;当危险品校验流程通过时,进入危险品审核流程;当返场点字段非空时,根据返场点选择目标码头并推送受理计划;当返场点字段为空时,按船舶挂靠码头默认推送受理计划;根据多级审核流程的审核结果及返场点字段,告知码头船期并分配目标码头作业资源,生成码头生产作业系统实际作业指令。本发明通过识别危险品标识并校验货主单位资质与危险品信息,能有效提高校验精准度,减少人工失误,保障港口作业安全。

物料配送方法、装置、设备及存储介质

NºPublicación:  CN121766870A 31/03/2026
Solicitante: 
中科云谷科技有限公司
CN_121766870_PA

Resumen de: CN121766870A

本申请公开了一种物料配送方法、装置、设备及存储介质。方法包括:获取物料配送请求;响应于物料配送请求,确定物料配送请求匹配的目标虚拟配送点;查询目标虚拟配送点的配送列表,配送列表包括与目标虚拟配送点对应的至少一个配送单;确定每个配送单对应的目标物理配送点,并按照配送单规定的配送顺序依次将每个配送单的目标物理配送点发送至自动导引运输车,以通过自动导引运输车按照配送单的目标物理配送点进行物料配送。

一种基于化学成分及广义逆的迭代比例优化卷烟配方设计方法和装置

NºPublicación:  CN121765909A 31/03/2026
Solicitante: 
中国烟草总公司郑州烟草研究院
CN_121765909_PA

Resumen de: CN121765909A

本发明提供一种基于化学成分及广义逆的迭代比例优化卷烟配方设计方法,包括下步骤:收集目标烟叶样品和备选库单料烟烟草样品,使用近红外光谱仪对烟草样品进行扫描,获取近红外光谱,采用近红外模型获取烟草样品的多种化学成分数据,并对化学成分数据进行预处理;根据配方设计要求中的单料烟用料下限,将库存量不足下限的单料烟从备选库中删去;根据配方设计要求中的单料烟用料上限,将库存超过上限的单料烟库存量调整为上限;将目标烟叶样品的化学成分含量与目标用量相乘;将单料烟烟草样品的化学成分含量与调整后的库存量相乘,按照配置的基于化学成分及广义逆与比例迭代的配方设计算法运行多次,生成多个设计配方。

一种蛋品的智能配送调度方法、设备及介质

NºPublicación:  CN121766633A 31/03/2026
Solicitante: 
乘乘智数科技(深圳)有限公司
CN_121766633_PA

Resumen de: CN121766633A

本发明公开了一种蛋品的智能配送调度方法、设备及介质,涉及智能调度技术领域,包括,实时采集目标蛋品的生物特性参数,并通过边缘计算节点进行特征加密处理形成隐私数据包,通过消息队列服务接收各供应商的隐私数据包,并调用同态加密库对加密特征向量执行加权平均聚合;基于全局蛋品流变学知识图谱和微生物生长动力学模型,在数字孪生沙盒中加载实时路况数据、车厢温湿度分布与振动频谱,耦合求解蛋白剪切应力累积方程与菌群增长方程的乘积风险值。通过构建全局蛋品流变学知识图谱和微生物生长动力学模型,精确捕捉蛋品在运输中生物力学特性与微生物活性的时空耦合特征,提升品质风险量化精度与运输策略可靠性。

施工机械及施工机械用便携式终端装置

NºPublicación:  CN121760415A 31/03/2026
Solicitante: 
住友建机株式会社
CN_121760415_PA

Resumen de: US20260094111A1

A work machine includes a lower traveling body; an upper slewing body that is slewably mounted on the lower traveling body; an attachment that is attached to the upper slewing body; an information acquisition device including circuitry configured to acquire payload information that is information of a weight of an object loaded by the attachment on a bed of a delivery vehicle; and a communication device including circuitry configured to transmit the payload information to a portable terminal device configured to enable wireless communication with the delivery vehicle.

一种用于港口理货作业管理系统

NºPublicación:  CN121766901A 31/03/2026
Solicitante: 
张家港中理外轮理货有限公司
CN_121766901_PA

Resumen de: CN121766901A

本发明公开了一种用于港口理货作业管理系统,涉及港口理货作业管理技术领域;包括数据采集模块、特征分析模块、货物分析模块、安全分析模块和预警分析模块;数据采集模块:采集实时的港口卸货现场拍摄的视频和图像数据,并执行数据预处理,构成分析数据集;其技术要点为:将视觉采集技术与图像识别技术相结合,实现货船卸船过程中货物计数的自动化与精准化处理,能够精准识别不同规格与形态的货物,自动完成计数统计,无需人工手动扫描录入,有效避免了因人工疲劳、视觉误差导致的计数偏差,提高了计数准确率;显著降低了理货人员的人工劳动强度,减少了人工成本投入,确保理货数据与实际装卸情况相符,具有良好的使用前景。

情報処理方法、情報処理装置、及びプログラム

NºPublicación:  JP2026055196A 31/03/2026
Solicitante: 
株式会社ジェーシービー
JP_2026055196_A

Resumen de: JP2026055196A

【課題】配送元及び配送先を柔軟に設定することで、より柔軟な物流ソリューションを実現可能とする情報処理方法、情報処理装置、及びプログラムを提供することを目的とする。【解決手段】配送情報に基づいて、送付者に対応付けられた第1空間情報を送付元地点の少なくとも1つの送付元地点候補として抽出し、受領者に対応付けられた第2空間情報を送付先地点の少なくとも1つの送付先地点候補として抽出する抽出部と、前記少なくとも1つの送付元地点候補から選択された前記送付元地点と前記送付先地点を受け付ける受付部と、前記少なくとも1つの送付先地点候補から選択された前記送付元地点と前記送付先地点に基づいて物流に関する事業者に配送指示をする指示部と、を有する情報処理装置。【選択図】図2

マテリアルハンドリングシステムにおける動的ディスパッチングのためのマルチエージェント強化学習フレームワーク

NºPublicación:  JP2026055772A 31/03/2026
Solicitante: 
株式会社日立製作所
JP_2026055772_A

Resumen de: US20260077949A1

Systems and methods for implementation of a multi-agent reinforcement learning based decision system for a materials handling system, including initializing a simulation environment comprising decision points for dispatching materials and attributes of the materials handling system, the simulation environment configured to request a decision for materials dispatch at the decision points to the multi-agent reinforcement learning based decision system; initializing the reinforcement learning agents representative of the decision points for the multi-agent reinforcement learning based decision system; initializing domain expert heuristics for the decision points for the multi-agent reinforcement learning based decision system; and iteratively training the reinforcement learning based decision system with the initialized domain expert heuristics on the simulation environment.

用于智能仓储环境的多源数据融合式库存预测与调控方法

NºPublicación:  CN121766895A 31/03/2026
Solicitante: 
南京鹿屿岛信息科技有限公司
CN_121766895_PA

Resumen de: CN121766895A

本发明公开了用于智能仓储环境的多源数据融合式库存预测与调控方法,涉及智能仓储管理与物流信息处理技术领域。本发明有效刻画了库存演化过程中的不确定性边界,避免了对单一确定值的过度依赖,从整体上提升了库存预测的稳定性与可靠性;通过对库存变化过程进行时间片级包络建模并自动识别数据缺失区间,本发明能够在数据不完整或存在波动的情况下,仍保持库存演化轨迹的连续性与一致性,显著降低因传感异常、通信延迟等因素引起的预测失真风险;进一步地,基于库存演化包络序列生成未来库存预测包络区间,使库存调控由传统的事后响应转变为面向区间风险的前瞻性决策,有助于同时兼顾库存安全与仓储效率。

一种物流数据获取方法和系统

NºPublicación:  CN121765003A 31/03/2026
Solicitante: 
深圳拓讯网络科技有限公司
CN_121765003_PA

Resumen de: CN121765003A

本申请公开了一种物流数据获取方法和系统,包括:根据各物流商接口的规范要求预先配置对接表、通用策略和策略实现类;基于获取物流数据的请求任务从对接表、通用策略和策略实现类中分别获取对应的目标基础信息组、目标策略规则项和目标策略实现类;执行物流商数据组装;基于组装的物流商数据向相应物流商接口发送对接请求,并获取物流商接口返回的初始物流数据;基于目标策略规则项或目标策略实现类中的返回内容封账规则执行初始物流数据的扭转操作,生成目标物流数据。该方法和系统可以统一物流商数据组装方式和数据扭转操作,提高目标物流数据的准确性。

一种自动贩卖机的清仓商品下架方法及系统

NºPublicación:  CN121766896A 31/03/2026
Solicitante: 
上海趣致网络科技有限公司
CN_121766896_A

Resumen de: CN121766896A

本申请公开了一种自动贩卖机的清仓商品下架方法及系统。方法包括每日拉取中心仓库存、在机库存与14天点位日均销量,构建城市级快照;先由预清仓下架模块冻结7天预留库存,获得可下架库存;结合平均补货后在机库存计算最低铺货点位数与当日最多可下架点位数,并判断城市总库存是否触发清仓;对满足条件的SKU按销量由低到高、下期排期由近及远、补货周期由长到短生成淘汰队列;依次对队列机器进行准入校验,通过则在数据库删除未来排期中的该SKU;每日滚动更新数据直至中心仓与在机库存均为零。本申请减少人工干预,动态地考虑机器销售条件和城市仓库库存流转效率两个方面的因素,优化清仓商品的销售规划。

一种新型包装箱追踪运输回收系统

NºPublicación:  CN121766969A 31/03/2026
Solicitante: 
山东零度供应链有限公司
CN_121766969_PA

Resumen de: CN121766969A

本发明公开一种新型包装箱追踪运输回收系统,涉及物流智能管理领域,解决存储信息孤立、核验低效、监控汇报割裂、回收判定单一问题。系统含三维存储、运输前核验、运输监控、运输后回收四大模块,通过核心算法闭环管理:三维存储关联算法提升选箱效率83%、存储误差降至0.8%;多维核验算法使核验误差0.3%;运输动态适配算法将异常反馈延迟缩至1.8分钟;回收优先级算法使取出误判率1.5%、回收效率升75%。本系统适用于电商大促、多品类零售等场景,兼顾创新与实用,降低物流成本,提升客户满意度。

车辆路径问题求解方法、系统、设备及介质

NºPublicación:  CN121766871A 31/03/2026
Solicitante: 
安徽大学
CN_121766871_PA

Resumen de: CN121766871A

本发明公开一种车辆路径问题求解方法、系统、设备及介质,具体为一种基于聚类分解与图匹配的车辆路径问题求解方法,包括S1、接收一个待求解的大规模车辆路径问实例,建模为一个赋权无向图,并结合一系列约束条件与优化目标;S2、构建一个结构多样化的离线知识库,该步骤的输入为一组预设参数,输出为一个存储于所述存储器中的知识库;S3、针对所述待求解的大规模车辆路径问题实例,执行初始化操作以生成全局初始解;S4、以所述全局初始解为起点,执行迭代局部搜框架对解进行深度优化,直至满足预设的终止条。本发明解决了现有技术在处理大规模复杂物流网络时存在的计算耗时长、规划成本高和结果不稳定的技术问题。

一种AI赋能的智能仓储分拣机器人及方法

NºPublicación:  CN121766886A 31/03/2026
Solicitante: 
佛山市德维讯智能科技有限公司
CN_121766886_PA

Resumen de: CN121766886A

本发明涉及智能仓储技术领域,具体为一种AI赋能的智能仓储分拣机器人及方法;该机器人包括3D视觉智能定位模块、AI动态路径规划模块、多品类自适应分拣执行模块、全流程数据安全协同模块及能耗‑效率平衡控制模块;3D视觉智能定位模块采集货物特征并修正定位偏差,AI动态路径规划模块生成最优路径,自适应分拣执行模块调整分拣参数,数据安全协同模块加密追溯数据,能耗平衡控制模块优化能耗;该方案解决现有机器人定位不准、效率低、损耗高、数据不安全问题,提升分拣适配性与安全性,适用于多品类仓储场景。

一种生物样本资源的入库存储管理方法及相关装置

NºPublicación:  CN121766882A 31/03/2026
Solicitante: 
广州医科大学附属第一医院(广州呼吸中心)
CN_121766882_A

Resumen de: CN121766882A

本发明公开了一种生物样本资源的入库存储管理方法及相关装置,其方法包括:生物样本存储系统接收待存储生物样本数据,并提取到所述待存储生物样本数据对应的样本数量和样本属性;生物样本存储系统基于待存储生物样本数据对应的样本数量和样本属性在多个生物样本存储库中确定目标存储区域;生物样本存储系统基于目标存储区域将待存储生物样本数据执行虚拟入库处理,并在完成虚拟入库后,将目标存储区域划为已分配区域;在检测待存储生物样本数据完成实体入库时,将目标存储区域由已分配区域修改为样本占用区域。在本发明实施例中,实现生物样本存储系统与生物样本存储库的配合对生物样本数据的入库管理,并全流程监控至生物样本数据实体入库。

一种联运网络运力推测方法和装置

NºPublicación:  CN121766859A 31/03/2026
Solicitante: 
国家能源集团新能源技术研究院有限公司国家能源投资集团有限责任公司
CN_121766859_PA

Resumen de: CN121766859A

本申请涉及联运网络运力推测方法和装置。包括获取预设时间段中联运网络各节点、链路的特征向量和发生的冲击事件,得到联运动态图;根据联运动态图计算节点剩余可用程度,进行扩散处理,得到节点联合向量,联合向量表征了节点受冲击事件的影响程度;根据联合向量计算节点基准矫正量,根据基准矫正量计算节点混合表示结果,通过运力需求量对混合表示结果筛选,得到联运网络的空间交互结果,混合表示结果表征了节点的恢复趋势,基准矫正量表征了节点经冲击事件产生的可用容量偏差;基于空间交互结果进行推演,得到节点可用容量变化值和联运网络整体可用容量变化值,得到运力推测结果。本申请可提高在冲击事件影响下联运网络可用运力推测准确度。

基于深度学习的建筑材料智能盘点与损耗分析方法及系统

NºPublicación:  CN121766878A 31/03/2026
Solicitante: 
中建国际城市建设有限公司
CN_121766878_PA

Resumen de: CN121766878A

本发明涉及数据处理领域,具体涉及一种基于深度学习的建筑材料智能盘点与损耗分析方法及系统。其中,本发明在关键区域部署摄像头,利用定制化的深度学习目标检测模型,自动识别和统计钢筋、管材、砌块等主要材料的进场、运输和使用量,精准定位材料异常损耗发生的区域和时间段。最终,本发明方案能够实时识别进度偏差以及工序跳跃、材料浪费等问题,为项目管理提供了前所未有的洞察力,从而显著辅助决策、降低延期风险。

笼车处理方法和装置、电子设备及存储介质

NºPublicación:  CN121766860A 31/03/2026
Solicitante: 
深圳顺丰泰森控股(集团)有限公司
CN_121766860_PA

Resumen de: CN121766860A

本申请实施例提供了一种笼车处理方法和装置、电子设备及存储介质,属于物流技术领域。该方法应用于物流场地,物流场地包括卸车区以及拼笼区,卸车区用于对到达物流场地的笼车进行卸载操作,拼笼区用于对未装满货物的笼车进行拼笼操作,拼笼区中包括多个库位,方法包括:获取卸车区中笼车的笼车属性和笼车装载状态,并确定笼车装载状态表示未装满货物的目标笼车;获取多个库位的库位状态;然后基于目标流向、目的流向和期待填充流向在多个库位中查找目标笼车对应的目的库位,并调度运输设备将目标笼车从卸车区搬运至对应的目的库位;最后对拼笼区中的笼车进行拼笼操作。本申请实施例能够提高笼车处理效率。

融合AI算法的叉车全生命周期智能化管理及能耗优化系统

NºPublicación:  CN121766905A 31/03/2026
Solicitante: 
山东格物智联信息技术有限公司
CN_121766905_PA

Resumen de: CN121766905A

本发明属于叉车智能化技术领域,特别涉及一种融合AI算法的叉车全生命周期智能化管理及能耗优化系统,包括物理层模块、数字孪生建模模块、智能决策层模块、云平台模块以及用户端模块;数字孪生建模模块基于多源异构数据融合技术,通过实时采集叉车运行参数等数据,构建动态进化的虚拟镜像模型,实现叉车全生命周期状态的精准映射;智能决策层模块集成强化学习、迁移学习等算法,针对叉车能耗、寿命、调度等核心问题,生成智能决策方案,物理层模块通过物联网传感器阵列实时采集运行数据,并利用区块链技术实现数据可信存证与共享;实现了叉车运行状态的实时监控、远程运维管理及多部门协同,提升叉车全生命周期管理效率与经济效益。

一种基于大数据的跨境电商供应链风险监控系统

NºPublicación:  CN121766752A 31/03/2026
Solicitante: 
广东工业大学广州哆啦科技有限公司
CN_121766752_PA

Resumen de: CN121766752A

本申请涉及金融风险监控的技术领域,公开一种基于大数据的跨境电商供应链风险监控系统,数据采集模块,获取供应商货物相关的多源数据,数据处理与存储模块,对所采集到的数据进行清洗转换和存储,需求预测模块,对所述多源数据进行分析,输出未来预设周期内的货物需求量预测结果,储藏规划模块,根据所述需求量预测结果,生成货物储藏方案;所述储藏方案包括各品类货物的储藏数量、储藏区域划分及库存周转周期规划,动态调整模块,用于对所述储藏规划模块生成的所述货物储藏方案进行调整和实施,风险智能分析引擎,用于基于预定义的风险指标和机器学习模型对处理后的数据进行分析,以识别和评估供应链风险。

物资在线招采方法、系统及设备

NºPublicación:  CN121766880A 31/03/2026
Solicitante: 
中国建筑工程(香港)有限公司
CN_121766880_PA

Resumen de: CN121766880A

本申请公开了一种物资在线招采方法、系统及设备,涉及物资采购技术领域,该方法包括:获取当前采购需求信息,并根据当前采购需求信息以及历史采购数据生成各待采购材料对应的推荐供应商以及供应商画像;基于各推荐供应商初始化若干供应商组合,并根据各推荐供应商对应的供应商画像确定各供应商组合的基础评分;对各供应商组合进行压力测试模拟,根据模拟结果生成各供应商组合的弹性评分;结合基础评分以及弹性评分对各供应商组合进行排序,并根据排序结果确定目标供应商组合。本申请通过动态评分模型和压力测试模拟来量化评估各供应商组合,实现智能化供应商组合推荐,能够提前规避潜在的供应风险,提升企业应对突发事件的能力。

一种医院采购成本控制方法及系统

NºPublicación:  CN121766930A 31/03/2026
Solicitante: 
郑州大学郑州大学第一附属医院
CN_121766930_PA

Resumen de: CN121766930A

本申请涉及成本控制技术领域,尤其涉及一种医院采购成本控制方法及系统;步骤包括:获取医院采购数据;获取供应商API接口返回的供货数据;根据医院采购数据和供应商供货数据生成采购策略;将采购策略、历史采购数据、库存数据导入到多维度交叉验证模型中进行验证,确定采购策略的可行性;本申请将时间成本与经济成本融合为一个单一的优化目标,从而在选择供应商时不再单独考虑某一因素,而是对两者进行综合权衡与统一分析,实现整体最优;并且通过多维度交叉验证供应商集中风险指数、成本偏差率、交付风险指数和库存安全健康度评分,全面评估采购策略的可靠性,确保供应链的稳定性和抗风险能力。

一种外立管巡检路径智能推荐系统

NºPublicación:  CN121766565A 31/03/2026
Solicitante: 
北京安元云枢科技有限公司
CN_121766565_PA

Resumen de: CN121766565A

本发明涉及巡查路径优化技术领域,公开了一种外立管巡检路径智能推荐系统,包括:巡检单元记录立面位置、中心高度以及巡检作业方式;评估单元根据历史缺陷信息、立管类型和环境暴露条件对每一巡检单元进行风险评估,得到巡检单元风险等级,并形成巡检单元时间窗口约束;处理单元构建巡检业务图;推荐单元确定待巡检单元,并在巡检业务图上生成候选巡检路径,将候选巡检路径组合成多个巡检任务包,结合巡检班组的技能信息和可用时间信息进行资源调度,获得每一巡检班组对应的巡检路径推荐结果。本申请减少了总体巡检时间和高成本巡检作业方式切换次数,提升了外立管巡检安全性和运维管理效率。

基于区块链的原材料仓库数据存证管理系统

NºPublicación:  CN121765016A 31/03/2026
Solicitante: 
福建省永联汽车科技有限公司
CN_121765016_PA

Resumen de: CN121765016A

本发明涉及区块链数据管理技术领域,公开了基于区块链的原材料仓库数据存证管理系统。该系统包括数据采集模块、边缘计算节点、可信数据网关及区块链存证网络,通过对原始环境参数进行边缘侧特征提取与压缩,生成标准数据记录及其哈希指纹,并将指纹存证至区块链,实现数据防篡改与高效验证。将需要上链存证的数据量从原始的秒级采样点大幅压缩为30秒时间窗口的统计特征数据包,显著降低了直接提交至区块链网络的数据吞吐量。此举从根本上缓解了区块链网络的交易池拥堵问题,使得数据指纹能够被快速记录,有效解决了数据存证延迟与实时监控需求之间的矛盾。

一种考虑突发扰动和运输特性的动态路径规划方法及系统

NºPublicación:  CN121766561A 31/03/2026
Solicitante: 
中电鸿信信息科技有限公司
CN_121766561_PA

Resumen de: CN121766561A

本发明公开了一种考虑突发扰动和运输特性的动态路径规划方法及系统。该方法首先采集路网拓扑、运输任务及扰动事件信息;其次,采用融合了道路兼容性与时间窗口约束的改进Dijkstra算法,为每辆车生成无扰动行驶路线预案;通过动态仿真随机触发扰动事件并更新路网状态;然后,通过评估受影响车辆比例与失效路段的关键性,自适应地选择局部修复或全局重构策略进行路径重规划;最终输出整合了预案与动态调整结果的优化方案。本发明有效克服了传统静态规划难以应对动态扰动、忽视运输工具与路网物理兼容性、以及重规划时效率与全局优化难以平衡的技术缺陷,显著提升了路径规划的鲁棒性与实时性。

大数据驱动的物流需求预测平台

NºPublicación:  CN121766862A 31/03/2026
Solicitante: 
河北经贸大学
CN_121766862_PA

Resumen de: CN121766862A

本发明公开了一种大数据驱动的物流需求预测平台,涉及物流智能调度技术领域。该平台包括动态特征感知模块、时空预测引擎、仿真推演与优化模块及在线学习与反馈模块。动态特征感知模块融合多源异构物流时序数据,构建并更新动态物流知识图谱,提取时空动态特征;时空预测引擎通过层级时空注意力网络捕捉特征的时空依赖性,输出多时段需求预测序列;仿真推演与优化模块基于离散事件仿真模型,模拟多类外部扰动场景,通过蒙特卡洛仿真与多目标优化生成优先级排序的弹性调度预案;在线学习与反馈模块通过闭环迭代自适应优化模型参数与特征提取规则。本发明解决了传统物流预测中多源数据融合不足、时空依赖捕捉不准、抗扰动能力弱的问题。

基于计算机视觉与RFID的建材智能仓储盘点与防火预警方法和系统

NºPublicación:  CN121766881A 31/03/2026
Solicitante: 
四川智慧万物科技有限公司
CN_121766881_PA

Resumen de: CN121766881A

本发明涉及基于计算机视觉与RFID的建材智能仓储盘点与防火预警方法和系统,通过部署图像采集模块与RFID读写网络,并行执行建材协同盘点与防火协同预警;盘点过程中,利用视觉目标检测定位建材并引导RFID读写器进行定向波束扫描,实现视觉特征与RFID身份信息的精准绑定,生成高精度库存清单;预警过程中,基于热成像识别温度异常区域,并触发视觉分析确认建材堆积及明火特征,进而生成分级火灾预警;通过多模态数据融合与协同处理,提升仓储盘点的自动化精度与火灾预警的可靠性,实现库存管理与安全监控的一体化智能运维。

一种物料成本还原方法、装置、电子设备及存储介质

NºPublicación:  CN121767010A 31/03/2026
Solicitante: 
昆仑数智科技有限责任公司中国石油天然气集团有限公司大庆金桥信息技术工程有限公司
CN_121767010_PA

Resumen de: CN121767010A

本申请提供了一种物料成本还原方法、装置、电子设备及存储介质,所述方法包括:将预设的业务单据进行分类,得到不同类型的业务单据,并将业务单据和预设的业务成本进行转换,得到转换后的运算基础数据,将运算基础数据和预设的库存清单进行分类汇总,得到对应的物料流向记录基础数据,对物料流向记录基础数据对应的每个物料进行层级划分,获取对应的物料层级记录,基于物料流向记录、数量记录、物料层级记录对所有物料进行成本还原,得到对应的物料成本清单。

一种针对智能设备的场景调度方法及系统

NºPublicación:  CN121763994A 31/03/2026
Solicitante: 
浙江爱客智能科技有限责任公司
CN_121763994_PA

Resumen de: CN121763994A

本发明涉及智能设备调度规划技术领域,公开了一种针对智能设备的场景调度方法及系统,其中,方法包括:基于双域调度因子构造机制确定任务紧急度与运动复杂度;构建调度优先级权重;筛选冲突节点集合;采用双方案评估机制生成避让决策;最终将避让决策同步下发至相关智能设备。相较于现有技术中缺乏优先级引导与精细冲突判断机制的调度方法,尤其是在多移动设备包括工业AGV、行李搬运机器人与移动充电车的密集作业场景下,难以实现对冲突风险的动态预测与主动规避的技术问题,由于本申请通过引入任务、运动双域因子构造和空间和时间双条件冲突识别机制,实现了设备级调度的主动避让和实时响应,提高了智能设备协同运行稳定性。

一种考虑多机型的空空中转联程运输协同配载方法

NºPublicación:  CN121766864A 31/03/2026
Solicitante: 
中国民航大学
CN_121766864_PA

Resumen de: CN121766864A

本发明涉及航空货运配载优化技术领域,具体为一种考虑多机型的空空中转联程运输协同配载方法,将多种不同型号货机的物理结构、操作特征标准化为统一参数集,构建适用于任意机型的通用配载优化模型,通过自适应混合编码策略映射六维决策空间,输出全局最优的联程运输协同配载方案。本发明通过构建参数化配置库实现了兼容多种货机,提升了配载作业的通用性和效率;通过建立跨航段协同约束机制,实现了联程运输全过程的动态重心前瞻性管控与中转阻塞优化,显著提高了运输安全性与中转效率;并基于多目标智能优化算法,系统性协同优化全局业载、重心稳定与操作成本,从而实现了安全、经济、高效兼顾的全局最优配载决策。

多云仓管理、施工联动及相亲案底查询的方法及系统

NºPublicación:  CN121766887A 31/03/2026
Solicitante: 
曾庆波
CN_121766887_PA

Resumen de: CN121766887A

本发明公开了多云仓管理、施工联动及相亲案底查询的方法及系统,其技术方案为整合云仓管理、施工服务、相亲服务及统一记录四大模块:云仓管理模块建立多云仓信息数据库,通过定位算法实现就近自提;施工服务模块将施工报价单审核与材料购买权限绑定,对工人进行多维度核实,验收后自动生成绑定数据的验收单及保修单;相亲服务模块提供实名验证后的专属免费案底查询,采用加密接口实现广告链接展示,配套直播间礼物赠送与提现机制;统一记录模块通过加密分布式数据库存储全流程数据,支持多维度追溯。本发明实现跨领域服务联动,规范服务流程,保障用户安全与权益,核心功能不易被模仿,提升服务效率与数据安全性,适用于一站式综合服务场景。

一种基于互联网的医院问诊系统及交互方法

NºPublicación:  CN121768702A 31/03/2026
Solicitante: 
北京因联科技有限公司
CN_121768702_PA

Resumen de: CN121768702A

本发明公开了一种基于互联网的医院问诊系统,包括业务中台层、多端应用层、复合交互层和核验层;所述业务中台层采用Java Springboot加SpringCloud微服务架构构建而成,能够将多个核心功能封装为独立的服务流程;所述多端应用层能够基于不同终端用户的操作习惯与性能要求,选用最优的技术栈形成多端应用,且各端通过API网关与上述业务中台进行前后端分离式交互;所述复合交互层用于在医患之间建立通信链路,以进行在线问诊、处方开具、药品配送的全业务流程。本发明实现了“在线问诊‑开方‑购药‑配送”的一站式业务流程,同时支持医生随时随地通过移动端或电脑进行接诊,解决了医生的执业行为被束缚于实体医院的固定场所和时间的问题。

一种基于多仓联动的货运物流调度优化方法及系统

NºPublicación:  CN121766875A 31/03/2026
Solicitante: 
陕西诺鑫网络科技有限公司
CN_121766875_PA

Resumen de: CN121766875A

本发明属于物流调度技术领域,提供了一种基于多仓联动的货运物流调度优化方法及系统,包括获取货物目的地与各仓库位置以生成多条候选运输路线,并将每条路线依据路面类型划分为若干路段。进而,采集各路段的实时路面缺陷特征与天气状态数据,分别构建颠簸强度分析模型与天气适应性分析模型,生成路线的颠簸风险评分与天气适应性评分;最后,融合运输成本数据,计算各候选路线的综合协同代价评分,并选取评分最优的路线作为最终调度方案,从而进行货运物流调度优化;本发明能够综合考虑路面颠簸风险、天气适应性和运输成本,生成最优运输路线,从而提升物流调度效率、降低运输成本并保障货物安全性。

智能咖啡站的后台管理系统及方法

NºPublicación:  CN121767013A 31/03/2026
Solicitante: 
深圳市创界智联科技有限公司
CN_121767013_PA

Resumen de: CN121767013A

本发明提供了智能咖啡站的后台管理系统及方法,包括:实时采集各个智能咖啡站内的数据,以计算和分析出原料耗尽时间、设备维护紧急性、销售趋势报告以及用户偏好数据,将原料耗尽时间、设备维护紧急性、销售趋势报告以及用户偏好数据输入预设的后台管理系统,以生成运营决策方案,通过实时数据采集、库存消耗速率分析、设备健康评估、销售趋势识别和用户偏好挖掘等步骤,使后台管理系统能够对智能咖啡站的补货、维护和销售策略进行动态、精准且自动化的运营决策,解决现有技术中在设备数量较多、分布区域较广或用户需求变化频繁时,存在出现补货不及时、设备故障未及时处理、销售策略难以调整的问题。

一种基于ERP架构的爆款订单智能处理系统

NºPublicación:  CN121766627A 31/03/2026
Solicitante: 
上海圆擎信息科技有限公司
CN_121766627_PA

Resumen de: CN121766627A

本发明公开了一种基于ERP架构的爆款订单智能处理系统,涉及智能决策技术领域,包括:获取目标企业历史订单数据,提取历史爆款订单特征,构建爆款订单特征矩阵;基于后台系统,实时获取订单多维运行参数,结合爆款订单特征矩阵,动态识别与标记潜在爆款订单;根据目标企业ERP企业资源规划管理系统,整合多维实时数据作为根节点,训练梯度提升树模型,以预测未来时段订单生产瓶颈作为叶子节点,定位订单具体瓶颈风险节点;整合动态识别与标记潜在爆款订单与定位订单具体瓶颈风险节点,根据ERP企业资源规划管理系统自动生成目标企业订单分级资源调度指令,完成目标企业爆款订单智能处理。本发明提高了智能化配置。

一种批发档口智能标签打印与管理系统

NºPublicación:  CN121766879A 31/03/2026
Solicitante: 
上海圆擎信息科技有限公司
CN_121766879_PA

Resumen de: CN121766879A

本发明公开了一种批发档口智能标签打印与管理系统,涉及计算机应用与物流信息化技术领域,包括:基础配置模块,包含配置录入单元和配置存储与缓存单元,用于通过图形化界面和配置文件导入配置信息,所述配置信息包括:标签规则、拣货码规则、供应商档口及市场信息、标签模版及备货单配置,并将配置信息缓存至基础配置缓存。本发明提出的一种批发档口智能标签打印与管理系统,通过自动化与智能化的技术手段,实现了从订单接入、标签生成、分拣到发货、对账的全流程闭环管理,减少了人工干预与错误率,其独特的“库存状态‑标签类型”联动机制,确保了标签信息的准确性与时效性,避免了因信息不符导致的货损与延误。

门店外送营业额的确定方法、装置、电子设备及介质

NºPublicación:  CN121767022A 31/03/2026
Solicitante: 
茶姬(上海)科技有限公司
CN_121767022_PA

Resumen de: CN121767022A

本申请一种门店外送营业额的确定方法、装置、电子设备及介质,该方法包括:获取新开门店的新店配送范围和已开门店的历史订单数据;根据新店配送范围,确定新开门店与已开门店的重叠配送区域;根据历史订单数据,确定已开门店在重叠配送区域内的订单总数以及订单总数对应的第一客单价均值;通过指定数据分析模型,预估订单总数将被新开门店分担的目标订单数量;指定数据分析模型用于确定重叠配送区域内的用户选择新开门店的概率;根据目标订单数量和第一客单价均值,预估新开门店的目标外送营业额。由此,通过数据分析模型精准预估新开门店分担的目标订单数量,避免平均分配原则忽略不同用户选择门店的倾向性差异,提升新开门店分流分析精度。

一种汽轮发电机气隙三维重建与备件智能优化系统及方法

NºPublicación:  CN121766894A 31/03/2026
Solicitante: 
哈尔滨电机厂有限责任公司
CN_121766894_PA

Resumen de: CN121766894A

本发明公开了一种汽轮发电机气隙三维重建与备件智能优化系统及方法,属于电力设备智能运维技术领域。解决了现有技术中传统的汽轮发电机气隙维护方法存在的三维测量精度不足、备件配置缺乏数据支撑的问题;本发明通过数据采集模块实时获取数据并对齐,进行筛选和处理,得到处理后的数据;构建三维数字孪生模型,输出汽轮发电机气隙模拟结果;通过备件优化模块构建库存优化模型,输出备件需求量;通过智能运维模块提供显示汽轮发电机气隙模拟结果和库存状态的可视化人机交互界面,生成并采用远程数据传输通道输出三级维护方案。本发明有效提升了测量精度和备件智能优化效果,可以应用于电力设备运维。

一种PCBA智能仓储管理方法

NºPublicación:  CN121766891A 31/03/2026
Solicitante: 
天津亚太电子有限公司
CN_121766891_PA

Resumen de: CN121766891A

本发明涉及仓储管理技术领域,尤其涉及一种PCBA智能仓储管理方法,该方法包括通过ERP系统生成唯一追溯码,响应于拆解指令,将使用自动分盘机对包装分割完成的物料进行拆解;基于拆解后最小物料单元唯一追溯码的粘贴面积以及粘贴位置复杂程度确定最小物料单元唯一追溯码的剥除类型;基于最小物料单元唯一追溯码的剥除类型和/或最小物料单元的结构强度确定以强力剥除法或非强力剥除法剥除所述唯一追溯码;基于未完全剥除的最小物料单元的损坏特征参数与预设损坏特征参数的比对结果确定二次剥除残留唯一追溯码或将未完全剥除的最小物料单元送至余料仓;本发明通过提高唯一追溯码更新过程控制的精准性进而提高唯一追溯码的完整性。

分拣异常处理方法、计算机设备和可读存储介质

NºPublicación:  CN121755431A 31/03/2026
Solicitante: 
顺丰科技有限公司
CN_121755431_PA

Resumen de: CN121755431A

本申请涉及一种分拣异常处理方法、计算机设备、计算机可读存储介质和计算机程序产品,可用于物流技术领域。该方法包括:获取分拣图像数据;对分拣图像数据进行分拣异常检测处理,得到分拣系统的第一分拣异常检测信息;对分拣图像数据进行包裹识别处理,得到分拣格口对应的包裹数量信息;根据目标包裹数量信息和包裹数量信息,确定分拣系统的第二分拣异常检测信息;第二分拣异常检测信息包括包裹数量异常信息;根据第一分拣异常检测信息和第二分拣异常检测信息,确定分拣系统的目标分拣异常检测信息;根据目标分拣异常检测信息指示目标对象进行分拣异常处理。采用本方法能够提高分拣异常处理的效率。

一种智能防错MES系统

NºPublicación:  CN121766884A 31/03/2026
Solicitante: 
浙江理工大学
CN_121766884_PA

Resumen de: CN121766884A

本发明提供了一种智能防错MES系统,涉及智能制造技术领域,通过扫码枪扫描待准备物料的物料码以及待生产成品的成品码,获取成品信息和物料信息并传输给控制板,并通过在物料盒旁设置光栅传感器,可以对相应物料盒中的物料在被拿取或放入时进行物料计数以及物料拿取或存放顺序检测,然后在控制板中分析处理光栅传感器和扫码枪获取的数据,在获得成品信息时,调取对应成品的物料清单以获取所需物料的种类、数量和顺序,基于预设逻辑校验判断物料准备过程是否正确,错误时进入错误处理环节。本发明可以实现从“成品识别”到“物料核对”再到“用量与顺序校验”的全流程自动化防错,构建闭环控制机制,减少人工干预,提升物料准备的准确性与效率。

对象派送的方法、装置、设备和可读介质

NºPublicación:  CN121766858A 31/03/2026
Solicitante: 
北京京东远升科技有限公司
CN_121766858_PA

Resumen de: CN121766858A

本公开的实施例提供对象派送的方法、装置、设备和可读介质。该方法包括:确定用于运输对象的运输订单;响应于接收到对运输对象增加目标服务的用户请求,确定与目标服务对应的服务单;以及基于运输订单和服务单,控制对运输对象的派送操作。以此方式,可以提高派送效率,还可以提升用户体验。

一种基于医疗运输机器人的控制方法及系统

NºPublicación:  CN121766874A 31/03/2026
Solicitante: 
北京融威众邦科技股份有限公司
CN_121766874_PA

Resumen de: CN121766874A

本申请涉及医疗运输设备领域,具体是一种基于医疗运输机器人的控制方法及系统,采用预先全局规划路径+实时避让策略的方式实现对医疗运输机器人的控制。全局路径规划基于3D网格地图综合考量距离、拥堵、电梯等待等多重代价,确保任务执行的整体最优性;而基于深度视觉与雷达融合的实时动态感知,通过精确识别目标类型与运动向量,实现了绕行、等待、主动避让等多种智能避障行为。平衡了通行效率与路径连续性,特别适应医院环境中人流密集、突发状况多的复杂动态场景。分层决策机制既避免了全局规划的沉重开销,又通过局部代价模型优化避障路径,使机器人能够礼貌、高效、可靠地完成医疗运输任务,显著提升医院物流自动化水平与应急响应能力。

基于低空风向偏转预测的无人机悬吊货物安全评估方法

NºPublicación:  CN121766546A 31/03/2026
Solicitante: 
福州大学
CN_121766546_PA

Resumen de: CN121766546A

本发明涉及一种基于低空风向偏转预测的无人机悬吊货物安全评估方法,属于无人机应用技术领域。该方法包括:通过无人机搭载的传感器采集悬吊区域的气象数据、无人机实时姿态及吊索状态参数,构建安全关联数据集;利用交叉熵时序预测算法从数据中提取低空风向偏转规律,结合无人机动力学特性,构建融合风向偏转影响、吊索状态、无人机姿态及风险持续时长的多维度安全评估模型;采用不同悬吊场景的历史数据训练并优化模型参数;设定多级评估指标及其安全阈值与影响权重;最终基于模型与指标计算无人机悬吊货物过程中的综合安全等级。本发明能够提前预测风向变化风险,实现多维度动态安全评估,有效降低风干扰导致的安全事故。

一种港口码头生产设备振动在线检测分析管理系统

NºPublicación:  CN121766966A 31/03/2026
Solicitante: 
鞍山三合众鑫科技有限公司
CN_121766966_PA

Resumen de: CN121766966A

本发明涉及港口设备监测技术领域,尤其涉及一种港口码头生产设备振动在线检测分析管理系统,包括在线检测中心、多维采集模块、检测准备模块、故障定位单元、高危故障识别模块、设备劣化模块、风险联动评估单元及后端预警模块;本发明是通过构建初始数据池,实现从点监测到全维度覆盖,大幅降低因数据缺失导致的漏检风险,并通过匹配度计算与综合验证得分双重校验,以解决传统检测方法对早期故障灵敏度低、定位模糊的痛点,还通过多维融合模型分析,输出港口码头生产设备的劣化等级,客观反映设备运行状态,且关联故障发展趋势与设备劣化程度,针对不同风险等级执行差异化预警操作,实现运维资源优化配置,降低综合运维成本。

一种基于北斗低空物流的无人机冷链配送系统

NºPublicación:  CN121766866A 31/03/2026
Solicitante: 
大农科技股份有限公司
CN_121766866_PA

Resumen de: CN121766866A

本申请公开了一种基于北斗低空物流的无人机冷链配送系统,涉及无人机配送的技术领域,其包括需求预测模块:用于得到预测温控需求和预测飞行需求;能源管理模块:用于生成能源协同管理策略;路径规划模块:用于根据不利气象数据生成动态路径规划;温度调节模块:用于识别局部过热区域,根据局部过热区域生成温度调节策略;风险预测模块:用于进行配送模拟,生成风险预测报告;风险调整模块:用于根据配送风险节点对能源协同管理策略和/或动态路径规划进行调整与整合,生成目标配送方案,控制无人机根据目标配送方案执行配送任务。本申请具有提升无人机的配送效率以及对环境变化的适应性的效果。

一种基于大模型动态参数的智能派车方法、系统及设备

NºPublicación:  CN121766716A 31/03/2026
Solicitante: 
畅捷通信息技术股份有限公司
CN_121766716_PA

Resumen de: CN121766716A

本发明公开了一种基于大模型动态参数的智能派车方法、系统及设备,涉及车辆调度与路径规划技术领域。将大模型参数与业务数据深度绑定,基于实时动态数据与历史任务数据,通过场景识别自动生成大模型参数,利用参数规则自优化机制实现大模型参数的动态调整,生成模型生成派车及路径规划方案,检测模型复查并自动修正。本发明通过动态参数调整适配场景特异性,双模型协同降低大模型幻觉率,多维度校验提升合规性,适用于商贸批发、制造企业的物流自配送业务。

货架物料管理系统及其管理方法

NºPublicación:  CN121766897A 31/03/2026
Solicitante: 
深圳市国腾智达电子有限公司
CN_121766897_PA

Resumen de: CN121766897A

本申请涉及电子物料仓储管理技术领域,尤其涉及一种货架物料管理系统及其管理方法,系统包含物料标识、货架感应定位、入库绑定和数据管理模块,物料标识模块为每个盛放相同物料的物料盘配置唯一身份信息,货架感应定位模块监测物料盘入库情况,成功入库后发送信号至入库绑定模块,入库绑定模块读取物料身份信息,将其放置目标仓位并生成仓位绑定信息,数据管理模块接收物料身份、入库、仓位绑定及库存状态等信息,存储至本地数据库。本申请可精准定位物料位置,提高物料取用效率,减少取用错误,还能系统记录物料全生命周期信息,便于问题排查,保障生产流程稳定高效。

一种基于数字孪生的城市物流枢纽系统及使用方法

NºPublicación:  CN121766663A 31/03/2026
Solicitante: 
中建三局智能技术有限公司
CN_121766663_PA

Resumen de: CN121766663A

本发明公开了一种基于数字孪生的城市物流枢纽系统及使用方法,涉及智能物流与工业物联网技术领域,包括:动态数据采集层,其用于采集多模态数据并进行数据预处理;数字孪生建模层,其基于多模态数据生成数字孪生模型;协同优化引擎层,其包括路径规划模块和强化学习模块,路径规划模块用于进行跨模态路径规划,生成初始路径,强化学习模块基于初始路径的设备调度结果,进行冲突检测,在检测到冲突时,选择动作进行策略调整,并根据动作结果调用路径规划模块重新规划路径;数字孪生模型还用于对规划的路径进行仿真,以判断是否满足约束条件。本申请提升了物流枢纽的资源利用率、动态响应效率及应急处理能力,并支持多式联运场景下的全局协同决策。

电力物资管理实时数据分析的方法及系统

NºPublicación:  CN121770169A 31/03/2026
Solicitante: 
国网山东省电力公司临邑县供电公司
CN_121770169_PA

Resumen de: CN121770169A

本发明适用于电力系统及其自动化领域,提供了电力物资管理实时数据分析的方法及系统,该方法包括:实时采集整合电网拓扑数据、设备实时运行状态数据、物资主数据及实时故障报警信息形成多维度数据;以故障设备为起点,经下游拓扑遍历与设备状态分析生成潜在受影响设备清单;映射形成初始物资需求集合;查询库存并依据故障位置优选仓库、锁定物资生成抢修物资包工单;通过实际消耗反馈数据优化潜在受影响设备清单生成逻辑。本发明实现了数据驱动的电力物资全流程精准管理,提升了抢修物资调配效率与响应速度,保障电网稳定运行。

物品识别装置和系统

NºPublicación:  CN121773439A 31/03/2026
Solicitante: 
艾利丹尼森零售信息服务有限公司
CN_121773439_PA

Resumen de: WO2025048863A1

In some embodiments, an item identifier system is disclosed. In some embodiments, the item identifier system includes an item identifier device that includes a housing, an RFID reader, an internal frame, a first antenna, and a second antenna. The housing may be provided with at least one coupler on a top surface for mounting the item identifier device. The RFID reader may be disposed within the housing. The internal frame may support the RFID reader, and the internal frame may include a horizontal member and a tilted member inclined to the horizontal member. The first antenna may be operatively coupled to the RFID reader and positioned below the horizontal member and the RFID reader. The second antenna may be operatively coupled to the RFID reader and positioned below the tilted member.

一种物流单据智能审核与仓储资源动态分配方法

NºPublicación:  CN121766898A 31/03/2026
Solicitante: 
杭州巨灵兽智能科技有限公司
CN_121766898_PA

Resumen de: CN121766898A

本发明涉及物流管理技术领域,具体涉及一种物流单据智能审核与仓储资源动态分配方法。其技术方案包括如下步骤:对物流单据进行信息采集,并对其进行预处理获得物流单据数据集。基于预设规则与语义校验模型对所述物流单据数据集进行多维度审核。采集仓储系统的实时状态数据,并构建仓储资源实时状态矩阵。以审核通过的物流单据数据集和仓储资源实时状态矩阵,通过动态分配模型完成仓储资源的优化分配并获得最优资源分配方案。构建全流程数据溯源信息集,并进行存储。本发明通过规则化校验与语义校验模型校验相结合的方式,实现了物流单据的多维度智能审核。进行仓储资源实时状态动态分配资源,显著降低了仓储管理成本与人力成本。

应急物流中卡车-无人机协同动态调度方法及系统

NºPublicación:  CN121766548A 31/03/2026
Solicitante: 
济南大学
CN_121766548_PA

Resumen de: CN121766548A

本发明提出了一种应急物流中卡车‑无人机协同动态调度方法及系统,涉及无人机智能调度技术领域。构建卡车‑无人机协同配送网络,每辆卡车配备包含大型无人机与小型无人机的协同单元;网络包含仓库、枢纽点及需求点;以最小化总运营成本为目标,以电量管理、服务分配、时间窗与协同可行性为约束,建立混合整数规划模型;采用随机化贪心算法对所述模型进行求解,在单次迭代中同步决策卡车路径与无人机任务,得到卡车路径方案、无人机服务分配方案及动态电量调度方案。从而实现应急物流调度的成本最优与动态协同,有效提升应急配送的效率与可行性。

融合AI视觉识别与多端协同的航运货物监管方法及系统

NºPublicación:  CN121767797A 31/03/2026
Solicitante: 
安徽信息工程学院
CN_121767797_PA

Resumen de: CN121767797A

本发明的一种融合AI视觉识别与多端协同的航运货物监管方法及系统,包括以下步骤,S1、通过部署于船舶的视觉传感器、物理传感器及北斗/GPS定位模块,同步采集船舶的视觉影像、三维点云、重量变化、舱内压力及实时位置数据;S2、对S1采集的多源异构数据进行时空对齐与特征级融合,并进行特征提取;S3、将S2提取的视觉特征、物理特征与预置的航运业务规则共同输入“视觉‑传感器‑规则”三模态决策引擎进行加权决策,进而完成智能识别与预警。本发明通过深度学习模型、多源传感器数据与航运业务规则的深度融合,实现复杂环境下的高精度决策。

融合直线距离与载重约束的大件商品装车策略生成系统及方法

NºPublicación:  CN121766686A 31/03/2026
Solicitante: 
广州品晟供应链科技有限公司
CN_121766686_PA

Resumen de: CN121766686A

本发明公开了融合直线距离与载重约束的大件商品装车策略生成系统及方法,涉及物流调度技术领域。通过构建车辆资源池与订单池,维护车辆的载重、容量三维尺寸信息,以及订单的商品物理属性与配送地址信息,基于车辆载重与容量三维尺寸约束,对订单池中的订单进行优化匹配与三维装载计算,生成包含车辆‑订单分配方案及车内货物三维摆放位置的装车策略,根据车辆出发地及对应订单的配送地址,结合由车内货物三维摆放位置推导出的装载依赖关系,生成满足货物物理卸载顺序的配送路径序列,有效解决了大件物流领域长期存在的“装载安全”、“装配脱节”和“经验依赖”等核心技术难点,具有显著的产业应用价值和经济效益。

一种基于层次并行进化算法的UAV-AGV协同大规模物流配送方法

NºPublicación:  CN121766863A 31/03/2026
Solicitante: 
湖南科技大学
CN_121766863_PA

Resumen de: CN121766863A

本专利公开了一种面向AGV与UAV协同物流配送场景的优化方法,用于在满足时空约束条件下完成包裹派送任务的分配与路径规划。所提出的PCST‑GA算法相较于传统遗传算法(GA),引入了基于配送紧密度的聚类预处理机制,有效降低了大规模问题求解过程中的计算成本。针对问题特性,设计了两种基于启发式信息的高质量初始化方法,增强了算法在搜索初期的解优越性与多样性;同时,在算法陷入局部最优、连续多代无显著改进的情形下,引入变邻域搜索策略以跳出局部最优,从而提高算法的全局收敛能力。将所提出的PCST‑GA算法应用于无人车与无人机联合配送场景中,通过仿真实验验证了其有效性。与GA、Greedy、VNS、K‑GSA、CLCS‑GA以及IACO当前主流优化算法对比,PCST‑GA在收敛后获得了更高的配送收益与服务达成率,同时显著降低了计算开销,具有更优的收敛速度和稳定性。

一种无目标垛位的钢板倒垛优化方法及其计算机程序产品

NºPublicación:  CN121757506A 31/03/2026
Solicitante: 
湖南天桥嘉成智能科技有限公司
CN_121757506_PA

Resumen de: CN120841047A

The invention provides a target-stack-position-free steel plate stack transfer optimization method and a computer program product thereof.The method comprises the steps that the number sequence of initial disordered steel plates and the number of temporary stack positions are obtained, and the final temporary stack position to which each steel plate belongs and the final steel plate sequence on each temporary stack position are determined; the number of the temporary stacking positions is at least two; sequentially carrying out steel plate stack transfer operation from the top layer to the bottom layer of the initial disordered steel plates until stack transfer of all the steel plates is completed; in the stack transferring operation process, a way giving rule and a moving-away rule are followed; the multiple temporary stack positions are fully utilized as buffering and sorting spaces, the transfer path and sequence of the steel plates from the initial stack position to the temporary stack positions are planned by setting the stack transfer rule, dependence on the fixed target stack positions and invalid carrying are reduced, the site space utilization rate and the stack position resource turnover efficiency are improved to the maximum extent, and the production cost is reduced. The energy consumption and time cost of stack transfer operation are effectively saved, and meanwhile the overall response capacity and flexibility of warehousing operation are greatly improved.

果蔬检测方法、装置、电子设备以及存储介质

NºPublicación:  CN121762509A 31/03/2026
Solicitante: 
广东恒象农业集团有限公司
CN_121762509_PA

Resumen de: CN121762509A

本申请涉及光谱分析技术领域,提供了一种果蔬检测方法、装置、电子设备以及存储介质。通过对冷链运输的果蔬样本进行多激发波段的荧光光谱数据采集获得原始光谱数据集,对原始光谱数据集进行预处理生成标准化光谱数据集,对标准化光谱数据集进行特征提取以及多变量相关性分析获得差异特征数据集,对差异特征数据集进行分类处理获得病变分类标签,根据实时采集的冷链环境参数以及病变分类标签进行时序病害关联分析获得品质评估报告。本申请通过多激发荧光采集、标准化预处理、主成分与多变量筛选、分类判定以及时序环境关联,实现冷链果蔬病变的早期精准检测与可溯源品质评估。

货物装载方法、装置、电子设备及存储介质

NºPublicación:  CN121766861A 31/03/2026
Solicitante: 
北京京东远升科技有限公司
CN_121766861_PA

Resumen de: CN121766861A

本申请提出一种货物装载方法、装置、电子设备及存储介质。该方法包括:获取待装载货物的货物信息;获取装载容器的容器信息;根据货物信息和容器信息,确定每轮装载所需的目标装载容器,并在目标约束条件下向目标装载容器装载货物。由此,本方案根据货物信息和容器信息进行货物的装载,能够根据不同货物和容器的信息进行自适应调整,在目标约束条件下进行装载确保装载方案的有效性和可行性,从而提高了货物的装载效率,进一步降低运输成本。

ESG Apparatus and methods for ESG management at construction sites

NºPublicación:  KR20260043604A 31/03/2026
Solicitante: 
주식회사공새로

Resumen de: KR20260043604A

건설 현장에서 발생하는 자재·장비·에너지·폐기물 데이터를 기반으로 ESG 목표 달성 여부를 실시간으로 모니터링·예측·보정하며, 잉여 자재의 재활용·거래 및 탄소 크레딧 산정을 통해 지속가능한 건설 관리가 가능하도록 하는 건설 현장 ESG 관리 장치 및 방법이 개시된다. 일 실시예에 따른 건설 현장 ESG 관리 장치는 데이터 입출력을 위한 인터페이스부; 인터페이스부를 통해 수신한 건설 정보를 기초로 자재 종류, 자재 수량, 장비 종류, 장비 수량, 소비 전력 및 소비 연료량 중 적어도 하나를 추정하여 온실 가스 배출량을 예측하는 예측부; 및 예측된 온실 가스 배출량을 기초로 ESG 지표를 계산하는 ESG 모니터링부를 포함할 수 있다.

AUTOMATIC APPARATUS FOR PROCESSING PRODUCT PAGE FOR ECOMMERCE CROSSBORDER AND CONTROLLING METHOD OF THEREOF

NºPublicación:  KR20260042906A 31/03/2026
Solicitante: 
주식회사고퍼소프트

Resumen de: KR20260042906A

이커머스 크로스보더를 위한 상품 페이지 가공 자동화 장치 및 그의 제어방법이 개시된다. 본 발명의 일 실시 예에 따른 자동화 장치는 데이터를 저장하는 데이터베이스 및 상품 페이지 가공 자동화 장치를 제어하는 프로세서를 포함하고, 프로세서는, 상품을 소싱할 제1 쇼핑몰의 상품데이터를 제1 임시데이터로 저장하고, 제1 임시데이터를 구성하는 상품 이미지를 사용하여 제1 쇼핑몰과 다른 적어도 하나의 쇼핑몰에서 유사 상품을 검색하며, 제1 임시데이터에 검색된 유사 상품에 대한 데이터를 포함하여 최종 상품데이터로 저장하고, 저장된 최종 상품데이터를 이용하여 제1 쇼핑몰 및 제1 쇼핑몰과 다른 적어도 하나의 쇼핑몰에서 검색된 복수의 상품 각각에 붙일 옵션 데이터를 생성하며, 생성된 옵션 데이터를 이용하여 검색된 복수의 상품을 하나의 상품의 다른 옵션으로 구성하는 옵션페이지를 생성할 수 있다.

ENTERPRISE RESOURCE PLANNING MANAGEMENT SYSTEM PERFORMING ENTERPRISE RESOURCE PLANNING MANAGEMENT ON INTERACTIVE DATA STRUCTURE

NºPublicación:  KR20260042812A 31/03/2026
Solicitante: 
주식회사에이아이에프솔루션

Resumen de: KR20260042812A

대화형 데이터 구조에 기반하여 물류시스템의 전사적 자원관리를 수행하는 전사적 자원관리 시스템이 개시된다. 본 발명에 따른 전사적 자원관리 시스템은, 물류 시스템 운용을 위한 대화형 이알피(ERP) 시스템에 있어서, 육하원칙에 기반하여 관리자의 음성신호를 입력받아 발화 패턴에 대응하는 키워드를 쿼리 데이터로 출력하는 쿼리데이터 생성기; 쿼리 데이터를 음성 데이터로 변환하는 음성데이터 변환기; 음성 데이터가 ERP 운용을 위해 기 등록된 명령어인지를 판단하고, 등록되지 않은 명령어인 경우 재입력을 요구하는 대화형 서버; 대화형 서버로부터 수신된 명령어에 기반하여 주문정보를 생성하고, 주문정보를 토대로 제조, 물류, 납품, 수요분석, 수요예측, 물량계획, 배분정보를 관리하며, 기 설정된 ERP 알고리즘에 따라 주문, 제조, 물류, 납품에 이르는 공급망 관리 전반에서 발생되는 흐름을 계획하는 관리서버 단말기; 관리서버 단말기와 통신망을 통해 연동되어 상기 관리서버 단말기에 공급자 정보, 물량 계획 및 제품 정보를 입력 및 출력하도록 하는 생산자 단말기; 제품의 수거 또는 배송의 상태를 입력하는 배송업체 단말기; 및 주문현황 및 배송 현황에 대한 정보를 검색하도록 하는 소비자 단말기를 포함한�

METHOD AND ELECTRONIC DEVICE FOR PROVIDING PERSONALIZED INFORMATION

NºPublicación:  KR20260042464A 31/03/2026
Solicitante: 
쿠팡주식회사
TW_202542808_PA

Resumen de: TW202542808A

A method for providing personalized information in an electronic device is disclosed. Specifically, the method for providing personalized information may comprise the steps of: providing a first selection request page including information on a plurality of categories; identifying at least one category corresponding to a first input on the basis of a first input of a user in response to the first selection request page; identifying a set of stores corresponding to each of the at least one category; and providing a first page including at least one category and a set of stores to a user terminal.

OCR RPA Automation System for Customs Clearance using OCR and RPA

NºPublicación:  KR20260042856A 31/03/2026
Solicitante: 
주식회사그릿스탠다드

Resumen de: KR20260042856A

OCR과 RPA를 이용한 수출입 통관 자동 신고 시스템이 개시된다. 본 발명에 따른 수출입 통관 자동 신고 시스템은, 수출입 통관 신고자 또는 신고 대행자가 신고서를 작성하기 위해 필요한 이미지 형태의 전자 문서를 OCR 을 사용하여 판독한 후 편집이 가능한 문서 형태로 변환하는 OCR 문서 판독 관리부; 및 판독된 문서를 사용하여 수출입 신고서를 자동으로 작성한 후 대사 작업을 통해 신고서 작성을 완료하는 수출입 통관 신고 RPA부와 문서의 자동 오류 검증과 송수신을 실행하는 문서 오류 검증부와 문서 송수신부를 포함한다.

化工厂和控制化工厂的方法

NºPublicación:  CN121773438A 31/03/2026
Solicitante: 
巴斯夫欧洲公司
CN_121773438_PA

Resumen de: WO2025045897A1

A chemical plant (1) is provided with a first production facility (200) to produce fuel gas (201) as a product or a byproduct and a second production facility (300) arranged downstream from the first production facility (200) to consume fuel gas (201) produced by the first production facility (200) and to consume natural gas if an amount of fuel gas produced by the first production facility is not sufficient for an operation of the second production facility (300). The chemical plant (1) comprises a controller (100) configured to control an operation of the second production facility (300) based on a term in an objective function to reduce a temporal variation of a consumption of fuel gas by the second production facility (300) and a second term in the objective function to reduce a deviation of a demand for fuel gas by the second production facility (300) with a constraint that the second production facility does not consume more gas than the amount of fuel gas provided by the first production facility (200).

储物柜格口匹配方法、装置及存储介质

NºPublicación:  CN121766876A 31/03/2026
Solicitante: 
上海妃鱼数字科技有限公司
CN_121766876_PA

Resumen de: CN121766876A

本发明涉及一种储物柜格口匹配方法、装置及存储介质,其中方法包括:步骤S1:接收订单信息,基于订单信息解析得到商品特征、用户特征和时间特征;步骤S2:基于用户特征和商品特征对各储物柜的格口类型进行初筛,筛选得到全部或部分格口类型作为第一格口类型;步骤S3:将各第一格口类型的格口特征与解析得到的商品特征、用户特征和时间特征拼接后,输入训练好的第一模型,得到对应于各格口类型的第一时长和第二时长;步骤S4:基于各格口类型的第一时长和第二时长,结合各格口类型的空闲格口比例,分别计算得到各格口类型的目标函数值,并选择目标函数值最优的格口类型作为当前订单的匹配结果。与现有技术相比,本发明具有提高用户使用便捷度等优点。

一种基于AI与商情知识图谱的全球能源化工贸易货流监测系统

NºPublicación:  CN121766865A 31/03/2026
Solicitante: 
上海京瀚海运有限公司吾爱赫兹资讯技术(上海)有限公司吾爱赫兹信息科技(海南)有限公司
CN_121766865_PA

Resumen de: CN121766865A

本发明公开了一种基于AI与商情知识图谱的全球能源化工贸易货流监测系统,涉及能源化工贸易监测技术领域,包括多源数据采集层、数据处理与存储层、知识图谱构建与推理层、AI应用服务层;该系统通过多源数据采集层获取AIS数据、商情数据等多维度信息,经数据处理与存储层进行清洗、融合,依托知识图谱构建与推理层建立动态关联的商情知识图谱,再通过AI应用服务层实现航次事件识别、货流预测及风险预警,解决了现有监测系统数据孤岛、单模态分析局限及动态推理能力不足的问题,提升了货流监测的准确性、实时性与商业洞察能力,可广泛应用于全球能源化工贸易监管、企业供应链优化等场景。

排班优化方法和产品、电子设备及存储介质

NºPublicación:  CN121766624A 31/03/2026
Solicitante: 
顺丰科技有限公司
CN_121766624_PA

Resumen de: CN121766624A

本申请实施例提供了一种排班优化方法和产品、电子设备及存储介质,属于人工智能技术领域。该方法包括:确定出勤影响因素,根据出勤影响因素构建出勤概率模型;基于出勤概率模型计算目标对象在不同班次的预估出勤概率;将数值最高的预估出勤概率对应的预估班次,与预设排班表中目标对象的预设班次进行比较,得到第一比较结果;将数值最高的预估出勤概率与预设阈值进行比较,得到第二比较结果;根据第一比较结果和第二比较结果对预设排班表进行优化。本申请实施例能够提高排班的合理性。

拣货储位生成方法、装置、设备和存储介质

NºPublicación:  CN121766877A 31/03/2026
Solicitante: 
北京京东远升科技有限公司
CN_121766877_PA

Resumen de: CN121766877A

本公开提供了一种拣货储位生成方法、装置、设备和存储介质,涉及仓储物流领域,尤其涉及智慧供应链等领域。该方法包括:响应于已接收到用于调用预配置的储位推荐规则的调用指令,从数据库中查询储位推荐规则,其中,储位推荐规则关联有与储位推荐规则相匹配的储位信息,调用指令是在业务端已获得拣货任务的情况下生成的;响应于已接收到拣货任务的任务属性信息,对任务属性信息和储位推荐规则进行匹配,得到与任务属性信息相匹配的目标储位推荐规则;以及将与目标储位推荐规则相关联的目标储位信息发送至业务端,以生成针对拣货任务的拣货储位。

一种基于智能摄像头的资产盘点系统及方法

NºPublicación:  CN121766888A 31/03/2026
Solicitante: 
天津光电集团有限公司天津七五四光电技术有限公司
CN_121766888_PA

Resumen de: CN121766888A

本发明公开了一种基于智能摄像头的资产盘点系统及方法,核心处理模块分别与摄像头录入模块,定时盘点模块,资产标签识别模块,资产信息更新模块,异常资产信息处理模块,控制管理模块和数据持久化模块双向连接,定时盘点模块依次与资产标签识别模块、资产信息更新模块、异常资产信息处理模块单向连接,控制管理模块与外围控制设备双向连接,数据持久化模块与数据库双向连接;本发明由传统的资产盘点改为基于智能摄像头的资产盘点系统,不仅可以显著降低资产盘点对人力物力的消耗,还可以显著提高资产盘点速度,提成盘点效率,另外,还可以提高资产信息准确性,更加便捷地对资产生命周期全面把控,具有广阔的应用前景,有利于推广应用。

선거 프로세스 관리를 위한 시스템들 및 방법들

NºPublicación:  KR20260042021A 30/03/2026
Solicitante: 
디파트먼트오브사이언스앤드테크놀로지어드밴스드사이언스앤드테크놀로지인스티튜트
KR_20260042021_PA

Resumen de: WO2026063796A1

The present invention relates to systems and methods for managing an election process wherein the system comprises a processing unit configured to at least: allow an at least one voter to register for an election event; deploy an at least one election officer; manage an at least one election activity and an at least one election subprocess associated to the election event; implement at least one security protocol for the election event; collate result data from an at least one voting machine; process the collated result data; and present the collated and processed result data via an at least one digital means; and at least one user interface, connected to the processing unit, for allowing access and configuration to the said processing unit; and at least one communications unit, connected to the processing unit, configured to at least send the processed result data to an at least one third-party device and/or an at least one remote server.

Apparatus for Photo Printing Service and Driving Method Thereof

NºPublicación:  KR20260042088A 30/03/2026
Solicitante: 
최병남
KR_20260042088_PA

Resumen de: KR20240091515A

Provided are a photo printing service device and a driving method thereof. the photo printing service device comprises: a communication interface unit communicating with a user terminal device of a user using a photo printing service; and a control unit granting an issuance authority to print (pre)uploaded photos for free whenever the user terminal device uploads a designated number of photos using the photo printing service, and increasing the limited number of photos that can be uploaded when recommending the photo printing service to a friend or receiving a recommendation from the friend.

情報処理装置、情報処理方法、およびプログラム

NºPublicación:  JP2026054998A 30/03/2026
Solicitante: 
株式会社東芝
JP_2026054998_A

Resumen de: JP2026054998A

【課題】水素容器の圧力よりも供給対象のタンク内の圧力の方が高くなることで、水素を途中で供給不可能になってしまうという問題を解決することができる、情報処理装置、情報処理方法、およびプログラムを提供する。【解決手段】実施形態の情報処理装置は、配送する水素容器に水素を補給する補給拠点および水素容器から水素を供給する供給対象が位置する配送拠点を含む拠点間距離、供給対象の要求水素圧力、予め設定されたタイミングにおける供給対象の圧力、供給対象の体積、水素容器の圧力、および水素容器の体積に基づいて、探索法によって、拠点間の総移動距離を短くする水素容器の配送ルートを複数算出し、算出された配送ルートのうち総移動距離が短い順に、補給拠点および配送拠点で使用可能な水素容器を用いて水素を供給対象に供給することが可能かを判定する処理部、を備える。【選択図】図4

システム

NºPublicación:  JP2026054895A 30/03/2026
Solicitante: 
ソフトバンクグループ株式会社
JP_2026054895_A

Resumen de: JP2026054895A

【課題】実施形態に係るシステムは、物流の最適化と需要予測を通じてオフラインとオンラインの時差をなくすことを目的とする。【解決手段】実施形態に係るシステムは、物流解析部と、配送ルート選定部と、需要予測部と、在庫管理部と、レコメンド部とを備える。物流解析部は、物流の各プロセスを解析する。配送ルート選定部は、物流解析部によって解析された情報に基づいて配送ルートを選定する。需要予測部は、ユーザの購買履歴または行動データを解析する。在庫管理部は、需要予測部によって得られた予測結果に基づいて在庫を管理する。レコメンド部は、ユーザの行動データを解析し、商品を提案する。【選択図】図1

화장품 조성물의 성분의 호환성을 평가하기 위한 컴퓨터 구현 방법

NºPublicación:  KR20260042192A 30/03/2026
Solicitante: 
디에스엠아이피어셋츠비브이
KR_20260042192_PA

Resumen de: WO2025012397A1

In a computer-implemented method for assessing a compatibility of at least two ingredients of a cosmetic composition a list (1) of the at least two ingredients is requested. A first database (10) storing a first set (11) of compositions is accessed, wherein for each composition (12.1, 12.2, 12.3, 12.4, 12.5) of the first set (11) of compositions a corresponding compatibility rating (13.1, 13.2, 13.3, 13.4, 13.5), obtained from laboratory tests, is stored. A first score (s1) is obtained from a first comparison of the list (1) with the first set (11) of compositions to identify a first set of matches and from the compatibility rating (13.1, 13.2, 13.3, 13.4, 13.5) of the matches in the first set (11) of matches. A second database (20) is accessed, storing a second set (21) of compositions of cosmetic products available on the market, and a second score (s2) is obtained from a second comparison of the list (1) with the second set (21) of compositions to identify a second set of matches. A measure for compatibility of the at least two ingredients is determined based on the first score (s1) and the second score (s2). The method provides a quick, non-expensive way of preliminary testing of ingredients' compatibility.

ELECTRONIC APPARATUS AND PROVIDING INFORATION METHOD THEREOF

NºPublicación:  KR20260042129A 30/03/2026
Solicitante: 
쿠팡주식회사
KR_20260042129_PA

Resumen de: TW202516413A

A method for providing information for an electronic device according to an embodiment of the present invention is characterized by comprising the steps of: checking a delivery management group; checking delivery quota information set in the delivery management group; checking information about a delivery person set managed by the delivery management group; and providing a first page comprising the delivery quota information and the information about the delivery person set.

METHOD AND APPARATUS FOR PROVIDING INFORMATION

NºPublicación:  KR20260042128A 30/03/2026
Solicitante: 
쿠팡주식회사
KR_20260042128_PA

Resumen de: TW202531076A

A method for providing delivery-related information in an electronic device, according to an embodiment of the present invention, comprises the steps of: checking information about a courier; receiving a delivery request including delivery type information; and providing a delivery request page including the delivery type information on the basis of the delivery request.

선거 자료 수송 및 구성 변화들을 추적하기 위한 시스템 및 방법

NºPublicación:  KR20260042025A 30/03/2026
Solicitante: 
디파트먼트오브사이언스앤드테크놀로지어드밴스드사이언스앤드테크놀로지인스티튜트
KR_20260042025_PA

Resumen de: WO2026063800A1

The present invention provides systems and methods for tracking the transport and configuration changes of election materials, including ballots, voting machines, and 5 canvassing systems. The system includes a configuration management module to track and record configuration changes, such as inputting ballot information, verifying candidate lists, defining voting options, and setting up parameters for result aggregation and tabulation. A transport tracking module monitors the movement of election materials within warehouses and during shipment to polling stations, providing real-time tracking information. The 0 invention further features a timestamping mechanism integrated with security protocols to ensure the integrity and authenticity of each recorded change and transport event.

一种基于区块链的跨域建材供应链全流程电子对账与智能结算系统

NºPublicación:  CN121746107A 27/03/2026
Solicitante: 
陕西恒盛博隆君信科技有限公司
CN_121746107_PA

Resumen de: CN121746107A

本发明公开了一种基于区块链的跨域建材供应链全流程电子对账与智能结算系统。该系统包括数据采集与上链模块、智能合约执行模块、电子凭证与对账模块、跨链协同与数据共享模块和可视化与监管模块。数据采集与上链模块通过物联网设备采集供应链各环节实时数据,经加密处理后上传至区块链网络,确保数据不可篡改和可追溯;智能合约执行模块基于预设交易规则自动触发结算流程;电子凭证与对账模块生成电子凭证并支持多方在线对账;跨链协同与数据共享模块通过联盟链和中继链技术实现不同区块链网络之间的数据互通;可视化与监管模块提供实时数据展示与审计功能。本发明提升了供应链透明度、协同效率和自动化水平。

基于AI超级指挥大脑的应急应战救援决策方法及系统

NºPublicación:  CN121745531A 27/03/2026
Solicitante: 
中船海神医疗科技有限公司
CN_121745531_PA

Resumen de: CN121745531A

本发明实施例提供了基于AI超级指挥大脑的应急应战救援决策方法及系统,涉及应急救援技术领域,包括:通过分布式数据网关进行多源异构灾情数据接收;进行建筑物损毁识别,输出分布式受灾区域标识;进行状态转移预测,输出时序灾情预测数据;进行风险演化分析,输出分布式预测区域标识;调取受灾区域的实时交通拓扑数据后,进行救援策略寻优,输出救援优化方案;基于区块链进行救援优化方案的分级留痕审批后,执行多类型救援设备协同调度。本发明解决了现有技术的应急应战决策方法往往依赖于单一的数据来源,难以全面准确地反映灾区的实时动态,影响了对灾后资源的有效调配和救援路径的科学规划,从而增加灾后损失的技术问题。

快速救援直升机协同指挥方法及系统

NºPublicación:  CN121745532A 27/03/2026
Solicitante: 
中船海神医疗科技有限公司
CN_121745532_PA

Resumen de: CN121745532A

本发明公开了快速救援直升机协同指挥方法及系统,本发明涉及直升机技术领域,解决了难以满足紧急救援任务对“快速、精准、高效”的核心需求的问题,本发明通过对直升机历史飞行数据的聚类分析确定不同载重、速率下的飞行特征,精准量化油耗与飞行距离的关联关系,为后续任务分配提供了数据化决策依据,避免了传统经验判断的误差,确保直升机调度的科学性与适配性;针对救援点与直升机数量的不同场景,通过可到达点判定与多组分配逻辑的特征对比,实现了救援资源的最优配置,在救援点较少时保障单任务高效执行,在救援点较多时通过组合优化实现多任务协同覆盖,大幅缩短了整体救援响应时间。

家装物料调度方法、模型训练方法、设备及介质

NºPublicación:  CN121745805A 27/03/2026
Solicitante: 
贝壳找房(北京)科技有限公司
CN_121745805_PA

Resumen de: CN121745805A

本公开涉及一种家装物料调度方法、模型训练方法、设备及介质,其中,模型训练方法包括:获取第一状态空间信息,第一状态空间信息包括至少一个候选退库货位、第一家装物料的物料参数、候选退库货位的货位参数;确定至少一个候选退库货位中的第一候选退库货位对应的第一退库动作的作业能耗;根据第一家装物料的物料参数和第一候选退库货位的货位参数,确定第一退库动作的惩罚值;根据第一退库动作的作业能耗和惩罚值,确定第一退库动作的参考动作价值,利用第一退库动作的参考动作价值进行模型训练,得到第一价值预测模型。根据本公开的技术方案,能够在实现能耗优化的同时能够学习到合理的货位分配,确保能耗优化不突破家装场景的业务可行性。

一种基于联邦学习与多智能体协作的供应链韧性增强系统

NºPublicación:  CN121745517A 27/03/2026
Solicitante: 
上海司百袖信息技术有限公司
CN_121745517_PA

Resumen de: CN121745517A

本发明涉及人工智能与供应链管理交叉技术领域,尤其涉及一种基于联邦学习与多智能体协作的供应链韧性增强系统,包括联邦学习框架、多智能体协作模块、路由器、数据处理与分析模块、微调器和数据池,联邦学习框架用于在多个供应链参与方之间以隐私保护方式协同训练模型,各参与方仅通过模型参数更新参与训练,微调器用于对联邦大模型进行动态参数调整,包括目标管理、过程管理和品控管理三个功能单元;本发明通过联邦学习框架实现隐私保护下的跨企业数据协同,结合多智能体架构实现供应链全链条的实时决策与韧性优化,显著提升了供应链在面临外部冲击或内部扰动时的稳定运行、快速恢复和自适应优化能力。

一种基于层次聚类的Q学习的船舶设备备件需求预测方法

NºPublicación:  CN121745904A 27/03/2026
Solicitante: 
中国舰船研究设计中心
CN_121745904_A

Resumen de: CN121745904A

本发明公开了一种基于层次聚类的Q学习的船舶设备备件需求预测方法,包括以下步骤:1)获取船舶设备备件的历史需求数据;2)对收集到的数据集进行预处理,识别并处理数据中的缺失值和异常值;3)将数据集分成训练数据集和测试数据集,对两个数据集分别进行聚类操作;4)构建备件预测模型;5)使用训练数据集训练Q学习的备件预测模型;6)基于待预测的船舶备件需求数据,使用训练好的模型进行后续船舶备件需求数据预测。本发明提供一种基于层次聚类的Q学习的备件需求预测方法,该方法可以根据不同的备件特征分布自动选择最佳预测模型,减小备件需求的预测误差,达到降低备件库存成本的目的。

一种基于改进天际线算法和强化学习的二维装箱优化方法

NºPublicación:  CN121745790A 27/03/2026
Solicitante: 
中国人民解放军部队
CN_121745790_PA

Resumen de: CN121745790A

本申请属于二维装箱技术领域,具体公开了一种基于改进天际线算法和强化学习的二维装箱优化方法,包括接收箱体的尺寸参数、最大承重参数以及待装箱的物品集合,初始化天际线集合和箱体累计重量;针对当前待放置物品的尺寸参数及当前天际线状态,提取状态特征向量;循环执行状态特征向量提取、动作选择以及放置操作,直至物品集合为空或箱体累计重量达到最大重量时循环终止,输出最终的装箱方案及空间利用率。通过本申请可提高二维装箱的优化效果与执行效率。

一种面向低空物流的无人机设计优化方法及系统

NºPublicación:  CN121745420A 27/03/2026
Solicitante: 
西安保通防务科技有限公司
CN_121745420_PA

Resumen de: CN121745420A

本申请涉及低空物流无人机技术领域,公开了一种面向低空物流的无人机设计优化方法及系统。该系统包括任务分类单元、风险验证单元、路径优化单元和协同优化单元。任务分类单元对物流任务请求分级并附加优先级及资源类型标签;风险验证单元构建飞行路径节点网络,提取节点多维特征并聚合生成节点聚合特征,预测路径节点风险并附加标签;路径优化单元结合各类标签与实时空域资源闲置状态,匹配最优路径生成规则构建初始优化路径;协同优化单元利用相似历史物流任务的聚合特征集合生成协同优化提示文本,修正初始路径得到最终飞行路径。该系统通过多单元协同运作,实现了低空物流无人机路径的精准优化,提升了物流任务执行的适应性与可靠性。

基于二次迭代的行李码放位置确定方法、设备及存储介质

NºPublicación:  CN121744570A 27/03/2026
Solicitante: 
中航信移动科技股份有限公司
CN_121744570_PA

Resumen de: CN121744570A

本发明提供了一种基于二次迭代的行李码放位置确定方法、设备及存储介质,涉及行李码放位置确定技术领域,所述方法包括:获取当前行李车对应的三维坐标系QR、待码放行李对应的待码放行李包围盒W;依次遍历QR中每一预设的待确认点;若遍历完所有预设的待确认点,未确定出待码放行李对应的码放位置,则获取指定待确认点,以得到指定待确认点列表C;将所有优化码放条件的执行状态设置为关闭;依次遍历C中的每一指定待确认点;若W位于Cp时,不与任一三维行李网格重合且满足预设的必要码放条件,则将Cp确定为待码放行李对应的码放位置;本发明在确保能够确定出待码放行李对应的码放位置的同时,提高确定待码放行李对应的码放位置的效率。

一种高海拔地区马铃薯的贮藏方法及系统

NºPublicación:  CN121730362A 27/03/2026
Solicitante: 
凉山彝族自治州农业科学研究院
CN_121730362_PA

Resumen de: CN121730362A

本发明涉及控制调节技术领域,尤其涉及一种高海拔地区马铃薯的贮藏方法及系统,方法通过采集环境参数构建空气动力学模型并反演呼吸产热速率,依据水分散失势能与降温条件,在振荡通风与闭锁抑芽模式间择一决策;利用正弦脉动气流破坏层流边界层,利用二氧化碳积累抑制代谢;有效解决了高海拔低气压环境下物理降温与水分保持难以兼顾的难题,实现了流态重构与代谢抑制的动态耦合;不仅通过非定常流动在低风速下大幅提升换热效率并减少干耗,更能在极端干燥工况下利用生物自发气调从源头阻断呼吸热积聚,显著延长了马铃薯的保鲜期与商品价值。

一种仓库堆垛药品数量盘点方法、系统及电子设备

NºPublicación:  CN121746372A 27/03/2026
Solicitante: 
天津卡雷尔机器人技术有限公司
CN_121746372_PA

Resumen de: CN121746372A

本发明公开一种仓库堆垛药品数量盘点方法及系统,该方法包括:获取堆垛药品的图像数据和深度数据,通过融合图像数据与深度数据,在无需多角度重复采集数据的前提下,将二维语义信息与三维空间数据进行融合绑定,结合药盒固有的几何对称性特征,对被遮挡或缺失区域的点云进行补全,构建出完整的堆垛三维模型,基于该完整模型计算堆垛药品总体积,并结合已知的单盒药品体积,即可准确推算出药盒的总数量。有效克服了传统图像识别方法在药品堆叠、遮挡场景下识别率低、误判率高的缺陷,大幅提升了计数的准确性与鲁棒性。同时,整个过程仅需单次数据采集即可完成,无需多视角扫描或人工干预,简化了操作流程,缩短了盘点时间。

多载具多机型兼容的垃圾集装箱自动化转运控制方法

NºPublicación:  CN121742261A 27/03/2026
Solicitante: 
重庆耐德新明和工业有限公司
CN_121742261_PA

Resumen de: CN121742261A

本发明公开了多载具多机型兼容的垃圾集装箱自动化转运控制方法,属于环卫技术领域,包括:获取载具参数、机型参数、集装箱参数,建立关联参数表,从而生成多维转运参数库;构建目标转运集,进行联动路径预规划,生成并执行目标转运指令,结合实际姿态,进行液压对接适配调整,包括姿态达标调整、液压预调对接;获取对接场景数据,并从所述多维转运参数库匹配场景验证基准,进行达标验证,生成对接有效信号;基于目标压缩机进行适配前置校验,结合所述对接有效信号进行压缩适配,同时在装载完成后,进行转运启动、卸料操作,并在卸料过程中进行异常联动处置,卸料完成后生成卸料完毕信号,并进行返程操作,实现垃圾转运的高效、精准自动化运行。

多区域采摘机器人与运输机器人的协同调度方法

NºPublicación:  CN121745637A 27/03/2026
Solicitante: 
聊城大学
CN_121745637_PA

Resumen de: CN121745637A

本发明涉及智慧农业技术领域,具体属于一种多区域采摘机器人与运输机器人的协同调度方法,包括:混合启发式初始化策略生成初始种群,确定当前全局最优解;对当前种群中的解应用任务级算子进行局部搜索并执行运输调度重建,通过知识迁移机制选择行程级算子,对当前种群中的解进行局部搜索并执行运输调度重建;判断全局最优解是否改进,当连续未改进次数达到重启阈值时,执行自适应重启机制对当前种群进行重构;判断是否达到预设时间阈值,若未达到继续返回迭代,否则输出全局最优解及对应的最大完工时间。本发明的应用有效提高了协同调度的求解效率和解的质量,不仅降低了智慧农场运营成本,也提高了采摘与运输作业效率。

一种铝制装饰件数字印刷生产线管理方法及系统

NºPublicación:  CN121733961A 27/03/2026
Solicitante: 
安德佳(福建)铝饰科技有限公司
CN_121733961_PA

Resumen de: CN121733961A

本申请涉及数字印刷生产线管理技术领域,提供一种铝制装饰件数字印刷生产线管理方法及系统,该方法包括:获取多个第一信息;多个第一信息包括生产铝制印刷产品的生产线的订单调度信息、生产线上为铝制印刷产品供墨的供墨装置在当前时刻之前的预设时长内的状态信息和供墨装置中墨水的墨水信息;确定铝制印刷产品的微观质量特征信息;微观质量特征信息用于指示铝制印刷产品的缺陷;根据微观质量特征信息、订单调度信息和供墨装置的状态信息确定导致铝制印刷产品存在微观质量特征信息的缺陷成因信息;根据缺陷成因信息和墨水信息确定生产线的生产优化决策信息。通过该方案,能够提升数字印刷铝制装饰件的印刷效率。

一种基于多维度产能弹性的供应商能力分析系统及方法

NºPublicación:  CN121745770A 27/03/2026
Solicitante: 
上海冬塔米智能科技有限公司西南交通大学
CN_121745770_PA

Resumen de: CN121745770A

本发明公开了一种基于多维度产能弹性的供应商能力分析系统及方法,属于供应链管理技术领域。系统包括数据处理模块、弹性指数计算模块以及分析应用模块;该系统通过对相关数据的采集与处理,建立涵盖时间、数量和成本的指标体系,并将各维度指标进行量化计算;通过订单数据提取供应商在交付时效、产能承载及价格响应方面的表现,利用回归分析生成时间弹性指数、数量弹性指数和成本弹性指数;将各维度指数加权整合,得到供应商的产能弹性综合指数;基于综合指数,对供应商进行分级、画像、风险预警及动态推荐,实现智能采购决策支持。本发明提高了供应商能力评价的科学性和客观性,为企业提供精准的供应商选择依据,增强供应链的稳定性与灵活性。

一种基于工业互联网的建材柔性生产协同平台

NºPublicación:  CN121745628A 27/03/2026
Solicitante: 
陕西恒盛博隆君信科技有限公司
CN_121745628_PA

Resumen de: CN121745628A

本发明公开了一种基于工业互联网的建材柔性生产协同平台。该平台包括多智能体协同调度系统、统一数据标准与质量控制体系、供应链协同与多系统集成模块、精准成本分摊与结算机制以及安全环保监管与实时监控系统。平台通过分布式多智能体架构实现计划调度、工艺管理、设备监控、资源分配和物流协调的协同决策;采用统一数据标准和区块链技术建立全流程质量追溯体系;通过传感器网络采集设备状态、物料消耗和环境数据;利用边缘计算节点处理高频数据并与云端协同完成全局优化。本发明解决了建材行业资源调度效率低、质量追溯困难、供应链协同不足等技术问题,实现了设备利用率提升30%、质量追溯全程可查、成本核算实时精准的有益效果。

多品种变批量混线生产车间产线快速重构及校验方法

NºPublicación:  CN121745654A 27/03/2026
Solicitante: 
北京航空航天大学上汽通用五菱汽车股份有限公司
CN_121745654_PA

Resumen de: CN121745654A

本发明公开了多品种变批量混线生产车间产线快速重构及校验方法,属于智能制造与工业工程技术领域。所述方法包括:构建车间全要素数字化模型库,涵盖几何模型、基于状态机的工艺模型及基于六元组的交互模型;根据生产需求,利用拓扑排序与交互约束规则自动生成有序工艺流程链;以工作位置锚点为基准,解算设备空间布局,结合动作耗时与物流距离计算生产节拍;构建工艺有向图进行死锁检测,并基于BOM特征映射校验加工完整性。本发明通过参数化建模与闭环逻辑校验,实现了产线布局的自动化生成与快速迭代,有效解决了传统布局设计中工艺逻辑冲突频发及验证滞后的问题。

一种废钢企业集中管控大屏系统

NºPublicación:  CN121745840A 27/03/2026
Solicitante: 
资环链金再生资源有限公司
CN_121745840_PA

Resumen de: CN121745840A

本发明公开了一种废钢企业集中管控大屏系统,属于废钢信息化技术领域。本发明包括生产经营监控分析大屏模块、业务运营管控追踪大屏模块、反向开票监控单元、动态地图单元、场内运行监控单元及数据加密子模块。本发明通过双大屏协同架构实现核心经营指标动态计算、吨钢节约能源自动分析、采购销售多维度可视化;创新构建经营规模风险修正模型,动态计算销售额/纳税额/能源节约量;建立反向开票高亮预警机制与物流‑台账联动模型,支持15分钟级业务刷新;通过TLS加密传输与权限分级控制,确保经营数据安全性与决策实时性,显著提升废钢企业资源管控精度与供应链协同效率。

基于区块链的道路施工设备调度方法及系统

NºPublicación:  CN121745540A 27/03/2026
Solicitante: 
山东枣庄物环管理服务集团有限公司
CN_121745540_PA

Resumen de: CN121745540A

本申请涉及道路施工的技术领域,公开基于区块链的道路施工设备调度方法及系统,该道路施工设备调度方法包括以下步骤:采集每台施工设备的运行状态、地理位置及部件寿命数据,并加密上链,得到区块链数字镜像;采用自适应多目标分析算法分析设备利用率与施工进度的关联,通过模拟不同调度方案的效果以生成优化调度方案;将优化调度方案转化为智能合约,在满足施工预设条件时,自动触发并执行设备调度与运输任务派发;识别进度偏差或位置偏差;根据识别的进度偏差或位置偏差,生成新的优化调度方案。本申请在每次迭代中动态调整调度方案,确保设备的利用率和施工进度最大化,有效应对复杂的施工现场环境。

一种海铁联运港口作业区布局优化方法

NºPublicación:  CN121745355A 27/03/2026
Solicitante: 
广西沿海铁路股份有限公司中南大学广西交通职业技术学院中国铁路南宁局集团有限公司
CN_121745355_A

Resumen de: CN121745355A

本公开实施例中提供了一种海铁联运港口作业区布局优化方法,属于计算技术领域,具体包括:确定待规划区域和待设置的作业区;将待规划区域和该区域内待设置作业区简化为矩形,以待规划区域左下角为原点建立平面直角坐标系,将各作业区的中心点坐标作为布局控制点;根据货物流通数据分析待规划区域内各作业区之间的物流关系、非物流关系和综合相关程度,确定货物搬运距离;建立目标函数,引入归一化因子及权重系数,将多目标函数转化成单目标函数,建立作业区布局约束条件,据此构建海铁联运港口作业区布局规划模型;采用改进鲸鱼优化算法迭代求解海铁联运港口作业区布局规划模型。通过本公开的方案,提高了优化效率、精准度和适应性。

一种在智慧物流中基于MARL的实时任务调度优化方法

NºPublicación:  CN121745785A 27/03/2026
Solicitante: 
重庆大学
CN_121745785_PA

Resumen de: CN121745785A

本发明公开一种在智慧物流中基于MARL的实时任务调度优化方法,包括以下步骤:1)确定智慧物流场景下的系统结构,并构建蜂窝用户设备CUE、车载用户设备VUE的任务时延表达式;2)基于任务时延表达式,构建实时时延保障优化模型;3)将VUE建模为分布式智能体,并通过多智能体强化学习方法求解实时时延保障优化模型,得到实时物流任务调度方案。本发明通过近端策略优化(Proximal Policy Optimization,PPO)算法实现本地策略迭代,结合联邦学习框架进行全局参数聚合,有效突破传统集中式优化的信息孤岛瓶颈。

一种面向矩阵生产车间内异构多负载AGV调度的多种群进化方法

NºPublicación:  CN121745625A 27/03/2026
Solicitante: 
西安电子科技大学广州研究院
CN_121745625_A

Resumen de: CN121745625A

本发明公开了一种面向矩阵生产车间的异构多负载AGV调度方法及系统,属于自动化物流调度技术领域。其核心是构建以最小化任务总延迟时间与路径冲突总数为目标的多目标优化模型,采用多群体进化结合自适应邻域搜索(MPE‑ANS)算法求解(流程见图1)。该算法将总种群划分为亚种群,区分优秀与普通个体并设计针对性进化策略:优秀个体通过三种邻域结构实现局部精准优化,普通个体借助交叉变异算子拓展搜索空间,同时通过外部存档动态保存非支配解。本发明适配异构多负载AGV运行特性,有效平衡全局探索与局部优化能力,显著降低任务延迟与路径冲突,适用于智能工厂、自动化仓库等场景的多AGV协同运输。

基于蒙特卡洛树搜索的动态环境多目标自适应决策系统及方法

NºPublicación:  CN121745613A 27/03/2026
Solicitante: 
中国人民解放军海军航空大学
CN_121745613_PA

Resumen de: CN121745613A

本申请公开了一种基于蒙特卡洛树搜索的动态环境多目标自适应决策系统及方法,涉及智能体决策与控制技术领域,系统包括:通过信息采集模块,采集社区民生物资调度状态,并根据社区民生物资调度状态更新任务库;通过MCTS核心模块,基于当前社区民生物资调度状态和当前任务库,利用多目标综合奖励模型和蒙特卡洛树搜索方法,生成最优决策方案;通过决策过程透明化模块,显示所述最优决策方案对应的蒙特卡洛树搜索的决策路径,并标注决策路径上每个节点的访问次数和累计多目标综合奖励值。本申请能够实现社区民生物资动态调度的实时响应以及同时兼顾成本控制、效率提升与居民满意度。

基于多任务模型的任务预测方法、设备、产品及介质

NºPublicación:  CN121745792A 27/03/2026
Solicitante: 
拉扎斯网络科技(上海)有限公司
CN_121745792_PA

Resumen de: CN121745792A

本说明书提供一种基于多任务模型的任务预测方法、设备、产品及介质,任务包括:预测配送运力对待配送订单的不同交互行为的不同预测任务;多任务模型包括:共享特征提取模块,用于对输入特征集生成共享特征表示;多个任务专属模块,每个任务专属模块对应于一个预测任务;任务专属模块用于对输入的共享特征表示进行任务特定处理,并输出所对应的预测任务的预测结果;方法包括:获取输入数据;输入数据包含任务标识以及输入特征集,输入特征集中包含配送运力的特征和配送订单的特征;将输入特征集输入至共享特征提取模块,将共享特征提取模块输出的共享特征表示路由至与任务标识所对应的任务专属模块,以使其输出所对应的预测任务的预测结果。

一种混流装配线物料配送优化方法

NºPublicación:  CN121745793A 27/03/2026
Solicitante: 
中国科学技术大学
CN_121745793_PA

Resumen de: CN121745793A

本发明属于智能制造与工业工程优化技术领域,具体地说是一种混流装配线物料配送优化方法,包括基于混流装配线结构、物料多维属性及人力成本差异,构建以总成本最小化为目标的0‑1整数规划模型,并通过割平面法与列生成算法相结合的混合求解机制,为每类物料动态指派唯一配送策略。通过采用上述技术方案,本申请能够协同优化拣选成本、搬运成本、装配人员额外作业成本及在制品库存持有成本,在保障生产连续性的同时实现全局成本最优。

一种升降横移立库入库区域的选择系统

NºPublicación:  CN121738407A 27/03/2026
Solicitante: 
上海阪辉新能源科技有限公司
CN_121738407_PA

Resumen de: CN121738407A

本申请提供一种升降横移立库入库区域的选择系统,该选择系统可以根据用户的取车时间预约,主动将计划在某一集中时间段取车的用户引导至不同的独立运营区域。这使得取车需求在时间上被分散,避免了所有用户在相近时间点集中于同一区域取车,极大地缓解了高峰期拥堵,提升了整个立库的吞吐效率和设备运行效率,无需更多数量的独立运营出入库的停车区域来实现高峰避让,实现错峰调度,显著提升效率。在新建车库时,可以提前根据该系统的数据统计有效的减少独立运营出入库的停车区域数量,从而可以减少避让空间以增加停车车位。用户通过预约取车时间,可以获得系统推荐的最佳停车区域。

确定物流的中转用户的方法、装置、电子设备和存储介质

NºPublicación:  CN121745783A 27/03/2026
Solicitante: 
顺丰科技有限公司
CN_121745783_PA

Resumen de: CN121745783A

本公开提供一种确定物流的中转用户的方法、装置、电子设备和存储介质,涉及物流技术领域。上述方法包括:获取目标用户在物流过程中的中转相关特征,所述中转相关特征包括收件特征和寄件特征;调用中转用户判断模型处理所述中转相关信息,得到所述目标用户的中转判断信息,所述中转判断信息用于指示所述目标用户是否为中转用户。本公开通过中转用户判断模型,判断出物流的中转用户,提高了判断的准确度和稳定性。并且,参考用户在物流过程中的寄件行为的特征和收件行为的特征,可以全面、综合地判断用户是否为中转用户。

自动负载装卸装置及系统

NºPublicación:  CN121752499A 27/03/2026
Solicitante: 
德马泰克公司
CN_121752499_PA

Resumen de: WO2025046544A1

A material handling system (10, 110, 210) includes a storage apparatus (12, 112, 212) having a frame (20, 120, 220) and a plurality of storage shelves, with the frame (20, 120, 220) configured to support the plurality of storage shelves on a floor, and an automated load handling device (14, 114, 214) having a base (28) configured to be a supported on and for movement across the floor, and the automated load handling device (14, 114, 214) including a stabilizing member (18, 118, 218) configured to engage the storage apparatus (12, 112, 212) to stabilize the automated load handling device (14, 114, 214).

基于增强现实的船舶危险货物异常识别方法及系统

NºPublicación:  CN121744159A 27/03/2026
Solicitante: 
中兴普惠(北京)科技有限公司
CN_121744159_PA

Resumen de: CN121744159A

本申请提供了基于增强现实的船舶危险货物异常识别方法及系统,涉及增强现实技术领域,方法包括:构建多模态伴随异常空间;实时获取危险货物监测数据集,并进行显性异常识别;基于同一监测时区进行隐性异常派生优化;根据实时航行状态数据对显隐异常耦合图网进行航行扰动感知强化处理;对货物异常强化图网进行自适应动态风险评估,建立危险货物异常热力图,结合增强现实技术执行增强警示与处置导引。通过本申请解决了现有技术中由于危险货物异常识别方法主要依赖单证比对和显性规则,缺乏细粒度的风险评估,导致船舶危险货物异常识别不全面,进而影响船舶运输安全的技术问题,全面识别船舶危险货物异常,提高了船舶运输的安全性。

一种葡萄保鲜用气调库智能监控系统

NºPublicación:  CN121747031A 27/03/2026
Solicitante: 
浙江省农业科学院
CN_121747031_PA

Resumen de: CN121747031A

本发明涉及生鲜保鲜技术领域,且公开了一种葡萄保鲜用气调库智能监控系统,包括数据单元、图像单元、分离单元、处理单元、灰度单元、计算单元、中心单元以及管理单元,所述数据单元用于采集气调库内的环境数据,所述图像单元用于采集气调库内葡萄的图像数据,所述计算单元用于计算出体积变化值TB与灰度变化值HB,所述中心单元接收计算单元以及数据单元并进行预测值YC的计算与识别判断,本发明将环境数据与图像数据的多源数据融合,为智能监测提供基础,环境数据可以对葡萄储存的状态进行了解,图像数据对葡萄自身状态进行了解,根据以上两种类型的数据,所计算出的预测值YC可以对葡萄进行精确预测,进而实现葡萄保鲜的智能监控。

一种用于零食供应链的智能调度与配送优化方法及系统

NºPublicación:  CN121745431A 27/03/2026
Solicitante: 
赣州钟和风品牌管理有限公司
CN_121745431_PA

Resumen de: CN121745431A

本发明涉及零食调度技术领域,尤其涉及一种用于零食供应链的智能调度与配送优化方法及系统。该方法包括以下步骤:采集市内多个零食投放仓的历史消耗日志,进行时序零食消耗计算及用户购买意图驱动推测,得到购买爆发点前兆特征;基于零食投放仓进行实时用户行为监测,并基于购买爆发点前兆特征进行购买爆发时间点预测及最大爆发需求量计算,从而生成不同节点的最大爆发需求量;基于所述最大爆发需求量进行供需匹配评估,并进行多点紧缺分布拟合,构建紧缺节点空间分布图;基于紧缺节点空间分布图进行智能补货顺序决策,从而生成最优补货规划引擎。本发明通过智能协同调度,精准匹配零食需求,促进零食调度作业高效、稳定进行。

一种智慧物流园区与仓储决策方法及系统

NºPublicación:  CN121745810A 27/03/2026
Solicitante: 
杭州国辰智企科技有限公司
CN_121745810_PA

Resumen de: CN121745810A

本发明提供一种智慧物流园区与仓储决策方法及系统,涉及物流仓储技术领域,本发明通过实时监测运输机构位置,在检测到多个运输机构共用同一货架节点时,将其作为冲突节点,基于时间裕度确定执行优先级,并分别计算额外等待时间成本和改道决策时间成本,最终根据时间裕度与时间成本的比较结果动态决策执行顺序与策略,实现冲突节点处的协同调度与全局优化,提升物流效率与订单交付及时性。

一种加氢站设备完整性知识图谱应用系统

NºPublicación:  CN121745242A 27/03/2026
Solicitante: 
中国特种设备检测研究院
CN_121745242_PA

Resumen de: CN121745242A

本发明公开了一种加氢站设备完整性知识图谱应用系统及方法,属于氢能基础设施全生命周期管理技术领域,其工艺数据采集与定义模块用于数据采集和定义,工艺知识抽取模块用于从工艺文档中抽取包含工艺环节、工艺参数、标准值的三元组及从操作记录中抽取关于工艺环节、执行人员、时间的关联关系,并建立工艺环节与设备、工艺参数异常与设备故障的关联关系;知识图谱架构储存模块用于构建并储存多层级知识图谱架构,多层级知识图谱架构包括基础层、工艺层、实体层、关系规则层、设备三维图层、风险管理决策层。本发明解决了现有加氢站设备完整性知识图谱缺乏工艺维度整合、设备与工艺协同管理能力弱的问题。

基于双层车辆路径优化的跨接卸货与同时取送货物流路径优化方法

NºPublicación:  CN121745428A 27/03/2026
Solicitante: 
华中科技大学
CN_121745428_A

Resumen de: CN121745428A

本发明属于物流路径优化技术领域,公开了一种基于双层车辆路径优化的跨接卸货与同时取送货物流路径优化方法,包括:将以旧换新物流中的双层车辆路径规划构建为三级物流网络的车辆路径规划;将三级物流网络的车辆路径规划中所涉及的节点和节点间的路径构建为完全有向图,进而构建双层车辆路径规划对应的混合整数线性规划模型MILP,以最小化总运输成本为目标函数,以包括客户货物在指定时间窗内完成的时间窗约束,车辆容量约束以及双层车辆路径的同步约束在内的约束下,求解MILP,得到双层车辆路径规划方案。还提供了一种自适应禁忌搜索算法,结合导向型扰动机制和阈值加速策略,解决了多层级网络协调、动态约束适应和大规模实例计算效率的挑战。

一种企业供应链协同管理方法及系统

NºPublicación:  CN121743908A 27/03/2026
Solicitante: 
杭州品致信息技术服务有限公司
CN_121743908_PA

Resumen de: CN121743908A

本发明涉及供应链管理技术领域,特别涉及一种企业供应链协同管理方法及系统,包括:采集供应链跨主体多源数据,通过轻量化预处理生成标准化数据集,通过多系统接口适配搭建数据互通通道;采用联邦学习结合差分隐私技术量化参与方贡献值与信用评级,形成决策支撑数据;构建动态利益与风险适配决策模型生成协同执行指令,输出跨主体闭环执行结果;通过区块链存证结合数据水印存证,构建全流程责任追溯体系,输出数据可信与责任界定结果;根据全链路反馈数据,经指标诊断、方案生成与落地验证形成迭代优化闭环,将优化数据输入协同管理环节,输出适配供应链场景的协同管理策略。本方案通过一体化设计提高供应链的协同效率及安全性。

基于统一物模型的物联网港口管理方法及系统

NºPublicación:  CN121745460A 27/03/2026
Solicitante: 
招商局国际科技有限公司
CN_121745460_PA

Resumen de: CN121745460A

本发明属于物联网技术领域,公开了基于统一物模型的物联网港口管理方法及系统。构建并部署一个定义了属性、服务与事件的统一物模型,依据该模型通过多维传感器网络采集港口装卸设备的全量数据,并利用边缘计算节点进行标准化预处理,形成标准格式报文。通过5G网络将报文高速、低延时地传输至云平台,平台根据物模型解析数据并驱动数字孪生体实现与物理设备的厘米级精度同步映射,基于数字孪生体的实时状态,触发包括预测性维护、协同调度与能效管理在内的智能管理应用,从而实现对港口运营的精细化、可视化与智能化闭环管理,从根本上消除了数据孤岛,实现了数据从采集到智能决策的全流程贯通,显著提升了港口作业效率与安全水平。

一种信创设备维保方法、系统、设备及存储介质

NºPublicación:  CN121745892A 27/03/2026
Solicitante: 
中电信数智科技有限公司
CN_121745892_PA

Resumen de: CN121745892A

本发明提供了一种信创设备维保方法、系统、设备及存储介质,涉及运维维保技术领域。本方法针对多源异构数据处理效率低的问题,通过业务权重分配算法对采集数据进行语义重要性评估,并结合BM25权重值融合技术,动态调整数据排序优先级,从而在运维监控中凸显关键业务信息,确保高优先级业务的连续性;针对维保场景中异常数据识别滞后的问题,通过人员行为特征分析(访问次数、多样性、重复性)构建综合权重指数模型,量化出入备件库人员的异常行为风险,提升异常数据的实时识别能力。本发明可实现运维维保一体化的智能化、精准化和高效化,显著提升数据中心业务连续性与设备可靠性。

一种基于云平台的供应链集成协同管理系统

NºPublicación:  CN121745484A 27/03/2026
Solicitante: 
商洛天寿智行科技有限公司
CN_121745484_A

Resumen de: CN121745484A

本发明公开了一种基于云平台的供应链集成协同管理系统,属于供应链管理技术领域,包括供应应用平台处理器、多租户密钥库管理服务、数字孪生协同优化模块、联邦学习决策引擎、智能合约执行层和应用接口层,解决现有技术数据割裂、协同效率低、需求预测精度低、物流规划僵化的问题,集成分布式数据仓库、多维度供应商匹配、分层需求预测模型与区块链溯源技术。通过三大创新机制实现突破:一是采用数字孪生技术构建跨主体实时协同环境,解决传统供应链各环节协同性差的难题;二是运用联邦学习进行数据融合,在保护数据隐私的前提下提升数据价值挖掘能力;三是引入智能合约实现异常事件自动处置,增强供应链风险应对的及时性与韧性。

一种基于深度强化学习的需求驱动物料需求计划系统及优化方法

NºPublicación:  CN121745557A 27/03/2026
Solicitante: 
华中科技大学
CN_121745557_PA

Resumen de: CN121745557A

本发明属于智能制造技术领域,其公开了一种基于深度强化学习的需求驱动物料需求计划系统及优化方法;该系统包括需求模块,用于采集处理并输出相关需求与供应商环境数据;需求驱动物料需求计划模块,用于生成库存补货计划、生产计划与物料采购计划;仿真模块,用于构建并运行仿真模型,以输出仿真实验统计结果;深度强化学习模块,与需求驱动物料需求计划模块和仿真模块进行交互,利用内置算法库进行训练,输出需求驱动物料需求计划的优化参数集;执行模块,用于将计划信息转化为作业指令并反馈实际运作数据与执行结果,以弥补传统需求驱动物料需求计划静态参数配置的不足,实现库存水平与服务率的协同优化,增强企业对市场需求变化的响应能力。

一种装配式金属结构智能验收与溯源系统

NºPublicación:  CN121745732A 27/03/2026
Solicitante: 
亳州市固飞金属制品有限公司
CN_121745732_PA

Resumen de: CN121745732A

本发明公开了一种装配式金属结构智能验收与溯源系统,包括应变监测模块、缺陷检测模块、数据采集模块、溯源管理模块、智能分析模块和存证模块。通过应变敏感二维码实现低成本应力监测,多光谱融合技术进行缺陷检测,数字指纹技术建立质量追溯,区块链技术保证数据不可篡改。系统采用事件驱动机制协同工作,从结构安全性、材料完整性、工艺规范性三个维度评估质量,通过集成学习生成验收决策。本发明解决了现有装配式金属结构验收中应力监测成本高、缺陷检测不全面、质量追溯困难的问题,为装配式建筑质量管理提供了系统化解决方案。

一种基于人工智能(AI)的库存补货方法

NºPublicación:  CN121745819A 27/03/2026
Solicitante: 
航信德利信息系统(上海)有限公司
CN_121745819_PA

Resumen de: CN121745819A

本系统是一种基于人工智能(AI)的库存补货解决方案,旨在通过自动化和智能化的技术手段,优化企业的库存管理流程。系统通过集成多种数据源、利用先进的AI模型进行预测与决策,为企业提供精准的库存补货策略,确保库存的高效管理,减少缺货和过度库存的风险。是现代供应链管理中的关键组成部分,旨在通过智能分析历史销售数据、市场需求预测、供应链效率优化等手段,自动化地调整库存水平,以减少库存积压、避免缺货情况,并提高整体运营效率。该系统通过智能化的库存管理和补货决策,大幅提高库存管理效率,降低库存成本,并提升客户满意度。它适用于各种规模的企业,尤其适合供应链复杂、需求波动大的行业,如零售、制造和电子商务。

一种面向无人车无人机联动的物流配送调度方法及系统

NºPublicación:  CN121745794A 27/03/2026
Solicitante: 
桂林电子科技大学
CN_121745794_PA

Resumen de: CN121745794A

本申请涉及一种面向无人车无人机联动的物流配送调度方法及系统。所述方法包括:采集风速时序数据、道路拥堵影像、建筑三维点云等多模态实时数据,经跨模态特征融合技术生成动态环境条件与静态特征描述;基于核心特征通过加权决策树算法确定初步配送模式,无人机倾向时提取路径关联特征并结合实时风速计算风险系数,生成路径可行性评估结果;依据风险系数确定最终配送模式,通过A星算法生成优化路径,结合拥堵预测与实时天气核算耗时,输出符合时效的配送时间安排;基于传感器反馈数据计算位置与时间偏差,超阈值时生成更新路径并下发调整指令,监控执行至目的地后生成任务完成确认信息。本方法提升了联动物流配送调度的精准性、安全性与高效性。

一种化学药品的入库方法以及入库系统

NºPublicación:  CN121745817A 27/03/2026
Solicitante: 
苏州毕恩思实验器材有限公司

Resumen de: CN121745817A

本公开涉及化学药品仓储管理技术领域,公开一种化学药品的入库方法及入库系统,所述入库系统的承载台的中心区域设有可转动载物台,用于放置待入库化学药品;移动组件连接所述相机组件;第一显示器;所述第一显示器的第一预览区域上设有第一辅助条带和第二辅助条带;所述第一辅助条带为与所述第一预览区域同轴设置的框形结构,且所述框形结构的面积小于所述第一预览区域的面积;所述第二辅助条带与所述第一预览区域的对称轴重叠,且所述第二辅助条带的两端连接所述第一辅助条带。本公开的化学药品的入库方法及入库系统,能够提取并对比包装箱与试剂瓶标签信息,并根据逻辑关系与权重规则从包装箱与试剂瓶标签信息中筛选录入参数值。

基于智能AI的危化品仓储安全系统

NºPublicación:  CN121745811A 27/03/2026
Solicitante: 
青岛中远海运交通科技有限公司

Resumen de: CN121745811A

本发明涉及危化品仓储安全管理技术领域,其公开了基于智能AI的危化品仓储安全系统,包括数据采集单元、预处理单元、风险评估单元、风险预警单元;本通过在仓库内均匀分布传感器实时采集温湿度、危险气体浓度等数据,并对其进行异常值判定与替换处理,确保数据准确可靠;依据预设环境阈值区间,通过特定公式计算各环境因素的评估系数与风险指标,科学量化风险程度;综合各风险指标计算综合风险系数,依不同阈值划分风险等级并预警,针对不同等级采取差异化措施;同时提供单一因素预警,超阈值时不仅预警,还依据关联关系提供相关环境数据,助管理人员全面了解异常;运用皮尔逊相关系数分析环境因素关联,为风险防控提供全面信息。

一种基于数据驱动的仓储动态拣选路径优化系统及方法

NºPublicación:  CN121745434A 27/03/2026
Solicitante: 
合肥敏峰供应链管理有限公司

Resumen de: CN121745434A

本发明涉及仓储管理技术领域,具体涉及一种基于数据驱动的仓储动态拣选路径优化系统及方法。一种基于数据驱动的仓储动态拣选路径优化方法,包括以下步骤:S1、实时采集仓储系统的多源动态数据,所述多源动态数据至少包括实时到达的订单数据、拣选执行单元的状态数据以及仓库环境的状态数据;S2、基于所述多源动态数据,生成代表当前系统整体状态的全局状态快照。本发明通过引入基于多源数据融合的动态优化触发判断模型,实现了对仓储拣选优化时机的智能精准决策,有效解决了传统静态优化方法无法适应动态场景以及现有周期触发策略在响应实时性与计算效率上失衡的核心问题。

一种适配多品种变批量混线生产的多仓协同动态优化方法

NºPublicación:  CN121745388A 27/03/2026
Solicitante: 
北京航空航天大学

Resumen de: CN121745388A

本发明公开了一种适配多品种变批量混线生产的多仓协同动态优化方法,涉及物流配送优化技术领域,包括:多仓场景分析问题建模,对多仓场景进行分析;多仓物料状态关联分析,基于多仓场景模型,构建多仓之间关联关系;多仓协同调料阈值动态优化,构建包含车间、内仓和外仓的环境,求解多仓协同最优调料阈值;生产物流协同机制,构建生产物流协同双层优化模型,实现生产与物流的深度协同;生产物流协同调度优化,结合多目标优化算法和生产物流协同机制,以最小化最大完工时间、生产等待时间和最大化任务收益、最小化物料等待时间为目标,通过生产与物流状态的双向反馈,以优化配送优先级和生产排产,从生产和物料层面评估生产收益。

一种动态配额纠偏的物料需求计算方法、系统、设备及存储介质

NºPublicación:  CN121745627A 27/03/2026
Solicitante: 
徐工集团工程机械股份有限公司
CN_121745627_PA

Resumen de: CN121745627A

本发明公开了资源计划与供应链管理领域的一种动态配额纠偏的物料需求计算方法、系统、设备及存储介质,旨在解决传统MRP中配额固定、难以适应供应链动态变化及复杂业务场景的问题。所述方法包括:基于物料独立需求、BOM及成套组信息逐层分解物料需求;使用时序化BOM模型结合提前期展开需求并确定各周期毛需求;计算净需求并进行批量调整,形成建议采购数量;依据供应商历史绩效动态调整配额比例,并结合客户指定等约束分配至各供应商。本发明应用于工程机械制造业,能够实现配额动态适应、计划闭环优化与复杂场景自动处理,提升供应链韧性、库存周转与计划准确性。

一种基于CNN-Transformer的码头道口外集卡流量预测方法及系统

NºPublicación:  CN121745397A 27/03/2026
Solicitante: 
同济大学
CN_121745397_PA

Resumen de: CN121745397A

本发明涉及一种基于CNN‑Transformer的码头道口外集卡流量预测方法及系统,方法包括:采集码头道口外集卡数据,进行预处理、数据匹配及特征工程处理,构建时空数据集;时空数据集包括时间序列特征和空间特征;码头道口外集卡数据包括外集卡预约系统数据、码头道口流量数据和外集卡GPS数据;将时空数据集输入预训练的预测模型中,输出未来若干小时内每个小时的码头道口外集卡流量预测值;与现有技术相比,本发明能实现高时间精度、高前瞻性的预测并显著降低预测误差,满足码头实际生产调度需求;能融合时空信息,综合考虑外集卡流量的时间与空间影响因素;能使用控制向量与自注意力机制融合的方法,有效利用外集卡预约数据。

一种智慧仓配一体化控制方法及系统

NºPublicación:  CN121745815A 27/03/2026
Solicitante: 
无忧达(宁波)物流科技有限公司
CN_121745815_PA

Resumen de: CN121745815A

本发明涉及一种智慧仓配一体化控制方法及系统,涉及仓储物流技术领域,其包括响应于订单信号,接收需求信息和需求位置;调取仓储编号和对应的仓储信息;基于仓储编号确定对应的仓储位置;基于预设的多维度算法对仓储位置、需求位置、仓储信息和需求信息进行计算以得到优先值;对优先值按照大小进行排序确定最优仓储编号;控制最优仓储编号对应的仓库按照需求信息和需求位置进行发货。本发明具有降低人工成本的效果。

物流场地车辆智能调度方法、装置、设备及存储介质

NºPublicación:  CN121745605A 27/03/2026
Solicitante: 
深圳市跨越新科技有限公司
CN_121745605_A

Resumen de: CN121745605A

本申请涉及物流仓储与智能调度技术领域,具体公开了一种物流场地车辆智能调度方法、装置、设备及存储介质,方法包括:获取多源数据;根据可反映货物需求、车辆特性和物流场地状态在内的影响因素,对当前全部待调度车辆进行调度优先级排序;根据各待调度车辆的调度优先级,从高到低依次从调度资源池中筛选出所有符合分配约束的可行的资源调度方案,并进行自由组合;基于调度资源排队时长和调度资源综合利用率构建的资源调度评价公式,对自由组合形成的若干候选资源整体调度方案进行评分,确定出最优资源整体调度方案。本申请提供的方案,可以实现人员、车辆、货物、场地的高效匹配与协同,提高了资源调配效率及资源调度方案可信度,降低了沟通成本。

一种寄递网点的风险识别方法、系统、设备及介质

NºPublicación:  CN121745693A 27/03/2026
Solicitante: 
西北工业大学电信科学技术第十研究所有限公司

Resumen de: CN121745693A

本发明涉及风险识别技术领域,公开了一种寄递网点的风险识别方法、系统、设备及介质。方法包括:获取寄递网点的风险因素数据集;对风险因素数据集中每个风险因素进行特征提取,并根据提取到的特征建模各个风险因素之间的因果关系,每个因果关系存在对应的因果强度和因果方向;以风险因素为图结构中的节点,根据各个风险因素之间的因果关系以及每个因果关系的因果强度和因果方向,在图结构的各个节点之间建立带有权重的有向边,生成初始有向因果图;获取每个因果关系的因果强度的逆信息熵,以对因果强度进行量化,并通过量化后的因果强度调整初始有向因果图中各个有向边的权重,生成目标有向因果图;根据目标有向因果图,对寄递网点进行风险识别。

一种语义驱动的冷链物流路径动态规划方法及系统

NºPublicación:  CN121745788A 27/03/2026
Solicitante: 
杨梦雨

Resumen de: CN121745788A

本发明提出一种语义驱动的冷链物流路径动态规划方法及系统,属于智慧物流技术领域。针对现有冷链配送难以处理非结构化环境信息及客户柔性需求的问题,本发明构建了环境感知与调度决策的协同架构,具体包括:S1:基于冷链物流的多源数据,定义路网环境感知与客户需求解析规则,生成包含路网状态分量与客户需求分量的语义特征向量;S2:解析所述语义特征向量,利用动态修正与模糊映射方法构建配送约束模型;S3:基于上述规则与模型,构建多目标配送总成本函数;S4:采用参数自适应的改进遗传算法对所述总成本函数进行全局寻优,生成最优冷链配送路径及调度指令。本发明能够将自然语言环境信息转化为数学模型的约束条件,实现对时变路网的精准响应与客户需求的精细化满足,有效降低冷链配送的总成本与货损率。

一种考虑骑手负载均衡的智能订单分配方法及系统

NºPublicación:  CN121745425A 27/03/2026
Solicitante: 
深圳市迅享科技有限公司深圳市迅享生活科技有限公司

Resumen de: CN121745425A

本发明属于智能物流技术领域,公开了一种考虑骑手负载均衡的智能订单分配方法及系统,包括:获取配送区域内的骑手实时位置数据、订单历史数据和交通动态数据,并根据其构建负载均衡分配方案;对配送区域进行骑手集群划分,生成负载分布热力图,并基于其计算负载均衡指标;基于负载均衡指标和负载均衡分配方案对待分配订单进行分配指令生成,通过优先级排序形成分层分配序列,匹配优化后得到最优订单分配策略;根据配置指令调整订单推送,监测执行状态,并评估负载效率,得到调优参数,并将其反馈至分配方案;本方法实现了配送网络的动态优化配置,有效平衡骑手负载,提高了配送效率和服务质量。

一种基于改进哈里斯鹰算法的多式联运路径优化方法

NºPublicación:  CN121745421A 27/03/2026
Solicitante: 
广西沿海铁路股份有限公司中南大学广西交通职业技术学院中国铁路南宁局集团有限公司

Resumen de: CN121745421A

本发明涉及运输技术领域,特别涉及一种基于改进哈里斯鹰算法的多式联运路径优化方法,包括:建立多式联运图结构模型;以经济成本、时间成本、碳排放为目标函数,建立多式联运路径优化模型;基于离散哈里斯鹰优化算法执行不同类别的路径更新策略;迭代优化后输出多式联运最优路径,实现综合目标下的多式联运路径优化。本发明通过对传统哈里斯鹰优化算法进行离散化改造,结合路径序列编码与节点扰动算子等,实现了多式联运路径优化中离散变量的有效求解,避免了陷入局部最优解,同时在搜索过程中引入节点交换、插入、子段反转等操作,显著提升了多式联运路径优化迭代收敛速度,能够为多式联运路径组织提供智能化、绿色化和高效化的决策支持。

一种基于增强现实与云端数字孪生的盐水莲品质追溯方法及系统

NºPublicación:  CN121745964A 27/03/2026
Solicitante: 
广东海洋大学湖北中莲湿地研究院有限公司
CN_121745964_PA

Resumen de: CN121745964A

本发明属于增强现实技术领域,涉及一种基于增强现实与云端数字孪生的盐水莲品质追溯方法及系统。该方法中,为每件盐水莲产品分配唯一标识,在云端构建数字孪生体,接收包装内近红外光谱传感器及环境传感器采集的品质和温湿度数据,并结合生产和物流信息进行数据建模;消费者端通过具备AR功能的智能终端识别产品标识,向云平台请求对应数字孪生数据,由云端生成可视化内容,下发至终端叠加显示在产品包装实景画面上,并支持语音查询。与现有二维码静态追溯相比,本发明实现了单品级品质状态的动态映射与直观展示,能够反映产品新鲜度变化并提供预警,提高了盐水莲品质追溯的真实性、时效性和用户体验。

基于分组路径搜索与多目标融合的路径规划方法及系统

NºPublicación:  CN121745802A 27/03/2026
Solicitante: 
安徽大学
CN_121745802_PA

Resumen de: CN121745802A

本发明提供了一种基于分组路径搜索与多目标融合的路径规划方法及系统,该方法针对快递配送的包裹量大、时效性高、车辆容量严格受限等特点进行了优化。第一阶段,通过互补的分区策略和ACO/LKH3组合,快速生成大量覆盖复杂派送区域的高质量车辆派送的单条路径。第二阶段,创新性地将车队任务分配建模为多目标0‑1优化问题,协同最小化运营成本(里程)、最大化包裹分配覆盖率和最小化包裹重复分配冗余。通过NSGA‑II算法求解和ILS优化,本系统能够为大规模快递配送生成高效率、高稳定性和低成本的最优或近最优派送路径集合,显著提升快递企业的运营效率和客户满意度。

运输监测系统及方法

NºPublicación:  CN121745798A 27/03/2026
Solicitante: 
国电电力发展股份有限公司国能(绥中)发电有限责任公司
CN_121745798_PA

Resumen de: CN121745798A

本公开涉及监测技术领域,具体地,涉及一种运输监测系统及方法,该系统包括数据服务器、布置于运输设备的定位装置和布置于运输设备所在运输线路的视觉识别模块;该数据服务器分别与该定位装置和该视觉识别模块通信连接;该视觉识别模块,用于识别目标运输设备的运载状态,并将该运载状态发送至该数据服务器;该定位装置,用于将该目标运输设备在运输过程中的位置信息发送至该数据服务器;该数据服务器,用于根据该运载状态和该位置信息,输出异常预警信息。

汽车煤动态调运方法及装置、电子设备和存储介质

NºPublicación:  CN121745784A 27/03/2026
Solicitante: 
北方联合电力有限责任公司包头第一热电厂内蒙古呼和浩特市立信电气技术有限责任公司
CN_121745784_A

Resumen de: CN121745784A

本公开提供了一种汽车煤动态调运方法及装置、电子设备和存储介质,通过实时采集汽车煤的调运相关数据及锅炉运行数据,基于该两类数据构建动态燃烧需求预测模型以生成未来预设时间段内的入炉煤质需求曲线并确定各时段燃煤需求及煤质参数范围,再结合入炉煤质需求曲线与车辆信息建立车辆调度优先级评价模型对车辆进行优先级排序,同时基于排序结果自动生成车辆入厂顺序表和调度指令且推送至车辆车载终端及电厂接卸管理系统,因此,可以解决现有技术中因基于固定来煤计划调度、缺乏对实时燃烧需求的动态响应,导致调运计划与锅炉燃烧需求脱节的问题。

HOLIDAY PERIOD DEMAND PREDICTION METHOD AND SYSTEM THEREOF

NºPublicación:  KR20260041729A 27/03/2026
Solicitante: 
쿠팡주식회사
KR_20260017570_PA

Resumen de: KR20260041729A

본 개시의 실시 예에 따른 연휴기간 수요 예측 방법은 컴퓨팅 장치에 의해 수행되고, 제 1 연휴 전후의 날짜에 따른 대상 아이템의 수요를 나타내는 제 1 연휴 데이터로부터, 상기 제 1 연휴 동안 상기 대상 아이템과 관련된 제 1 유효 연휴기간을 획득하는 단계, 상기 제 1 연휴 데이터로부터, 상기 제 1 연휴 동안 상기 대상 아이템의 제 1 수요 기준값을 획득하는 단계, 상기 제 1 유효 연휴기간에 기반하여, 제 2 연휴 동안 상기 대상 아이템과 관련된 제 2 유효 연휴기간을 결정하는 단계, 상기 제 1 수요 기준값에 대한 상기 제 1 유효 연휴기간 동안 상기 대상 아이템의 수요의 비율을 계산하는 단계, 상기 대상 아이템의 SKU(stock keeping unit) 정보를 제 1 모델에 입력하여 상기 제 2 연휴 동안 상기 대상 아이템의 제 2 수요 기준값을 예측하는 단계, 및 상기 비율 및 상기 제 2 수요 기준값에 기반하여, 상기 제 2 유효 연휴기간 동안 상기 대상 아이템의 수요를 계산하는 단계를 포함할 수 있다.

로봇 기반의 물류 패킹 자동화를 위한 토트 선택 방법 및 물류 패킹 자동화 시스템

NºPublicación:  KR20260041684A 27/03/2026
Solicitante: 
엘지전자주식회사
WO_2025013977_PA

Resumen de: WO2025013977A1

Disclosed are a tote selection method for robot-based logistics packing automation and a system therefor. The tote selection method for robot-based logistics packing automation comprises a step of acquiring information of an order list including at least one order product from a logistics warehouse server. In addition, the method comprises the steps of: defining a plurality of loadable tote types on the basis of cart layout information of a robot; and classifying order products included in the order list according to the plurality of defined tote types. Furthermore, the method comprises a step of selecting a plurality of totes by combining a plurality of order lists according to tote type classified for the order products so that the totes are loaded to the maximum length of the cart on the basis of the cart layout information of the robot. Accordingly, the maximum amount of totes that can be loaded on the cart of the robot to which a task is assigned is loaded in advance and moved at once, thereby preventing battery waste.

360 360-DEGREE VIRTUAL REALITY PROVISION SYSTEM FOR PROMOTING STORE AND INCREASING TRUST THROUGH ONLINE SERVICE PLATFORM

NºPublicación:  KR20260041405A 27/03/2026
Solicitante: 
주식회사디엠스튜디오

Resumen de: KR20260041405A

가상 현실 제공 방법 및 장치를 제시한다. 가상 현실 제공 방법은 상점 단말 및 사용자 단말의 등급별 접근 권한을 설정하는 단계, 상기 상점 단말을 이용하여 상점의 공간을 촬영한 영상 데이터 및 녹음한 음성 데이터를 포함하는 복합 데이터를 획득하는 단계, 상기 복합 데이터를 기초로 가상 현실 공간을 구축하고 상기 가상 현실 공간에 가상 객체를 배치하고 대화 내용을 표현한 가상 현실 콘텐츠를 제공하는 단계, 상기 상점 단말 및 사용자 단말 간에 통신 채널을 형성하고 상기 통신 채널을 통해 상기 상점 단말 및 사용자 단말 간에 메시지를 송수신하는 단계, 및 상기 가상 현실 콘텐츠 및 상기 메시지를 분석하여 상기 상점에 관한 항목별 점수를 산출하고 상기 항목별 점수에 기초한 상점 평가 정보를 상기 가상 현실 콘텐츠에 추천하는 단계를 포함한다.

RFID Real-time inventory management system using RFID tags

NºPublicación:  KR20260041265A 27/03/2026
Solicitante: 
이종철

Resumen de: KR20260041265A

본 발명은 RFID 기술을 활용한 실시간 재고 관리 시스템이다. 각 물품에 부착된 RFID태그를 통해 문을 통과할 때, 문에 부착된 센서를 통해 각 상품의 입출고 상태를 추적하고, 수집된 데이터를 구글 시트와 연동하여 실시간으로 기록하며, 재고가 부족할 경우 자동으로 경고 메시지를 표시하는 기능을 제공한다. 이를 통해 재고 관리의 효율성을 높이고, 언제 어디서든 데이터의 실시간 공유 및 정확성을 확보할 수 있다.

一种基于重合面积的行李码放位置确定方法、设备及介质

NºPublicación:  CN121744569A 27/03/2026
Solicitante: 
中航信移动科技股份有限公司
CN_121744569_PA

Resumen de: CN121744569A

本发明提供了一种基于重合面积的行李码放位置确定方法、设备及介质,涉及行李码放位置确定技术领域,所述方法包括:当W在目标待确认点时,若W不与任一三维行李网格重合,且W满足所有的预设码放条件,则将W向下移动第四预设距离ΔHA,若向下移动ΔHA后的W不与任一三维行李网格重合,则确定目标待确认点不是待码放行李对应的码放位置;否则,根据每一与向下移动ΔHA后的W重合的三维行李网格,确定目标待确认点是否为待码放行李对应的码放位置;通过本发明的方法能够确定当前待码放行李是否处于悬空状态,从而避免当前待码放行李被扔下去,导致当前待码放行李损坏的情况发生。

RFID驱动的物料调度与上下料控制方法、系统和介质

NºPublicación:  CN121745813A 27/03/2026
Solicitante: 
广东加谷智能装备有限公司
CN_121745813_PA

Resumen de: CN121745813A

本申请提供了RFID驱动的物料调度与上下料控制方法、系统和介质。该方法包括:实时监测预设工序的目标物料的剩余库存并与预设安全库存阈值进行对比,若剩余库存小于预设安全库存阈值,采集相应RFID标签的实时特性数据,处理获得最优调度方案,根据最优调度方案执行物料转运,实时监测转运过程,并根据拥堵状况调整转运路径,若目标物料转运至目标工位,执行上下料双重防错校验措施,监测上下料执行过程并提取控制参数,结合预设需求效率阈值判断是否需要调整上下料控制参数,从而实现对RFID驱动的物料调度与上下料控制的技术。

一种科研物资全生命周期追溯与智能调度管控方法

NºPublicación:  CN121745853A 27/03/2026
Solicitante: 
中国船舶集团有限公司综合技术经济研究院
CN_121745853_PA

Resumen de: CN121745853A

本发明公开了一种科研物资全生命周期追溯与智能调度管控方法,属于科研管理信息化技术领域。该方法包括:对每一份独立的科研物资赋予一个唯一的追溯标识,并创建与其绑定的数字档案,用于持续记录该物资的全生命周期数据;在所述科研物资的入库、存储、领用、实验使用及最终处置的生命周期各环节,自动采集其状态信息与操作事件,并实时更新至对应的数字档案;将所述科研物资在实验过程中产生的实验操作数据和实验输出数据。本发明通过为每一份独立物资创建伴随其全生命周期的动态数字标识,并自动关联其在实验过程中的操作数据与结果数据,首次在科研管理领域系统性地构建了物资实体‑流转状态‑实验行为‑科研产出的全链路、结构化数据链条。

一种基于数字孪生的海外仓智能调拨方法

NºPublicación:  CN121745808A 27/03/2026
Solicitante: 
通福国际电子商务(深圳)有限公司
CN_121745808_PA

Resumen de: CN121745808A

本发明公开了一种基于数字孪生的海外仓智能调拨方法,包括:S1、采集多源核心运营数据,构建海外仓数字孪生体;S2、对多源核心运营数据进行预处理,形成孪生数据集;S3、通过基于格兰杰因果的AGCN模型构建因果影响图,生成孪生演化数据;S4、以孪生演化数据为虚拟环境,运行改进的QMix算法,通过分层强化学习机制协同决策,输出最优调拨策略集;S5、在数字孪生体中回溯验证策略,生成自解释性报告和标准化指令;S6、下发指令至物理平台执行并显示结果。本发明实现对复杂仓储网络的动态因果建模与全局协同优化,提升了调拨决策的准确性与经济性,增强了策略的可靠性与透明度。

商品库存确定方法、装置、设备、介质和程序产品

NºPublicación:  CN121745804A 27/03/2026
Solicitante: 
中国建设银行股份有限公司建信金融科技有限责任公司

Resumen de: CN121745804A

本公开提供了一种商品库存确定方法、装置、设备、介质和程序产品,可以应用于大数据技术领域和金融科技技术领域。该商品库存确定方法包括:响应于用户对商品的第一属性具有的至少一个可选规格中第一目标规格的选择操作,根据与第一目标规格关联的至少一个第一规格组合,确定至少一个第二属性;根据第三属性的第三目标规格和至少一个第二属性各自的至少一个第二规格,得到至少一个第二规格组合,其中,第三属性是上一选择操作所针对的属性;根据至少一个第一规格组合的商品库存状态信息和至少一个第二规格组合的商品库存信息,得到在已选择规格的情况下的商品库存信息,其中,已选择规格包括第一目标规格和第三目标规格。

食材购买清单生成方法、装置、设备及存储介质

NºPublicación:  CN121745820A 27/03/2026
Solicitante: 
合肥美的电冰箱有限公司合肥华凌股份有限公司美的集团股份有限公司

Resumen de: CN121745820A

本申请涉及一种食材购买清单生成方法、装置、设备及存储介质,涉及计算机技术领域。该方法通过获取目标用户对应的当前食材库存信息、多种食材的历史统计信息以及多个食材售卖点的详情信息;根据当前食材库存信息、多种食材的历史统计信息以及多个食材售卖点的详情信息,生成食材购买清单。通过采用上述的食材购买清单生成方法,由于多种食材的历史统计信息表征了用户的食材使用习惯,因此,结合当前食材库存信息、多种食材的历史统计信息以及食材购买点中每种食材的食材详情确定的食材购买清单,更符合用户的需求,且更便于用户进行采购,提高用户采购效率和生活便捷性。

一种基于合同约束与退货分级复用的备货冲突管理方法

NºPublicación:  CN121745809A 27/03/2026
Solicitante: 
杭州追兔信息科技有限公司
CN_121745809_PA

Resumen de: CN121745809A

本发明涉及电商供应链管理领域,公开了一种基于合同约束与退货分级复用的备货冲突管理方法,旨在解决传统多平台备货中合同履约风险高、退货资源浪费、备货分配失衡的问题。方法包括:采集多源数据并预处理生成多维数据集;解析合同条款并量化为优先级动态分值;按商品状态等维度分级退货商品,构建复用量化模型核算有效复用数量;结合合同优先级、复用数量及供应商产能计算最优备货量;通过分场景规则消解备货冲突;开展全链路闭环迭代优化。本发明提升了合同履约合规性与退货复用率,实现备货资源最优分配,为多平台备货管理提供精准、长效的技术方案。

一种货运系统调度方法、系统、设备及介质

NºPublicación:  CN121743742A 27/03/2026
Solicitante: 
武汉理工大学
CN_121743742_PA

Resumen de: CN121743742A

本发明涉及一种货运系统调度方法、系统、设备及介质,属于智能物流技术领域,其中,该方法包括:根据货运系统信息确定货运系统的宏观动态特征,并构建货运系统的图结构;通过图神经网络从图结构中提取货运系统的微观特征;基于货车预调度问题构建马尔可夫决策过程模型;其中,马尔可夫决策过程模型的状态空间根据宏观动态特征与微观特征构建;通过强化学习算法对马尔可夫决策过程模型求解,根据求解结果生成空闲货车调度方案,并根据空闲货车调度方案对空闲货车进行预调度,预调度过程为周期性启动。本发明的空闲货车调度方案生成方法可以同时兼顾场景适应性、调度决策准确性与实时性。

库存运维资源自平衡系统、方法、电子设备及存储介质

NºPublicación:  CN121742968A 27/03/2026
Solicitante: 
武汉船用电力推进装置研究所(中国船舶集团有限公司第七一二研究所)
CN_121742968_PA

Resumen de: CN121742968A

本申请提供一种库存运维资源自平衡系统、方法、电子设备及存储介质,系统包括:统一数据平台、库存优化微服务、资源调度微服务及集群管理器;统一数据平台被配置为从多个异构数据源实时采集和融合库存数据、运维资源数据、市场环境数据和供应链事件数据;库存优化微服务,被配置为基于融合后的数据,动态计算各库存节点的最优库存水平;资源调度微服务,被配置为根据最优库存水平,生成与库存策略相匹配的运维资源调配方案;集群管理器与库存优化微服务和资源调度微服务通信连接,被配置为接收外部请求,并通过负载均衡算法将请求路由至相应的微服务实例。本申请能够解决传统库存系统响应迟缓、资源错配的问题,提升了供应链的韧性与效率。

一种集成智能调度与质量监控的水泥罐管理系统及方法

NºPublicación:  CN121745563A 27/03/2026
Solicitante: 
浙江广厦建设职业技术大学
CN_121745563_PA

Resumen de: CN121745563A

本发明公开了一种集成智能调度与质量监控的水泥罐管理系统,包括水泥质量检测模块、存储环境监测模块、水泥罐称重模块、数据接收处理模块、中央算法模块、人机交互显示模块、反馈控制硬件模块和云平台模块;本发明还公开了一种集成智能调度与质量监控的水泥罐管理系统所使用到的方法,本发明通过集成水泥质量检测、存储环境监测、称重监测、数据处理、智能调度及云端管理等模块,构建了一个覆盖“入库—存储—出料—调度—配送”的全周期管理系统,实现了水泥罐从质量监测到供应调度的智能化、自动化与精细化管理,大幅提升了水泥供应链的可视化水平与管理效率,实现水泥全流程智能监控与管理。

一种面向多行业的智能包装盒、交互方法及溯源管理系统

NºPublicación:  CN121745128A 27/03/2026
Solicitante: 
北京盛旺世纪彩色印刷有限公司
CN_121745128_A

Resumen de: CN121745128A

本发明公开了一种面向多行业的智能包装盒、交互方法及溯源管理系统。所述包装盒针对食品、药品、茶叶等行业的纸、金属、塑料或竹木材质包装,采用层压、凹槽嵌装或粘贴方式集成NFC芯片。芯片预存指令,使手机触碰后自动跳转至微信内的品牌主交互小程序,观看行业内品牌企业等定制化内容后,可无缝跳转至独立的专业防伪溯源小程序进行查验。系统后端将单品NFC交互数据、运输单元的RFID物流数据在中央平台进行跨行业关联分析,实现从消费者互动到供应链管理的端到端闭环。本发明提供了一套标准化、可复用的智能包装解决方案,显著提升了用户体验、产品信任度与企业精细化运营能力。

一种基于机器学习的药品库存数据预测系统和方法

NºPublicación:  CN121747867A 27/03/2026
Solicitante: 
中国人民解放军总医院
CN_121747867_PA

Resumen de: CN121747867A

本发明提供一种基于机器学习的药品库存数据预测系统,其特征在于,系统数据采集单元,采集第一药品的第一标识码获取第一药品的第一信息数据;第一信息数据包括药品名称、生产厂家、批准文号、入库时间、有效期、生产批号、流转记录和使用记录中的至少一项;库存数据预测单元,采用基于机器学习的库存预测模型根据第一信息数据和多个第一特征值得到第一药品的预测库存数据。

一种基于中央调度算法的智能手机产品销售方法

NºPublicación:  CN121745580A 27/03/2026
Solicitante: 
苏州千机汇网络科技有限公司
CN_121745580_PA

Resumen de: CN121745580A

本发明公开了一种基于中央调度算法的智能手机产品销售方法,包括千机汇小程序、智能柜、投递员,具体包括以下步骤:步骤一:通过千机汇ERP进行调拨到智能柜,选择商品型号商品串码,选择要调入的智能柜;步骤二:投递员(投递人员/店老板)保存生成投递码每个投递码对应一台机器,到达智能柜(设备)在嵌入式工控主机上使用投递员登录输入账号密码进入投递页,输入对应机器的投递码。本发明公开的千机汇ERP内基于中央调度算法根据分仓销售情况热销机型利润进行聚合分析该网点的货品销售适宜类型,在对缺货货品进行填补时,能够减少对人工经验的依赖,且自动补入,分仓直接从销售智能柜下单取货进行销售,减去中间的繁琐过程。

一种基于大模型的多Agent自动协调组织解决任务的方法

NºPublicación:  CN121745846A 27/03/2026
Solicitante: 
千舆网络科技(上海)有限公司
CN_121745846_PA

Resumen de: CN121745846A

本发明涉及大语言模型技术领域,公开一种基于大模型的多Agent自动协调组织解决任务的方法,包括:步骤一,接收且采集来自至少订单系统、仓储系统和运输系统的异构异常事件,将所述异构异常事件统一转化为包含异常类型、相关订单、相关资源和紧急程度的标准化异常事件描述;步骤二,调用异常规划智能角色,利用大模型服务对所述标准化异常事件描述进行推理和规划,动态生成异常处理链条。本发明采用异构异常事件的统一采集与标准化描述技术方案,达到自动整合跨系统信息的技术效果,实现异常任务处理的清晰、统一视图的自动生成,解决人工汇总数据耗时且缺乏自动化整合机制的不足。

车辆调度方法、装置、电子设备和存储介质

NºPublicación:  CN121745787A 27/03/2026
Solicitante: 
国能神东煤炭集团有限责任公司中国神华能源股份有限公司神东煤炭分公司
CN_121745787_PA

Resumen de: CN121745787A

本申请属于数据处理技术领域,具体涉及一种车辆调度方法、装置、电子设备和存储介质。其中,车辆调度方法,包括:获取车辆调度申请,从车辆调度申请中提取调度信息,并确定调度优化模式;根据调度优化模式中的约束条件,对调度信息进行分配优化,得到车辆调度方案;根据车辆调度方案对目标车辆进行调度。本申请的车辆调度方法能够提升调度效率的同时降低了人为操作失误的风险。

一种汽车配件订单管理方法

NºPublicación:  CN121745821A 27/03/2026
Solicitante: 
萨玛赛亚森汽车系统(上海)有限公司
CN_121745821_PA

Resumen de: CN121745821A

本发明公开了一种汽车配件订单管理方法,具体包括如下方法:S1、订单接收与确认阶段:EDI系统从客户服务器获取采购订单,并立即向客户反馈订单接收确认。本发明通过JIS系统直接处理订单排序并与MES对接,绕过了ERP系统的资源规划瓶颈,能够快速响应订单变化和执行紧急插单,JIS作为唯一的数据协调中心,确保了订单、物料、生产状态信息在EDI、ERP、MES之间流转的准确性和一致性,消除了信息孤岛,为精准决策提供了数据基础,将业务逻辑集中在JIS系统,降低了ERP、MES和EDI系统之间的直接耦合度,这种松耦合架构使系统更易于维护、升级和扩展,未来接入新的系统,如WMS仓库管理系统将更加便捷,优化了系统架构,增强了可扩展性。

一种物料出入库方法及系统

NºPublicación:  CN121745807A 27/03/2026
Solicitante: 
上汽通用五菱汽车股份有限公司
CN_121745807_PA

Resumen de: CN121745807A

本申请涉及一种物料出入库方法及系统,属于车辆制造技术领域。方法包括:当接收到出库请求时,在物料库中查询与出库请求对应的可出库物料;建立可出库物料的包装箱的虚拟箱体三维模型;将虚拟箱体三维模型放置于预设的堆垛空间模型中,并根据预设的堆垛约束条件对虚拟箱体三维模型进行排列组合,生成多个候选预堆垛方案;基于预设的评价指标,将评分最高的候选预堆垛方案确定为目标预堆垛方案;按照目标预堆垛方案将可出库物料的包装箱堆叠成货垛。本申请提供的物料出入库方法及系统,可以在出库前对物料的堆垛方式进行整体规划,实现提前确定合理的出库顺序和堆垛结构,使得包装箱在实际搬运与堆放过程中可以直接按照目标方案执行。

搬运设备的调度优化方法、计算机设备、可读存储介质和程序产品

NºPublicación:  CN121745782A 27/03/2026
Solicitante: 
顺丰科技有限公司
CN_121745782_PA

Resumen de: CN121745782A

本申请涉及一种搬运设备的调度优化方法、计算机设备、可读存储介质和程序产品,涉及智能调度技术领域。方法包括:响应于目标搬运设备的调度优化指令,获取目标搬运设备的设备属性信息、以及搬运任务的目标任务信息;基于设备属性信息,对目标搬运设备进行路况配置合理性分析,得到路况配置合理性分析结果;基于目标任务信息,对目标搬运设备进行资源配置合理性分析,得到资源配置合理性分析结果;在路况配置合理性分析结果和资源配置合理性分析结果中至少一个表示目标搬运设备存在配置不合理的情况下,进行调度优化,得到目标搬运设备的目标调度方案;根据目标调度方案,控制目标搬运设备进行搬运工作。采用本方法能够提高搬运设备的工作效率。

基于人工智能的供应链需求预测方法及系统

NºPublicación:  CN121745378A 27/03/2026
Solicitante: 
山东长森供应链有限公司
CN_121745378_A

Resumen de: CN121745378A

本发明涉及供应链智能预测技术领域,公开了基于人工智能的供应链需求预测方法及系统。该方法包括获取目标时间段内完整交易记录,形成物料流量时间序列,根据预测目标物料品种、时间跨度和地理范围筛选流量子序列。基于子序列生成物料流量变化图谱,可视化描绘流量动态波动轨迹。利用预设图谱特征识别规则扫描图谱,识别特定流量变化形态,标记为待分析特征并提取对应原始交易记录子集。构建深度神经网络,以待分析特征及其交易记录子集为输入,训练网络学习其与后续物料需求间的映射关系。该方法通过图谱化形态识别结合交易明细多模态学习,捕捉复杂非平稳需求波动,提升预测准确性和业务可解释性。

一种基于数据分析的物流供应链调度系统

NºPublicación:  CN121745789A 27/03/2026
Solicitante: 
九宇实业(广东)有限公司
CN_121745789_PA

Resumen de: CN121745789A

本发明公开了一种基于数据分析的物流供应链调度系统,涉及工业数据挖掘技术领域。该系统通过实时采集并融合交通状态、订单属性及动态约束信息,经处理后形成结构化动态数据向量;利用动态特征分析模型提取路况拥堵指数与订单优先级系数,并基于分水岭算法实现订单自适应聚类;以订单配送聚类簇为调度单元,构建多目标动态路径规划模型,同步优化时间窗履约率、行驶路径与运力成本;生成并下发实时路径调度指令,并通过监测与重规划机制动态响应变化。本发明实现了从数据感知、智能聚类到动态优化的全链路闭环调度,提升了物流配送的适应性、效率与履约质量。

用于农产品的运输安全管理方法、装置及存储介质

NºPublicación:  CN121745799A 27/03/2026
Solicitante: 
广西南宁泰展信息科技有限公司
CN_121745799_PA

Resumen de: CN121745799A

本发明涉及农产品运输技术领域,尤其涉及一种用于农产品的运输安全管理方法、装置及存储介质,所述方法包括:采集运输环境数据;根据采集的振动信号构建振动损伤模型,并确定振动损伤状态;根据采集的温度信号构建温度模型,并确定冷却系统状态;根据采集的压力信号确定压力风险等级;融合振动损伤状态、冷却系统状态和压力风险等级,以确定质量风险状态,并向用户进行预警;基于管理周期内的振动损伤状态与压力风险等级调整车速。本发明显著提升了农产品运输的保鲜效果与质量安全水平,有效降低了腐损率与经济损失。

基于格兰杰因果关系和储备池计算的港口间拥堵传播推断方法

NºPublicación:  CN121745796A 27/03/2026
Solicitante: 
大连理工大学
CN_121745796_PA

Resumen de: CN121745796A

本发明涉及港口物流智能分析技术领域,是基于格兰杰因果关系和储备池计算的港口间拥堵传播推断方法,包括:基于L空间建模方法,根据AIS船舶轨迹数据构建多重有向的集装箱船舶运输网络;采用港口的平均待泊时长作为核心指标量化港口拥堵程度;计算集装箱船舶运输网络的网络特征;构建初始候选港口集合;构建基于港口间拥堵传播关系和储备池计算的机器学习预测模型,对每个港口在下一个时间步的拥堵程度进行预测;基于格兰杰因果思想设计贪心迭代算法,基于拥堵预测误差,对每个港口的拥堵传播关系推断结果进行优化;构建拥堵程度预测模型,将拥堵传播关系作为输入,实现对港口拥堵程度的预测。本发明能够精准推断港口间的拥堵传播。

核电站的备件数据网络构建方法及相关设备

NºPublicación:  CN121743665A 27/03/2026
Solicitante: 
岭澳核电有限公司
CN_121743665_PA

Resumen de: CN121743665A

本申请实施例提出的核电站的备件数据网络构建方法及相关设备,方法包括:获取核电站的物料数据清单和物料替代数据;基于物料数据清单进行父子码关系识别清洗,得到物料清洗数据,并对物料替代数据进行替代标准化格式清洗,得到替代清洗数据;基于物料清洗数据和替代清洗数据构建初始备件数据网络,初始备件数据网络至少包括备件替代权重和备件替代量参数;基于备件替代量参数构建与备件量相关的备件替代优化模型,并求解备件替代优化模型得到优化备件替代量;将优化备件替代量输入图神经网络模型进行数据处理,得到备件替代权重的更新结果,并根据更新结果优化初始备件数据网络得到核电站的备件数据网络,使得生成的备件数据网络的准确性更高。

一种地下矿有轨与无轨联合运输的协同调度优化方法

NºPublicación:  CN121745537A 27/03/2026
Solicitante: 
武汉理工大学
CN_121745537_PA

Resumen de: CN121745537A

本发明提供了一种地下矿有轨与无轨联合运输的协同调度优化方法,包括以下步骤:以最小化运输成本、最小化安全性惩罚成本为优化目标,构建多目标优化模型,采集地下矿采场溜井的产能、品位信息、运输巷道的路径数据及有轨与无轨运输设备的运行参数,设定所述多目标优化模型的约束条件;构建有轨电机车与无轨胶轮车在装矿点及路径交叉口的动态时间窗口互斥约束机制,基于所述动态时间窗口互斥约束机制识别调度方案中的调度时间窗重叠和运行路径冲突,将所述动态时间窗口互斥约束机制写入所述多目标优化模型的约束条件;对所构建的多目标优化模型进行求解,生成初始调度方案。

一种企业全业务碳融合核算方法及系统

NºPublicación:  CN121744191A 27/03/2026
Solicitante: 
国网浙江省电力有限公司经济技术研究院
CN_121744191_A

Resumen de: CN121744191A

本发明涉及碳排放管理技术领域,本发明公开了一种企业全业务碳融合核算方法及系统,包括以物流单证记录和物料清单记录生成物料关联映射表,并据此对供应商碳活动记录与企业内部碳活动记录做字段依赖分析,形成跨环节约束的字段依赖关系表,结合会计凭证记录开展结构一致性检验,输出稳定性分级的结构对齐映射,基于企业内部碳活动记录与预设核算边界表进行多维口径差异筛查,生成企业口径规则表,维持核算口径一致,最终以结构对齐映射和企业口径规则表进行节点邻接拓扑重构,构建嵌入多尺度局部增强模块的图注意力编码器,按统一活动记录流聚合编码,得到全链路融合路径索引,贯通标识断裂与链路缺口,保证产品级碳足迹路径追踪完整性。

一种基于机车铁水罐位置的调度任务自动跟踪方法及装置

NºPublicación:  CN121745800A 27/03/2026
Solicitante: 
中冶南方工程技术有限公司
CN_121745800_PA

Resumen de: CN121745800A

本发明公开了一种基于机车铁水罐位置的调度任务自动跟踪方法及装置,所述方法包括:采集与调度任务相关的多维度数据;多维度数据至少包含设备状态数据、任务数据、任务拆解数据及位置数据;基于任务数据及任务拆解数据,识别调度任务包含的步骤,以及各步骤对应的动作,根据步骤与动作的前置关联关系,判定步骤及动作的启动状态;针对动作的不同类型,采用预设的差异化完成判定标准,校验动作的完成状态;结合自动跟踪程序与事件触发的人工校验程序,对调度任务的状态进行协同校验。本发明有效提升了调度效率和准确率。

基于虚拟行李的行李码放位置确定方法、设备及存储介质

NºPublicación:  CN121744568A 27/03/2026
Solicitante: 
中航信移动科技股份有限公司
CN_121744568_PA

Resumen de: CN121744568A

本发明提供了一种基于虚拟行李的行李码放位置确定方法、设备及存储介质,涉及行李码放位置确定技术领域,所述方法包括:获取当前行李车对应的三维坐标系QR、待码放行李对应的待码放行李包围盒W;其中,所述虚拟包围盒位于当前行李车的外部,所述虚拟包围盒与当前行李车的四个侧面相邻;相邻的虚拟包围盒的侧面与当前行李车的侧面的尺寸相同;依次遍历QR中每一预设的待确认点;当W在目标待确认点时,若W不与任一三维行李网格重合,W不与虚拟包围盒重合且W满足所有的预设码放条件,则将目标待确认点确定为待码放行李对应的码放位置;从而确保不超出行李车空间范围的前提下,确定出待码放行李对应的码放位置。

一种智慧电商供应链物流追踪分析方法及系统

NºPublicación:  CN121745801A 27/03/2026
Solicitante: 
龙岩市天博信息技术有限公司
CN_121745801_PA

Resumen de: CN121745801A

本申请提供一种智慧电商供应链物流追踪分析方法及系统,属于智慧电商技术领域,包括:根据初始路径优选条件分析得到各路径的时效偏差分布,根据各路径的时效偏差分布确定订单关于中转路径的调整方向,确定碎片化分布优化的节点组合方案;根据路径优选条件识别逐级增加的中转节点,并统计各级停留时长占比分析停留碎片化程度的变化趋势,评估节点组合对时效达成率的提升效果,得到关于节点组合有效性的初步评估结果;根据目标节点组合方案统计优化后各节点的停留时长分布,分析窗口起止时间与停留时长的覆盖范围,根据覆盖范围与承诺窗口的匹配程度确定送达时效。

一种多模式转换下的共堆场海铁联运集卡路径优化方法

NºPublicación:  CN121745423A 27/03/2026
Solicitante: 
广西沿海铁路股份有限公司中南大学广西交通职业技术学院中国铁路南宁局集团有限公司
CN_121745423_PA

Resumen de: CN121745423A

本公开实施例中提供了一种多模式转换下的共堆场海铁联运集卡路径优化方法,属于计算技术领域,具体包括:步骤1,根据港口集装箱堆场的道路信息构建港口作业区域有向图;步骤2,根据港口待转运集装箱货物信息定义多种运输模式及其对应的决策变量;步骤3,根据多种运输模式及其对应的决策变量建立以集卡总行驶时间最短为目标的目标函数和路径优化约束条件,据此构建集卡路径优化模型;步骤4,采用粒子群算法求解集卡路径优化模型,得到最优粒子;步骤5,将最优粒子映射为有向图的路径与模式组合,得到最优集卡路径方案,并输出所述路径方案。通过本公开的方案,提高了路径优化效率和适应性。

货物清点方法、装置、设备及存储介质

NºPublicación:  CN121745806A 27/03/2026
Solicitante: 
三六零数字安全科技集团有限公司
CN_121745806_PA

Resumen de: CN121745806A

本申请公开了一种货物清点方法、装置、设备及存储介质,涉及人工智能技术领域,公开了货物清点方法,包括:获取目标图像,所述目标图像对应于待清点货物的区域;将所述目标图像输入至预先训练好的货物清点模型中,由所述货物清点模型基于所述目标图像,确定所述目标图像中待清点的目标货物的类别及对应的数量;基于所述目标货物的类别及对应的数量,确定所述待清点货物的区域所对应的货物清点结果。本申请通过获取待清点货物区域的图像,并借助模型即可快速、准确地清点出某一区域的货物类别及对应的数量,无需大量人力投入,能够实现高频率货物清点,可以适用于大规模、实时化管理的需求,有效提高了货物清点的效率和准确率。

面向质量不确定的废旧动力电池回收拆解集成优化方法

NºPublicación:  CN121745928A 27/03/2026
Solicitante: 
西北工业大学
CN_121745928_PA

Resumen de: CN121745928A

本发明提出一种面向质量不确定的废旧动力电池回收拆解集成优化方法,首先以最小化总运营成本为目标函数,考虑耦合约束、可回收包装相关约束、车辆相关约束、需求满足约束、库存相关约束、拆解线相关约束以及决策变量取值范围约束,构建废旧动力电池回收‑拆解集成优化的随机规划模型;采用样本平均近似法将随机模型转化为等价的确定性模型,并对非线性项进行线性化处理以增强求解性能;最后采用两阶段启发式算法对所提出的数学模型进行求解,并可根据实际问题选择所需的最优情景数。本发明实现了质量不确定环境下废旧动力电池的回收、拆解两个阶段问题的集成优化,为废旧动力电池循环利用领域的复杂优化问题提供科学的解决方案。

一种远场阵列与近距融合的航空仓储智能盘点方法及装置

NºPublicación:  CN121745818A 27/03/2026
Solicitante: 
龙兴(杭州)航空电子有限公司
CN_121745818_A

Resumen de: CN121745818A

本发明公开了一种远场阵列与近距融合的航空仓储智能盘点方法及装置。该方法先采集最下面一层的每个货架的货物的RFID标签的RSSI信号,然后逐层向上采集每一层的货物的RFID标签的RSSI信号,在每一层采集时,还采用不同功率覆盖不同货架,并通过与已经确认的RSSI信号进行对比去重,从而对所有货架的每一层的货物进行盘点。通过逐个采集每个货架第1层放置的货物的RSSI标签结合功率天线逐步自动采集,快速、准确、自动化地完成货架的盘点。

一种多层库存精细化管理方法及系统

NºPublicación:  CN121745816A 27/03/2026
Solicitante: 
无忧达(宁波)物流科技有限公司
CN_121745816_PA

Resumen de: CN121745816A

本发明涉及一种多层库存精细化管理方法及系统,涉及库存管理的技术领域,其包括:响应于库存请求,采集库存基础信息;根据库存基础信息确定库存所属的逻辑层级;根据逻辑层级对订单库存进行层级划分,并采集各层级库存的库存数据;根据库存数据生成库存数据图和财务数据表;基于库存数据图和财务数据表输出多层库存管理的结果报告,并根据结果报告匹配管理方法,以进行订单库存管理。本申请具有实现数字化管理以提高处理效率的效果。

基于人工智能的跨境电商供应链数据分析方法和系统

NºPublicación:  CN121745812A 27/03/2026
Solicitante: 
杭州恒健供应链科技有限公司
CN_121745812_PA

Resumen de: CN121745812A

本发明涉及电商管理技术领域,具体为基于人工智能的跨境电商供应链数据分析方法和系统,包括:基于跨境电商交易平台在特定销售周期内的商品交易数据,响应于商品交易数据中一商品的第一交易增长率超过预设的增长幅度阈值,基于第一市场区域分布数据,确定商品在目标市场地域中的第一潜在购买热度分布;基于第一潜在购买热度分布,获取对应目标市场地域中商品的历史供应链运作数据,对历史供应链运作数据进行关联规则剖析,得到商品在供应链各环节的关联运作特征模式。本发明通过动态调整库存管控策略,能够根据市场需求变化和商品交易数据实时优化库存分配,从而减少库存积压和缺货现象,提升整体库存周转率。

一种电子仓单大数据管理系统

NºPublicación:  CN121745822A 27/03/2026
Solicitante: 
山东省创犀信息科技有限公司
CN_121745822_PA

Resumen de: CN121745822A

本发明公开了一种电子仓单大数据管理系统,涉及电子仓单数据管理技术领域,包括如下模块:货物验资排序模块,获取验资货物用户信息,获取用户的全部验资银行信息,制定银行验资顺序表,按照银行验资顺序表对用户的全部验资银行信息进行验资排序;通过验资银行在三方交流窗口中关于质押与解押的回复情况对验资银行的验资排序进行重新修订,从而使更配合仓储管理、更愿意信息沟通的验资银行享有优先验资的条件,进而有益于仓储在长期管理过程中避免出现经济纠纷,有益于避免影响仓储信誉。

一种保险单证仓库的智能安防系统及方法

NºPublicación:  CN121745814A 27/03/2026
Solicitante: 
中国人寿保险股份有限公司湖南省分公司
CN_121745814_PA

Resumen de: CN121745814A

本发明涉及一种保险单证仓库的智能安防系统和方法,系统包括:多传感器感知网络、安防风险决策模块及安防响应模块;多传感器感知网络采集所在目标保险单证仓库的多传感器数据,并将多传感器数据上传至安防风险决策模块;安防风险决策模块基于预置动态风险决策算法,结合多传感器数据进行计算,得到目标保险单证仓库的综合风险评分值;安防响应模块根据综合风险评分值对目标保险单证仓库进行分级自适应安防响应。通过预置动态风险决策算法对多传感器数据进行综合分析,得到综合风险评分值,综合风险评分值对目标保险单证仓库进行分级自适应安防响应,实现了对保险单证仓库的安防风险的早期、精准及主动的干预。

一种仓储物流自动搬运机器人

NºPublicación:  CN121745591A 27/03/2026
Solicitante: 
山西电子科技学院
CN_121745591_PA

Resumen de: CN121745591A

本发明属于机器人控制技术领域,公开了一种仓储物流自动搬运机器人,包括:数据感知模块,获取待搬运的货物信息和相应的搬运目的地信息;任务调度模块,根据货物信息和搬运目的地信息,智能匹配具有相应承重能力和续航能力的搬运机器人,获取搬运调度方案;机器人路线规划模块,根据搬运调度方案基于仓储三维地图规划第一路径信息和第二路径信息,获取任务指令信息;任务指令优化模块,对任务指令信息进行优先级设置,基于搬运时间模型进行路段重复使用情况的分析检测,获取更新任务指令集合;机器人控制模块,根据更新任务指令集合控制相应的搬运机器人执行搬运任务。本发明实现了仓储物流场景下多机器人的协同控制,提高了仓储物流的搬运效率。

一种基于复合交通网络的港铁公多式联运路径优化方法

NºPublicación:  CN121745422A 27/03/2026
Solicitante: 
广西沿海铁路股份有限公司中南大学广西交通职业技术学院中国铁路南宁局集团有限公司
CN_121745422_PA

Resumen de: CN121745422A

本公开实施例中提供了一种基于复合交通网络的港铁公多式联运路径优化方法,属于运输技术领域,具体包括:步骤1,构建融合真实与虚拟边的复合交通网络拓扑结构模型,整合所有真实节点、真实边与虚拟边,形成完整的多式联运图结构;步骤2,基于多式联运图结构,构建包含运输时效、经济成本、碳排放与换装成本的广义费用函数;步骤3,基于约束条件,建立以最小广义费用为目标的港铁公多式联运路径优化模型;步骤4,基于改进遗传算法设计迭代循环优化求解方法对港铁公多式联运路径优化模型进行迭代寻优,确定满足约束条件以及广义费用目标最优的多式联运运输路径最优方案。通过本公开的方案,提升了路径规划和运输效率。

露天挖机、矿用卡车的协同调度方法、装置及可读存储介质

NºPublicación:  CN121745538A 27/03/2026
Solicitante: 
山西科达自控股份有限公司
CN_121745538_PA

Resumen de: CN121745538A

本申请提供了露天挖机、矿用卡车的协同调度方法、装置及可读存储介质,属于矿用车辆协同调度领域;挖机与卡车之间采用4G/5G专网与小型局域网的双网络自适应切换机制实现协同调度,方法包括以下步骤:通过卡车调度平台配置编组计划,生成动态调度指令,并同步向处于待机状态的挖机和处于空运状态的卡车下发协同调度指令;挖机和卡车接收到调度指令后分别行驶至装载区域,并判断车辆是否进入装载区域;确定车辆进入装载区域后,再判断是否存在排队车辆;然后选择排队卡车,更新卡车状态并判断是否装载完成后进入卸载区域,更新状态后直至卸载完成最终完成卸载和状态更新;可以极大的避免挖机与卡车之间频繁出现通信中断或数据传输延迟的情况。

一种模块化手术室专用耗材智能管理装置

NºPublicación:  CN121730999A 27/03/2026
Solicitante: 
国药集团山东鲁西南医疗器械有限公司
CN_121730999_PA

Resumen de: CN121730999A

本发明公开了一种模块化手术室专用耗材智能管理装置,涉及耗材管理领域;该模块化手术室专用耗材智能管理装置,通过拼接盒、底部模块和顶部模块拼接组成耗材管理装置,装置的嵌入式系统接入库存系统对存储盒内部的耗材进行统一管理;在耗材出库到剩余耗材归库过程中,可以选择部分拼接盒与底部模块和顶部模块组装,将待使用的手术耗材经由摄像头和嵌入式系统记录后放置在存储盒中,在术前术后通过摄像头和嵌入式系统拍摄记录手术耗材使用情况,便于医护人员在术前术后快速清点手术耗材的消耗情况,在剩余耗材归库时,嵌入式系统与库存系统对接,实现剩余耗材的快速录入,将耗材专门管理延伸到术前术后的各个时间段。

一种数字孪生驱动的智慧港口装卸流程优化方法及系统

NºPublicación:  CN121745369A 27/03/2026
Solicitante: 
杭州华新机电工程有限公司浙江省特种设备科学研究院浙江数智交院科技股份有限公司浙江天新智能研究院有限公司浙江水利水电学院
CN_121745369_PA

Resumen de: CN121745369A

本发明公开了一种数字孪生驱动的智慧港口装卸流程优化方法及系统,应用于包含岸桥、场桥、水平运输设备与堆场作业单元的港口装卸场景。通过采集港口装卸流程的实时状态数据与作业约束数据,构建并更新与物理港口对应的数字孪生状态,在数字孪生状态下生成装卸流程的候选控制动作集,并针对各候选控制动作执行反事实干预仿真,计算对应的流程演化结果及边际因果影响指标,进一步生成可机器校验的动作安全‑收益证书,仅选择满足预设证书门槛的控制动作下发执行,并通过执行反馈持续更新数字孪生状态,从而实现港口装卸流程的安全、稳定与高效优化。

一种猪肉冷链合规性检测的多源数据存证方法

NºPublicación:  CN121741121A 27/03/2026
Solicitante: 
中邦生态食品科技(深圳)有限公司
CN_121741121_PA

Resumen de: CN121741121A

本发明公开了一种猪肉冷链合规性检测的多源数据存证方法,涉及数据存证技术领域,包括:基于冷链车厢数据获取分布式传感点以及核心传感点;在车厢内构建异常传感阵列,并获取异常传感特征;基于异常传感特征获取运输传感演变图,将运输传感演变图记为存证标准;本发明用于解决现有的猪肉冷链合规性检测的多源数据存证方法中,无法在冷链运输过程中基于冷链运输的货物特性进行针对性的数据采集,且采集得到的数据缺乏联动性,导致存证数据不够全面的同时,平行数据之间相互独立,造成存证数据无法有效进行合规性检测的问题。

考虑布货网络对需求内生性影响的产品布货策略优化方法

NºPublicación:  CN121745791A 27/03/2026
Solicitante: 
中国科学技术大学
CN_121745791_PA

Resumen de: CN121745791A

本发明公开了一种考虑布货网络对需求内生性影响的产品布货策略优化方法,包括:1.考虑布货网络对需求的内生性影响,以最小化布货网络中物流总时间消耗为目标,建立布货策略优化模型;2.通过对历史需求数据的分析,构造产品属性代理特征,与布货网络的历史物流服务质量、地区经济发展水平构成需求特征向量,结合随机森林预测算法训练得到预测模型,预测产品需求量,为布货策略优化模型提供输入;3.构建产品需求预测与产品布货策略优化的迭代求解框架,输出稳定的布货决策。本发明通过引入反馈机制动态调整布货网络,从而有效缩短布货网络中的物流总时间消耗,提升企业物流运营效率,为复杂环境下产品布货策略优化问题提供系统性解决方案。

基于移动终端的生产排产与仓储出入库数字化处理系统

NºPublicación:  CN121745569A 27/03/2026
Solicitante: 
山东滨农科技有限公司
CN_121745569_PA

Resumen de: CN121745569A

本发明涉及制造业信息化技术领域,公开了基于移动终端的生产排产与仓储出入库数字化处理系统,包括:数据采集处理模块,获取原始生产数据并进行预处理;约束建模模块,采用增量式设备约束更新方法和触发式物料约束更新方法得到分层动态约束模型;排产优化模块进行任务复杂度评估和智能计算分配;协同调整模块,对排产方案进行排产仓储协同需求预测与匹配;仓储操作模块,用于生成出入库任务队列并引导操作人员完成出入库操作;异常识别模块,采用多模态数据融合算法识别异常情况;混合决策模块,动态切换在线模式、弱网模式和离线模式,采用对应模式的决策和同步策略;本发明实现了生产排产与仓储管理的深度融合,提高了生产效率和库存管理水平。

一种面向智慧港口的物流定位方法

NºPublicación:  CN121745361A 27/03/2026
Solicitante: 
扬州恒基达鑫国际化工仓储有限公司
CN_121745361_PA

Resumen de: CN121745361A

本发明公开了一种面向智慧港口的物流定位方法,具体涉及动态地图可视化领域;在港区布设高精度控制点,采集第一坐标与第二坐标构建控制点数据集;采用加权最小二乘法拟合生成多个区域对应的七参数坐标变换模型;通过预测模型生成微调参数组,并与七参数模型结合形成自适应坐标变换模型;将采集到的第一坐标实时转换为修正后的第二坐标,并同步映射至数字港区地图系统,实现目标物流对象的动态可视化与调度联动;本发明提升了港区定位系统的稳定性与环境适应性,适用于智慧港口中无人化运输、自动调度与安全监管等应用场景。

一种基于智能体的企业项目服务管理系统

NºPublicación:  CN121745844A 27/03/2026
Solicitante: 
数族科技(南京)股份有限公司
CN_121745844_PA

Resumen de: CN121745844A

本发明涉及大数据分析技术领域,具体为一种基于智能体的企业项目服务管理系统;接入企业的业务凭证数据流、项目合同文档及资金流转记录作为私域运营数据,同步接入区域关联数据中的物流运输时空轨迹及工业能源消耗数据;验证智能体组基于企业私域运营数据,调用区域关联数据中的物流与能耗数据,进行多维物理时空及逻辑一致性匹配,生成包含置信度权重的可信交互特征;分析智能体组接收可信交互特征,将微观交互关系映射至区域宏观维度,构建包含企业节点与加权服务流转边的区域产业链拓扑网络;基于区域产业链拓扑网络,动态计算企业节点间的服务供需耦合指数,识别阻碍项目流转的产业链断点,生成优化资源配置的补链路径规划。

一种物流业务的确定方法及装置

NºPublicación:  CN121745786A 27/03/2026
Solicitante: 
北京云迹科技股份有限公司
CN_121745786_PA

Resumen de: CN121745786A

本申请公开了一种物流业务的确定方法及装置,属于物流技术领域,该方法充分结合了发货需求与报价信息进行决策,能够从各个物流服务中精准筛选出符合实际发货需求的目标物流服务,有效解决了传统人工对比或单一维度筛选导致的效率低、匹配度差的问题,显著提升了物流业务确定的效率与精准度,保障了物流业务的高效开展。

自律ロボットの実施効率を改善するためのシステム、装置、および方法

NºPublicación:  JP2026510032A 27/03/2026
Solicitante: 
オカド・イノベーション・リミテッド
JP_2026510032_A

Resumen de: CN121079704A

Systems, devices, and methods for improving execution efficiency of an automated robot are disclosed. An example apparatus includes processor circuitry to: identify a first task and a second task; detecting a first condition associated with the first location, the first condition affecting a first task execution condition associated with execution of the first task of the automated vehicle, the first condition including a congestion at the first location; detecting a second condition associated with the second location, the second condition affecting a second task execution condition associated with execution of a second task of the automated vehicle; selecting one of the first task or the second task for execution based on the first condition and the second condition; and causing the automatic vehicle to travel to the first position or the second position to execute one of the selected first task or the selected second task.

一种带收发空地协同多编队物流运输调度路线规划方法

NºPublicación:  CN121745419A 27/03/2026
Solicitante: 
广东工业大学电子科技大学中山学院
CN_121745419_PA

Resumen de: CN121745419A

本发明涉及物流运输调度技术领域,尤其涉及一种带收发空地协同多编队物流运输调度路线规划方法。包括:初始化参数;根据编码策略随机初始化粒子群,根据解码策略计算每个粒子的适应度确定出群体最优,并记录当前全局粒子对应的服务路径方案;在确定当前全局粒子对应的服务路径方案的条件下,执行三学习策略粒子群算法;在执行三学习策略粒子群算法中,根据已执行迭代次数比例确定相应的学习策略;在所述已执行迭代次数比例达到最大迭代次数的条件下确定输出当前最优的路径规划方案。本发明同时考虑客户优先级以及双向取送货,降低运输调度成本,避免了传统粒子群优化容易陷入局部最优解的问题。

基于时间窗与多车型的预制构件配送调度优化方法

NºPublicación:  CN121745635A 27/03/2026
Solicitante: 
合肥工业大学安徽建工路港建设集团有限公司
CN_121745635_PA

Resumen de: CN121745635A

本发明提供一种基于时间窗与多车型的预制构件配送调度优化方法,涉及配送调度技术领域。获取并利用了多种运输车辆的参数信息以及建筑工地的配送时间窗。构建以最小化配送成本和最大化车辆平均装载率为双目标的优化函数。通过同时优化这两个目标,能够得到在经济性和资源利用效率之间取得平衡的调配方案,避免了单一目标优化可能带来的片面性。采用多目标蚁群‑遗传混合优化算法进行求解,生成多个具有不同权衡的调配方案供用户选择。通过综合考虑多车型、时间窗、双目标优化以及混合智能算法,提供高效且灵活的预制构件配送调度优化解决方案,有效提升多车型混编配送场景下的资源利用效率,提高配送方案的实用性。

面向动态配送需求的无人配送跨区协同调度重优化方法

NºPublicación:  CN121745795A 27/03/2026
Solicitante: 
西南交通大学
CN_121745795_PA

Resumen de: CN121745795A

本发明公开一种面向动态配送需求的无人配送跨区协同调度重优化方法,涉及无人物流技术领域,解决现有技术在应对实时新增配送需求时进行无人车辆配送调度方案重优化的计算效率低、优化精度不足等问题,并将重优化过程的时间成本加入调度优化问题中平衡优化时间成本和配送成本;本发明包括构建跨区协同无人配送网络,通过把运营时间划分为多个均匀时间周期将动态调度问题转换为多个静态调度问题,定义各时间周期的顶点集与弧集,针对周期内的配送任务,以最小化无人配送车辆总运输成本为目标,设定客户服务约束、车辆容量约束、时间窗约束及配送区域归属等约束,经过初始解构建阶段与优化求解阶段得到重优化后的跨区协同无人配送方案。

基于时空信息融合的码头道口外集卡流量预测方法及系统

NºPublicación:  CN121745396A 27/03/2026
Solicitante: 
同济大学
CN_121745396_PA

Resumen de: CN121745396A

本发明涉及一种基于时空信息融合的码头道口外集卡流量预测方法及系统,方法包括:采集码头道口外集卡数据,包括集卡信息、集卡历史抵达记录、预约记录、实时GPS数据,并进行预处理、数据匹配计算及特征工程处理,构建码头道口外集卡流量预测数据集;码头道口外集卡流量预测数据集包括集卡流量时序特征、集卡预约量时序特征以及集卡GPS散点矩阵;将码头道口外集卡流量预测数据集输入预训练的预测模型中,输出未来若干小时内每个小时的码头道口外集卡流量预测值。与现有技术相比,本发明能够在预测过程中实时考虑每个时间节点下预约系统中的集卡预约量以及集卡实时GPS位置信息并完成时空信息融合,从而实现码头道口集卡的动态实时精确预测。

基于图神经网络的粮堆空间温度场异常动态预测方法

NºPublicación:  CN121745391A 27/03/2026
Solicitante: 
河南工业大学
CN_121745391_PA

Resumen de: CN121745391A

本发明提供基于图神经网络的粮堆空间温度场异常动态预测方法,涉及粮堆灾害预测技术领域,本发明通过历史的温度数据在图神经网络中构建温度预测模型,获取预测温度序列,获取温度预报并结合温度预报的变化率、预测温度序列的变化率获取温度影响系数,并形成修正的预测温度序列,获取历史的病虫害数据和发病温度序列,根据修正的预测温度序列筛选新发位和再发位,并获取再发系数,分别对修正的预测温度序列进行调整,获取评价序列,并对病虫害风险进行分析。本发明通过构建温度预测模型实现粮堆温度的动态预测,结合粮堆温度和病虫害历史实现对病虫害的提前发现。

基于增益模型的调度时长调节方法、设备、产品及介质

NºPublicación:  CN121745601A 27/03/2026
Solicitante: 
拉扎斯网络科技(上海)有限公司
CN_121745601_PA

Resumen de: CN121745601A

本说明书提供一种基于增益模型的调度时长调节方法、设备、产品及介质,所述方法包括:获取具有关联关系的待分配配送订单集;构建订单集的订单关系图;将订单关系图输入至增益模型,以使增益模型基于图神经网络提取订单关系图的图嵌入向量,并基于图嵌入向量为各订单,预测其在一种或多种预定义的时长调节策略下分别对应的增益值;时长调节策略包括:对初始调度时长进行时长调节的策略;增益值表征:对订单执行时长调节策略相对于未执行,该订单与订单集中其他订单分配至同一配送运力的概率增益;根据订单的增益值,确定对订单的初始调度时长的最终调节策略。

一种确定物品包装木箱尺寸的方法、装置、设备和存储介质

NºPublicación:  CN121745372A 27/03/2026
Solicitante: 
广东申菱商用空调设备有限公司
CN_121745372_PA

Resumen de: CN121745372A

本发明实施例公开了一种确定物品包装木箱尺寸的方法、装置、设备和存储介质。该方法包括:确定待计算包装木箱尺寸的所有过滤器所分别对应的外包装尺寸和外包装数量;基于外包装尺寸、外包装数量以及预定义的数据库,确定过滤器外包装转化后数量;基于过滤器外包装转化后数量和预定义排布方案,确定目标排布方案;根据目标排布方案确定过滤器包装木箱尺寸。上述技术方案,通过待计算物品包装木箱尺寸的过滤器外包装尺寸和过滤器外包装数量,以及预设数据库,确定出过滤器外包装转化后数量,并结合预定义排布方案,确定目标排布方案,从而根据目标排布方案确定过滤器包装木箱尺寸,能够提升包装时的效率和准确性,且更好的利用空间。

一种基于实时路况与多因素决策的物流配送优化方法

NºPublicación:  CN121745803A 27/03/2026
Solicitante: 
深圳易普森科技股份有限公司易普森智慧健康科技(深圳)有限公司易普森生物科技(深圳)有限公司
CN_121745803_PA

Resumen de: CN121745803A

本发明提出了一种基于实时路况与多因素决策的物流配送优化方法,本发明通过中央管理系统的智能调度和配送机器人的导航,提高了配送的效率与准确性。集成的垂直和水平传输系统确保了货物在多楼层间的快速运输,智能收发工作站的应用和中央系统的实时信息更新功能增强了物流节点的灵活性和可靠性。解决了现有技术中资源分配不均、道路拥堵应对不力、路径规划不够智能、以及实时信息传递不畅而造成的配送效率降低、误配送或延迟送达的技术问题。

基于注意力机制的冷链温湿度异常检测分析方法

NºPublicación:  CN121744138A 27/03/2026
Solicitante: 
中邦生态食品科技(深圳)有限公司
CN_121744138_PA

Resumen de: CN121744138A

本发明公开了基于注意力机制的冷链温湿度异常检测分析方法,涉及冷链运输温湿度异常检测技术领域,包括如下步骤:在冷链运输过程中,收集冷链运输车辆的温度和湿度的变化数据,得到原始温湿度样本数据;并进行数据预处理,进行温湿度波动分析,并获取温湿度正常波动阈值;构建温湿度波动预测模型,对实时采集的冷链运输车辆的温度和湿度进行温湿度波动分析,并进行温湿度波动预测,并进行异常检测分析,得到温湿度异常检测分析结果;本发明用于解决现有的冷链运输温湿度异常检测技术在对冷链运输过程的温湿度进行异常检测分析时,无法根据温湿度的历史波动情况,对温湿度异常波动进行准确判断,同时对温湿度的波动进行预测判断的问题。

针对大规模三维装箱问题的动态候选装箱方法及系统

NºPublicación:  CN121745781A 27/03/2026
Solicitante: 
西南交通大学
CN_121745781_PA

Resumen de: CN121745781A

本发明属于三维装箱技术领域,公开了针对大规模三维装箱问题的动态候选装箱方法及系统,将三维装箱问题建模为马尔科夫决策过程,通过构建以Transformer为核心的装箱Q网络和候选Q网络,分别负责从处理集中选择箱体进行装箱和从候选集中动态选取箱体加入处理集。装箱Q网络在训练阶段通过强化学习进行优化,动态候选Q网络则直接复用训练好的装箱Q网络参数,无需额外训练。该方法通过将箱体划分为处理集与候选集,有效降低了大规模装箱问题的计算复杂度,同时保持了较高的空间利用率。本发明在处理大规模实例时,相较于现有方法,在空间利用率方面具有显著优势,尤其适用于物流运输与仓储管理中的高效装箱需求。

一种基于知识图谱的智能化后勤管理方法及系统

NºPublicación:  CN121745461A 27/03/2026
Solicitante: 
山东新睿信息科技有限公司
CN_121745461_A

Resumen de: CN121745461A

本发明涉及后勤管理领域,具体公开了一种基于知识图谱的智能化后勤管理方法及系统,方法包括:通过情境感知模型实时识别后勤保障任务的关键情境要素;基于情境要素从预构建的知识图谱中动态抽取相关知识子图;在知识子图空间内对物资进行多维度评估并生成调配方案;通过数字孪生环境对方案进行虚拟执行与冲突检测,动态修正生成最终优化方案;系统包括多源数据采集与情境感知模块、知识图谱管理与动态查询模块、多维度评估与方案生成模块、数字孪生与方案优化模块及方案执行与反馈优化模块。本发明解决了数据孤岛、决策效率低下及方案可行性验证缺失问题,实现了从数据感知到方案优化的全流程智能化管理,显著提升了后勤保障的精准性与可靠性。

跨境商品自适应合规数据标准化系统及方法

NºPublicación:  CN121745797A 27/03/2026
Solicitante: 
企发丝路(北京)科技发展有限公司
CN_121745797_PA

Resumen de: CN121745797A

本申请提供一种跨境商品自适应合规数据标准化系统及方法。包括:数据预处理模块,用于对不同来源的字段名称和数据格式进行映射与转换;语义识别模块,用于识别得到初始标准化商品信息;合规处理模块,用于生成与商品类目、清关字段及海关编码关联的监管规则数据结构;标准商品档案生成模块,用于对可依据跨境商品知识图谱和初始标准化商品信息推导的清关字段进行填充,对不能自动确定的清关字段进行标记,生成标准商品档案数据;电子标签对接模块,用于建立电子标签编码与标准商品档案数据之间的对应关系。本申请能够实现异构商品数据统一标准化建模,提高合规字段及清关信息生成准确性,降低电子标签申请与商品档案维护成本。

VENDOR ALLOCATION OPTIMIZATION METHOD AND SYSTEM THEREOF

NºPublicación:  KR20260040899A 26/03/2026
Solicitante: 
쿠팡주식회사

Resumen de: KR20260040899A

본 개시의 실시 예에 따른 판매자 할당 최적화 방법은 컴퓨팅 장치에 의해 수행되고, 복수의 판매자 각각에 대해, 제 1 SKU(stock keeping unit)의 품질관리 반환율에 기반하여 제 1 점수를 계산하는 단계, 상기 복수의 판매자 각각에 대해, 상기 제 1 SKU의 충족율(fill rate)에 기반하여 제 2 점수를 계산하는 단계, 상기 복수의 판매자 각각에 대해, 상기 제 1 SKU의 고객 평점에 기반하여 제 3 점수를 계산하는 단계, 상기 복수의 판매자 각각에 대해, 상기 제 1 SKU의 고객 반환율에 기반하여 제 4 점수를 계산하는 단계, 상기 제 1 점수, 상기 제 2 점수, 상기 제 3 점수, 및 상기 제 4 점수에 기반하여 상기 복수의 판매자 각각의 판매자 점수를 계산하는 단계, 및 상기 판매자 점수에 기반하여 상기 복수의 판매자 각각에 대해 상기 제 1 SKU의 발주 수량을 할당하는 단계를 포함할 수 있다.

METHOD FOR DETERMINING A CONFIGURATION FOR PLACING AT LEAST ONE ITEM WITHIN A CONTAINER

NºPublicación:  WO2026061795A1 26/03/2026
Solicitante: 
EXOTEC PRODUCT FRANCE [FR]
EXOTEC PRODUCT FRANCE
WO_2026061795_A1

Resumen de: WO2026061795A1

The invention relates to a method for determining a configuration for placing at least one item (ART) within a container (CNT), the method being implemented by an electronic device during order preparation, at an order-preparation station, for items to be placed within the container (CNT), the method comprising at least one iteration of the following steps: - capturing (S01) a datum representative of an available volume (VD) within the container (CNT); - obtaining (S04) a list (L1) of items to be placed within the container (CNT); - determining (S05) a volume (V1) of the items to be placed according to the list (L1) of the items to be placed; - depending on the volume (V1) of the items and on the datum representative of an available volume (VD) within the container (CNT), calculating (S06) the configuration (confP) for placing the items of the list (L1) of the items.

APPARATUS AND METHOD FOR GENERATING MAPPING POLICY APPLIED TO TABLE DATA

NºPublicación:  KR20260040789A 26/03/2026
Solicitante: 
주식회사트위니

Resumen de: KR20260040789A

테이블 데이터에 대하여 적용되는 매핑정책 생성 장치 및 방법이 개시되며, 본원의 일 실시예에 따른 테이블 데이터에 대하여 적용되는 매핑정책 생성 방법은, (a) 로봇을 이용하여 수행되는 작업과 관련한 작업내용 정보를 지정하는 단계, (b) 복수의 열(Column) 및 복수의 행(Row)으로 이루어지는 복수의 항목을 포함하는 데이터 서식에 대하여, 상기 복수의 항목 중에서 상기 작업내용 정보에 대응하는 항목명 및 항목위치를 식별하는 단계 및 (c) 상기 데이터 서식에 해당하는 테이블 데이터로부터 상기 작업내용 정보를 인식하기 위한 매핑정책을 상기 식별된 항목명과 항목위치를 이용하여 정의하는 단계를 포함할 수 있다.

METHOD ELECTRONIC DEVICE AND RECORDING MEDIUM FOR GENERATING PRODUCT SET INFORMATION

NºPublicación:  KR20260040709A 26/03/2026
Solicitante: 
쿠팡주식회사

Resumen de: KR20260040709A

본 개시의 방법은 전자 상거래 플랫폼에서 판매되는 상품들 중 상품 세트에 포함시킬 둘 이상의 상품을 결정하는 단계; 제1 상품에 대응하는 제1 상품 정보 및 제2 상품에 대응하는 제2 상품 정보에 기초하여 상품 세트에 대응하는 상품 세트 정보를 동적으로 생성하는 단계; 및 생성된 상품 세트 정보를 전자 상거래 플랫폼에 접속한 단말에 전송하는 단계를 포함할 수 있다.

System zur Erhöhung der Auslastung von Transportfahrzeugen

NºPublicación:  DE102025138278A1 26/03/2026
Solicitante: 
DUALE HOCHSCHULE BADEN WUERTTEMBERG KOERPERSCHAFT DES OEFFENTLICHEN RECHTS [DE]
Duale Hochschule Baden-W\u00FCrttemberg, K\u00F6rperschaft des \u00F6ffentlichen Rechts

Resumen de: DE102025138278A1

Ziel der Erfindung ist es, ein System zur Erhöhung der Auslastung von Transportfahrzeugen (10) zu schaffen. Dies wird erreicht über ein Verfahren (100) zur Bestimmung einer Zuladungskapazität, ein entsprechendes Computerprogrammprodukt und ein Transportfahrzeug (10), welches zur Durchführung des Verfahrens (100) eingerichtet ist. Im Rahmen des Verfahrens (100) zur Bestimmung der Zuladungskapazität wird eine effektive Zuladungskapazität bestimmt, welche sowohl die massenbezogene als auch die volumenbezogene Auslastung berücksichtigt. Die volumenbezogene Auslastung wird dabei mittels zumindest eines ToF-Sensors (16) ermittelt, während die massebezogene Auslastung auf der Basis von OBD-Daten und einer zuvor abgeleiteten Korrelation bestimmt wird. Bei einer Weiterbildung des Verfahrens (100) werden die gewonnen Daten zur Generierung von Vorhersagen bezüglich Routen und Zeiten mit freien Zuladungskapazitäten genutzt. Die Vorhersagen können wiederum zur vorteilhaften Gestaltung transportlogistischer Prozesse einer Vielzahl von Anwendern zugutekommen.

SYSTEM UND VERFAHREN ZUR AKTUALISIERUNG EINES REPARATURVORGANGS VON FAHRZEUGKOMPONENTEN

NºPublicación:  DE102024138162A1 26/03/2026
Solicitante: 
MERCEDES BENZ GROUP AG [DE]
Mercedes-Benz Group AG

Resumen de: DE102024138162A1

Die vorliegende Erfindung stellt ein System (100) und ein Verfahren (300) zur Aktualisierung eines oder mehrerer Reparaturvorgänge von einer oder mehreren Fahrzeugkomponenten bereit. Das System (100) extrahiert Stücklisten- (BOM-) Daten, die einer Vielzahl von Fahrzeugkomponenten zugeordnet sind, aus einer Stücklisten-Datenbank (110), die dem System (100) zugeordnet ist. Das System (100) ruft Untermodul-Informationen (130), die mit einer oder mehreren Reparaturdokument-Kennungen korreliert sind, aus einer dem System (100) zugeordneten Mapping-Datenbank (120) ab. Ferner vergleicht das System (100) die den Fahrzeugkomponenten zugeordneten BOM-Daten mit den Untermodul-Informationen (130), die mit den Reparaturbeleg-Identifikatoren (140) korreliert sind. Basierend auf dem Vergleich erzeugt das System (100) einen Bericht (150), der eine Vielzahl von Parametem enthält, die Aktualisierungen anzeigen, die für einen oder mehrere Reparaturvorgänge von einer oder mehreren Fahrzeugkomponenten aus der Vielzahl der Fahrzeugkomponenten erforderlich sind.

VERFAHREN UND VORRICHTUNG ZUR POSITIONSBASIERTEN BESTIMMUNG VON MÖGLICHKEITEN ZUR ÜBERGABE EINER SENDUNG

NºPublicación:  DE102024127863A1 26/03/2026
Solicitante: 
DEUTSCHE POST AG [DE]
Deutsche Post AG

Resumen de: DE102024127863A1

Offenbart wird u.a. ein computer-implementiertes Verfahren, umfassend: Bestimmen einer Position; Bestimmen, zumindest basierend auf der bestimmten Position, von Möglichkeiten zur Übergabe einer Sendung von einem Absender an eine Person oder Vorrichtung zum Weitertransport, wobei das Bestimmen von Möglichkeiten zur Übergabe der Sendung das Bestimmen von Daten betreffend eine Route zur Zustellung zumindest einer anderen Sendung an der bestimmten Position oder an einer Position, die in einem vordefinierten Verhältnis zu der bestimmten Position steht, umfasst, und wobei basierend auf den Daten Parameter einer ersten Möglichkeit zur Übergabe der Sendung bestimmt werden; Speichern zumindest einer Datenstruktur, welche die bestimmten Möglichkeiten umfassend die Parameter der ersten Möglichkeit repräsentiert; Bereitstellen der zumindest einen Datenstruktur zur Mitteilung der bestimmten Möglichkeiten zur Auswahl durch den Absender; wenn der Absender die erste Möglichkeit auswählt, Speichern der Auswahl und Bereitstellen der gespeicherten Auswahl so, dass die Person oder die Vorrichtung veranlasst wird, die Übergabe der Sendung gemäß den Parametern der ersten Möglichkeit durchzuführen. Des Weiteren wird u.a. eine Vorrichtung zur Durchführung und ein entsprechendes Computerprogramm offenbart.

SYSTEM AND METHOD FOR PRODUCT CARBON FOOTPRINT (PCF) ASSESSMENT

NºPublicación:  US20260087501A1 26/03/2026
Solicitante: 
HONEYWELL INT INC [US]
Honeywell International Inc
US_20260087501_A1

Resumen de: US20260087501A1

Various embodiments described herein relate to providing and/or employing a system and a method for tracking emissions in a facility. In this regard, inventory data associated with at least one of a product and a process is collected from a plurality of data sources. As a result, a Product Carbon Footprint (PCF) value associated with the at least one of the product and the process is determined based on the inventory data and corresponding emission factors. Based on at least one change in parameters of the inventory data, the inventory data is updated in real-time. As a result, an updated PCF value is determined in real-time based on the updated inventory data. Accordingly, the updated PCF value is displayed via a user interface of a display device.

SYSTEM AND METHOD FOR AUTOMATICALLY TRANSMITTING ALERT MESSAGES BASED ON TIME AND LOCATION MONITORING IN VEHICLE JOURNEY SUPERVISION

NºPublicación:  WO2026064569A1 26/03/2026
Solicitante: 
SAUDI ARABIAN OIL COMPANY [SA]
ARAMCO SERVICES COMPANY [US]
SAUDI ARABIAN OIL COMPANY,
ARAMCO SERVICES COMPANY
WO_2026064569_A1

Resumen de: WO2026064569A1

System and method adapted to: obtain a plurality of parameters for a planned journey of a vehicle associated with a computing device; determine, based on the plurality of parameters, whether the planned journey includes at least one special condition; when the planned journey includes at least one special condition, activating journey monitoring; the journey monitoring including: obtaining a location of the vehicle; comparing the obtained location to an expected location; when the obtained location exceeds a predetermined distance from the expected location, determining, in an iterative or recursive manner, whether an updated arrival time has been received from the computing device or the vehicle, when the updated arrival time has not been received after a predetermined time period, transmitting an alert to another computing device associated with an operator; and transmitting a request for emergency services when an iteration count for the determining is exceeded.

METHOD FOR CLOSED-LOOP AGRICULTURAL IRRIGATION

NºPublicación:  WO2026062059A1 26/03/2026
Solicitante: 
STOTZ IM UND EXP GMBH [DE]
STOTZ IM- UND EXPORT GMBH
WO_2026062059_A1

Resumen de: WO2026062059A1

A method for ecologically managing areas of agricultural land, comprising: Fertilizing and watering agricultural land according to requirements, and determining the locations and/or the amount of fertilization and/or watering and/or the growth stage of the cultivated crop plants, and transmitting the data.

A WIRELESS SERVER UNIT FOR USE IN A WAREHOUSE

NºPublicación:  WO2026062180A1 26/03/2026
Solicitante: 
TOYOTA MAT HANDLING MANUFACTURING SWEDEN AB [SE]
TOYOTA MATERIAL HANDLING MANUFACTURING SWEDEN AB
WO_2026062180_A1

Resumen de: WO2026062180A1

The disclosure relates to a wireless server unit (30) for use in a warehouse (1), wherein the wireless server unit is configured to; receive a vehicle signal (101) from a material handling vehicle (10), said vehicle signal indicating a current or a desired position of the vehicle relative to at least one aisle (20), process the vehicle signal (101) to generate an aisle status data (301) based on the vehicle signal (101), transmit the aisle status data (301) to the at least one material handling vehicle (10), wherein the aisle status data (301) indicate whether the material handling vehicle is granted or declined access to enter the aisle (20). The disclosure further relates to a material handling vehicle (10) for communicating with a wireless server unit (30) and a remote aisle access system for controlling access to material handling vehicles in a warehouse.

CONTROL DEVICE FOR CONTROLLING DISPLAY DEVICE PROVIDED AT SEAT

NºPublicación:  US20260087569A1 26/03/2026
Solicitante: 
FOOD & LIFE COMPANIES LTD [JP]
FOOD & LIFE COMPANIES LTD
US_20260087569_A1

Resumen de: US20260087569A1

A control device controls a display device provided at a seat, including a processor and memory storing instructions that cause the control device to display an order screen on the display device, which is used by a customer seated in the seat to order items. The order screen includes a moving display area that sequentially displays each of multiple images, including images of items available for ordering, moving in a predetermined direction along a lane. The instructions further cause the control device to accept settings of items subject to discount and the remaining quantity of such discounted items, and display images announcing the discounted items and images indicating the remaining quantity of discounted items as part of the multiple images in the moving display area of the order screen, when settings for the item subject to discount and the remaining quantity of the discounted item are received.

Deep Causal Learning for Continuous Testing, Diagnosis, and Optimization

NºPublicación:  US20260086514A1 26/03/2026
Solicitante: 
3M INNOVATIVE PROPERTIES COMPANY [US]
3M INNOVATIVE PROPERTIES COMPANY
US_20260086514_A1

Resumen de: US20260086514A1

A system and methods for multivariant learning and optimization repeatedly generate self-organized experimental units (SOEUs) based on the one or more assumptions for a randomized multivariate comparison of process decisions to be provided to users of a system. The SOEUs are injected into the system to generate quantified inferences about the process decisions. Responsive to injecting the SOEUs, at least one confidence interval is identified within the quantified inferences, and the SOEUs are iteratively modified based on the at least one confidence interval to identify at least one causal interaction of the process decisions within the system. The causal interaction can be used for testing, diagnosis, and optimization of the system performance.

SELF-POSITIONING OF ELECTRONIC SHELF LABEL (ESL) DEVICES THROUGH INTER-ESL LINKS

NºPublicación:  US20260086186A1 26/03/2026
Solicitante: 
QUALCOMM INCORPORATED [US]
QUALCOMM Incorporated
US_20260086186_A1

Resumen de: US20260086186A1

This disclosure provides systems, methods, and devices for Electronic Shelf Label (ESL) systems that support positioning of ESL devices. In a first aspect, a method includes: determining known positions of a first subset of ESL devices; receiving positioning measurements for each ESL device in a second subset of ESL devices; estimating a first position of each ESL device in the second subset based on the positioning measurements received for that ESL device and the known positions of the first subset; determining a positioning error associated with the first position of each ESL device in the second subset; and estimating a second position of each ESL device in the second subset based on the positioning error and additional positioning measurements received for that ESL device. Other aspects and features are also claimed and described.

SYSTEM AND METHODS FOR ASSET TRACKING, ASSET GROUPING, AND ERROR RECOVERY

NºPublicación:  US20260089469A1 26/03/2026
Solicitante: 
ZAINAR INC [US]
ZaiNar, Inc
US_20260089469_A1

Resumen de: US20260089469A1

A method includes, generating a schedule for an asset tag group, the schedule defining: a multicast trigger time for transmission of a multicast trigger to the asset tag group; and for each asset tag in the asset tag group, a transmit time succeeding receipt of the multicast trigger and unique to the asset tag, and a wake window intersecting the transmit time and the receipt of the multiact trigger. The method also includes, at the node network: broadcasting the multicast trigger; and, at an asset tag in the asset tag group, entering a wake mode; receiving the multicast trigger; transmitting a ranging signal; and entering the sleep mode. The method further includes, at the node network: receiving ranging signals from the asset tag group; and deriving locations of the asset tags in the asset tag group based on the ranging signals received by the node network.

USING A MACHINE-LEARNING MODEL TO GENERATE SUBSEQUENT ORDERS FOR PREVIOUSLY UNOBTAINED ITEMS

NºPublicación:  US20260087534A1 26/03/2026
Solicitante: 
MAPLEBEAR INC [US]
Maplebear Inc
US_20260087534_A1

Resumen de: US20260087534A1

An online system generates subsequent orders for users following failed attempts to purchase items. The online system receives a request to fulfill an order from a user device. The online system determines that an item from the order is unable to be fulfilled and generates a failed fulfillment signal for the item associated with the user. At a later time, the online system automatically generates a set of items for a subsequent order for the user, the set of items including at least one item substantially similar to the item that was unable to be fulfilled and predicted by a machine-learned model to be available. The online system transmits a notification to the user that the set of items is available for fulfillment.

SERVER DEVICE, PROVISION METHOD, AND RECORDING MEDIUM

NºPublicación:  US20260087450A1 26/03/2026
Solicitante: 
RAKUTEN GROUP INC [JP]
Rakuten Group, Inc
US_20260087450_A1

Resumen de: US20260087450A1

In a server device, an intermittent appender intermittently appends to a report file for a store, at predetermined time intervals, log information of a record newly generated or updated in a database. Upon receiving a request for download of the report file from a store terminal, a supplementary appender appends to the report file the log information after the previous appending by the intermittent appender. Upon start of appending by the supplementary appender, a provider causes the intermittent appender to hold appending, and upon completion of the appending by the supplementary appender, provides the store terminal with the report file. Upon completion of providing the report file by the provider, a resumer initializes the report file, and then cancels holding of the intermittent appender to cause the intermittent appender to resume the appending.

OPTIMIZING TRUCK LOADING OF PALLETS

NºPublicación:  US20260087446A1 26/03/2026
Solicitante: 
LINEAGE LOGISTICS LLC [US]
Lineage Logistics, LLC
US_20260087446_A1

Resumen de: US20260087446A1

This specification generally discloses technology for optimizing the loading of pallets on trucks and other sorts of vehicles. A pallet loading technique includes receiving pallet information for a shipment, the pallet information describing pallets to be included in the shipment, receiving vehicle constraint information for a vehicle, the vehicle constraint information describing rules for loading pallets on the vehicle, and determining candidate solutions for loading the pallets on the vehicle, each candidate solution (i) satisfying the rules for loading pallets on the vehicle, and (ii) defining, for each pallet to be included in the shipment, a respective position and orientation of the pallet on the vehicle. At least some of the candidate solutions are evaluated, one of the candidate solutions is selected, and the vehicle is loaded according to the selected candidate solution.

作業計画支援装置、作業計画支援方法、及び、作業計画支援プログラム

NºPublicación:  JP2026054195A 26/03/2026
Solicitante: 
パナソニックIPマネジメント株式会社
JP_2026054195_A

Resumen de: JP2026054195A

【課題】倉庫内の物品による保管コスト又は管理コストを考慮して、オペレーションの効率化を考慮しつつ、倉庫内における物品の保管場所移動の効率化を向上させる。【解決手段】物流倉庫における作業計画支援装置は、倉庫内の移動候補在庫それぞれについて、現在の在庫位置データと、移動先の位置データと、作業コストに関する評価指標と、保管コストに関する評価指標とを取得し、作業コストに関する評価指標を使って、現在位置と移動先それぞれの作業コストとそれらの差分である作業コスト評価値とを算出し、保管コストに関する評価指標を使って、現在位置と移動先それぞれの保管コストとそれらの差分である保管コスト評価値とを算出し、作業コスト評価値と前記保管コスト評価値とを使って、倉庫内の移動候補在庫から作業計画に含める移動作業候補を選択し、移動作業候補を表示部に出力する。【選択図】図1

情報処理システム、情報処理方法及びプログラム

NºPublicación:  JP2026053778A 26/03/2026
Solicitante: 
Freet株式会社
JP_2026053778_A

Resumen de: WO2024161705A1

Problem To provide an information processing system, for example, that can reduce the number of batteries managed as stock. Solution One aspect of the present invention provides an information processing system. The information processing system comprises at least one processor capable of executing a program so as to carry out each of the following steps. In an acquisition step, use information of each of first batteries, which are those of batteries that are mounted on a plurality of mobility devices and used, is acquired. The batteries further include at least one second battery that is managed as stock, and the second battery is charged in a charging center and is delivered to a yard after being charged. The mobility devices are configured such that the first battery can be replaced with the second battery in the yard. In a delivery control step, determination of a specific yard that is a yard to which the second battery is delivered from the charging center is controlled according to the use information.

運搬車両管理方法

NºPublicación:  JP2026054210A 26/03/2026
Solicitante: 
DOWAエコシステム株式会社
JP_2026054210_A

Resumen de: JP2026054210A

【課題】対策地域内廃棄物または放射性物質によって汚染された産業廃棄物を運搬する運搬車両を効率的に管理する方法を提供する。【解決手段】対策地域内廃棄物または放射性物質によって汚染された産業廃棄物を運搬し位置情報測定システムを搭載する運搬車両の集中管理を行うセンターが、運搬車両とセンターとの通信回線を介して、運搬車両の位置、運搬経路、および、チェックポイント通過時間を含む運搬情報を受信し、運搬情報をセンターの管理モニターに随時表示する、運搬車両管理方法。【選択図】図1

PROBABILISTIC EVENT TRIGGERING USING LOCATION DATA

NºPublicación:  US20260087445A1 26/03/2026
Solicitante: 
RADIUS NETWORKS INC [US]
Radius Networks, Inc
US_20260087445_A1

Resumen de: US20260087445A1

Techniques for determining an estimated time of arrival at a pickup location are discussed herein. For example, techniques may include receiving first location data from a user computing device approaching a pickup location, receiving data indicating when the device entered a virtual boundary associated with the pickup location, determining a location of the device when it was a particular time period away from entering the virtual boundary, associating the location with a discretized location of a map, applying a blurring function to generate a probability field indicating probability of entering the virtual boundary within the time period, using the probability field to determine probability of arriving at the pickup location within the particular time period, and triggering an action based on the probability meeting a threshold.

ARTIFICIAL INTELLIGENCE (AI) AGENTS BASED DATA PROCESSING IN ENTERPRISE APPLICATIONS DEVELOPED BY CODELESS PLATFORM

NºPublicación:  US20260087447A1 26/03/2026
Solicitante: 
NB VENTURES INC DBA GEP [US]
NB Ventures, Inc. dba GEP
US_20260087447_A1

Resumen de: US20260087447A1

The present invention provides a system and method for multi AI agent driven data processing in enterprise application developed by codeless platform. The invention includes one or more AI agents configured for processing one or more input received on conversational assistant interface. The invention includes triggering contextual processing of received input by orchestration agent interacting with multi-AI agents for executing a task identified from the received input.

DEEP LEARNING SYSTEM FOR DYNAMIC PREDICTION OF ORDER PREPARATION TIMES

NºPublicación:  US20260087306A1 26/03/2026
Solicitante: 
TOAST INC [US]
Toast, Inc
US_20260087306_A1

Resumen de: US20260087306A1

A system and method are provided for dynamically updating a digital menu using deep-learning-based preparation-time prediction. A first deep learning neural network generates item-level embeddings for menu items based on historical preparation time records. Actual and estimated item-level preparation time vectors are generated using cosine-similarity weighting across subsets of the historical data. A second deep learning neural network is trained using the item-level vectors, ground-truth preparation times, and normalized non-categorical metadata processed through dense vector layers and concatenation. The trained network is executed to generate predicted item-level preparation times for menu items currently available for ordering. An updated digital menu including the predicted item-level preparation times is generated and transmitted to a client device, and the digital menu is automatically updated in real time on the client device in response to changes in the predicted preparation times.

SYSTEMS AND METHODS FOR PERFORMING VENDOR-AGANOSTIC CTO/QTO (CONFIGURE TO ORDER/QUOTE TO ORDER)

NºPublicación:  AU2025226868A1 26/03/2026
Solicitante: 
INGRAM MICRO INC
Ingram Micro Inc
AU_2025226868_A1

Resumen de: AU2025226868A1

- 1 - Computerized systems and methods are described for managing vendor-agnostic configure-to-order (CTO) and quote-to-order (QTO) processes. A Real-Time Data Mesh (RTDM) is provided for aggregating, standardizing, and normalizing real-time data from various sources. A Single Pane of Glass User Interface (SPoG UI) facilitates dynamic interaction and visibility into vendor performance. An Advanced Analytics and Machine- Learning (AAML) Module analyzes product compatibility, optimizes pricing strategies, and predicts market trends. A Vendor-Agnostic CTO/QTO Integration Module (VACIM) includes a Process Standardization Engine and a Vendor Data Transformation Gateway to ensure uniformity across vendors. Methodologies within the invention automate data processing, integrate transformation gateways for data consistency, and employ rule engines driven by machine learning for decision-making, thereby streamlining vendor processes, enhancing scalability, and optimizing pricing strategies in a scalable, adaptable framework. Computerized systems and methods are described for managing vendor-agnostic configure-to-order (CTO) and quote-to-order (QTO) processes. A Real-Time Data Mesh (RTDM) is provided for aggregating, standardizing, and normalizing real-time data from various sources. A Single Pane of Glass User Interface (SPoG UI) facilitates dynamic interaction and visibility into vendor performance. An Advanced Analytics and Machine- Learning (AAML) Module analyzes product compatibili

ARTIFICIAL INTELLIGENCE AGENT USING LANGUAGE MODEL AND REINFORCEMENT LEARNING MODEL TO GUIDE PICKING PROCESS

NºPublicación:  WO2026064129A1 26/03/2026
Solicitante: 
MAPLEBEAR INC [US]
MAPLEBEAR INC
WO_2026064129_A1

Resumen de: WO2026064129A1

An artificial intelligence (Al) agent is disclosed that assists an entity to complete a task. The entity is assigned to complete a task. The Al agent monitors events to detect an occurrence of an event associated with the task. A machine learning model of the Al agent is prompted to generate a set of candidate actions based in part on the detected event and data about the entity. A reinforcement learning model of the Al agent scores each candidate action from the set to tailor the candidate actions to the entity. A scored action is selected as a recommended response to the event and is communicated to a client device of the entity which causes the entity to perform the selected action.

Wearable device for analytics data collection

NºPublicación:  AU2025230708A1 26/03/2026
Solicitante: 
AUGMODO INC
Augmodo Inc
AU_2025230708_A1

Resumen de: AU2025230708A1

A wearable device has a body with one or more connectors for coupling the body to a lanyard. A camera assembly is mounted on the body. The camera assembly includes a pair of cameras configured to capture images of an environment surrounding the wearable device. The wearable device also includes a network adapter to transmit data derived from the captured images to a processing system. ep w e a r a b l e d e v i c e h a s a b o d y w i t h o n e o r m o r e c o n n e c t o r s f o r c o u p l i n g t h e b o d y t o a e p l a n y a r d c a m e r a a s s e m b l y i s m o u n t e d o n t h e b o d y h e c a m e r a a s s e m b l y i n c l u d e s a p a i r o f c a m e r a s c o n f i g u r e d t o c a p t u r e i m a g e s o f a n e n v i r o n m e n t s u r r o u n d i n g t h e w e a r a b l e d e v i c e h e w e a r a b l e d e v i c e a l s o i n c l u d e s a n e t w o r k a d a p t e r t o t r a n s m i t d a t a d e r i v e d f r o m t h e c a p t u r e d i m a g e s t o a p r o c e s s i n g s y s t e m Local Network Wearable Device Wearable Device Base Station Wearable Device Wide Area Network Server Charging Dock Server Wide Area Network Base Station Charging Dock Local Network Wearable Wearable Device Device 110A Wearable 110N Device ep e p e r v e r i d e r e a a s e t a t i o n e a r a b l e e a r a b l e e a r a b l e

SYSTEM AND METHOD FOR CONTROLLING A FLEET OF UNMANNED AERIAL VEHICLES BASED ON MULTI-STAGE OPTIMIZATION

NºPublicación:  AU2024342243A1 26/03/2026
Solicitante: 
MITSUBISHI ELECTRIC RESEARCH LABORATORIES INC
MITSUBISHI ELECTRIC US
MITSUBISHI ELECTRIC RESEARCH LABORATORIES, INC,
MITSUBISHI ELECTRIC US
AU_2024342243_PA

Resumen de: AU2024342243A1

The present disclosure provides a system and a method for controlling a fleet of Unmanned Aerial Vehicles (UAVs) to perform a mission. The method comprises receiving request data for the mission, obtaining assignments corresponding to one or more UAVs of the fleet of UAVs, and obtaining assignment data corresponding to each assignment. The method further comprises determining an assignment for the one or more UAVs by performing a first stage of a multi-stage optimization subject to a first set of constraints and updating the first list of assignments by adding the determined assignment to the first list of assignments. The method further comprises determining a second list of assignments for the one or more UAVs by performing a second stage of the multi-stage optimization subject to a second set of constraints and controlling the one or more UAVs based on the second list of assignments.

DETECTING ERRORS BASED ON INTERACTIONS OF USERS OF AN ONLINE SYSTEM WITH PHYSICAL DEVICES

NºPublicación:  WO2026064025A1 26/03/2026
Solicitante: 
MAPLEBEAR INC [US]
MAPLEBEAR INC
WO_2026064025_A1

Resumen de: WO2026064025A1

An online system uses a trained machine-learning model to detect errors in catalog data based on interactions of users of the online system with physical carts. Upon receiving an interaction signal indicating an interaction by the user with a device in a location of a source or an action signal indicating an action in the location of the source, the online system applies the trained model to the interaction signal and/or the action signal to generate an error score for an item that indicates a likelihood of an error in relation to the item. Responsive to the error score being above a threshold score, the online system generates an error checking signal for confirming that the error is present. Responsive to the confirmation of the error, the online system generates a user interface that alerts about the error and requests an action to correct the error.

AUTOMATED DEVICE FOR CROSS-BORDER E-COMMERCE AND METHOD FOR CONTROLLING SAME

NºPublicación:  WO2026063564A1 26/03/2026
Solicitante: 
GOPHERSOFT INC [KR]
\uC8FC\uC2DD\uD68C\uC0AC \uACE0\uD37C\uC18C\uD504\uD2B8
WO_2026063564_A1

Resumen de: WO2026063564A1

An automated device for cross-border e-commerce and a method for controlling same are disclosed. The automated device according to one embodiment of the present invention comprises: a database that stores data; and a processor that controls the automated device, wherein the processor may, when a preset word representing a popular search term is identified while scraping a web page, extract keywords searched at a preset frequency or higher and store the keywords in the database, search a shopping platform using the extracted and stored keywords, store a shopping mall URL address searched on the shopping platform in the database, and store product data of the shopping mall in the database using the stored shopping mall URL address.

SYSTEM AND METHOD FOR SECURE PRODUCT TRACKING AND AUTHENTICATING USING GEO-TAGGING AND MACHINE-READABLE CODE INTEGRATION

NºPublicación:  WO2026062473A1 26/03/2026
Solicitante: 
KUNAPARAJU RAMBABU [IN]
KUNAPARAJU, Rambabu
WO_2026062473_A1

Resumen de: WO2026062473A1

A system for secure product tracking and authentication using geo-tagging and machine-readable code integration is disclosed. The system includes a first computing device comprises a geo-tag and code generation module that creates a unique geo-tag for each product, embedding authorized data such as licenses, permissions, and trademark registrations. This geo-tag is paired with a machine-readable code containing product-specific details and a time-stamp, which is then embedded onto the product's packaging by a connected packing machine. A second computing device allows users to track the product across the supply chain, displaying real-time information on the product's location, status, and authenticity. A server manages and analyzes this data in real-time, ensuring regulatory compliance and detecting potential tampering. A scanning device reads the machine-readable code at various checkpoints, updating the product's status and transmitting data to the server, where alerts and notifications are generated based on analyzed data.

METHOD AND SYSTEM FOR ORDER OPTIMIZATION

NºPublicación:  KR20260040734A 26/03/2026
Solicitante: 
쿠팡주식회사

Resumen de: KR20260040734A

본 개시의 실시 예에 따른 최적화 방법은 컴퓨팅 장치에 의해 수행되고, 제1 데이터를 제1 최적화 모델(optimizational model)에 입력하고, 상기 제1 최적화 모델로부터 출력된 데이터를 이용하여 제1 의사결정을 수행하는 단계; 및 상기 제1 의사결정 결과와 제2 데이터를 제2 최적화 모델에 입력하고, 상기 제2 최적화 모델로부터 출력된 데이터를 이용하여, 제2 의사결정을 수행하는 단계를 포함하고, 상기 제1 최적화 모델과 상기 제2 최적화 모델은 서로 다른 최적화 목표를 갖는다.

A METHOD AND SYSTEM FOR CLASSIFYING FOOD ITEMS

NºPublicación:  EP4715718A2 25/03/2026
Solicitante: 
WINNOW SOLUTIONS LTD [GB]
Winnow Solutions Limited
EP_4715718_PA

Resumen de: EP4715718A2

The present invention relates to a method for classifying food items. The method includes the steps of: capturing one or more sensor data relating to a food item event; and classifying the food item, at least in part, automatically using a model trained on sensor data. A system and software are also disclosed.

METHOD AND SYSTEM FOR CONTROLLING A SHIPMENT

NºPublicación:  EP4713857A1 25/03/2026
Solicitante: 
TELECOM ITALIA SPA [IT]
Telecom Italia SpA
WO_2024236436_PA

Resumen de: WO2024236436A1

Method for controlling a shipment, comprising: arranging a box (10), including: a main body (20), having an inner space (30); a visual detection tool (110) mounted to said main body (20) and configured to capture images portraying one or more objects contained in said inner space (30). The method further comprises performing at least one of a first control operation and a second control operation. The first control operation comprises: while the main body (20) is at least partly open and before shipping of the box (10) is started, capturing first images by said visual detection tool (110); making a first comparison between said first images and first reference data, the first reference data being representative of features expected for the one or more objects (X) contained in the inner space (30); generating a first notification signal (NS1) based on said first comparison. The second control operation comprises: during shipment of the box (10), capturing second images by said visual detection tool (110); making a second comparison between said second images and second reference data, the second reference data being representative of safe conditions of the one or more objects (X) contained in the inner space (30); generating a second notification signal based (NS2) on said second comparison. Also discloses is a system (1) for controlling a shipment.

在庫管理システムおよび方法

NºPublicación:  JP2026053386A 25/03/2026
Solicitante: 
シンボティックリミテッドライアビリティカンパニー
JP_2026053386_A

Resumen de: US2025156808A1

An automated supply chain for end to end tracking of eaches, comprising: one or more distribution centers for receiving eaches and delivering the eaches to a market; one or more of pallets, cases and totes for transporting the eaches, the one or more of pallets, cases and totes comprising tracking systems; a plurality of robots at the one or more distribution centers for sorting the eaches for shipment between the one or more distribution centers and the market; a unified commerce engine (UCE) comprising at least one processor and at least one non-transitory memory including computer program code, the UCE configured to receive and store identification information from the tracking systems, the UCE tracking locations of the eaches within the pallets, cases and totes in each of the one or more distribution centers from receipt from the manufacturer to delivery to the market using the identification information.

搬送システム、制御装置及び制御方法

NºPublicación:  JP2026052989A 25/03/2026
Solicitante: 
株式会社日立製作所
JP_2026052989_A

Resumen de: JP2026052989A

【課題】作業効率及び/又は搬送効率を向上可能な、物品属性(例えばサイズ又は重量)が異なる複数の物品についての収容体への保管を行う。【解決手段】制御装置は、作業対象の物品について、当該物品の物品属性を、当該物品に対応の間口に入庫された当該物品の格納数、又は、当該物品の作業単位のサイズに基づき決定し、決定された物品属性と対応する収容体属性の収容体を選択し、当該収容体を複数の作業ステーションのうちの一の作業ステーションに搬送することの移動指示を、搬送装置に送信する。【選択図】図6

組み込みシステム

NºPublicación:  JP2026509836A 25/03/2026
Solicitante: 
ストロングフォースティエクスポートフォリオ2018,エルエルシー
JP_2026509836_A

Resumen de: WO2024186954A2

A system may include a data classification module configured to classify data into classified data based on predefined sensitivity levels and regulatory compliance requirements. A system may include an access control module configured to manage permissions for different user roles within an enterprise, granting access to the classified data in accordance with the sensitivity levels and regulatory compliance requirements. A system may include a data formatting module configured to format classified data into formatted data with customized presentations for various enterprise departments. A system may include an integration module configured to interface with at least one of an Enterprise Resource Planning (ERP) system or a Customer Relationship Management (CRM) system to retrieve and classify the data. A system may include a user interface module configured to present the formatted data within the host application, providing a seamless user experience for accessing the embedded marketplace.

SYSTEM AND METHOD FOR PRODUCT CARBON FOOTPRINT (PCF) ASSESSMENT

NºPublicación:  EP4715702A1 25/03/2026
Solicitante: 
HONEYWELL INT INC [US]
Honeywell International Inc
EP_4715702_PA

Resumen de: EP4715702A1

Various embodiments described herein relate to providing and/or employing a system and a method for tracking emissions in a facility. In this regard, inventory data associated with at least one of a product and a process is collected from a plurality of data sources. As a result, a Product Carbon Footprint (PCF) value associated with the at least one of the product and the process is determined based on the inventory data and corresponding emission factors. Based on at least one change in parameters of the inventory data, the inventory data is updated in real-time. As a result, an updated PCF value is determined in real-time based on the updated inventory data. Accordingly, the updated PCF value is displayed via a user interface of a display device.

DE-PERSONALIZED SECURITY SCREENING IMAGE TRANSFER

NºPublicación:  EP4713900A1 25/03/2026
Solicitante: 
MATEER CRAIG [US]
Mateer, Craig
KR_20260013454_PA

Resumen de: AU2024273429A1

Embodiments include systems and method to display a graphical user interface (GUI) to register a missing or mishandled luggage item of a passenger. The systems and methods access a memory device that has a security screening image (SSI) of the luggage item of the passenger via the GUI. The SSI being accessible by a unique identifier. The systems and method on a display device via the GUI the accessed SSI representative of the contents within a volume of space within the luggage item. The systems and method validate the unique identifier and at least one object of the contents to match the missing or mishandled luggage item with the passenger.

SYSTEM AND METHOD FOR TRAINING AN ARTIFICIAL INTELLIGENCE MODEL WITH DE-PERSONALIZED SECURITY SCREENING IMAGE

NºPublicación:  EP4713899A1 25/03/2026
Solicitante: 
MATEER CRAIG [US]
Mateer, Craig
KR_20260013454_PA

Resumen de: AU2024273429A1

Embodiments include systems and method to display a graphical user interface (GUI) to register a missing or mishandled luggage item of a passenger. The systems and methods access a memory device that has a security screening image (SSI) of the luggage item of the passenger via the GUI. The SSI being accessible by a unique identifier. The systems and method on a display device via the GUI the accessed SSI representative of the contents within a volume of space within the luggage item. The systems and method validate the unique identifier and at least one object of the contents to match the missing or mishandled luggage item with the passenger.

IDENTIFYING SECURITY SCREENING IMAGE CONTENTS

NºPublicación:  EP4713898A2 25/03/2026
Solicitante: 
MATEER CRAIG [US]
Mateer, Craig
KR_20260013454_PA

Resumen de: AU2024273429A1

Embodiments include systems and method to display a graphical user interface (GUI) to register a missing or mishandled luggage item of a passenger. The systems and methods access a memory device that has a security screening image (SSI) of the luggage item of the passenger via the GUI. The SSI being accessible by a unique identifier. The systems and method on a display device via the GUI the accessed SSI representative of the contents within a volume of space within the luggage item. The systems and method validate the unique identifier and at least one object of the contents to match the missing or mishandled luggage item with the passenger.

OPTIMIZED REFILL ROUTE PLANNING AND RESOURCE OFFSET CALCULATOR

NºPublicación:  EP4713855A1 25/03/2026
Solicitante: 
ECOTANK HOLDINGS INC [CA]
Ecotank Holdings Inc
WO_2024234094_PA

Resumen de: WO2024234094A1

Systems and methods relating to the determination of locations to be visited in a refill trip as well as the generation of an optimized route for that refill trip. A system gathers data from locations with refillable bulk dispensing containers that dispense product to customers. The fill levels and/or dispense rates for those refillable bulk dispensing containers are determined and fill levels are projected based on the data gathered. Each location's refillable bulk dispensing containers are assessed against criteria for inclusion in a refill list. If the refillable bulk dispensing container conforms to the criteria, then the location for that refillable bulk dispensing container is added to the refill list. Once the list is complete, a routing for the refill trip is determined based on the optimization of one or more parameters for the refill trip. The optimized routing can then be mapped and downloaded to a driver/user's device.

COMPUTER-IMPLEMENTED METHOD FOR DETERMINING AT LEAST ONE PHYSICAL STATE OF A FARM ANIMAL TO BE CHECKED

NºPublicación:  EP4712766A1 25/03/2026
Solicitante: 
SMAXTEC ANIMAL CARE GMBH [AT]
smaXtec animal care GmbH
CN_121568599_PA

Resumen de: WO2025072987A1

The invention relates to a computer-implemented method for determining at least one physical state of a farm animal (2) to be checked at a checking time (T1), comprising: determining temporally successive values of at least one physical parameter within the gastrointestinal tract (3) of the farm animal (2) to be checked by a probe device arranged therein (1); transferring the values to an evaluation unit (12); determining the likelihood of the existence of at least one physical state of the farm animal (2) to be checked by applying a trained artificial neural network to the transferred values; and generating a message about the existence of a physical state of the farm animal (2) to be checked at the checking time (T1) when the likelihood determined in step c) exceeds a predefined threshold value, wherein information about the performing of herd management measures and farm animals (2) affected by this is stored in the evaluation unit (12) and before the likelihood is determined, a check is carried out to determine whether the time (TH) of performing herd management measures falls within the checking period (TR) and the farm animal (2) to be checked is affected by the herd management measure, wherein if the time (TH) of performing the herd management measure falls in the checking period (TR) and the farm animal (2) to be checked is affected, the values determined in step a) which fall in a predefined time interval after the time (TH) of the herd management measure are removed

A WIRELESS SERVER UNIT FOR USE IN A WAREHOUSE

NºPublicación:  EP4714891A1 25/03/2026
Solicitante: 
TOYOTA MAT HANDLING MANUFACTURING SWEDEN AB [SE]
Toyota Material Handling Manufacturing Sweden AB
EP_4714891_PA

Resumen de: EP4714891A1

The disclosure relates to a wireless server unit (30) for use in a warehouse (1), wherein the wireless server unit is configured to; receive a vehicle signal (101) from a material handling vehicle (10), said vehicle signal indicating a current or a desired position of the vehicle relative to at least one aisle (20), process the vehicle signal (101) to generate an aisle status data (301) based on the vehicle signal (101), transmit the aisle status data (301) to the at least one material handling vehicle (10), wherein the aisle status data (301) indicate whether the material handling vehicle is granted or declined access to enter the aisle (20). The disclosure further relates to a material handling vehicle (10) for communicating with a wireless server unit (30) and a remote aisle access system for controlling access to material handling vehicles in a warehouse.

SYSTEMS, MEDIA, AND METHODS FOR AUTOMATED PLANOGRAM GENERATION

NºPublicación:  EP4713859A1 25/03/2026
Solicitante: 
3M INNOVATIVE PROPERTIES COMPANY [US]
3M Innovative Properties Company
CN_121127872_PA

Resumen de: CN121127872A

A method includes generating a plurality of candidate shelf maps based on a plurality of current design rules, and outputting a graphical representation of each of a subset including the plurality of candidate shelf maps. The method further includes receiving a classification input to place each candidate shelf map in the subset within one of the plurality of categories, and creating and outputting a candidate rule based on at least one of the categories. The method also includes receiving a rule input specifying a plurality of candidate design rules to be retained. The method further includes inputting and outputting an updated subset of the candidate shelf maps based on the received design rules, and outputting a graphical representation of the at least one final shelf map.

ONLINE SERVICE PROVIDER (OSP) DETERMINING A RESOURCE CODE BASED ON ONE OR MORE ATTRIBUTES OF AN ITEM ASSOCIATED WITH A RELATIONSHIP INSTANCE

NºPublicación:  EP4713798A1 25/03/2026
Solicitante: 
AVALARA INC [US]
Avalara, Inc
AU_2024271087_PA

Resumen de: AU2024271087A1

Systems and method electronically generate a resource code for an item based on attributes of the item and a proposed relationship instance associated with the item. Entities are often required to identify a resource code for items that move between jurisdictions. The systems and methods described herein allow entities to easily obtain resource codes for items moving between jurisdictions.

バリューチェーンネットワークのためのコントロールタワーおよびエンタープライズマネジメントプラットフォーム

NºPublicación:  JP2026053654A 25/03/2026
Solicitante: 
ストロングフォースヴィーシーエヌポートフォリオ2019,エルエルシー
JP_2026053654_A

Resumen de: CN115699050A

A value chain system providing suggestions for designing a logistics system generally includes a machine learning system that trains a machine learning model that outputs logistics design suggestions based on a training data set, the training data sets respectively define one or more features of a corresponding logistics system and a result related to the corresponding logistics system: an artificial intelligence system for receiving a logistics system design suggestion request and determining a logistics system design suggestion based on one or more of the machine learning models and the request; and a digital twinning system that generates an environmental digital twinning of a logistics environment and one or more physical asset digital twinning of physical assets, the logistics environment including the logistics system design suggestion. The digital twinning system performs a simulation based on the logistics environment digital twinning and the one or more physical asset digital twinning.

一种电子信息产业链断供风险的动态评估方法及系统

NºPublicación:  CN121724552A 24/03/2026
Solicitante: 
南京邮电大学
CN_121724552_PA

Resumen de: CN121724552A

本发明的一种电子信息产业链断供风险的动态评估方法及系统,方法包括以下步骤:构建动态演化的电子信息产业链知识图谱,根据多源异构风险数据建立边权重动态演化模型,系统显著增强了对突发性、隐性断链风险的捕捉能力;从知识图谱中提取实时参数,计算求解包括节点内生脆弱性、链路拓扑依赖性以及外部环境冲击度在内的三维正交特征,建立多维断供风险动态评估指标体系,输出高风险信号,将高风险信号作为初始激扰注入知识图谱中,模拟由于库存耗尽引发的纵向短缺传导以及由于订单转移引发的横向过载挤兑,使得系统能够精准预估风险传导至终端的具体时延,为企业与管理部门提供了黄金窗口期内的科学决策依据。

路径规划方法、设备、程序产品及存储介质

NºPublicación:  CN121724528A 24/03/2026
Solicitante: 
拉扎斯网络科技(上海)有限公司
CN_121724528_PA

Resumen de: CN121724528A

本说明书提供一种路径规划方法、设备、程序产品及存储介质,该方法中深度学习模型包括编码器和解码器;编码器用于根据图结构生成包含各节点的节点嵌入的图嵌入;解码器用于在第t时间步,预测所述第t时间步的预测节点yt,以得到包含各时间步的预测节点的配送路径;方法包括:在解码器预测出所述预测节点yt之后,更新预测节点yt的预计承诺时间;基于所述预测节点yt的更新后的预计承诺时间,更新所述预测节点yt的节点嵌入以及更新图嵌入,以使所述解码器根据更新后的图嵌入和所述预测节点yt的更新后的节点嵌入,执行第t+1时间步的对预测节点yt+1的预测。

一种仓储调度仿真方法及系统

NºPublicación:  CN121723638A 24/03/2026
Solicitante: 
深圳市渐近线科技有限公司
CN_121723638_PA

Resumen de: CN121723638A

本发明涉及仓储物流调度技术领域,公开了一种仓储调度仿真方法及系统,所述方法包括:获取任务执行与叉车状态数据,构建反映任务分配与叉车运行依赖的因果关系图;对比任务数据与基准检测延误,并分析因果图定位偏差来源;根据分析结果调整叉车运行策略,生成包含实时备用注入时序的运行计划;执行计划并监控,锁定稳定调度参数;利用稳定配置及历史数据预测任务量,生成预防性策略并动态调整备用注入计划,形成自适应调整机制。本发明能够实现仓储调度中偏差来源的精准定位、策略的动态自适应调整以及整体效率的持续优化。

一种基于移动端的离线固定资产盘点方法

NºPublicación:  CN121724538A 24/03/2026
Solicitante: 
通号信息产业有限公司
CN_121724538_A

Resumen de: CN121724538A

本发明涉及一种基于移动端的离线固定资产盘点方法,包括:S1,基于移动端的客户端,从服务端提供的下载接口下载固定资产盘点的离线任务文件,所述离线任务文件中携带由待盘点的设备清单和历史设备信息;S2,移动端获取设备清单中指定设备的设备信息,并根据与历史设备信息的比较结果进行修改,将修改后的离线任务文件保存在移动端本地;S3,在移动端与服务端建立网络连接后,移动端将本地保存的离线任务文件上传至服务端。

一种食材管理方法及系统

NºPublicación:  CN121724533A 24/03/2026
Solicitante: 
浙江绍兴苏泊尔生活电器有限公司
CN_121724533_PA

Resumen de: CN121724533A

本说明书提出一种食材管理方法及系统。食材管理方法包括:获取储物装置发送的储物装置内部存储的食材的状态信息,储物装置主动感知食材状态,智能体通过食材的状态信息准确掌握食材的新鲜度,避免食材因过期变质而浪费。同时,智能体根据食材的新鲜度判断需优先处理的食材,结合用户拥有的能够执行烹饪的至少一个烹饪设备的设备信息,生成适用于当前烹饪设备的菜谱,并主动推送推荐菜谱列表给执行目标推荐菜谱的目标烹饪设备,提醒用户合理利用即将过期的食材,从而使目标烹饪设备执行目标推荐菜谱相应的烹饪程序,实现有效的食材管理。

面单获取的方法、装置、设备和计算机可读介质

NºPublicación:  CN121724518A 24/03/2026
Solicitante: 
北京京东远升科技有限公司
CN_121724518_PA

Resumen de: CN121724518A

本公开的实施例提供一种面单获取的方法、装置、设备和计算机可读介质。在此描述的方法包括:响应于接收到包括至少一个包裹信息的订单,向面单提供端发送订单和第一面单获取请求,第一面单获取请求指示面单提供端在订单指示预定数目个包裹信息的情况下提供第一面单,第一面单包括预定数目个包裹信息;响应于在第一时间段内从面单提供端接收到第一面单,保存第一面单;以及响应于在第一时间段内从面单提供端未接收到第一面单,向面单提供端重新发送订单和第一面单获取请求。由此,可以在包裹被拣取打包之前快速获取面单,极大地减少了面单获取的时间延迟对仓库生产的影响。

面向多租户的自适应库存管理方法及装置

NºPublicación:  CN121724550A 24/03/2026
Solicitante: 
蒲惠智造科技股份有限公司
CN_121724550_PA

Resumen de: CN121724550A

本申请公开了一种面向多租户的自适应库存管理方法及装置,方法包括:接收来自目标租户的库存操作请求,该请求携带目标租户标识、操作类型;获取目标租户标识对应的目标管控模式,包括强制来源模式、弱来源模式、有来源与无来源并存模式,强制来源模式允许创建与上游订单关联的单据,弱来源模式允许创建多来源单据且自动调整流程节点,有来源与无来源并存模式同时允许有来源和无来源操作;根据目标管控模式,调整预设业务流程节点的操作权限,得到适配请求的目标业务流程节点;基于操作类型、目标业务流程节点,更新库存状态,得到库存操作执行结果。采用本申请,可适应不同规模和业务模式的中型企业需求,能适配多租户下两类单据的差异化需求。

一种面向物流领域的数据对象生成方法、设备及介质

NºPublicación:  CN121722839A 24/03/2026
Solicitante: 
临沂大学
CN_121722839_PA

Resumen de: CN121722839A

本申请实施例公开了一种面向物流领域的数据对象生成方法、设备及介质,属于数据处理技术领域,解决传统数据流通模式中数据要素难以实现安全、高效和可控的价值转化的问题。包括,将获取到的物流业务相关的原始数据接入数据沙箱,对原始数据进行脱敏与预处理,生成物流数据资源;基于预置数据质量指标与物流行业知识图谱,对物流数据资源进行加权处理,生成组态数据对象;通过预置大语言模型对物理数据资源进行解析,基于解析结果进行模型训练,将训练得到的物流数据处理模型及其相关元数据封装为模态数据对象;基于预置权限分配策略与数字对象接口协议,将组态数据对象与模态数据对象进行封装,并通过数字对象接口协议接口提供数据调用服务。

一种支持断电归还的共享充电宝管理系统及方法

NºPublicación:  CN121727220A 24/03/2026
Solicitante: 
深圳博能迪科技有限公司
CN_121727220_PA

Resumen de: CN121727220A

本发明涉及共享设备技术领域,且公开了一种支持断电归还的共享充电宝管理系统及方法,包括机柜、多个充电仓、适配充电仓的充电宝及云端服务器;机柜集成主控模块、位于充电仓中的锁止机构、供电检测模块、通信模块、能源调度模块和非易失性存储模块;充电宝集成充电电池模块、双向供电接口、电量检测单元和本地存储单元;云端服务器配置反供电策略管理平台;通过供电检测模块实时监测市电状态并反馈至主控模块,当市电断电时,能源调度模块响应云端下发的调度指令,筛选符合预设条件的充电宝,控制其通过双向供电接口向机柜核心单元反向供电,主控模块启动断电归还模式,控制锁止机构锁定充电宝,完成充电宝锁定与双冗余数据存储。

一种基于数字孪生的锂矿石柔性仓储系统及其控制方法

NºPublicación:  CN121724545A 24/03/2026
Solicitante: 
广东臻毅科技有限公司
CN_121724545_PA

Resumen de: CN121724545A

本发明提供一种基于数字孪生的锂矿石柔性仓储系统及其控制方法,属于智能仓储技术领域。本发明通过构建基于计算机仿真的数字孪生模型,使得取料决策从基于粗略区域平均值的估算,转变为基于三维空间点位品位的精确计算,为下游工序提供了高度稳定的原料供给,保障了生产链的整体效益,通过将实时感知、物理仿真和优化算法进行协同集成,能提供孤立的表面或瞬时数据,将数据作为物理仿真模型的动态边界和输入,得到内部品位分布图,成为连接感知与控制的智能中枢,使得整个仓储系统从缓冲库转变为具有预测和主动规划能力的智能调度中心,通过在物理作业后利用真实数据对计算机仿真模型进行持续的闭环校正,保证了数字孪生体长期运行的保真度。

振动温度一体化变送器全生命周期数据溯源与管理方法

NºPublicación:  CN121724273A 24/03/2026
Solicitante: 
江阴信和电力仪表有限公司
CN_121724273_PA

Resumen de: CN121724273A

本发明属于工业智能监测与数据处理技术领域,具体涉及振动温度一体化变送器全生命周期数据溯源与管理方法,其方法包括:得到变送器固有属性和变送器基准参数;获得生命信用总额、预设时间内变送器工作时的实时振动值序列和实时温度值序列;计算工况修正因子、当前综合损耗率、平均损耗率及趋势因子、剩余使用寿命;基于剩余使用寿命大小,管理系统自动触发精准维护并进行事件记录;基于事件记录集合,生成分析报告和备件采购建议。本发明通过双重应力模型将物理损耗转化为可视化的数字账户余额,实现了从按时间折旧到按工况折旧的转变,提升了设备管理的科学性和安全性。

一种地质标本库房智能管理系统

NºPublicación:  CN121724539A 24/03/2026
Solicitante: 
湖北省地质科学研究院(湖北省富硒产业研究院)
CN_121724539_PA

Resumen de: CN121724539A

本发明公开了一种地质标本库房智能管理系统,涉及库房环境管理领域,包括:建档模块,用于采集地质标本的类别、编号、储存位置及适配环境参数信息,建立标本‑环境‑位置关联数据库;比对模块,用于实时采集库房内温湿度、气体成分、光照强度,与标本适配环境参数进行靶向比对;本发明通过采集地质标本相关信息与库房环境参数,建立多维度关联,通过靶向比对实时判断储存环境适宜性,分级预警及时推送关键信息,联动调控组件定向修正不适配参数,并以智能规划巡检路径并优先覆盖高风险标本,既保障标本储存环境稳定适配,减少风化损坏,延长保存寿命,又降低人工巡检与调控的盲目性,提升管理效率与精准度。

검사될 가축의 적어도 하나의 신체 상태를 결정하기 위한 컴퓨터 구현 방법

NºPublicación:  KR20260040321A 24/03/2026
Solicitante: 
스맥스텍애니멀케어게엠베하
CN_121568599_PA

Resumen de: WO2025072987A1

The invention relates to a computer-implemented method for determining at least one physical state of a farm animal (2) to be checked at a checking time (T1), comprising: determining temporally successive values of at least one physical parameter within the gastrointestinal tract (3) of the farm animal (2) to be checked by a probe device arranged therein (1); transferring the values to an evaluation unit (12); determining the likelihood of the existence of at least one physical state of the farm animal (2) to be checked by applying a trained artificial neural network to the transferred values; and generating a message about the existence of a physical state of the farm animal (2) to be checked at the checking time (T1) when the likelihood determined in step c) exceeds a predefined threshold value, wherein information about the performing of herd management measures and farm animals (2) affected by this is stored in the evaluation unit (12) and before the likelihood is determined, a check is carried out to determine whether the time (TH) of performing herd management measures falls within the checking period (TR) and the farm animal (2) to be checked is affected by the herd management measure, wherein if the time (TH) of performing the herd management measure falls in the checking period (TR) and the farm animal (2) to be checked is affected, the values determined in step a) which fall in a predefined time interval after the time (TH) of the herd management measure are removed

화물 체적 실시간 온라인 식별 방법, 시스템, 기기 및 매체

NºPublicación:  KR20260040314A 24/03/2026
Solicitante: 
항저우란신로보틱스컴퍼니리미티드
WO_2025039766_A1

Resumen de: WO2025039766A1

The present application relates to a real-time online cargo volume recognition method, system, and device, and a medium. The method comprises: collecting, by means of a camera, a depth image and a color image of a set area comprising a cargo; introducing a median filter to remove noise pixels in the depth image, and aligning the color image with the filtered depth image on the basis of internal and external parameters of the camera to obtain an aligned color image; on the basis of color, light, and grayscale differences between the cargo and a non-cargo object, using a pre-trained YOLACT model to perform instance segmentation on the aligned color image, and generating a cargo mask; and performing edge fitting, surface extraction, and background separation of the cargo by means of the aligned color image, the filtered depth image and the cargo mask, so as to determine the volume of the cargo. Thus, the present application has high stability and robustness, reliable data can be obtained regardless of the placement location and the placement direction of a cargo, and the working efficiency can be improved.

부품 수요 예측 장치

NºPublicación:  KR20260040441A 24/03/2026
Solicitante: 
히다찌겐끼가부시키가이샤
CN_121666594_PA

Resumen de: JP2025123870A

To provide a technique of precisely predicting demands of components even if the number of order reception history data sets about the components is small.SOLUTION: A component demand prediction method according to the present invention separates order reception logs into order reception-use purpose data and use purpose-component data, and predicts an interval of reception orders of a component item for each use purpose on the basis of the order reception-use purpose data.SELECTED DRAWING: Figure 5

Multiple kitchen appliance service provision devices and programs

NºPublicación:  KR20260040476A 24/03/2026
Solicitante: 
배선아

Resumen de: KR20260040476A

본 발명의 실시예에 따르면, 복수의 주방제품 서비스 제공 장치 및 프로그램이 개시된다. 상치 장치는, 복수의 주방 단말들 각각으로부터 상기 주방 단말들 각각의 사용자가 판매하는 음식에 대한 정보를 포함하는 복수의 메뉴 정보들을 수신하고, 수신된 상기 메뉴 정보들에 기초하여 상기 주방 단말들 사이의 메뉴 유사도를 산출하는 메뉴 관리부, 상기 주방 단말들 각각과 대응하는 배달영역을 복수의 세부 배달영역들로 분리하고, 상기 세부 배달영역들 각각과 대응하는 복수의 배달그룹들을 결정하며, 상기 세부 배달영역들 각각에서 상기 주방 단말들 중 어느 하나에 대해 발생된 복수의 주문들의 수량을 카운팅하고, 상기 세부 배달영역들 중 상기 수량이 가장 많이 발생된 세부 배달영역과 대응하는 배달그룹을 상기 어느 하나와 대응하도록 결정하는 배달그룹 매칭부 및 상기 주방 단말들에 대해 발생된 복수의 주문들 각각과 대응하는 예상완성시각 및 배송지에 기초하여, 상기 주방 단말들에 대해 발생된 복수의 주문들 중 두개 이상의 주문들에 대한 묶음배달 여부를 결정하는 묶음배달 생성부를 포함할 수 있다.

OpenCV High-Density Vision Address Encoding System based on OpenCV Geometric Coordinates and Multi-Symbol Mapping

NºPublicación:  KR20260040389A 24/03/2026
Solicitante: 
조익연
KR_20260036493_PA

Resumen de: KR20260040389A

본 발명은 OpenCV 비전 처리를 활용한 고밀도 주소 인코딩 시스템인 V-MAP에 관한 것이다. L자형 가이드를 이용한 실시간 원근 보정 기술과 도형, 색상, 8방향 회전 각도를 결합한 다중 매핑 기술을 통해 초고용량 데이터 인코딩을 실현한다. 이를 통해 잉크 소모를 최소화하면서도 글로벌 주소 체계를 통합 수용할 수 있는 고속 물류 자동화 솔루션을 제공한다.

一种基于ERP软件的电商平台店铺管理方法

NºPublicación:  CN121724706A 24/03/2026
Solicitante: 
浙江云枢创悦科技有限公司
CN_121724706_PA

Resumen de: CN121724706A

本发明属于电商平台店铺管理技术领域,具体公开提供的一种基于ERP软件的电商平台店铺管理方法,本发明通过流式预处理管道和预置的平台专属映射规则库,解决了新增平台或平台字段调整时需重构中间件逻辑导致的灵活性极差以及无法适配电商业务快速迭代需求的问题,避免了传统批处理的数据积压;通过将结构化订单记录发布至消息队列,业务单元之间无直接依赖,提升了方案稳定性,避免了因单一节点故障引发全链路崩溃;通过生产调度单元和采购管理单元分别实现了库存智能调度和智能补货,避免了库存积压或缺货,并且针对库存调度时分场景设定调度方案,降低了跨仓库调拨成本,解决了库存周转慢、运营成本高的问题。

电池调度方法、电子设备、电池调度系统及存储介质

NºPublicación:  CN121724363A 24/03/2026
Solicitante: 
浙江吉利控股集团有限公司吉利汽车研究院(宁波)有限公司
CN_121724363_PA

Resumen de: CN121724363A

本申请公开了一种电池调度方法、电子设备、系统、存储介质及计算机产品,涉及车辆技术领域,具体包括:确定热点区域换电站内待替换的第一标准化电池;确定第一目标无人驾驶车辆,其中,第一目标无人驾驶车辆包含用于替换第一标准化电池的第二标准化电池;控制第一目标无人驾驶车辆到达热点区域换电站,并在热点区域换电站内将第二标准化电池替换为第一标准化电池;控制第一目标无人驾驶车辆将第一标准化电池运输至非热点区域换电站。采用本申请能够平衡热点区域换电站和非热点区域换电站之间的负荷平衡,防止区域负荷失衡的情况出现,进而提升了电池的整体周转效率,防止电池资产闲置浪费。

一种基于物联网的码头运营全流程监控系统

NºPublicación:  CN121724551A 24/03/2026
Solicitante: 
上海鼎为物联技术有限公司
CN_121724551_PA

Resumen de: CN121724551A

本发明公开了一种基于物联网的码头运营全流程监控系统,涉及码头运营技术领域,包括构建由货物类型关联、多尺度箱位粒度生成、箱位粒度量化、虚拟箱位映射沙盘仿真、箱位粒度奖励及最优箱位粒度筛选组成的完整技术链路。通过分析历史翻箱作业中箱位占用变化与货物类型特征,自适应生成多种箱位划分粒度,并在虚拟沙盘中推演翻箱、箱位重构及出入场过程,结合强化学习评估不同粒度对作业连续性与稳定性的影响,最终筛选适用于当前运营阶段的最优箱位划分粒度,实现对堆场空间可操作性的动态监控与优化,解决了现有码头运营监控中难以准确刻画堆场空间可操作性、导致翻箱复杂度评估失真和作业策略稳定性不足的问题。

一种低碳混匀配料Block计划生成方法及系统

NºPublicación:  CN121724537A 24/03/2026
Solicitante: 
中冶南方工程技术有限公司
CN_121724537_PA

Resumen de: CN121724537A

本发明公开了一种低碳混匀配料Block计划生成方法及系统。在该方法在,获取包含物料库存、成分、价格及全生命周期碳排放因子的第一类型数据;获取包含混匀大堆计划总需求量及碳排放总量上限的第二类型数据;基于第二类型数据构建Block计划生成模型,Block计划生成模型以单个Block计划的成本与碳排放加权综合效益最大化为目标函数,并以物料种类数量范围、关键化学成分一致性、库存及碳排放总量为约束条件;将第一类型数据和第二类型数据输入至Block计划生成模型,采用粒子群优化算法对Block计划生成模型进行求解,生成物料总成本优化后的Block计划。本发明将全生命周期碳排放作为关键优化目标与约束条件,实现了混匀配料过程中经济效益与环境效益的协同优化。

一种城市低空物流片区级无人机起降场选址优化方法

NºPublicación:  CN121724524A 24/03/2026
Solicitante: 
东南大学
CN_121724524_PA

Resumen de: CN121724524A

本发明公开了一种城市低空物流片区级无人机起降场选址优化方法,首先采用基于栅格的低空出行需求分析方法得出低空出行需求,以需求覆盖率最大化和总体成本最小化为目标,建立了片区级无人机起降场选址优化模型;综合考虑数量限制、服务半径限制、容量限制及地理限制等多种约束条件,设计NSGA‑II算法进行求解,确定片区级起降场数量、起降场位置及无人机配置,并输出一系列最优解集。决策者根据需求偏好选择具体的选址方案,从而提高城市片区级起降场选址布局的覆盖效率与建设经济性。本发明解决了传统设施规划难以通过单目标或权重化处理,及各片区覆盖率不均导致整体服务水平低下的问题。

基于IoT的动态运输路径优化方法

NºPublicación:  CN121724531A 24/03/2026
Solicitante: 
杭州牛书科技有限公司
CN_121724531_PA

Resumen de: CN121724531A

本发明公开了基于IoT的动态运输路径优化方法,属于智能交通与运输调度技术领域,包括以下步骤:步骤1、多源数据采集;步骤2、数据预处理;步骤3、路径规划;步骤4、动态事件响应与重新规划;步骤5、多车协同调度优化。通过基于IoT的动态运输路径优化方法,能够覆盖运输路径优化的各个环节,不仅关注车辆实时位置与速度,还纳入瞬时油耗、实时载重与道路拥堵等多维数据,并深度融合遗传算法与强化学习实现路径动态调整,使路径规划更贴合实际运输场景,为运输调度提供更科学的决策依据。

一种物资铁路运输安全评估数据模型

NºPublicación:  CN121724430A 24/03/2026
Solicitante: 
中国人民解放军陆军工程大学
CN_121724430_A

Resumen de: CN121724430A

本发明公开了一种物资铁路运输安全评估软件内嵌的数据模型,具备数据管理、物资车辆运输计算、物资安全评估、结果输出、用户交互、安全防护和软件更新等功能模块。数据管理模块存储丰富的物资和车辆数据;运输计算模块能精确计算多物资种类多车型运输方案;安全评估模块可评估特情物资危险性并给出处置方法;结果输出模块提供直观结果展示;用户交互模块方便用户操作;安全防护模块保障数据安全。本发明旨在解决物资铁路运输中的安全评估和运输规划难题,提高运输效率与安全性。

一种基于GRASP与SAC的港口集装箱调度系统及方法

NºPublicación:  CN121724322A 24/03/2026
Solicitante: 
南通理工学院
CN_121724322_PA

Resumen de: CN121724322A

本发明公开了一种基于GRASP与SAC的港口集装箱调度系统及方法。该系统包括数据采集模块,用于从港口设备和环境传感器采集实时数据并进行预处理;优化算法模块,用于接收数据采集模块输出的数据并生成调度方案,或接收实时监控模块反馈的异常数据,自动启动GRASP算法和/或SAC算法,重新生成调度方案;任务调度模块,用于接收调度方案,并执行和调整具体的任务分配和设备调度操作;实时监控模块,用于监控设备状态和任务执行情况,并将异常信息传输至优化算法模块。本发明通过结合GRASP与SAC算法构建优化算法模块,各模块分工明确且紧密协作,使整个调度系统形成高效协同的整体,提高调度系统的整体效能和稳定性。

一种铁路货车的全生命周期数据处理方法及系统

NºPublicación:  CN121724520A 24/03/2026
Solicitante: 
中车长江运输设备集团有限公司
CN_121724520_PA

Resumen de: CN121724520A

本发明公开了一种铁路货车的全生命周期数据处理方法及系统,方法包括:构建铁路货车的全生命周期架构;参考碳足迹核算平台的导入规则,结合铁路货车的全生命周期架构,为每个阶段配置各自的数据采集范式和校验规则;参考各阶段的数据采集范式和校验规则对铁路货车的全生命周期数据进行采集优化,得到铁路货车的全生命周期数据管理文件;通过预先创建的数据接口将铁路货车的全生命周期数据管理文件导入碳足迹核算平台,以供碳足迹核算平台执行碳足迹核算。

基于数字化协同平台的施工物资全周期管理方法及介质

NºPublicación:  CN121724536A 24/03/2026
Solicitante: 
浙江省建投交通基础建设集团有限公司
CN_121724536_PA

Resumen de: CN121724536A

本发明公开了基于数字化协同平台的施工物资全周期管理方法及介质,涉及物资管理技术领域。方法包括:根据需求与采购节点的业务耦合关系实施需求‑采购协同控制,生成动、静态模式对应的第一、二管理参数序列;根据仓储与消耗节点的流程约束关系实施仓储‑消耗联动控制,生成动、静态模式对应的第三、四管理参数序列;基于物资管理指标,在四个参数序列协同下对预设方案在线修正,生成优化物资管理方案。解决了传统施工物资管理中各环节协同不足,难以根据实际业务情况动态调整管理策略,导致物资调配不合理、浪费现象频发的技术问题,达到了提升物资管理的效率与精准度,以及物资管理参数与实际物资需求的适配度的技术效果。

一种酒店预定管理方法、装置、计算机设备及存储介质

NºPublicación:  CN121724181A 24/03/2026
Solicitante: 
深圳市道旅旅游科技有限公司
CN_121724181_PA

Resumen de: CN121724181A

本发明公开一种酒店预定管理方法、装置、计算机设备及存储介质,涉及酒店预定技术领域,包括:基于酒店供应商的库存预测数据和预设的价格策略,生成并发布酒店未来期权产品;响应于用户终端发送的对所述酒店未来期权产品的购买请求,接收用户支付的定金,并创建与所述用户唯一关联的期权持有记录,同时生成一个加密的数字化期权凭证;在所述期权到期日之前或约定的履约触发条件满足时,自动调用酒店库存管理接口,获取符合所述入住时间范围、适用地理区域及房型等级的可用酒店房源信息,并基于预设的多因素加权匹配算法,从所述可用酒店房源信息中为所述用户确定一目标酒店以完成履约。本发明解决了酒店收益不确定性与用户行程多变性之间的矛盾。

一种智慧库房管理方法及系统

NºPublicación:  CN121724534A 24/03/2026
Solicitante: 
华能新疆能源开发有限公司新能源东疆分公司
CN_121724534_PA

Resumen de: CN121724534A

本申请涉及库房管理技术领域,特别是涉及一种智慧库房管理方法及系统。包括:根据库房的存放设备需求设定多种备件类别;根据全部备件类别生成一级管理策略,根据一级管理策略设定多个监测子区域;获取各个监测子区域的反馈数据包,根据反馈数据包判断是否生成各个监测子区域的预警指令。基于各个备件集储存评价值,动态调整库房内的储存布局,从而对存在调度关联的备件进行集中储存,提高对于库房内各类别备件的出入库调度效率,提高新能源场站库房的管理效率。根据各个备件集的储存特征构建对应的监测子模型,实现对不同类别备件的储存监测,及时对库房内的潜在风险进行预警,保证新能源电厂备件的储存安全性。

具有非易失性弹性存储器的智能包装系统

NºPublicación:  CN121729743A 24/03/2026
Solicitante: 
西拉格国际有限公司
CN_121729743_PA

Resumen de: CN121444175A

Surgical systems and methods are provided. The surgical system includes: at least one manufacturer-sealed sterile surgical package, the at least one manufacturer-sealed sterile surgical package containing a surgical instrument; and an electronic management system in electronic communication with the at least one manufacturer-sealed sterile surgical package. The electronic management system is configured to: receive inventory data characterizing inventory information of the manufacturer-sealed sterile surgical package; updating a master management list with the received inventory data; determining a surgical inventory list for a surgical procedure with the surgical instrument based on the updated master management list, the surgical inventory list including surgical equipment required for the surgical procedure; the surgical inventory list is provided.

一种物流订单的多方联合认证方法、装置及介质

NºPublicación:  CN121723523A 24/03/2026
Solicitante: 
上海贩厘科技有限公司
CN_121723523_PA

Resumen de: CN121723523A

本发明涉及区块链技术,揭露了一种物流订单的多方联合认证方法、装置及介质,包括:将物流订单信息进行结构化提取并经由发货方、收货方、承运方进行数字签名,形成具有法律效力的合约,随后,将此合约编译为链上智能合约并部署至联盟区块链,在运输过程中,实时获取车辆的物联网数据,并由智能合约自动判断其是否符合预设规则,若不符合,立即向所有相关方告警,若符合,则生成一个附有证据链的状态更新任务,征得各个参与方数字签名确认后,驱动智能合约自动完成订单状态的最终更新。本发明可以提高物流订单多方联合认证的效率和可靠性。

汽车零配件的储备方法及电子设备

NºPublicación:  CN121724547A 24/03/2026
Solicitante: 
长城汽车股份有限公司
CN_121724547_PA

Resumen de: CN121724547A

本申请提供了汽车零配件的储备方法及电子设备,涉及数据处理技术领域,该方法包括:提取待测汽车零配件的多个储备特征;根据多个储备特征匹配待测汽车零配件在至少一个目标维度下的所属类别;将所属类别输入至预先构建的协同储备预测模型中,匹配与所属类别对应的多个储备预测子模型,以输出每个储备预测子模型预测的多个出库预测值,并根据多个出库预测值生成待测汽车零配件的储备数值。该方法能够结合汽车零配件的多种储备特征,捕捉配件的储备需求规律,进而结合协同储备预测模型中的多个储备预测子模型实现针对性的精准的储备量预测。

一种用于车辆回收的路径检索系统及方法

NºPublicación:  CN121724530A 24/03/2026
Solicitante: 
福州谷海数字科技有限公司
CN_121724530_PA

Resumen de: CN121724530A

本申请提供一种用于车辆回收的路径检索系统及方法,涉及智慧物流技术领域,通过构建回收网络拓扑并建立路径代价评估函数,对回收网络拓扑进行启发式路径检索,得到候选路径集合,对候选路径集合进行非合作博弈权重动态寻优,得到均衡权重配比;基于均衡权重配比对路径代价评估函数进行代价权重反馈更新并对候选路径集合进行路径演化,得到演化路径集合;对演化候选路径集合进行节点状态探查与代价更新决策,得到演化候选路径集合中各路径的处置代价;依据处置代价从演化路径集合中确定目标车辆的回收路径,本申请可实现基于多目标权重的博弈均衡寻优和不确定节点状态的探查决策,进而对车辆回收路径进行全局静态优化和局部动态适应。

一种油田专用仓储设备清点和设备管理装置

NºPublicación:  CN121724544A 24/03/2026
Solicitante: 
天津华云自控股份有限公司
CN_121724544_A

Resumen de: CN121724544A

本发明公开了一种油田专用仓储设备清点和设备管理装置,涉及电力电子技术领域。本发明采用ID进行设备清点和设备管理,可以通过设备上的编号,准确获得产品生产日期,生产单位,数量等信息,大大提高了工作的效率;同时支持远程控制操作,可以通过手机APP或者电脑主机对于各个场地的设备情况进行清点,省时省力;应用于油田现场货物状态清点,仓库货物清点,工作场地设备检查等场景,为用户提供快速、准确、便捷的货物清点与货物管理等功能;对电子标签进行清点数据,读写数据,读写功率比较大,可以满足大范围的设备读取操作,且支持多种操作形式,可以手持连接WIFI/蓝牙/电脑主机操作,同时可以满足无人值守远程操作的需求。

面向固井外掺料的全生产流程质量追溯方法及系统

NºPublicación:  CN121724495A 24/03/2026
Solicitante: 
宁夏亿昀特种工程材料有限公司
CN_121724495_PA

Resumen de: CN121724495A

本发明公开了面向固井外掺料的全生产流程质量追溯方法及系统,涉及数据追溯领域,包括:通过对原料实施定向预处理并建立数字工艺档案;在生产中实时监控关键工序并与溯源信息深度绑定;成品经特定工况检验合格后生成关联追溯矩阵;依托智能仓储与RFID实现精准库存管控;运用动态监测技术记录运输环境数据并纳入追溯链条;在现场通过配伍试验完成适配验证并闭合使用环节数据;最终建立全生命周期售后追溯机制,通过追溯码逆向定位问题源头,驱动持续改进。本发明的优点在于:构建从原料预处理到售后的全生命周期数字化闭环追溯体系,通过多码关联贯通各环节数据,实现质量可溯、问题可查、生产可优化,保障外掺料工况适配性与使用稳定性。

一种基于分布式账本的物品管理方法及系统

NºPublicación:  CN121724542A 24/03/2026
Solicitante: 
安徽融想供应链科技有限公司
CN_121724542_PA

Resumen de: CN121724542A

本申请提供一种基于分布式账本的物品管理方法及系统,该方法包括:对物品批次完成入库验收、质检、上架操作后,将操作记录、责任人信息、时间戳、物品属性打包形成封存区块,通过哈希算法生成唯一标识并同步到分布式账本各节点;检测物品批次封存区块存在错误封存、重复入库或需作废情况时,在封存区块上追加废弃操作记录、废弃原因、审批人信息和时间戳形成关联区块,关联区块与封存区块建立父子引用关系;将封存区块标记为无效状态,同时保留封存区块和所述关联区块在分布式账本中;在封存区块和所述关联区块中引入多维度标记,支持按多维度条件查询物品批次完整生命周期轨迹和废弃决策依据。本发明能够提升货物管理的透明度和效率。

一种基于智能终端的取件方法、智能终端与系统

NºPublicación:  CN121724532A 24/03/2026
Solicitante: 
浙江德施曼科技智能股份有限公司
CN_121724532_PA

Resumen de: CN121724532A

本申请提供一种基于智能终端的取件方法、智能终端与系统。所述取件方法包括:响应于身份验证请求,对取件对象进行身份验证;在身份验证通过后,检测到状态变更事件发生,判断所述目标对象是否与所述取件对象匹配;若匹配,则输出取件成功反馈信息;若不匹配,则输出取件错误提醒,直至新目标对象与所述取件对象匹配。本申请的技术方案在取件对象通过身份验证后,将状态变化的目标对象与当前取件对象进行匹配判定,以实现多目标对象并存场景下取件行为与目标对象的绑定,通过验证匹配准确性,对每次取件行为进行即时判定,能够在拿错时当场纠正,从而提升多目标对象并存场景下,取件的准确性与安全性,提升取件体验。

一种车辆运行工况预测方法、装置、设备、介质及产品

NºPublicación:  CN121724521A 24/03/2026
Solicitante: 
山推工程机械股份有限公司
CN_121724521_A

Resumen de: CN121724521A

本发明公开了一种车辆运行工况预测方法、装置、设备、介质及产品。该方法包括:获取车辆的传感器数据与空间定位数据,并基于所述传感器数据与所述空间定位数据构建时空序列张量;将所述时空序列张量输入目标预测模型,得到预测输出结果;所述预测输出结果包括:运行状态识别结果、运输任务起点以及运输任务终点;根据所述运行状态识别结果确定所述车辆的运行状态,以及根据所述运输任务起点和所述运输任务终点确定所述车辆的运输趟数。通过本发明的技术方案,能够解决矿山运输作业中矿卡运行状态识别困难、趟数统计误差大、GPS信号缺失导致数据不连续等问题,实现对矿卡运行状态的识别,并自动推算出每日运输趟数。

配送エリア管理方法及び配送エリア管理装置

NºPublicación:  JP2026052565A 24/03/2026
Solicitante: 
パナソニックオートモーティブシステムズ株式会社
JP_2026052565_A

Resumen de: JP2026052565A

【課題】自動生成された配送計画を適切に修正すること。【解決手段】本開示に係る配送エリア管理方法は、少なくとも一つの荷物を配送する少なくとも一つの配送先及び配送時間を示す配送要求情報と、少なくとも一つの荷物を少なくとも一つの配送先へ配送する配送者が使用する車両に関する情報を示す車両関連情報と、に基づき、少なくとも一つの荷物を車両で配送者が配送する、少なくとも一つの配送エリアを含む配送計画を示す配送計画情報を生成することと、生成された配送計画情報と、過去の配送計画に対する変更の履歴を示す変更履歴情報とに基づき、生成された配送計画に含まれる少なくとも一つの配送エリアのうちの見直し候補の配送エリアに関する情報を提示することと、受け付けた配送計画に対する変更指示に基づき、配送計画を修正することと、を含む。【選択図】図1

情報処理装置および情報処理方法

NºPublicación:  JP2026052594A 24/03/2026
Solicitante: 
アスクル株式会社
JP_2026052594_A

Resumen de: JP2026052594A

【課題】高次元の最適化問題を従来よりも適切に解くことができる技術を提供する【解決手段】n次元の変数で表される目的関数の最適解を求めるための情報処理装置であって、プロセッサと、プログラムを格納したメモリとを含み、前記プログラムは、前記プロセッサに、d次元(d<n)の低次元空間を前記n次元の空間に埋め込むためのランダム行列を生成するステップと、前記低次元空間の部分空間を探索空間として、ベイズ最適化手法を用いて前記目的関数の最適解を求めるステップと、を実行させるものであり、前記探索空間は、前記低次元空間における中空球または球の領域である。【選択図】図1

一种对库存精准管控的仓储管理系统

NºPublicación:  CN121724548A 24/03/2026
Solicitante: 
江苏易通数联科技有限公司
CN_121724548_PA

Resumen de: CN121724548A

本发明公开了一种对库存精准管控的仓储管理系统,该系统通过采集仓库物理结构、动态约束因子及货物信息,构建三维物理模型。同时基于存储坐标与出货口坐标规划最优运输路径,核算运输成本、当前保管成本;通过货物临期程度、出货频率等属性计算剩余价值;采用ARIMA‑LSTM融合模型预测未来保管成本;最终通过多维度参数计算出库优先度,结合预警阈值实现待报废货物自动标记。本发明解决了传统系统出库决策单一、路径成本计算粗放、中大型仓库适配性差的问题,实现库存管控精准化、出库流程高效化及运营成本最优化,提升库存周转率与仓储管理综合效益。

一种基于蚁群算法的物流调度管理方法

NºPublicación:  CN121724364A 24/03/2026
Solicitante: 
西安易云中拓软件科技有限公司
CN_121724364_PA

Resumen de: CN121724364A

本发明公开了一种基于蚁群算法的物流调度管理方法,包括如下步骤:构建容量时间窗约束的物流网络模型;蚁群搜索生成调度方案集并局部建模得到调度约束流形;将调度方案转化为车辆事件图并引入时间相位得事件相位编码;在调度约束流形上定义流形投影算子,将事件相位编码映射为可行编码并据差值设置水波参数;构建以事件相位编码为个体的水波模型,通过平移、扭转和事件子图重接产生候选编码并投影可行;依据运输成本和时间窗违约风险构建成本场、风险场并据梯度更新事件相位编码和蚁群参数;模型收敛时输出物流调度方案并生成车辆仓库指令。本发明在蚁群搜索基础上引入调度约束流形和水波优化,在容量约束下平衡成本与风险。

一种面向建筑行业仓库作业的多订单智能调度系统

NºPublicación:  CN121724326A 24/03/2026
Solicitante: 
广州宏穆信息科技有限公司
CN_121724326_A

Resumen de: CN121724326A

本发明涉及建筑行业智能仓库多订单调度管理系统,属于智能调度与资源优化领域。该系统包括工作组配置、出工时间配置、订单池、订单优先级评估与设置、初始化及动态调度算法、工时记录详情接口等模块,通过模块化分布式架构与API互通,结合XGBoost机器学习模型实现订单作业时间预测及优先级自动评估,并支持人工干预和必要约束设定。采用Apache Spark并行计算、回滚与增量优化机制及FastAPI微服务架构,通过Redis Streams实现事件驱动,支持订单动态变化和秒级调度响应,提高调配效率和资源利用率,适用于订单频发和高动态性的建筑仓库场景。

订单处理方法、计算机设备、可读存储介质和程序产品

NºPublicación:  CN121724540A 24/03/2026
Solicitante: 
顺丰科技有限公司
CN_121724540_PA

Resumen de: CN121724540A

本申请涉及一种订单处理方法、计算机设备、可读存储介质和程序产品,涉及物流技术领域。本申请能够准确高效地处理存在不同新鲜度需求的订单。方法:基于待处理订单的订单渠道对应的新鲜度库存配额确定目标新鲜度需求;新鲜度库存配额包括每种新鲜度层级对应的库存的配额;不同新鲜度层级表征不同效期范围;基于目标新鲜度需求和库存管理信息,得到目标新鲜度层级对应的库存的库存信息;目标新鲜度层级属于满足目标新鲜度需求的新鲜度层级;库存管理信息包括多种新鲜度层级中每种新鲜度层级对应的库存的库存信息;根据目标新鲜度层级对应的库存的库存信息,处理待处理订单;根据待处理订单的处理结果,更新订单渠道对应的新鲜度库存配额。

一种新能源设备管理方法、装置、存储介质及电子设备

NºPublicación:  CN121724415A 24/03/2026
Solicitante: 
恩益达电源科技(苏州)有限公司
CN_121724415_PA

Resumen de: CN121724415A

本申请涉及一种新能源设备管理方法、装置、存储介质及电子设备,涉及设备管理技术领域,其中方法包括:获取物流园区内至少一个AGV搬运机器人各维度的实际运行数据;若实际运行数据未处于相应的正常数据范围,则将对应的维度确定为异常维度,获取AGV搬运机器人当前的实际工作状态,并获取多个历史故障类型以及历史故障类型出现时运行数据存在异常的至少一个历史维度;根据各异常维度、各历史故障类型以及各历史维度,确定AGV搬运机器人是否存在故障发生风险;若确定AGV搬运机器人存在故障发生风险,则根据实际工作状态,确定警惕故障类型,并向运维人员的终端发送警惕故障类型相关的预警信息。本申请具有提升搬运机器人故障预警准确性的效果。

一种仓库机物料收发装置

NºPublicación:  CN121717066A 24/03/2026
Solicitante: 
美建建筑系统中国有限公司
CN_121717066_PA

Resumen de: CN121717066A

本发明涉及一种仓库机物料收发装置,包括:内设有第一称重装置的货柜、称重平台、人机交互装置、生物识别装置和控制器,控制器被配置为执行以下步骤:基于生物识别装置对操作人员进行验证;当操作人员验证通过后,基于人机交互装置接收存取物料的第一指令,其中第一指令至少包括物料类型和数量;基于物料类型在第一数据库中查询得到物料的单位质量;获取称重平台上的物料总质量作为第一质量,并与物料的单位质量相除得到物料的实际数量;将计算得到的实际数量与第一指令中数量比对,若比对通过,则数量验证通过。与现有技术相比,本发明具有便捷性高等优点。

一种物料线边库系统及其工作方法

NºPublicación:  CN121724557A 24/03/2026
Solicitante: 
中核建创新科技有限公司
CN_121724557_PA

Resumen de: CN121724557A

本发明提供的一种物料线边库系统及其工作方法,属于物料线边库技术领域,其包括:步骤1:针对物料线边库系统的基础数据采集;步骤2:在基础数据采集后,执行信息处理与展示;步骤3:在信息处理与展示后,执行人机交互;步骤4:执行人机交互后,接着执行决策。通过软硬件协同架构与闭环运作机制,实现预埋件生产过程中物料的精准管控、高效转运、全流程信息交互及质检与生产的深度协同,解决传统物料管理中库存不准、转运低效、信息断层等问题,提升生产效率与产品质量。

基于Excel的物流管理方法、装置、设备及介质

NºPublicación:  CN121724522A 24/03/2026
Solicitante: 
中建科工集团绿色科技有限公司中建科工集团有限公司
CN_121724522_PA

Resumen de: CN121724522A

本申请实施例公开了基于Excel的物流管理方法、装置、设备及介质。方法包括:构建Excel平面布局图;解析Excel平面布局图的图例区域,获取颜色与发运状态的对应关系信息;遍历Excel平面布局图的主体区域,识别主体区域中的所有箱体单元格组;提取每个箱体单元格组的当前属性信息;提取历史报告数据,历史报告数据包括历史提取的至少一个箱体单元格组的历史属性信息;对当前属性信息以及历史属性信息进行比对合并处理,得到合并后数据;根据计划日期对合并数据中的历史属性信息以及当前属性信息进行分组,生成发运计划报表。通过本方案可基于Excel平面布局图自动生成发运计划报表。

基于工艺品定制的销售管理系统

NºPublicación:  CN121724712A 24/03/2026
Solicitante: 
湖南应用技术学院
CN_121724712_PA

Resumen de: CN121724712A

本发明提供一种基于工艺品定制的销售管理系统,所述系统包括:订单管理模块:用于根据工艺品定制模块生成工艺品订单,并对生成的工艺品订单进行全生命周期管理;工艺品定制模块:用于为客户提供工艺品定制功能;生产管理模块:用于管理工艺品的生产过程;库存管理模块:用于实时监控工艺品生产原材料的库存数据;售后管理模块:用于处理客户对工艺品的反馈,并基于客户的反馈对系统信用进行分析评估;销售数据分析模块:用于收集销售数据,并对其进行分析,分析结果以图表、报表形式展现。实现客户根据需求对工艺品进行定制,降低工艺品的定制难度,同时实现订单的高效分配和跟踪,确保原材料的库存优化,提升系统运营效率。

X-RAY物料智能计数与条码匹配追溯方法及系统

NºPublicación:  CN121724549A 24/03/2026
Solicitante: 
深圳市粤宇科技有限公司
CN_121724549_PA

Resumen de: CN121724549A

本发明公开了一种X‑RAY物料智能计数与条码匹配追溯方法及系统,涉及X射线无损检测技术领域,包括启动X‑RAY检测设备,根据物料类型设定采集参数,通过多角度旋转采集组件获取覆盖物料全貌的原始图像;对原始图像进行降噪增强几何校正预处理,输出高质量图像;基于深度学习语义分割算法生成物料区域掩码图;提取物料特征分离重叠区域筛选杂质,统计实际数量;定位条码区域剔除干扰解码获取唯一标识;建立计数结果与条码的关联映射,存储数据至追溯数据库,生成追溯码支持全流程查询。本发明提升多类型物料计数精度与条码识别可靠性,适配多场景检测需求,保障追溯链条完整,提升检测效率与生产管理智能化水平。

跨境家居供应链的全链路数据追溯处理方法及系统

NºPublicación:  CN121724646A 24/03/2026
Solicitante: 
广州爆米网络技术有限公司
CN_121724646_PA

Resumen de: CN121724646A

本发明提供跨境家居供应链的全链路数据追溯处理方法及系统,涉及供应链管理技术领域,所述方法包括:步骤3,基于供应链过程数据划分多个相互关联的数据单元集,确定基准数据单元集,并获取两组不同的数据关联规则;对两组数据关联规则之间的相互作用关系进行分析,建立数据状态识别范围,在数据状态识别范围选取两个数据验证参考点;根据数据验证参考点在时间序列上的演进关系,通过计算两点间在时间与数据特征维度上的综合距离量化演进跨度,构建数据状态演变路径生成数据校准系数,形成包括时间戳与环节信息的数据链路轨迹。本发明实现跨境家居供应链全链路数据追溯,提升供应链各环节协同效率。

基于区块链与多方计算技术数据保护方法在农村电商平台

NºPublicación:  CN121724705A 24/03/2026
Solicitante: 
南昌职业大学
CN_121724705_PA

Resumen de: CN121724705A

本发明公开了基于区块链与多方计算技术数据保护方法在农村电商平台,涉及农村电商平台数据保护技术领域,用于解决平台数据隐私保护与交易安全问题;通过多方安全计算技术,确保平台数据在参与方之间进行安全计算;结合区块链技术,采用联盟链存储计算任务和交易历史记录,确保数据传输完整性。确定高价值与低价值用户,并对商户进行信誉评估。分析平台用户与商户的在线情况与交易转化率,优化农村地区的网络覆盖,提升平台在不稳定网络条件下的订单匹配和物流路径优化。最终,使用区块链存证技术确保交易信息的真实性,采用去中心化存储与数字签名保证交易透明、安全。该方案有效保障农村电商平台的数据安全性与运营效率。

一种堆垛定位控制方法、系统、装置及存储介质

NºPublicación:  CN121717167A 24/03/2026
Solicitante: 
上海月汉信息技术有限公司
CN_121717167_PA

Resumen de: CN121717167A

本发明公开了一种堆垛定位控制方法、系统、装置及存储介质,涉及仓储管理领域,该方法通过在每个装载箱上设置P2P‑SPS定位装置,结合磁簧开关触发与深度休眠机制,实现装载箱在发生堆垛接触时的智能激活。装置利用锥形导光结构的红外发射与接收模块完成上下邻接关系的精准检测,并将装载箱唯一标识及邻接信息无线传输至管理终端。管理终端基于拓扑图与遍历算法自动重建堆垛结构,生成各装载箱的垂直层级位置。该方法无需依赖外部基础设施,具有检测精度高、能耗低、抗干扰能力强和部署灵活等优点,适用于露天堆场和复杂仓储环境下的智能化堆垛管理,可显著提升装载箱定位的可靠性与运行效率。

基于缺失链路推断的冷链风险源优先筛查方法和系统

NºPublicación:  CN121724423A 24/03/2026
Solicitante: 
北京工商大学
CN_121724423_PA

Resumen de: CN121724423A

本发明公开了一种基于缺失链路推断的冷链风险源优先筛查方法和系统,涉及冷链风险源识别和筛查的技术领域。首先,基于冷链追溯数据构建初始流通网络,识别并推断缺失链路,依据三重原则补全网络;其次,对污染终端节点执行反向风险回溯,基于多路径风险累积原则计算各上游节点的初始风险值;然后,基于所述上游节点的风险值结果对所述缺失链路的传播权重进行动态修正,通过自适应机制消除因链路推断错误导致的偏高风险值,并重复执行所述风险回溯与所述链路修正过程,直至所述上游节点的风险值收敛,生成冷链风险源的优先筛查序列。

一种业务路径确定方法、装置、电子设备与存储介质

NºPublicación:  CN121724529A 24/03/2026
Solicitante: 
广东烟草河源市有限责任公司数字广东网络建设有限公司
CN_121724529_A

Resumen de: CN121724529A

本发明实施例公开一种业务路径确定方法、装置、电子设备与存储介质。方法包括:根据常用业务路径中不同属性类型的路径节点与当前业务对应的起终点从路径节点网络模型中确定候选业务路径;针对候选业务路径中的每个待定节点链路,根据待定节点链路的实时风险参数、待定节点链路中待定节点对应的属性类型与待定节点链路对应的路段属性信息确定动态运输信息;根据所有待定节点链路的动态运输信息与候选业务路径对应的车辆耗损参数确定候选业务路径对应的总运输风险评分,并根据总运输风险评分从候选业务路径中确定目标业务路径。本方法能为当前业务的业务路径选择运输业务人员常用且较为熟悉的路径及路径节点,能为用户提供更便捷、舒适的运输体验。

一种天然气资源储运的联合配置方法、装置、设备及存储介质

NºPublicación:  CN121724523A 24/03/2026
Solicitante: 
中国石油大学(北京)北京理工大学
CN_121724523_PA

Resumen de: CN121724523A

本申请公开了一种天然气资源储运的联合配置方法、装置、设备及存储介质,涉及天然气技术领域,包括:利用STL方法将天然气用户需求数据分解为季节、趋势和残差序列,利用VMD方法对残差序列进行二次分解得到若干用户需求子序列;利用目标NBEATS机器学习模型并基于预测步长对各序列进行预,对各待处理预测结果进行线性加和得到目标预测结果;将天然气供应链设定为无向网络图,并基于目标预测结果确定需求约束,利用图论算法与无向网络图构建目标联合配置模型;将企业经济效益最大化设定为目标函数,以利用模型与Gurobi求解器确定预设未来配置期内的天然气资源储运配置方案,以提高配置天然气资源储运的效率。

用于与实体共享可查找物品的位置的用户界面

NºPublicación:  CN121728419A 24/03/2026
Solicitante: 
苹果公司
CN_121728419_PA

Resumen de: CN121002523A

Some embodiments described in the present disclosure relate to one or more electronic devices that provide location information for sharing a remote locator object with an entity for a duration associated with a time-limited event. Some embodiments described in the present disclosure relate to one or more electronic devices that provide for reporting an item associated with a remote locator object to an entity as lost for assisting in retrieving the item. Some embodiments described in the present disclosure relate to one or more electronic devices that facilitate a process for providing an entity with access to one or more features associated with a remote locator object associated with an item for assisting in retrieving the item.

一种地下矿有轨运输设备的调度方法

NºPublicación:  CN121724304A 24/03/2026
Solicitante: 
武汉理工大学深圳市中金岭南有色金属股份有限公司凡口铅锌矿
CN_121724304_A

Resumen de: CN121724304A

本发明提供了一种地下矿有轨运输设备的调度方法,包括以下步骤:构建以最小化运输成本、最大化运输矿石品位和最小化运输时间为目标的调度优化模型,结合调度约束条件对所述调度优化模型进行求解,生成初始运输任务计划;基于运输路径与装卸点的资源互斥关系设置互斥资源锁机制,基于所述互斥资源锁机制对所述初始运输任务计划进行调度仿真,模拟电机车运输过程中的状态变化,动态计算各电机车的运输时间;基于所确定的运输时间优化初始运输任务计划,生成最终的调度方案。

一种基于柔性生产的跨车间调度与工艺规划集成方法

NºPublicación:  CN121724318A 24/03/2026
Solicitante: 
北京工业大学
CN_121724318_PA

Resumen de: CN121724318A

本发明公开了一种基于柔性生产的跨车间调度与工艺规划集成方法,属于智能制造领域,共包含工厂模块、锻压车间模块、跨车间运输模块和机加车间调度与工艺规划模块。工厂模块先依据所有订单的锻压、车辆运输和机加信息生成初始化调度种群,锻压车间编码信息输入锻压车间模块。锻压车间模块根据锻压车间编码信息以及订单的锻压信息进行锻压车间内的调度排产求解,跨车间运输模块根据所有订单在锻压阶段的完成顺序与时间序列进行整合分批,得到各批次的运输完成时间。将各批次的工件信息以及运输完成时间传递给机加车间调度与工艺规划模块,得到所有订单完成加工的时间与生产能耗,最终确定最优的车间分配方案以及跨车间运输方案。

一种基于物联网的水陆运输调度管理方法及系统

NºPublicación:  CN121724525A 24/03/2026
Solicitante: 
安徽中凯信息产业股份有限公司
CN_121724525_PA

Resumen de: CN121724525A

本申请提供一种基于物联网的水陆运输调度管理方法及系统,涉及水陆运输调度管理领域,解决了现有技术调度决策依赖效率低下、资源调配效率低下、跨环节协同困难,以及应急响应能力不足的技术问题。该方法包括:构建水陆运输系统的数字孪生体,并将采集的实时状态数据同步至数字孪生体;基于数字孪生体的当前状态,对运力单元与港口设施的动态匹配关系进行评估,计算资源耦合度,并预测港口未来时段内的通过能力;基于环境监测数据以及历史数据,通过基于深度学习算法构建的环境突变预测模型预测环境突变事件以及对运输网络的影响强度;当资源耦合度低于预设阈值,或预测到环境突变事件时,触发由多个智能体参与的协同决策流程,得到调度方案。

仓储物流数据处理方法

NºPublicación:  CN121723152A 24/03/2026
Solicitante: 
福州为正科技有限公司
CN_121723152_PA

Resumen de: CN121723152A

本发明公开了仓储物流数据处理方法,涉及仓储物流技术领域,其技术方案要点包括以下步骤:实时采集仓储货物的退货逆向流转数据、库存积压预警数据和溯源反馈数据得到初测逆向物流数据;实时采集仓储货物在逆向流转过程的质检复核耗时和退款流程衔接时长得到预处理逆向处理数据;根据初测逆向物流数据得到初测逆向处理效率;根据仓储货物的退货原因合理性差值和逆向分拣适配度差值得到当前逆向约束特征数据,根据第一预测逆向误差值和第二预测逆向误差值对初测逆向处理效率得到实际逆向处理效率;根据实际逆向处理效率输出处理结果,效果是全面提升仓储逆向物流的管理水平与运营效率。

基于动态路径规划的头码车调度方法以及装置

NºPublicación:  CN121724302A 24/03/2026
Solicitante: 
通号城市轨道交通技术有限公司
CN_121724302_PA

Resumen de: CN121724302A

本发明提供一种基于动态路径规划的头码车调度方法以及装置,应用于轨道交通路径规划技术领域,上述方法包括:获取头码车任务对应的多个预配置路径,其中,每个预配置路径包括轨道段序列、道岔编号以及预计占用时间,每个预配置路径关联有权重参数;基于实时采集的轨道和道岔的设备状态数据,对多个预配置路径的权重参数进行更新,得到更新后的路径集合;从更新后的路径集合中选择权重最高的路径作为头码车的运行路径。本发明用以解决现有技术中头码车调度方法调度效率较低且局限性较大的缺陷,实现提高头码车调度效率,保障列车运行的连续性和稳定性。

一种基于物联网的智能仓储自动化库存管理系统及方法

NºPublicación:  CN121724546A 24/03/2026
Solicitante: 
广州市冠申实业有限公司
CN_121724546_PA

Resumen de: CN121724546A

本申请涉及仓储管理的技术领域,公开一种基于物联网的智能仓储自动化库存管理系统及方法,包括:数据采集模块;区块链存证模块;多目标优化与调度模块;库存优化决策模块;设备能效优化与环境控制模块。本申请利用多目标进化算法,能够在多个非支配解中进行选择,得到最优的解决方案,提升整体仓储操作的灵活性、可调性和效率,通过动态能耗关联规律优化环境控制设备的运行参数,不仅降低了能耗,还能确保环境安全阈值得到维持,从而实现节能与高效运行的双重目标。

货物管理方法、系统、电子设备和存储介质

NºPublicación:  CN121724535A 24/03/2026
Solicitante: 
杭州阿里巴巴海外互联网产业有限公司
CN_121724535_A

Resumen de: CN121724535A

本申请实施例提供了一种货物管理方法、一种货物管理系统、电子设备和存储介质和计算机程序产品。所述方法包括:获取待分拨货物的预设货物信息;基于所述预设货物信息对所述待分拨货物进行多模态的属性识别,获取所述待分拨货物的属性标签;基于所述属性标签和所述待分拨货物的运输目的地的法规知识,确定所述待分拨货物匹配的电子围栏;基于所述电子围栏对所述待分拨货物进行运输管理,并向预设客户端发送运输管理结果。本方法有效提高了货物属性识别的精准度,并且,相比于人工对多个仓库和库位中的货物执行清关风险评估,本方法有效提升了风险评估准确度和效率,从而提高了货物管理效率。

货物运输车辆的智能调度方法、装置、设备及介质

NºPublicación:  CN121724519A 24/03/2026
Solicitante: 
鄂尔多斯市卡尔动力科技有限公司
CN_121724519_PA

Resumen de: CN121724519A

本申请提供了一种货物运输车辆的智能调度方法、装置、电子设备及存储介质,应用于货运调度平台,依据本申请实施例,可以获取目标装载场站的地理位置并确定目标装载场站对应的货运覆盖范围;获取驾驶员持有的电子设备的定位数据位于货运覆盖范围内的候选货物运输车辆,将待运输货物的货运订单发出;接收至少一个驾驶员持有的电子设备发出的订单承接请求,并按照驾驶员的驾驶评定等级以及基于候选货物运输车辆的历史货运订单确定的当前货物运输状态,选取目标货物运输车辆;在目标货物运输车辆的驾驶员执行任务的过程中,持续采集目标货物运输车辆的运行数据,以用于等级评定。由此提高货运分配任务的精准性,提升货运调度管理的科学性和安全性。

一种功能性蛋白敷料产品的产品质量追溯管理方法

NºPublicación:  CN121724651A 24/03/2026
Solicitante: 
蓝佳堂生物医药(福建)有限公司
CN_121724651_PA

Resumen de: CN121724651A

本发明公开了一种功能性蛋白敷料产品的产品质量追溯管理方法,属于质量管理技术领域,具体包括:为各产品单元分配唯一追溯标识码并绑定生产信息;通过运输载具的传感网络采集环境时序数据,生成结构化运输特征集;基于标识码触发标准化检验,获取生物活性指标形成终点质量数据集;将两者关联构建运输‑质量映射记录并存储;基于历史记录筛选关键特征子集,并以此训练质量风险预测模型;实时提取其特征并输入模型,得到预测不合格概率值及预警等级;最终依据预警等级驱动下游系统预分配检验资源与存储策略。本发明实现了从被动追溯向主动预测的转变,能提前识别运输环节导致的质量风险并精准干预。

一种计划性运力中断货运航班扰动成本优化方法

NºPublicación:  CN121724526A 24/03/2026
Solicitante: 
飞友科技有限公司
CN_121724526_PA

Resumen de: CN121724526A

本发明公开了一种计划性运力中断货运航班扰动成本优化方法,涉及航空运输运行管理与智能调度技术领域,包括从跨部门系统中获取航班调整记录、货物运输状态更新和地面设备可用性数据,通过实时汇聚通道将这些信息同步至中央存储库,针对跨部门数据时间戳对比和数据字段完整性核查,生成初步整合的多维动态数据集;该计划性运力中断货运航班扰动成本优化方法,在计划性运力中断反复出现的业务场景下逐步降低整体扰动成本,提升航空货运运行的稳定性、可控性和跨部门协同效率。

一种基于民航信息的货运轨迹跟踪方法、装置及设备

NºPublicación:  CN121724527A 24/03/2026
Solicitante: 
中国民用航空局信息中心
CN_121724527_PA

Resumen de: CN121724527A

本发明涉及一种基于民航信息的货运轨迹跟踪方法、装置及设备,属于民航物流技术领域,该方法、装置及设备通过“信息整合‑轨迹构建‑状态细化‑业务联动”的技术逻辑,针对性解决“民航货物无连贯轨迹、航班信息不互通、状态反馈单一”的核心技术问题。

一种基于微光储能的仓储货位标签显示系统

NºPublicación:  CN121724047A 24/03/2026
Solicitante: 
国网浙江省电力有限公司舟山供电公司
CN_121724047_PA

Resumen de: CN121724047A

本发明公开了一种基于微光储能的仓储货位标签显示系统,涉及仓储管理技术领域。传统电子标签依赖电网或电池供电、人员交互意图识别不准易致误唤醒及系统不稳定的问题。本发明包括硬件支撑单元、微光储能单元、标签显示单元、数据同步单元及系统控制单元;通过微光储能单元与低功耗系统控制架构,解决传统电子标签对电网或电池的依赖问题,通过数据同步单元实现显示信息与后台平台的双向一致性,通过融合人体空间位置、朝向、动作手势等多维感知信息,并引入时间一致性与可信度调制机制,有效抑制瞬时噪声和环境干扰,最终实现对目标货架标签的精准唤醒与亮度控制,从整体上提升仓储货位信息展示的可靠性、交互准确性和能源利用效率。

一种基于互联网的生鲜采购配送系统

NºPublicación:  CN121724541A 24/03/2026
Solicitante: 
北京中农食迅供应链管理有限公司
CN_121724541_PA

Resumen de: CN121724541A

本发明涉及物流信息处理技术领域,具体为一种基于互联网的生鲜采购配送系统;所述系统包括:订单采集需求分析单元接收用户通过互联网提交的采购订单数据,对采购订单数据进行解析处理,形成用户需求信息;供应资源匹配调度单元根据供应库存参数与采购周期参数,使用供应商动态优选机制计算供应资源匹配,生成供应调度结果;动态配送路径规划单元调用预设交通路径数据集合,使用配送路径规划模型计算配送路径构,生成包含配送节点序列及运输执行参数的配送任务数据;配送执行反馈监控单元用于实时监控采集配送过程中的物流位置参数与配送状态参数。本发明实现供应调度结果与配送路径的动态匹配与实时调整,保障生鲜采购与配送过程。

一种基于大数据的跨境电商智能补货处理方法

NºPublicación:  CN121724543A 24/03/2026
Solicitante: 
杭州积墨网络科技有限公司
CN_121724543_PA

Resumen de: CN121724543A

本发明涉及供应链管理与智能物流技术领域,公开一种基于大数据的跨境电商智能补货处理方法,包括:步骤一,实时采集平台仓储规则数据、船舶位置信息、港口拥堵信息、绕航概率信息与前置市场热度信号;步骤二,基于采集的平台仓储规则数据与前置市场热度信号,建立动态容量预测模型,计算生成目标仓库在未来预设时间窗内的虚拟可用配额;步骤三,基于采集的船舶位置信息。采用建立动态容量预测模型,结合平台仓储规则与前置市场热度计算未来虚拟可用配额的技术方案,达到预估且锁定未来可用仓储容量的技术效果,相较于现有技术中缺乏对平台仓储容量动态预估的技术方案,解决补货计划在货物到港时因容量不足而无法入仓的不足。

无着件的处理方法

NºPublicación:  CN121722932A 24/03/2026
Solicitante: 
顺丰科技有限公司
CN_121722932_PA

Resumen de: CN121722932A

本申请涉及一种无着件的处理方法,涉及物流技术领域。所述方法包括:获取无着件的无着件图文对;无着件图文对包括无着件的快件图像和托寄物信息;基于对无着件图文对和匹配库中的多个样本快件图文对的匹配处理,从多个样本快件图文对中,确定出无着件的目标匹配图文对;匹配库包括多个样本快件的样本快件图文对,每个样本快件的样本快件图文对包括样本快件的快件图像和托寄物信息;根据目标匹配图文对所属的目标样本快件的寄件信息,确定无着件对应的目标寄件记录,根据目标寄件记录,确定无着件的收件信息;根据无着件的收件信息,对无着件进行物流运输。采用本方法能够提高对无着件的物流运输准确率。

一种基于大数据分析的地铁售卖与客流预测系统

NºPublicación:  CN121724676A 24/03/2026
Solicitante: 
徐州新南湖科技有限公司
CN_121724676_PA

Resumen de: CN121724676A

本发明一种基于大数据分析的地铁售卖与客流预测系统公开了一种通过售卖终端模块实现车厢内商品的自动存储、支付和出货,通过客流采集模块获取乘客数量、流向和密度数据,通过数据传输与存储模块完成多源数据的安全传输与管理,通过大数据分析模块进行销售与客流的关联分析和需求预测,通过决策与运维模块生成补货计划和调度方案,从而实现地铁车厢内商品供应与客流需求的动态匹配和高效管理的基于大数据分析的地铁售卖与客流预测系统。其特征在于包括售卖终端模块、客流采集模块、数据传输与存储模块、大数据分析模块和决策与运维模块。

不动产市场趋势预测方法、系统、电子设备以及介质

NºPublicación:  CN121724674A 24/03/2026
Solicitante: 
北京千丁智能技术有限公司
CN_121724674_PA

Resumen de: CN121724674A

本申请涉及人工智能技术领域,公开了一种不动产市场趋势预测方法、系统、电子设备以及介质。该方法包括:获取影响不动产成交趋势的前期性数据,其中,前期性数据包括不动产挂牌价变异数据、带看成交转换数据、库存去化周期数据和指导调节数据;对不动产挂牌价变异数据、带看成交转换数据和库存去化周期数据进行指标提取,得到先导性指标数据;对指导调节数据进行文本语义分析,得到指导调节分析结果;基于先导性指标数据和指导调节分析结果进行预测,得到不动产成交趋势预测结果。该方法可以基于影响不动产成交趋势的前期性数据,有效量化出不动产的供需动态平衡信号、指导调节分析结果等,提高不动产成交趋势预测结果的精确性。

一种基于多源数据分析的油气储运漏油检测系统

NºPublicación:  CN121723053A 24/03/2026
Solicitante: 
南通大学
CN_121723053_PA

Resumen de: CN121723053A

本发明公开了一种基于多源数据分析的油气储运漏油检测系统,涉及漏油检测技术领域,构建原始传感数据集,对原始传感数据集进行预处理,生成对齐数据集,建立无泄漏状态下的管线数字孪生基线模型,生成基线特征集合,实施微扰动主动检测与动态顺应性反演,生成主动特征集合,预测潜在泄漏液体的扩散走向与地表出露时窗,生成地表佐证特征,融合多模态特征并输出泄漏事件与响应方案,本发明结合微扰动主动探测与动态反演实现高灵敏泄漏识别,通过多相渗流与遥感验证实现地下至地表的扩散闭环,利用自适应融合与动态阈值控制提升检测精度,并通过模型回灌实现自学习更新,具备实时性高、抗干扰强、可自适应优化的优点。

智能仓储物流实时货位优化方法及系统

Nº publicación: CN121724553A 24/03/2026

Solicitante:

成都锦城学院

CN_121724553_PA

Resumen de: CN121724553A

本申请公开了一种智能仓储物流实时货位优化方法及系统,涉及智能仓储物流技术领域,公开的智能仓储物流实时货位优化方法及系统,通过获取仓储实时数据、构建仓储动态状态图谱、生成初始分配方案、输入分布式决策网络进行并行协同评估优化、下发全局指令,解决了传统方法在高峰期的延迟和冲突问题,能够提高仓储作业效率和系统吞吐量。

traducir