Ministerio de Industria, Turismo y Comercio LogoMinisterior
 

Almacenamiento en baterías

Resultados 1322 resultados
LastUpdate Última actualización 01/11/2025 [07:36:00]
pdfxls
Publicaciones de los últimos 15 días/Last 15 days publications (excluidas pubs. CN y JP /CN and JP pubs. excluded)
previousPage Resultados 600 a 625 de 1322 nextPage  

HIGH-INITIAL-EFFICIENCY NEGATIVE ELECTRODE MATERIAL FOR LITHIUM-ION SECONDARY BATTERY AND PREPARATION METHOD THEREFOR

NºPublicación:  EP4641662A1 29/10/2025
Solicitante: 
TIANMULAKE EXCELLENT ANODE MAT CO LTD [CN]
Tianmulake Excellent Anode Materials Co, Ltd
EP_4641662_PA

Resumen de: EP4641662A1

Disclosed in the present invention are a high-initial efficiency negative electrode material for lithium-ion secondary batteries and a preparation method therefor. The high-initial efficiency negative electrode material comprises a porous carbon matrix, metal lithium particles, nanosilicon particles, and a carbon shell;the porous carbon matrix is a porous carbon microspheres containing through holes, and an average hole size of the through holes is 1nm-50 nm; the metal lithium particles are formed by depositing gaseous lithium in the through holes, and the nanosilicon particles are formed by depositing silicon-containing gas in the through holes; the mass of the metal lithium particles accounts for 10%-50% of the total mass of the high-initial efficiency negative electrode material; and the particle size of the nanosilicon particles is between 0.1 and45 nm, and the mass of the nanosilicon particles accounts for 20%-70% of the total mass of the high-initial efficiency negative electrode material. The use of the high-initial efficiency negative electrode material in lithium-ion secondary batteries can improve initial-cycle Coulombic efficiency, and the initial-cycle Coulombic efficiency is between 99% and 105%.

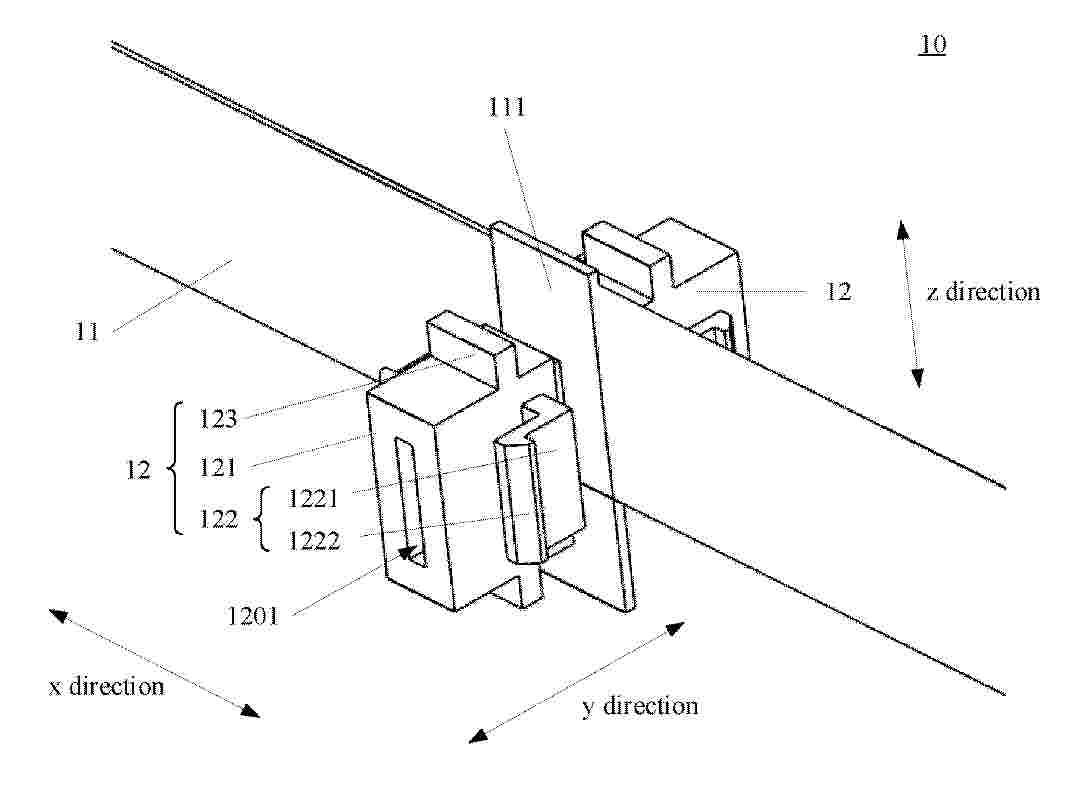
SAMPLING STRUCTURE, BATTERY AND VEHICLE

NºPublicación:  EP4641820A1 29/10/2025
Solicitante: 
BYD CO LTD [CN]
BYD Company Limited
EP_4641820_PA

Resumen de: EP4641820A1

A vehicle is provided. The vehicle has a battery or a sampling structure. The battery has the sampling structure. The sampling structure includes a sampling circuit. A sampling connector is disposed on the sampling circuit on each of two sides of the sampling circuit in a thickness direction, and the sampling connector is configured to connect to a sampling point.

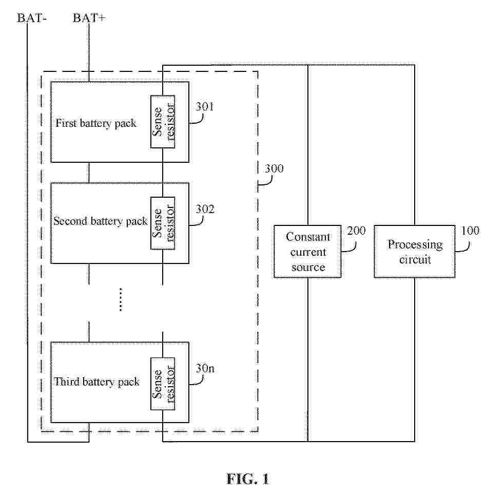
BATTERY SYSTEM AND POWER SUPPLY SYSTEM

NºPublicación:  EP4641856A1 29/10/2025
Solicitante: 
SUNGROW POWER SUPPLY CO LTD [CN]
Sungrow Power Supply Co., Ltd
EP_4641856_PA

Resumen de: EP4641856A1

The present application discloses a battery system and a power supply system. The battery system comprises a processing circuit, a constant current source and a plurality of battery packs; each battery pack comprises at least one sampling resistor; the sampling resistors of all the battery packs are connected in series across the constant current source; voltages across the constant current source can directly reflect corresponding voltage protection values when different numbers of battery packs are connected in series; the processing circuit is connected across the constant current source, and uses the voltage across the constant current source as a voltage protection value to compare same with a voltage after the plurality of battery packs are connected in series. According to the battery system provided by the present application, the voltage protection value is directly represented by means of the voltage across the constant current source, and there is no need for an installation worker to open a switch box on site to adjust the voltage protection value by means of a DIP switch, thereby achieving convenience and rapidness, improving the safety, and reducing personnel costs.

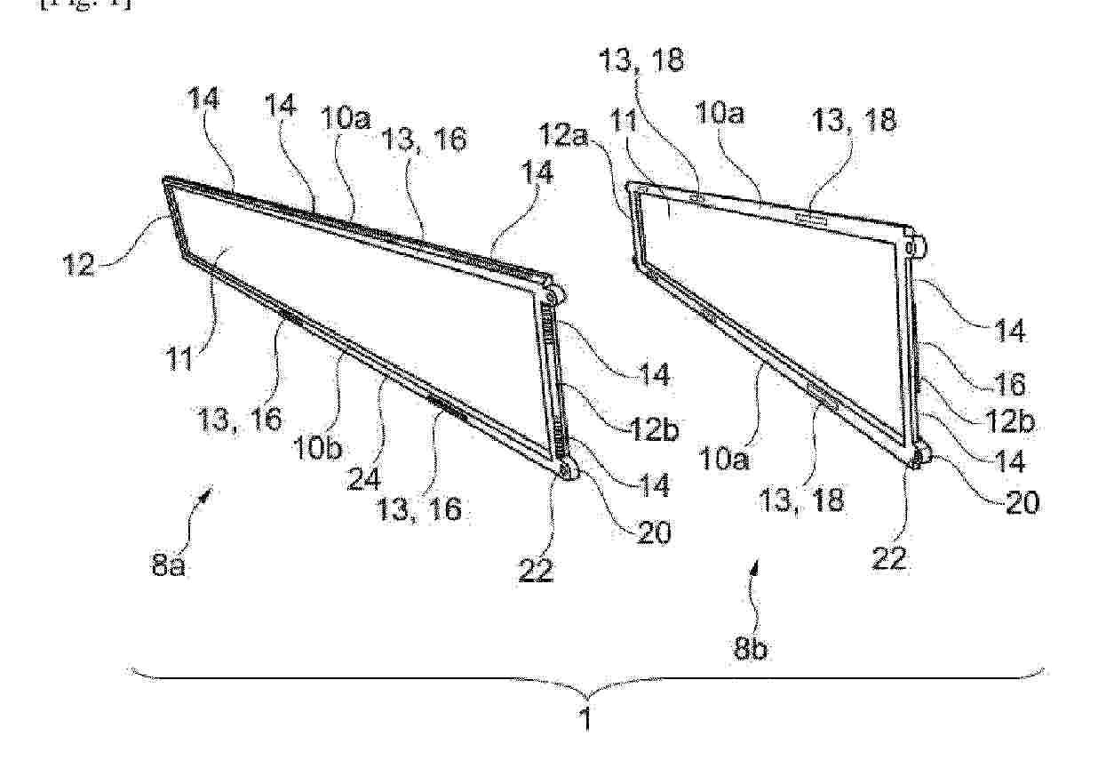
BATTERY PACK CELL HOLDING FRAME WITH COOLING

NºPublicación:  EP4639668A1 29/10/2025
Solicitante: 
AMPERE SAS [FR]
Ampere SAS
WO_2024132855_PA

Resumen de: WO2024132855A1

The present invention relates to a holding frame (1) for at least one electrochemical cell and intended to be integrated into a battery pack in an electric vehicle, comprising a first half-frame (8a), a second half-frame (8b) and an electrochemical cell, the electrochemical cell being held between the half-frames (8a, 8b), characterized in that at least one recess (14) is formed along at least one of the half-frames (8a, 8b), said recess (14) being intended to be flown through by a cooling fluid for the electrochemical cells.

PREPARATION PROCESS FOR ALL-SOLID-STATE BATTERIES

NºPublicación:  EP4639647A1 29/10/2025
Solicitante: 
SAINT GOBAIN CERAMICS [US]
Saint-Gobain Ceramics & Plastics Inc
KR_20250124238_PA

Resumen de: CN120435778A

The present invention relates to a method for preparing an all-solid-state battery (ASSB) element or ASSB comprising a halide solid electrolyte, wherein the method comprises an oxidation step and a venting step. The invention further relates to an ASSB element and an ASSB obtained with the method according to the invention.

INERTING DEVICE AND METHOD FOR AN ELECTROCHEMICAL ACCUMULATOR

NºPublicación:  EP4639664A1 29/10/2025
Solicitante: 
COMMISSARIAT ENERGIE ATOMIQUE [FR]
Commissariat \u00E0 l'Energie Atomique et aux Energies Alternatives
WO_2024133837_PA

Resumen de: WO2024133837A1

Disclosed are an inerting device and method using an electrochemical accumulator cell (1) which comprises a casing (4) enclosing active areas (2) and a dead volume (6), as well as an inerting spacer (17) that consists of a solid porous part, is arranged inside the casing (4) and is included in the dead volume (6).

BATTERY ASSEMBLY

NºPublicación:  EP4639671A1 29/10/2025
Solicitante: 
OCADO INNOVATION LTD [GB]
Ocado Innovation Limited
KR_20250124229_PA

Resumen de: CN120359655A

A battery assembly is provided that includes a battery pack including an outer battery pack housing and a base electrical connector, and a service box. The service box includes an outer service box housing, an intermediate electrical connector, and an end electrical connector. The intermediate electrical connector is electrically coupled to the end electrical connector, and the intermediate electrical connector and the base electrical connector are configured to reversibly connect to each other. The battery pack case is detachably attached to the service box case to form a single unit in which the base electrical connector is connected to the intermediate electrical connector and the end electrical connectors are exposed to the outside to allow the battery pack to be electrically coupled to an external device via the service box. The end electrical connector is mounted on the service box housing such that the end electrical connector is movable relative to the service box housing in a direction substantially perpendicular to a connection direction of the end electrical connector. A battery replacement system is provided that includes a battery assembly and an external device including a battery compartment configured to removably receive the battery assembly. The battery compartment includes a compartment electrical connector configured to be reversibly connected to an end electrical connector of the battery assembly to electrically couple the battery assembly to an external

LITHIUM BATTERY DATA ACQUISITION ANOMALY IDENTIFICATION METHOD AND SYSTEM, STORAGE MEDIUM AND DEVICE

NºPublicación:  EP4641235A1 29/10/2025
Solicitante: 
HEFEI GOTION HIGH TECH POWER ENERGY CO LTD [CN]
Hefei Gotion High-Tech Power Energy Co., Ltd
EP_4641235_PA

Resumen de: EP4641235A1

The present invention relates to a lithium battery data acquisition anomaly identification method and system, a storage medium and a device. The method includes: performing data preprocessing on voltage data of a battery management system to form derived voltage time series features; extracting voltage time series features of adjacent cells in a battery pack according to the derived voltage time series features, and calculating the mean and variance of voltages of all cells, to form new voltage time series features; performing anomaly identification on the new voltage time series features to find out an outlying time series point of a cell voltage; and performing time series analysis on voltages of adjacent cells according to the outlying time series point of a cell voltage, and identifying a position where voltage acquisition of adjacent cells is anomalous. According to the present invention, the accuracy of anomaly identification of voltage acquisition of adjacent cells can be improved, and the method can be applied to the fields of lithium-ion battery state acquisition, monitoring and early warning.

BATTERY CELL HORIZONTALLY-ARRANGED MODULE HAVING THERMAL RUNAWAY PROTECTION STRUCTURE

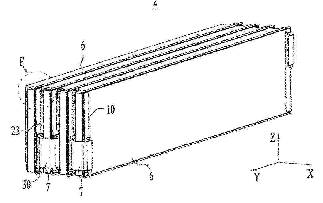
NºPublicación:  EP4641759A1 29/10/2025
Solicitante: 
HEFEI GOTION HIGH TECH POWER ENERGY CO LTD [CN]
Hefei Gotion High-Tech Power Energy Co., Ltd
EP_4641759_A1

Resumen de: EP4641759A1

Provided is a cell horizontally-arranged module having a thermal runaway protection structure. The cell horizontally-arranged module comprises a cell module, an insulation protection member, an end plate, a connecting shell and a cooling member, wherein the cell module comprises a battery unit and a fireproof heat insulation layer; the battery unit and the fireproof heat insulation layer are alternately stacked, and the battery units are stacked in a thickness direction, such that the cell module is horizontally placed; the fireproof heat insulation layer prevents heat from being transferred to an adjacent battery unit via a side surface after the battery unit is in thermal runaway; output electrode plates are provided at two ends of the cell module; the insulation protection members are arranged on the output electrode plates, and the end plates are arranged outside the insulation protection members; the insulation protection members prevent the output electrode plates from coming into contact with the end plates after the cell module is in thermal runaway; and the connecting shell is arranged on a side face of the horizontally-arranged cell module, the connecting shell is connected to the end plates, and the cooling member is arranged on the connecting shell. The height of a chassis of a new energy vehicle is limited, the number of stacked layers of the horizontally-arranged module is relatively small, and the thermal diffusion safety level is high.

SUPPORT ASSEMBLY, BATTERY PACK, AND VEHICLE

NºPublicación:  EP4641793A1 29/10/2025
Solicitante: 
BYD CO LTD [CN]
BYD Company Limited
EP_4641793_PA

Resumen de: EP4641793A1

This application discloses a holder assembly (100), a battery pack (202), and a vehicle (200). The holder assembly (100) includes an insulated holder (20) and a connecting bottom plate (30), where the insulated holder (20) includes accommodating grooves (21) and exhaust channels (22) in communication with the accommodating grooves (21), the accommodating groove (21) is used for arrangement of a battery cell (10), the exhaust channel (22) is adapted to correspond to explosion-proof valves of the battery cells (10), the connecting bottom plate (30) is connected to the insulated holder (20), and the connecting bottom plate (30) closes the exhaust channel (22) on a side, away from the battery cell (10), of the insulated holder (20).

BATTERY MODULE AND VEHICLE

NºPublicación:  EP4641798A1 29/10/2025
Solicitante: 
BYD CO LTD [CN]
BYD Company Limited
EP_4641798_PA

Resumen de: EP4641798A1

A vehicle has a battery module. The battery module includes a battery cell, a first material layer, and a second material layer. There are a plurality of battery cells, the plurality of battery cells are successively arranged in a first direction, and the battery cell includes a negative electrode plate, a diaphragm, and a positive electrode plate that are successively stacked in the first direction. Both the first material layer and the second material layer are disposed between two adjacent battery cells, the first material layer is located at an edge of the battery cell, and the second material layer covers at least an intermediate region of the battery cell. Hardness of the first material layer is greater than hardness of the second material layer, and the second material layer has a compressible amount.

FIRE-FIGHTING SYSTEM AND ENERGY STORAGE SYSTEM

NºPublicación:  EP4640286A1 29/10/2025
Solicitante: 
CONTEMPORARY AMPEREX FUTURE ENERGY RES INSTITUTE SHANGHAI LIMITED [CN]
CONTEMPORARY AMPEREX TECHNOLOGY CO LTD [CN]
Contemporary Amperex Future Energy Research Institute (Shanghai) Limited,
Contemporary Amperex Technology Co., Limited
EP_4640286_PA

Resumen de: EP4640286A1

This application discloses a firefighting system and an energy storage system. The firefighting system includes: a sealed compartment, a circulation system, and a supply system. The sealed compartment is configured to accommodate at least one energy storage unit; the circulation system includes a circulation pipeline and a gas driving assembly, where two ends of the circulation pipeline are in communication with the sealed compartment to form a gas circulation loop; the gas driving assembly is disposed in the gas circulation loop; and a flame-retardant gas supply system is connected to the circulation system. The above solution can reduce the risk of fire or explosion inside the sealed compartment.

AROMATIC POLYMER, PROCESS FOR PRODUCING A POLYMER, MEMBRANE AND USE OF A MEMBRANE

NºPublicación:  EP4638547A1 29/10/2025
Solicitante: 
FORSCHUNGSZENTRUM JUELICH GMBH [DE]
Forschungszentrum J\u00FClich GmbH
DE_102023115989_PA

Resumen de: WO2024260775A1

The present invention relates to an aromatic polymer, in particular an ion exchange polymer, preferably an anion exchange polymer or cation exchange polymer, which has at least one aromatic unit in its repeating unit, and wherein the polymer main chain of the polymer does not have any pure heteroatom bridges.

BATTERY SYSTEM, ELECTRIC VEHICLE, CELL CONTACTING UNIT AND METHOD FOR ASSEMBLING THE BATTERY SYSTEM

NºPublicación:  EP4641770A1 29/10/2025
Solicitante: 
SAMSUNG SDI CO LTD [KR]
Samsung SDI Co., Ltd
EP_4641770_PA

Resumen de: EP4641770A1

The present disclosure refers to a battery system (100). The battery system (100) includes a battery pack (10), a cell contacting unit, CCU, carrier (18) and a plurality of busbars (20). The battery pack (10) includes a plurality of battery cells (12) each having a pair of electrode terminals (14) and a venting valve (16) disposed on a terminal side of the battery cells (12). The terminal side of the battery cells (12) faces a first side of the battery pack (10) along a z-direction. The CCU carrier (18) is disposed on the terminal side of each of the battery cells (12). The plurality of busbars (20) is disposed on the electrode terminals (14) of the battery cells (12) and is in mechanical contact with the CCU carrier (18). The busbars (20) each includes an elastic member (22) configured to exert a clamping force on the CCU carrier (18).

BATTERY SYSTEM INCLUDING IMPROVED CELL COVER ATTACHMENT

NºPublicación:  EP4641801A1 29/10/2025
Solicitante: 
SAMSUNG SDI CO LTD [KR]
Samsung SDI Co., Ltd
EP_4641801_PA

Resumen de: EP4641801A1

The present disclosure refers to a battery system (100) including a plurality of battery cells (12), wherein each of the battery cells (12) includes a venting side with a venting exit (14) for discharging a venting gas stream (V), a cover element (20) covering one or more of the plurality of battery cells (12) at the venting sides to protect the battery cells (12) from the venting gas stream (V), wherein the cover element (20) is directly sealed to the venting side of each battery cell (12) by an adhesive (16) extending around each of the venting exits (14).

DETERMINATION OF A CHARGE AMOUNT OF A SOLID ELECTROLYTE BOUNDARY PHASE OF A BATTERY CELL

NºPublicación:  EP4641721A1 29/10/2025
Solicitante: 
SIEMENS AG [DE]
Siemens Aktiengesellschaft
EP_4641721_PA

Resumen de: EP4641721A1

Es wird ein Verfahren zur Ermittlung einer Ladungsmenge Q<sub>SEI</sub>(t) einer Feststoff-Elektrolyt-Grenzphase (SEI) einer Batteriezelle (1) vorgeschlagen, wobei die Batteriezelle (1) eine positive und negative Elektrode (11, 12) aufweist, und an die Batteriezelle (1) eine zeitabhängige Spannung V(t) angelegt wird. Das Verfahren ist wenigstens durch folgende Schritte gekennzeichnet:- Ermitteln einer Ruhespannung V<sub>0</sub>(t) der Batteriezelle (1);- Ermitteln einer Ladungsmenge Q<sub>+</sub>(t) der positiven Elektrode (11);- Ermitteln einer Ladungsmenge Q_(t) der negativen Elektrode (12) mittels der ermittelten Ladungsmenge der positiven Elektrode Q<sub>+</sub>(t) (11) und der ermittelten Ruhespannung V<sub>0</sub>(t); und- Ermitteln der Ladungsmenge Q<sub>SEI</sub>(t) der Feststoff-Elektrolyt-Grenzphase (SEI) mittels den ermittelten Ladungsmengen Q<sub>+</sub>(t), Q<sub>-</sub>(t) der Elektroden (11, 12).Weiterhin betrifft die Erfindung ein Verfahren zur Regelung eines Formierungsprozesses einer Batteriezelle (1), ein Herstellungsverfahren einer Batteriezelle (1) sowie eine Vorrichtung zur Regelung eines Formierungsprozesses einer Batteriezelle (1).

BATTERY SYSTEM, ELECTRIC VEHICLE AND METHOD FOR ASSEMBLING THE BATTERY SYSTEM

NºPublicación:  EP4641800A1 29/10/2025
Solicitante: 
SAMSUNG SDI CO LTD [KR]
Samsung SDI Co., Ltd
EP_4641800_PA

Resumen de: EP4641800A1

The present disclosure refers to a battery system (100). The battery system (100) includes a battery pack (10), a cell contacting unit, CCU, carrier (18) and a heat resistant cell protection cover (20). The battery pack (10) includes a plurality of battery cells (12) each having a pair of electrode terminals (14) and a venting valve (16) disposed on a terminal side of the battery cells (12), wherein the terminal side of each of the battery cells (12) faces a first side of the battery pack (10) along a z-direction. The CCU carrier (18) is disposed on the terminal side of each of the battery cells (12). The heat resistant cell protection cover (20) is arranged between the CCU carrier (18) and the battery cells (12), wherein the heat resistant cell protection cover (20) covers the venting valves (16) of the battery cells (12) and is adapted to rupture if venting products are ejected through a venting valve (16) from an inside of one of the battery cells (12).

BATTERY PACK AND ELECTRIC APPARATUS

NºPublicación:  EP4641767A1 29/10/2025
Solicitante: 
BYD CO LTD [CN]
BYD Company Limited
EP_4641767_A1

Resumen de: EP4641767A1

A battery pack (10) and an electric apparatus are disclosed. The battery pack (10) includes a battery cell set (100), a heat exchange assembly (200), and a heating member (300). The battery cell set (100) includes a plurality of battery cells (101) arranged along a first direction. The battery cell (101) includes a battery cell body (1011), a first electrode terminal (1012), and a second electrode terminal (1013). The battery cell body (1011) extends along a second direction. The first direction is perpendicular to the second direction. The heat exchange assembly (200) is located on a side of the battery cell set (100) and is configured to perform heat exchange on the battery cell set (100). The heat exchange assembly (200) includes a plurality of medium flow channels (201) arranged along the second direction. The medium flow channel (201) extends along the first direction. The heating member (300) is located on a side of the battery cell set (100) and is configured to heat the battery cell set (100). The heating member (300) includes a plurality of heating sections (301) arranged along the second direction. The heating section (301) extends along the first direction.

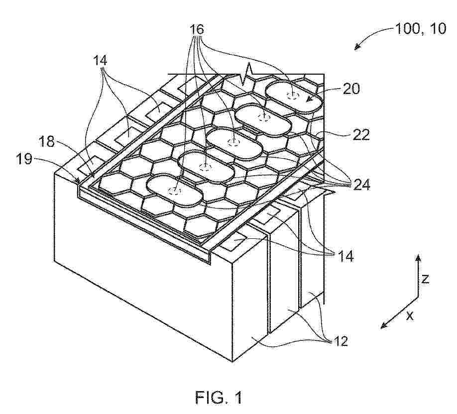
SEPARATOR AND PREPARATION METHOD THEREFOR, SECONDARY BATTERY, AND ELECTRIC APPARATUS

NºPublicación:  EP4641806A1 29/10/2025
Solicitante: 
CONTEMPORARY AMPEREX TECHNOLOGY HONG KONG LTD [HK]
Contemporary Amperex Technology (Hong Kong) Limited
EP_4641806_PA

Resumen de: EP4641806A1

Provided in the present application are a separator and a preparation method therefor, a secondary battery, and an electric apparatus. The separator comprises a first base film, a second base film, and an intermediate layer, which is located between the first base film and the second base film, wherein the melting point of the first base film is 175 °C or above, and the average pore size of the first base film is larger than or equal to 0.22µm; and the intermediate layer comprises filler particles, at least some of which are embedded into the first base film.

BATTERY CELL, BATTERY, AND ELECTRICAL DEVICE

NºPublicación:  EP4641816A1 29/10/2025
Solicitante: 
CONTEMPORARY AMPEREX TECHNOLOGY HONG KONG LTD [HK]
Contemporary Amperex Technology (Hong Kong) Limited
EP_4641816_PA

Resumen de: EP4641816A1

A battery cell, a battery, and an electrical device. The battery cell (40) comprises: an electrode assembly (10) comprising a plurality of electrode sheets (10a, 10b) and separators (10c) provided between adjacent electrode sheets (10a, 10b) having opposite polarities among the plurality of electrode sheets (10a, 10b), the plurality of electrode sheets (10a, 10b) and the separators (10c) being wound in a winding direction (wd) and forming a wound structure (100), wherein at least one of the plurality of electrode sheets (10a, 10b) comprises a current collector substrate (11) and a plurality of tabs (13), the plurality of tabs (13) are connected to at least one side edge of the current collector substrate (11) extending in the winding direction (wd), and arranged at intervals in the winding direction (wd), and at least part of the plurality of tabs (13) is bent toward a direction close to a winding axis (CL) of the wound structure (100), and forms a tab stack structure (130) at an end portion of the wound structure (100); a shell (4A) having a chamber for accommodating the electrode assembly (10); an electrode terminal (42) provided on a wall portion of the shell (4A); and conductive members (21, 22) welded to the tab stack structure (130) and electrically connected to the electrode terminal (42).

ENERGY STORAGE DEVICE

NºPublicación:  EP4641799A1 29/10/2025
Solicitante: 
CONTEMPORARY AMPEREX TECHNOLOGY HONG KONG LTD [HK]
Contemporary Amperex Technology (Hong Kong) Limited
EP_4641799_PA

Resumen de: EP4641799A1

Disclosed in embodiments of the present application is an energy storage device. The energy storage device is used for storing a plurality of batteries (10), and comprises: a first wall (31); and a pressure relief assembly (32) arranged on the first wall (31). Therefore, according to the energy storage device of the embodiments of the present application, the reliability of the energy storage device can be improved.

ELECTROLYTE AND SODIUM METAL BATTERY CONTAINING SAME, AND ELECTROCHEMICAL DEVICE

NºPublicación:  EP4641737A1 29/10/2025
Solicitante: 
CONTEMPORARY AMPEREX TECHNOLOGY CO LTD [CN]
Contemporary Amperex Technology Co., Limited
EP_4641737_A1

Resumen de: EP4641737A1

The present invention relates to an electrolyte as well as a sodium metal battery and an electrochemical apparatus containing the same. The electrolyte includes a non-aqueous solvent and a sodium salt; the non-aqueous solvent includes an ether solvent, where the ether solvent includes ethylene glycol dimethyl ether and one or more compounds represented by general formula I: R1-(O-R3)<sub>n</sub>-O-R2 (general formula I); where R1 and R2 are each independently selected from a C1 to C6 alkyl group, R3 is selected from a C1 to C5 alkylene group, and n is an integer from 2 to 5; or, R1 and R2 are each independently selected from a C2 to C6 alkyl group, R3 is selected from a C1 to C5 alkylene group, and n is 1; and a mass percentage of ethylene glycol dimethyl ether is 5% to 50%. By applying the electrolyte, the cycle performance of the sodium metal battery under low-temperature conditions can be improved.

BATTERY CELL, BATTERY, AND ELECTRICAL DEVICE

NºPublicación:  EP4641773A1 29/10/2025
Solicitante: 
CONTEMPORARY AMPEREX TECHNOLOGY CO LTD [CN]
Contemporary Amperex Technology Co., Limited
EP_4641773_PA

Resumen de: EP4641773A1

This application provides a battery cell, a battery, and an electric apparatus. The battery cell includes a housing and a pressure relief mechanism. The housing has a first wall and a second wall disposed opposite each other along a first direction. The housing is provided with a recess, where the recess is recessed relative to a surface of the second wall facing away from the first wall. The pressure relief mechanism is disposed on the first wall, where a projection of the pressure relief mechanism along the first direction at least partially overlaps a projection of the recess along the first direction.

ELECTRODE FABRICATION PROCESS

NºPublicación:  EP4639643A1 29/10/2025
Solicitante: 
SAKUU CORP [US]
Sakuu Corporation
KR_20250142858_PA

Resumen de: US2024222594A1

A method for manufacturing a battery electrode includes mixing particles of active electrode materials, conductive additives, and binder to form a dry powder electrode material. The dry powder is then deposited onto a moving electrode current collector using a dry powder dispensing device. The dry powder is a loose powder continuously poured from the dispensing device onto a moving current collector in a roll-to-roll system where the powder remains loose on the current collector as it travels towards a compaction stage. After being poured onto the current collector, the loose dry powder is uniformly spread across the width of the moving current collector web by one or more spreading devices, such as smoothing rollers and conditioning rollers. Finally, the dry powder is compacted using a calender configured to apply pressure and/or heat to the dry powder electrode material to activate the binder and form a battery electrode.

BATTERY BOXES AND BATTERY SYSTEMS

Nº publicación: EP4641771A1 29/10/2025

Solicitante:

EVE ENERGY CO LTD [CN]
Eve Energy Co., Ltd

EP_4641771_PA

Resumen de: EP4641771A1

A battery box and a battery system are provided. A support plate (200) and a side plate assembly (110) in the battery box are enclosed to form a first accommodating cavity (120). The support plate (200) is provided with a plurality of first through holes (210), and each of the first through holes (210) is disposed in one-to-one correspondence with an explosion-proof valve of each of the single-cells (400). A first surface of the support plate (200) is provided with a first heat insulating layer (220), and the first heat insulating layer (220) seals each of the first through holes (210). A bottom plate (300) and the support plate (200) are spaced apart, and the bottom plate (300), the support plate (200) and the side plate assembly (110) are enclosed to form a pressure relief cavity (310).

traducir