Ministerio de Industria, Turismo y Comercio LogoMinisterior
 

Almacenamiento en baterías

Resultados 1468 resultados
LastUpdate Última actualización 02/04/2026 [07:26:00]
pdfxls
Publicaciones de los últimos 15 días/Last 15 days publications (excluidas pubs. CN y JP /CN and JP pubs. excluded)
previousPage Resultados 200 a 225 de 1468 nextPage  

BATTERY AND BATTERY PACK AND VEHICLE COMPRISING SAME

NºPublicación:  EP4718570A1 01/04/2026
Solicitante: 
LG ENERGY SOLUTION LTD [KR]
LG Energy Solution, Ltd
EP_4718570_PA

Resumen de: EP4718570A1

A battery according to an embodiment of the present disclosure may include: an electrode assembly having a first uncoated portion extending on a first surface, the first surface including a first area covered by the first uncoated portion and a second area not covered by the first uncoated portion; a battery housing configured to receive the electrode assembly through an opening formed on one side; and a current collector disposed on the first surface of the electrode assembly so as to be electrically connected to the electrode assembly, and having a current collector opening formed in an area corresponding to the second area of the electrode assembly.

FLEXIBLE FLAT CABLE ASSEMBLY DEVICE AND ASSEMBLY METHOD THEREOF

NºPublicación:  EP4718618A1 01/04/2026
Solicitante: 
LG ENERGY SOLUTION LTD [KR]
LG Energy Solution, Ltd
EP_4718618_PA

Resumen de: EP4718618A1

A flexible flat cable assembly device for manufacturing a battery cell unit according to various embodiments comprises: a transfer member; and a plurality of gripping members protruding from the transfer member, wherein the plurality of gripping members may include a first gripping member for gripping one end of a flexible flat cable and a second gripping member for gripping the other end of the flexible flat cable. Various other embodiments are possible.

LASER WELDING JIG, LASER WELDING SYSTEM, AND WELDING METHOD USING SAME

NºPublicación:  EP4717399A1 01/04/2026
Solicitante: 
LG ENERGY SOLUTION LTD [KR]
LG Energy Solution, Ltd
EP_4717399_PA

Resumen de: EP4717399A1

A laser welding jig according to the present invention is applied to a battery cell assembly including a plurality of stacked battery cells and a side frame covering at least a portion of the plurality of battery cells, in which two adjacent leads are bent and welded, and the laser welding jig comprises: a pallet configured to allow the battery cell assembly to be seated thereon; and a protective jig arranged between the two adjacent leads.

GRIPPER AND METHOD FOR MANUFACTURING BATTERY PACK BY USING SAME

NºPublicación:  EP4717637A1 01/04/2026
Solicitante: 
LG ENERGY SOLUTION LTD [KR]
LG Energy Solution, Ltd
EP_4717637_PA

Resumen de: EP4717637A1

Provided are a gripper and a method for manufacturing a battery pack by using same. The gripper according to an embodiment, which is for transporting, to a pack housing, a battery cell stack assembly including multiple flat battery cells stacked in a horizontal first direction and side beams coupled to one side and the other side in the horizontal first direction of the multiple flat battery cells, may include: a base disposed above the battery cell stack assembly; a suction part disposed on the lower side of the central area of the base to suck onto the battery cell stack assembly; and lift pins protruding below the base and coupling to grip holes formed in the side beams in the vertical direction.

POSITIVE ELECTRODE ACTIVE MATERIAL AND PREPARATION METHOD THEREFOR, AND LITHIUM ION BATTERY

NºPublicación:  EP4718535A1 01/04/2026
Solicitante: 
NINGBO RONBAY NEW ENERGY TECH CO LTD [CN]
Ningbo Ronbay New Energy Technology Co., Ltd
EP_4718535_A1

Resumen de: EP4718535A1

A positive electrode material, a preparation method thereof and a lithium-ion battery are provided. A first aspect provides a positive electrode active material, where a chemical composition of the positive electrode active material is Li<sub>1+a</sub>Ni<sub>x</sub>Co<sub>y</sub>Ml<sub>z</sub>M2<sub>b</sub>O<sub>2±c</sub>A<sub>d</sub>, M1 is one or two of Mn or Al, M2 is one or more of Zr, Mg, Ti, Te, Al, Ca, Sr, Sb, Nb, Pb, V, Ge, Se, W, Mo, Zn, Ce, or Y; and A is one of F, Cl, or S. By controlling the Ni content in secondary particles of different particle sizes, the problem of non-uniform degradation of the secondary particles of different particle sizes during battery cycling can be avoided, thereby improving the cycling stability of lithium-ion batteries.

POSITIVE ELECTRODE MATERIAL, PREPARATION METHOD THEREFOR, AND USE THEREOF

NºPublicación:  EP4718528A1 01/04/2026
Solicitante: 
NINGBO RONBAY NEW ENERGY TECH CO LTD [CN]
Ningbo Ronbay New Energy Technology Co., Ltd
EP_4718528_PA

Resumen de: EP4718528A1

Provided are a positive electrode material, and a preparation method and a use thereof. The positive electrode material has a Dv50 value of α, with the unit of um, the lithium-rich amount of the positive electrode material is y, and the average porosity of the positive electrode material is denoted as β% in percentage, α, β, and γ satisfying: δ=β-2α+75γ/3, where 0≤δ≤4.0. By means of defining the relational expression of the Dv50, the average porosity and the lithium-rich amount of the positive electrode material, a lithium-ion battery prepared by the positive electrode material has excellent specific capacity, energy density, rate capability and cycle performance simultaneously, and particularly can maintain excellent electrochemical properties at high voltage.

FLUOROSULFONYLIMIDE SALT AND PREPARATION METHOD THEREFOR

NºPublicación:  EP4717667A1 01/04/2026
Solicitante: 
EP CHEMTECH CO LTD [KR]
EP CHEMTECH CO., LTD
EP_4717667_PA

Resumen de: EP4717667A1

A fluorosulfonylimide salt is disclosed. This fluorosulfonylimide salt represented by chemical formula (Ib) of the present invention contains at least one of an impurity represented by chemical formula (IIb), NS<sub>2</sub>O<sub>5</sub>F<sup>2-</sup>, and an impurity represented by chemical formula (IIIb), NS<sub>2</sub>O<sub>6</sub><sup>3-</sup>, wherein the content of NS<sub>2</sub>O<sub>5</sub>F<sup>2-</sup> is 10,000 ppm or less, and the content of NS<sub>2</sub>O<sub>6</sub><sup>3-</sup> is 10,000 ppm or less (in chemical formula (Ib), M2 is one of Li, Na, K, Ca, Mg, Zn, Sb, Rb, and Cs; and A1 is a fluorine atom, or an alkyl group having 1 to 6 carbon atoms in which at least one hydrogen atom is substituted with a fluorine atom).... chemical formula (Ib) ... chemical formula (IIb) ... chemical formula (IIIb) The fluorosulfonylimide salt according to the present invention can reduce the corrosion of electrolytes, additives, and current collectors.

SECONDARY BATTERY

NºPublicación:  EP4718615A2 01/04/2026
Solicitante: 
SAMSUNG SDI CO LTD [KR]
SAMSUNG SDI CO., LTD
EP_4718615_PA

Resumen de: EP4718615A2

A secondary battery including an electrode assembly, a case in which the electrode assembly is accommodated, a cap assembly covering an opening of the case, and a fire-extinguishing member accommodated inside the case, the fire-extinguishing member in contact with the cap assembly.

PROTECTION CIRCUIT MODULE AND BATTERY PACK INCLUDING THE SAME

NºPublicación:  EP4718572A1 01/04/2026
Solicitante: 
SAMSUNG SDI CO LTD [KR]
SAMSUNG SDI CO., LTD
EP_4718572_PA

Resumen de: EP4718572A1

A protection circuit module includes: a protection circuit board electrically connected to an electrode tab protruding from one surface of a bare cell, and including a molding member covering one surface of the protection circuit board; a printed circuit board (PCB) on another surface of the protection circuit board opposite to the one surface; and a first spacer coupled with one end of the protection circuit board with respect to a longitudinal direction of the protection circuit board. The protection circuit board includes a first coupling portion coupled with the first spacer, and the first spacer includes a second coupling portion corresponding to the first coupling portion.

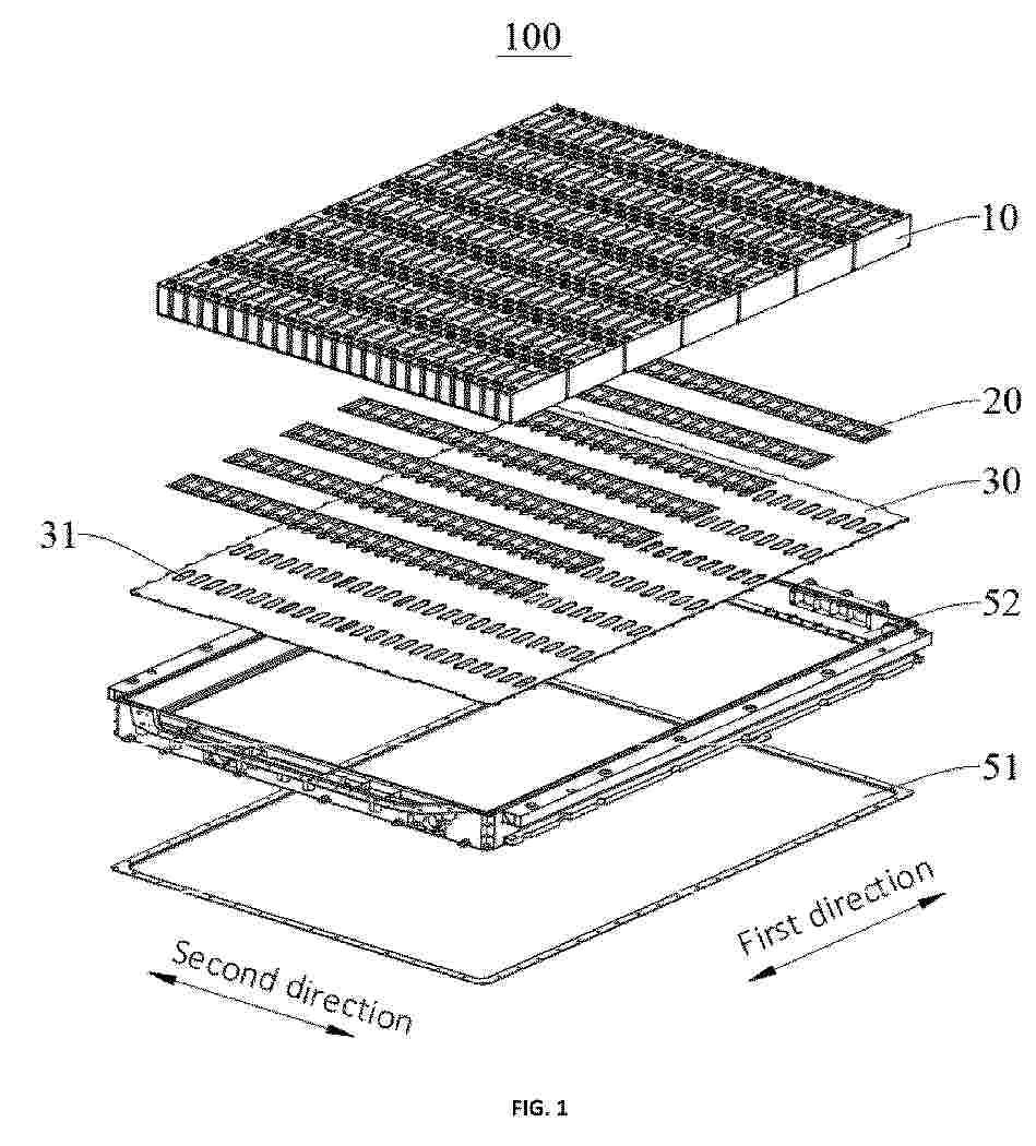
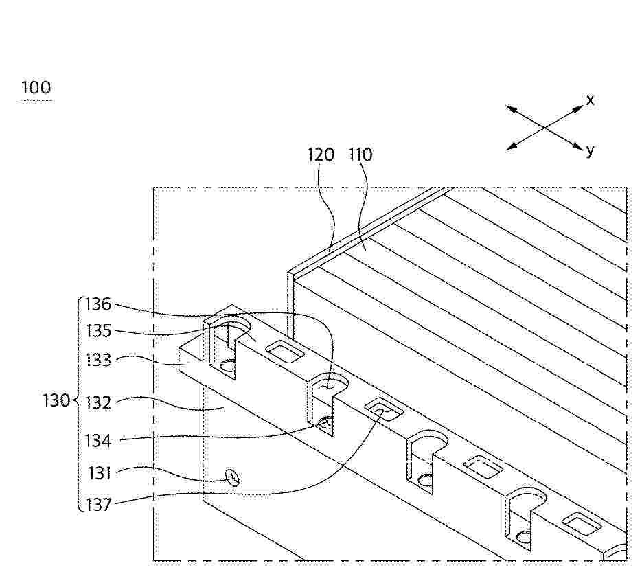
BATTERY CELL STACKING ASSEMBLY AND METHOD FOR MANUFACTURING SAME

NºPublicación:  EP4718549A1 01/04/2026
Solicitante: 
LG ENERGY SOLUTION LTD [KR]
LG Energy Solution, Ltd
EP_4718549_PA

Resumen de: EP4718549A1

Provided are a battery cell stacking assembly and a method for manufacturing same. A battery cell stacking assembly according to one aspect of the present specification comprises: a plurality of plate-shaped battery cells stacked in a horizontal first direction; and side beams coupled to one side and the other side of the plurality of plate-shaped battery cells in the horizontal first direction.

WELDING APPARATUS FOR MANUFACTURING SECONDARY BATTERY AND METHOD OF MANUFACTURING SECONDARY BATTERY

NºPublicación:  EP4717393A1 01/04/2026
Solicitante: 
SAMSUNG SDI CO LTD [KR]
SAMSUNG SDI CO., LTD
EP_4717393_PA

Resumen de: EP4717393A1

A welding apparatus for manufacturing a secondary battery includes an electrode tab welding tool configured to weld a plurality of electrode tabs formed on an electrode plate forming an electrode assembly to form an electrode tab welding portion and a strip conductor welding tool configured to weld a strip conductor to the welded electrode tab to form a strip conductor welding portion. The strip conductor to be electrically connected to an external terminal, and the strip conductor welding tool and the electrode tab welding tool being configured to form the strip conductor welding portion and the electrode tab welding portion in areas not overlapping each other.

ENERGY STORAGE SYSTEM AND OPERATING METHOD THEREOF

NºPublicación:  EP4718663A1 01/04/2026
Solicitante: 
LG ENERGY SOLUTION LTD [KR]
LG Energy Solution, Ltd
EP_4718663_PA

Resumen de: EP4718663A1

An energy storage system according to one embodiment disclosed herein includes an inverter electrically connected to a grid, a converter configured to receive a communication signal and an enable signal related to an operating state of the inverter from the inverter and connected to the inverter through a power transmission line, and a controller configured to determine an outage state of the grid or a power supply state from the inverter to the converter based on the communication signal and the enable signal.

SULFIDE SOLID ELECTROLYTE, AND PREPARATION METHOD THEREFOR AND USE THEREOF

NºPublicación:  EP4718559A1 01/04/2026
Solicitante: 
NINGBO RONBAY NEW ENERGY TECH CO LTD [CN]
Ningbo Ronbay New Energy Technology Co., Ltd
EP_4718559_PA

Resumen de: EP4718559A1

A sulfide solid electrolyte, and a preparation method thereof and a use thereof, where the sulfide solid electrolyte has a chemical composition of LiaSbbPcSdOeClf, where 4.5≤a≤6.5, 0.02≤b≤0.9, 0.01≤e≤0.06, 0.9≤f≤1.6, b+c=1, d+e=5, and a percentage of Sb-S bonding in a total bonding formed by Sb is not less than 98%. In an X-ray diffraction pattern of the sulfide solid electrolyte, intensities of diffraction peaks at 2θ of 29.8±0.25°, 33.33±0.25° and 31.45±0.25° are Ia, Ib and Ic, respectively; where Ic/Ia is 18-26%, and Ic/Ib is 25-36%. The sulfide solid electrolyte has good ionic conductivity, and also has good stability in air.

COMPOSITE POSITIVE ELECTRODE MATERIAL, PREPARATION METHOD THEREFOR AND USE THEREOF

NºPublicación:  EP4718538A1 01/04/2026
Solicitante: 
NINGBO RONBAY NEW ENERGY TECH CO LTD [CN]
Ningbo Ronbay New Energy Technology Co., Ltd
EP_4718538_PA

Resumen de: EP4718538A1

A composite positive electrode material, a preparation method thereof and a use thereof, where the composite positive electrode material includes an inner core and a carbon coating layer covering at least part of a surface of the inner core and/or embedded in the inner core; the inner core includes NaFePO4 and a compound represented by Formula 1; Na4+xFe3-y(PO4)2+zP2O7 Formula 1; in Formula 1, - 0.15≤x≤0.8, 0≤y≤0.5, and -0.2≤z≤0.2; and a particle size of NaFePO4 is ≤ 100 nm. The composite positive electrode material, when used in batteries, can improve the capacity and rate capability of the batteries.

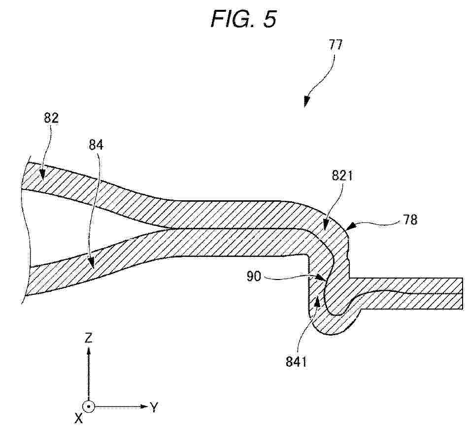
FLOW PATH FORMING MEMBER, MANUFACTURING METHOD THEREFOR, AND MANUFACTURING APPARATUS THEREOF

NºPublicación:  EP4717374A1 01/04/2026
Solicitante: 
AISIN CORP [JP]
AISIN CORPORATION
EP_4717374_PA

Resumen de: EP4717374A1

Provided is a flow path forming member (70) that forms a flow path through which a heat medium passes. The flow path forming member includes a first wall surface portion (82) and a second wall surface portion (84), and a seal portion (78) related to the flow path outside a formation position of the flow path while the first wall surface portion and the second wall surface portion face each other at a distance at the formation position of the flow path. The seal portion is formed by a mechanical deformation portion (821) of the first wall surface portion and a mechanical deformation portion (841) of the second wall surface portion that are integrated with each other via a joint surface (90).

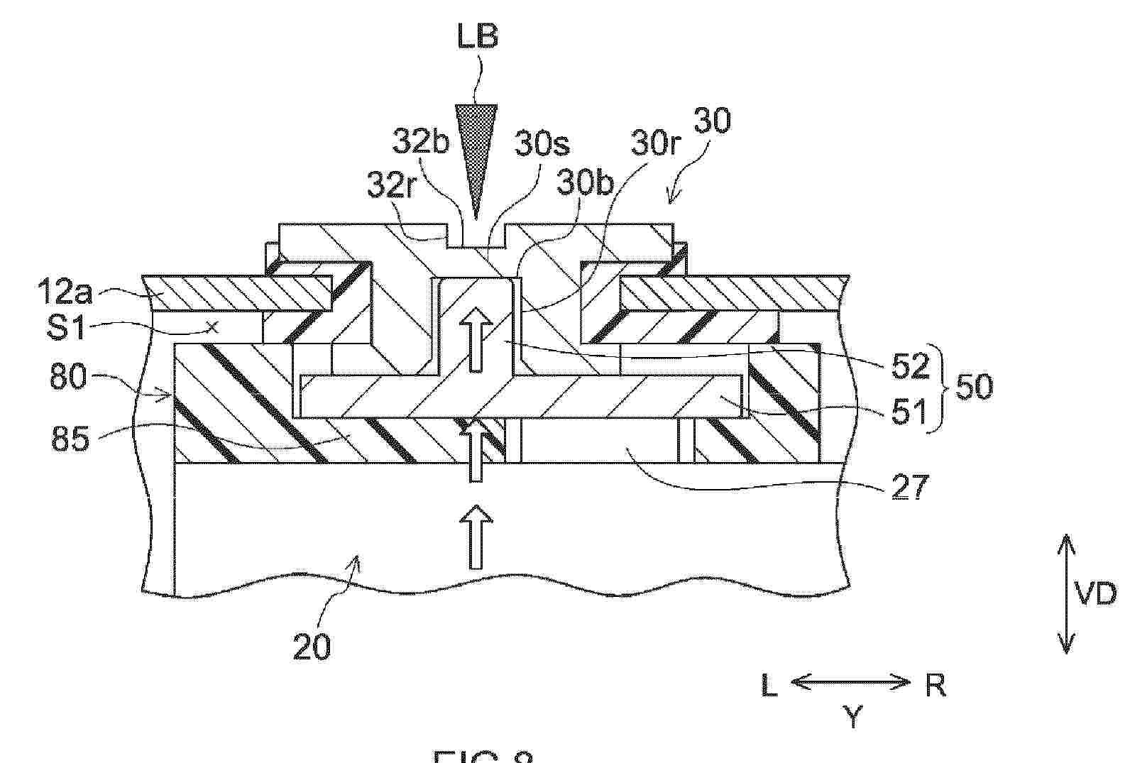
ELECTRICAL ENERGY STORAGE DEVICE AND MANUFACTURING METHOD FOR THE SAME

NºPublicación:  EP4718591A1 01/04/2026
Solicitante: 
PRIME PLANET ENERGY & SOLUTIONS INC [JP]
Prime Planet Energy & Solutions, Inc
EP_4718591_PA

Resumen de: EP4718591A1

The present disclosure provides a manufacturing method for an electrical energy storage device (100) including an electrode body (20), a case (10), and a first electrode terminal (30) attached to a bottom wall (12a) of the case (10). This manufacturing method includes a step of electrically connecting a first current collecting member (50) to the electrode body (20), a step of inserting the electrode body (20) into the case main body (12) and disposing at least a part (52) of the first current collecting member (50) into a first concave part (30r) of the first electrode terminal (30), and a step of delivering an energy beam (LB) from a side of the first electrode terminal (30), thereby joining by welding the part of the first current collecting member (50) that is disposed inside the first concave part (30r) to the first electrode terminal (30).

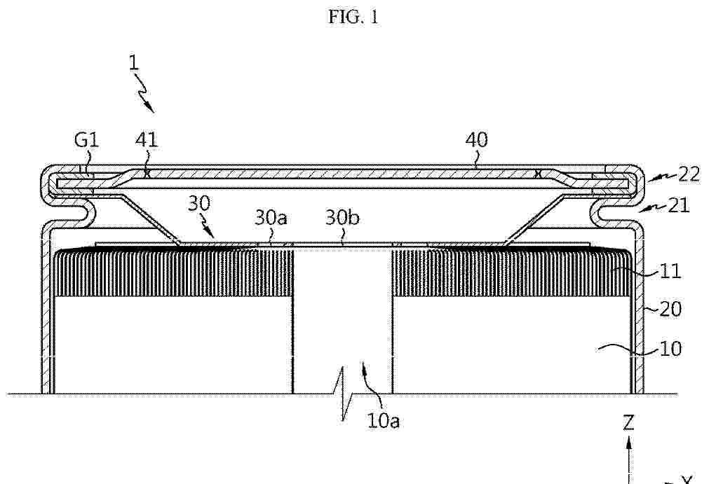
BATTERY PACK AND ELECTRIC DEVICE

NºPublicación:  EP4718583A1 01/04/2026
Solicitante: 
XIAOMI EV TECH CO LTD [CN]
Xiaomi EV Technology Co., Ltd
EP_4718583_PA

Resumen de: EP4718583A1

The present invention relates to a battery pack (100) and an electric device (1000). The battery pack (100) includes a battery cell (10), an insulating member (20) and a supporting component (30), a clearance port (31) is formed in the supporting component (30) and is arranged corresponding to an anti-explosion valve (11) of the battery cell (10), the insulating member (20) is arranged between the battery cell (10) and the supporting component (30), the insulating member (20) includes a body (221) and a shielding portion (222) connected to the body (221), the shielding portion (222) is arranged corresponding to the clearance port (31), and at least part of the shielding portion (222) is arranged as being capable of turning over relative to the body (221) under an action of gas of the anti-explosion valve (11), so as to shield at least part of an inner wall (311) of the clearance port (31).

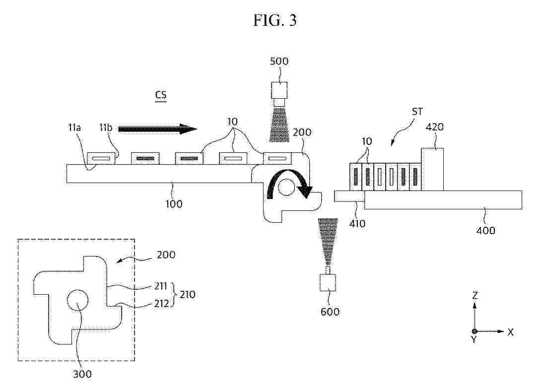
BATTERY CELL STACKING SYSTEM

NºPublicación:  EP4718548A1 01/04/2026
Solicitante: 
LG ENERGY SOLUTION LTD [KR]
LG Energy Solution, Ltd
EP_4718548_PA

Resumen de: EP4718548A1

Provided is a battery cell stacking system comprising: a stacking worktable on which a cell stack including one or more battery cells is manufactured; and a stacking device for stacking the one or more battery cells on the stacking worktable. The stacking device is configured to perform: a first operation of rotating around a rotation shaft connected to the stacking device in a state in which the one or more battery cells are seated; and a second operation of moving toward the stacking worktable to supply the one or more battery cells to the stacking worktable.

ENERGY STORAGE APPLIANCE AND POWER SUPPLY SYSTEM

NºPublicación:  EP4718660A1 01/04/2026
Solicitante: 
EVE ENERGY STORAGE CO LTD [CN]
Eve Energy Storage Co., Ltd
EP_4718660_PA

Resumen de: EP4718660A1

The present disclosure provides an energy storage appliance and a power supply system. The energy storage appliance includes an appliance body (10) and an energy storage battery (20). The appliance body (10) has an energy storage chamber (110). An outer surface of the appliance body (10) is formed with a first junction (120) configured to connect a mains supply grid (50) and a second junction (130) configured to connect a load circuit (60). The energy storage battery (20) is installed in the energy storage chamber (110). An input terminal of the energy storage battery (20) is electrically connected to the first junction (120) and configured to charge the energy storage battery (20) through the mains supply grid (50). An output terminal of the energy storage battery (20) is electrically connected to the appliance body (10) and the second junction (130) and configured to supply power to the appliance body (10) and the load circuit (60).

POSITIVE ELECTRODE AND PREPARATION METHOD THEREOF AND BATTERY

NºPublicación:  EP4718505A1 01/04/2026
Solicitante: 
AESC JAPAN LTD [JP]
AESC Japan Ltd
EP_4718505_A1

Resumen de: EP4718505A1

Disclosed are a positive electrode and a preparation method thereof and a battery. The positive electrode includes a current collector, an active material layer, and a conductive layer disposed between the current collector and the active material layer. The conductive layer includes an MXene material. Adding the MXene material in the conductive layer may elevate the conductive performance and stability of the battery, and may also strengthen the adhesion between the current collector and the active material layer, enhance the peel force of the positive electrode, and improve the long-term cycle stability of the battery. In addition, since the addition of the MXene material enhances the adhesion between the current collector and the active material layer, under the condition that the peel strength of the electrode sheet is ensured, the content of binder in the active material layer may be reduced.

BATTERY SYSTEM

NºPublicación:  EP4718093A1 01/04/2026
Solicitante: 
PRIME PLANET ENERGY & SOLUTIONS INC [JP]
Prime Planet Energy & Solutions, Inc
EP_4718093_PA

Resumen de: EP4718093A1

A memory storage unit of a battery system separately stores separately storing a start-up program related to starting up of a measuring means, a measurement program related to a measurement, and a state calculation program related to calculating of a battery state of a battery cell. A controller executes a first secure boot for a first program including the start-up program and thereafter executes a process contained in the first program. While the controller is executing the process contained in the first program, the controller executes a second secure boot for a second program including the measurement program or the state calculation program. The controller executes a process contained in the second program after the process of the first program is executed and the second secure boot is executed.

POLYMÈRE IONIQUEMENT CONDUCTEUR POUR ÉLECTROLYTE POLYMÈRE EN GEL ET ÉLECTROLYTE POLYMÈRE EN GEL COMPRENANT UN TEL POLYMÈRE IONIQUEMENT CONDUCTEUR

NºPublicación:  CH722172A2 31/03/2026
Solicitante: 
BELENOS CLEAN POWER HOLDING AG [CH]
Belenos Clean Power Holding AG
CH_722172_PA

Resumen de: CH722172A2

La présente invention concerne un polymère ioniquement conducteur pour un électrolyte polymère en gel comprenant m unités de répétition selon la formule (I) et n unités de répétition selon la formule (II). dans lequel R 1 est (CH 2 ) x -R 3 , dans lequel x est compris entre 1 et 20 et R 3 est H ou CN ; R 2 et R 5 sont, individuellement, un alkyle en C 1 -C 10 ou un alcényle en C 2 -C 10 ; M est un métal alcalin ou un métal alcalino-terreux ; le rapport entre m et n (m/n) est compris entre 25:1 et 1:25 ; et m + n égale q, dans lequel q est compris entre 50 et 5000. La présente invention concerne également un électrolyte polymère en gel comprenant le polymère ioniquement conducteur et des procédés de production du polymère ioniquement conducteur.

Method for preparing conductive ink for electrochemical applications

NºPublicación:  PL449878A1 30/03/2026
Solicitante: 
UNIV LODZKI [PL]
UNIWERSYTET \u0141\u00D3DZKI

Resumen de: PL449878A1

Przedmiotem zgłoszenia jest sposób przygotowania tuszu przewodzącego do zastosowań elektrochemicznych jako materiał kompatybilny z drukiem 3D pracującym w technologii bezpośredniego wytłaczania tuszem. Sposób charakteryzuje się tym, że do naczynia będącego częścią miksera planetarnego umieszcza się od 50% do 90% masy mieszanki przewodzącej wybranej alotropowej odmiany węgla oraz od 50% do 10% masy silikonu, a następnie prowadzi się proces mieszania wstępnego na wolnych obrotach z wykorzystaniem wirnika pokrytego silikonem. Do mieszanki dodaje się rozpuszczalnika chlorowanego w ilości 10% masy wstępnej tuszu, kontynuując mieszanie na wolnych obrotach nie mniej niż 5 minut i nie więcej niż 15 minut do momentu uzyskania mieszaniny homogenicznej. Otrzymany tusz przeciska się przez membranę o otworach, korzystnie wielkości 500 µm, finalnie umieszczając tusz w kartridżu kompatybilnym z drukarką 3D działającą w technologii bezpośredniego wytłaczania tuszu, korzystnie strzykawce typu luer lock.

Device for manufacturing secondary batteries and method for manufacturing secondary batteries

NºPublicación:  PL452939A1 30/03/2026
Solicitante: 
SK ON CO LTD [KR]
SK On Co., Ltd.
US_20260088325_A1

Resumen de: US20260088325A1

Provided are secondary battery manufacturing equipment and a secondary battery manufacturing method. According to an aspect of the present disclosure, secondary battery manufacturing equipment which includes a sealing device configured to press an pouch film to seal a sealing region in which an electrode tab is disposed, an induction heating coil configured to inductively heat the electrode tab to provide heat to the sealing region in an outer region of the electrode tab disposed outside the pouch film, and a first guide configured to press and support the electrode tab in a direction opposite to the induction heating coil to limit movement of the electrode tab caused by a magnetic field when the electrode tab is inductively heated.

Ensemble pour batterie d’un véhicule électrique, ledit ensemble pour batterie comprenant une enceinte pour la circulation d’un fluide caloporteur

Nº publicación: FR3166749A1 27/03/2026

Solicitante:

VERKOR [FR]
VERKOR

FR_3166749_A1

Resumen de: FR3166749A1

L’ensemble (100) pour batterie de véhicule électrique comprend : un dispositif (101) de support définissant une enceinte (102) métallique destinée à recevoir un fluide (10) caloporteur, l’enceinte (102) métallique comprenant une entrée (103) et une sortie (104) destinées à la circulation du fluide (10) caloporteur au travers de l’enceinte (102) métallique ;des cellules (105) de batterie comprenant chacune une enveloppe (106) extérieure rigide, lesdites cellules (105) de batterie étant montées chacune de manière étanche à l’enceinte (102) métallique de sorte à présenter chacune une première partie (107) s’étendant dans l’enceinte (102) métallique et une deuxième partie (108) s’étendant hors de l’enceinte (102) métallique. Figure à publier avec l’abrégé : Fig. 1

traducir