Ministerio de Industria, Turismo y Comercio LogoMinisterior
 

Energía eólica

Resultados 371 resultados
LastUpdate Última actualización 04/03/2026 [07:20:00]
pdfxls
Solicitudes publicadas en los últimos 15 días / Applications published in the last 15 days
Resultados 1 a 371  

一种可增容碳纳米纤维催化及保护层电极的制备方法及其在全钒液流电池中的应用

NºPublicación:  CN121601681A 03/03/2026
Solicitante: 
辽宁大学
CN_121601681_PA

Resumen de: CN121601681A

本发明涉及电池材料及能源存储技术领域,具体涉及一种可增容碳纳米纤维催化及保护层电极的制备方法及其在全钒液流电池中的应用。将聚丙烯腈基静电纺丝纤维收集至高锰酸钾水溶液中,进行表面预处理;利用冷冻干燥技术制备出有平面纤维取向且表面负载高锰酸钾的聚丙烯腈基纳米纤维膜;分别进行预氧化和碳化处理得到可增容碳纳米纤维催化及保护层电极;将其应用于钒电池,在组装电池时将此催化层置于隔膜和碳毡电极之间;碳纤维表面生成的锰基氧化物在隔膜侧主要反应区可提供更多的电催化活性位点以及更多的容量;且催化层的平面纤维取向结构可有效阻隔碳毡中垂直向纤维对隔膜的刺穿,从而有效保护隔膜;因而可有效提升电池效率和循环稳定性。

一种铁锈电池电堆及铁锈电池

NºPublicación:  CN121601716A 03/03/2026
Solicitante: 
苏州合仕新能源科技有限公司
CN_121601716_PA

Resumen de: CN121601716A

本发明涉及一种铁锈电池电堆及铁锈电池,其包括第一端板、第二端板和夹设在两者之间的电堆主体,电堆主体包括第一气液功能板、第二气液功能板和夹设在两者之间的多个重复单元,第一气液功能板设有进液端口和气液排出口,第二气液功能板设有出液端口和气液注入口,多个重复单元沿第一端板至第二端板的方向依次叠置,每个重复单元内部均形成有进液流道、出液流道、气液注入流道和气液排出流道。通过将多个重复单元层叠集成为一体化电堆,减少了“非活性”部件的占比,消除了大量外部接点与连接件,使电堆整体结构更紧凑、运行更稳定;同时实现了对充电过程中在负极产生的氢气与正极析出的氧气的隔离与分开排放,杜绝了氢氧气体在腔内混合积聚所带来的安全风险。

对电化学电池装置的部件进行热处理的方法、用于此类热处理的炉和电化学电池装置

NºPublicación:  CN121594659A 03/03/2026
Solicitante: 
罗伯特·博世有限公司
CN_121594659_PA

Resumen de: DE102024207922A1

Die Erfindung betrifft ein Verfahren (200) zur thermischen Behandlung einer Komponente (50) für eine elektrochemische Zellenvorrichtung (10), wobei die Komponente (50) in einem Ofen (100) angeordnet wird (S1) und anschließend in einem thermischen Behandlungsschritt (S2) im Ofen (100) auf eine Temperatur von zwischen 500°C und 1000°C, bevorzugt zwischen 600°C und 900°C, besonders bevorzugt zwischen 700°C und 800°C erwärmt wird.

用于飞行器的设备以及飞行器

NºPublicación:  CN121590754A 03/03/2026
Solicitante: 
空中客车简化股份公司空中客车运营简化股份公司
CN_121590754_PA

Resumen de: US20260048850A1

An installation for an aircraft having a tank delimiting a volume with a high point, through a wall of the tank, an evacuation channel arranged near the high point, a container in which dihydrogen is present and which is arranged in the volume, and a catalyzer configured to catalyze an oxidation reaction of the dihydrogen with the air in the tank, wherein the catalyzer is fastened at the evacuation channel.

燃料电池系统停机后自唤醒控制方法、控制单元、计算机程序产品和存储介质

NºPublicación:  CN121601703A 03/03/2026
Solicitante: 
博世氢动力系统(重庆)有限公司
CN_121601703_PA

Resumen de: US20260058175A1

A self-wake-up control method for a fuel cell system after shutdown, a control unit, a computer program product, and a storage medium are disclosed. The self-wake-up control method for a fuel cell system after shutdown includes (i) an ambient temperature estimation and confirmation step, wherein, in response to shutdown of the fuel cell system, remote data related to the driving of the fuel cell vehicle is acquired from outside the fuel cell vehicle, and local data related to the driving of the fuel cell vehicle is acquired from the fuel cell vehicle, and, based on the remote data and the local data, the ambient temperature of the fuel cell system is estimated and confirmed, and (ii) and a self-wake-up process determination step, wherein, based on the confirmed ambient temperature and in combination with data related to temperature variations of relevant components of the fuel cell system, a corresponding wake-up time interval and wake-up mode are determined. This can effectively eliminate the freezing risk of the fuel cell system and enhance the environmental adaptability, reliability, and durability of the fuel cell vehicle.

用于控制燃料电池系统的方法和计算机程序产品

NºPublicación:  CN121601710A 03/03/2026
Solicitante: 
博世氢动力系统(重庆)有限公司
CN_121601710_PA

Resumen de: CN121601710A

本公开提出了用于控制燃料电池系统的方法和计算机程序产品。燃料电池系统被配置为向外部负载供电,并包括电堆以及通过电路与电堆相连接的功率模块和放电电阻,功率模块被配置为将来自电堆的电能输送至外部负载,该方法被配置为在燃料电池系统紧急停机之后执行,并包括以下步骤:S100:检测功率模块,以确定功率模块是否发生故障;S200:如果功率模块发生故障,则执行步骤S300;否则,执行步骤S400;S300:禁止电堆向功率模块供电,并且使电堆向放电电阻供电,直至电堆的电堆电压vstk降低到预定电压阈值vthr以下;以及S400:禁止电堆向放电电阻供电,并且使电堆向功率模块供电,直至电堆的电堆电压vstk降低到预定电压阈值vthr以下。

一种OCV电池及应用

NºPublicación:  CN121601708A 03/03/2026
Solicitante: 
中国科学院大连化学物理研究所
CN_121601708_PA

Resumen de: CN121601708A

本发明涉及一种OCV电池及应用和方法,特别涉及液流电池领域,所述OCV电池包含三个电极腔室。使用本发明所述OCV电池,可以同时测量液流电池的两个半电池的开路电压,并根据两个半电池的开路电压,计算全电池的开路电压。本发明的实施,不但可保证所测得液流电池OCV值的准确性,而且可减少电池维护。同时,本发明工艺简单、操作简便、成本低、同时能够保证液流电池能够长期地高效稳定运行。

用于燃料电池系统的氢气泄漏检测方法和燃料电池系统

NºPublicación:  CN121601704A 03/03/2026
Solicitante: 
博世氢动力系统(重庆)有限公司
CN_121601704_PA

Resumen de: CN121601704A

本申请公开了一种用于燃料电池系统的氢气泄漏检测方法,燃料电池系统包括:外壳;与外壳连通的进气管和排气管,且在排气管的出口端设有氢气浓度传感器;和旁通管,其位于进气管和排气管之间,旁通管中设有旁通阀,氢气泄露检测方法包括:使旁通阀处于全开状态,并向进气管供应空气,使空气经由旁通管从排气管排出;调节旁通阀的开度,使空气的第一部分以第一体积流量进入外壳并从外壳进入排气管,且空气的第二部分以第二体积流量经由旁通管进入排气管;获取由氢气浓度传感器测量到的稀释氢气浓度,同时获取稀释比,稀释比被表示为第一体积流量与第二体积流量之和与第一体积流量的比值;以及基于稀释氢气浓度和稀释比,计算外壳内的原始氢气浓度。

一种可自动充装氢气的氢动力无人机机库

NºPublicación:  CN121590795A 03/03/2026
Solicitante: 
沈阳盛科航宇氢能源科技有限责任公司
CN_121590795_PA

Resumen de: CN121590795A

本发明涉及属于无人机技术领域,更具体的说是一种可自动充装氢气的氢动力无人机机库。适用于氢动力无人机的回收及氢气自动充装作业。一种可自动充装氢气的氢动力无人机机库,包括可升降停机坪、机巢开合门、归中系统、机械引导臂、水解制氢设备、氢气增压设备、氢气充装管道及氢气监测系统;所述可升降停机坪用于承载氢动力无人机并可调节高度;所述归中系统与可升降停机坪配合,用于将氢动力无人机定位至预设充装位置;所述机械引导臂用于控制氢气充装管道与氢动力无人机的高压氢气瓶充气口对接或分离;实现氢动力无人机的自动回收、精准归中、氢气现场制取、安全高效自动充装,无需人工干预,降低氢气泄露风险,保障氢动力无人机的连续作业。

一种空冷型质子交换膜燃料电池腔体及其安装方法

NºPublicación:  CN121601692A 03/03/2026
Solicitante: 
重庆创新燃料电池技术产业研究院有限公司
CN_121601692_PA

Resumen de: CN121601692A

本发明涉及燃料电池技术领域,具体为一种空冷型质子交换膜燃料电池腔体及其安装方法,包括包括主腔体外壳和风扇,主腔体外壳的两端分别固定连接有前盖板和后盖板,且主腔体外壳内固定连接有限位凸台,限位凸台内设置有辅助夹紧组件,且限位凸台内滑动连接有连接块,辅助夹紧组件夹持有燃料电池电堆;连接块内滑动连接有锁止组件的执行端;本发明中,主腔体为核心承载,整合限位凸台、附属腔体等功能结构,为全组件提供稳定安装定位,实现集成装配。限位凸台精准定位电堆、简化装配;附属腔体收纳外露管路与螺杆,提升整体性和整洁度。前盖板与主腔体精准嵌合,保障气流顺畅;后盖板强化连接密封,优化散热与气体输送安全。

SEBS交联型复合阴离子交换膜、其制备方法和应用

NºPublicación:  CN121588916A 03/03/2026
Solicitante: 
氢和元泰(常州)新材料科技有限公司
CN_121588916_PA

Resumen de: CN121588916A

本申请涉及SEBS交联型复合阴离子交换膜、其制备方法和应用。SEBS交联型复合阴离子交换膜,包括活性层和多孔支撑层;活性层包括交联聚合物,交联聚合物包括线性SEBS单元和交联单元,线性SEBS单元包括线性碳主链以及连接于线性碳主链上的S侧基,S侧基包括苯环,苯环连接有亚甲基或酰基;交联单元包括与S侧基中苯环间接共价相连的至少三个季铵型N鎓离子,至少两个季铵型N鎓离子中的两个正电性N通过‑CH2‑(A)X‑CH2‑U或‑(CH2)Y‑CH2‑相连接。通过将含有三维网络结构的活性层与多孔支撑层复合,使复合膜能够承受使用场景运行中的物理应力,进一步提升膜结构的完整性和长期性能稳定。

一种极寒氢燃料电池无人机冷启动热管理方法与系统

NºPublicación:  CN121601701A 03/03/2026
Solicitante: 
内蒙古工业大学
CN_121601701_PA

Resumen de: CN121601701A

本发明涉及氢燃料电池热管理与控制技术领域,尤其涉及一种极寒氢燃料电池无人机冷启动热管理方法与系统。该方法包括:采集环境、电堆、进气、风道数据并融合判定结冰风险与目标进气温度;依据分区点亮与吹扫节奏驱动阴极流道壁共形正温度系数加热元件原位加热,获得达标进气温湿度;结合占空信息与初始热流上限配置耦合路径,实施高温差耦合换热与冷却液预热;设定活化放电并执行微通道均温与节流;选择相变蓄热与可控旁通并形成时序;基于负载预测参考轨迹开展联合闭环优化控制,生成泵速与三通阀开度及热流分配指令。本发明能有效缩短冷启动时间,提升温度场一致性与极寒运行稳定性。

原位生长碳纳米管的复合丝及其制备方法和应用

NºPublicación:  CN121593327A 03/03/2026
Solicitante: 
中国建筑材料科学研究总院有限公司
CN_121593327_A

Resumen de: CN121593327A

本发明提出一种原位生长碳纳米管的复合丝及其制备方法和应用。该方法包括:将碳纤维短切丝置于回转炉内,升温至650~850℃;以惰性气体将含乙酰丙酮镍、正硅酸乙酯的无水乙醇溶液带入炉膛内恒温保持;保持炉膛旋转,自然冷却,得到原位生长碳纳米管的复合丝;以碳纳米管含量<15%的复合丝与碳纳米管含量≥15%的复合丝制备一体式气体扩散层。所要解决的技术问题是使一体式气体扩散层能有效消除宏观界面差异以降低电子传导阻力与传质阻抗;通过调控复合丝的碳纳米管含量形成亲疏水梯度以解决水汽管理拮抗问题;同时实现GDL厚度与面密度精准可控,兼顾机械支撑性与高功率密度下的电池性能,工艺稳定可重复,适配质子交换膜燃料电池的产业化应用需求。

催化器、电化学电池装置、方法

NºPublicación:  CN121588707A 03/03/2026
Solicitante: 
罗伯特·博世有限公司
CN_121588707_PA

Resumen de: DE102024208041A1

Die Erfindung betrifft einen Katalysator (100) zur katalytischen Umsetzung eines Fluids, insbesondere zur Oxidation von Methan und/oder Wasserstoff, insbesondere für die Verwendung in elektrochemischen Zellenvorrichtungen (10), bevorzugt Brennstoffzellenvorrichtungen (10), wobei der Katalysator (100) eine erste Zone (118) und eine zweite Zone (120) aufweist, wobei die zweite Zone (120) in einer Strömungsrichtung des Fluids nach der ersten Zone (118) angeordnet ist, wobei in der zweiten Zone (120) aktives Katalysematerial (108) angeordnet ist.Es wird vorgeschlagen, dass in der ersten Zone (118) ein Schutzmaterial (110) angeordnet ist, welches zur Bindung von Chrom vorgesehen ist.

用于电化学系统的分离器板和双极板

NºPublicación:  CN121601688A 03/03/2026
Solicitante: 
莱茵兹密封垫有限公司
CN_121601688_PA

Resumen de: DE102025133043A1

Die Erfindung betrifft eine Separatorplatte und eine Bipolarplatte, jeweils für ein elektrochemisches System. Das elektrochemische System kann insbesondere ein Brennstoffzellensystem, ein elektrochemischer Kompressor, ein Elektrolyseur oder eine Redox-Flow-Batterie sein. Ebenso offenbart wird ein elektrochemisches System mit einer Vielzahl derartiger Separatorplatten.

燃料电池

NºPublicación:  CN121601689A 03/03/2026
Solicitante: 
丰田自动车株式会社
CN_121601689_PA

Resumen de: US20260058170A1

A fuel cell stack includes a plurality of fuel cells and an inter-cell sealing material disposed between the fuel cells. The fuel cells include a rib protruding in a direction of adjacent fuel cells. The rib is located outside the sealing range of the inter-sealing material. The rib has such a height that the compressibility of the inter-cell sealing material is 20% or more and 70% or less in the sealing range.

用于高温固体氧化物电堆的加热系统

NºPublicación:  CN121601690A 03/03/2026
Solicitante: 
中国石油化工股份有限公司中石化(大连)石油化工研究院有限公司
CN_121601690_PA

Resumen de: CN121601690A

本发明公开了用于高温固体氧化物电堆的加热系统,包括:电热箱、用于向电堆输送空气的空气进气管道、用于向电堆输送混合气的燃气进气管道、用于放置电堆的电堆支撑平台和多个用于支撑电堆支撑平台的平台支柱;混合气包括氢气、甲烷、天然气、合成气、氨气、甲醇、碳基燃料中的至少一种和水蒸汽;电堆支撑平台包括用于与空气进气管道连接的空气进气接口,和,用于与燃料进气管道连接的燃料进气接口;电热箱的加热丝套设于多个平台支柱和支撑平台外且加热丝的高度要高于设于电堆支撑平台上的电堆的高度。本发明能够避免在高温固体氧化物电堆内形成液滴;从而也就有效提高了电堆内电性能的稳定性,减少了电堆内电压和电流的波动,以及,设备的损坏。

一种质子交换膜燃料电池的阴极催化层、膜电极组件及其制备方法

NºPublicación:  CN121601679A 03/03/2026
Solicitante: 
未势能源科技有限公司
CN_121601679_PA

Resumen de: CN121601679A

本申请涉及一种用于质子交换膜燃料电池的阴极催化层结构、膜电极组件及其制备方法,该阴极催化层结构中使用了不同催化层的VGCF梯度化添加,使VGCF含量高的催化层靠近质子交换膜一侧,VGCF含量低的催化层靠近气体扩散层一侧,这样设置一方面催化层中添加VGCF表现出较好的导电性,降低电池内阻改善电池性能;另一方面VGCF形成的梯度化网络结构使催化层具备良好的梯度化孔隙率,因此,本申请的阴极催化层结构用于质子交换膜燃料电池后,能有效促进水气传导,有利于促进三相反应界面发生,提高电池性能。

质子交换膜的性能衰减率计算方法、装置、设备及介质

NºPublicación:  CN121595650A 03/03/2026
Solicitante: 
未势能源科技有限公司
CN_121595650_PA

Resumen de: CN121595650A

本申请提供了一种质子交换膜的性能衰减率计算方法、装置、设备及介质,该方法包括:在垂直电阻测试参数下,利用预设的质子交换膜耐久测试装置测定膜电极中的待测试质子交换膜的初始垂直电阻;基于预设的阴阳极相对湿度区间,利用氢气对待测试质子交换膜进行干湿循环,同时基于预设电流密度对待测试质子交换膜施加目标电流,并在满足预设的机械耐久测试结束条件后重新测定待测试质子交换膜的垂直电阻得到待测试质子交换膜的最终垂直电阻,并根据初始垂直电阻和最终垂直电阻得到待测试质子交换膜的性能衰减率。由此,解决了相关技术测试周期长的问题,通过在干湿循环过程中引入电场,加剧膜电极性能衰减,缩短了测试时间。

精制和再循环铱的方法

NºPublicación:  CN121605205A 03/03/2026
Solicitante: 
庄信万丰股份有限公司
CN_121605205_PA

Resumen de: AU2024329942A1

A method of refining/recycling iridium, the method comprising: adding ammonium chloride to an iridium containing refining/recycling solution comprising iridium dissolved in hydrochloric acid in a first precipitation vessel to precipitate ammonium hexachloroiridate; filtering the precipitated ammonium hexachloroiridate; washing the filtered ammonium hexachloroiridate with a wash mixture of ammonium chloride and water; and recycling the wash mixture of ammonium chloride and water back into a second precipitation vessel, which may be the same vessel as the first precipitation vessel or a different precipitation vessel, to precipitate any iridium dissolved in the wash mixture during washing of the ammonia hexachloroiridate.

一种无Fe型普鲁士蓝类似物及其制备方法和固体储能材料

NºPublicación:  CN121591229A 03/03/2026
Solicitante: 
大连融科储能装备有限公司
CN_121591229_A

Resumen de: CN121591229A

本发明涉及液流电池技术领域,特别是涉及一种无Fe型普鲁士蓝类似物及其制备方法和固体储能材料。无Fe型普鲁士蓝类似物的化学组成为VaM(CN)bc;其中:V以V2+、V3+、VO2+或VO2+中的一种或两种以上的混合形式存在;其中,M为Co、Ni中的一种或两种,当M为Co和Ni的混合物时,Co与Ni的摩尔比为3:1‑1:3,M与V的摩尔比为1:2‑1:5;三价钴为部分还原,三价镍与二价镍摩尔量之比≤0.3:1,V、M与氰根离子通过配位键形成三维网状晶体。本发明的无Fe型普鲁士蓝类似物采用六氰钴酸盐和/或四氰镍酸盐,经价态调控后,与钒离子盐溶液通过直接配位法制得,能够解决现有固体储能材料的可逆性差、电压效率不高等的技术问题。

一种高熵固体储能材料及其制备方法与应用

NºPublicación:  CN121591230A 03/03/2026
Solicitante: 
大连融科储能装备有限公司
CN_121591230_A

Resumen de: CN121591230A

本发明属于液流电池电解液固体增容技术领域,尤其涉及一种高熵固体储能材料及其制备方法与应用。其中,高熵固体储能材料为高熵钒基普鲁士蓝类似物,其化学通式为VxMy Fe(CN)6z,并且化学通式满足关系式3≤x+y+2z≤4;其中,M为至少4种过渡金属元素对应离子的组合,M中每种过渡金属离子与钒离子的摩尔比为1:1至2:1;x为钒离子摩尔数;y为M中各种金属离子的总摩尔数;z为Fe(CN)64‑的摩尔数。旨在解决现有钒液流电池用固体储能材料存在的活性位点不足、结构稳定性差及反应动力学慢的技术问题。

一种咪唑鎓功能化紫精衍生物及其制备方法与应用

NºPublicación:  CN121591701A 03/03/2026
Solicitante: 
北京工业大学
CN_121591701_PA

Resumen de: CN121591701A

本发明公开了一种咪唑鎓功能化紫精衍生物及其制备方法与应用,属于电化学储能材料技术领域。其核心在于在紫精骨架上引入1,2‑二甲基咪唑鎓官能团。该分子设计通过空间位阻和静电屏蔽效应,显著抑制了高浓度下的分子间π‑π堆积和离子缔合,从而在实现高水溶解度的同时,有效控制了电解液粘度。本发明还提供了所述衍生物的制备方法。将其作为活性物质用于水系有机液流电池负极电解液,展现出高体积能量密度、高功率密度、优异的倍率性能和长循环稳定性。本发明解决了传统紫精衍生物在高浓度下粘度剧增的技术瓶颈。

一种离网型MW级燃料电池系统的分阶段协同启动系统及方法

NºPublicación:  CN121602454A 03/03/2026
Solicitante: 
同济大学
CN_121602454_PA

Resumen de: CN121602454A

本发明涉及一种离网型MW级燃料电池系统的分阶段协同启动系统及方法,该系统包括:十套燃料电池单体系统均与储能电池、控制模块、DC/AC逆变器相连接,由控制模块对储能电池、DC/AC逆变器以及各燃料电池单体系统的工作状态进行控制,以实现十套燃料电池单体系统的按序分阶段启动,各燃料电池单体系统在启动时为功率输入状态、在启动后为功率输出状态;储能电池依次按序为各燃料电池单体系统提供启动功率。与现有技术相比,本发明通过优化系统间能量传递路径与启动时序,实现多系统链式‑并行混合启动,能够减少匹配的储能电池容量和功率,减少内部燃料电池单体系统启动时长,缩短离网型MW级发电系统总启动时长,提高启动功率响应性。

基于PTFE阴离子交换膜的生物燃料电池

NºPublicación:  CN121601706A 03/03/2026
Solicitante: 
电子科技大学长三角研究院(湖州)
CN_121601706_PA

Resumen de: CN121601706A

本申请公开了一种基于PTFE阴离子交换膜的生物燃料电池,包括:阳极室、阴极室、阴离子交换膜及外电路系统,阴离子交换膜为接枝有季铵基的PTFE膜并设置在阳极室与阴极室之间,阳极室内具有阳极、阳极液及厌氧污泥,阳极附着有厌氧产电微生物,厌氧产电微生物分解阳极室的有机物并产生H+、CO2及电子;阴极室内具有阴极、盐缓冲液及O2,阴极与阳极通过外电路系统导电连接,阴极室内的OH-通过阴离子交换膜转移至阳极室内。本申请提供的生物燃料电池采用接枝有季铵基的PTFE膜作为阴离子交换膜,使阴极室内的OH-通过阴离子交换膜转移至阳极室内来维持阳极室的pH平衡,减少阴极表面的离子沉积,降低电荷转移电阻,从而获得更高的功率密度和库仑效率。

石墨烯基前体结构

NºPublicación:  CN121591206A 03/03/2026
Solicitante: 
罗伯特·博世有限公司
CN_121591206_PA

Resumen de: US20260058167A1

A method of improving catalyst accessibility of a carbon precursor includes exposing a graphene-based multi-layer precursor structure to a plurality of electrocatalyst clusters by applying voltage to accelerate the clusters towards the graphene-based multi-layer precursor structure to generate both mechanical defects in the graphene-based multi-layer precursor structure's surface and a near-uniform size population of deposited electrocatalyst at a near-uniform depth in the graphene-based multi-layer precursor structure.

用于监测机械式泄压阀(PRV)开启状态的控制器及方法

NºPublicación:  CN121593907A 03/03/2026
Solicitante: 
罗伯特·博世有限公司
CN_121593907_PA

Resumen de: DE102025132513A1

Das Wasserstoffversorgungssystem 100 umfasst mindestens einen Wasserstofftank 102, 104, der über den Druckregler 106 fluidisch mit einem Kraftstoffrail 114 verbunden ist. Das Kraftstoffrail 114 ist ferner mit mindestens einem Kraftstoffinjektor 116 zur Förderung von Wasserstoff verbunden. Die Steuerung 110 ist dazu eingerichtet, unter Verwendung eines Drucksensors 112 den Druck des Wasserstoffs in dem Kraftstoffrail 114 zu überwachen, dadurch gekennzeichnet, dass die Steuerung 110 dazu eingerichtet ist, aus dem vom Drucksensor 112 gemessenen Druck einen Druckgradienten zu berechnen. Die Steuerung 110 vergleicht dann den Druckgradienten mit einem Schwellengradienten und erhält ein Ergebnis. Die Steuerung 110 detektiert dann auf der Basis des Ergebnisses einen Öffnungszustand des PRV 108. Die Förderung von Wasserstoff erfolgt in den Brennraum des Motors des Fahrzeugs mit Verbrennungsmotor oder des Fahrzeugs mit Brennstoffzelle. Der Status des PRV 108 und die Anzahl der Öffnungszustände während des Fahrzeugbetriebs werden überwacht.

一种面向氢能炼钢的有机液体储氢与燃料电池一体化的系统及方法

NºPublicación:  CN121601696A 03/03/2026
Solicitante: 
国家电投集团青海光伏产业创新中心有限公司青海黄河上游水电开发有限责任公司光伏产业技术分公司国家电投集团黄河上游水电开发有限责任公司青海省先进储能实验室有限公司
CN_121601696_PA

Resumen de: CN121601696A

本发明属于清洁能源冶炼技术领域,特别涉及一种面向氢能炼钢的有机液体储氢与燃料电池一体化的系统及方法;包括固体氧化物燃料电池模块、有机液体储氢模块和氢能炼钢模块;所述固体氧化物燃料电池模块产生的高温热能和电能传输至所述氢能炼钢模块,所述固体氧化物燃料电池模块产生的中低温热能传输至所述有机液体储氢模块;所述有机液体储氢模块给所述固体氧化物燃料电池模块和所述氢能炼钢模块供氢;采用固体氧化物燃料电池,配合有机液体储氢,为氢能炼钢提供高效、稳定的储氢、供热、供电一体化服务;有机液体储氢,既可以为氢能炼钢提供稳定的储氢服务,又可以为固体氧化物燃料电池提供储氢服务。

一种氢燃料电池船舶动力功能安全分析系统及方法

NºPublicación:  CN121590714A 03/03/2026
Solicitante: 
江苏耀扬新能源科技有限公司
CN_121590714_PA

Resumen de: CN121590714A

本发明公开了一种氢燃料电池船舶动力功能安全分析系统及方法,属于船舶安全分析技术领域。系统包括数据采集与处理模块,用于实时获取并处理运行状态及船舶环境安全数据;实时健康状态评估模块,基于复合评估模型计算动态健康指数;综合安全状态评估与预测模块,融合健康指数、运行数据与环境数据,通过多层级安全融合算法计算安全指数并预测演变趋势;主动安全控制与执行模块,根据安全指数分级结果动态调整动力系统运行策略或触发应急流程;状态可视化与预警模块,用于动态可视化与分级预警。本发明通过量化健康与安全状态,实现了从实时监测、评估预测到主动控制的全链条功能安全管控,提升了氢燃料电池船舶动力系统的运行安全性与可靠性。

燃料电池电催化剂和制备其的方法

NºPublicación:  CN121601682A 03/03/2026
Solicitante: 
碳工作室有限公司
CN_121601682_PA

Resumen de: EP4697417A1

Proposed are a fuel cell electrocatalyst including a platinum-based catalyst, wherein the platinum-based catalyst has a triple-layer core-shell structure including a core and a shell layer, the core and the shell layer each independently contain platinum, and an intermediate layer positioned between the core and the shell layer contains a platinum-transition metal alloy, and a method of preparing the same. The fuel cell electrocatalyst is prepared by preparing colloidal platinum particles in a solution phase and alloying a transition metal on the catalyst surface, thereby having the triple-layer core-shell structure. Accordingly, the electrocatalyst exhibits excellent dispersibility and durability.

燃料电池

NºPublicación:  CN121601714A 03/03/2026
Solicitante: 
丰田纺织株式会社
CN_121601714_PA

Resumen de: US20260058183A1

A fuel cell includes a fuel cell stack including stacked plate-shaped single cells. The fuel cell includes two end plates that sandwich the fuel cell stack from opposite sides of the fuel cell stack in a stacking direction of the single cells. The fuel cell includes fasteners each rotating about a respective first axis and fastening the two end plates to each other. The respective first axis extends in the stacking direction. The fuel cell includes one rotor configured to rotate about a second axis extending in the stacking direction and provided on an outer surface of one of the two end plates in the stacking direction. The one rotor is configured such that a rotational force generated when the one rotor is rotated is simultaneously transmitted to the fasteners as a rotational force acting in a direction of tightening the fasteners.

一种燃料电池双极板及其制备方法与应用

NºPublicación:  CN121601687A 03/03/2026
Solicitante: 
未势能源科技有限公司
CN_121601687_PA

Resumen de: CN121601687A

本发明公开了一种燃料电池双极板及其制备方法与应用,涉及燃料电池技术领域。本发明提供的燃料电池双极板包括依次层叠设置的基层、耐蚀层和导电层,其中,耐蚀层的材料包括金属氧化物、金属氮化物中的至少一种,导电层的材料包括氧化银和碳材料;金属氧化物为Ti氧化物、Nb氧化物、Cr氧化物中的至少一种,金属氮化物为氮化钛;碳材料包括石墨。本发明通过对燃料电池双极板的结构及成分进行设计,使其兼具良好的导电性和柔韧性,冲压后不开裂。

一种氢燃料混合动力系统的多目标配置优化方法及装置

NºPublicación:  CN121598637A 03/03/2026
Solicitante: 
中国国家铁路集团有限公司中国铁道科学研究院集团有限公司北京纵横机电科技有限公司中国铁道科学研究院集团有限公司机车车辆研究所铁科纵横天津科技发展有限公司
CN_121598637_PA

Resumen de: CN121598637A

本发明提供一种氢燃料混合动力系统的多目标配置优化方法及装置,涉及氢燃料电池系统优化技术领域。该方法包括根据预先构建的多目标配置优化模型确定优化目标函数;以最小化优化目标函数为目标,以氢燃料电池系统中的氢燃料电池套数、锂电池系统中的锂电池串联数和锂电池并联数为待优化参数,在预设约束条件下求解待优化参数,得到氢燃料混合动力系统的优化配置参数。所述装置执行上述方法。本发明实施例提供的方法及装置,能够兼顾氢燃料混合动力系统的经济性和轻量化,通过优化氢燃料电池和锂电池的配置数量,优化氢燃料混合动力系统配置,从而实现降低氢燃料混合动力系统的经济成本以及减轻系统重量。

氢燃料阴极开放式单电池测试系统及方法

NºPublicación:  CN121601691A 03/03/2026
Solicitante: 
江苏源氢新能源科技股份有限公司
CN_121601691_PA

Resumen de: CN121601691A

本发明公开了一种氢燃料阴极开放式单电池测试系统及方法,属于质子膜燃料电池领域,包括待测试的电池单元和支撑模块,电池单元包括阴极半电池、阳极半电池以及被设置于阴极半电池和阳极半电池之间的待测膜电极,支撑模块顶端具有一支撑座,支撑座包括氢侧限位块、空侧限位块和中间支撑台,中间支撑台上开设有一导流风道,支撑模块底端设置有一风扇,风扇用以引导空气经由所述导流风道流向阴极半电池。通过上述方式,本发明允许极板和MEA按实际风冷堆尺寸等比例对应,灵活可控,缩短开发周期,降低成本,通过风扇整合供气与冷却控温,有效管理电池堆温湿度及气体供应,模拟真实应用环境,满足多种环境下的测试需求,提升测试稳定性与准确性。

一种低温液流电池电堆组装方法

NºPublicación:  CN121601711A 03/03/2026
Solicitante: 
中国科学院大连化学物理研究所
CN_121601711_PA

Resumen de: CN121601711A

本发明公开了一种低温液流电池的电堆组装方法,该工艺包括:堆叠并点胶,固化,锁紧,电堆气密性测试,最终形成完整的液流电池,经该工艺组装的电堆具有良好的低温气密性。本发明对任意结构的液流电池的组装的电堆均具有增强低温气密性的效果,能避免在室温下组装的电堆降温时丧失其密封性,避免液流电池的电堆在低温环境下漏液。经实际测试,使用该组装工艺的室温组装的液流电池能在‑40℃稳定运行。

一种交联多芴基阴离子交换膜及其制备方法

NºPublicación:  CN121601705A 03/03/2026
Solicitante: 
香港科技大学谢里夫理工大学
CN_121601705_A

Resumen de: CN121601705A

本发明公开了一种交联多芴基阴离子交换膜及其制备方法,该膜包含式I聚合物:。该膜表现出良好的平衡性能,包括高离子电导率、低溶胀率、良好的抗拉强度、良好的燃料电池性能和优异的化学稳定性。这些特性是通过在其结构中掺入含有潜在阳离子基团的最佳量的交联剂来实现的。所述公开的阴离子交换膜可用于碱性燃料电池、水电解装置和其他电化学应用。

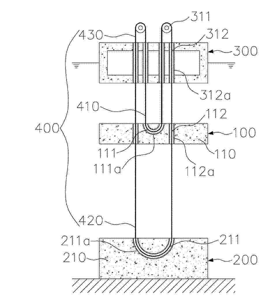
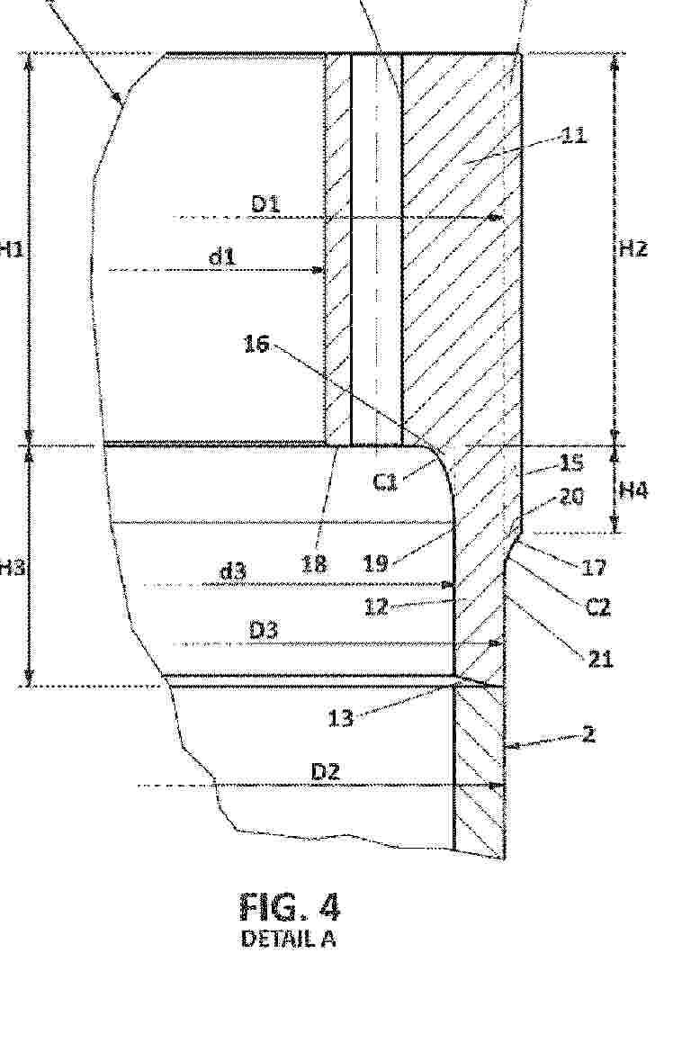
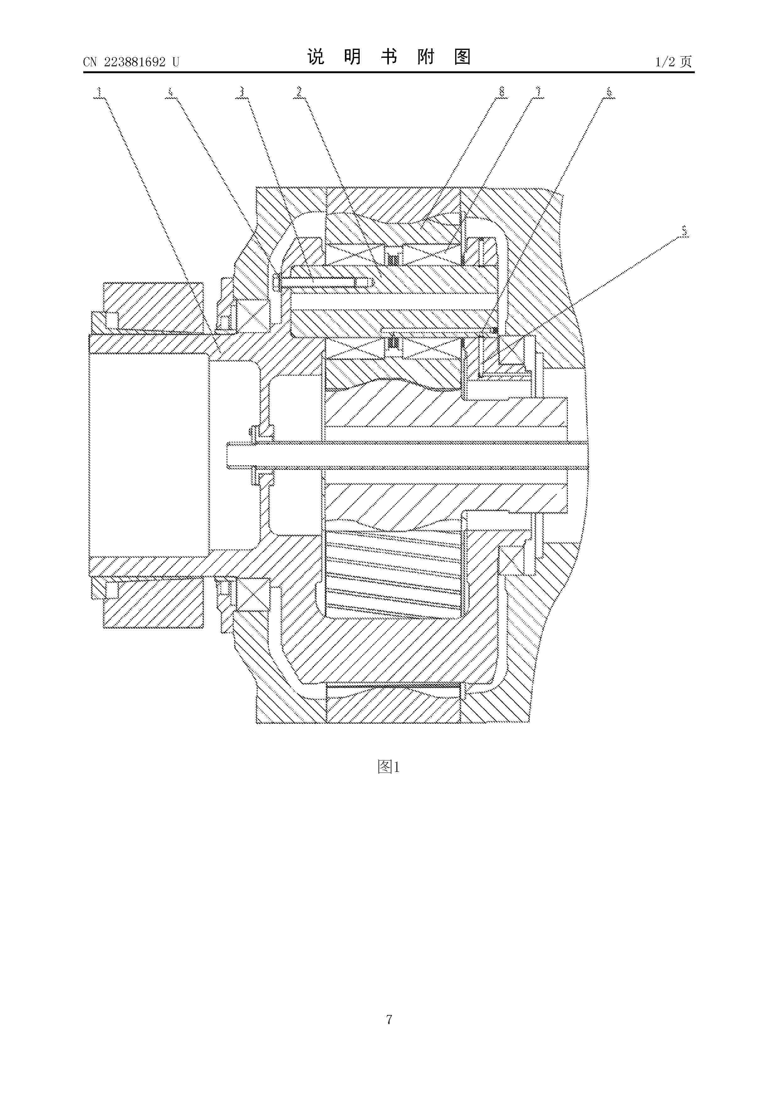
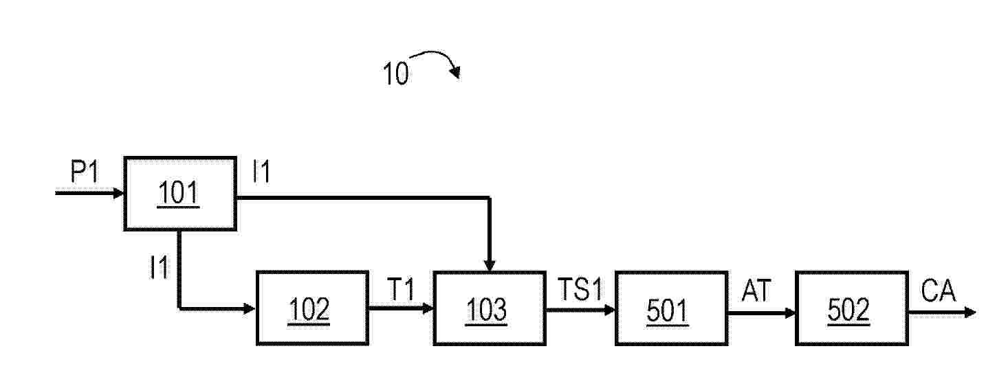
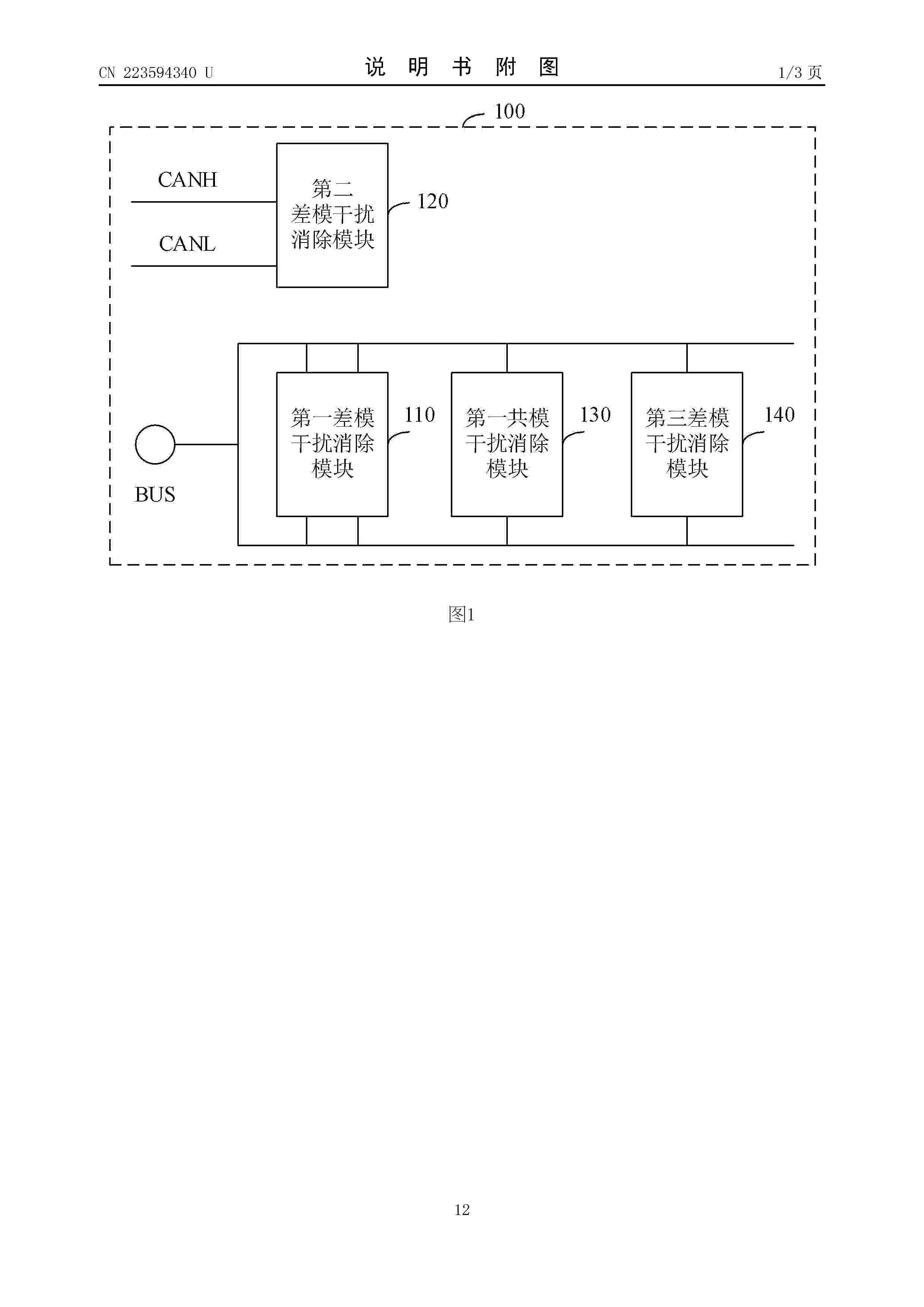
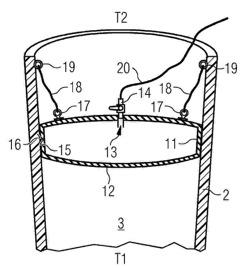
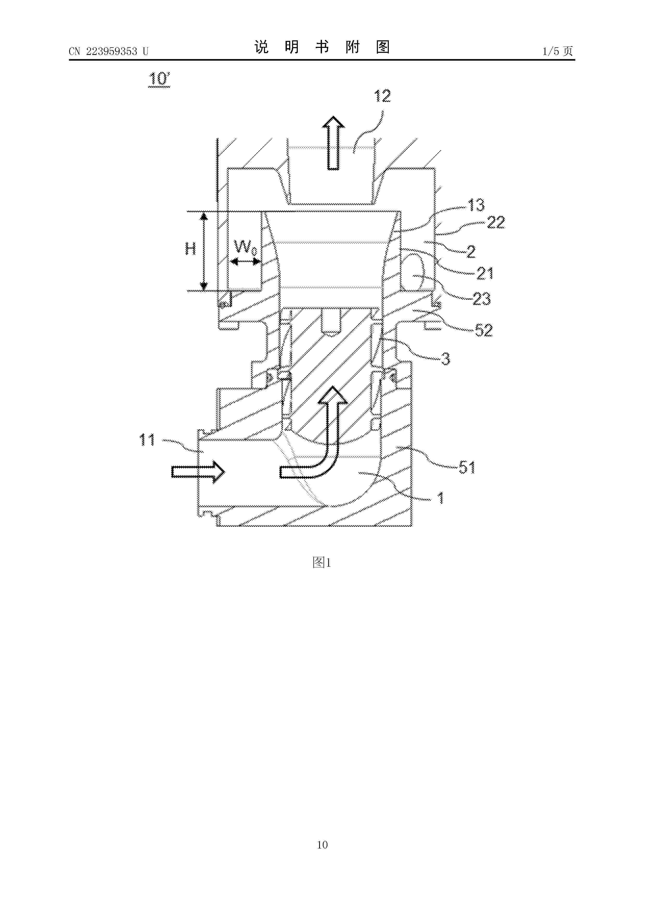
用于燃料电池的水气分离器和燃料电池系统

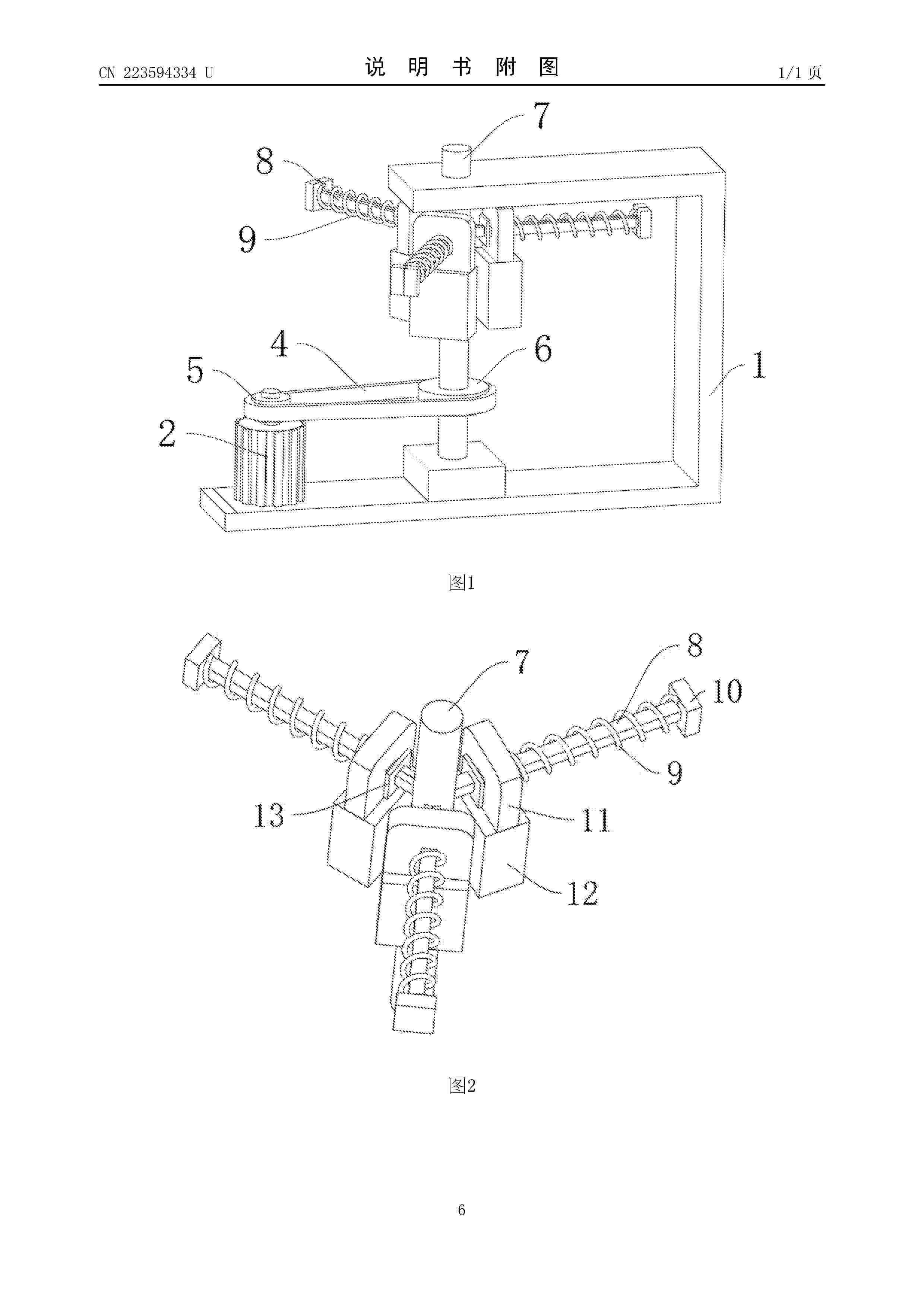
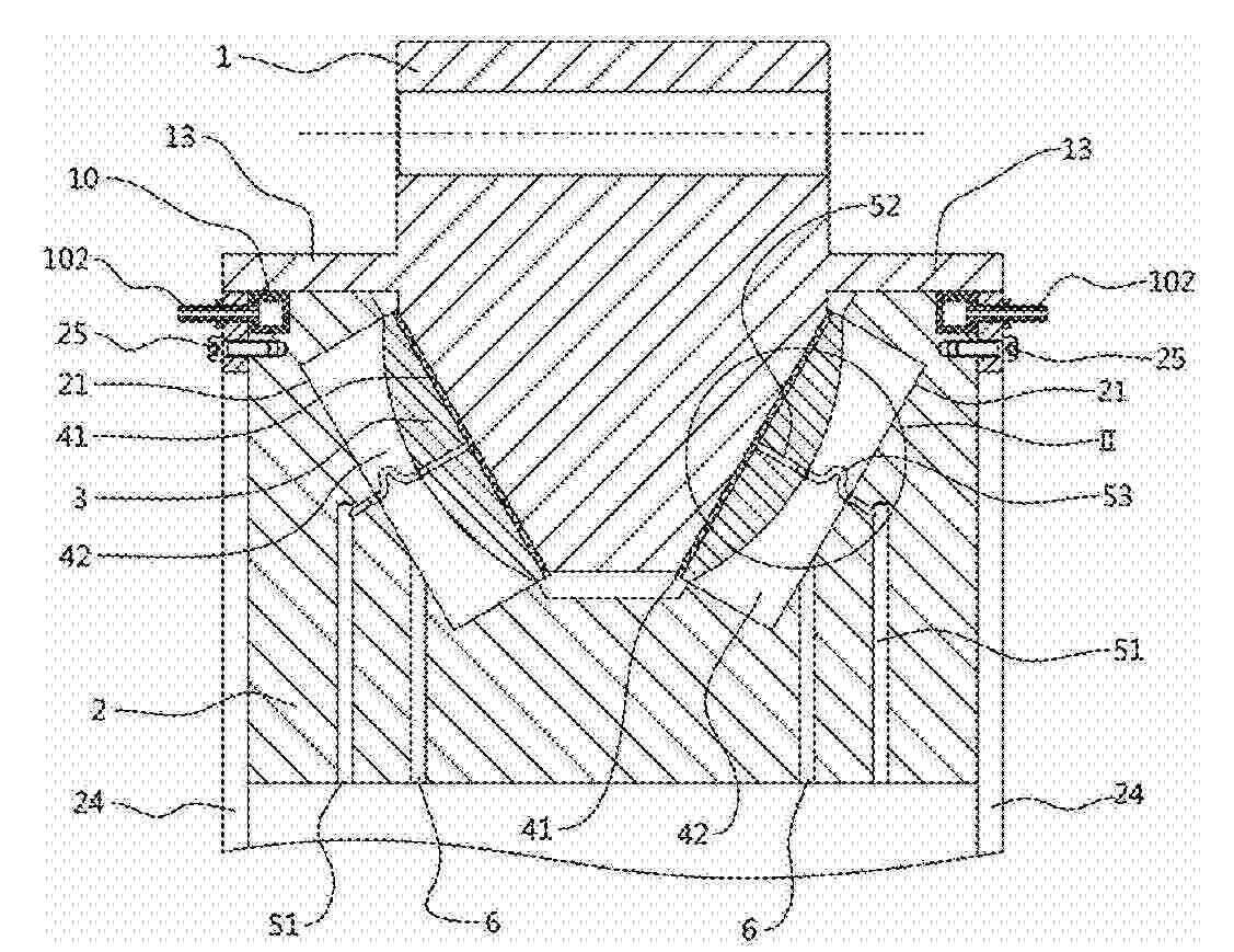
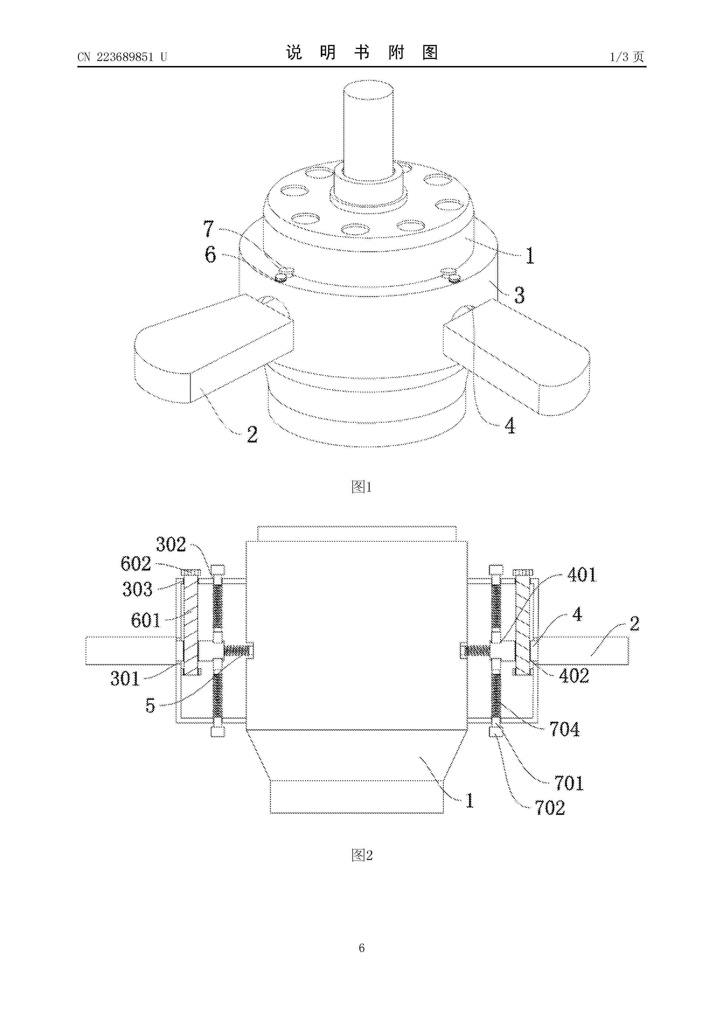
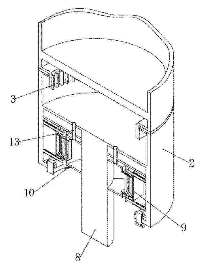
NºPublicación:  CN223959353U 03/03/2026
Solicitante: 
罗伯特·博世有限公司
CN_223959353_U

Resumen de: CN223959353U

本申请涉及燃料电池技术领域,具体涉及一种用于燃料电池的水气分离器(10),包括:气流通道(1),其具有入口(11)和出口(12),所述出口(12)位于所述入口(11)的上方,所述气流通道(1)中的含水气体被引导向上流动;以及用于收集来自含水气体中的水分的水收集腔(2),其环绕地设置在所述气流通道(1)周围并邻近所述出口(12),其中,在所述水收集腔(2)内设置有被设计用于增加所述水收集腔(2)内的流体的流动阻力的至少一个附加抵挡结构(4)。通过本申请的某些实施例,可以利用附加抵挡结构来增加水收集腔内的流体的流动阻力,从而有利于提高水气分离器的水气分离效果,促进水更多地排出,并提高水气分离效率。

一种燃料电池用的电堆配气模块

NºPublicación:  CN223967200U 03/03/2026
Solicitante: 
浙江天能氢能源科技有限公司
CN_223967200_U

Resumen de: CN223967200U

本实用新型提供一种燃料电池用的电堆配气模块,包括配气模块本体,所述配气模块本体上设有空气配气通道和冷却液通道,所述配气模块本体的材质为塑料。所述配气模块本体上还设有检测孔,所述检测孔包括连通所述空气配气通道的第一压力检测孔和第一温度检测孔,以及连通所述冷却液通道的第二压力检测孔和第二温度检测孔。各检测孔内均设有预埋螺套,所述预埋螺套具有内螺纹。本实用新型的配气模块本体集成多个温度传感器和压力传感器,提高了燃料电池系统的集成度。通过预埋螺套设计,既可适用于机加工方案,也适用于注塑方案,可以根据需求灵活设计。本实用新型设计简洁美观,缩短了整体流道距离,降低流阻,提高了燃料电池系统的整体性能。

一种仿生型微生物燃料电池控温结构

NºPublicación:  CN223967197U 03/03/2026
Solicitante: 
孟佳硕
CN_223967197_U

Resumen de: CN223967197U

本实用新型涉及电池控温技术领域,具体涉及一种仿生型微生物燃料电池控温结构,包括水箱、进水管、出水管、隔板,所述进水管与出水管端部均与水箱内部连通,所述隔板设置在水箱的内部,所述隔板内部设置有若干电池柱,所述电池柱内部设置有相变储热层,且相邻两个电池柱之间均固定连接有集成导线。本实用新型中,通过电池柱内部设置有相变储热层,在电池柱内部温度较低时,可通过相变储热层较为及时对电池柱内的微生物补热,而在电池柱内部产生热量时,相变储热层能够较为及时吸走电池柱内部的热量,然后通过水带走相变储热层上多余的热量,有利于降低电池柱内部的温度波动,有利于将电池内部温度保持在适宜的范围内。

一种新型氢燃料电池去离子器

NºPublicación:  CN223959334U 03/03/2026
Solicitante: 
廊坊琦睿电池科技有限公司
CN_223959334_U

Resumen de: CN223959334U

本实用新型涉及燃料电池领域,公开了一种新型氢燃料电池去离子器,包括筒体,筒体两端均设置有端盖,筒体空腔内填充有混床树脂,两个端盖上分别设置有进液口与出液口,端盖内部设置有复合尼龙滤网,复合尼龙滤网具有双层滤网结构,内侧滤网强度较高、目数较小,外侧滤网强度较低、目数较大,端盖内部依次设置有进液腔、过度腔和排出腔,进液腔、过度腔和排出腔的腔体依次增大,进液腔设置在进液口/出液口内部,排出腔与筒体空腔连通,复合尼龙滤网设置在排出腔。本实用新型采用全新的流道设计,平衡流阻和交换容量,同时采用无离子析出的复合尼龙滤网,进一步延长去离子器的使用寿命,也保证了在高温环境下能长期稳定工作。

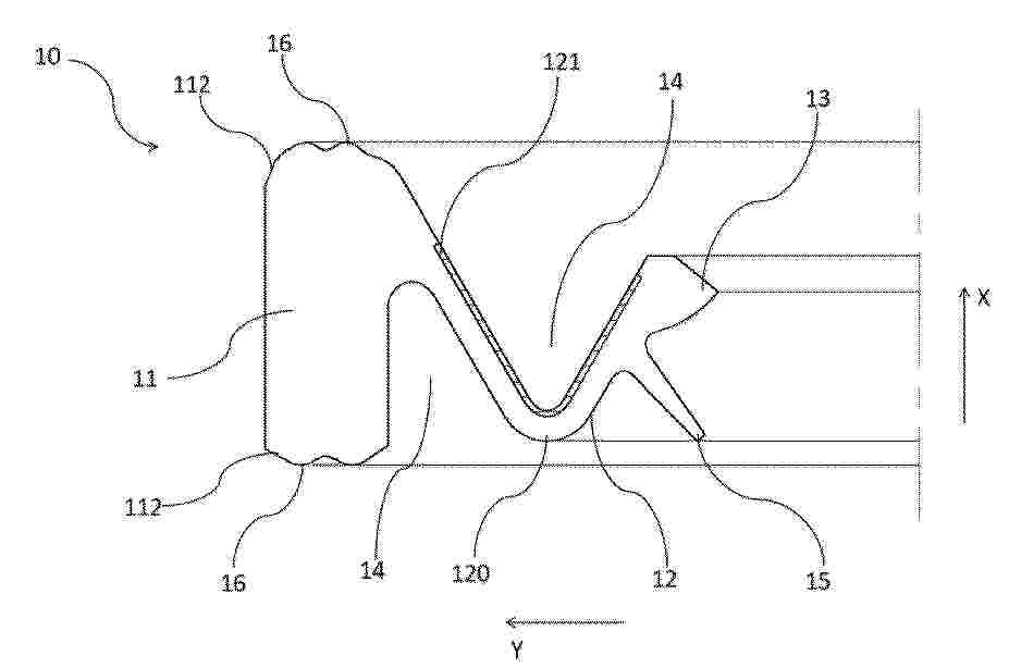
一种液流电池电极预置装置

NºPublicación:  CN223967201U 03/03/2026
Solicitante: 
中国科学院大连化学物理研究所
CN_223967201_U

Resumen de: CN223967201U

本申请公开了一种液流电池电极预置装置,通过在电堆组件备料的过程中,提前对电池内关键材料和部件进行一体化预置,将板框或膜框一体件与电极粘贴预置在一起,减少了电堆组装时需要堆叠的部件的数量,能够有效提升电堆组装的一致性并有效提升组装效率。

一种复合板结构的氢能燃料电池

NºPublicación:  CN223967202U 03/03/2026
Solicitante: 
协氢(枣庄)氢能科技有限公司
CN_223967202_U

Resumen de: CN223967202U

本实用新型公开了一种复合板结构的氢能燃料电池,涉及氢能燃料电池技术领域,该复合板结构的氢能燃料电池,包括防护壳体,所述防护壳体的内部设置有电池电堆,所述电池电堆的外部设置有安装组件,所述电池电堆包括电解质薄膜和负极电极板,且负极电极板位于电解质薄膜的上端,所述电解质薄膜的下端设置有正极电极板,所述负极电极板的上端和正极电极板的下端均设置有端板,所述安装组件包括定位架和调节架,且定位架和调节架位于电池电堆的两侧,所述定位架的上端设置有螺纹紧固件,本方案解决了现有氢能燃料电池电堆多数通过螺栓与防护壳体进行固定,固定结构单一,不同尺寸的氢能燃料电池需要安装在不同的防护壳体内部,安装适用性差的问题。

一种用于燃料电池氢气的回氢装置

NºPublicación:  CN223967198U 03/03/2026
Solicitante: 
山东凯格瑞森能源科技有限公司
CN_223967198_U

Resumen de: CN223967198U

本实用新型公开了一种用于燃料电池氢气的回氢装置,包括气液分离器,所述气液分离器的一侧设有过滤箱,所述过滤箱固定连通有泵送机构,所述泵送机构固定连通有集氢箱,所述过滤箱的内部设有过滤网,所述过滤箱上设有清理机构,所述过滤箱上设有拆装机构。本实用新型通过电机带动升降板和毛刷进行移动,可以对过滤网进行清理,避免其发生堵塞,且设置的拆装机构可以在燃料电池不工作时进行维修更换。

一种氢燃料电池用排水装置

NºPublicación:  CN223967199U 03/03/2026
Solicitante: 
协氢(上海)新能源科技有限公司
CN_223967199_U

Resumen de: CN223967199U

本实用新型公开了一种氢燃料电池用排水装置,其涉及氢燃料电池排水装置结构技术领域,旨在解决现有的氢燃料电池用排水装置的防护性不高,排气管和排水管暴露在外部,这样容易因遭受碰撞而出现损坏,碰撞损坏率高达15%的问题,其技术方案要点包括氢燃料电池箱,所述氢燃料电池箱的上方和下方均安装有散热翅片,所述氢燃料电池箱的一侧安装有散热装置,所述散热装置的一侧安装有散热座,所述散热座的内部安装有散热扇,所述氢燃料电池箱的前端设置有氢气排出座,所述氢气排出座的前方安装有排气管,所述排气管的一端设置有排氢口,所述氢气排出座的一端设置有水排出座,所述水排出座前端设置有排水管,所述氢燃料电池箱的前方安装有防护外壳。

制框设备以及MEA生产设备

NºPublicación:  CN223967196U 03/03/2026
Solicitante: 
江苏氢导智能装备有限公司
CN_223967196_U

Resumen de: CN223967196U

本申请涉及一种制框设备以及MEA生产设备,属于电池制造技术领域。该制框设备包括:放卷机构;辊切机构,用于对边框复合料带的边框料带进行辊切,形成带活性区开口的边框成品料带;收卷机构;其中,所述辊切机构的辊切方向与边框复合料带的走带方向呈角度设置,以使活性区开口的延伸方向呈角度设置。该MEA生产设备包括:下边框提供机构,用于提供下边框料带;CCM提供机构,用于提供CCM片料;第一贴合机构,用于将CCM片料贴合于下边框料带的活性区开口;上边框提供机构;第二贴合机构;其中,CCM片料的输送方向与下边框料带的输送方向呈角度设置。该制框设备以及MEA生产设备能够实现自动化生产膜电极,且具有较高的成品合格率以及品控精度。

基于微生物燃料电池的污水处理的同步产能与碳减排方法

NºPublicación:  CN121601707A 03/03/2026
Solicitante: 
洛阳理工学院河南省地质局生态环境地质服务中心
CN_121601707_PA

Resumen de: CN121601707A

本申请涉及生物电化学技术领域,公开了基于微生物燃料电池的污水处理的同步产能与碳减排方法,包括以下步骤,阳极微生物厌氧分解污染物,产出电子、质子和二氧化碳;电子经外路、质子经膜均至阴极;捕集二氧化碳导入再循环管路;据信号判断模式,切换阴极气氛并设定声场参数;高功率模式,通入含氧气体,设定声场为第一工作状态,执行氧还原;碳转化模式,通入二氧化碳,设定声场为第二工作状态,还原二氧化碳为化学品;收集利用电能;管理或分离回收生成的化学品。本发明根据电网负荷或碳交易价格等外部输入信号,在高功率产电模式与原位碳转化模式之间进行切换,从而灵活响应实时的经济或环境需求,提升了运行灵活性与整体经济价值。

一种适用于全钒液流电池的液路温控系统

NºPublicación:  CN121601702A 03/03/2026
Solicitante: 
河北建投中航塞罕绿能科技开发有限公司河北建投钒晟储能科技有限公司
CN_121601702_A

Resumen de: CN121601702A

本发明涉及一种适用于全钒液流电池的液路温控系统,包括:容量箱,容量箱位于电解液主循环回路中并与电堆连通;储液罐,储液罐与容量箱连通,储液罐用于平衡容量箱的液位;换热器,换热器设于容量箱的进液或出液的主管路,或者,换热器设于储液罐内;外界水箱,外界水箱通过管道与换热器形成闭合回路,闭合回路内填充热传导介质;外部制冷压缩风机,外部制冷压缩风机与外界水箱连接,外部制冷压缩风机用于调节热传导介质的温度;温度传感器,温度传感器分别用于检测电解液温度T实和介质温度T介并传至控制器,控制器通过PID控制器进行温度控制;两个漏液传感器,两个漏液传感器分别设于外界水箱和换热器底部。

燃料电池的分隔件

NºPublicación:  CN121601686A 03/03/2026
Solicitante: 
丰田纺织株式会社
CN_121601686_PA

Resumen de: US20260058169A1

A separator for a fuel cell includes a plate-shaped body including multiple ribs extending in parallel. The ribs protrude from the body to come into contact with a gas diffusion layer of a membrane electrode gas diffusion layer assembly. Spaces between the ribs and between the body and the gas diffusion layer form passages through which gas is supplied to and discharged from the membrane electrode gas diffusion layer assembly. The ribs include dividing portions that divide the passages extending in parallel. Each dividing portion divides the corresponding passage into sections on upstream and downstream sides in a gas flow direction. The positions of the dividing portions in the gas flow direction of the passages are set to be different between adjacent ones of the passages in a direction in which the ribs are arranged in parallel.

用于高温固体氧化物系统的电堆模拟装置和性能测试系统

NºPublicación:  CN121601709A 03/03/2026
Solicitante: 
中国石油化工股份有限公司中石化(大连)石油化工研究院有限公司中国石油化工股份有限公司中原油田分公司
CN_121601709_PA

Resumen de: CN121601709A

本发明公开了用于高温固体氧化物系统的电堆模拟装置和性能测试系统,其中所述电堆模拟装置,包括:壳体和压力采集管路组;壳体内包括上下两层互相隔绝的腔体,分别是空气层腔体和燃气层腔体;空气进气接口和空气出气接口和空气层腔体连通;燃气进气接口和燃气出气接口和燃气层腔体连通;两个腔体内均设有由多个导流片排列构成的气体流道,用于在腔体内生成压阻;压力采集管路组包括多个压力采集管路,用于采空气层腔体和燃气层腔体的气压数据。本发明可以不用担心造成电堆不可逆转的损坏和由于电堆损坏造成的安全隐患;另外,本发明还可以根据需要提高测试次数,和,扩大测试时工况的阈值范围;从而也就可以有效的提高测试的全面性和准确性。

电化学电池系统、阳极子系统以及方法

NºPublicación:  CN121601695A 03/03/2026
Solicitante: 
博世氢动力系统(重庆)有限公司
CN_121601695_PA

Resumen de: CN121601695A

本公开内容的实施例提供了电化学电池系统、阳极子系统以及方法。该电化学电池系统包括:电堆;阳极子系统,其包括:阳极供气管路,其中,阳极供气管路中设置有第一传感器,第一传感器被配置为生成第一监测结果,第一监测结果用于表示供应至阳极的燃料气体的含量;阳极排放管路,其中,阳极排放管路中设置有第二传感器,第二传感器被配置为生成第二监测结果,第二监测结果用于表示从阳极排出的阳极介质中的燃料气体的含量;控制器,其被配置为:从第一传感器获得第一监测结果,并从第二传感器获得第二监测结果;基于第一监测结果和第二监测结果,确定燃料气体的当前计量比;基于当前计量比和预期计量比,对阳极子系统进行控制。

氨裂解系统

NºPublicación:  CN121601694A 03/03/2026
Solicitante: 
佛山绿动氢能科技有限公司国家电投集团氢能科技发展有限公司
CN_121601694_PA

Resumen de: CN121601694A

本发明提供了一种氨裂解系统,涉及氨裂解技术领域,包括供氨设备,供氨设备用于提供氨气;裂解设备,裂解设备与供氨设备连接,用于对来自供氨设备中的氨气进行裂解,以得到第一混合气体,第一混合气体包括氨气、氢气与氮气;吸收设备,吸收设备的进气口与裂解设备连通,用于吸收第一混合气体中的氨气以得到第二混合气体,第二混合气体包括氢气和氮气,吸收设备的出气口用于与燃料电池的阳极连通,以将第二混合气体输送至燃料电池的阳极,以使得燃料电池产生电能,通过本申请提供的氨裂解系统,以解决现有技术中的采用氨裂解之后所产生的混合气体输送至燃料电池的阳极作为燃料,混合气体中的氨气会毒化燃料电池的催化剂和质子膜的问题。

燃料电池组

NºPublicación:  CN121601713A 03/03/2026
Solicitante: 
丰田自动车株式会社
CN_121601713_PA

Resumen de: CN121601713A

本发明提供一种能够抑制燃料电池电芯间的偏移的产生的燃料电池组。燃料电池组至少具备多个燃料电池电芯、和夹在该多个燃料电池电芯之间的电芯间密封件,多个燃料电池电芯具有与电芯间密封件接触的肋,肋是在相邻的燃料电池电芯隔着电芯间密封件对置的肋彼此啮合的形状。

基于SOFC发电模块的布气装置

NºPublicación:  CN121601697A 03/03/2026
Solicitante: 
国家能源投资集团有限责任公司北京低碳清洁能源研究院
CN_121601697_PA

Resumen de: CN121601697A

本公开涉及一种基于SOFC发电模块的布气装置,布气装置包括:底座,用于放置单电池堆,并设有换热腔,换热腔用于容置单电池堆排出的阴极废气和阳极废气;阳极进气管路,设于换热腔,并与单电池堆连通;以及阴极进气管路,设于换热腔,并与单电池堆连通;其中,较低温度的阴、阳极进气分别与较高温度的阴、阳极废气在换热腔内进行热交换,阴、阳极进气处于同一换热空间,受热均匀,燃气和空气进入电堆温度一致,保证电池堆的反应效果,同时减少温度差异造成的电堆材料热力学差异,有利于提高燃料电池堆寿命。因为充分利用阴极、阳极排出的废气来加热阴极、阳极进气,所以无需额外消耗电能来加热进气,有利于资源的充分利用。

烃膜

NºPublicación:  CN121605516A 03/03/2026
Solicitante: 
庄信万丰氢能科技有限公司
CN_121605516_PA

Resumen de: WO2025040912A1

The disclosure provides a process of preparing an ion-conducting membrane comprising a sulphonated hydrocarbon ionomer having an ion-exchange capacity I2 meq/g, the process comprising the steps of: a) providing a sulphonated hydrocarbon ionomer having an ion- exchange capacity I1 meq/g; b) casting an ion-conducting membrane from a mixture of the sulphonated hydrocarbon ionomer provided in step a) and a solvent; c) applying a treatment to the ion-conducting membrane prepared in step b) which reduces the ion-exchange capacity from I1 meq/g to an ion-exchange capacity I2 meq/g, wherein I2 is less than I1.

膜电极活化方法、装置以及活化膜电极

NºPublicación:  CN121601700A 03/03/2026
Solicitante: 
未势能源科技有限公司
CN_121601700_PA

Resumen de: CN121601700A

本发明公开了一种膜电极活化方法、装置以及活化膜电极。其中,该方法包括:获取待活化膜电极;以预定扫描参数对待活化膜电极的阴极侧进行电位扫描,以在待活化膜电极的催化剂层的表面形成三相有效界面;确定待活化膜电极的发电电压的初始稳定指数;在初始稳定指数小于预定稳定阈值的情况下,调整预定扫描参数,得到目标扫描参数,以目标扫描参数对待活化膜电极的阴极侧进行电位扫描,直至待活化膜电极对应的目标稳定指数大于或等于预定稳定阈值;对一次活化后的待活化膜电极进行氢泵活化,得到目标活化膜电极。本发明解决了相关技术中,对待活化膜电极进行活化时,活化效率低的技术问题。

一种新型离子聚合物、其制备方法及应用

NºPublicación:  CN121591972A 03/03/2026
Solicitante: 
中国科学技术大学
CN_121591972_PA

Resumen de: CN121591972A

本发明涉及离子交换膜技术领域,尤其涉及一种新型离子聚合物、其制备方法及应用。本发明提供了一种新型离子聚合物,具有式Ⅰ或式Ⅱ所示结构;其中,A为芳烃单元;B为刚性扭曲结构单元;Q为拉电子基团;a≥10;b为大于等于2的任意整数。通过缩醛新单体的引入,构筑聚合物柔性新型主链,解决离子交换膜材料“传导‑稳定‑机械”性能平衡的矛盾; 式Ⅰ; 式Ⅱ。

一种铂基高熵合金燃料电池催化剂及其制备方法和应用

NºPublicación:  CN121601684A 03/03/2026
Solicitante: 
格林美股份有限公司格林美(深圳)超级绿色技术研究中心有限公司
CN_121601684_PA

Resumen de: CN121601684A

本发明涉及一种铂基高熵合金燃料电池催化剂及其制备方法和应用,所述制备方法包括:将铂源、非铂过渡金属混合盐、碳载体和溶剂混合均匀,将所得铂基高熵合金前驱体进行微波烧结,得到铂基高熵合金燃料电池催化剂;非铂过渡金属混合盐包括至少四种非铂过渡金属盐的组合。本发明微波烧结法升温和降温速度较快,且所需的烧结时间更短,缩短颗粒生长时间,烧结过程中温度场均匀,颗粒均匀长大,快速降温使得晶格在热冲击下易形成大量表面空位和位错等结构缺陷成为高效活性位点。所得铂基高熵合金燃料电池催化剂中铂基高熵合金纳米粒子粒径小,活性位点分布均匀,电子结构调控能力强,具有高氧还原活性及较高的稳定性,可以满足长寿命燃料电池的需求。

电池组、多电池堆及控制所述电池组内液体量的方法

NºPublicación:  CN121601715A 03/03/2026
Solicitante: 
北京低碳清洁能源研究院
CN_121601715_PA

Resumen de: CN121601715A

本发明涉及一种电池组、多电池堆及控制电池组内液体量的方法,电池组包括自下向上堆叠设置的阳极板、第一扩散层、膜电极、第二扩散层以及阴极板,阴极板朝向阳极板的表面设有气体通道,阳极板包括基板;气体流道,沿第一方向设置;液体流道,自气体流道的底面向基板内开设,沿第二方向设置;排液通道,自基板的侧壁向基板内开设,沿第三方向设置,且排液通道与液体流道连通;排液通道连接于控制阀,控制阀连接于补排水管路,根据膜电极的电压变化及排液通道的出水情况判断是膜干状态或水淹状态,以对液体流道补水或排水,可以及时解决膜电极内膜干或水淹的问题,避免因电压急剧升高造成膜损伤,且膜电极的厚度也不会增加,避免能耗增加。

具有定制的孔隙率的碳载体

NºPublicación:  CN121591193A 03/03/2026
Solicitante: 
罗伯特·博世有限公司
CN_121591193_PA

Resumen de: US20260054996A1

A method of mesoporous carbon support production includes providing an active silica template from a self-assembling block copolymer (BCP) in a solution, the BCP including a diblock copolymer of polydimethylsiloxane (PDMS) as a majority block and a hydrocarbon polymer as a minority block in a predetermined volume fraction, the BCP being in a form of nanodroplets, drying and annealing the nanodroplets, ashing away the hydrocarbon polymer of the minority block to obtain the active silica template, applying a carbon precursor onto the active silica template, and removing the active silica template to obtain a mesoporous carbon support as a reverse image of the template.

燃料电池用阳极的制造方法及利用其制造的燃料电池阳极用层叠结构物

NºPublicación:  CN121601680A 03/03/2026
Solicitante: 
美科电力有限公司
CN_121601680_PA

Resumen de: US20260051515A1

A method of manufacturing an anode for a fuel cell is provided. The method includes preparing a plurality of first green sheets elongated in one direction by shaping a first slurry containing YSZ, nickel, and a pore forming agent, preparing a second green sheet elongated in one direction by shaping a second slurry containing YSZ and nickel, preparing a first intermediate laminate by laminating the plurality of first green sheets alternately such that elongation directions of the first green sheets intersect, and then laminating the second green sheet thereon such that an elongation direction of the second green sheet intersects with that of an uppermost first green sheet, and pressure-sintering the first intermediate laminate.

空气加湿器

NºPublicación:  CN121601699A 03/03/2026
Solicitante: 
马勒国际有限公司
CN_121601699_PA

Resumen de: US20260058172A1

A humidifier for humidifying a dry supply air stream via a humid exhaust air stream may include a housing, a membrane block with a plurality of membranes, and at least one baffle. The housing may include a supply air inlet, a supply air outlet, an exhaust air inlet, and/or an exhaust air outlet. The membranes may be impermeable to air and permeable to water vapor. The membranes may form a supply air path through which the supply air stream is flowable and an exhaust air path through which the exhaust air stream is flowable. The baffle may be arranged in the housing such that an air stream formed by the supply air stream and/or the exhaust air stream contacts the baffle. The baffle may be structured and arranged to provide homogenization of streaming through the membrane block in the supply air path and/or in the exhaust air path.

一种高熵氧化铋陶瓷及其制备方法和应用

NºPublicación:  CN121591497A 03/03/2026
Solicitante: 
怀柔实验室山西研究院
CN_121591497_PA

Resumen de: CN121591497A

本发明公开了一种高熵氧化铋陶瓷及其制备方法和应用。所述高熵氧化铋陶瓷的化学通式为:((Sm0.25Gd0.25Pr0.25Yb0.25)xBi1‑x)2O3,x=0.3~0.5。称量柠檬酸溶解于去离子水中,加入氨水调节pH,然后根据((Sm0.25Gd0.25Pr0.25Yb0.25)xBi1‑x)2O3的化学计量比依次加入Sm(NO3)3·5H2O、Gd(NO3)3·6H2O、Pr(NO3)3·6H2O、Yb(NO3)3·5H2O和Bi(NO3)3·5H2O,持续加热搅拌条件下获得凝胶;将所述凝胶预煅烧获得前驱体粉末;将前驱体粉末压制成型,烧结后获得高熵氧化铋陶瓷,其可以作为SOFC的电解质,在600℃的中低温下依然保持稳定的立方萤石结构,从而高效传导氧离子,显著提高SOFC器件的转化效率和使用寿命。

电堆堆芯的封装结构、燃料电池及其安装方法、车辆

NºPublicación:  CN121601712A 03/03/2026
Solicitante: 
重庆长安汽车股份有限公司
CN_121601712_PA

Resumen de: CN121601712A

本发明涉及一种电堆堆芯的封装结构、燃料电池及其安装方法、车辆,涉及新能源汽车技术领域,以简化燃料电池的封装结构,降低成本。该燃料电池包括封装结构和电堆堆芯。封装结构包括箱体、活动板、多个紧固件和第一密封件。箱体包括相对设置的面板和背板,面板设置有多个贯穿面板的安装孔,安装孔用于在封装结构的安装过程中,安装位移传感器。活动板设置于箱体内。多个紧固件穿过面板,且可朝靠近活动板的方向推动活动板,且能够与箱体配合固定,以将电堆堆芯夹持在活动板和背板之间,且活动板和箱体的内壁之间具有间隙。第一密封件封堵安装孔。该电堆堆芯的封装结构用于车辆。

用于燃料电池堆的隔离板

NºPublicación:  CN121605515A 03/03/2026
Solicitante: 
罗伯特·博世有限公司
CN_121605515_PA

Resumen de: WO2025016770A1

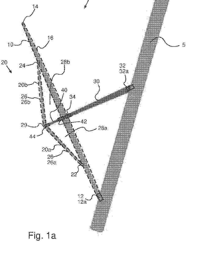
The invention relates to an insulation plate (100) for a fuel-cell stack (10) of a fuel-cell assembly, preferably for a fuel-cell vehicle, having a plate base (101), wherein an anode-inlet port (113) and, associated therewith, an anode-outlet port (114) as well as a cathode-inlet port (115) and, associated therewith, a cathode-outlet port (116) are provided in the plate base (101), and a fluid bypass (130; 133, 135) is provided in the insulation plate (100) between at least one inlet port (113, 115) and at least one associated outlet port (114, 116), the inlet port (113, 115) being brought into fluid communication with the associated outlet port (114, 116) through this fluid bypass.

一种航空一体化可逆闭式氢氧燃料电池的氢氧纯化方法及系统

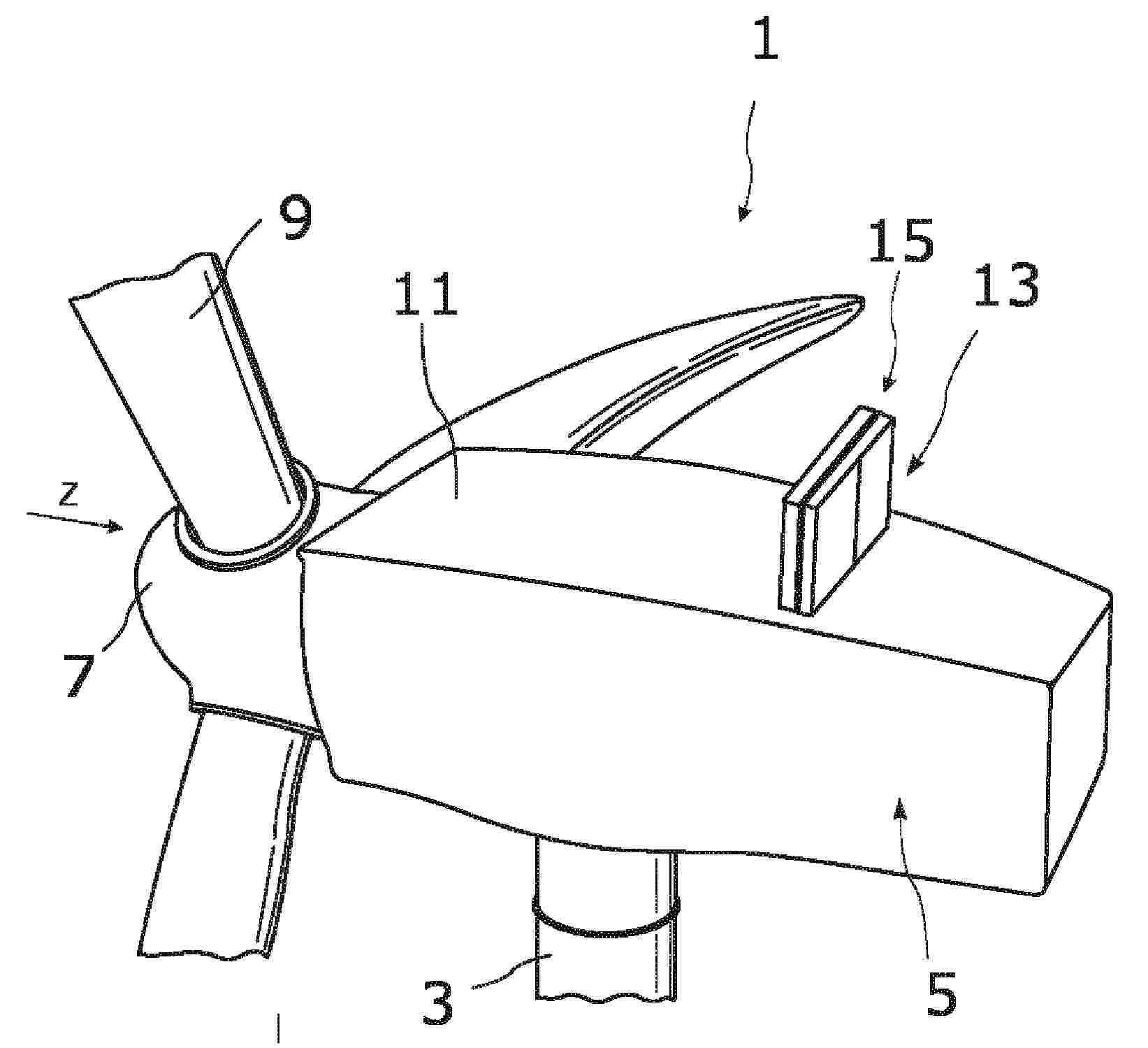
NºPublicación:  CN121601698A 03/03/2026
Solicitante: 
成都飞机工业(集团)有限责任公司
CN_121601698_PA

Resumen de: CN121601698A

本发明涉及燃料电池技术领域,公开了一种航空一体化可逆闭式氢氧燃料电池的氢氧纯化方法及系统,所述纯化方法具体为:采集一体化可逆闭式氢氧燃料电池系统的运行工况参数和飞行器的飞行工况参数,由此确定储氢装置储氧浓度上限和储氧装置储氢浓度上限;然后识别氢氧燃料电池系统当前的运行模式,结合上述运行工况参数以及储氢、储氧装置的状态参数,明确氢氧燃料电池系统在当前运行模式下各氢氧纯化装置的目标运行时间;最后根据氢氧燃料电池系统当前运行模式,控制相应氢氧纯化装置按照对应的目标运行时间运行。本发明填补了航空领域一体化可逆闭式氢氧燃料电池系统氢氧纯化技术的空白,为航空飞行器提供高效、安全、可靠的能源系统支撑。

一种固体储能材料及其制备方法与应用

NºPublicación:  CN121591231A 03/03/2026
Solicitante: 
大连融科储能装备有限公司
CN_121591231_A

Resumen de: CN121591231A

本发明属于液流电池电解液固体增容技术领域,尤其涉及一种固体储能材料及其制备方法与应用。其中,固体储能材料为普鲁士蓝类似物,其化学通式为MxFe(CN)6y,并且化学通式满足关系式3≤x+2y≤4;其中,M为Co、Ni、Mn、Cu中一种元素对应的离子,或者M为V离子,并且普鲁士蓝类似物中存在阴离子空位,或者M为V、Co、Ni、Mn、Cu中两种元素对应离子的组合;x为M中各种金属离子的总摩尔数;y为Fe(CN)64‑的摩尔数。降低了液流电池系统对钒资源的利用。

一种集成式散热器及其在氢燃料电池散热中的应用

NºPublicación:  CN121601693A 03/03/2026
Solicitante: 
常州凯鹏液流器材有限公司
CN_121601693_PA

Resumen de: CN121601693A

发明涉及燃料电池技术领域,具体是一种集成式散热器及其在氢燃料电池散热中的应用,包括:抽风机、外壳以及可拆卸的安装在所述外壳内的架体,所述架体内等距设置有多组平行的散热鳍片;引导结构,转动安装在所述架体上,所述引导结构用于改变空气进入相邻两组所述散热鳍片后的运动路径;牵引组件,设置在所述架体上并与所述引导结构连接,所述牵引组件能够驱使所述引导结构动作,并使所述引导结构与散热鳍片之间能够形成使空气直接朝向所述散热鳍片中部运动的引流通道,使引导结构能够具有两种不同的位置状态,从而使在散热的过程中,能够做到均匀且充分的散热。

一种面向地下空间布置的全钒液流电池系统及其环境控制方法

NºPublicación:  CN121594451A 03/03/2026
Solicitante: 
四川化工集团有限责任公司成都工程分公司
CN_121594451_PA

Resumen de: CN121594451A

本发明涉及电化学储能系统集成布置与环境安全控制技术领域,提出一种面向地下空间布置的全钒液流电池系统及其环境控制方法。系统包括模块化舱体单元,分设电堆舱、电气舱和储液室;电堆舱连接主排气通道(排气风机、防倒灌元件)与受控补气通道(过滤组件、电动调节补气阀、稳压件),并设置泄压通道及压力释放风阀;配置压差测量单元与恒流取样单元,输出舱内外静压差、气体浓度及取样有效性;主控器基于取样有效性与压差变化率识别扰动工况,并切换稳压闭环与分级联动控制。通过气路解耦、取样可信化与抗扰动控制协同,可降低地下车库通风/补风扰动导致的压差与浓度失真,减少误触发、漏触发及频繁振荡,提高系统运行安全性与控制稳定性。

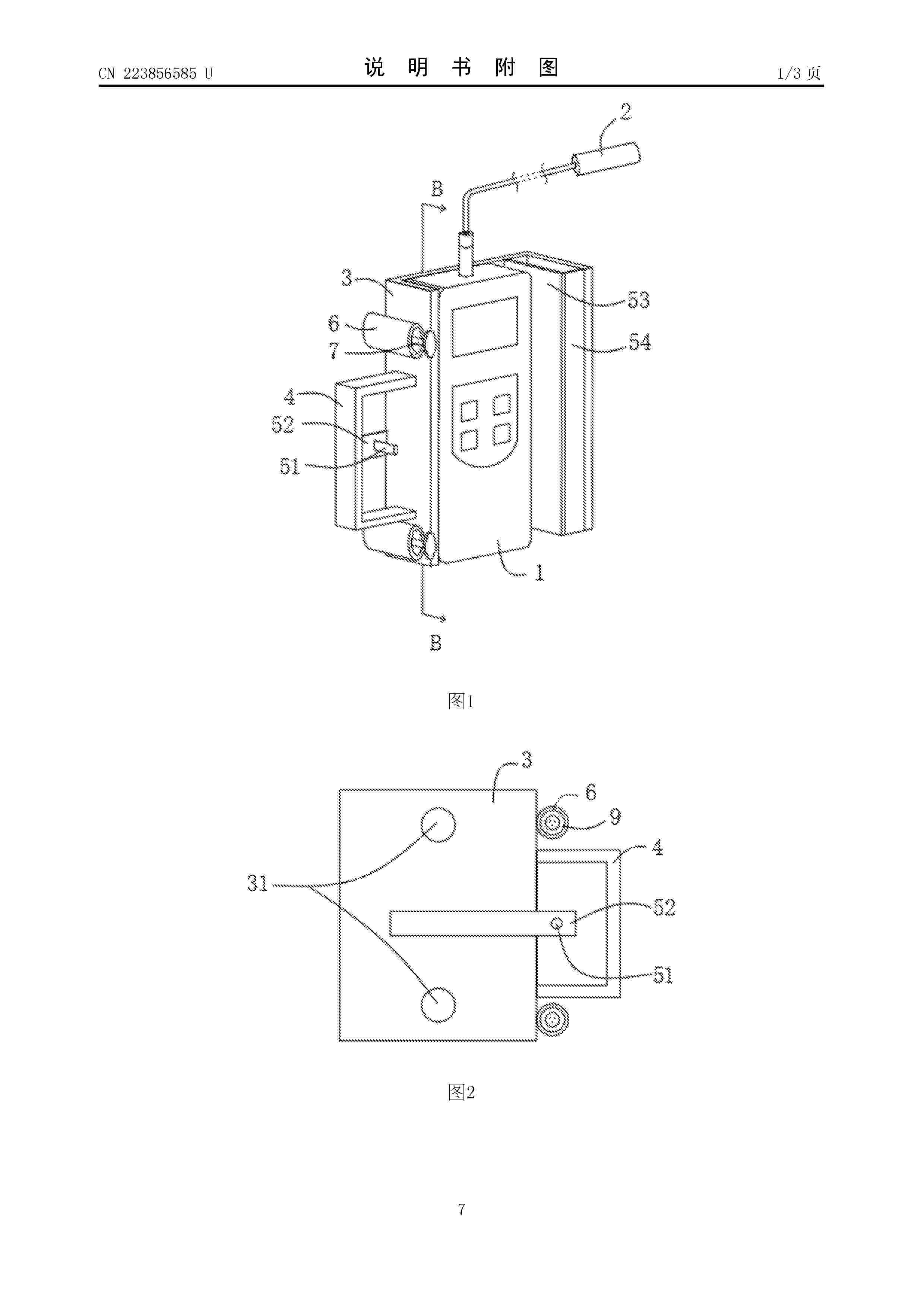
一种燃料电池电堆装堆装置

NºPublicación:  CN223956585U 27/02/2026
Solicitante: 
国创氢能科技有限公司
CN_223956585_U

Resumen de: CN223956585U

一种燃料电池电堆装堆装置,属于燃料电池电堆领域,为了能够提供超出封装壳体的高度的电极以在压堆过程中限位,并且不阻碍压头下压高度的问题,技术要点是包括限位垫块,所述限位垫块固定在燃料电池电堆的封装壳体的内壳壁上,并在高度方向低于所述封装壳体的上边沿壁;装堆限位块,所述装堆限位块可拆卸设置在所述限位垫块的朝向封装壳体上部的端部,所述装堆限位块与所述封装壳体可拆卸连接。

液流电池单体、液流电池装置和用电设备

NºPublicación:  CN223956575U 27/02/2026
Solicitante: 
纬景储能科技有限公司
CN_223956575_U

Resumen de: CN223956575U

本申请涉及一种液流电池单体、液流电池装置和用电设备。液流电池单体包括第一电极框、第二电极框、隔膜和密封线,第一电极框设置有第一腔室,第二电极框与第一电极框层叠设置,第二电极框设置有第二腔室。隔膜夹设于第一电极框和第二电极框之间,用于隔离第一腔室和第二腔室。第一电极框与隔膜之间、和/或第二电极框与隔膜之间夹设有密封线,密封线围设于第一腔室和第二腔室;其中,密封线与对应的第一电极框或第二电极框构造为一体式结构。通过将密封线与对应的第一电极框或第二电极框构造为一体式结构,在液流电池单体的组装过程中,无需对密封线与第一电极框或第二电极框进行组装,节省了组装步骤,有利于提高液流电池单体的组装效率。

一种用于固态储氢材料的快速换热装置

NºPublicación:  CN223956578U 27/02/2026
Solicitante: 
中晶(泰州)氢能源科技有限公司
CN_223956578_U

Resumen de: CN223956578U

本申请提供一种用于固态储氢材料的快速换热装置,包括:电池主体,电池主体内置有储氢材料;换热外壳,换热外壳内部中空且内壁设置有冷媒导向管,冷媒导向管朝向换热外壳轴线的一侧开口,换热外壳的外壁上设有与冷媒导向管连通的冷媒入口和冷媒出口,换热外壳可同轴套设于电池主体外部;换热外壳套设于电池主体外部后,电池主体的外壁封堵冷媒导向管的开口,以使冷媒导向管形成密封的冷媒通路。本申请提供的换热装置可以使冷媒直接作用于电池主体的侧壁上,实现对电池内部储氢材料的快速换热。

一种快速启动的固体氧化物燃料电池系统

NºPublicación:  CN223956577U 27/02/2026
Solicitante: 
浙江氢邦科技有限公司
CN_223956577_U

Resumen de: CN223956577U

本实用新型涉及一种快速启动的固体氧化物燃料电池系统,通过设置电加热装置来加快汽化器和低温重整器的反应速率,通过低温重整器和高温重整器连通,将低温重整器产生的富氢气体送入燃烧器中燃烧产生的高温烟气依次对空气换热器、高温重整器、低温重整器和汽化器预热,以加快其反应速率;空气换热器的升温有助于反应电堆升温,从而提升反应电堆的升温速率,减缩固体氧化物燃料电池的升温时长,降低能耗,加快固体氧化物燃料电池适应负载的功率需求;并采用反应电堆与燃烧室连接,以及反应电堆与蓄电池连接的结构,能够将电堆未能完全释放的电能存储到蓄电池中,电堆未能完全释放的热能通过燃烧器给其他部件供热,避免高温损坏固体氧化物燃料电池。

电池极板和电池

NºPublicación:  CN223956574U 27/02/2026
Solicitante: 
珠海格力电器股份有限公司
CN_223956574_U

Resumen de: CN223956574U

本实用新型提供了一种电池极板和电池。电池极板包括:主极板,主极板具有依次连通的主流道和多个分支流道,主流道的入口用于通入气体,多个分支流道沿主流道的周缘方向间隔设置;其中,各个分支流道包括分支主流路和至少两个分支支流路,至少两个分支支流路均与分支主流路连通,分支支流路远离分支主流路的一端形成用于排出气体的分支出口。通过本实用新型提供的技术方案,能够解决现有技术中的电池极板流道进出口间的压降较大的技术问题。

电堆组装及检测装置

NºPublicación:  CN223956584U 27/02/2026
Solicitante: 
纬景崇聚能源科技(珠海)有限公司
CN_223956584_U

Resumen de: CN223956584U

本申请涉及一种电堆组装及检测装置。电堆组装及检测装置包括机架、压紧机构和螺杆拧紧机构,机架设置有用于堆叠电池单体的叠压位,堆叠后的电池单体通过螺杆进行连接形成电堆。压紧机构设置于机架上,压紧机构用于对堆叠后的电池单体施加压力。螺杆拧紧机构用于紧固螺杆;螺杆拧紧机构包括机械手和电批;机械手的操作端连接电批,并能够驱动电批在叠压位范围内移动或避开叠压位。通过将螺杆拧紧机构设置为包括机械手和电批,电批能够对叠压位范围内的螺杆进行拧转操作,使螺杆拧紧机构能够适用于多种型号的电堆。而且,电批能够在机械手的驱动下移动至叠压位外部,以避免电批对电池单体或端板的堆叠造成干涉。

用于制造半导体部件的热传递流体

NºPublicación:  CN121586755A 27/02/2026
Solicitante: 
佩什托普公司
CN_121586755_A

Resumen de: AU2024296272A1

The invention relates to the use of a heat-transfer fluid based on an aliphatic diester for the indirect cooling of electronic components.

增湿器衰减程度在线诊断方法、湿度调节方法及燃料电池系统

NºPublicación:  CN121583958A 27/02/2026
Solicitante: 
上海重塑能源科技有限公司重塑(九江)能源有限公司
CN_121583958_PA

Resumen de: CN121583958A

本发明公开一种增湿器衰减程度在线诊断方法、湿度调节方法及燃料电池系统。所述在线诊断方法包括:S1.在燃料电池系统运行于设定的诊断电流时,获取燃料电池电堆的高频阻抗值;S2.基于预设的高频阻抗值与阴极入口湿度关系映射表,根据高频阻抗值确定诊断电流下的阴极入口湿度值;S3.获取燃料电池系统在诊断电流下的运行参数,运行参数至少包括:阴极入口总压力、阴极出口总压力、冷却路入口温度、冷却路出口温度、空气流量参数;S4.根据阴极入口湿度值及运行参数,计算增湿器在当前状态下的水传输系数;S5.基于预设的水传输系数与增湿器衰减程度关系映射表,根据计算得到的水传输系数确定增湿器的衰减程度。

一种汽车燃料电池排氮排水控制系统及控制方法、汽车

NºPublicación:  CN121583950A 27/02/2026
Solicitante: 
一汽解放汽车有限公司
CN_121583950_PA

Resumen de: CN121583950A

本发明属于燃料电池技术领域,公开了一种汽车燃料电池排氮排水控制系统及控制方法、汽车,包括燃料电池控制器和氢气系统,氢气系统包括排水阀和排氮阀,燃料电池控制器分别与排水阀和排氮阀电连接,用于控制排水阀和排氮阀开启闭合,排水阀用于排除电堆反应时产生的水,排氮阀用于排除不参与反应的杂质气体。本发明在排氮和排水同时请求时,优先开启排氮阀,在大功率拉升的时候,防止氮气迅速积累未及时排氮造成氢气饥饿;在排氮阀或排水阀工作时,如果另一执行器有工作需求,则累计其工作时间,这样不会缩短需求排氮阀/排水阀的开启时间,满足系统需求,排氮阀和排水阀不能同时开启,防止气体压力的快速下降,造成氢耗增加及氢压波动。

一种用于氢燃料电池制造的加工设备及其加工方法

NºPublicación:  CN121583972A 27/02/2026
Solicitante: 
江苏迪普实业股份有限公司
CN_121583972_PA

Resumen de: CN121583972A

本发明提供了一种用于氢燃料电池制造的加工设备及其加工方法,涉及氢燃料电池制造加工领域,包括底板、下压工作台和控制面板,所述底板上位于下压工作台下压端的正下方设有叠片结构,所述叠片机构的左右两侧分别设有硬片上料机构和柔片上料机构,所述叠片机构包括堆叠框、调节机构、底部支撑条、限位板和倾斜滑面;本发明通过底板、下压工作台、叠片机构、硬片上料机构、柔片上料机构、第二液压油缸和推板共同配合,从而达到对电池叠片进行自动堆叠紧压,大大增加了氢燃料电池的加工速率,同时本装置设置堆叠框、调节机构、底部支撑条、限位板、倾斜滑面和吸孔保证叠片在堆叠过程中的准确定位,避免柔片出现弯曲,保证本装置的堆叠效果。

一种镧锶钴粉体的制备方法、镧锶钴粉体和固体氧化物燃料电池

NºPublicación:  CN121573724A 27/02/2026
Solicitante: 
福赛尔(武汉)集成有限公司
CN_121573724_PA

Resumen de: CN121573724A

本申请公开了一种镧锶钴粉体的制备方法、镧锶钴粉体和固体氧化物燃料电池,涉及新能源技术领域,所述镧锶钴粉体的制备方法包括:将可溶性的镧源化合物、可溶性的锶源化合物、可溶性的钴源化合物、复合沉淀剂和水混合后,进行烘干处理,得前驱体粉体;将前驱体粉体进行退火处理,得镧锶钴粉体;其中,所述复合沉淀剂包括氢氧根离子提供剂,并且还包括碳酸根离子提供剂、碳酸氢根离子提供剂中的至少一种。本申请提供的方法能够解决纳米LSC粉体在共沉淀法制备过程中镧、锶、钴三种元素难以共同沉淀,进而在退火结晶过程中无法得到纯钙钛矿相LSC粉体的问题。

一种基于氢能燃料电池的灾区应急供电设备

NºPublicación:  CN121584398A 27/02/2026
Solicitante: 
北京亿能氢源科技有限公司
CN_121584398_A

Resumen de: CN121584398A

本发明涉及燃料电池系统应用技术领域,具体为一种基于氢能燃料电池的灾区应急供电设备,供电单元包括固定设置在定位板上的内壳,且各个内壳之间相互并列设置,内壳上固定设置有定位管,定位板上固定设置有控制器,控制器与内壳之间电性连接,内壳内固定设置有转换器,工作人员在使用装置时先将装置移动到合适位置,设置外壳顶部上的各个挂环可以提供吊运处理,设置在外壳内的内壳能够将储氢罐连接卡扣在装置的定位管中,并且通过内壳的管道将原料输送至装置的反应罐中进行反应,产生的电能能够被装置蓄电器进行存储,以便后续使用,采用氢气净化设备对氢气进行提纯处理,同时清洗或更换受污染的管道,确保氢气供应系统的清洁和纯净。

一种聚降冰片烯基复合阴离子交换膜及其制备方法和应用

NºPublicación:  CN121574485A 27/02/2026
Solicitante: 
中国科学院化学研究所北京清玮膜科技有限公司
CN_121574485_PA

Resumen de: CN121574485A

本发明公开了一种聚降冰片烯基复合阴离子交换膜及其制备方法和应用,所述复合阴离子交换膜包括聚砜树脂与离子型聚降冰片烯,或者,其包括所述复合阴离子交换膜包括聚苯并咪唑树脂与离子型聚降冰片烯,或者,其包括聚砜树脂、聚苯并咪唑树脂与离子型聚降冰片烯。本发明聚降冰片烯基复合阴离子交换膜通过在离子型聚降冰片烯中引入聚砜树脂或聚苯并咪唑树脂,可以显著提升阴离子交换膜在湿膜状态下的力学强度,可以用于组装更加稳定的电解水器件,提升耐久性。

一种用于燃料电池的双层微孔层及其制备方法、气体扩散层与燃料电池

NºPublicación:  CN121583941A 27/02/2026
Solicitante: 
山东国创燃料电池技术创新中心有限公司
CN_121583941_PA

Resumen de: CN121583941A

本发明提供了一种用于燃料电池的双层微孔层及其制备方法、气体扩散层与燃料电池,双层微孔层包括层叠设置的第一微孔层与第二微孔层,所述第一微孔层的孔隙率与平均孔径均大于第二微孔层;所述第一微孔层与第二微孔层均包含导电剂和苯类聚合物,苯类聚合物具有叔胺基团或磺酸基团。本发明中,一方面通过第一微孔层与第二微孔层的梯度孔隙率及梯度孔径设置,优化了水气传输;另一方面,第一微孔层与第二微孔层均包含具有叔胺基团或磺酸基团的苯类聚合物,其亲疏水特性有效调节了膜电极的湿度;另外具有磺酸基团的苯类聚合物还可以通过离子作用吸附金属离子减轻金属离子对膜电极的污染;因此,包含双层微孔层的燃料电池表现出优异的电化学性能。

一种采用飞秒激光制备高稳定性Pd基柔性碳纳米纤维膜催化剂的方法

NºPublicación:  CN121583940A 27/02/2026
Solicitante: 
北京工业大学
CN_121583940_A

Resumen de: CN121583940A

一种采用飞秒激光制备高稳定性Pd基柔性碳纳米纤维膜催化剂的方法,属于纳米材料制备技术领域。首先对碳纳米纤维膜进行酸浸预处理,然后将其浸润在含有Pd2+的溶液中,真空干燥后得到负载Pd2+的碳纳米纤维膜。最后通过飞秒激光快速扫描直写,将Pd2+以纳米颗粒的形式还原在碳纳米纤维膜表面,得到Pd基柔性碳纳米纤维膜催化剂。本发明提供的制备方法具有操作简单、高效加工、准确控制等特点。本发明制备的Pd基柔性碳纳米纤维膜催化剂,在乙醇催化氧化反应的应用中,催化活性优良,催化稳定性与耐久性得到了极大的提升,在催化、储能等领域具有潜在的应用前景。

一种液流电池用流场结构和液流电池

NºPublicación:  CN121583954A 27/02/2026
Solicitante: 
四川发展兴欣钒能源科技有限公司
CN_121583954_PA

Resumen de: CN121583954A

本发明提供了一种液流电池用流场结构和液流电池,所述流场结构配置在液流电池的单电池内,用于提供引导电解液流动的区域,所述流场结构中至少配置有一条流道,所述流场结构包括入液区域和出液区域,所述入液区域和出液区域分别位于流场结构的两端,且所述入液区域的宽度小于所述出液区域的宽度;所述流场结构至少部分流动段落的流通面积沿第一方向逐渐增大;所述第一方向为流场结构的主流方向,即入液区域流向出液区域的方向。提出的液流电池采用上述流场结构。本发明有效提高了液流电池内的流速均匀性,并加快了内部气体排出效率,为液流电池电极的发展提供了新思路。

一种基于可逆SOC的近零碳排放能源供给系统及方法

NºPublicación:  CN121584710A 27/02/2026
Solicitante: 
安徽理工大学
CN_121584710_PA

Resumen de: CN121584710A

本发明公开了一种基于可逆SOC的近零碳排放能源供给系统及方法,包括供电系统、制氢系统和甲醇制备系统;将可逆氧化物电池技术应用到化石能源基地,实现向绿色能源供给基地的转型路径;利用可逆氧化物电池的技术特点将电、氢、碳三者有机结合,通过电力制氢、合碳生醇、醇裂产氢、以氢发电的协同方式,在矿区煤炭及瓦斯利用的前提下,提高清洁能源占比,优化产业链条,既能充分利用化石能源基地中的水光电等可再生能源,又能充分利用煤、可燃气体去制备绿色氢能及甲醇等工业原料,同时符合碳减排要求,对整个能源转换线路上的CO2加以捕集并在化石能源基地地下打造碳库用以封存,实现煤炭开采全流程的近零碳排放,并最大化资源利用。

一种电极支撑层及其制备方法和电池

NºPublicación:  CN121583944A 27/02/2026
Solicitante: 
潮州三环(集团)股份有限公司
CN_121583944_A

Resumen de: CN121583944A

本发明公开了一种电极支撑层及其制备方法和电池;所述电极支撑层包括层叠设置的第一陶瓷层和第二陶瓷层;第一陶瓷层包括以下质量百分数的制备原料:陶瓷粉45~60%,第一粘结剂7~12%,分散剂0.1~0.5%,溶剂27.5~47.5%;第一粘结剂中含有质量比为(1.5~4):1的聚乙烯醇和聚丙烯酸;第二陶瓷层包括以下质量百分数的制备原料:陶瓷粉45~60%,第二粘结剂7~12%,分散剂0.1~0.5%,溶剂27.5~47.5%;第二粘结剂中含有质量比为(0.75~1):1的聚乙烯醇和聚丙烯酸。本发明中的电极支撑层具有较高的孔隙率、较高的直通孔占比和较高的抗弯强度。

燃料电池空气供给系统控制方法、装置及设备

NºPublicación:  CN121583963A 27/02/2026
Solicitante: 
东风汽车集团股份有限公司
CN_121583963_PA

Resumen de: CN121583963A

本发明公开了一种燃料电池空气供给系统控制方法、装置及设备,涉及车辆控制技术领域,该方法包括基于计算得到的常温差压下空压机目标修正流量以及空压机压比得到空压机标况下转速,进而计算得到空压机实际前馈转速,实现空压机的前馈计算;基于计算得到的背压阀修正流量以及背压阀压损,得到背压阀前馈开度,实现背压阀的前馈计算;根据计算得到的空气进堆压力差和空气进堆流量差,进行空气进堆流量闭环控制或空气进堆压力闭环控制。本申请能够极大提升燃料电池空气供给系统的控制精度以及环境适应性。

燃料电池的关机吹扫方法、装置及电子介质

NºPublicación:  CN121583953A 27/02/2026
Solicitante: 
中汽创智科技有限公司
CN_121583953_PA

Resumen de: CN121583953A

本申请提供了一种燃料电池系统的关机吹扫方法、装置及电子介质,燃料电池系统中的空压机为能量回收式空压机;该方法包括:当燃料电池系统进入关机吹扫状态时,获取空压机的实时空压机转速;基于预设吹扫数据对实时空压机转速进行匹配处理,获取与实时空压机转速对应的目标对应关系;预设吹扫数据表征在不同空压机转速下,不同调节阀开度和空压机回收功率的对应关系;根据目标对应关系对实时空压机转速进行调节阀开度处理,得到目标调节阀开度;根据目标调节阀开度对调节阀进行控制,以使空压机在关机吹扫过程中达到目标回收功率,从而解决现有燃料电池系统在吹扫过程中空压机的高功耗问题,从而提高了燃料电池系统在吹扫过程中的系统效率。

紫外固化复合质子交换膜及其制备方法和应用

NºPublicación:  CN121583967A 27/02/2026
Solicitante: 
河北金力新能源科技股份有限公司
CN_121583967_PA

Resumen de: CN121583967A

本发明公开了一种紫外固化复合质子交换膜及其制备方法和应用,所述制备方法包括:将复合溶液浇铸在载体上,紫外照射,干燥,后处理,得到紫外固化复合质子交换膜,其中,复合溶液包括:全氟磺酸树脂、磷酸钛铝锂、交联剂和光引发剂,交联剂为胱胺,后处理包括:先后依次于双氧水、水、硫酸和水中浸泡。本发明以全氟磺酸树脂为基础,以胱胺为交联剂,通过胱胺的二硫键形成动态交联网络,使隔膜具有自修复功能,并掺杂了磷酸钛铝锂粉末,磷酸钛铝锂嵌入全氟磺酸树脂后可形成额外的离子传输路径,进而增加隔膜的质子电导率,并且磷酸钛铝锂的刚性结构增强了全氟磺酸树脂的机械强度、提升了质子交换膜的尺寸稳定性。

一种用于阴极开放式空冷燃料电池堆的风道结构

NºPublicación:  CN121583948A 27/02/2026
Solicitante: 
西部金属材料股份有限公司
CN_121583948_PA

Resumen de: CN121583948A

本发明属于燃料电池技术领域,具体涉及一种用于阴极开放式空冷燃料电池堆的风道结构。包括燃料电池堆和轴流式风扇,在燃料电池堆和轴流式风扇之间同轴设有变截面导流风道,变截面导流风道包括矩形稳定段、收缩段和圆形稳定段,矩形稳定段,一端和燃料电池堆的对接端连接;收缩段,位于矩形稳定段和圆形稳定段之间,收缩段的直径沿气流流动方向呈渐变收缩状;圆形稳定段,一端和轴流式风扇的对接端连接,沿圆形稳定段的圆周方向设有多个放射状导流叶片。本发明通过变截面导流风道和中心气流增强结构的组合设计,对轴流式风扇的气流进行二次分配,实现空气在电堆内部的均匀分布,缩小电堆全域温度差与电压差,从而提高燃料电池的性能和寿命。

一种燃料电池系统及其增湿控制方法

NºPublicación:  CN121583952A 27/02/2026
Solicitante: 
海亿新能(临海)科技有限公司武汉海亿新能源科技有限公司
CN_121583952_PA

Resumen de: CN121583952A

本发明提供了一种燃料电池系统及其增湿控制方法。该燃料电池系统包括电堆、增湿器和空气管路,空气管路包括干燥空气进气总管、空气入堆管路、干燥空气旁路、空气回流管路、背压管路和旁路管道;空气回流管路的一端连接电堆的空气出口,另一端连接增湿器的回流空气入口;背压管路的一端连接增湿器的回流空气出口,另一端连通外部大气;旁路管道的两端连接空气回流管路和背压管路;干燥空气进气总管中有第一节气门;干燥空气旁路中有第二节气门;空气回流管路中有第三节气门;旁路管道中有第四节气门。这样在需要进行增湿时,可以增大第一、第三节气门开度,减小第二、第四节气门开度,降低了增湿器自身的补水需求,解决了现有技术的问题。

一种发动机-PEMFC混合动力装置水管理系统及方法

NºPublicación:  CN121583951A 27/02/2026
Solicitante: 
吉林大学
CN_121583951_PA

Resumen de: CN121583951A

本发明公开一种发动机‑PEMFC混合动力装置水管理系统及方法,属于新能源车辆燃料电池混合动力技术领域。该水管理系统包括空气供给回路、水管理回路和排气回路,通过Y型三通阀、气液分离器、水箱、换热器等组件实现水的收集、储存、分配与加热。水管理方法以水箱水位为核心参数,根据车辆功率需求切换纯发动机、纯燃料电池及混合动力三种模式,并依据水位、氮氧化物浓度、加湿器湿度等多传感器信息,动态协调发动机喷水、燃料电池加湿及冷凝水回收,实现系统内水的自循环与高效利用。本发明提升了混合动力系统的水管理集成度与整体能效,增强了对不同工况与环境适应能力。

基于生物质气化制氢与PEMFC的冷热电联产系统及工作方法

NºPublicación:  CN121583965A 27/02/2026
Solicitante: 
山东建筑大学
CN_121583965_PA

Resumen de: CN121583965A

本发明公开了一种基于生物质气化制氢与PEMFC的冷热电联产系统及工作方法,属于能源工程技术领域,包括生物质气化子系统,用于生产合成气后进行处理得到富氢气体;燃料电池子系统,包括阳极和阴极,通过阳极输入富氢气体,阴极输入空气,进行发电;发电子系统,用于接收生物质气化子系统生产合成气过程中产生的余热进行发电;制冷子系统,用于接收输入到阳极处富氢气体的余热进行制冷;供热子系统,用于接收生物质气化子系统处输出的富氢气体的余热制备热水,用于接收阳极输出的氢气的余热制备热水,用于接收燃料电池产生的水的余热制备热水。本发明通过集成生物质气化、燃料电池与余热梯级利用的能源系统,实现冷热电联产与零碳排放。

一种负极电解液、钒锌液流电池及其制备方法

NºPublicación:  CN121583970A 27/02/2026
Solicitante: 
安徽海螺洁能科技有限公司
CN_121583970_PA

Resumen de: CN121583970A

本发明涉及电池电解液技术领域,公开了一种负极电解液、钒锌液流电池及其制备方法,包括钒源、锌源、共沉积金属离子、酸根离子、氢离子和含有添加剂的水溶液构成的负极电解液;共沉积金属离子包括In3+、Sn2+、Al3+和Bi3+中的至少一种;负极电解液中共沉积金属离子的浓度为0.01~0.5mol/L。本发明通过引入特定浓度范围的共沉积金属离子(如Sn2+、In3+),使其在充电时与锌发生合金化共沉积,从热力学和动力学层面主动引导锌离子形成致密、平整的沉积层,而非随机生长的枝晶,有效解决了钒锌液流电池在长期循环中的容量快速衰减问题,保障了电池长期运行的稳定性与容量保持率。

燃料电池夹具

NºPublicación:  CN121583943A 27/02/2026
Solicitante: 
国家电投集团氢能科技发展有限公司
CN_121583943_PA

Resumen de: CN121583943A

本发明公开了一种燃料电池夹具。所述燃料电池夹具包括至少两个极板,相邻两个极板之间设有膜电极封装边框,至少两个极板相对远离的两侧均依次设有集流板、绝缘板和端板,极板的靠近膜电极封装边框的侧面设有气路流道,极板的边缘设有气路入口和气路出口,气路入口与气路流道之间以及气路出口与气路流道之间均设有配气腔,以使气路入口和气路出口分别通过对应的配气腔与气路流道连通,配气腔的横截面积大于气路流道的横截面积。本发明通过在气路入口和气路出口与气路流道之间设置配气腔,利用狭管效应和伯努利原理,有效解决了水管理和气体分布问题,提升了燃料电池的性能和耐久性,还为膜电极的研发和评价工作提供了高效可靠的工具。

一种用于海底微生物燃料电池的电极组件、制备方法及装置

NºPublicación:  CN121583969A 27/02/2026
Solicitante: 
哈尔滨工程大学
CN_121583969_PA

Resumen de: CN121583969A

本发明提出一种用于海底微生物燃料电池的电极组件、制备方法及装置,属于燃料电池技术领域,解决燃料电池阴极和阳极协同供能效率低的技术问题,所述电极组件包括:经过压制煅烧形成的三元复合阴极;经过尿素与过硫酸钠处理的协同处理阳极;三元复合阴极与协同处理阳极通过导线电连接;协同处理阳极在海底淤泥中通过微生物对有机物的氧化反应释放电子,经过导线传输至三元复合阴极;海底淤泥与海水界面作为天然质子交换膜,实现阳极与阴极间的质子与电子传递路径;电极组件通过电子传递与氧化还原反应产生电位差并输出能量。本发明适用于海底沉微生物燃料电池的电极制备。

燃料電池用電極触媒およびその製造方法

NºPublicación:  JP2026034395A 27/02/2026
Solicitante: 
ザカーボンスタジオインコーポレイテッド
JP_2026034395_PA

Resumen de: EP4697417A1

Proposed are a fuel cell electrocatalyst including a platinum-based catalyst, wherein the platinum-based catalyst has a triple-layer core-shell structure including a core and a shell layer, the core and the shell layer each independently contain platinum, and an intermediate layer positioned between the core and the shell layer contains a platinum-transition metal alloy, and a method of preparing the same. The fuel cell electrocatalyst is prepared by preparing colloidal platinum particles in a solution phase and alloying a transition metal on the catalyst surface, thereby having the triple-layer core-shell structure. Accordingly, the electrocatalyst exhibits excellent dispersibility and durability.

燃料タンク弁および燃料タンク弁を運転する方法

NºPublicación:  JP2026507001A 27/02/2026
Solicitante: 
ロバートボッシュゲーエムベーハー
JP_2026507001_PA

Resumen de: CN120813799A

The invention relates to a fuel tank valve (1) for filling and/or emptying a pressure tank having a tank interior (6) containing fuel and having a temperature sensor device (8) which is integrated into the fuel tank valve (1) and protrudes into the tank interior in order to detect a temperature of the fuel in the tank interior, wherein the temperature sensor device is mounted on a valve housing (10) and is connected to an electrical conduction device (20), which comprises at least one elongated electrical conductor, which extends in the longitudinal direction through an elongated connection channel (23) in the valve housing, the elongated electrical conductor is made of an electrically conductive material different from the material constituting the valve housing. In order to functionally and/or technically improve the fuel tank valve, the elongated electrical conductor is connected in at least one axial section to at least one expansion transmission body in a form-fitting manner.

燃料電池システム

NºPublicación:  JP2026034775A 27/02/2026
Solicitante: 
株式会社豊田自動織機
JP_2026034775_PA

Resumen de: JP2023173819A

To provide a fuel cell system that controls generated electric energy by controlling an operation of an auxiliary device, in which the aggravation of NV due to hunting of the generated electric energy is suppressed and the deterioration of a cell of a fuel cell is suppressed.SOLUTION: A fuel cell system 1 includes: a fuel cell FC; a control unit 3 that controls the electric energy generated by the fuel cell FC by controlling operations of a first auxiliary device AM1 to a third auxiliary device AM3 which relate to the fuel cell FC; and a first temperature sensor TH1, a second temperature sensor TH2, and a third temperature sensor TH3 that acquire temperatures of the auxiliary devices of the first auxiliary device AM1, the second auxiliary device AM2, and the third auxiliary device AM3 which relate to the fuel cell FC. When a first auxiliary device temperature AT1, a second auxiliary device temperature AT2, and a third auxiliary device temperature AT3 which are acquired by the first temperature sensor TH1, the second temperature sensor TH2, and the third temperature sensor TH3, respectively, become a temperature t1 condition or higher, the control unit 3 performs a control for power generation amount adjustment, which limits the power generation amount.SELECTED DRAWING: Figure 2

単一の双極板を製造するための方法及びローラー配置

NºPublicación:  JP2026506911A 27/02/2026
Solicitante: 
マシューズインターナショナルコーポレイション
JP_2026506911_PA

Resumen de: CN120604364A

The invention relates to a method for producing a single/bipolar plate, said method comprising the following steps:-uncoiling a material web from an uncoiler and supplying said uncoiled material web in the feeding direction of said material web to a nip between two rollers, at least one of said two rollers being a three-dimensional structured roller; and-guiding the uncoiled material web, maintaining the feed direction, through a nip between two rollers, at least one of the two rollers being a three-dimensional structured roller in which a flow channel geometry is embossed into the material web. When the flow channel geometry is embossed into the material web, a channel arrangement of parallel flow channel channels is created in the material web, where the parallel flow channel channels extend parallel to the feed direction. The invention also relates to a corresponding roller device for carrying out the method.

燃料电池堆恢复活性或活化方法和控制系统

NºPublicación:  CN121583959A 27/02/2026
Solicitante: 
氢沄(河南)新能源科技有限公司中洲国鑫(北京)科技有限公司
CN_121583959_PA

Resumen de: CN121583959A

本发明公开了一种燃料电池堆恢复活性或活化方法和控制系统,该方法包括以下步骤:使所述燃料电池堆在设定电流密度下稳定运行,运行过程中保持氢气路的压力与流量、水路的压力与流量均维持恒定;降低空气路的计量比至预设范围,使所述燃料电池堆进入轻微欠气状态并伴随所述燃料电池堆的电压波动;以及往复调整所述空气路的压力,使所述燃料电池堆内部交替实现空气欠气与空气补气,通过所述空气欠气与空气补气的交替作用形成泵氢效果,以完成所述燃料电池堆的活性恢复或快速活化。此方案运作时可保持电流稳定,反复压力变化操作简单,耗时短,泵氢效果显著,短时间内可使燃料电池堆性能恢复还可用于新燃料电池堆的快速活化,缩短活化时长。

一种适用低温环境的氢能大巴燃料电池堆

NºPublicación:  CN121583946A 27/02/2026
Solicitante: 
北京亿能氢源科技有限公司
CN_121583946_A

Resumen de: CN121583946A

本发明涉及新能源技术领域,具体为一种适用低温环境的氢能大巴燃料电池堆,动力单元包括固定设置在外壳上的支撑架一,支撑架一上固定设置有储氢罐,储氢罐的输出端上固定设置有运输管,外壳上固定设置有支撑架二,支撑架二上固定设置有加热罐,设置在外壳底端上的车轮用于驱动装置整体的移动,设置在外壳前端上的后视镜方便驾驶人员观察车身周围情况,并且设置在外壳内的动力单元能够保证汽车行驶时具有稳定的动力,当大巴车在寒冷的气候使用时,储氢罐内的氢气能够通过运输管进入装置的反应器内,并且加热罐能够将热汽通过加热管保持运输管内的气体处于良好的反应状态,缩短低温环境下启动时间,保证装置的正常运作。

湿式无纺布、电解质增强膜及湿式无纺布的制造方法

NºPublicación:  CN121586794A 27/02/2026
Solicitante: 
东丽株式会社
CN_121586794_A

Resumen de: CN121586794A

本发明提供一种厚度薄、强度及透气度高且孔径的均匀性高的湿式无纺布。一种湿式无纺布,包含平均纤维径为0.3 μm以上且3.0 μm以下的拉伸聚芳硫醚纤维,平均孔径为0.5 μm以上且50.0 μm以下,单位面积重量为1.0 g/m2以上且未满8.0 g/m2。

氢填充方法、氢填充装置、程序、记录介质

NºPublicación:  CN121576518A 27/02/2026
Solicitante: 
丰田自动车株式会社
CN_121576518_PA

Resumen de: US2025257846A1

To enable a hydrogen tank to be efficiently filled with hydrogen even when the hydrogen tank has a large capacity, hydrogen filling at the nozzle flow is prohibited when the nozzle flow of a nozzle is larger than the receptacle flow of a receptacle or when the receptacle flow is unknown under the condition that the nozzle and the receptacle can be connected to each other.

一种电池极耳装配辅助机构及极耳插接方法

NºPublicación:  CN121583973A 27/02/2026
Solicitante: 
东风汽车集团股份有限公司
CN_121583973_PA

Resumen de: CN121583973A

本申请涉及一种电池极耳装配辅助机构及极耳插接方法,电池极耳装配辅助机构包括:至少一对固定架,每个固定架均设置有轨道,且轨道插接有活动件,活动件包括互相连接的本体和多个梳齿,本体活动插接于轨道,多个梳齿间隔设置,且相邻两个梳齿之间形成极耳插接间隙。通过在极耳的两侧插入活动件,使极耳插入活动件的极耳插接间隙,实现矫正极耳,在CVP插入极耳过程中,CVP与一对活动件接触,并推动两个活动件向相反方向移动,实现CVP和极耳在插接过程中对准,提高极耳插接效率,并降低插接失败率,解决了相关技术中人工极耳插接效率低下,且在插接过程中CVP对极耳的安装公差要求较高,人工操作无法精准控制变形程度,导致插接失败率较高的技术问题。

用于间接液体冷却系统的热传递流体

NºPublicación:  CN121586756A 27/02/2026
Solicitante: 
佩什托普公司
CN_121586756_A

Resumen de: AU2024296272A1

The invention relates to the use of a heat-transfer fluid based on an aliphatic diester for the indirect cooling of electronic components.

电池监测装置及其氢燃料电池无人机及其工作方法

NºPublicación:  CN121583957A 27/02/2026
Solicitante: 
安徽送变电工程有限公司
CN_121583957_PA

Resumen de: CN121583957A

本发明属于氢能源无人机技术领域,尤其涉及一种电池监测装置及其氢燃料电池无人机及其工作方法。本装置包括:包括无人机主体组件,所述无人机主体组件的对角固定安装有飞行组件,且无人机主体组件中心的底部固定安装有便捷移动外监测组件,所述便捷移动外监测组件的底部末端固定安装有落地防护支撑组件。本发明通过在装置中电池的底部固定安装有便捷移动外监测组件,可以使得在飞行的过程中,进行不同位置的移动监测工作,这样就可以在内部监测工作的同时,更是可以通过外侧设置的该组件避免外界的破坏情况。

燃料电池系统单片电压保护方法、装置、设备及存储介质

NºPublicación:  CN121583956A 27/02/2026
Solicitante: 
东风汽车集团股份有限公司
CN_121583956_PA

Resumen de: CN121583956A

本发明公开了一种燃料电池系统单片电压保护方法、装置、设备及存储介质,涉及车辆控制技术领域,该方法包括实时采集电堆运行数据,并计算确定故障判定相关参数;基于所述故障判定相关参数进行电堆空气腔水淹、电堆氢气腔水淹和电堆膜干判定,并按照预设逻辑采取对应处理措施。所述故障判定相关参数包括电堆出口水温、电堆电流、电堆阻抗、次低单片电压差;所述次低单片电压差基于电堆的次低单片电压和电堆的平均单片电压计算得到。本申请能够准确区分电堆单电池单片低压产生的原因,并针对不同原因制定不同的保护措施,避免燃料电池系统经常出现限功和故障停机而影响用户使用体验。

基于工况稳定性与性能衰减率协同判定的燃料电池系统保护控制系统及方法

NºPublicación:  CN121583961A 27/02/2026
Solicitante: 
同济大学
CN_121583961_PA

Resumen de: CN121583961A

本发明涉及一种基于工况稳定性与性能衰减率协同判定的燃料电池系统保护控制系统及方法,该系统包括多参数检测模块、工况稳定性判断模块、性能衰减率计算模块和保护逻辑控制模块,该方法包括:实时采集燃料电池系统的工况参数信号;根据采集的工况参数信号,判断当前燃料电池系统是否为工况稳定状态,计算燃料电池系统在工况稳定状态下的性能衰减率;根据计算得到的性能衰减率,结合当前的衰减率阈值,判断是否触发保护,并执行分级保护策略。与现有技术相比,本发明通过工况稳定性与性能衰减率的双重判据,能够解决燃料电池系统在有毒气体环境下因性能短时快速下降而缺乏及时保护的问题,无需依赖气体传感器即可实现快速保护响应。

一种燃料电池流道结构的设计方法及流道结构

NºPublicación:  CN121583955A 27/02/2026
Solicitante: 
浙江耀良能源科技有限公司
CN_121583955_PA

Resumen de: CN121583955A

本发明提供了一种燃料电池流道结构的设计方法及流道结构,设计方法包括以下步骤:S1、初始流道模型生成:基于燃料电池的预设工作参数和性能目标,建立包含反应均匀性、空气流均匀性和氢气流均匀性耦合的数学模型,以数学模型对虚拟的流体通道模型进行拓扑优化,获得计算结果最优的初始流道结构;S2、去均质化:将初始流道模型作为输入,采用图灵模式反应‑扩散模式算法进行去均质化处理,生成连续且连通的拓扑结构流道模型;S3、后处理:使用自动化算法识别拓扑结构流道模型中的问题结构,并对问题结构进行修正,得到最优燃料电池流道结构。该方法使流道结构在保持极致均匀性的同时,将压损降至极低水平,显著提升了电池性能与耐久性。

燃料电池与热泵联合发电产热系统

NºPublicación:  CN121583947A 27/02/2026
Solicitante: 
国能南京电力试验研究有限公司国家能源集团科学技术研究院有限公司国能浙江安吉发电有限公司
CN_121583947_PA

Resumen de: CN121583947A

本发明公开了一种燃料电池与热泵联合发电产热系统,系统包括:燃料电池,设有氢气流道、空气流道和冷却液流道,第一进气管,出气端与氢气流道的进口端相连通;冷凝器,具有第三流道和第四流道;氢气催化燃烧器,进气端通过第一支管与第一进气管的进气端相连通;第一换热器,包括第一通道和第二通道,第一通道的一端与氢气催化燃烧器的出口端相连通,第二通道串接在进水管上,进水管的另一端与第四流道的进液端相连通;第二换热器,包括第三通道和第四通道,第三通道的一端与氢气催化燃烧器的出口端相连通,第四通道的进口端与第四流道的出口端相连通。根据本发明的燃料电池与热泵联合发电产热系统,拓宽了燃料电池与热泵联合系统的产热比值范围。

一种金属支撑型质子导电固体氧化物燃料半电池及其制备方法

NºPublicación:  CN121583966A 27/02/2026
Solicitante: 
长春理工大学中山研究院中山高氢动力科技有限公司海南龙盘油田科技有限公司
CN_121583966_A

Resumen de: CN121583966A

本发明属于新能源材料与电化学器件技术领域,具体涉及一种金属支撑型质子导电固体氧化物燃料半电池及其制备方法。所述半电池包括NiO和MgO经还原形成的具有梯度孔隙结构的金属支撑层、BaZr0.3Ce0.5Y0.2O3‑δ质子导体材料的过渡层、NiO‑BZCY金属陶瓷复合材料的阳极功能层和致密BZCY薄膜的电解质层。通过NiO‑MgO复合支撑体设计和梯度过渡层结构,在400‑650℃实现0.85W/cm2的高功率密度和0.08Ω·cm2的低极化电阻,其“流延‑共烧‑可控还原”工艺解决了金属/陶瓷界面匹配难题,热循环寿命突破500次,实现20cm×20cm大尺寸电池的规模化制备。

一种具有纳米级双阻隔层的氧化铈基电解质及其制备方法

NºPublicación:  CN121583968A 27/02/2026
Solicitante: 
中国矿业大学(北京)山东科技大学
CN_121583968_PA

Resumen de: CN121583968A

本发明涉及一种具有纳米级双阻隔层的氧化铈基电解质及其制备方法,所述制备方法包括以下步骤:(S1)在固体氧化物电池的阳极支撑体上制备钆掺杂氧化铈电解质层;(S2)在钆掺杂氧化铈电解质层的表面,以锆‑钇合金为靶材,含氧气氛中磁控溅射沉积后800~1000℃退火,形成80~150nm厚的氧化钇稳定氧化锆阻隔层;(S3)在氧化钇稳定氧化锆阻隔层的表面,以铈‑钆合金为靶材,含氧气氛中磁控溅射沉积后600~900℃退火,形成50~100nm厚的钆掺杂氧化铈阻隔层,制得具有纳米级双阻隔层的氧化铈基电解质。本发明中的纳米级双阻隔层能有效抑制体相电解质的电子泄漏,同时确保了阴极/电解质界面的低电阻及界面稳定性。

铂纳米纤维、制备方法及其在燃料电池的膜电极中的应用

NºPublicación:  CN121571637A 27/02/2026
Solicitante: 
宁波中科科创新能源科技有限公司
CN_121571637_A

Resumen de: CN121571637A

本申请公开了一种铂纳米纤维、制备方法及其在燃料电池的膜电极中的应用,铂纳米纤维的制备方法包括:将含铂元素的前驱体与纳米尺度的牺牲模板混合均匀,得到混合粉体;将所述混合粉体在还原性气氛中于500~900℃进行热处理,得到预产物,其中,升温时间≤10s;将所述预产物采用无机酸的溶液进行处理并进行提纯,得到所述铂纳米纤维,其中,所述牺牲模板在热处理时无分解,且可溶于所述无机酸的溶液。本申请牺牲模板可以诱导铂原子自发的长程有序排列以得到高结晶度的纯铂纳米纤维催化剂,通过热处理时快速升温为形成连续的网络纤维结构奠定了基础,且不会形成碳残留,催化剂更稳定,本制备方法工艺简洁。

液氢能量管理系统及车辆

NºPublicación:  CN121583949A 27/02/2026
Solicitante: 
一汽解放汽车有限公司
CN_121583949_PA

Resumen de: CN121583949A

本发明涉及车辆技术领域,尤其涉及一种液氢能量管理系统及车辆。其中,液氢能量管理系统包括液氢罐、超导线圈系统、超导电机、缓冲罐、燃料电池、动力电池和集成控制器。液氢罐的液氢出口与超导线圈系统的第一冷却工质入口连通,超导线圈系统的第一冷却工质出口与缓冲罐的入口连通,缓冲罐的出口与燃料电池的氢气入口连通。集成控制器的高压电接口与超导线圈系统、电机、燃料电池及动力电池均电连接;集成控制器的低压控制接口与液氢罐、超导线圈系统、电机、缓冲罐、燃料电池及动力电池均信号连接。该液氢能量管理系统能够对液氢的汽化过程进行有效利用,提升能量利用率,提升车辆的续航里程。

考虑新能源消纳下深度调峰燃煤机组碳捕集的调度方法

NºPublicación:  CN121584745A 27/02/2026
Solicitante: 
湖北能源集团鄂州发电有限公司湖北能源集团股份有限公司
CN_121584745_PA

Resumen de: CN121584745A

本申请涉及一种考虑新能源消纳下深度调峰燃煤机组碳捕集的调度方法,包括:构建综合能源系统,包括:深度调峰燃煤机组,第一装置,常规燃煤机组,第二装置,风电机组,燃气锅炉和储热装置;第一装置、第二装置分别均包括碳捕集装置,甲烷反应器,电解槽,储氢装置和氢燃料电池;建立综合能源系统的运行模型、总运行成本模型和总负荷约束条件;获取总负荷预测数据;获取风电出力预测数据;以综合能源系统的总运行成本最小化为目标,对综合能源系统的运行模型,总运行成本模型以及总负荷约束条件,得到调度策略,可以确保新能源高效消纳的同时,实现电力系统安全性、低碳与低运行成本的协调统一。

一种固态燃料电池陶瓷离子膜生产用溶液除杂装置

NºPublicación:  CN223956583U 27/02/2026
Solicitante: 
山东金泰临能源科技有限公司
CN_223956583_U

Resumen de: CN223956583U

本实用新型涉及陶瓷离子膜生产技术领域,且公开了一种固态燃料电池陶瓷离子膜生产用溶液除杂装置,包括除杂结构,内滑管的底端安装有管底板,且进液管的底端安装在管底板的顶端,内滑管的内部设有活性炭,进液管的外表面开设有排孔A,管底板的底端开设有底出孔,底出孔和排孔A的内部皆安装有无纺布,将溶液从进液管内部灌入,利用活性炭对溶液中的有机污染物如溶剂残留、表面活性剂等进行吸附去除,经过初步过滤后的溶液通过底出孔排进竖运管的内部,溶液途经超滤膜,利用超滤膜对溶液中的颗粒物、悬浮物等固体杂质进行去除,经过再次过滤后的溶液通过排出孔排出。

一种防振动SOFC电堆结构

NºPublicación:  CN223956587U 27/02/2026
Solicitante: 
上海中弗新能源科技股份有限公司
CN_223956587_U

Resumen de: CN223956587U

本申请公开了一种防振动SOFC电堆结构,涉及SOFC电堆技术领域,其包括箱体,箱体的外侧设置有第一U型支撑架,所述第一U型支撑架的下侧设置有阻尼器,所述阻尼器的上侧设置有第二U型支撑架,所述第二U型支撑架的两个竖板相近的一侧表面均固定连接有两个对称的橡胶护板,所述第二U型支撑架的底部固定连接有支撑块,所述支撑块的内部转动连接有双向螺纹杆,所述双向螺纹杆的表面设置有夹板,所述双向螺纹杆的前端表面固定连接有扭动杆。本申请利用扭动杆来控制双向螺纹杆的转动,进一步的实现对箱体的夹紧,同时设置阻尼块对设备进行支撑,实现装置在面对振动情况的时候也可以做好缓冲,大大提高了装置的防振动性能。

假电池模块、燃料电池及用电设备

NºPublicación:  CN223956588U 27/02/2026
Solicitante: 
阳光氢能科技有限公司
CN_223956588_U

Resumen de: CN223956588U

本申请公开了一种假电池模块、燃料电池及用电设备,涉及电池技术领域,其中,假电池模块包括第一极板和第二极板,第一极板的一侧设有第一流道;第一极板与第二极板沿第一方向堆叠设置,且第一流道与第二极板共同形成第一密闭腔体,第一密闭腔体用以供第一气体通过。本申请提供的假电池模块可以减少工人将真膜电极当成假膜电极而出现严重的装配事故的风险。

一种具有齿形挡板结构的燃料电池膜片式加湿器

NºPublicación:  CN223956580U 27/02/2026
Solicitante: 
曼胡默尔滤清器(上海)有限公司
CN_223956580_U

Resumen de: CN223956580U

本实用新型提供一种具有齿形挡板结构的燃料电池膜片式加湿器,包括壳体、膜片堆及4个端盖。壳体两相对面设封闭板,其余四面安装端盖;膜片堆由交替排列的膜片构成,相邻膜片间形成流体流通间隙,堆叠方向垂直于封闭板。湿侧进口端盖内侧一体成型有齿形挡板,长度与端盖内侧宽度相同,宽度小于端盖至膜片堆的间距。本方案通过齿形挡板强制分散气流,提升气体分布均匀性,避免局部流量集中,提高加湿效率及燃料电池湿度环境均匀性,减少电极腐蚀和膜损伤;齿形挡板与端盖一体成型,生产成本降低;优化气流路径后,燃料电池性能更稳定,减少组件损耗,延长设备整体寿命。本加湿器兼具高效、结构紧凑及经济性优势,适用于燃料电池系统。

一种液流电池电堆

NºPublicación:  CN121583974A 27/02/2026
Solicitante: 
杭氧集团股份有限公司
CN_121583974_PA

Resumen de: CN121583974A

本申请公开了一种液流电池电堆,涉及液流电池技术领域,电堆包括两个及以上并行排列的子电堆和插入多个子电堆的液体接口的自分流导液管,自分流导液管包括多个同心布置的管道,最内层管道的内部空间以及相邻管道之间的环形空间,共同形成与子电堆数量一致且彼此独立的液体通道;最外层管道上沿轴向布置有多个侧向开口,侧向开口径向向外的一侧与其中一个子电堆的液体接口密封连通,侧向开口沿径向向内延伸,并与其中一个液体通道连通,侧向开口覆盖与之连通的子电堆中每个单电池的液体入口或出口。本申请可实现两个及以上单电堆的同时供液,且每个子电堆的电解液通道彼此独立、互不干扰,满足高功率应用场景。

一种柴油重整制氢耦合质子交换膜燃料电池的发电系统及方法

NºPublicación:  CN121583945A 27/02/2026
Solicitante: 
西安交通大学中国电子科技集团公司第十八研究所
CN_121583945_PA

Resumen de: CN121583945A

本发明提供一种柴油重整制氢耦合质子交换膜燃料电池的发电系统及方法,所述发电系统,包括:柴油重整反应器、钯膜反应器、水煤气反应器和PEMFC电堆;柴油重整反应器的出口与水煤气反应器的入口连接,水煤气反应器的出口与钯膜反应器的入口连接,钯膜反应器的氢气出口与PEMFC电堆的阳极入口连接。本发明利用柴油重整制氢,把“存氢”变成“存油”,现场制氢、即产即用,省掉了高压瓶、低温罐等昂贵储运环节,且安全性较好,彻底绕开了传统储氢在能耗、成本和基础设施上的三大痛点。

一种全钒液流电池电缆固定装置

NºPublicación:  CN121584446A 27/02/2026
Solicitante: 
河北建投中航塞罕绿能科技开发有限公司
CN_121584446_PA

Resumen de: CN121584446A

本发明公开了一种全钒液流电池电缆固定装置,包括水平设置的底板、两个固设在底板顶面两端的竖杆、多个沿底板长度方向设置的安装板、多组夹持机构、驱动机构,两个所述竖杆沿其高度方向设置,多个所述安装板分别固设在两个竖杆之间,且沿竖杆高度均匀间隔设置,多组所述夹持机构均匀间隔设置在多个安装板上,所述驱动机构为多组夹持机构提供动力。本发明用以解决更换电缆繁琐、影响工作效率的技术问题。

一种肉碱盐酸盐在锌溴液流电池电解液中的应用、锌溴液流电池电解液及电池

NºPublicación:  CN121583971A 27/02/2026
Solicitante: 
北京化工大学
CN_121583971_PA

Resumen de: CN121583971A

本发明属于锌溴液流电池技术领域,具体涉及一种肉碱盐酸盐在锌溴液流电池电解液中的应用、锌溴液流电池电解液及电池。本发明将具有高亲水性的肉碱盐酸盐作为溴络合剂应用于锌溴液流电池电解液中,形成均相电解质,解决了传统溴络合剂容易产生相分离的问题;本发明将肉碱盐酸盐应用于锌溴液流电池电解液中,能够抑制溴的交叉扩散,有效提升电池的循环稳定性。

一种单电池定位结构及其压合治具和方法

NºPublicación:  CN121583942A 27/02/2026
Solicitante: 
玉柴芯蓝(江苏)氢能源科技有限公司
CN_121583942_PA

Resumen de: CN121583942A

本发明涉及燃料电池技术领域,具体为一种单电池定位结构及其压合治具和方法,阳极板上两端开设有第一定位圆孔和第一半圆腰孔;膜电极上两端开设有与第一定位圆孔和第一半圆腰孔对应的第二定位圆孔和第二半圆腰孔,第二定位圆孔和第二半圆腰孔的尺寸分别与第一定位圆孔和第一半圆腰孔的尺寸一致;阴极板上两端开设有尺寸较大的第三定位圆孔和第三半圆腰孔;当阳极板、膜电极和阴极板层叠时,阴极板的第三定位圆孔和第三半圆腰孔在径向上与阳极板的第一定位圆孔和第一半圆腰孔相互错开并保持物理隔离。该结构通过阳极板与膜电极、阴极板孔径差异实现阴阳极板在定位孔区域的径向物理隔离,从根本上杜绝了短路风险。

一种户用型液流电池储能系统

NºPublicación:  CN223956586U 27/02/2026
Solicitante: 
上海电气(安徽)储能科技有限公司上海电气灵储科技有限公司
CN_223956586_U

Resumen de: CN223956586U

本实用新型公开了一种户用型液流电池储能系统,包括储能系统箱体,所述储能系统箱体右端上部固定安装有电气控制柜,所述储能系统箱体前端铰接安装有箱门;所述储能系统箱体下内壁上分别固定安装有正极储液罐和负极储液罐,所述正极储液罐和负极储液罐上端前部共同固定安装有电堆和电解液循环系统。本实用新型通过正极储液罐与负极储液罐之间安装有管路,且管路上安装有水封加液球阀、水封排液球阀和水封平衡球阀,从而控制正负极储液罐的液位平衡,同时为整体管路系统起到一定压力下的密封作用,而且装置中电堆、储罐、电气控制柜等部件结构设计紧凑,内部空间利用率高,满足家庭或小型储能场景的使用需求,且便于生产模式标准化。

一种基于充放电在线监测自动控制的全钒液流电池容量恢复装置

NºPublicación:  CN223956581U 27/02/2026
Solicitante: 
西安交通大学
CN_223956581_U

Resumen de: CN223956581U

本实用新型公开了一种基于充放电在线监测自动控制的全钒液流电池容量恢复装置,包括还原剂储罐、搅拌储液罐和数据采集控制器;搅拌储液罐具有第一口和第二口;全钒液流电池的正极电解液储罐具有第一口和第二口;数据采集控制器采集并展示全钒液流电池的容量数据;还原剂储罐中设置精密计量泵,精密计量泵的出口与正极电解液储罐的第一口连接;正极电解液储罐的第二口与搅拌储液罐的第二口连接,且连接管路上设置第二泵和第二流量计;搅拌储液罐的第一口与全钒液流电池的负极电解液储罐连接,且连接管路上设置第一泵和第一流量计。本实用新型可精准、快速地恢复全钒液流电池容量,且无安全隐患,提高电池的使用寿命和整体效率。

锌空气电池过滤装置

NºPublicación:  CN223956582U 27/02/2026
Solicitante: 
南通佰然电池有限公司
CN_223956582_U

Resumen de: CN223956582U

本申请提供了锌空气电池过滤装置,包括外壳,外壳一侧表面开设有进气口,外壳一侧表面固定连接有位于进气口外的固定框,固定框内侧表面开设有矩形槽,固定框内插设有连接框,连接框内安装有多层复合滤材,多层复合滤材包括纤维滤网、活性炭纤维层与微孔陶瓷膜,连接框顶部固定连接有安装块,外壳一侧表面固定连接有关于固定框对称分布的导向杆,两个导向杆上共同滑动套设有U形连接板,U形连接板与外壳一侧表面之间固定连接有拉簧,安装块上开设有两个定位槽;通过纤维滤网、活性炭纤维层与微孔陶瓷膜的配合使用,能够确保对空气中的杂质具有较好的过滤效果,过滤后的空气通过进气口进入外壳内,确保后续锌空气电池的使用效果。

一种应用于两轮车的氢燃料电池动力系统

NºPublicación:  CN223956576U 27/02/2026
Solicitante: 
佛山市攀业氢能源科技有限公司
CN_223956576_U

Resumen de: CN223956576U

本实用新型公开了一种应用于两轮车的氢燃料电池动力系统,包括座舱、氢动力包、固态储氢器和座舱排氢排水管,座舱内的底部设置有排氢排水对插母端,氢动力包包括排氢排水对插子端和排氢排水软管,氢动力包内设置有放置空腔;氢动力包可拆卸地安装于座舱内,固态储氢器可拆卸地安装于放置空腔内,排氢排水对插子端套设于排氢排水软管,且与排氢排水对插母端相配合,座舱排氢排水管连通于排氢排水对插母端。本方案解决了现有两轮车氢燃料电池动力系统中,在将氢动力包安装到座舱内部时,座舱底部会压到排氢排水软管,因此工作人员在安装氢动力包前,须先精确地将排氢排水软管与座舱排氢排水管连接好,这一过程操作复杂且增加了安装时间的问题。

一种阴极闭式空冷型双堆阴极并联协同负载分配控制方法

NºPublicación:  CN121583960A 27/02/2026
Solicitante: 
苏州溯驭技术有限公司
CN_121583960_PA

Resumen de: CN121583960A

本发明提供一种阴极闭式空冷型双堆阴极并联协同负载分配控制方法,可实现阴极并联结构的双电堆间智能、动态的负载分配,确保系统高效、稳定、可靠运行,并有效延长系统整体寿命;包括:S1、构建双堆燃料电池系统,双堆燃料电池系统包括并联的第一电堆和第二电堆,第一电堆和第二电堆分别通过相应的DC/DC转换器接于锂电池,负载与锂电池相连接;S2、基于锂电池充放电功率与容量SOC变化趋势,通过能量管理策略,确定单电堆输出请求功率P_req;S3、根据单电堆输出请求功率P_req确定电堆输出的期望总功率P_total,则基于期望总功率P_total对第一电堆和第二电堆进行同步或异步的切换启动,以优化第一电堆和第二电堆之间的输出功率分配,从而实现各电堆的功率稳定输出。

新能源汽车内燃机-燃料电池余热回收系统及控制方法

NºPublicación:  CN121576158A 27/02/2026
Solicitante: 
吉林大学
CN_121576158_PA

Resumen de: CN121576158A

本发明公开了一种新能源汽车内燃机‑燃料电池余热回收系统及控制方法,属于新能源车辆动力系统余热回收技术领域。该系统包括高温级与低温级有机朗肯循环子系统、热泵子系统、燃料电池冷却子系统等。高温级循环回收内燃机高品位排气余热,低温级循环回收内燃机中低品位排气余热、缸套水余热及燃料电池冷却液余热。热泵子系统兼具为燃料电池冷启动加热和提升其低温余热品位的双重功能。控制方法根据车辆需求功率与燃料电池状态,智能切换纯内燃机、混合驱动及纯燃料电池三种余热回收模式,并协调各子系统工作。本发明实现了对混合动力汽车多品位余热的高效梯级回收与利用,显著提升了整车能量综合利用效率。

燃料电池系统温度控制方法、装置、系统及设备

NºPublicación:  CN121583962A 27/02/2026
Solicitante: 
东风汽车集团股份有限公司
CN_121583962_PA

Resumen de: CN121583962A

本申请涉及一种燃料电池系统温度控制方法、装置、系统及设备。所述燃料电池系统温度控制方法包括:基于风扇出口水温温差△Tfan与风扇升降档温度阈值的关系对风扇进行升降档处理,并计算风扇实际档位,且当电堆目标电流改变时,基于计算出的风扇修正档位N0_cor计算风扇实际档位;基于计算出的风扇实际档位对风扇进行控制。本申请对于风扇控制采用档位校正算法,极大提升了风扇控制响应速率以及控制精度,保证了燃料电池系统温度控制的精度和响应速率,解决了相关技术中风扇档位控制算法简单,控制精度差的技术问题。

一种基于数据特征的燃料电池水淹故障诊断方法

NºPublicación:  CN121583964A 27/02/2026
Solicitante: 
电子科技大学
CN_121583964_PA

Resumen de: CN121583964A

一种基于数据特征的燃料电池水淹故障诊断方法,属于燃料电池运行数据智能处理与健康诊断技术领域。本发明以事件化特征、阈值与尺度化为核心,水淹评分由主导过冲、恢复时长、过冲时长、稳态偏差构成,由此分别形成指标主导型特征:主导过冲与稳态偏差主导指向开机水淹;恢复时长与过冲时长主导指向运行水淹。在不新增硬件的前提下,围绕启动环节直接使用电流与节点电压常规数据,利用主导过冲、恢复时长、过冲时长等几何量与稳态偏差的复合判据,并结合分位阈值与灰区策略抑制噪声与边界不确定性,可稳定适配不同车辆的启动流程并对“开机水淹”保持高灵敏度。

一种具备供冷、供热、充电及加氢功能的液氢储氢撬装站

NºPublicación:  CN223953825U 27/02/2026
Solicitante: 
烟台东德氢能技术有限公司
CN_223953825_U

Resumen de: CN223953825U

本实用新型涉及液氢储氢技术领域,尤其涉及一种具备供冷、供热、充电及加氢功能的液氢储氢撬装站。包括液氢储罐,液氢增压泵的出气口通过管路与汽化器的进气口相连接,汽化器的出气口与高压缓冲罐相连接,高压缓冲罐再通过管路连接加氢机;液氢储罐的底部另一支路通过管路与换热供冷组件的进口相连接,换热供冷组件的出口通过管路与氢气增压泵的进气口相连接,氢气增压泵的进气口同时与液氢储罐的顶部相连接,缓冲罐再通过管路连接氢燃料电池,氢燃料电池连接充电桩,氢燃料电池产生的热源与供暖组件相连接。集成了供冷、供热、充电及加氢等多种功能,充分利用加氢撬装站的能源及空间,对液氢储罐顶部的氢气闪蒸气也进行了充分利用。

水分离单元、燃料气体供给系统以及燃料电池系统

NºPublicación:  CN223956579U 27/02/2026
Solicitante: 
罗伯特·博世有限公司
CN_223956579_U

Resumen de: CN223956579U

本实用新型涉及用于燃料电池系统的水分离单元、用于燃料电池系统的燃料气体供给系统以及燃料电池系统,水分离单元包括:第一水分离部件,其配置为接收来自燃料电池系统的燃料电池堆叠的阳极侧的输出端的再循环流,且引起再循环流以第一直径绕第一轴线发生螺旋运动,以借助于再循环流在螺旋运动中的离心力从再循环流中移除第一部分产物水;和第二水分离部件,其连通至第一水分离部件且包括垂直于第一轴线延伸的一个或多个挡板,且配置为接收来自第一水分离部件的、被移除第一部分产物水的再循环流,以借助于所述一个或多个挡板的阻挡作用从被移除第一部分产物水的再循环流中移除第二部分产物水。本实用新型可以从再循环流中移除更多的产物水。

Ansteuern eines Kompressors eines Brennstoffzellensystems sowie Fahrzeug

NºPublicación:  DE102024123758A1 26/02/2026
Solicitante: 
BAYERISCHE MOTOREN WERKE AG [DE]
Bayerische Motoren Werke Aktiengesellschaft

Resumen de: DE102024123758A1

Die Erfindung betritt ein Verfahren zum Ansteuern, insbesondere Einregeln, eines Kompressors (K) eines Brennstoffzellensystems (BZS), der sowohl mittels einer Vorgabe eines Drehzahlparameters (ω̇) als auch über eine Vorgabe eines Drehmomentparameters (iq) ansteuerbar, insbesondere einregelbar, ist, wobei bei dem Verfahren (a) bei Eintritt eines Lastabwurfs der Drehmomentparameter (iq) auf ein Soll-Drehmoment von null eingestellt wird und (b) sobald ein Drehzahlparameter (ω) auf einen vorgegebenen Schwellwert (ωthr) abgesunken ist, der Kompressor (K) über die Vorgabe des Drehmomentparameters (iq) geregelt wird. Die Erfindung betritt auch ein Fahrzeug (FCEV) mit einem Brennstoffzellensystem (BZS), wobei das Fahrzeug (FCEV) dazu eingerichtet ist, das Verfahren ablaufen zu lassen.

Bipolarplatte und elektrochemische Einheit

NºPublicación:  DE102024124361A1 26/02/2026
Solicitante: 
EKPO FUEL CELL TECH GMBH [DE]
EKPO Fuel Cell Technologies GmbH

Resumen de: DE102024124361A1

Um eine Bipolarplatte (100) für eine elektrochemische Einheit bereitzustellen, durch die ein optimiertes Zu- und Abführen eines fluiden Mediums zu und von einer Membran-Elektroden-Einheit erreicht ist, wird vorgeschlagen, dass diese wenigstens einen Plattenkörper (102) umfasst, an dem eine Vielzahl Strömungskanäle vorgesehen sind, die wenigstens ein Strömungsfeld (104) für ein fluides Medium bilden, wenigstens eine Medienzuführung (106) zum Zuführen und/oder wenigstens eine Medienabführung (108) zum Abführen des fluiden Mediums ausgebildet ist, und wenigstens ein Dichtsteg (110) vorgesehen ist, der das Strömungsfeld (104), die wenigstens eine Medienzuführung (106) und/oder die wenigstens eine Medienabführung (108) zumindest abschnittsweise begrenzt und der eine erste Stegseitenwand (118) und eine zweite Stegseitenwand (120) aufweist, wobei wenigstens eine der Stegseitenwände (118, 120) bezüglich einer Haupterstreckungsebene (122) des Plattenkörpers (102) zumindest abschnittsweise verschiedene Neigungswinkel (N) aufweist und/oder die Stegseitenwände (118, 120) zumindest abschnittsweise voneinander abweichende Neigungswinkel (N) aufweisen.

Brennstoffzellenvorrichtung

NºPublicación:  DE102024123738A1 26/02/2026
Solicitante: 
MAHLE INT GMBH [DE]
MAHLE International GmbH

Resumen de: DE102024123738A1

Die vorliegende Erfindung betrifft eine Brennstoffzellenvorrichtung (1) mit einem Stapel (2) aus mehreren aufeinandergestapelten Brennstoffzellen (3) zum Erzeugen elektrischer Energie, die jeweils eine Anodenseite und eine davon durch einen Elektrolyten abgetrennte Kathodenseite aufweisen, mit einem von einem Kathodenzuluftstrom (6) aus Kathodenzuluft durchströmbaren Einlasskanal (7), der mit den Kathodenseiten fluidisch verbunden und dadurch der Kathodenzuluftstrom (6) zu den Kathodenseiten hinführbar ist, mit einem von einem Kathodenabluftstrom (8) aus Kathodenabluft durchströmbaren Auslasskanal (9), der mit den Kathodenseiten fluidisch verbunden und dadurch der Kathodenabluftstrom (8) von den Kathodenseiten wegführbar ist, mit einer in die Brennstoffzellenvorrichtung (1) integrierten Absperreinrichtung (10) zum fluiddichten Absperren des Einlasskanals (7) und des Auslasskanals (9). Wesentlich ist, dass der Einlasskanal (7) und der Auslasskanal (9) durch eine lineare und/oder rotatorische Stellbewegung (11a, 11b) der Absperreinrichtung (10) fluiddicht absperrbar sind. Die Erfindung betrifft ferner eine Endplattenbaugruppe für eine Brennstoffzellenvorrichtung (1).

Verfahren zum Betreiben eines Brennstoffzellensystems, Steuergerät

NºPublicación:  DE102024207949A1 26/02/2026
Solicitante: 
BOSCH GMBH ROBERT [DE]
Robert Bosch Gesellschaft mit beschr\u00E4nkter Haftung

Resumen de: DE102024207949A1

Die Erfindung betrifft ein Verfahren zum Betreiben eines Brennstoffzellensystems (1), bei dem mindestens einer Brennstoffzelle (101) über eine Brennstoffleitung (20) Wasserstoff aus einem Tank (21) sowie rezirkulierter Wasserstoff aus einem Rezirkulationskreis (50) als Anodengas zugeführt wird, wobei die Strömung im Rezikulationskreis (50) eine passive Rezirkulation ist, welche durch eine Strahlpumpe (52) in der Brennstoffleitung (20) bewirkt wird. Die minimale Brennstoffzellenleistung wird abhängig von einer Temperatur des Wasserstoffes angepasst.Die Erfindung betrifft darüber hinaus ein Steuergerät (27) zur Ausführung des Verfahrens bzw. einzelner Verfahrensschritte.

Filter, elektrochemische Zellenvorrichtung, Verfahren

NºPublicación:  DE102024208040A1 26/02/2026
Solicitante: 
BOSCH GMBH ROBERT [DE]
Robert Bosch Gesellschaft mit beschr\u00E4nkter Haftung

Resumen de: DE102024208040A1

Die Erfindung betrifft einen Filter (100) zur Reinigung eines Fluids, insbesondere für die Verwendung in elektrochemischen Zellenvorrichtungen (10), bevorzugt Brennstoffzellenvorrichtungen (10), wobei der Filter (100) eine erste Zone (118) und eine zweite Zone (120) aufweist, wobei die zweite Zone (120) in einer Strömungsrichtung des Fluids nach der ersten Zone (118) angeordnet ist, wobei in der zweiten Zone (120) Chromschutzmaterial (110) angeordnet ist, welches zur Bindung von Chrom vorgesehen ist.Es wird vorgeschlagen, dass in der ersten Zone (118) ein Schwefelschutzmaterial (108) angeordnet ist, welches zur Bindung von Schwefel vorgesehen ist.

Steuerung und Verfahren zum Überwachen des Öffnens eines mechanischen Druckentlastungsventils (PRV)

NºPublicación:  DE102025132513A1 26/02/2026
Solicitante: 
BOSCH LTD [IN]
BOSCH GMBH ROBERT [DE]
Bosch Limited,
Robert Bosch Gesellschaft mit beschr\u00E4nkter Haftung

Resumen de: DE102025132513A1

Das Wasserstoffversorgungssystem 100 umfasst mindestens einen Wasserstofftank 102, 104, der über den Druckregler 106 fluidisch mit einem Kraftstoffrail 114 verbunden ist. Das Kraftstoffrail 114 ist ferner mit mindestens einem Kraftstoffinjektor 116 zur Förderung von Wasserstoff verbunden. Die Steuerung 110 ist dazu eingerichtet, unter Verwendung eines Drucksensors 112 den Druck des Wasserstoffs in dem Kraftstoffrail 114 zu überwachen, dadurch gekennzeichnet, dass die Steuerung 110 dazu eingerichtet ist, aus dem vom Drucksensor 112 gemessenen Druck einen Druckgradienten zu berechnen. Die Steuerung 110 vergleicht dann den Druckgradienten mit einem Schwellengradienten und erhält ein Ergebnis. Die Steuerung 110 detektiert dann auf der Basis des Ergebnisses einen Öffnungszustand des PRV 108. Die Förderung von Wasserstoff erfolgt in den Brennraum des Motors des Fahrzeugs mit Verbrennungsmotor oder des Fahrzeugs mit Brennstoffzelle. Der Status des PRV 108 und die Anzahl der Öffnungszustände während des Fahrzeugbetriebs werden überwacht.

VERFAHREN ZUM BETRIEB EINES BRENNSTOFFZELLENSYSTEMS UND BRENNSTOFFZELLENSYSTEM FÜR EIN KRAFTFAHRZEUG

NºPublicación:  DE102024208080A1 26/02/2026
Solicitante: 
STELLANTIS AUTO SAS [FR]
STELLANTIS AUTO SAS

Resumen de: DE102024208080A1

Die vorliegende Entwicklung betrifft ein Verfahren zum Betrieb eines Brennstoffzellensystems sowie ein dementsprechendes Brennstoffzellensystem umfassend:- eine Brennstoffzelle (20),- einen in die Brennstoffzelle (20) mündenden Versorgungsstrang (41) zur Zufuhr von Luft,- einen vom Versorgungsstrang (41) abzweigenden Bypass (45), welcher in einen Auslass (48) mündet, der zur Brennstoffzelle (20) gerichtet ist.

VERFAHREN ZUM BETREIBEN EINER MEHRZAHL VON BRENNSTOFFZELLEN UND STEUEREINHEIT DAFÜR

NºPublicación:  DE102024208084A1 26/02/2026
Solicitante: 
STELLANTIS AUTO SAS [FR]
STELLANTIS AUTO SAS

Resumen de: DE102024208084A1

Ein Verfahren zum Betreiben einer Mehrzahl von Brennstoffzellen umfasst die Schritte:- Zusammenschalten der Brennstoffzellen zu einer Menge von wenigstens zwei parallelen Stapeln (2a, 2b, ...), wobei jeder Stapel (2a, 2b, ...) wenigstens eine Brennstoffzelle umfasst;- Ermitteln (S1) eines mit der Alterung der Brennstoffzellen verknüpften Parameters für jeden der Stapel (2a, 2b, ...);- anhand der ermittelten Werte des Parameters, Entscheiden (S2, S4), ob einer der Stapel (2a, 2b, ...) signifikant stärker gealtert ist als ein anderer;zu einem Zeitpunkt (c), in dem die Stapel (2a, 2b, ...) der Menge außer Betrieb sind, Entscheiden (S4), ob zur Deckung des Leistungsbedarfs in einem angeforderten Betriebsmodus ein Betrieb der gesamten Menge oder nur einer Teilmenge der Stapel (2a, 2b, ...) erforderlich ist;- wenn entschieden worden ist, dass einer der Stapel signifikant stärker gealtert ist, und der Leistungsbedarf des angeforderten Betriebsmodus durch eine Teilmenge der Stapel deckbar ist, Auswählen (S6) der zur Deckung des Bedarfs in Betrieb zu nehmenden Teilmenge unter Ausschluss des einen Stapels.

SEPARATOR FÜR BRENNSTOFFZELLE

NºPublicación:  DE102025133423A1 26/02/2026
Solicitante: 
TOYOTA BOSHOKU KK [JP]
TOYOTA BOSHOKU KABUSHIKI KAISHA

Resumen de: DE102025133423A1

Ein Separator für eine Brennstoffzelle weist einen plattenförmigen Körper auf, der mehrere sich parallel erstreckende Rippen aufweist. Die Rippen stehen von dem Körper vor, sodass sie mit einer Gasdiffusionsschicht einer Membran-Elektroden-Gasdiffusionsschicht-Einheit in Kontakt kommen. Räume zwischen den Rippen und zwischen dem Körper und der Gasdiffusionsschicht bilden Durchgänge, durch die der Membran-Elektroden-Gasdiffusionsschicht-Einheit Gas zugeführt und von ihr abgegeben wird. Die Rippen weisen Unterteilungsabschnitte auf, welche die sich parallel erstreckenden Durchgänge unterteilen. Jeder Unterteilungsabschnitt unterteilt den entsprechenden Durchgang in einer Gasströmungsrichtung in Teilabschnitte auf stromaufwärtigen und stromabwärtigen Seiten. Die Positionen der Unterteilungsabschnitte in der Gasströmungsrichtung der Durchgänge sind so festgelegt, dass sie sich in einer Richtung, in der die Rippen parallel angeordnet sind, zwischen benachbarten der Durchgänge unterscheiden.

KOHLENSTOFFTRÄGER MIT MASSGESCHNEIDERTER POROSITÄT

NºPublicación:  DE102025133822A1 26/02/2026
Solicitante: 
BOSCH GMBH ROBERT [DE]
Robert Bosch Gesellschaft mit beschr\u00E4nkter Haftung
DE_102025133822_PA

Resumen de: DE102025133822A1

Ein Verfahren zur Herstellung eines mesoporösen Kohlenstoffträgers umfasst das Bereitstellen eines aktiven Siliciumdioxid-Templats aus einem selbstorganisierenden Blockcopolymer (BCP) in einer Lösung, wobei das BCP ein Diblockcopolymer aus Polydimethylsiloxan (PDMS) als Mehrheitsblock und ein Kohlenwasserstoffpolymer als Minderheitsblock in einem vorbestimmten Volumenanteil enthält, wobei das BCP in Form von Nanotröpfchen vorliegt, das Trocknen und Tempern der Nanotröpfchen, das Ausaschen des Kohlenwasserstoffpolymers des Minderheitsblocks, um das aktive Siliciumdioxid-Templat zu erhalten, das Aufbringen eines Kohlenstoffvorläufers auf das aktive Siliciumdioxid-Templat und das Entfernen des aktiven Siliciumdioxid-Templats, um einen mesoporösen Kohlenstoffträger als Umkehrbild des Templats zu erhalten.

Verfahren zum Betreiben eines Luftsystems, Luftsystem sowie Brennstoffzellensystem

NºPublicación:  DE102024207942A1 26/02/2026
Solicitante: 
BOSCH GMBH ROBERT [DE]
Robert Bosch Gesellschaft mit beschr\u00E4nkter Haftung

Resumen de: DE102024207942A1

Die Erfindung betrifft ein Verfahren zum Betreiben eines Luftsystems (1), bei dem einem Brennstoffzellenstapel (2) über einen Zuluftpfad (3) mit integriertem Luftverdichtersystem (4), das mindestens zwei Verdichtungsstufen (4.1, 4.2) umfasst, Luft zugeführt wird und die aus dem Brennstoffzellenstapel (2) austretende Luft über einen Abluftpfad (5) abgeführt und über einen den Abluftpfad (5) mit dem Zuluftpfad (3) verbindenden Rezirkulationspfad (6) zumindest teilweise rezirkuliert wird, um die mit Hilfe des Luftverdichtersystems (4) verdichtete Luft im Zuluftpfad (3) zu kühlen und/oder zu befeuchten. Erfindungsgemäß wird bei einem Kalt- oder Gefrierstart mit Hilfe des Luftverdichtersystems (4) verdichtete Luft aus dem Zuluftpfad (3) über den Rezirkulationspfad (5) in den Abluftpfad (5) eingeleitet, um mindestens eine hierin angeordnete Komponente, insbesondere eine Turbine (7), zu erwärmen.Die Erfindung betrifft ferner ein Luftsystem (1) sowie ein Brennstoffzellensystem mit einem erfindungsgemäßen Luftsystem (1).

Brennstoffzellensystem, Verfahren zum Betreiben eines Brennstoffzellensystems, Computerprogrammprodukt und Steuereinheit

NºPublicación:  DE102024208007A1 26/02/2026
Solicitante: 
BOSCH GMBH ROBERT [DE]
Robert Bosch Gesellschaft mit beschr\u00E4nkter Haftung

Resumen de: DE102024208007A1

Die Erfindung sieht ein Brennstoffzellensystem (100) vor, aufweisend mehrere Brennstoffzellenstacks (101), wobei die Brennstoffzellenstacks (101) mit verschiedenartigen Anodensystemen (20) ausgeführt sind, die im Hinblick auf eine Brennstoffrezirkulation unterschiedliche Rezirkulationsvermögen aufweisen.

Luftbefeuchter

NºPublicación:  DE102024123739A1 26/02/2026
Solicitante: 
MAHLE INT GMBH [DE]
MAHLE International GmbH
DE_102024123739_PA

Resumen de: DE102024123739A1

Die Erfindung betrifft einen Luftbefeuchter (1) zum Befeuchten eines relativ trockenen Zuluftstroms (2) mittels eines relativ feuchten Abluftstroms (3), mit einem Gehäuse (4), das vier Anschlüsse (5) aufweist, die einen Zulufteinlass (6) zum Zuführen des Zuluftstroms (2), einen Zuluftauslass (7) zum Abführen des Zuluftstroms (2), einen Ablufteinlass (8) zum Zuführen des Abluftstroms (3) und einen Abluftauslass (9) zum Abführen des Abluftstroms (3) bilden, mit einem Membranblock (10), der mehrere Membranen (11) aufweist, die für Luft undurchlässig und für Wasserdampf durchlässig konfiguriert sind und die im Membranblock (10) einen vom Zuluftstrom (2) durchströmbaren Zuluftpfad (12) und einen vom Abluftstrom (3) durchströmbaren Abluftpfad (13) ausbilden.Die Befeuchtungswirkung des Luftbefeuchters (1) lässt sich dadurch verbessern, dass der Luftbefeuchter (1) wenigstens eine Blende (14) aufweist, die im Gehäuse (4) außerhalb des Membranblocks (10) angeordnet ist, derart, dass die Blende (14) von einem durch den Zuluftstrom (2) oder den Abluftstrom (3) gebildeten Luftstrom (15) anströmbar ist, wobei die jeweilige Blende (14) so angeordnet und/oder konfiguriert ist, dass sie eine Homogenisierung der Durchströmung des Membranblocks (10) im Zuluftpfad (12) oder im Abluftpfad (13) bewirkt.

Verfahren zur Herstellung eines elektrischen Heizelements, elektrisches Heizelement sowie Komponente mit einem elektrischen Heizelement

NºPublicación:  DE102024207946A1 26/02/2026
Solicitante: 
BOSCH GMBH ROBERT [DE]
Robert Bosch Gesellschaft mit beschr\u00E4nkter Haftung

Resumen de: DE102024207946A1

Die Erfindung betrifft ein Verfahren zur Herstellung eines elektrischen Heizelements (1), bei dem- in einem Schritt a) ein Grundkörper (2) mit abschnittsweise im Grundkörper (2) aufgenommenen Kontaktelementen (3) ausgebildet wird,- in einem Schritt b) ein Heizdraht (4) um den Grundkörper (2) gewickelt wird,- in einem Schritt c) der Heizdraht (4) unmittelbar und/oder mittelbar über eine Zuleitung (5) mit den Kontaktelementen (3) oder mit mindestens zwei der Kontaktelemente (3) elektrisch verbunden wird,- in einem Schritt d) der Grundkörper (2) einschließlich zumindest des Heizdrahts (4) und der optional vorhanden Zuleitung (5) mit einem Kunststoff (6) umspritzt wird.Die Erfindung betrifft ferner ein elektrisches Heizelement (1) sowie eine Komponente mit einem erfindungsgemäßen elektrischen Heizelement (1).

Elektrochemische Zellenvorrichtung

NºPublicación:  DE102024207885A1 26/02/2026
Solicitante: 
BOSCH GMBH ROBERT [DE]
Robert Bosch Gesellschaft mit beschr\u00E4nkter Haftung

Resumen de: DE102024207885A1

Die Erfindung betrifft eine elektrochemische Zellenvorrichtungen (10) mit wenigstens einer elektrochemischen Zelleneinheit (12), mit einer Luftzuleitung (16) zur Versorgung der elektrochemischen Zelleneinheit (12) mit Luft (L), mit einer Abgasleitung (34), wobei an der Luftzuleitung (16) ein Lufttrockner (50) zum Trocknen der der elektrochemischen Zelleneinheit (12) zugeführten Luft (L) angeordnet ist. Es wird vorgeschlagen, dass an der Abgasleitung (30, 32, 34) ein Trocknungs-Wärmeübertrager (18) angeordnet ist, welcher zur Bereitstellung von Wärme für den Lufttrockner (50) vorgesehen ist.

Katalysator, elektrochemische Zellenvorrichtung, Verfahren

NºPublicación:  DE102024208041A1 26/02/2026
Solicitante: 
BOSCH GMBH ROBERT [DE]
Robert Bosch Gesellschaft mit beschr\u00E4nkter Haftung

Resumen de: DE102024208041A1

Die Erfindung betrifft einen Katalysator (100) zur katalytischen Umsetzung eines Fluids, insbesondere zur Oxidation von Methan und/oder Wasserstoff, insbesondere für die Verwendung in elektrochemischen Zellenvorrichtungen (10), bevorzugt Brennstoffzellenvorrichtungen (10), wobei der Katalysator (100) eine erste Zone (118) und eine zweite Zone (120) aufweist, wobei die zweite Zone (120) in einer Strömungsrichtung des Fluids nach der ersten Zone (118) angeordnet ist, wobei in der zweiten Zone (120) aktives Katalysematerial (108) angeordnet ist.Es wird vorgeschlagen, dass in der ersten Zone (118) ein Schutzmaterial (110) angeordnet ist, welches zur Bindung von Chrom vorgesehen ist.

BIPOLAR PLATE FOR AN ELECTROCHEMICAL DEVICE

NºPublicación:  WO2026041504A1 26/02/2026
Solicitante: 
EKPO FUEL CELL TECH GMBH [DE]
EKPO FUEL CELL TECHNOLOGIES GMBH
WO_2026041504_PA

Resumen de: WO2026041504A1

The invention relates to a bipolar plate for an electrochemical unit of an electrochemical device, wherein the bipolar plate comprises at least one reactant gas passage opening, an electrochemically active region, and at least one reactant gas distribution region, and the electrochemically active region and/or the reactant gas distribution region comprises at least one primary flow channel through which the reactant gas can flow and which is fluidically connected to at least one secondary flow channel of a first type and at least one secondary flow channel of a second type via a distribution portion comprising one or more transition channels. The aim of the invention is to provide such a bipolar plate in which the flow of reactant gas is distributed to the secondary flow channels as evenly as possible during the operation of the electrochemical device. This is achieved in that the at least one transition channel comprises at least one deflecting device for deflecting a part of the flow of the reactant gas towards a secondary flow channel of the first type associated with the same transition channel and/or the at least one transition channel comprises at least one deflecting device for deflecting a part of the flow of the reactant gas towards a secondary flow channel of the first type associated with another transition channel.

A MONOLITHIC SOLID OXIDE CELL UNIT COMPRISING A TRIPLY PERIODIC MINIMAL SURFACE (TPMS) STRUCTURE

NºPublicación:  WO2026041604A1 26/02/2026
Solicitante: 
DANMARKS TEKNISKE UNIV [DK]
DANMARKS TEKNISKE UNIVERSITET
WO_2026041604_PA

Resumen de: WO2026041604A1

Disclosed is a monolithic solid oxide cell unit (2) comprising an inner wall part (3) shaped as a Triply Periodic Minimal Surface, TPMS, in order to divide the space within the monolithic solid oxide cell unit into at least two disjoint sub-volumes providing an anodic sub-volume and a cathodic sub-volume, the inner wall part (3) being formed in a material composition that provides an electrolytic separation between the anodic sub-volume and the cathodic sub-volume. The monolithic solid oxide cell unit comprises an outer wall part (4) connected to and at least partly enclosing the inner wall part (3) with the anodic sub-volume side of the inner wall part and the outer wall-part forming an anodic gas channel having an inlet (16) and an outlet, and the cathodic sub-volume side of the inner wall part and the outer wall-part forming a cathodic gas channel having an inlet and an outlet (18).

HUMIDIFIER FOR A FUEL CELL

NºPublicación:  WO2026041543A1 26/02/2026
Solicitante: 
CARL FREUDENBERG KG [DE]
JOMA POLYTEC GMBH [DE]
CARL FREUDENBERG KG,
JOMA-POLYTEC GMBH
WO_2026041543_PA

Resumen de: WO2026041543A1

The invention relates to a humidifier (1) for a fuel cell, comprising a housing (3) with a first inlet opening (4), a second inlet opening (5), a first outlet opening (6) and a second outlet opening (7), wherein a channel (8) is assigned to the second inlet opening (5), wherein the channel (8) is tubular and perforated along the circumferential wall (2), wherein a membrane element (9) comprising hollow fibres is positioned concentrically around the channel (8) between the channel (8) and the second outlet opening (7), wherein the membrane elements (9) are designed in such a way that fuel cell feed air to be humidified can flow through the inside of the hollow fibres and that humidifier air can flow around the outside of the hollow fibres, wherein the channel (8) is flow-conductingly connected to a third outlet opening (10), wherein the humidifier is designed in such a way that fuel cell feed air to be humidified can flow into the humidifier (1) via the first inlet opening (4), flow through the inside of the hollow fibres of the membrane element (9) and flow out via the first outlet opening (6), and that the humidifier air can flow into the end of the channel (8) via the second inlet opening (5), and that a first partial volume flow of the humidifier air can exit via the circumference radially out of the channel (8), flow around the outside of the hollow fibres of the membrane element (9) and flow out of the humidifier (1) via the second outlet opening (7), and that a second p

FUEL CELL SYSTEM, METHOD FOR OPERATING A FUEL CELL SYSTEM, COMPUTER PROGRAM PRODUCT, AND CONTROL UNIT

NºPublicación:  WO2026041448A1 26/02/2026
Solicitante: 
ROBERT BOSCH GMBH [DE]
ROBERT BOSCH GMBH
WO_2026041448_PA

Resumen de: WO2026041448A1

The invention relates to a fuel cell system (100) having a plurality of fuel cell stacks (101), wherein the fuel cell stacks (101) are designed with different types of anode systems (20) which have different recirculation capabilities with regard to fuel recirculation.

METHOD FOR INERTING A FUEL CELL SYSTEM

NºPublicación:  WO2026041368A1 26/02/2026
Solicitante: 
ROBERT BOSCH GMBH [DE]
ROBERT BOSCH GMBH
WO_2026041368_PA

Resumen de: WO2026041368A1

The invention relates to a method for removing fuel from a fuel cell (6), comprising: A) fluidically connecting an inert gas source (12) to the fuel cell (6); B) feeding an inert gas (13) from the inert gas source (12) into the fuel cell (6); and C) discharging a gas mixture (19) containing inert gas (13) and fuel gas (11) from the fuel cell (6). Steps B) and C) are carried out and/or repeated until the concentration of the fuel gas (11) in the fuel cell (6) falls below a specified fuel gas concentration limit value.

METHOD FOR OPERATING A FUEL CELL SYSTEM, CONTROL DEVICE

NºPublicación:  WO2026041367A1 26/02/2026
Solicitante: 
ROBERT BOSCH GMBH [DE]
ROBERT BOSCH GMBH
WO_2026041367_PA

Resumen de: WO2026041367A1

The invention relates to a method for operating a fuel cell system (1), in which at least one fuel cell (101) is supplied with hydrogen from a tank (21) and recirculated hydrogen from a recirculation circuit (50) via a fuel line (20) as an anode gas, wherein the flow in the recirculation circuit (50) is a passive recirculation which is effected by a jet pump (52) in the fuel line (20). The minimum fuel cell power is adapted depending on a temperature of the hydrogen. The invention also relates to a control device (27) for carrying out the method or individual method steps.

SYSTEMS AND METHODS FOR FUEL CELL CATHODE EXHAUST HUMIDITY CONTROL

NºPublicación:  WO2026043601A1 26/02/2026
Solicitante: 
CATERPILLAR INC [US]
CATERPILLAR INC
WO_2026043601_PA

Resumen de: WO2026043601A1

A first aspect provided herein relate to a method of controlling cathode exhaust humidity. The method can include receiving, by a cathode controller, a signal indicating a sensed humidity of a cathode exhaust from a fuel cell of a machine. The method can include determining, by the cathode controller, that the sensed humidity is outside of a predetermined range. The method can include adjusting, by the cathode controller, one or more control parameters, to cause the fuel cell of the machine to produce cathode exhaust having a humidity within the predetermined range.

ELECTROLYTE TANK OF A REDOX FLOW BATTERY HAVING A PIPE ASSEMBLY

NºPublicación:  WO2026041608A1 26/02/2026
Solicitante: 
CELLCUBE ENERGY STORAGE GMBH [AT]
CELLCUBE ENERGY STORAGE GMBH
WO_2026041608_PA

Resumen de: WO2026041608A1

In order to detect leakages of an electrolyte in a redox flow battery at an early stage and also without a corresponding leakage sensor system and in order to interrupt a siphon effect which is produced, it is proposed that a pipe assembly (50) is arranged in the electrolyte tank (13a, 13b), which pipe assembly comprises at least two pipes (51, 52, 61, 62) of different lengths, wherein each of the at least two pipes (51, 52, 61, 62) has a first axial end (51-1, 52-1, 61-1, 62-1) and a second axial end (51-2, 52-2, 61-2, 62-2), which are connected to one another in each case by a flow volume (53, 54, 63, 64), wherein the first axial ends (51-1, 52-1, 61-1, 62-1) are open and end in the electrolyte tank (13a, 13b) at different depths (T1, T2, T3, T4), wherein the second ends (51-2, 52-2, 61-2, 62-2), opposite the first axial ends (51-1, 52-1, 61-1, 62-1), of the at least two pipes (51, 52, 61, 62) open into a mixing volume (56) in a connection pipe (55), wherein the flow volumes (53, 54, 63, 64) of the at least two pipes (51, 52, 61, 62) are connected to one another via the mixing volume (56) and wherein the mixing volume (56) is located above the fill level (LVa, LVb) of the electrolyte (15a, 15b) when the electrolyte tank (13a, 13b) is used.

FLOW FRAME UNIT FOR AN ELECTROCHEMICAL CELL OF A REDOX FLOW BATTERY, AND CELL STACK

NºPublicación:  WO2026041340A1 26/02/2026
Solicitante: 
J SCHMALZ GMBH [DE]
J.SCHMALZ GMBH
WO_2026041340_PA

Resumen de: WO2026041340A1

The invention relates to a flow frame unit (12) for a redox flow battery and to a cell stack (10) comprising at least two flow frame units (12).

FILTER FOR CLEANING A FLUID, ELECTROCHEMICAL CELL DEVICE, METHOD FOR PRODUCING THE FILTER

NºPublicación:  WO2026041320A1 26/02/2026
Solicitante: 
ROBERT BOSCH GMBH [DE]
ROBERT BOSCH GMBH
WO_2026041320_PA

Resumen de: WO2026041320A1

The invention relates to a filter (100) for cleaning a fluid, in particular for use in electrochemical cell devices (10), preferably fuel cell devices (10), wherein the filter (100) has a first zone (118) and a second zone (120), wherein the second zone (120) is downstream of the first zone (118) in a flow direction of the fluid, wherein chromium-protection material (110), which is provided for binding chromium, is located in the second zone (120). According to the invention, a sulfur-protection material (108), which is provided for binding sulfur, is located in the first zone (118).

AROMATIC COMPOUNDS IN LOW CONDUCTIVE HEAT-TRANSFER FLUIDS

NºPublicación:  WO2026041748A1 26/02/2026
Solicitante: 
ARTECO N V [BE]
ARTECO N.V
WO_2026041748_A1

Resumen de: WO2026041748A1

The present invention relates to heat-transfer fluids comprising azole-type corrosion inhibitors alongside specific aromatic compounds according to formula (I) and having a pKa of less than 9.0 which act as protecting agents when the heat-transfer fluid is placed in contact with ion-exchange resins, thereby preventing the uptake of desired additives like corrosion inhibitors. The invention further relates to associated methods, compositions and uses.

CONTROL OF A COMPRESSOR OF A FUEL CELL SYSTEM, AND VEHICLE

NºPublicación:  WO2026041518A1 26/02/2026
Solicitante: 
BAYERISCHE MOTOREN WERKE AG [DE]
BAYERISCHE MOTOREN WERKE AKTIENGESELLSCHAFT
WO_2026041518_PA

Resumen de: WO2026041518A1

The invention relates to a method for controlling, in particular adjusting, a compressor (K) of a fuel cell system (BZS), which compressor can be controlled, in particular adjusted, both by specifying a speed parameter (ω) and by specifying a torque parameter (iq), wherein, in the method, (a) when a load shedding occurs, the torque parameter (iq) is set to a target torque of zero, and (b) as soon as a speed parameter (ω) has fallen to a specified threshold value (ωthr), the compressor (K) is regulated via the specification of the torque parameter (iq). The invention also relates to a vehicle (FCEV) comprising a fuel cell system (BZS), wherein the vehicle (FCEV) is designed to carry out the method.

Energiewandler und Luftsystem für einen Energiewandler

NºPublicación:  DE102024207945A1 26/02/2026
Solicitante: 
BOSCH GMBH ROBERT [DE]
Robert Bosch Gesellschaft mit beschr\u00E4nkter Haftung

Resumen de: DE102024207945A1

Die vorgestellte Erfindung betrifft ein Luftsystem (100) für einen Energiewandler (200), wobei das Luftsystem (100) umfasst:- eine Leitung (101) zum Einleiten von Luft in den Energiewandler (200),- ein Wassereinspritzsystem (103), das dazu konfiguriert ist, Wasser in die Leitung (101) einzuspritzen,- ein Gebläse (105) zum Einblasen von Luft in die Leitung (101) und- einen Tropfenabscheider (107) zum Abscheiden von Wassertropfen in der Leitung (101),wobei der Tropfenabscheider (107) in Strömungsrichtung hinter dem Gebläse (105) und hinter einer Dosierstelle des Wassereinspritzsystems (103) angeordnet ist,wobei der Tropfenabscheider (107) zwischen einer ersten Stellung und einer zweiten Stellung beweglich ist, undwobei ein durch den Tropfenabscheider (107) überlagerter Querschnitt der Leitung (101) in der ersten Stellung größer ist als in der zweiten Stellung.

FUEL CELL DEVICE

NºPublicación:  WO2026041315A1 26/02/2026
Solicitante: 
MAHLE INT GMBH [DE]
MAHLE INTERNATIONAL GMBH
WO_2026041315_PA

Resumen de: WO2026041315A1

The present invention relates to a fuel cell device (1) having: a stack (2) of a plurality of fuel cells (3) stacked one on top of the other for generating electrical energy, which each have an anode side and a cathode side separated therefrom by an electrolyte; an inlet channel (7) through which a cathode supply air flow (6) of cathode supply air can flow and which is fluidically connected to the cathode sides and thereby the cathode supply air flow (6) can be guided to the cathode sides; an outlet channel (9) through which a cathode exhaust air flow (8) of cathode exhaust air can flow and which is fluidically connected to the cathode sides and thereby the cathode exhaust air flow (8) can be guided away from the cathode sides; and a shut-off apparatus (10) integrated in the fuel cell device (1) for shutting off the inlet channel (7) and the outlet channel (9) in a fluid-tight manner. It is essential that the inlet channel (7) and the outlet channel (9) can be shut off in a fluid-tight manner by a linear and/or rotational actuating movement (11a, 11b) of the shut-off apparatus (10). The invention further relates to an end plate assembly for a fuel cell device (1).

STEUERUNGSVERFAHREN DES SELBSTAKTIVIERENS EINES BRENNSTOFFZELLENSYSTEMS NACH DEM HERUNTERFAHREN, STEUERGERÄT, COMPUTERPROGRAMMPRODUKT UND SPEICHERMEDIUM

NºPublicación:  DE102025130254A1 26/02/2026
Solicitante: 
BOSCH HYDROGEN POWERTRAIN SYSTEMS CHONGQING CO LTD [CN]
Bosch Hydrogen Powertrain Systems (Chongqing) Co., Ltd
DE_102025130254_PA

Resumen de: DE102025130254A1

Die vorliegende Anmeldung betrifft ein Steuerungsverfahren des Selbstaktivierens (wörtlich Aufwecken) eines Brennstoffzellensystems nach dem Herunterfahren, eine Steuereinheit, ein Computerprogrammprodukt und ein Speichermedium, wobei das Steuerungsverfahren zum Selbstaktivieren nach dem Herunterfahren des Brennstoffzellensystems Folgendes umfasst: Schritte zum Schätzen und Bestätigen der Umgebungstemperatur, wobei als Reaktion auf das Herunterfahren des Brennstoffzellensystems Ferndaten zum Betrieb des Brennstoffzellenfahrzeugs außerhalb des Brennstoffzellenfahrzeugs und lokale Daten zum Betrieb des Brennstoffzellenfahrzeugs vom Brennstoffzellenfahrzeug gewonnen werden und die Umgebungstemperatur des Brennstoffzellensystems basierend auf den Ferndaten und den lokalen Daten geschätzt und bestätigt wird; und ein Schritt zum Bestimmen des Systemaktivierungvorgangs, bei dem basierend auf der bestätigten Umgebungstemperatur in Kombination mit mit Daten zu Temperaturänderungen relevanter Komponenten des Brennstoffzellensystems das entsprechende Aktivierungszeitintervall und der Aktivierungsmodus festgelegt werden. Die vorliegende Anwendung kann das Risiko des Einfrierens des Brennstoffzellensystems wirksam beseitigen und die Anpassungsfähigkeit an die Umwelt, die Zuverlässigkeit und die Haltbarkeit des Brennstoffzellenfahrzeugs verbessern.

BRENNSTOFFZELLENGEHÄUSE, BRENNSTOFFZELLE UND VERFAHREN ZUM BELÜFTEN EINER BRENNSTOFFZELLE

NºPublicación:  DE102024208082A1 26/02/2026
Solicitante: 
STELLANTIS AUTO SAS [FR]
STELLANTIS AUTO SAS

Resumen de: DE102024208082A1

Die vorliegende Entwicklung betrifft eine Brennstoffzelle sowie ein Brennstoffzellengehäuse (40) für eine Brennstoffzelle (20), umfassend:- einen Gehäusekörper (41) mit einem Innenraum (45) zur Aufnahme eines Brennstoffzellenstapels (42),- einen Lufteinlass (44), welcher in den Innenraum (45) mündet und mittels welchem der im Innenraum (45) angeordnete Brennstoffzellenstapel (42) mit über den Lufteinlass (44) einströmender Luft (62) zumindest bereichsweise umströmbar ist, und- einen luftführenden Auslass (46), welcher aus dem Innenraum (45) herausführt und welcher unterhalb eines Niveaus des Lufteinlasses (44) angeordnet ist.

Brennstoffzellensystem; Verfahren zum Betreiben eines Brennstoffzellensystems

NºPublicación:  DE102024208094A1 26/02/2026
Solicitante: 
BOSCH GMBH ROBERT [DE]
Robert Bosch Gesellschaft mit beschr\u00E4nkter Haftung

Resumen de: DE102024208094A1

Brennstoffzellensystem (400) mit mindestens einem Brennstoffzellenstack (11), einem Anodensystem, einem Kathodensystem und einem ersten Kühlkreis (100), der den mindestens einen Brennstoffzellenstack (11) kühlt, wobei in den ersten Kühlkreis (100) ein zweiter Kühlkreis (200) über eine Zuleitung (18) und Ableitung (19) thermisch einkoppelbar ist.

Verfahren zum Betreiben eines Brennstoffzellen-Fahrzeugs, Steuereinheit

NºPublicación:  DE102024207944A1 26/02/2026
Solicitante: 
BOSCH GMBH ROBERT [DE]
Robert Bosch Gesellschaft mit beschr\u00E4nkter Haftung

Resumen de: DE102024207944A1

Die Erfindung betrifft ein Verfahren zum Betreiben eines Brennstoffzellen-Fahrzeugs, bei dem der Leistungsbedarf des Fahrzeugs mit Hilfe einer Steuereinheit auf ein Brennstoffzellensystem (FCS) als erste Leistungsquelle und eine Hochvolt (HV)-Batterie als zweite Leistungsquelle aufgeteilt wird. Erfindungsgemäß wird bei der Aufteilung des Leistungsbedarfs mit Hilfe des Steuergeräts zunächst ein FCS-Soll-Betriebszustand bestimmt, wobei ein Zustandsautomat mit zwei Zuständen, dem Zustand „An“ und dem Zustand „Aus“, eingesetzt wird, und für den Zustand „An“ wird eine FCS-Soll-Leistung über ein Kennfeld ermittelt.Darüber hinaus betrifft die Erfindung eine Steuereinheit zur Ausführung des Verfahrens oder von Schritten des Verfahrens.

Verfahren, Ofen, elektrochemische Zellenvorrichtung

NºPublicación:  DE102024207922A1 26/02/2026
Solicitante: 
BOSCH GMBH ROBERT [DE]
Robert Bosch Gesellschaft mit beschr\u00E4nkter Haftung
DE_102024207922_PA

Resumen de: DE102024207922A1

Die Erfindung betrifft ein Verfahren (200) zur thermischen Behandlung einer Komponente (50) für eine elektrochemische Zellenvorrichtung (10), wobei die Komponente (50) in einem Ofen (100) angeordnet wird (S1) und anschließend in einem thermischen Behandlungsschritt (S2) im Ofen (100) auf eine Temperatur von zwischen 500°C und 1000°C, bevorzugt zwischen 600°C und 900°C, besonders bevorzugt zwischen 700°C und 800°C erwärmt wird.

Separatorplatte und Bipolarplatte für ein elektrochemisches System

NºPublicación:  DE102025133043A1 26/02/2026
Solicitante: 
REINZ DICHTUNGS GMBH [DE]
REINZ-Dichtungs-GmbH
DE_202024104718_PA

Resumen de: DE102025133043A1

Die Erfindung betrifft eine Separatorplatte und eine Bipolarplatte, jeweils für ein elektrochemisches System. Das elektrochemische System kann insbesondere ein Brennstoffzellensystem, ein elektrochemischer Kompressor, ein Elektrolyseur oder eine Redox-Flow-Batterie sein. Ebenso offenbart wird ein elektrochemisches System mit einer Vielzahl derartiger Separatorplatten.

BRENNSTOFFZELLE

NºPublicación:  DE102025132456A1 26/02/2026
Solicitante: 
TOYOTA BOSHOKU KK [JP]
TOYOTA BOSHOKU KABUSHIKI KAISHA

Resumen de: DE102025132456A1

Eine Brennstoffzelle (11) weist einen Brennstoffzellenstapel (13) mit gestapelten plattenförmigen Einzelzellen (12) auf. Die Brennstoffzelle (11) weist zwei Endplatten (14) auf, die den Brennstoffzellenstapel (13) in einer Stapelrichtung (Z) der Einzelzellen (12) von gegenüberliegenden Seiten des Brennstoffzellenstapels (13) aus einklemmen. Die Brennstoffzelle (11) weist Fixiermittel (15) auf, die sich jeweils um eine jeweilige erste Achse (J1) drehen und die zwei Endplatten (14) aneinander fixieren. Die jeweilige erste Achse (J1) erstreckt sich in der Stapelrichtung (Z). Die Brennstoffzelle (11) weist einen Rotor (24) auf, der so konfiguriert ist, dass er sich um eine zweite Achse (J2) dreht, die sich in der Stapelrichtung (Z) erstreckt, und der in der Stapelrichtung (Z) auf einer Außenfläche von einer der zwei Endplatten (14) vorgesehen ist. Der eine Rotor (24) ist derart konfiguriert, dass eine Drehkraft, die erzeugt wird, wenn der eine Rotor (24) gedreht wird, zeitgleich als eine Drehkraft, die in einer Richtung wirkt, in der die Fixiermittel (15) angezogen werden, auf die Fixiermittel (15) übertragen wird.

GRAPHEN-BASIERTE PRÄKURSORSTRUKTUREN

NºPublicación:  DE102025133803A1 26/02/2026
Solicitante: 
BOSCH GMBH ROBERT [DE]
Robert Bosch Gesellschaft mit beschr\u00E4nkter Haftung
DE_102025133803_PA

Resumen de: DE102025133803A1

Ein Verfahren zum Verbessern der Katalysatorzugänglichkeit eines Kohlenstoffpräkursors umfasst ein Aussetzen einer Graphen-basierten mehrschichtigen Präkursorstruktur einer Vielzahl von Elektrokatalysatorclustern durch Anlegen einer Spannung, um die Cluster in Richtung der Graphen-basierten mehrschichtigen Präkursorstruktur zu beschleunigen, um sowohl mechanische Defekte in der Oberfläche der Graphen-basierten mehrschichtigen Präkursorstruktur als auch eine Population von abgeschiedenem Elektrokatalysator mit nahezu gleichmäßiger Größe in einer nahezu gleichmäßigen Tiefe in der Graphen-basierten mehrschichtigen Präkursorstruktur zu erzeugen.

Befestigungen von Gas- und Wasserablassventilen

NºPublicación:  DE102024208086A1 26/02/2026
Solicitante: 
BOSCH GMBH ROBERT [DE]
Robert Bosch Gesellschaft mit beschr\u00E4nkter Haftung

Resumen de: DE102024208086A1

Die Erfindung betrifft eine Vorrichtung (10) mit einem Funktionsbauteil (11) und mit einem Verbindungsadapter (12) zur Anbindung des Funktionsbauteils (11) an einen elektrochemischen Energiewandler (13), wobei der Verbindungsadapter (12) einen funktionsbauteilanliegenden Innenring (14) und einen konzentrisch zum Innenring (14) angeordneten Außenring (15) aufweist und, wobei das Funktionsbauteil (11) eine Außenmantelfäche (16) aufweist, wobei der Außenring eine Innenmantelfläche (17) aufweist, wobei die Innenmantelfläche (17) unter Bildung eines Zwischenraums (18) beabstandet zu der Außenmantelfäche (16) angeordnet ist, wobei der Innenring (14) zur Erzeugung der Klemmverbindung zwischen dem Funktionsbauteil (11) und dem Außenring (15) in den Zwischenraum (18) eingeklemmt ist.

Verfahren zum Betreiben eines Brennstoffzellensystems

NºPublicación:  DE102024207950A1 26/02/2026
Solicitante: 
BOSCH GMBH ROBERT [DE]
Robert Bosch Gesellschaft mit beschr\u00E4nkter Haftung

Resumen de: DE102024207950A1

Die vorgestellte Erfindung betrifft ein Verfahren (100) zum Betreiben eines Brennstoffzellensystems (200), wobei das Verfahren (100) umfasst:- Ermitteln (101) einer Abgaswasserstoffkonzentration im Abgastrakt (211) des Brennstoffzellensystems (200),- Berechnen (103) einer Anodenwasserstoffkonzentration im Anodensubsystem (203) des Brennstoffzellensystems (200) anhand der Abgaswasserstoffkonzentration und einer vorgegebenen Transferfunktion,- Einstellen (105) eines Spülventils (207) des Brennstoffzellensystems (200) anhand der berechneten Anodenwasserstoffkonzentration.

Verfahren zum Inertisieren eines Brennstoffzellensystems

NºPublicación:  DE102024208009A1 26/02/2026
Solicitante: 
BOSCH GMBH ROBERT [DE]
Robert Bosch Gesellschaft mit beschr\u00E4nkter Haftung

Resumen de: DE102024208009A1

Ein Verfahren zum Entfernen von Brennstoff aus einer Brennstoffzelle (6) umfasst: A) fluidisches Verbinden einer Inertgasquelle (12) mit der Brennstoffzelle (6); B) Zuführen eines Inertgases (13) aus der Inertgasquelle (12) in die Brennstoffzelle (6); und C) Abführen eines Gasgemisches (19), das Inertgas (13) und Brennstoffgas (11) enthält, aus der Brennstoffzelle (6). Dabei werden die Schritte B) und C) durchgeführt und/oder wiederholt werden, bis die Konzentration von des Brennstoffgases (11) in der Brennstoffzelle (6) einen vorgegebenen Brennstoffgaskonzentrationsgrenzwert unterschreitet.

Verfahren zum Betreiben einer Sensoranordnung, Recheneinheit

NºPublicación:  DE102024207947A1 26/02/2026
Solicitante: 
BOSCH GMBH ROBERT [DE]
Robert Bosch Gesellschaft mit beschr\u00E4nkter Haftung

Resumen de: DE102024207947A1

Die Erfindung betrifft ein Verfahren zum Betreiben einer Sensoranordnung zum Erfassen einer physikalischen Größe, beispielsweise der Temperatur oder des Drucks, eines Mediums oder mehrere Medien in einem System, das mit dem Medium oder den Medien beaufschlagbar ist, wobei die physikalische Größe an mindestens zwei unterschiedlichen Positionen (A, B, ...) im System mit Hilfe von jeweils mindestens zwei Sensoren (S1, S2, S3, S4, ...) erfasst wird. Erfindungsgemäß werden die Sensoren (S1, S2, S3, S4, ...) zur gruppenweisen Diagnose in mindestens zwei Gruppen (1, 2) unterteilt, von denen jede Gruppe (1, 2) mindestens zwei Sensoren (S1, S3, ... und S2, S4, ...) umfasst, die an unterschiedlichen Positionen (A, B, ...) angeordnet sind, wobei die Diagnose einer ersten Gruppe (1) von Sensoren (S1, S3, ...) die Freigabe durch eine weitere Gruppe (2) von Sensoren (S2, S4, ...) erfordert, mit deren Hilfe das Vorliegen vorab definierter Diagnosebedingungen geprüft wird.Die Erfindung betrifft ferner eine Recheneinheit zur Ausführung von Schritten des Verfahrens.

Thermalmanagementmodulkit zur Herstellung eines Thermalmanagementmoduls

NºPublicación:  DE102024208049A1 26/02/2026
Solicitante: 
BOSCH GMBH ROBERT [DE]
Robert Bosch Gesellschaft mit beschr\u00E4nkter Haftung

Resumen de: DE102024208049A1

Die Erfindung betrifft ein Thermalmanagementmodulkit (10) zur Herstellung eines Thermalmanagementmoduls (11) eines Fluidkreislaufes, insbesondere eines Kühlmittelkreislaufes, in einem Fahrzeug, wobei das Thermalmanagementmodulkit (10) zumindest eine erste Thermalmanagementunterbaugruppe (12) und zumindest eine zweite, separate Thermalmanagementmodulunterbaugruppe (14) aufweist, wobei die Thermalmanagementmodulunterbraugruppen (12, 14) standardisiert kombinierbar ausgebildet sind.

Nachbehandlungseinrichtung für Brennstoffzellen

NºPublicación:  DE102024123855A1 26/02/2026
Solicitante: 
WESTFALIA METAL HOSES GMBH [DE]
Westfalia Metal Hoses GmbH

Resumen de: DE102024123855A1

Die Erfindung betrifft eine Nachbehandlungseinrichtung (100) für wasserdampfhaltige Abgase, insbesondere für Abluft von Brennstoffzellen in Kraftfahrzeugen. Die Nachbehandlungseinrichtung enthält ein Mischelement (120), in welchem die Abgase mit Umgebungsluft gemischt werden.

Elektrochemische Vorrichtung, insbesondere Brennstoffzellenvorrichtung

NºPublicación:  DE102024208085A1 26/02/2026
Solicitante: 
BOSCH GMBH ROBERT [DE]
Robert Bosch Gesellschaft mit beschr\u00E4nkter Haftung

Resumen de: DE102024208085A1

Die Erfindung betrifft eine elektrochemische Vorrichtung (10), insbesondere Brennstoffzellenvorrichtung (14), sowie ein Verfahren zur Herstellung einer solchen elektrochemischen Vorrichtung (10), umfassend zumindest eine Medienführungseinheit (20), wobei die Medienführungseinheit (20) ein Trägerbauteil (22), insbesondere eine Platte (26), und zumindest geträgertes Bauteil (24), insbesondere ein Tiefziehteil (28), umfasst, wobei das zumindest eine geträgerte Bauteil (24) an das Trägerbauteil (22) angeschweißt ist. Es wird vorgeschlagen an dem Trägerbauteil (22) zumindest einen Steg (30) auszubilden, an welchen das zumindest eine geträgerte Bauteil (24) anzuschweißen ist.

ELECTROCHEMICAL COMPRESSION FOR HYDROGEN RECOVERY AND HIGH PLANT YIELD IN AMMONIA SYNTHESIS PROCESSES

NºPublicación:  US20260054217A1 26/02/2026
Solicitante: 
OHMIUM INT INC [US]
Ohmium International, Inc
US_20260054217_PA

Resumen de: US20260054217A1

Systems and methods for synthesizing ammonia include one or more electrochemical hydrogen pumps to recover excess hydrogen gas from the ammonia synthesis product stream. The systems and methods improve overall yield and efficiency of the ammonia production process by separating and purifying hydrogen gas that otherwise would be lost.

OPERATING METHOD FOR OPERATING A FUEL CELL SYSTEM

NºPublicación:  US20260058173A1 26/02/2026
Solicitante: 
ROBERT BOSCH GMBH [DE]
Robert Bosch GmbH
US_20260058173_PA

Resumen de: US20260058173A1

The invention relates to an operating method (100) for operating a fuel cell system (300) for providing electrical energy for a consumer. The operating method (100) comprises the steps of activating (101) a shut-down procedure of the fuel cell system (300) in response to the receipt of a shut-down command. The shut-down procedure comprises shutting down an air supply unit (305) for supplying air to a cathode sub-system (303) of the fuel cell system (300) in order to reduce oxygen introduced to the cathode sub-system (303) and a voltage provided by the fuel cell system (300), activating (103) a reactivation procedure of the fuel cell system (300) in response to a receipt of a start-up command, if the start-up command is received within a predefined time period after the shut-down command, wherein the reactivation procedure involves increasing the speed of the air supply unit (305) directly after receipt of the start-up command.

ELECTRODE BOARD FOR A BIPOLAR PLATE AND BIPOLAR PLATE FOR A FUEL CELL STACK, METHOD FOR MANUFACTURING A FUEL CELL STACK

NºPublicación:  US20260058171A1 26/02/2026
Solicitante: 
ROBERT BOSCH GMBH [DE]
Robert Bosch GmbH
US_20260058171_PA

Resumen de: US20260058171A1

The invention relates to an electrode board, i.e. a cathode board or an anode board, for a bipolar plate (100) of a fuel cell stack, in particular for a fuel cell vehicle, said electrode board comprising a board alignment device (110/120) for aligning this electrode board (101/102) with respect to a second electrode board (102/101) corresponding thereto using the board alignment device (120/110) of the second electrode board during an assembly of the two electrode boards (102/101) to form the bipolar plate (100), wherein the board alignment device (110/120) at least partially forms a section (110/120) of a bipolar plate positioning device (105; 110, 120) of the bipolar plate (100) for stacking the bipolar plate (100) to form a fuel cell stack (10).

CARBON-BASED CATALYSTS

NºPublicación:  US20260058168A1 26/02/2026
Solicitante: 
SCHLUMBERGER TECH CORPORATION [US]
Schlumberger Technology Corporation
US_20260058168_A1

Resumen de: US20260058168A1

A method for making a carbon-based catalyst involves synthesizing or obtaining particulate precursor material having heteroatoms dispersed in a structure formed by carbon atoms. An exfoliation process is performed on the particulate precursor material to delaminate layers of the particulate precursor material in the form of graphitic flakes or graphene-like flakes. In embodiments, the graphitic flakes or graphene-like flakes can be atomically thin sheets with interstitial and/or edge heteroatoms.

GRAPHENE-BASED PRECURSOR STRUCTURES

NºPublicación:  US20260058167A1 26/02/2026
Solicitante: 
BOSCH GMBH ROBERT [DE]
Robert Bosch Gmbh
US_20260058167_PA

Resumen de: US20260058167A1

A method of improving catalyst accessibility of a carbon precursor includes exposing a graphene-based multi-layer precursor structure to a plurality of electrocatalyst clusters by applying voltage to accelerate the clusters towards the graphene-based multi-layer precursor structure to generate both mechanical defects in the graphene-based multi-layer precursor structure's surface and a near-uniform size population of deposited electrocatalyst at a near-uniform depth in the graphene-based multi-layer precursor structure.

SEPARATOR FOR FUEL CELL

NºPublicación:  US20260058169A1 26/02/2026
Solicitante: 
TOYOTA BOSHOKU KK [JP]
TOYOTA BOSHOKU KABUSHIKI KAISHA
US_20260058169_PA

Resumen de: US20260058169A1

A separator for a fuel cell includes a plate-shaped body including multiple ribs extending in parallel. The ribs protrude from the body to come into contact with a gas diffusion layer of a membrane electrode gas diffusion layer assembly. Spaces between the ribs and between the body and the gas diffusion layer form passages through which gas is supplied to and discharged from the membrane electrode gas diffusion layer assembly. The ribs include dividing portions that divide the passages extending in parallel. Each dividing portion divides the corresponding passage into sections on upstream and downstream sides in a gas flow direction. The positions of the dividing portions in the gas flow direction of the passages are set to be different between adjacent ones of the passages in a direction in which the ribs are arranged in parallel.

ACTIVE STACK COMPRESSION CONTROL SYSTEM

NºPublicación:  US20260058182A1 26/02/2026
Solicitante: 
FUELCELL ENERGY INC [US]
FuelCell Energy, Inc
US_20260058182_PA

Resumen de: US20260058182A1

A fuel cell stack compression system includes a tie rod configured to extend along a length of a fuel cell stack to compress the fuel cell stack when the tie rod is subjected to a tensile force, a bellows coupled to and configured to provide the tensile force on the tie rod, a strain gauge configured to measure the strain on the tie rod or on a component coupling the tie rod to the bellows, and a controller. The controller is configured to receive strain gauge measurements from the strain gauge and control pressure in the bellows to adjust the tensile force on the tie rod.

STATIC REDOX BATTERY AND ENERGY STORAGE SYSTEM COMPRISING SAME

NºPublicación:  US20260058180A1 26/02/2026
Solicitante: 
XRB CO LTD [KR]
XRB Co., Ltd
US_20260058180_PA

Resumen de: US20260058180A1

A static redox battery includes: a membrane having an ion permeation property; a positive electrode electrolyte storage cell module positioned on one side of the membrane; a negative electrode electrolyte storage cell module positioned on the other side of the membrane; and a pair of bipolar plates positioned on outermost sides of the positive electrode electrolyte storage cell module and the negative electrode electrolyte storage cell module. Each of the positive electrode electrolyte storage cell module and the negative electrode electrolyte storage cell module includes a plurality of felt electrodes storing an electrolyte, and a plurality of perforated support plates positioned between the plurality of felt electrodes.

FUEL CELL

NºPublicación:  US20260058183A1 26/02/2026
Solicitante: 
TOYOTA BOSHOKU KK [JP]
TOYOTA BOSHOKU KABUSHIKI KAISHA
US_20260058183_PA

Resumen de: US20260058183A1

A fuel cell includes a fuel cell stack including stacked plate-shaped single cells. The fuel cell includes two end plates that sandwich the fuel cell stack from opposite sides of the fuel cell stack in a stacking direction of the single cells. The fuel cell includes fasteners each rotating about a respective first axis and fastening the two end plates to each other. The respective first axis extends in the stacking direction. The fuel cell includes one rotor configured to rotate about a second axis extending in the stacking direction and provided on an outer surface of one of the two end plates in the stacking direction. The one rotor is configured such that a rotational force generated when the one rotor is rotated is simultaneously transmitted to the fasteners as a rotational force acting in a direction of tightening the fasteners.

MEMBRANE-ELECTRODE ASSEMBLY AND METHOD FOR MANUFACTURING THE SAME

NºPublicación:  US20260058179A1 26/02/2026
Solicitante: 
HYUNDAI MOTOR COMPANY [KR]
KIA CORP [KR]
Hyundai Motor Company,
Kia Corporation
US_20260058179_PA

Resumen de: US20260058179A1

A membrane-electrode assembly and a method for manufacturing the same are provided. The membrane-electrode assembly includes a pattern layer formed between a separator and a subgasket through a UV curing process.

AUTOMATED STACK MANUFACTURING METHOD AND SYSTEM

NºPublicación:  US20260058181A1 26/02/2026
Solicitante: 
KOREA INSTITUTE OF ENERGY RES [KR]
KOREA INSTITUTE OF ENERGY RESEARCH
US_20260058181_PA

Resumen de: US20260058181A1

Proposed are an automated stack manufacturing method and system, according to which each plate forming a stack is automatically manufactured and held, and individual plates are sequentially placed on a moving part and stacked to be connected to manufacture the stack, thereby improving stack production efficiency.

BUFFER LAYER AND METHOD FOR MITIGATION OF PHOSPHATE POISONING IN HIGH-TEMPERATURE PROTON EXCHANGE MEMBRANE FUEL CELLS (HT-PEMFC)

NºPublicación:  US20260058178A1 26/02/2026
Solicitante: 
TOYOTA MOTOR ENGINEERING & MFG NORTH AMERICA INC [US]
TOYOTA JIDOSHA KK [JP]
Toyota Motor Engineering & Manufacturing North America, Inc,
Toyota Jidosha Kabushiki Kaisha
US_20260058178_PA

Resumen de: US20260058178A1

The present disclosure relates to high-temperature proton exchange membrane fuel cells (HT-PEMFC) having phosphoric acid as a proton conductor, and methods for mitigating phosphate poisoning of the catalyst in the fuel cell. The fuel cells and the method include a buffer layer between metal catalyst nanoparticles and at least one polymeric ionomer layer. The buffer layer includes a protic ionic liquid having a high melting point greater than 160° C., and the ratio of the protic ionic liquid to carbon (IL/C) is from about 0.1 to about 0.2.

FUEL CELL STACK

NºPublicación:  US20260058170A1 26/02/2026
Solicitante: 
TOYOTA JIDOSHA KK [JP]
TOYOTA JIDOSHA KABUSHIKI KAISHA
US_20260058170_PA

Resumen de: US20260058170A1

A fuel cell stack includes a plurality of fuel cells and an inter-cell sealing material disposed between the fuel cells. The fuel cells include a rib protruding in a direction of adjacent fuel cells. The rib is located outside the sealing range of the inter-sealing material. The rib has such a height that the compressibility of the inter-cell sealing material is 20% or more and 70% or less in the sealing range.

HUMIDIFIER

NºPublicación:  US20260058172A1 26/02/2026
Solicitante: 
MAHLE INT GMBH [DE]
MAHLE International GmbH
US_20260058172_PA

Resumen de: US20260058172A1

A humidifier for humidifying a dry supply air stream via a humid exhaust air stream may include a housing, a membrane block with a plurality of membranes, and at least one baffle. The housing may include a supply air inlet, a supply air outlet, an exhaust air inlet, and/or an exhaust air outlet. The membranes may be impermeable to air and permeable to water vapor. The membranes may form a supply air path through which the supply air stream is flowable and an exhaust air path through which the exhaust air stream is flowable. The baffle may be arranged in the housing such that an air stream formed by the supply air stream and/or the exhaust air stream contacts the baffle. The baffle may be structured and arranged to provide homogenization of streaming through the membrane block in the supply air path and/or in the exhaust air path.

SYSTEMS AND METHODS FOR FUEL CELL CATHODE EXHAUST HUMIDITY CONTROL

NºPublicación:  US20260058177A1 26/02/2026
Solicitante: 
CATERPILLAR INC [US]
Caterpillar Inc
US_20260058177_PA

Resumen de: US20260058177A1

A first aspect provided herein relate to a method of controlling cathode exhaust humidity. The method can include receiving, by a cathode controller, a signal indicating a sensed humidity of a cathode exhaust from a fuel cell of a machine. The method can include determining, by the cathode controller, that the sensed humidity is outside of a predetermined range. The method can include adjusting, by the cathode controller, one or more control parameters, to cause the fuel cell of the machine to produce cathode exhaust having a humidity within the predetermined range.

SEALING AIR AND PURGE SUPPLY IN A FUEL CELL SYSTEM VIA AN AIR RESERVOIR

NºPublicación:  US20260058174A1 26/02/2026
Solicitante: 
CELLCENTRIC GMBH & CO KG [DE]
CELLCENTRIC GMBH & CO. KG
US_20260058174_PA

Resumen de: US20260058174A1

Method for securing an in particular shut-down fuel cell system, comprising determining status data, wherein the status data describe an influencing factor for condensation of moisture in the fuel cell system; and providing sealing air in at least one part of the fuel cell system and/or purging the at least one part of the fuel cell system by means of a gas from a pressure vessel of the vehicle, based on the status data.

FUEL CELL GAS CORRECTION SYSTEM FOR BLENDED GAS FUELS AND DUAL FUEL OPERATION

NºPublicación:  US20260058176A1 26/02/2026
Solicitante: 
BLOOM ENERGY CORP [US]
Bloom Energy Corporation
US_20260058176_PA

Resumen de: US20260058176A1

A method of operating a fuel cell system includes providing a fuel to a fuel cell system, purifying the fuel to generate a purified fuel, detecting a fuel composition of purified fuel, determining a fuel mass flow rate of the purified fuel based on the detected fuel composition, and providing the purified fuel to a stack of fuel cells at the determined mass flow rate.

CARBON SUPPORT WITH TAILORED POROSITY

NºPublicación:  US20260054996A1 26/02/2026
Solicitante: 
ROBERT BOSCH GMBH [DE]
Robert Bosch Gmbh
US_20260054996_PA

Resumen de: US20260054996A1

A method of mesoporous carbon support production includes providing an active silica template from a self-assembling block copolymer (BCP) in a solution, the BCP including a diblock copolymer of polydimethylsiloxane (PDMS) as a majority block and a hydrocarbon polymer as a minority block in a predetermined volume fraction, the BCP being in a form of nanodroplets, drying and annealing the nanodroplets, ashing away the hydrocarbon polymer of the minority block to obtain the active silica template, applying a carbon precursor onto the active silica template, and removing the active silica template to obtain a mesoporous carbon support as a reverse image of the template.

FUEL REFILLING SYSTEM AND METHOD FOR EQUIPMENT POWERED BY FUEL

NºPublicación:  US20260054696A1 26/02/2026
Solicitante: 
CUMMINS INC [US]
CUMMINS INC
US_20260054696_PA

Resumen de: US20260054696A1

The present disclosure relates to systems and methods for optimizing refueling hydrogen in vehicles. Specifically, the present disclosure relates to identifying a refueling station, conducting a safety check on the vehicle based on a distance between the vehicle and the refueling station, switching a power source of the vehicle to only be a battery, swapping an empty or partially filled hydrogen fuel tank on the vehicle with a filled or partially filled hydrogen fuel tank at the refueling station, and switching the power source of the vehicle to include a hydrogen power source.

ENZYMATIC REACTION DEVICE AND ENZYMATIC REACTION METHOD

NºPublicación:  US20260056159A1 26/02/2026
Solicitante: 
PANASONIC INTELLECTUAL PROPERTY MAN CO LTD [JP]
Panasonic Intellectual Property Management Co., Ltd
US_20260056159_PA

Resumen de: US20260056159A1

An enzymatic reaction device includes first and second electrodes and a voltage applicator that applies a voltage to the first and second electrodes. The first and second electrodes each include at least one of an enzyme or a coenzyme that causes a reaction of a target molecule in a sample, and an electrode body including at least one of the enzyme or coenzyme immobilized on its surface. The voltage application by the voltage applicator is performed in such a manner that a first period during which a voltage is applied to the first electrode so that the first electrode functions as a working electrode that causes a reaction of the target molecule, and a second period during which a voltage is applied to the second electrode so that the second electrode functions as a working electrode that causes a reaction of the target molecule, are alternately repeated.

IMPROVED IONOMER BLENDS, HIGH-TEMPERATURE POLYMER ELECTROLYTE MEMBRANES AND ELECTRODE ASSEMBLIES

NºPublicación:  US20260055265A1 26/02/2026
Solicitante: 
THE PENN STATE RES FOUNDATION [US]
THE PENN STATE RESEARCH FOUNDATION
US_20260055265_PA

Resumen de: US20260055265A1

Disclosed herein are ionomer blends and high temperature polymer electrolyte membranes for use in electrochemical cells. The ionomer blends include a mixture of polyphosphonic acids and polysulfonic acids. The high temperature polymer electrolyte membranes include crosslinked polymeric networks.

AN ELECTROLYSER SYSTEM AND METHOD FOR OPERATING AN ELECTROLYSER SYSTEM

NºPublicación:  AU2024333388A1 26/02/2026
Solicitante: 
VOLT GROUP LTD
VOLT GROUP LIMITED
AU_2024333388_PA

Resumen de: AU2024333388A1

An electrolyser system (400) comprises at least one electrolyser (460) and has an operating energy requirement generated by an energy source (27). The energy source (27) includes waste heat generated by an industrial process whether involving combustion or an exothermic chemical reaction. The electrolyser system (400) further comprises a waste heat to power system (70) for recovering heat from the industrial process to produce electricity for supply to the at least one electrolyser (460); and a heat exchange system (407) for recovering heat from the industrial process and enabling transfer of said recovered heat to the at least one electrolyser (460) as thermal energy. The electrolyser system (400) has substantially higher energy efficiency and lower cost than an electrolyser system operated using an intermittent renewable energy source.

タンク構造、およびレドックスフロー電池システム

NºPublicación:  JP2026032449A 26/02/2026
Solicitante: 
住友電気工業株式会社
JP_2026032449_PA

Resumen de: JP2026032449A

【課題】タンク内の電解液の利用率が高いタンク構造を提供する。【解決手段】電解液が貯留されるタンクと、前記タンク内への前記電解液の導入口を有する第一配管と、前記タンク内からの前記電解液の排出口を有する第二配管と、前記タンク内における前記導入口と前記排出口との間であって前記排出口の近くに配置された遮蔽板と、前記電解液が流れる隙間部と、を備え、前記隙間部は、前記遮蔽板自体または前記遮蔽板の周囲における特定箇所に設けられており、前記特定箇所は、前記導入口から前記排出口に向かう第一方向から前記遮蔽板を見たときに前記排出口を挟む二箇所を含む、タンク構造。【選択図】図1

燃料電池システム

NºPublicación:  JP2026032486A 26/02/2026
Solicitante: 
株式会社アイシン
JP_2026032486_PA

Resumen de: JP2026032486A

【課題】構成部品の劣化や故障を防止しつつ、起動時間を短縮すると共に無駄な燃料消費が発生するのを抑制する。【解決手段】燃料電池システムは、複数の発電ユニット間で複数の燃料電池スタックが直列に接続され、システム起動が要求されると、各燃料電池スタックにそれぞれ燃料ガスと酸化剤ガスとを供給して燃焼部で燃焼させることにより各燃料電池スタックの暖機運転を開始し、各燃料電池スタックのそれぞれの暖機運転の進行状況を監視し、他の燃料電池スタックに比べて暖機の進行が遅れている対象の燃料電池スタックに対する燃料ガスの供給量を対象の燃料電池スタックを有する発電ユニットの構成部品の劣化または故障の防止のために課された制約の範囲で増量し、各燃料電池スタックの全てが発電可能状態に至ったときに、電流掃引を開始して各燃料電池スタックを同時に発電させる。【選択図】図5

FLUID FLOW SYSTEM AND METHOD FOR ELECTROCHEMICAL SYSTEMS

NºPublicación:  WO2026043417A1 26/02/2026
Solicitante: 
SPECTRONIK PTE LTD [SG]
SPECTRONIK PTE. LTD
WO_2026043417_PA

Resumen de: WO2026043417A1

The present disclosure generally relates to a fluid flow system (700) and method (1500) in an electrochemical system. The fluid flow system (700) comprises: a fluid flow field (330) in each electrochemical device; fluid ports (332,334) connected to the fluid flow fields (330); first and second fluid paths (732,734) formed by the fluid ports (332,334) and fluidly communicative with the fluid flow fields (330); and fluid control devices (712,714) connected to the fluid paths (732,734), the fluid control devices configured for supplying fluid inflow from a fluid source (104) to the fluid paths (732,734). The fluid control devices (712,714) are configured to selectably change fluid flow in the fluid paths (732,734) to enable each of the first and second fluid paths (732,734) to perform fluid inflow and/or fluid outflow during operation, such that fluid flows, through the fluid flow fields (330), between the first and second fluid paths (732,734).

SEPARATOR FOR OXIDATION-REDUCTION DEVICE AND METHOD FOR MANUFACTURING SEPARATOR FOR OXIDATION-REDUCTION DEVICE

NºPublicación:  WO2026042568A1 26/02/2026
Solicitante: 
NITTO DENKO CORP [JP]
\u65E5\u6771\u96FB\u5DE5\u682A\u5F0F\u4F1A\u793E
WO_2026042568_PA

Resumen de: WO2026042568A1

A separator 1 for an oxidation-reduction device is provided with: a metal base material 2; and an anticorrosion layer 3 that is disposed on one surface of the metal base material 2 in the thickness direction and contains titanium. The one surface of the metal base material in the thickness direction is a treated surface that is treated by an anode layer ion source method.

MANUFACTURING APPARATUS FOR MEMBRANE ELECTRODE ASSEMBLY AND MANUFACTURING METHOD FOR MEMBRANE ELECTRODE ASSEMBLY USING SAME

NºPublicación:  WO2026043236A1 26/02/2026
Solicitante: 
HANWHA SOLUTIONS CORP [KR]
\uD55C\uD654\uC194\uB8E8\uC158 \uC8FC\uC2DD\uD68C\uC0AC
WO_2026043236_PA

Resumen de: WO2026043236A1

The present invention provides a manufacturing apparatus for a membrane electrode assembly, the apparatus comprising: a transfer unit configured to laminate a release film having an electrode catalyst attached thereto with an electrolyte membrane to transfer the electrode catalyst onto the electrolyte membrane; and a peeling unit disposed downstream of the transfer unit and including a peeling guide configured to peel the release film from which the electrode catalyst is transferred, wherein the peeling guide is adjusted to a peeling angle of about 90 degrees or more in a direction opposite to the traveling direction of the release film, thereby peeling the release film.

ANION EXCHANGE POLYMER COMPRISING 4-X-QUINUCLIDINIUM STRUCTURE, METHOD FOR PREPARING SAME, AND ANION EXCHANGE MEMBRANE COMPRISING SAME

NºPublicación:  WO2026042947A1 26/02/2026
Solicitante: 
HD HYUNDAI OILBANK CO LTD [KR]
\uC5D0\uC774\uCE58\uB514\uD604\uB300\uC624\uC77C\uBC45\uD06C \uC8FC\uC2DD\uD68C\uC0AC
WO_2026042947_PA

Resumen de: WO2026042947A1

An anion exchange polymer according to a preferred embodiment of the present invention includes a 4-X-quinuclidinium structure in which carbon corresponding to position 4 of a quinuclidinium ring is connected to a polymer main chain (X), and due to the absence of β-hydrogen placed in an anti-periplanar conformation with a nitrogen atom in the quinuclidinium ring, a Hoffmann elimination reaction does not occur. Therefore, there is the effect of having a chemically stable structure in a basic driving environment.

SELF-WAKE-UP CONTROL METHOD, CONTROL UNIT, COMPUTER PROGRAM PRODUCT, AND STORAGE MEDIUM FOR A FUEL CELL SYSTEM AFTER SHUTDOWN

NºPublicación:  US20260058175A1 26/02/2026
Solicitante: 
ROBERT BOSCH GMBH [DE]
BOSCH HYDROGEN POWERTRAIN SYSTEMS CHONGQING CO LTD [CN]
Robert Bosch GmbH,
Bosch Hydrogen Powertrain Systems (Chongqing) Co., Ltd
US_20260058175_PA

Resumen de: US20260058175A1

A self-wake-up control method for a fuel cell system after shutdown, a control unit, a computer program product, and a storage medium are disclosed. The self-wake-up control method for a fuel cell system after shutdown includes (i) an ambient temperature estimation and confirmation step, wherein, in response to shutdown of the fuel cell system, remote data related to the driving of the fuel cell vehicle is acquired from outside the fuel cell vehicle, and local data related to the driving of the fuel cell vehicle is acquired from the fuel cell vehicle, and, based on the remote data and the local data, the ambient temperature of the fuel cell system is estimated and confirmed, and (ii) and a self-wake-up process determination step, wherein, based on the confirmed ambient temperature and in combination with data related to temperature variations of relevant components of the fuel cell system, a corresponding wake-up time interval and wake-up mode are determined. This can effectively eliminate the freezing risk of the fuel cell system and enhance the environmental adaptability, reliability, and durability of the fuel cell vehicle.

PROTEIN HAVING LACCASE ACTIVITY

NºPublicación:  US20260055380A1 26/02/2026
Solicitante: 
NAGASE & CO LTD [JP]
NAGASE & CO., LTD
US_20260055380_A1

Resumen de: US20260055380A1

Provided is a new CueO mutant with improved activity compared with wild-type CueO. The protein according to one or more embodiments of the present invention contains an amino acid sequence 1 or 2 and has laccase activity: 1 an amino acid sequence containing at least a region of positions 29-516 in SEQ ID NO: 14 with mutations (a) and (b): (a) a substitution of D360 with an amino acid other than D; and (b) one or more selected from a substitution of G304 with an amino acid other than G, a substitution of D373 with an amino acid other than D, and a substitution of Q374 with an amino acid other than Q; or 2 an amino acid sequence 90% or more identical to the sequence 1, and having residues corresponding to positions 360, 304, 373, and 374 of SEQ ID NO: 14 identical to those of the sequence 1.

燃料電池システム

NºPublicación:  JP2026031864A 25/02/2026
Solicitante: 
ヤマト・H2EnergyJapan株式会社
JP_2026031864_PA

Resumen de: JP2026031864A

【課題】安全性が高く、かつ省エネ性能の高い燃料電池システムを提供する。【解決手段】水素吸蔵合金タンク2、燃料電池ユニット3、制御手段4、酸素濃度計測手段5、水素ガス検知手段6、温度計測手段7、空調手段8及び建屋9で構成され、水素吸蔵合金タンク2、燃料電池ユニット3、制御手段4、酸素濃度計測手段5、水素ガス検知手段6及び温度計測手段7は、同一の建屋9内に収容されている。また、空調手段8については、室内機は建屋9内に収容され、室外機は建屋9の外に設置されている。燃料電池ユニット3の排熱により暖められた空気が、建屋9内を循環し、水素吸蔵合金タンク3の周囲を暖め、燃料電池ユニット3に対する水素ガスの供給を促進し省エネ化を図る。【選択図】図1

HUMIDIFIER FOR A FUEL CELL

NºPublicación:  EP4699688A1 25/02/2026
Solicitante: 
FREUDENBERG CARL KG [DE]
JOMA POLYTEC GMBH [DE]
Carl Freudenberg KG,
Joma-Polytec GmbH
EP_4699688_PA

Resumen de: EP4699688A1

Befeuchter (1) für eine Brennstoffzelle, umfassend ein Gehäuse (3) mit einer ersten Eintrittsöffnung (4), einer zweiten Eintrittsöffnung (5), einer ersten Austrittsöffnung (6) und einer zweiten Austrittsöffnung (7), wobei der zweiten Eintrittsöffnung (5) ein Kanal (8) zugeordnet ist, wobei zwischen dem Kanal (8) und der zweiten Austrittsöffnung (7) ein Membranelement (9) angeordnet ist, wobei der Kanal (8) mit einer dritten Austrittsöffnung (10) strömungsleitend verbunden ist.

モジュール式スタックセル構造を有する電気化学装置

NºPublicación:  JP2026506532A 25/02/2026
Solicitante: 
コンシッリョナツィオナーレデッレリチェルケ
JP_2026506532_PA

Resumen de: CN120769935A

The invention relates to an electrochemical device having a modular stacked cell structure, comprising a cathode plate (h1) at one end and a cathode plate (h2) at the other end, two electrolyte membranes (ccm), which are arranged in the form of an interlayer on the sides of the anode plate (2a), and an anode plate (2a) between the electrolyte membranes (ccm). The cathode plates (h1, h2) include gas collection chambers (60) connected to each other via a passage (61) and a connection passage (16) and communicating with the outside via a hydrogen manifold (15). The anode plate (2a) has serpentine channels (20) laterally closed by an electrolyte membrane (ccm) and communicating with the outside via an inlet manifold (21) and an outlet manifold (22).

固体酸化物セルスタックのモジュール配置

NºPublicación:  JP2026506598A 25/02/2026
Solicitante: 
エルコーゲンオサケユキチュア
JP_2026506598_PA

Resumen de: CN121039845A

The object of the invention is a module construction of a solid oxide cell stack arranged in a 2 * N matrix, N being any natural number. The configuration includes a fuel inlet manifold (150) and a fuel outlet manifold (152) located between two adjacent stacks (103). The fuel inlet manifold (150) and the fuel outlet manifold (152) form a fuel manifold (171) to deliver supplied fuel gas (108) to the stack and fuel exhaust gas (177) from the stack, and the stack is arranged in parallel connection in the manifold from the perspective of fuel gas supply and fuel exhaust gas connection. The stack (103) is arranged with a common oxygen-side gas supply chamber (106) connected to the inlet side of the oxygen-side gas delivery open structure (105) and a common oxygen-side exhaust gas chamber (176) connected to the outlet side of the oxygen-side gas delivery open structure (105). The inlet manifold (150) includes air flow holes of controllable size leading to the stack (103) for forming a uniform air flow leading to the stack, and the outlet manifold (152) includes air flow holes of controllable size leading to the stack (103) for forming a uniform air flow from the stack. The module configuration includes a first gas seal (155), a first electrically insulating plate (119), and a second gas seal (156) between the fuel manifold (171) and the stack (103). On the top side (122) and the bottom side (124) of the stacks (103), the module configuration comprises a second electrically insulati

燃料セルのための材料層

NºPublicación:  JP2026506420A 25/02/2026
Solicitante: 
タンペレ・ユニバーシティー・ファウンデーション・エスアール
JP_2026506420_PA

Resumen de: CN120513520A

The invention relates to a composite material layer for a fuel cell, a single-layer solid oxide fuel cell and a manufacturing method of the single-layer solid oxide fuel cell. According to the invention, a material layer for a single-layer solid oxide fuel cell comprises molten nanoparticles selected to provide reaction sites for hydroxide and oxygen reduction and to provide ion transport in the layer. The surface of at least one side of the layer is engraved (preferably both sides are engraved) to increase the surface area of the fuel cell layer.

燃料電池システム

NºPublicación:  JP2026506601A 25/02/2026
Solicitante: 
エーヴィエル・リスト・ゲーエムベーハー
JP_2026506601_PA

Resumen de: CN120642078A

The invention relates to a fuel cell system (1), in particular a SOFC system, comprising at least one fuel cell stack (2) having an anode section (3) and a cathode section (4), an air supply (5), a fuel supply (6), an exhaust gas section (7) having a reburner (8), and a circulation section (9), a first heat exchanger (10) being arranged in the circulation section (9), a first shunt device (11a) being arranged downstream of the first heat exchanger (10), and a second shunt device (11b) being arranged downstream of the second heat exchanger (10). A portion of the anode exhaust gas is fed to the reburner (8). The invention also relates to the use of such a fuel cell system (1).

CATALYST MATERIALS

NºPublicación:  EP4698696A1 25/02/2026
Solicitante: 
JOHNSON MATTHEY HYDROGEN TECHNOLOGIES LTD [GB]
Johnson Matthey Hydrogen Technologies Limited
WO_2024218486_PA

Resumen de: WO2024218486A1

Oxygen evolution catalyst materials are provided with a pyrochlore-type structure and with (i) calcium and / or sodium as A-site elements of the pyrochlore-type structure; (ii) iridium and / or ruthenium as first B-site elements of the pyrochlore-type structure; (iii) niobium and / or tantalum as second B-site elements of the pyrochlore-type structure; and (iv) a molar ratio of A-site elements: first and second B-site elements is in the range of and including 0.8: 1 to 1:1.

POLYARYLENE POLYMERS

NºPublicación:  EP4698578A1 25/02/2026
Solicitante: 
SYENSQO SPECIALTY POLYMERS USA LLC [US]
Syensqo Specialty Polymers USA, LLC
KR_20250174925_A

Resumen de: CN121039194A

A process for converting a polyarylene polymer comprising a sulfonate functional group to a polyarylene polymer comprising a sulfonic acid functional group, the process comprising a heat treatment step.

POLYARYLENE POLYMERS

NºPublicación:  EP4698577A1 25/02/2026
Solicitante: 
SYENSQO SPECIALTY POLYMERS USA LLC [US]
Syensqo Specialty Polymers USA, LLC
KR_20250174925_A

Resumen de: CN121039194A

A process for converting a polyarylene polymer comprising a sulfonate functional group to a polyarylene polymer comprising a sulfonic acid functional group, the process comprising a heat treatment step.

POLYARYLENE POLYMERS

NºPublicación:  EP4698576A1 25/02/2026
Solicitante: 
SYENSQO SPECIALTY POLYMERS USA LLC [US]
Syensqo Specialty Polymers USA, LLC
CN_121335938_A

Resumen de: WO2024218155A1

A polyarylene polymer comprising sulfonic acid functional groups with high ion exchange capacity which provides films and membranes having good mechanical properties. The membranes are suitable for use as proton exchange membranes in electrochemical devices as well as filtration membranes.

STACK FOR A FUEL CELL, AND ASSOCIATED FUEL CELL AND VEHICLE

NºPublicación:  EP4699175A1 25/02/2026
Solicitante: 
SYMBIO FRANCE [FR]
SYMBIO FRANCE
KR_20260002881_PA

Resumen de: WO2024218062A1

The present invention relates to a stack (11) for a fuel cell (10), the stack comprising a separator plate (12) comprising a peripheral zone (35) with a pair of plate ports (39a, 39b, 39c), the pair of plate ports (39a, 39b, 39c) comprising a plate supply port (31a, 31b, 31c) and a plate discharge port (33a, 33b, 33c). The fuel cell comprises a membrane-electrode assembly (50) comprising a peripheral portion (52) provided with a pair of ports of the assembly (59a, 59b, 59c) with an assembly supply port (51a, 51b, 51c) and an assembly discharge port (53a, 53b, 53c). The pair of plate ports (39a, 39b, 39c) are rotationally symmetrical about a plate centre axis and an area of the cross section of the assembly supply port (51a, 51 b, 51c) is smaller than an area of the cross section of the assembly discharge port (53a, 53b, 53c).

HOLLOW FIBER MEMBRANES COMPRISING A POLY(ARYL ETHER SULFONE) AND A WATER-SOLUBLE POLYMER ADDITIVE

NºPublicación:  EP4698307A1 25/02/2026
Solicitante: 
BASF SE [DE]
BASF SE
KR_20260003044_PA

Resumen de: CN121001809A

The present invention relates to a hollow fiber membrane made from a blend of poly (aryl ether sulfone) and a water-soluble polymer additive, a process for its manufacture and its use.

POLYPHENYLENE IONOMER FOR FUEL CELL OR ELECTROLYSIS CELL APPLICATION

NºPublicación:  EP4698589A1 25/02/2026
Solicitante: 
SYENSQO SPECIALTY POLYMERS USA LLC [US]
Syensqo Specialty Polymers USA, LLC
KR_20260005917_PA

Resumen de: WO2024217947A1

The present invention relates to a polyphenylene ionomer (PPI) suitable to prepare membrane for use in fuel cell or electrolysis cell application operating in alkaline conditions. It also pertains to processes for preparing such polyphenylene ionomer and methods for preparing membranes thereof.

A FLEET OF FUEL CELL-BASED GENERATION SYSTEMS AND A CONTROL METHOD THEREOF

NºPublicación:  EP4700874A1 25/02/2026
Solicitante: 
HITACHI ENERGY LTD [CH]
Hitachi Energy Ltd
EP_4700874_PA

Resumen de: EP4700874A1

A fuel cell-based generation system (100, 100', 100") is provided. The fuel cell-based generation system (100, 100', 100") includes a fuel cell subsystem (10) comprising at least one fuel cell (11) coupled to a power terminal (101) which is configurable to connect with a power network; a battery subsystem (20) comprising at least one battery (21) coupled to the power terminal (101) and configured to provide a state of charge (SoC) value of the at least one battery (21), the at least one battery (21) being capable of discharging to the power network and charging from the at least one fuel cell (11); and a controller (60) configured to operate the fuel cell-based generation system (100, 100', 100") by coordinated control of the battery subsystem (20) and the fuel cell subsystem (10) with a power setpoint for the fuel cell subsystem (10), wherein the power setpoint for the fuel cell subsystem (10) is based on a reference power setpoint provided to the fuel cell-based generation system (100, 100', 100").

A method of recycling a waste ionomer material

NºPublicación:  GB2700586A 25/02/2026
Solicitante: 
JOHNSON MATTHEY PLC [GB]
Johnson Matthey Public Limited Company
WO_2025262406_PA

Resumen de: GB2700586A

Waste ionomer material, which is preferably a persulfonic acid ionomer, and preferably is obtained from waste proton exchange membranes from fuel cells or electolysers, is heated in a solvemt to form a dispersion. The dispersion is subsequently subjected to a membrane filtration process to remove contaminants. Preferably, the membrane filtration is a crossflow filtration process, most preferably a hollow fibre membrane. In some embodments, the pore size of the membrane is 35-400 nm. The ionomer may be treated with a chelating agent and may be converted into salt form. Concentration and diafiltration steps may also be included. Figure 1

MICROCRYSTALLINE GLASS MATERIAL FOR FUEL CELL CONNECTING COMPONENT

NºPublicación:  EP4699992A1 25/02/2026
Solicitante: 
CHAOZHOU THREE CIRCLE GROUP CO [CN]
SHENZHEN THREE CIRCLE TECH CO LTD [CN]
Chaozhou Three-Circle (Group) Co., Ltd,
SHENZHEN THREE-CIRCLE TECHNOLOGY CO., LTD
EP_4699992_PA

Resumen de: EP4699992A1

The present application provides a glass-ceramic material for a connection part of a fuel cell, and belongs to the field of fuel cells. The glass-ceramic material includes a crystalline phase and a glass phase. A mass percentage of the crystalline phase in the glass-ceramic material is higher than or equal to 30%. A main crystalline phase of the crystalline phase includes at least one selected from the group consisting of akermanite, feldspar, olivine, clinokurchatovite, silicon dioxide, cerium dioxide, lanthanum aluminum borate, and lanthanum calcium borate. In the present application, a composition and a mass proportion of the main crystalline phase in the glass-ceramic material and a mass percentage of the crystalline phase in the glass-ceramic material are adjusted to prepare a connection part with high-temperature sealing and insulation properties. Even after operating under high-temperature working conditions for a long time, the connection part does not encounter performance degradation or point leakage. The connection part made of the glass-ceramic material in the present application provides a technical support for the commercial application of fuel cell systems.

ELECTROCHEMICAL CELL STACK INTERCONNECTS HAVING COPPER CONTAINING PROTECTIVE LAYERS AND METHOD OF MAKING THEREOF

NºPublicación:  EP4699174A1 25/02/2026
Solicitante: 
BLOOM ENERGY CORP [US]
Bloom Energy Corporation
TW_202503115_A

Resumen de: TW202503115A

An interconnect for an electrochemical cell stack, the interconnect including an interconnect substrate having an air side and an opposing fuel side, and a protective layer coated on at least the air side of the interconnect, the protective layer including a transition metal oxide including copper (Cu) and at least one of iron (Fe) and manganese (Mn).

FREE-RADICAL PROTECTED MEMBRANES

NºPublicación:  EP4699176A2 25/02/2026
Solicitante: 
CELADYNE TECH INC [US]
Celadyne Technologies, Inc
CN_121368821_A

Resumen de: AU2024258296A1

The present disclosure relates to a polyelectrolyte membrane, comprising a polyelectrolyte and a metal complex, wherein: the metal complex comprises a metal cation and a ligand; and the ligand comprises three or more functional groups, wherein each functional group is independently selected from phosphonic acid, sulfonic acid, and carboxylic acid, or an anion thereof. The present disclosure further relates to methods of making the polyelectrolyte membrane, as well as membrane electrode assembly and fuel cell comprising the polyelectrolyte membrane.

METAL SEPARATOR AND MANUFACTURING METHOD THEREFOR

NºPublicación:  EP4700873A1 25/02/2026
Solicitante: 
HYUNDAI STEEL CO [KR]
Hyundai Steel Company
EP_4700873_PA

Resumen de: EP4700873A1

The present application relates to a metal separator and a manufacturing method therefor, the metal separator comprising a first base material comprising a first manifold part, a second manifold part, and a reaction part provided between the first and second manifold parts, wherein the first and second manifold parts each have a plurality of openings and surface portions present between the plurality of openings, and the upper surfaces of the surface portions and the inner surfaces of the openings each have a surface-modified layer. According to the metal separator and the manufacturing method therefor, not only electrical conductivity but also corrosion resistance can be excellent.

METAL SEPARATOR AND MANUFACTURING METHOD THEREFOR

NºPublicación:  EP4700872A1 25/02/2026
Solicitante: 
HYUNDAI STEEL CO [KR]
Hyundai Steel Company
EP_4700872_PA

Resumen de: EP4700872A1

The present application relates to a metal separator and a manufacturing method therefor, the metal separator comprising: a first base material; and a porous body laminated on the upper surface of the first base material, wherein the porous body has a plurality of holes and surface portions present between the plurality of holes, and the upper surfaces of the surface portions and the inner surfaces of the holes each have a surface-modified layer. According to the metal separator and the manufacturing method therefor of the present application, not only electrical conductivity but also corrosion resistance can be excellent.

ELECTRODE CATALYST LAYER, MEMBRANE ELECTRODE ASSEMBLY, AND POLYMER ELECTROLYTE FUEL CELL

NºPublicación:  EP4700871A1 25/02/2026
Solicitante: 
TOPPAN HOLDINGS INC [JP]
Toppan Holdings Inc
EP_4700871_PA

Resumen de: EP4700871A1

An electrode catalyst layer for a polymer electrolyte fuel cell includes catalyst particles, a polymer electrolyte, and a fibrous material. The catalyst particles each include an electroconductive support, a plurality of metal particles supported on the electroconductive support, an ionic liquid in contact with a surface of the metal particles and electroconductive support, and an inorganic film covering a surface of the metal particles and electroconductive support via the ionic liquid. The inorganic film contains Si. The ratio of the number of silicon atoms to the total number of atoms of carbon, nitrogen, oxygen, fluorine, silicon, sulfur, and platinum elements in the electrode catalyst layer, as obtained by energy dispersive X-ray spectroscopy, is 0.5 at% or more and 10 at% or less.

MEDIUM STORAGE SYSTEM AND VEHICLE

NºPublicación:  EP4700273A1 25/02/2026
Solicitante: 
DONGFENG MOTOR GROUP CO LTD [CN]
Dongfeng Motor Group Co., Ltd
EP_4700273_PA

Resumen de: EP4700273A1

A medium storage system and a vehicle. A medium storage system comprises a mounting frame (100), storage containers (200), a connector (300), a common rail device (400) and a control valve (500). The mounting frame (100) is provided with a mounting cavity (110). Two or more storage containers (200) are provided, which are sequentially arranged in a direction which is disposed at an angle to an axial direction of the storage container (200), and are disposed in the mounting cavity (110). The connectors (300) are connected to the corresponding storage container (200) and are each connected to the mounting frame (100). The connector (300) is provided with a communication channel. The common rail device (400) is connected to the mounting frame (100) and/or a vehicle, and is disposed at an angle to the axial direction of the storage container (200). The common rail device (400) each is provided with a medium channel (411). Inner cavities of various storage containers (200) are each in communication with the medium channel (411) by the communication channel of a corresponding connector (300).

AROMATIC COMPOUNDS IN LOW CONDUCTIVE HEAT-TRANSFER FLUIDS

NºPublicación:  EP4700099A1 25/02/2026
Solicitante: 
ARTECO NV [BE]
Arteco NV
EP_4700099_A1

Resumen de: EP4700099A1

The present invention relates to heat-transfer fluids comprising azole-type corrosion inhibitors alongside specific aromatic compounds according to formula (I) and having a pKa of less than 9.0 which act as protecting agents when the heat-transfer fluid is placed in contact with ion-exchange resins, thereby preventing the uptake of desired additives like corrosion inhibitors. The invention further relates to associated methods, compositions and uses.

燃料電池用分離板

NºPublicación:  JP2026031872A 25/02/2026
Solicitante: 
現代自動車株式会社
JP_2026031872_PA

Resumen de: US20260045523A1

An embodiment separator for a fuel cell includes a land in contact with a gas diffusion layer, a gas flow channel configured to supply gas to the gas diffusion layer, wherein the land and the gas flow channel are repeatedly disposed in an alternating pattern in a width direction, partial narrow passages disposed at a predetermined interval in a longitudinal direction of the gas flow channel, the partial narrow channels being narrow compared to a width of the gas flow channel, and a water discharge guide groove with a lowered land height disposed at each of two lands of the partial narrow passages.

具有旁通型挡板的燃料电池加湿器

NºPublicación:  CN121569376A 24/02/2026
Solicitante: 
可隆工业株式会社
CN_121569376_PA

Resumen de: WO2025023733A1

The present invention relates to a fuel cell humidifier having a bypass-type baffle, the humidifier being characterized by comprising: a mid-case having an exhaust gas inlet through which exhaust gas discharged from a fuel cell stack flows in and an exhaust gas outlet for discharging the exhaust gas; a cartridge disposed inside the mid-case and including an inner case in which a humidification film is disposed and a fixing unit for fixing the humidification film from one side and the other side of the inner case; a bypass flow path formed between the inner wall of the mid-case and the outside of the inner case; and a baffle that is disposed in an inner space of the mid-case and partitions the bypass flow path, wherein the baffle is provided with a movement hole through which a fluid moves.

一种阴离子交换膜电堆自动化生产压堆机

NºPublicación:  CN121565906A 24/02/2026
Solicitante: 
北京亿能氢源科技有限公司
CN_121565906_PA

Resumen de: CN121565906A

本发明涉及阴离子交换膜电堆技术领域,具体为一种阴离子交换膜电堆自动化生产压堆机,加工单元包括固定设置在顶板上的外壳,控制器的输出端上固定设置有转接器,转接器与连接板之间固定连接,连接板上固定设置有压板,压板的输出端上固定设置有多个均匀排布的检测头,加工单元用于对输送至支撑板上的阴离子交换膜电堆进行加工处理,设置在顶板上的液压缸和液压缸输出端上的限位板能够对运料板上的物料进行限制,并且通过设置在外壳内的检测头,实现对阴离子交换膜电堆的检测处理,检测后的物料能够放置在装置的支撑台上再进行后续的堆放,保证进行压堆处理的阴离子交换膜电堆能够在组装完成时能够具有良好的性能和安全性。

一种液流电池复合双极板及其制造方法

NºPublicación:  CN121565882A 24/02/2026
Solicitante: 
大连融科储能技术发展有限公司
CN_121565882_PA

Resumen de: CN121565882A

本发明涉及液流电池技术领域,具体涉及一种液流电池复合双极板及其制造方法,所述液流电池复合双极板包括由边缘至内侧依次连接的组装密封区、缓冲过渡区和反应活性区;缓冲过渡区包含一块连接板;连接板的内端的上表面结合第一导电流道板,下表面结合第二导电流道板,第一导电流道板及第二导电流道板形成反应活性区;外端的上表面结合第一绝缘树脂板,下表面结合第二绝缘树脂板,第一绝缘树脂板及第二绝缘树脂板分别为具有设定宽度的边框结构并形成组装密封区;第一导电流道板、第二导电流道,第一绝缘树脂板、第二绝缘树脂板和连接板中均含有同种热塑性树脂材料。本发明的复合双极板结构具有高密封可靠性、高组装可操作性等优势。

燃料电池堆

NºPublicación:  CN121569380A 24/02/2026
Solicitante: 
罗伯特·博世有限公司
CN_121569380_PA

Resumen de: WO2024240893A1

The invention relates to a fuel cell stack (1), comprising a plurality of fuel cells (2) in a stacked arrangement, which are arranged between two end plates (3, 4) and are braced to one another by means of a U-shaped tensioning band (5) placed around the fuel cell stack (1), wherein at least one end of the tensioning band (5) is fastened by means of a bolt arrangement (6) to a further plate (7) which is arranged at a distance (a) from one end plate (3, 4), preferably from the lower end plate (3). According to the invention, the bolt arrangement (6) has a bolt (8) which is received at least in some sections in the further plate (7) and has a longitudinal axis (AB) which is at an angle (α) < 90° to the further plate (7).

氨氢发动机-PEMFC新能源混动系统集成式水管理系统及方法

NºPublicación:  CN121565889A 24/02/2026
Solicitante: 
吉林大学
CN_121565889_PA

Resumen de: CN121565889A

本发明公开了一种氨氢发动机‑PEMFC新能源混动系统集成式水管理系统及方法,属于新能源汽车技术领域。所述系统包括空气供给回路、水管理回路、冷却回路、燃料供给回路及排气回路,系统通过管路与阀件耦合,实现了燃料电池生成水的回收、净化与储存,并依据工况需求将水用于燃料电池进气加湿或发动机缸内喷水减排,冷却回路利用液氨气化吸热为燃料电池阴极废气脱湿提供冷源,同时为发动机进气降温,实现了水与热量的协同管理与能量回收。控制方法以水箱水位和整车功率需求为输入,划分纯发动机、纯燃料电池及混合动力三种工作模式,并根据水位高低动态制定水资源的优先级分配策略,最终生成集成化的水‑热耦合控制策略。

一种风冷型燃料电池电堆

NºPublicación:  CN121565887A 24/02/2026
Solicitante: 
佛山仙湖实验室
CN_121565887_PA

Resumen de: CN121565887A

本发明涉及燃料电池领域,公开了一种风冷型燃料电池电堆,包括:电堆组,顶面设置有密封层,所述电堆组内设置有依次排列的阳极气体扩散层、质子交换膜与阴极气体扩散层,所述密封层对应阳极气体扩散层和/或所述阴极气体扩散层的位置设置有连通孔;储水壳,连接于所述电堆组的顶侧,所述储水壳围设有储水腔,所述连通孔与所述储水腔相互连通;风冷组件,用于对所述电堆组吹风,本发明可实现对质子交换膜的保湿,从而保持质子交换膜的质子传导率,降低风冷型燃料电池电堆的欧姆阻抗,并有效改善风冷型燃料电池电堆的温度均匀性,提高对电堆组内部的散热效果。

氢燃料电池汽车供氢管路密封部件剩余使用寿命预测方法

NºPublicación:  CN121562342A 24/02/2026
Solicitante: 
北京工业大学
CN_121562342_PA

Resumen de: CN121562342A

本发明涉及氢能汽车供氢管路预测技术领域,公开了一种氢燃料电池汽车供氢管路密封部件剩余使用寿命预测方法,包括获取不同驾驶工况下各关键部件的氢流量,将氢流量转化为所需氢压力数据,构建氢燃料电池汽车全生命周期数据集;构建剩余使用寿命预测模型;所述剩余使用寿命预测模型包括特征提取网络和预测网络;利用特征提取网络对氢燃料电池汽车全生命周期数据集提取时序特征;利用预测网络将源域时序特征与目标域时序特征进行对齐,并根据对齐的源域时序特征预测剩余使用寿命。本发明提高了氢燃料电池汽车供氢管路密封部件剩余使用寿命预测的准确性。

一种渐变均流式优化电解液分布的液流电池流道框

NºPublicación:  CN121565883A 24/02/2026
Solicitante: 
龙子湖新能源实验室郑州中科新兴产业技术研究院中国科学院过程工程研究所
CN_121565883_PA

Resumen de: CN121565883A

本发明提出了一种渐变均流式优化电解液分布的液流电池流道框,属于储能电池的技术领域。本发明液流电池流道框包括矩形结构的中空框体,中空区域为反应电极预置区,所述反应电极预置区的上下两侧各布设一条结构相同电解液流道和流道口,电解液流道将流道口与反应电极预置区连通;所述电解液流道包括从流道口至反应电极预置区依次连通的主流道、分流流道、散流区和整流流道。本发明结合构形理论和广义默里定律,通过优化框体流道的尺寸参数与散流结构的布局设计,减小电解液的流动压力损失、改善电解液在散流区域、整流流道与反应电极预置区域中的液力参数的均一性,进而提高液流电池的能量效率等性能参数。针对不同性质的电解液,能有效降低其的沿程阻力损失,实现增效降耗的目的。

一种高纯度、高溶解性能硫酸氧钒晶体、其制备方法及应用

NºPublicación:  CN121553984A 24/02/2026
Solicitante: 
大连融科储能集团股份有限公司
CN_121553984_PA

Resumen de: CN121553984A

本发明提供一种高纯度、高溶解性能硫酸氧钒晶体、其制备方法及应用,所述高纯度、高溶解性能硫酸氧钒晶体的制备方法包括以下步骤:以偏钒酸铵或多钒酸铵为原料,在600~900℃、惰性气体保护、还原气氛条件下焙烧得到氧化钒;将其溶于纯水和硫酸混合溶液中,得到高浓度硫酸氧钒溶液或硫酸氧钒浆液;调整钒价态至3.9~4.1;冷却结晶,过滤得到一次硫酸氧钒晶体;一次硫酸氧钒晶体加纯水溶解得到硫酸氧钒溶液,过滤;补加硫酸,调整溶液的钒价态至3.99~4.01,冷却结晶,过滤得到高纯度、高溶解性能硫酸氧钒晶体。本发明硫酸氧钒晶体具有粒度小、纯度高、溶解性能好等优点,在钒电解液领域具有良好的应用前景和大规模推广潜力。

膜电极封边系统

NºPublicación:  CN121565885A 24/02/2026
Solicitante: 
山海氢(上海)新能源科技有限公司
CN_121565885_PA

Resumen de: CN121565885A

一种膜电极封边系统,属于质子交换膜电解水制氢技术领域,包括第一、第二原料处理区和连续贴合固化区;第一原料处理区与连续贴合固化区之间设有两条第一路径,两条第一路径上的第一移动托举组件和第二移动托举组件按第一预设时序往复移动,以转运边框膜成品至连续贴合固化区,且二者停靠位置不同;第二原料处理区与连续贴合固化区之间设有第二路径,第二路径上的第三移动托举组件按第二预设时序与第一移动托举组件协同,以转运质子交换膜至连续贴合固化区的同一停靠位置;连续贴合固化区的输送机构按第三预设时序依次接收来自第一移动托举组件的边框膜、第三移动托举组件的质子交换膜以及第二移动托举组件的边框膜,形成叠层结构,再送固化机构。

锂空气电池气体循环泵及其控制方法、发电系统

NºPublicación:  CN121557091A 24/02/2026
Solicitante: 
华电电力科学研究院有限公司西安交通大学阳光电源股份有限公司
CN_121557091_PA

Resumen de: CN121557091A

本申请涉及电化学储能技术领域,公开了锂空气电池气体循环泵及其控制方法、发电系统,锂空气电池气体循环泵包括:泵体,用于形成储气腔,泵体配置为在电流作用下发生形变以改变储气腔的体积;进气通道,形成于泵体上并与储气腔连通,用于吸入气体;出气通道,形成于泵体上并与储气腔连通,用于排出气体;进气元件,设置于进气通道内,配置为在储气腔的体积改变时控制进气气流;出气元件,设置于出气通道内,配置为在储气腔的体积改变时控制出气气流。通过上述方案,替代了电动机和传动机构,显著降低了能耗和运行噪音;同时,集成化的设计减少了额外组件,压缩了体积占用,解决了相关技术中电动循环泵能耗高、体积大、噪音大的问题。

在双极板上原位形成凝胶流道的方法、具有凝胶流道的双极板、凝胶溶液、液流电池

NºPublicación:  CN121565884A 24/02/2026
Solicitante: 
北京普能世纪科技有限公司
CN_121565884_A

Resumen de: CN121565884A

本申请提供了一种在双极板上原位形成凝胶流道的方法、具有凝胶流道的双极板、凝胶溶液、液流电池。该方法包括使第一双极板和第二双极板上的未被绝缘掩模层覆盖的区域作为导电区域;将凝胶溶液引入到第一双极板与第二双极板之间;将第一双极板连接到电源负极作为阴极侧,将第二双极板连接到电源正极作为阳极侧,施加恒电压使凝胶溶液在所述第一双极板的导电区域中原位生长成凝胶化层,形成第一双极板的凝胶流道;切换正负极,施加恒电压使凝胶溶液在第二双极板的导电区域中原位生长成凝胶化层,形成第二双极板的凝胶流道。由本申请的凝胶溶液直接原位生长在双极板的表面形成流道,显著降低了双极板与电极的接触电阻。

燃料电池电堆的异常监测方法及其系统

NºPublicación:  CN121565896A 24/02/2026
Solicitante: 
北京氢源智能科技有限公司
CN_121565896_PA

Resumen de: CN121565896A

本发明公开了一种燃料电池电堆的异常监测方法及其系统。预先将燃料电池电堆运行过程划分为无负载接入的开路阶段、低负载启动的活化极化阶段、以及高负载启动的正常运行阶段;异常监测方法包括:在开路阶段,实时采集电池的开路电压,若连续预设次数下开路电压高于第一设定值,则判断开路阶段异常,触发预警提示;在活化极化阶段,计算电堆的输出功率斜率,若在规定时间内功率斜率小于第二设定值,则判断活化极化阶段异常,基于预设动作进行处理。本申请的技术方案能够针对性的对燃料电池电堆的不同阶段进行监测,提高故障处置效率,增加电堆运行的安全性与稳定性。

多源联合循环动力系统及航空发动机

NºPublicación:  CN121556975A 24/02/2026
Solicitante: 
中国航发商用航空发动机有限责任公司
CN_121556975_PA

Resumen de: CN121556975A

本发明提供了一种多源联合循环动力系统及航空发动机,涉及动力系统领域。包括:波转子燃烧单元,波转子燃烧单元的空气入口用于接收压缩空气,波转子燃烧单元的燃气出口用于输出燃气至涡轮模块。预燃室,预燃室被配置为提供预燃烧空间,预燃室被供给燃油,波转子燃烧单元的空气出口与预燃室的空气入口连接,预燃室的燃气出口与波转子燃烧单元的燃气入口连接。SOFC发电单元,SOFC发电单元的阳极入口与燃料供给流路连接,SOFC发电单元的阴极入口用于接收压缩空气,SOFC发电单元的阳极出口与预燃室的燃气入口连接,SOFC发电单元的阴极出口与波转子燃烧单元的空气入口连接。通过气流路径合理配置以满足推进、高压气、热源需求。

一种气液分离装置及燃料电池系统

NºPublicación:  CN121565890A 24/02/2026
Solicitante: 
武汉船用电力推进装置研究所(中国船舶集团有限公司第七一二研究所)
CN_121565890_PA

Resumen de: CN121565890A

本发明公开了一种气液分离装置及燃料电池系统,气液分离装置包括外壳、分离部、隔离部及液位检测部;外壳具有内腔、入口与出口,入口与出口均连通内腔;分离部设于内腔,且与内腔的底部之间形成有储液室,储液室与入口相连通,且用于储存分离部分离出的混合物中的液相;隔离部设于储液室,且具有隔离腔,隔离腔的容积小于储液室的容积,且连通储液室,并具有用于平衡隔离腔中气压的导气口,导气口连通内腔;液位检测部具有检测头,检测头设于隔离腔,且位于导气口下方。本方案中,当装置在晃动时,隔离腔内的晃动幅度较低,降低液面晃动引起液位测量信号错误的概率,提高检测头的检测准确性,减少排水误触发造成气体泄漏的情况。

一种可扩展式高通量膜电极测试平台

NºPublicación:  CN121558092A 24/02/2026
Solicitante: 
北京亿能氢源科技有限公司
CN_121558092_PA

Resumen de: CN121558092A

本发明涉及膜电极测试技术领域,具体为一种可扩展式高通量膜电极测试平台,检测单元包括固定设置在底板上的长板,长板上固定设置有两个均匀分布的检测器一,且两个检测器一的输出端上均固定设置有支架一,且支架一位于固定框的正上方,从而实现调控运料带转动,在运料带带动固定框移动的过程中,产品会经过设置在底板上的压板和检测器三等多个模块进行全方位的数据检测,并且通过主机)将阴离子交换膜测试所需的环境控制温湿度、气体氛围、电化学表征阻抗、极化曲线、参数监测压力、泄漏、气体纯度等功能,分别集成到独立的标准化模块中,每个模块均配备统一的通讯接口与驱动协议,可根据测试需求灵活组合。

一种膜电极热压成型机

NºPublicación:  CN121551998A 24/02/2026
Solicitante: 
北京亿能氢源科技有限公司
CN_121551998_A

Resumen de: CN121551998A

本发明涉及膜电极加工技术领域,具体为一种膜电极热压成型机,主要包括机体,机体一侧设置有控制柜,机体下端内壁安装有伸缩组件,机体内部设置有下隔热壳、下热压板、上隔热壳和上热压板,还包括:加热机构,加热机构设置在下热压板和上热压板内部,密封机构,密封机构设置在机体内部,安装机构,安装机构设置在机体内部。通过设置的加热腔和加热管,且加热管缠绕设置且从中心至边缘逐步变密,使得下热压板和上热压板边缘区域的加热速度略高于中间位置,同时通过边缘区域比中间散热较快,从而在热量上得到补偿,使得下热压板和上热压板边缘和中间区域的温度较为均匀,进而保证膜电极边缘催化层活化较为充分,提高膜电极的热压质量。

高温稳定型氢键有机框架自支撑薄膜及其制备方法和应用

NºPublicación:  CN121554757A 24/02/2026
Solicitante: 
中国科学院大连化学物理研究所
CN_121554757_PA

Resumen de: CN121554757A

本发明属于功能材料技术领域,具体涉及一种高温稳定型氢键有机框架自支撑薄膜及其制备方法和应用。所述氢键有机框架的结构式如下:其中:X=‑OH、‑NH2、‑SO3H、‑PO4H。本发明的氢键有机框架自支撑薄膜在特定晶轴方向呈现负热膨胀特性,同时兼具优异质子传导性能和环境稳定性,该类材料特别适用于质子交换膜、固态电解质等需要高热尺寸稳定性的精密器件领域。

双引射器系统的控制方法与装置、介质、燃料电池、车辆

NºPublicación:  CN121565893A 24/02/2026
Solicitante: 
中国第一汽车股份有限公司
CN_121565893_A

Resumen de: CN121565893A

本发明涉及燃料电池控制技术领域,具体公开了一种双引射器系统的控制方法与装置、介质、燃料电池、车辆,其中,在双引射器系统的控制方法中,首先获取燃料电池的氢气压强目标值范围和氢气浓度目标值范围,并通过滑膜观测器观测燃料电池的氢气流量以得到氢气压强观测值,以及通过EKF观测器观测计算氢气浓度实际值,如果氢气压强观测值不处于氢气压强目标值范围,则对第一比例阀和/或第二比例阀进行控制,如果氢气浓度实际值低于氢气浓度目标值范围,则对排氢阀、第一比例阀和第二比例阀进行控制,使得燃料电池的氢气压强实际值处于氢气压强目标值范围,同时氢气浓度实际值也处于氢气浓度目标值范围,从而能够控制氢压稳定,保证氢气浓度。

一种MEA封装设备加工用恒温热压贴合装置

NºPublicación:  CN121552723A 24/02/2026
Solicitante: 
北京亿能氢源科技有限公司
CN_121552723_PA

Resumen de: CN121552723A

本发明涉及MEA封装设备技术领域,具体为一种MEA封装设备加工用恒温热压贴合装置,压合单元包括固定设置在底板上的竖板,竖板上转动设置有收卷轮,底板上固定设置有支架二,支架二的顶端处固定设置有下压器,设置在底板上的上料器能够存储物料用于存储物料,再通过设置在竖板上的收卷轮能够将压膜运输至加工区域,设置在支架二上的下压器能够对亚膜进行压合,再通过设置在支架一上的气缸一控制滑板的移动距离,保证气缸二与下压器能够同步加工物料,当上料器内的物料运输至预定区域时,装置上的支撑架能够通过调节器控制连接板横向移动,从而实现控制连接板上的压合器移动,直至压合器与载物板上的卡台相会对齐,完成加工。

一种引射器全工况下的多流体性能预测方法及系统

NºPublicación:  CN121565894A 24/02/2026
Solicitante: 
四川轻绿科技有限公司
CN_121565894_PA

Resumen de: CN121565894A

本发明属于引射器和燃料电池技术领域,提供了一种引射器全工况下的多流体性能预测方法及系统,获取工况参数和引射器的几何参数;根据工况参数和几何参数,在预设条件下,分别进行临界点和回流点的建模,形成引射器性能的特征点的求解模型,特征点包括临界再循环比、临界背压和回流背压;对求解模型中的未知参数进行参数辨识;基于辨识得到的未知参数,确定目标工况下的特征点的值,根据特征点的值,计算目标工况下的再循环比、出口温度和出口流体成分,实现预测。本发明以非迭代求解方法获得引射器在全工况下的性能,能够满足燃料电池中具有宽工作范围、快速响应等特点的引射器驱动阳极气体再循环系统,在不同工况下的实时控制需求。

多孔氧化物材料和电催化剂

NºPublicación:  CN121568903A 24/02/2026
Solicitante: 
优美科股份公司及两合公司
CN_121568903_A

Resumen de: WO2025012372A1

The invention relates to porous oxidic materials, which contain niobium and/or the heavy homolog thereof, tantalium, of oxidation number +5, and to the use thereof. The invention also relates to iridium-containing (electro-)catalysts, which comprise a porous oxidic group 5 element material, in particular a porous oxidic niobium(V)- and/or tantalium(V)-containing material. The invention further relates to the use of (electro-)catalysts of this type.

一种助力车用氢燃料电池氢气监测装置

NºPublicación:  CN223941793U 24/02/2026
Solicitante: 
合肥畅合能源科技有限公司
CN_223941793_U

Resumen de: CN223941793U

本实用新型涉及助力车技术领域,且公开了一种助力车用氢燃料电池氢气监测装置,包括金属储氢罐、电机、氢燃料电池系统、不锈钢管、减压阀以及MCU模块。本实用新型通过设置的三通过渡部件、检压部件组成辅助检测装置,继而与金属储氢罐、电机、氢燃料电池系统、不锈钢管、减压阀、MCU模块综合组装使用后,能够在保证金属储氢罐内部金属储氢进行放氢并通过三通过渡部件、减压阀之氢燃料电池系统处参与做功,为电机提供电力,满足电机的动力输出需求的同时通过压力传感器实时检测金属储氢罐内部的压力并将相应的压力信号输送至MCU模块,经MCU模块的数据处理后,形成压力、氢气量的曲线图,进而为驾驶者提供驾驶里程参考,解决现有技术存在的问题。

机柜和燃料电池

NºPublicación:  CN223940483U 24/02/2026
Solicitante: 
潍柴动力股份有限公司
CN_223940483_U

Resumen de: CN223940483U

本申请提供一种机柜和燃料电池,机柜包括柜体,具有存储腔,柜体上设置有连通外界与存储腔的进风口和出风口;燃气存储容器和/或燃气脱硫容器,设置于存储腔内;风扇,设置在柜体上;燃气浓度传感器,用于检测在风扇工作时存储腔内的燃气浓度,燃气浓度传感器设置在进风口到出风口的流动风路上;报警元件;控制器,能够控制报警元件报警。应用时在风扇的驱动下,外界空气从进风口吸入存储腔,流经存储腔后,从出风口流出;气流的流动风路流经燃气浓度传感器,通过燃气浓度传感器检测存储腔内的燃气浓度并发送燃气浓度检测信号;当检测到存储腔内的燃气浓度达到目标燃气泄漏浓度时,控制器控制报警元件报警;能及时发现燃气泄漏,减少安全隐患。

一种适用于SOFC系统的重整器

NºPublicación:  CN223941790U 24/02/2026
Solicitante: 
福赛尔(武汉)集成有限公司
CN_223941790_U

Resumen de: CN223941790U

本实用新型提供了一种适用于SOFC系统的重整器,属于燃料电池领域。该重整器包括箱,箱体上设置有燃气进气口、燃气出气口、燃烧尾气进气口和燃烧尾气出气口,燃气进气口上设置有与其相连通的水蒸气进气口,箱体内分隔形成进气腔、加热腔和出气腔,燃气进气口与进气腔连通,燃烧尾气进气口和燃烧尾气出气口均与加热腔连通,燃气出气口与出气腔连通,加热腔内设置有重整管,重整管的两端分别与进气腔和出气腔连通。采用本实用新型实施例所提供的一种适用于SOFC系统的重整器,能够解决现有技术中能量利用率较低的问题。

一种节能型发电装置

NºPublicación:  CN223941794U 24/02/2026
Solicitante: 
氢能时代(湖南)科技有限公司
CN_223941794_U

Resumen de: CN223941794U

本实用新型公开了一种节能型发电装置,包括支架,发电机组,其包括氢氧燃料电池发电机,所述氢氧燃料电池发电机安装所述支架上;制氢机组,安装在所述支架上,且位于所述发电机组底部,所述制氢机组包括供能面板,所述供能面板上设有进水端口,所述进水端口通过管路连接设有电解槽;通过在支架上设置发电机组、制氢机组、储氢模块和储电模块,其中,发电机组用于氢能发电,并将反应产生的电能输送至储电模块中进行存储,而制氢机组用于氢气的制取,并将制取的氢气存储至储氢模块中,来为发电机组发电随时输送提供氢气燃料,发电机组和制氢机组为两个独立的工作机组,制氢机组为发电机组提供能源,通过将各机组集成于支架中,能简化装置结构。

一种液流电池主动均衡电路

NºPublicación:  CN223942437U 24/02/2026
Solicitante: 
青岛攸能创科技有限公司
CN_223942437_U

Resumen de: CN223942437U

本实用新型涉及一种液流电池主动均衡电路,包括液流电池组,PCS变流器,均衡器变流器和功率分配单元;所述PCS变流器连接在液流电池组两端,用于对液流电池组充放电;所述液流电池组包括多个液流电池模块,每个液流电池模块包括多个子模块;所述均衡器变流器通过电池组切换开关和功率分配单元连接液流电池组,用于对液流电池子模块进行均衡。本申请通过均衡器变流器和功率分配单元的设置,实现了多液流电池间能量的高效、灵活分配,简化了电路结构;通过主控系统的实时监测和动态调整,能够快速响应能量需求的变化,确保液流电池内部不同子模块之间SOC的平衡,有效解决了因充放电不均导致的能量不平衡问题,提升了系统的整体性能和稳定性。

一种膜电极封装结构

NºPublicación:  CN223941789U 24/02/2026
Solicitante: 
福建亚南电机有限公司福建省亚南科技股份有限公司
CN_223941789_U

Resumen de: CN223941789U

本实用新型涉及一种膜电极封装结构,包括设置在两个对齐分布的边框之间的质子交换膜,每个边框远离质子交换膜的一端面均激光刻蚀有用于容置气体扩散层的第一凹陷,所述第一凹陷的底部激光刻蚀有用于涂布胶水的第二凹陷,所述第二凹陷内的胶水与容置在第一凹陷内的气体扩散层接触;所述第一凹陷的内侧壁涂抹有一层胶水,所述气体扩散层的周侧与第一凹陷四周侧壁的胶水相接触。本实用新型设计合理,对膜电极组件中的两个边框进行激光印刻凹陷,将气体扩散层嵌入其中,能有效的防止膜电极组件在燃料电池运行过程中组件内部零件脱落或者发生错位偏移,进而影响到燃料电池的性能输出。

一种质子交换膜结构及膜电极

NºPublicación:  CN223941795U 24/02/2026
Solicitante: 
山东国创燃料电池技术创新中心有限公司
CN_223941795_U

Resumen de: CN223941795U

本实用新型公开了一种质子交换膜结构及膜电极,包括质子交换膜,所述质子交换膜的表面上镶嵌有非连续的自由基淬灭层,所述自由基淬灭层采用含自由基淬灭剂的分散乳液涂覆制得;本实用新型提供的质子交换膜结构,通过将含自由基淬灭组分的分散液镶嵌于质子交换膜表面,使得在质子膜一侧或两侧镶嵌非连续的自由基淬灭薄层,能够原位捕捉燃料电池运行过程中产生的自由基,大大缓解自由基对全氟磺酸树脂的攻击,提升膜电极的化学稳定性。

全钒液流电池电堆组装定位装置

NºPublicación:  CN223941796U 24/02/2026
Solicitante: 
泓曜绿色能源发展(江苏)有限公司
CN_223941796_U

Resumen de: CN223941796U

本实用新型公开了一种全钒液流电池电堆组装定位装置,包括:用于与工作台面相装置的定位相装配的定位底座,定位底座用于对电池电堆其中一侧的端板进行插销定位;设置于定位底座沿第一方向一侧的第一定位侧板,所述第一定位侧板至少向上延伸至电池电堆另一侧的端板下方、以用于供电堆部件相靠贴实现第一方向的定位;以及,设置于定位底座沿垂直于第一方向的第二方向一侧的第二定位侧板,所述第二定位侧板至少向上延伸至电池电堆另一侧的端板下方、以用于供电堆部件相靠贴实现第二方向的定位。本实用新型操作更加简单,有效地节约了工作时间,大大提高组堆效率,并能够降低生产成本,同时生产出来的电堆密封性和一致性更好,性能更加优越。

一种小型固体氧化物燃料电池进气系统

NºPublicación:  CN223941792U 24/02/2026
Solicitante: 
福赛尔(武汉)集成有限公司
CN_223941792_U

Resumen de: CN223941792U

本实用新型提供一种小型固体氧化物燃料电池进气系统,包括阳极空气系统、阳极燃气系统以及阴极空气系统,阳极燃气系统包括燃气管道和混合管道,混合管道与燃气管道连接,燃气管道上设置燃气比例阀和燃气流量计,混合管道上设置电磁阀,阳极空气系统包括阳极空气管道和阳极风机,阳极风机连接在阳极空气管道的一端,阳极空气管道的另一端与混合管道连接,阳极空气管道上设置阳极空气流量计,阴极空气系统包括阴极空气管道和阴极风机,阴极空气管道的一端与阴极风机连接,阴极空气管道的另一端用于与电堆的阴极连接,阴极空气管道上设置阴极空气流量计。本实用新型可以精确的控制进入重整器及电堆的空气流量及组成成分。

一种热电联产装置

NºPublicación:  CN223941791U 24/02/2026
Solicitante: 
氢能时代(湖南)科技有限公司
CN_223941791_U

Resumen de: CN223941791U

本实用新型公开了一种热电联产装置,包括架体;发电主体,固定安装在所述架体上,且在其内部形成反应空间,所述发电主体上设有氢气输入口和空气输入口,所述氢气输入口和所述空气输入口通过管路与所述反应空间连通;供能机构,安装在所述架体上,其用于向所述反应空间内输送发电能源;通过设置供能机构来对发电主体输入氢气作为燃料、氧气作为氧化剂,使氢气和氧气在与内部金属电极材料相互反应实现化学能转变成电能,同时,通过在发电主体时设置散热循环机构来对产生的热量进行利用,通过设置小循环管路来对产生的低温流体循环利用至发电主体及其他部件的散热,设置大循环管路对产生高温流体进行冷却降温。

一种铋掺杂水滑石改性碳毡电极及其制备方法以及采用该电极的锌溴液流电池

NºPublicación:  CN121565878A 24/02/2026
Solicitante: 
太原科技大学
CN_121565878_PA

Resumen de: CN121565878A

本发明涉及一种铋掺杂水滑石改性碳毡电极及其制备方法以及采用该电极的锌溴液流电池,属于电化学储能技术领域,具体包括该电极以非极性碳毡为基底,在其表面原位生长铋掺杂的镁铝层状双氢氧化物纳米片阵列,其制备过程为:将预处理后的碳毡浸入含镁盐、铝盐、铋盐和尿素的前驱体溶液中,通过一步水热反应使Bi‑LDH纳米片在碳毡表面原位构筑,经清洗和干燥获得电极。本发明利用LDH材料独特的层状结构和优良亲水性增强对多溴化物的吸附能力,从而有效抑制溴扩散并降低自放电;采用该电极构筑的锌溴液流电池在高电流密度下表现出高库伦效率和能量效率及优异的循环稳定性,有效解决了溴扩散严重和动力学缓慢的问题。

一种高熵阴离子交换膜及其制备方法和应用

NºPublicación:  CN121554678A 24/02/2026
Solicitante: 
中国科学院大连化学物理研究所
CN_121554678_PA

Resumen de: CN121554678A

本发明属于离子交换膜技术领域,特别涉及一种高熵阴离子交换膜及其制备方法和应用。本发明通过在聚合体系中引入多种化学结构差异显著的芳香族单体和疏水酮单体,形成高组分复杂度的高熵聚合物主链结构,使聚合物在分子尺度上表现出更高的构型无序性与能量均化效应,增强体系的化学稳定性,并在微观尺度上形成更加连续、均匀的离子传导通道。本发明高熵阴离子交换膜能够在保持良好的离子传导性能的同时,具备更高的化学稳定性和机械强度,从而能够更好地适应各种复杂的电化学应用环境,不仅如此,用于低温直接氨燃料电池及电解氨水等领域,具有良好的阻氨性能。

一种高离子选择性催化功能复合膜及其制备方法

NºPublicación:  CN121565903A 24/02/2026
Solicitante: 
江苏深储新材料有限公司
CN_121565903_A

Resumen de: CN121565903A

本发明属于离子交换膜技术领域,涉及一种高离子选择性催化功能复合膜及其制备方法。该复合膜具有三层结构,分别为掺杂微孔材料的高离子选择性基膜,以及在基膜两侧掺杂正极和负极催化剂的催化功能复合层。本发明首先将全氟磺酸树脂溶解于有机溶剂中,然后将所得到的溶液分成三份,分别向其中加入微孔材料、正极催化剂和负极催化剂进行分散;经过浓缩处理后,采用分步流延的方式,依次制得高离子选择性基膜、正极催化功能复合层和负极催化功能复合层,最终将三者复合形成高离子选择性催化功能复合膜。本发明制备的复合膜赋予了液流电池隔膜催化功能;通过催化剂与隔膜树脂相融合,解决催化剂脱落的问题,同时提高隔膜的电导率和离子阻隔能力。

引射器组件、电堆阳极氢循环系统、燃料电池系统及方法

NºPublicación:  CN121565888A 24/02/2026
Solicitante: 
东风汽车集团股份有限公司
CN_121565888_PA

Resumen de: CN121565888A

本申请涉及引射器组件、电堆阳极氢循环系统、燃料电池系统及方法,通过设置三支并联的引射支路一、引射支路二和引射支路三,且将引射支路一的引射器一配置为较小喷嘴出口直径,引射支路二的引射器二与引射支路三的引射器三配置为相等且大于引射器一的喷嘴出口直径,使得引射器一可适配燃料电池系统低功率运行时的氢循环需求,引射器二与引射器三可协同适配中高功率运行时的氢循环需求,三支引射支路的并联配置结合不同喷嘴出口直径的差异化设计,能够不依赖氢气循环泵即可实现全功率段氢循环覆盖,同时通过引射器二与引射器三的相同喷嘴出口直径设计,减少了引射器的规格种类,且无需复杂的多规格引射器切换控制逻辑,降低了控制难度与故障风险。

一种燃料电池系统排氢排水结构及堵塞处理方法

NºPublicación:  CN121565891A 24/02/2026
Solicitante: 
东风汽车集团股份有限公司
CN_121565891_PA

Resumen de: CN121565891A

本申请涉及一种燃料电池系统排氢排水结构,包括:电堆,其内设有用于获取总电压数据以及单电池之间的电压偏差数据的电压检测组件;尾气排出管路,其设置在电堆的阳极出口,所述尾气排出管路上设有用于检测出堆压力变化的压力检测组件;排水管路,其与所述排出管路连通;排水阀,其设置在排水管路上,所述排水管路上且位于排水阀的进口处还设有温度检测组件,所述排水阀内设有第一加热件。整个系统在该情景下可以提前对排水管路的结冰进行预警,避免管路完全结冰后以至于阳极水淹及欠气所导致的电堆单低问题,并且选择性加热策略确保了系统在进行破冰的同时,可以降低系统能耗,体现了良好的经济性与实用性。

一种燃料电池热管理系统及燃料电池发动机

NºPublicación:  CN121565900A 24/02/2026
Solicitante: 
东风汽车集团股份有限公司
CN_121565900_PA

Resumen de: CN121565900A

本发明涉及电池管理技术领域,具体涉及一种燃料电池热管理系统及燃料电池发动机。燃料电池热管理系统,包括:电堆总成、冷却液循环管路设备、加热器和膨胀水壶;其中,冷却液循环管路设备,其与所述电堆总成连通;加热器,其设于所述冷却液循环管路设备上,所述加热器用于对所述冷却液循环管路设备内循环流动的冷却液加热;膨胀水壶设于所述冷却液循环管路设备,所述膨胀水壶内设有用于互相连通或断开的第一循环腔和第二循环腔,利用两个腔体的通断在冷启动时减少循环冷却液总量。本申请通过控制参与冷启动循环的支路通断和膨胀水壶大小循环腔体的通断,实现冷启动过程中参与升温的冷却水套容积减小,从而大大缩短相同系统加热功率下的升温时间。

氢燃料电池巡检断线故障处理方法、系统、介质及设备

NºPublicación:  CN121565895A 24/02/2026
Solicitante: 
山东国创燃料电池技术创新中心有限公司
CN_121565895_PA

Resumen de: CN121565895A

本发明涉及氢燃料电池巡检领域,为解决现有技术并未考虑燃料电池发动机的运行状态及断线的位置的问题,提供氢燃料电池巡检断线故障处理方法、系统、介质及设备。氢燃料电池巡检断线故障处理方法包括按照氢燃料电池电堆对单体电压的重视程度,将所有电压通道划分成至少三个区域;根据氢燃料电池发动机的当前运行状态,自适应为每个区域赋予加权系数;将所有区域的实际断线数与其对应加权系数累加,得到氢燃料电池发动机的总断线数,并将其与设定阈值范围进行比较,以触发相匹配的故障处理策略。其能够同时保障燃料电池发动机的安全稳定运行以及避免频繁启停操作带来的寿命缩短问题。

烃膜

NºPublicación:  CN121569378A 24/02/2026
Solicitante: 
庄信万丰氢能科技有限公司
CN_121569378_PA

Resumen de: WO2025040911A1

The disclosure provides an ion-conducting membrane, the ion-conducting membrane comprising a sulphonated hydrocarbon ionomer, wherein the ion-conducting membrane has a Lambda value of less than about 60.

氨氢发动机-燃料电池混动系统余热回收装置及控制方法

NºPublicación:  CN121556967A 24/02/2026
Solicitante: 
吉林大学
CN_121556967_PA

Resumen de: CN121556967A

本发明公开了一种氨氢发动机‑燃料电池混动系统余热回收装置及控制方法,属于混合动力车辆动力系统技术领域。装置包括高温级与低温级有机朗肯循环系统、热泵系统、燃料电池冷却系统、冷凝散热系统及燃料供给回路。高温级循环回收发动机废气高热,低温级循环回收缸套水及燃料电池冷却液中低热;热泵系统兼具燃料电池加热与余热品味提升功能;冷凝散热系统在为工质冷凝的同时,其废热用于蒸发燃料供给回路中的液氨。控制方法根据需求功率、燃料电池温度及环境温度,智能切换纯发动机、纯燃料电池及混合驱动三种余热回收模式,动态调控各子系统。本发明实现了余热的高效梯级回收与综合利用,显著提升了整车能量利用率、热效率及系统紧凑性。

一种耦合甲醇合成的高温固体氧化物燃料电池发电系统及方法

NºPublicación:  CN121565901A 24/02/2026
Solicitante: 
山东能源集团有限公司中国科学院上海应用物理研究所山东能源集团煤气化新材料科技有限公司
CN_121565901_PA

Resumen de: CN121565901A

本发明涉及驰放气资源化利用技术领域,尤其涉及一种耦合甲醇合成的高温固体氧化物燃料电池发电系统及方法,所述系统包括:甲醇合成反应系统和SOFC发电系统;其中,甲醇合成反应系统包括甲醇合成反应器;所述SOFC发电系统包括重整反应器和SOFC电堆组;所述甲醇合成反应器为列管式反应器,管程设置有甲醇合成催化剂,进行甲醇合成反应;所述列管式反应器的壳程设置有水和合成甲醇驰放气;甲醇合成反应过程中放热,使壳程的水和合成甲醇驰放气发生汽化、升温;汽化、升温后的水和合成甲醇驰放气进入重整反应器,进行重整反应生成电化学反应原料气,然后进入SOFC电堆组进行电化学反应。本发明提供了高效集约化的驰放气资源化利用技术。

一种石煤钒矿短流程制备钒电解液的方法

NºPublicación:  CN121565904A 24/02/2026
Solicitante: 
湖南化工研究院有限公司
CN_121565904_PA

Resumen de: CN121565904A

本发明公开了一种石煤钒矿短流程制备钒电解液的方法,包括以下步骤:对石煤钒矿进行熟化、氧化、树脂吸附、还原、萃取、水洗、反萃、除油和配酸,得到钒电解液。本发明中,通过结合萃取与离子交换的优势,并优化各个工序的先后步骤以及工艺参数,不仅可以提高钒的浸出率,而且可实现含钒浸出液在全液相中深度除杂,并能短流程制备电解液,省去了传统工艺中沉淀、煅烧与再溶解等多步工序,不产生氨氮废水、废气,大大降低了环保压力,整个过程可连续化运行,经济适用性强,具有对工艺设备要求低、钒利用率高、杂质去除效果好、成本低廉、环境友好等优点,能够制备得到高品质的钒电解液,使用价值高,应用前景好,适合于大规模工业化应用。

一种阴极开放式固体氧化物燃料电池堆

NºPublicación:  CN121565886A 24/02/2026
Solicitante: 
苏州华清京昆新能源科技有限公司
CN_121565886_PA

Resumen de: CN121565886A

本发明公开了一种阴极开放式固体氧化物燃料电池堆,涉及固体燃料电池技术领域。该一种阴极开放式固体氧化物燃料电池堆,包括封壳,所述封壳内部固定连接有上端板,所述上端板底部设置有电芯模块,所述电芯模块包括固定连接于上端板底部的阳极板,所述阳极板底部滑动连接有电解质滑板,所述电解质滑板底部滑动连接有开放阴极板,所述封壳背面连通有F形排水管,所述电解质滑板正面设置有清覆组件。该一种阴极开放式固体氧化物燃料电池堆,通过设置F形排水管、电解质滑板、清覆组件,实现了电堆对产身的水蒸气的排出,以及电堆对电极表面的清理,维持了燃料、氧气与电极的接触面积,提高了电堆的供电效率。

燃料电池输出功率的调控方法及其控制系统

NºPublicación:  CN121565898A 24/02/2026
Solicitante: 
北京氢源智能科技有限公司
CN_121565898_PA

Resumen de: CN121565898A

本发明公开了一种燃料电池输出功率的调控方法及其控制系统。调控方法包括:将环境温度划分为多个温度区间,基于预先建立的温度功率模型,设置每个温度区间的功率约束;基于预先建立的海拔功率模型,量化海拔高度与输出功率的补偿系数;根据功率约束、补偿系数以及燃料电池的运行状态建立多维度的联动规则;根据联动规则,动态调整燃料电池的输出功率。本申请的技术方案能够有效稳定输出功率,提高燃料电池的运行效率、使用寿命及安全性。

一种全钒液流电池电解液及其制备方法与应用

NºPublicación:  CN121565905A 24/02/2026
Solicitante: 
安徽海螺洁能科技有限公司安徽海螺融华储能科技有限公司安徽海螺产业技术研究院有限公司
CN_121565905_PA

Resumen de: CN121565905A

本发明涉及电化学储能电池技术领域,公开了一种全钒液流电池电解液及其制备方法与应用,包括钒离子活性物质;支撑电解质;以及电解液添加剂;所述钒离子活性物质在正极电解液中的浓度低于负极电解液中的浓度;所述电解液添加剂为强水合碱金属离子氯化盐。本发明通过调整正负极电对的钒离子浓度来改变正负极电解液两侧的浓度梯度及渗透压,抑制正负极两侧水及离子失衡,从而提高循环稳定性;通过硫酸、盐酸共同作为支撑电解质,在降低电解液粘度的同时,引入氯离子与钒离子反应形成可溶性中性化合物VO2Cl(H2O)2,抑制V2O5沉淀的形成;还通过引入强水合碱金属离子氯化盐,抑制副反应,提高法拉第效率。

多氢堆燃料电池的功率分配方法、设备及介质

NºPublicación:  CN121553003A 24/02/2026
Solicitante: 
卓品智能科技无锡股份有限公司
CN_121553003_PA

Resumen de: CN121553003A

本申请公开了一种多氢堆燃料电池的功率分配方法、设备及介质,涉及电池系统功率管理技术领域,该方法包括:获取每个氢燃料电池的最佳效率区间对应的发电功率区间;计算每个氢燃料电池的累计运行时间,基于确定优先级;在确定当前总需求功率相较于上一总需求功率发生变化的情况下,基于当前总需求功率、第i时刻运行的氢燃料电池的数量、优先级、发电功率区间、以及氢燃料电池的负载波动最小为功率分配目标,确定目标功率分配策略以进行氢燃料电池的功率分配。本申请用以解决现有技术中氢燃料电池的发电功率波动剧烈,造成氢燃料电池寿命减少的问题,实现保证多氢堆燃料电池满足系统需求的情况下,提高氢燃料电池的使用寿命。

固体氧化物电池堆紧固装置以及使用该固体氧化物电池堆紧固装置的固体氧化物反应装置

NºPublicación:  CN121569379A 24/02/2026
Solicitante: 
三星电机株式会社
CN_121569379_PA

Resumen de: WO2025095296A1

A solid oxide cell stack fastening apparatus, in which downward pressure applied to the solid oxide cell stack is uniform throughout, includes a housing which accommodates a solid oxide cell stack and includes a first coupling part on one side thereof, and a first block which includes a second coupling part and an elastic member in contact with the solid oxide cell stack. The first coupling part and the second coupling part each have screw threads coupled to each other.

一种具有耦合多元活性中心的全氟磺酰亚胺型质子交换树脂及其制备方法、应用

NºPublicación:  CN121554745A 24/02/2026
Solicitante: 
武汉理工大学
CN_121554745_A

Resumen de: CN121554745A

本发明公开一种具有耦合多元活性中心的全氟磺酰亚胺型质子交换树脂,其通过在全氟磺酰胺上接枝膦酸化的笼型聚倍半硅氧烷(POSS)获得,具体制备过程为:全氟磺酰氟和氨气反应生成全氟磺酰胺;膦酸化的POSS与亚磷酸三乙酯发生取代反应,得到中间产物;中间产物与全氟磺酰氨基于迈克尔加成反应后,再酸化,得到目标产物。本发明所述具有耦合多元活性中心的全氟磺酰亚胺型质子交换树脂能够提升质子交换膜的玻璃化转变温度;同时,磺酰亚胺与膦酸基团协同构建多重质子传输路径,快速的质子传导能力,使质子交换膜即使在高温也能保证快速质子传输,提升质子交换膜的电导率,解决了传统技术中全氟磺酸质子交换质子膜在高温工况下性能较差的问题。

基于转印法的直接甲醇燃料电池膜电极结构及其制备方法

NºPublicación:  CN121565876A 24/02/2026
Solicitante: 
苏州奥加华新能源有限公司
CN_121565876_PA

Resumen de: CN121565876A

本发明涉及一种基于转印法的直接甲醇燃料电池膜电极结构及其制备方法,包括,质子交换膜;阳极催化层,所述阳极催化层附着于质子交换膜的一侧,阳极气体扩散层,所述阳极气体扩散层热压于阳极催化层外侧;阴极催化层,所述阴极催化层附着于质子交换膜的另一侧;阴极气体扩散层,所述阴极气体扩散层热压于阴极催化层外侧。

膜电极组件及其制造方法

NºPublicación:  CN121569377A 24/02/2026
Solicitante: 
三星电机株式会社
CN_121569377_PA

Resumen de: WO2025105885A1

A membrane-electrode assembly includes a first catalyst electrode, a polymer electrolyte membrane covering a side surface and an upper surface of the first catalyst electrode, and a second catalyst electrode disposed on the polymer electrolyte membrane, in which at least a portion of a corner area in which the side surface and the upper surface of the first catalyst electrode are connected has a curved shape.

一种固体氧化物燃料电池电解质薄膜的粉尘自沉降制备工艺

NºPublicación:  CN121565902A 24/02/2026
Solicitante: 
太原工业学院
CN_121565902_PA

Resumen de: CN121565902A

本发明涉及燃料电池技术领域,尤其涉及一种固体氧化物燃料电池电解质薄膜的粉尘自沉降制备工艺。该粉尘自沉降制备工艺采用干压‑粉体喷沉‑共压‑煅烧的步骤,制备得到了薄且厚度可控的固体氧化物燃料电池电解质薄膜,整体操作简单,适用于制备各种厚度不同的致密、均匀的用于电极支撑型电池的电解质薄膜,显著缩短了电解质材料的离子传导路径,可提升电池性能。

燃料电池的电压控制方法及相关设备

NºPublicación:  CN121565897A 24/02/2026
Solicitante: 
东风汽车集团股份有限公司
CN_121565897_PA

Resumen de: CN121565897A

本发明公开了一种燃料电池的电压控制方法及相关设备,涉及燃料电池领域,主要为解决针对燃料电池怠速运行时的电压一致性下降,存在电压偏差主动恢复能力不足的问题。该方法包括:获取车辆的燃料电池的目标需求功率,其中,所述目标需求功率用于表示车辆当前的动力需求;获取车辆的电池电堆的单片电池电压偏差,其中,所述单片电池电压偏差用于表征电池电堆中不同单片电池之间的电压一致性;基于所述目标需求功率和所述单片电池电压偏差执行吹扫策略,其中,所述吹扫策略用于通过控制气体流动,以对所述燃料电池的电堆内部进行吹扫。本发明用于燃料电池的电压控制过程。

モジュールケースおよびモジュールケースの組立方法

NºPublicación:  JP2026030935A 24/02/2026
Solicitante: 
株式会社アイシン
JP_2026030935_PA

Resumen de: JP2026030935A

【課題】モジュールケースを用いた熱交換をより効率よく行う。【解決手段】モジュールケースは、モジュールから排出される排ガスが流れる排ガス流路をモジュールとの間に形成するようにモジュールを収容し、排ガス流路に連通する貫通孔を有するインナケースと、モジュールに供給されるエアが流れるエア流路をインナケースとの間に形成するようにインナケースを収容し、インナケースの貫通孔より大きな孔径で貫通孔と同心となる位置にエア流路に連通する貫通孔を有するアウタケースと、インナケースの貫通孔に接合された内管と、アウタケースの貫通孔に接合され内径が内管の外径より大きな外管とが同軸に配置され、排ガスを内管の内部から排出すると共に内管の外面と外管の内面との間からエアを導入可能な二重管部と、を備える。【選択図】図6

安定化ジルコニア緻密膜の製造方法、金属支持型電気化学素子、電気化学モジュール、及びエネルギーシステム

NºPublicación:  JP2026031030A 24/02/2026
Solicitante: 
大阪瓦斯株式会社
JP_2026031030_PA

Resumen de: JP2026031030A

【課題】塗料組成物を基材の表面に塗布して形成された塗布膜を仮焼・焼成するというような簡単なゾルゲル法を採用して安定化ジルコニア緻密膜を製造するにあたり、塗料組成物の塗布膜におけるクラック等の欠陥が少ない均質で緻密な安定化ジルコニア緻密膜を形成する。【解決手段】塗料組成物を基材上に塗布して塗料組成物塗布基材を得る塗布工程と、塗布工程の後に塗料組成物塗布基材を設定仮焼温度で仮焼する仮焼工程と、仮焼工程の後に塗料組成物塗布基材を設定仮焼温度よりも高い所定の設定焼成温度で焼成する焼成工程と、を含み、仮焼工程において、設定仮焼温度を260℃以上に設定すると共に、1秒あたり11.6℃以上に設定された設定昇温速度で設定仮焼温度に昇温させ、焼成工程において、設定焼成温度を950℃超且つ1100℃未満の範囲内に設定する。【選択図】図2

燃焼器ユニット

NºPublicación:  JP2026031374A 24/02/2026
Solicitante: 
株式会社アイシン
JP_2026031374_PA

Resumen de: JP2026031374A

【課題】燃焼部で発生する熱を効率よく供給ガス流路に伝達して供給ガスを予熱する。【解決手段】燃焼器ユニットは、セルスタックと共に配置され、燃焼部と、充満部と、充満部に燃焼用燃料ガスを供給する燃焼用燃料ガス供給部と、燃焼部に助燃ガスを供給する助燃ガス供給部と、熱伝達可能な部材により形成され燃焼部と充満部との間を仕切る仕切り部材と、仕切り部材の内部に形成されセルスタックに供給される供給ガスが流通する供給ガス流路と、仕切り部材の供給ガス流路を避けた位置に形成され燃焼部と充満部とを連通させる連通孔と、を備える。【選択図】図5

氢能电池一体化应急电源车

NºPublicación:  CN121553026A 24/02/2026
Solicitante: 
北京亿能氢源科技有限公司
CN_121553026_A

Resumen de: CN121553026A

本发明涉及电源车技术领域,具体为氢能电池一体化应急电源车:反应单元包括固定设置在所述支架上的连接管道,且各个所述连接管道之间相互连通,所述连接管道上固定设置有竖板,所述竖板上固定设置有轴体,所述轴体上固定设置有限位板,设置在车头上的防护栏和后视镜能够保护车头内的重要部件,避免其受到损伤,通过固定设置在定位板上的各个支架,实现对输气管进行定位固定,并且再通过竖板进一步的加固装置,在组装时只需将储氢罐插入装置卡口中即可,简单便捷,气体能够通过装置内部的运输装置输送至接口二中进行反应从而产生电能保证装置运作,再通过设置在底座上的控制器控制反应的速率,保证装置稳定安全地运作。

一种抑制烧结的碳载钯纳米颗粒电催化剂及其制备方法和应用

NºPublicación:  CN121565877A 24/02/2026
Solicitante: 
西南大学
CN_121565877_PA

Resumen de: CN121565877A

本发明公开了一种抑制烧结的碳载钯纳米颗粒电催化剂及其制备方法和应用,通过将钯颗粒和三正辛基磷分散在油胺中,然后置于50‑200℃反应制得,得到的表面磷化处理的钯纳米颗粒的平均直径为6.3纳米,能够负载在碳上作为催化剂。表面磷元素在钯纳米颗粒与碳载体之间起到桥接作用,增强金属‑载体相互作用,从而提升催化体系在电化学条件下的稳定性。所获得的钯纳米颗粒具有表面无序化结构,并在催化反应中表现出优于常规钯催化剂的活性。此外,本方法具备良好的普适性,亦适用于对商业钯碳材料进行改性处理,为其性能优化提供有效技术路径。

免工装燃料电池短堆结构及其装配方法

NºPublicación:  CN121565907A 24/02/2026
Solicitante: 
上海芃佳智能科技股份有限公司
CN_121565907_PA

Resumen de: CN121565907A

本申请提供一种免工装燃料电池短堆结构及其装配方法。免工装燃料电池短堆结构包括第一端板、第二端板、堆芯、定位销和紧固螺栓。第一端板和第二端板分别位于免工装燃料电池短堆结构的两端;堆芯设置于第一端板和第二端板之间,堆芯包括多个沿堆叠方向依次交替堆叠的双极板和膜电极组件;至少三个沿堆叠方向设置的定位销,定位销穿过第一端板和第二端板,并用于在堆叠过程中对堆芯进行平面定位;至少三个定位销在垂直于堆叠方向的平面上的投影呈非对称布局;多个紧固螺栓沿堆叠方向延伸并穿过第一端板和第二端板,紧固螺栓通过与螺母的螺纹配合,用于对第一端板和第二端板施加至少沿堆叠方向的压力,以将堆芯压紧至预定压缩尺寸。

一种微网环境液流电池系统及其控制方法

NºPublicación:  CN121565899A 24/02/2026
Solicitante: 
大连融科储能装备有限公司
CN_121565899_PA

Resumen de: CN121565899A

本发明公开了一种微网环境液流电池系统及其控制方法,属于微电网储能技术领域。该系统包括光伏发电单元、光储逆变器、直流汇流单元、液流电池、交流汇流单元、BMS控制系统和用电负载;液流电池功率部分采用多电堆模块并联设计,电堆模块可自由投切,电堆模块之间可互为备用,提高了冗余度,整个系统输出电压与单个电堆模块的电压相同,解决系统内部分电堆模块出现故障后无法运行的现象,增强了系统的鲁棒性;当用电负载的功率发生变化时,能够根据负载功率的实时值灵活调配运行中的电堆数量,根据实际功率自动投入投出,实时响应负载用电需求,使整体耗能最小化,最大化地节省资源。

金属支持型電気化学素子の製造方法、金属支持型電気化学素子、電気化学モジュール、及びエネルギーシステム

NºPublicación:  JP2026031031A 24/02/2026
Solicitante: 
大阪瓦斯株式会社
JP_2026031031_PA

Resumen de: JP2026031031A

【課題】金属支持体と、金属支持体の上に積層された電極層と、電極層の上に積層された電解質層と、を有する金属支持型電気化学素子の製造方法において、塗料組成物を基材の表面に塗布して形成された塗布膜を仮焼・焼成する簡単なゾルゲル法を採用して安定化ジルコニア緻密膜を電解質層として形成する際、クラック等の欠陥が少ない均質で緻密な安定化ジルコニア緻密膜を形成する、製造方法を提供する。【解決手段】電解質層形成ステップが、塗料組成物を基材上に塗布して塗料組成物塗布基材を得る塗布工程と、塗布工程の後に塗料組成物塗布基材を設定仮焼温度で仮焼する仮焼工程と、仮焼工程の後に塗料組成物塗布基材を設定仮焼温度よりも高い設定焼成温度で焼成する焼成工程と、を含み、仮焼工程において、設定仮焼温度を260℃以上且つ750℃未満の範囲内に設定し、焼成工程において、設定焼成温度を950℃超且つ1100℃未満の範囲内に設定する。【選択図】図2

水素発生装置

NºPublicación:  JP2026031672A 24/02/2026
Solicitante: 
エスケーイノベーションカンパニーリミテッド
JP_2026031672_PA

Resumen de: JP2024146801A

To provide a hydrogen generation device which is capable of increasing the hydrogen production volume and producing clean energy.SOLUTION: The present disclosure provides a hydrogen generation device. The hydrogen generation device includes: a plurality of cylinders; a plurality of combustion units disposed in each of the plurality of cylinders to combust a fuel; a distribution unit configured to deliver the fuel supplied from a fuel supply unit to each of the plurality of combustion units by distributing the fuel in a uniform quantity; a plurality of reaction units disposed in the plurality of cylinders, respectively, to generate hydrogen by a reforming reaction of a feed supplied from a feed supply unit while the reaction units are heated by a combustion heat transmitted from the combustion unit; and a metering unit disposed between the distribution unit and the combustion unit to adjust an amount of the fuel delivered from the distribution unit to the combustion unit in a fixed quantity. The metering unit includes a connection pipe disposed between the distribution unit and the combustion unit and an opening adjuster disposed in the connection pipe for changing the opening degree of the connection pipe depending on the hydraulic pressure of the fuel.SELECTED DRAWING: Figure 1

貴金属粒子含有電解質膜、膜電極複合体、電気化学セル、スタック、電解装置

NºPublicación:  JP2026031727A 24/02/2026
Solicitante: 
株式会社東芝
JP_2026031727_A

Resumen de: JP2024044221A

To provide a polymer electrolyte that reduces hydrogen leakage or crossover.SOLUTION: A manufacturing method for a noble metal particle-containing polymer electrolyte according to an embodiment has the steps of: performing treatment for spraying a solution containing a cationic noble metal complex ion onto a cation exchange membrane and drying the cation exchange membrane to impregnate a first area on one side of the cation exchange membrane with the cationic noble metal complex ion; and performing reduction treatment on the cation exchange membrane impregnated with the cationic noble metal complex ion.SELECTED DRAWING: Figure 1

SiO2に担持されたラジカル捕捉剤としてのCeO2

NºPublicación:  JP2026506289A 24/02/2026
Solicitante: 
サイエンスコスペシャルティポリマーズイタリーエス.ピー.エー.
JP_2026506289_A

Resumen de: CN120936681A

Cerium oxide (CeO2) coated silica (SiO2) particles, optionally comprising the inorganic group-SO2X, and methods of making such particles. The addition of the cerium oxide (CeO2) coated silica (SiO2) particles to fluorinated polymers containing sulfonic acid functional groups increases their stability to free radical degradation when used in fuel cell applications or electrolytic applications.

基于氢燃料电池的可自动补给燃料的机械狗动力装置

NºPublicación:  CN121552949A 24/02/2026
Solicitante: 
北京亿能氢源科技有限公司
CN_121552949_PA

Resumen de: CN121552949A

本发明涉及机械狗技术领域,具体为基于氢燃料电池的可自动补给燃料的机械狗动力装置,净化单元包括高度设置在连接杆一上的定位框架,定位框架内固定设置有多个均匀排布的储液罐,各个储液罐之间固定设置有运输管,定位框架上固定设置有加压器,且运输管与加压器之间相互连通,净化单元用于对采集的污水进行净化除杂处理,工作人员使用装置先将装置组装好,设置在本体上的支撑杆和防滑套,保证了机械狗能够正常运行行动,防滑套提供的摩擦力能够避免装置在移动时出现的打滑情况,净化单元能够对野外采集的水源进行过滤除杂处理,通过分级过滤和自清洁设计,使得处理后的水源满足电解水制氢对高纯度水源的严苛要求,保障电解系统稳定运行。

一种应用于长时氢储能的水循环系统

NºPublicación:  CN121565892A 24/02/2026
Solicitante: 
云南电网有限责任公司昆明供电局
CN_121565892_PA

Resumen de: CN121565892A

本发明涉及水循环领域,特别是一种应用于长时氢储能的水循环系统,包括,增压捕水单元,接收环境湿气;深度脱水单元,深度脱水单元气流入口连通增压捕水单元气体出口;水纯化处理单元,水纯化处理单元液态水入口汇集包括增压捕水单元和深度脱水单元液态水出口;制氢纯化单元,制氢纯化单元纯水入口连通水纯化处理单元。本发明的有益效果通过捕集环境湿气、回收电解制氢过程中的水氧混合物与水氢混合物,以及氢燃料电池发电产生的湿空气与氢气侧排气,经冷却分离与深度脱水处理,其液态水汇入原料水箱并进行纯化;实现了长时氢储能系统内部水资源的循环利用,显著降低对外部补水的依赖,适用于水资源匮乏的偏远无人值守地区。

TERMOKİMYASAL JENERATÖR

NºPublicación:  TR2024009762A1 23/02/2026
Solicitante: 
ALPAY ADIL [TR]
ALPAY, AD\u0130L
TR_2024009762_PA

Resumen de: TR2024009762A1

Bu buluş, ısı enerjisinin kimyasal reaksiyonlar ile bileşenleri ayırmadan kullanıldığı, reaksiyon sonucunda oluşan komponentlerin akış pili veya yakıt pilinde elektrik enerjisine dönüştürmek için kullanıldığı bir termokimyasal jeneratör sistemini tanımlamaktadır.

炭素担体、金属担持触媒、電極及び電池

NºPublicación:  JP2026030308A 20/02/2026
Solicitante: 
日清紡ホールディングス株式会社
JP_2026030308_A

Resumen de: WO2026034243A1

The present invention provides: a carbon carrier which enables the achievement of effective maintenance of the performance of a metal-loaded catalyst; and a metal-loaded catalyst which is capable of effectively maintaining the performance; an electrode; and a battery. The carbon carrier is for supporting catalyst metal particles. The volume of pores having a pore diameter of more than 0 nm and not more than 70 nm is 0.70 cm3/g or less as determined by a DFT method from the nitrogen adsorption isotherm at a temperature of 77K. The volume of pores having a pore diameter of less than 5 nm is 0.31 cm3/g or more as determined by the DFT method from the nitrogen adsorption isotherm. The true density as determined by a constant volume expansion method is 1.9 g/cm3 or more. The carbon carrier has a carbon structure wherein the half width at half maximum of a D band having a peak top near a Raman shift of 1340 cm-1 is 50 cm-1 or less in the Raman spectrum obtained by Raman spectroscopy.

炭素担体、金属担持触媒、電極及び電池

NºPublicación:  JP2026030306A 20/02/2026
Solicitante: 
日清紡ホールディングス株式会社
JP_2026030306_A

Resumen de: WO2026034241A1

The present invention provides: a carbon carrier which enables the achievement of effective maintenance of the performance of a metal-loaded catalyst; a metal-loaded catalyst which is capable of effectively maintaining the performance; an electrode; and a battery. The carbon carrier is for supporting catalyst metal particles. In a log differential pore volume distribution obtained by the DH method from the nitrogen adsorption isotherm at a temperature of 77K, the most frequent diameter, which is the pore diameter that gives the maximum value of log differential pore volume within a pore diameter range of more than 0 nm and not more than 100 nm, is less than 2.0 nm, and the log differential pore volume at the most frequent diameter is 1.70 cm3/g or less.

炭素担体、金属担持触媒、電極及び電池

NºPublicación:  JP2026030307A 20/02/2026
Solicitante: 
日清紡ホールディングス株式会社
JP_2026030307_A

Resumen de: WO2026034242A1

Provided are: a carbon carrier that effectively maintains the performance of a metal-supported catalyst; the metal-supported catalyst with effectively maintained performance; an electrode; and a battery. The carbon carrier is for supporting catalytic metal particles, wherein the volume of pores having a pore diameter in a range from greater than 0 nm to 100 nm is 1.10 cm3/g or less, the volume being obtained by the DH method from a nitrogen adsorption isotherm at a temperature of 77K, and in a differential pore volume distribution obtained by the DH method from the nitrogen adsorption isotherm, relative to the pore volume (cm3/g) in the range of pore diameters from greater than 0 nm to 100 nm, a ratio of the differential pore volume (cm3/(g·nm)) at the most frequent diameter, which is the pore diameter yielding the maximum value of the differential pore volume in the pore diameter range from greater than 0 nm to 100 nm, is 0.31 nm-1 or greater.

燃料電池電解槽のH+伝導率の向上

NºPublicación:  JP2026506069A 20/02/2026
Solicitante: 
フォージナノ、インク.
JP_2026506069_PA

Resumen de: US2024405244A1

A doped silica layer on a substrate comprises a substrate and a doped silica layer that has a thickness of 5 to 1000 nm, and a dopant:silicon atomic ratio of 0.5:99.5 to 15:85. The dopant is preferably P+5. The invention includes an electrolyzer comprising the doped silica layer and a method of electrolyzing water to produce hydrogen using the electrolyzer. The doped silica can be made by applying a silica layer by atomic layer deposition (ALD) and treating the silica layer with a phosphorus gas in which phosphorus is in the +3 valence state.

建設機械の制御装置および建設機械

NºPublicación:  JP2026028355A 20/02/2026
Solicitante: 
株式会社神戸製鋼所
JP_2026028355_PA

Resumen de: JP2026028355A

【課題】本発明は、燃料電池を最低出力で運用しても、蓄電池および補機を適正に運用しつつ、余剰電力を消費できる建設機械の制御装置および建設機械を提供する。【解決手段】本発明の建設機械の制御装置BCは、建設機械の起動後であって油圧アクチュエータ13を駆動していない際に、燃料電池2を最低出力で発電するように制御して燃料電池2で発電した最低発電電力、蓄電池3の充電電力、および、補機1が目標値で制御されて補機1で消費した消費電力に基づいて求めた余剰電力を電動機5で消費するように電動機5を制御する。【選択図】図2

金属分離板及びその製造方法

NºPublicación:  JP2026505970A 20/02/2026
Solicitante: 
ヒュンダイスチールカンパニー
JP_2026505970_PA

Resumen de: US2025364686A1

In one aspect, a metal separator is provided that includes a metal base material; and a coating layer formed on a surface of the metal base material and containing a conductive filler and an inorganic polymer.

燃料電池ケース

NºPublicación:  JP2026028549A 20/02/2026
Solicitante: 
トヨタ自動車株式会社
JP_2026028549_PA

Resumen de: JP2026028549A

【課題】燃料電池ケースの破損を防止する。【解決手段】内部に多数の燃料電池セル10が収容される燃料電池ケースである。上部ケース12aの下端と下部ケース12bの上端とが接合部14において接合されて組み立てられるケース本体12と、前記上部ケース12aの外面に締結される上部締結部20aと、前記下部ケース12bの外面に締結される下部締結部20bと、前記上部締結部と前記下部締結部の中間であって前記接合部14を、前記接合部14に対し間隔をあけて覆う膨出部20cと、を含むプロテクタ20と、を含み、前記上部締結部20aが締結される前記上部ケース12aの部分および前記下部締結部20bが締結される前記下部ケース12bの部分は、他の部分に比べ厚みが厚くなっている。【選択図】図2

BIPOLAR PLATES WITH VARIABLE FURCATION RATIOS

NºPublicación:  US20260051517A1 19/02/2026
Solicitante: 
HYDROGENICS CORP [CA]
HYDROGENICS CORPORATION
US_20260051517_PA

Resumen de: US20260051517A1

A bipolar plate includes a sheet having channels formed on a surface of the sheet, each channel including a header region, an active region, and an exhaust region. The channels are formed adjacent to each other and successively from a top side to a bottom side of the sheet. The active region is furcated into at least two active area channels along a longitudinal length of the active region from where the active region fluidically connects to the header region to where the active region fluidically connects to the exhaust region. A number of active area channels in the active regions of successive channels varies in one of a direction from the top side to the bottom side or a direction from the bottom side to the top side so as to achieve a uniform pressure drop and mass flow distribution across the plurality of channels.

COMBINED COVERING STRUCTURE AND ASSEMBLED SOFA STRUCTURE

NºPublicación:  WO2026036474A1 19/02/2026
Solicitante: 
QIDONG VISION MOUNTS MFG CO LTD [CN]
\u5357\u901A\u5E02\u4E45\u6B63\u4EBA\u4F53\u5DE5\u5B66\u80A1\u4EFD\u6709\u9650\u516C\u53F8
WO_2026036474_PA

Resumen de: WO2026036474A1

A combined covering structure and an assembled sofa structure. The combined covering structure comprises a plastic foaming main body (1) and a support frame (2), wherein the plastic foaming main body (1) is of a panel structure, and comprises an outer panel (11), an inner panel (12) arranged away from the outer panel (11), and a side wall (13) connecting the outer panel (11) and the inner panel (12); and the support frame (2) is connected to the inner panel (12), and the support frame (2) is at least partially embedded in the inner panel (12) in the direction of thickness, thereby forming a component where the plastic foaming main body (1) covers the support frame (2). By means of the design of this structural form, the overall thickness and volume of the combined covering structure are reduced, thereby reducing space occupation during transportation and reducing transportation costs; the strength and stability of the combined covering structure are enhanced by means of the support frame (2), and the overall weight can also be reduced; and the support frame (2) is hidden inside the plastic foaming main body (1), thereby improving the aesthetics, realizing protection for the internal support frame (2), and improving the durability.

LIQUID-COOLED CONDENSER

NºPublicación:  US20260049747A1 19/02/2026
Solicitante: 
UFI INNOVATION CENTER S R L [IT]
UFI INNOVATION CENTER S.R.L
US_20260049747_PA

Resumen de: US20260049747A1

A liquid-cooled condenser of a vehicle cooling system includes a refrigerant inlet and outlet mouths, through which the refrigerant fluid flows, and a liquid inlet mouth and a liquid outlet mouth through which the liquid flows. The liquid-cooled condenser includes upper and lower plate-like end elements, wherein the mouths are on the plate-like end elements. Intermediate plate-like elements in their mutual stacking define a refrigerant region, in which the refrigerant fluid flows, having refrigerant supply sections, in fluidic communication with the refrigerant inlet and outlet mouths. Transverse refrigerant sections, and a liquid region, into which the liquid flows, include liquid supply sections, in fluidic communication with the liquid inlet and outlet mouths. Transverse liquid sections alternate with the transverse refrigerant sections. A tubular element extending into the outlet refrigerant supply section, includes transverse section smaller than a transverse section of the outlet refrigerant supply section, forming a condensation gap.

LOW CROSSOVER ION EXCHANGE MEMBRANES FOR REDOX FLOW BATTERIES

NºPublicación:  AU2024320030A1 19/02/2026
Solicitante: 
UNIV OF SOUTH CAROLINA
UNIVERSITY OF SOUTH CAROLINA
AU_2024320030_PA

Resumen de: AU2024320030A1

Ion exchange membranes and methods for forming the membranes are described. The ion exchange membranes can be incorporated in a redox flow battery. The membranes can exhibit high conductivity of desired ions (e.g., protons or hydroxide ions) as well as stability and durability in the redox flow battery environment while also exhibiting low permeability to redox couple species. The membranes are formed according to a polyphosphoric acid formation technique and subjected to a densification and thermal treatment.

INTELLIGENT BUFFERED FUEL CELL WITH LOW IMPEDANCE

NºPublicación:  AU2024306035A1 19/02/2026
Solicitante: 
WILLIAMS RICHARD K
WILLIAMS, Richard K
AU_2024306035_PA

Resumen de: AU2024306035A1

A buffered fuel cell able to convert fuel such as hydrogen into electricity and concurrently store generated electric charge electrochemically in a low-impedance electrical buffer capable of delivering high currents to a variety of electrical loads without significant voltage sag. A charge transfer regulator controlling energy flow between an array of series-connected or series-parallel connected fuel cells and an electrical buffer limiting fuel cell current densities, controlling charging C-rates, and preventing buffer overcharging. An intelligent system for managing a buffered fuel cell by dynamically matching fuel cell stack voltage to an electrochemical buffer thereby expanding its usable humidity and temperature operating ranges, preventing buffer damage from excessive load currents or improper voltage operation, and actively regulating cell temperature and humidity. Electrical isolated fuel cell modules enabling stacked operation at high voltages, disabling and bypassing unused or redundant modules, and facilitating galvanically isolated electrical charging, voltage balancing, and system communication.

DEVICE FOR CARRYING OUT AN ELECTROCHEMICAL METHOD

NºPublicación:  AU2024296181A1 19/02/2026
Solicitante: 
H2I GREENHYDROGEN GMBH
H2I GREENHYDROGEN GMBH
AU_2024296181_PA

Resumen de: AU2024296181A1

The invention relates to a device (10) for carrying out an electrochemical method, in particular an electrolysis cell device and/or fuel cell device, comprising at least two electrochemical cells (1) which are arranged one after the other in a stacking direction (S) and at least one bipolar plate (2) between two adjacent electrochemical cells (1), wherein the electrochemical cells (1) are each delimited by at least one cell frame structure (5) in directions transverse to the stacking direction (S), characterised in that the edge region (3) of the bipolar plate (2) - preferably along the entire circumference of the bipolar plate (2) - is embedded in a casing (4), wherein preferably the casing (4) encloses the edge region (3) of the bipolar plate (2) on both sides.

METHOD FOR DIAGNOSING AN IMPENDING POLARITY REVERSEL OF A FUEL CELL

NºPublicación:  WO2026037754A1 19/02/2026
Solicitante: 
CELLCENTRIC GMBH & CO KG [DE]
CELLCENTRIC GMBH & CO. KG
WO_2026037754_PA

Resumen de: WO2026037754A1

The invention relates to a method for diagnosing a polarity reversal of a fuel cell in a fuel cell system (10). The fuel cell system comprises at least one fuel cell stack (11) having a plurality of fuel cells, as well as a cell voltage monitoring system (20). During a start-up process of the fuel cell system, in particular at cold ambient temperatures, open-circuit voltages of individual fuel cells are detected by means of the cell voltage monitoring system (20), and a reference value is determined on the basis of the detected open-circuit voltages, in particular a mean value of all open-circuit voltages. It is then determined whether a detected open-circuit voltage of at least one of the fuel cells deviates from the reference value, in particular whether the open-circuit voltage is lower than the mean value. If a deviation is detected, an impending polarity reversal of the at least one fuel cell is diagnosed accordingly, which would be expected to occur if an electrical load intended for operation were applied to the fuel cell stack (20). This creates the possibility of optionally modifying, delaying, or, if necessary, even completely preventing the connection of an electrical load. Subsequently, remedial measures, such as heating the fuel cell stack, may be carried out.

Wärmeverteilung für ein Kraftfahrzeug mit einem Koppel-Wärmeübertrager

NºPublicación:  DE102024123224A1 19/02/2026
Solicitante: 
MAN TRUCK & BUS SE [DE]
MAN Truck & Bus SE

Resumen de: DE102024123224A1

Die Erfindung betrifft eine Vorrichtung (100) zur Wärmeverteilung für ein Kraftfahrzeug (200). Die Vorrichtung (100) weist dabei eine Brennstoffzelle (1), einen Brennstoffzellen-Temperierkreislauf (10) zur Temperierung der Brennstoffzelle (1), einen Bremswiderstand (2) zur Umwandlung elektrischer Energie in Wärmeenergie, einen Bremswiderstand-Temperierkreislauf (20) zur Temperierung des Bremswiderstands (2) und einen Koppel-Wärmeübertrager (30), über den der Brennstoffzellen-Temperierkreislauf (10) und der Bremswiderstand-Temperierkreislauf (20) miteinander thermisch gekoppelt sind, auf.

Verfahren und Vorrichtung zum Überprüfen der Dichtheit eines Brennstoffzellensystems

NºPublicación:  DE102024207699A1 19/02/2026
Solicitante: 
BOSCH GMBH ROBERT [DE]
Robert Bosch Gesellschaft mit beschr\u00E4nkter Haftung

Resumen de: DE102024207699A1

Ein Verfahren zum Überprüfen der Dichtheit eines Brennstoffzellensystems (2), insbesondere eines Anodensubsystems (20), das in einem Brennstoffzellensystem (2) zur Versorgung wenigstens einer Brennstoffzelle (4) des Brennstoffzellensystems (2) mit gasförmigem Wasserstoff vorgesehen ist, und das in einer Strömungsrichtung des Wasserstoffs ein Anoden-Absperrventil (28) und ein Dosierventil (30) aufweist, umfasst: Schließen von Ventilen (10, 12) einer Kathode (6b) der wenigstens einen Brennstoffzelle (4); Einstellen eines Überdrucks im Anodensubsystem (20) durch Zufuhr eines Prüfgases aus einem Gasreservoir (22); Schließen des Anoden-Absperrventils (28) und des Dosierventils (30); Messen des Anodendrucks (pAn) und/oder des Kathodendrucks (pKat) vor und nach einer vorgegebenen ersten Wartezeit (TW1); Bestimmen eines Anodendruckgradienten (δpAn) und/oder eines Kathodendruckgradienten (δpKat); und Ausgeben einer Fehlermeldung, wenn der Betrag des Anodendruckgradienten (δpAn) einen vorgegebenen Anodendruckgradienten-Grenzwert übersteigt und/oder wenn der Betrag des Kathodendruckgradienten (δpKat) einen vorgegebenen Kathodendruckgradienten-Grenzwert übersteigt.

WASSERSTOFFGASMITIGATION FÜR BRENNSTOFFZELLEN

NºPublicación:  DE102025131895A1 19/02/2026
Solicitante: 
FORD GLOBAL TECH LLC [US]
Ford Global Technologies, LLC
CN_121528962_PA

Resumen de: DE102025131895A1

Eine Brennstoffzelle beinhaltet eine Anode, eine Kathode und eine die Anode und die Kathode trennende Membran. Eine Steuerung spritzt als Reaktion auf einen Ablauf eines vorbestimmten Zeitraums, der mit dem Trennen der Brennstoffzelle von einem elektrischen Bus beginnt, Wasserstoffgas in die Anode ein und spült Sauerstoff aus der Kathode.

VERFAHREN UND SYSTEM ZUM STEUERN EINES BRENNSTOFFZELLEN-ELEKTROFAHRZEUGS IN EINEM LEISTUNGSSPARMODUS

NºPublicación:  DE102025131692A1 19/02/2026
Solicitante: 
FORD GLOBAL TECH LLC [US]
Ford Global Technologies, LLC

Resumen de: DE102025131692A1

Während einiger Vorgänge wird ein Brennstoffzellensystem eines FCEV in einem Spannungsunterdrückungsmodus betrieben, wenn sich das FCEV in der Parkstellung befindet und der Leistungsbedarf niedrig ist, um den Verschleiß des Brennstoffzellensystems zu reduzieren. Im Spannungsunterdrückungsmodus kann sich jedoch aufgrund des geringen Stroms von Reaktantengasen, die in der Regel das Wasser entfernen, flüssiges Wasser in dem Brennstoffzellensystem ansammeln. Wenn das FCEV den Parkzustand verlässt und eine hohe Beschleunigung erfährt, kann das Wasser den Reaktantenstrom hemmen.

Brennstoffzellensystem und Fahrzeug mit dem Brennstoffzellensystem

NºPublicación:  DE102024123089A1 19/02/2026
Solicitante: 
BAYERISCHE MOTOREN WERKE AG [DE]
Bayerische Motoren Werke Aktiengesellschaft

Resumen de: DE102024123089A1

Die hier offenbarte Technologie betrifft erfindungsgemäß ein Brennstoffzellensystem (10), aufweisend eine Brennstoffzelle (11) mit einer Anode (12) und einer Kathode (13), einen Brennstoffpfad (14), einen Anodeneinlasspfad (15), einen Anodenabgaspfad (16), einen Rezirkulationspfad (17), einen Injektor (28), einen Ejektor (18) mit einem Mischbereich (35) und einer Treibdüse (30), wobei die Treibdüse (30) eine Einlassöffnung (31) zum Leiten von Brennstoff aus dem Injektor (28) in die Treibdüse (30) und eine Auslassöffnung (32) zum Leiten von Brennstoff aus der Treibdüse (30) in den Mischbereich (35) aufweist, wobei im Mischbereich (35) Brennstoff aus der Treibdüse (30) mit Anodenabgas aus dem Rezirkulationspfad (17) gemischt und als Mischgas in den Anodeneinlasspfad (15) geleitet wird, wobei der Injektor (28) konfiguriert ist, den Brennstoffdruck von Brennstoff in der Treibdüse (30) zu regeln und wobei der kleinste Strömungsquerschnitt (33) der Treibdüse (30) kleiner als der kleinste einstellbare Strömungsquerschnitt (29) des Injektors (28) ist. Die Technologie betrifft ferner ein Fahrzeug (100) mit dem Brennstoffzellensystem (10).

Wärmeverteilung für ein Kraftfahrzeug mit einem zuschaltbaren Zusatz-Wärmeübertrager

NºPublicación:  DE102024123225A1 19/02/2026
Solicitante: 
MAN TRUCK & BUS SE [DE]
MAN Truck & Bus SE

Resumen de: DE102024123225A1

Die Erfindung betrifft eine Vorrichtung (100) zur Wärmeverteilung für ein Kraftfahrzeug (200). Die Vorrichtung (100) weist eine Brennstoffzelle (1), einen Bremswiderstand (2) zur Umwandlung elektrischer Energie in Wärmeenergie und einen, von einem Temperierfluid durchströmbaren, Temperierkreislauf (10) zur Temperierung der Brennstoffzelle (1) und des Bremswiderstands (2) auf. Der Temperierkreislauf (10) ist dabei mit der Brennstoffzelle (1) und dem Bremswiderstand (2) thermisch gekoppelt und weist einen, von Luft durchströmbaren, Haupt-Wärmeübertrager (14) und einen zuschaltbaren, vorzugsweise von Luft durchströmbaren, Zusatz-Wärmeübertrager (16) auf, sodass vorzugsweise die Brennstoffzelle (1) und der Bremswiderstand (2) über den Temperierkreislauf (10) wahlweise mit dem Haupt-Wärmeübertrager (14) und Zusatz-Wärmeübertrager (16) oder nur mit dem Haupt-Wärmeübertrager (14) thermisch koppelbar sind.

Elektrochemische Vorrichtung

NºPublicación:  DE102024123586A1 19/02/2026
Solicitante: 
EKPO FUEL CELL TECH GMBH [DE]
EKPO Fuel Cell Technologies GmbH

Resumen de: DE102024123586A1

Um eine elektrochemische Vorrichtung, umfassend einen Stapel aus mehreren, längs einer Stapelrichtung aufeinander folgenden elektrochemischen Einheiten, die jeweils eine elektrochemisch aktive Membran-Elektroden-Anordnung, eine Bipolarplatte und eine Dichtungsanordnung umfassen, wobei die Membran-Elektroden-Anordnung eine kathodenseitige Gasdiffusionslage und eine anodenseitige Gasdiffusionslage umfasst und wobei die kathodenseitige Gasdiffusionslage an ein erstes Dichtelement und die anodenseitige Gasdiffusionslage an ein zweites Dichtelement der Dichtungsanordnung angebunden ist, zu schaffen, bei welcher Schädigungen an schlecht von den Bipolarplatten kontaktierten Bereichen der Membran-Elektroden-Anordnung und/oder Schädigungen an Bereichen der Membran-Elektroden-Anordnung, an denen sich Ablagerungen im Betrieb der elektrochemischen Vorrichtung anhäufen, verringert oder vorzugsweise ganz vermieden werden, wird vorgeschlagen, dass mindestens eine der Gasdiffusionslagen an ihrem Umfang mit mindestens einer Deaktivierungsausnehmung versehen ist, in welche sich ein Deaktivierungsbereich des Dichtelements, an das die betreffende Gasdiffusionslage angebunden ist, hinein erstreckt.

Bipolarplatte für eine elektrochemische Vorrichtung

NºPublicación:  DE102024123593A1 19/02/2026
Solicitante: 
EKPO FUEL CELL TECH GMBH [DE]
EKPO Fuel Cell Technologies GmbH

Resumen de: DE102024123593A1

Um eine Bipolarplatte für eine elektrochemische Einheit einer elektrochemischen Vorrichtung, wobei die Bipolarplatte mindestens eine Reaktantengas-Durchtrittsöffnung, einen elektrochemisch aktiven Bereich und mindestens einen Reaktantengas-Verteilbereich umfasst, wobei der elektrochemisch aktive Bereich und/oder der Reaktantengas-Verteilbereich mindestens einen von dem Reaktantengas durchströmbaren Primär-Strömungskanal umfasst, welcher über einen Verteilungsabschnitt, der einen oder mehrere Übergangskanäle umfasst, in Fluidverbindung mit mindestens einem Sekundär-Strömungskanal einer ersten Art und mindestens einem Sekundär-Strömungskanal einer zweiten Art steht, zu schaffen, bei welcher die Reaktantengas-Strömung beim Betrieb der elektrochemischen Vorrichtung möglichst gleichmäßig auf die Sekundär-Strömungskanäle aufgeteilt wird, wird vorgeschlagen, dass der mindestens eine Übergangskanal mindestens eine Umlenkeinrichtung zur Umlenkung eines Strömungsanteils des Reaktantengases hin zu einem demselben Übergangskanal zugeordneten Sekundär-Strömungskanal der ersten Art umfasst und/oder dass der mindestens eine Übergangskanal mindestens eine Umlenkeinrichtung zur Umlenkung eines Strömungsanteils des Reaktantengases hin zu einem einem anderen Übergangskanal zugeordneten Sekundär-Strömungskanal der ersten Art umfasst.

Verfahren zur Bestimmung einer Verunreinigung an Bauteilen für elektrochemische Zellen mittels Fluoreszenz und entsprechende Messvorrichtung

NºPublicación:  DE102024207785A1 19/02/2026
Solicitante: 
SIEMENS ENERGY GLOBAL GMBH & CO KG [DE]
Siemens Energy Global GmbH & Co. KG

Resumen de: DE102024207785A1

Es wird ein Verfahren zur Bestimmung einer Verunreinigung (1) an Bauteilen für elektrochemische Zellen, insbesondere Bauteile für die Wasserelektrolyse, mittels Fluoreszenz angegeben. Das Verfahren umfasst, (S1) das Bereitstellen einer Bauteilprobe (2) zum Vermessen der Verunreinigung, (S2) Anregung der Bauteilprobe (2) mit einer Fluoreszenzstrahlung, (S3) Detektieren der durch die Anregung erzeugten Fluoreszenz, und (S4) das Rückschließen von einem aufgenommenen Fluoreszenzsignal (3) auf eine Menge an Verunreinigung (1) der Bauteilprobe (2) wobei eine Signalstärke des aufgenommenen Fluoreszenzsignals (3) mit einem Korrelationsparameter (s) korreliert wird, um die Reinheit der Bauteilprobe (2) zu verifizieren. Weiterhin werden die Verwendung einer Fluoreszenzmessung und entsprechende Messvorrichtung (20) zur Durchführung des Verfahrens angegeben.

Verfahren, Steuerungsvorrichtung und Computerprogramm zum Ermitteln des Anoden-Lambdawerts in einem Anodenleitungssystem eines Brennstoffzellensystems sowie Anoden-Lambdaermittlungsvorrichtung, Brennstoffzellensystem, Fahrzeug und computerlesbares Medium

NºPublicación:  DE102024207762A1 19/02/2026
Solicitante: 
SCHAEFFLER TECHNOLOGIES AG [DE]
Schaeffler Technologies AG & Co. KG

Resumen de: DE102024207762A1

Die vorliegende Erfindung betrifft ein Verfahren, eine Steuerungsvorrichtung und ein Computerprogramm zum Ermitteln des Anoden-Lambdawerts des Gasgemischs in einem Anodenleitungssystem eines Brennstoffzellensystems sowie eine Anoden-Lambdaermittlungsvorrichtung, ein Brennstoffzellensystem, ein Fahrzeug und ein computerlesbares Medium. Das erfindungsgemäße Verfahren umfasst ein Empfangen eines Massenstromsignals, ein Empfangen eines ersten Brennstoffsignals, ein Empfangen eines zweiten Brennstoffsignals, ein Ermitteln des Massenstroms des an der Anode der Brennstoffzelle (110) des Brennstoffzellensystems (100) oxidierten Brennstoffs zumindest teilweise basierend auf dem empfangenen Massenstromsignal und/oder auf einem von einem Stromsensor (104) empfangenen Stromsignal, das repräsentativ ist für den von der Brennstoffzelle (110) abgegebenen elektrischen Strom, ein Ermitteln des Anoden-Lambdawerts des Gasgemischs im Anodenleitungssystems (130) des Brennstoffzellensystems (100) zumindest teilweise basierend auf dem Massenstromsignal, dem ersten Brennstoffsignal, dem zweiten Brennstoffsignal und dem ermittelten Massenstrom des an der Anode der Brennstoffzelle (110) des Brennstoffzellensystems (100) oxidierten Brennstoffs, und ein Senden eines Anoden-Lambdasignals, das repräsentativ ist für den ermittelten Anoden-Lambdawert.

PRESSURIZED FUEL CELL SYSTEM

NºPublicación:  WO2026039428A1 19/02/2026
Solicitante: 
JOBY AERO INC [US]
JOBY AERO, INC
WO_2026039428_PA

Resumen de: WO2026039428A1

An aircraft fuel cell system includes a pressure vessel, a fuel cell stack located in the pressure vessel, a source of compressed air, and a valve to supply compressed air from the source of compressed air into the pressure vessel. Also included in the pressure vessel may be a coolant reservoir for a coolant loop for the fuel cell stack, as well as power electronics for the aircraft. A control system may purge the pressure vessel via a vent coupled to an external environment if an unacceptable level of hydrogen in the pressure vessel is reported by the hydrogen level sensor.

METHOD AND DEVICE FOR CHECKING THE TIGHTNESS OF A FUEL CELL SYSTEM

NºPublicación:  WO2026037610A1 19/02/2026
Solicitante: 
ROBERT BOSCH GMBH [DE]
ROBERT BOSCH GMBH
WO_2026037610_PA

Resumen de: WO2026037610A1

The invention relates to a method for checking the tightness of a fuel cell system (2), in particular an anode subsystem (20), which is provided in a fuel cell system (2) for supplying at least one fuel cell (4) of the fuel cell system (2) with gaseous hydrogen and which has an anode shut-off valve (28) and a metering valve (30) in a flow direction of the hydrogen, the method comprising: closing valves (10, 12) of a cathode (6b) of the at least one fuel cell (4); adjusting an overpressure in the anode subsystem (20) by supplying a test gas from a gas reservoir (22); closing the anode shut-off valve (28) and the metering valve (30); measuring the anode pressure (pAn) and/or the cathode pressure (pKat) before and after a predetermined first waiting time (TW1); determining an anode pressure gradient (δpAn) and/or a cathode pressure gradient (δpKat); and outputting an error message if the value of the anode pressure gradient (δpAn) exceeds a predefined anode pressure gradient limit value and/or if the value of the cathode pressure gradient (δpKat) exceeds a predefined cathode pressure gradient limit value.

METHOD FOR DETERMINING A CONTAMINATION OF COMPONENTS FOR ELECTROCHEMICAL CELLS BY MEANS OF FLUORESCENCE AND CORRESPONDING MEASURING DEVICE

NºPublicación:  WO2026037585A1 19/02/2026
Solicitante: 
SIEMENS ENERGY GLOBAL GMBH & CO KG [DE]
SIEMENS ENERGY GLOBAL GMBH & CO. KG
WO_2026037585_PA

Resumen de: WO2026037585A1

The invention relates to a method for determining a contamination (1) of components for electrochemical cells, in particular components for water electrolysis, by means of fluorescence. The method comprises (S1) providing a component sample (2) for measuring the contamination, (S2) exciting the component sample (2) with fluorescence radiation, (S3) detecting the fluorescence generated by the excitation, and (S4) inferring an amount of contamination (1) of the component sample (2) from a recorded fluorescence signal (3), wherein a signal strength of the recorded fluorescence signal (3) is correlated with a correlation parameter (s) in order to verify the purity of the component sample (2). The invention further relates to the use of a fluorescence measurement and to a corresponding measuring device (20) for carrying out the method.

Verfahren zur Minimierung von Verzug bei stoffschlüssigen Fügeverfahren

NºPublicación:  DE102024207724A1 19/02/2026
Solicitante: 
BOSCH GMBH ROBERT [DE]
Robert Bosch Gesellschaft mit beschr\u00E4nkter Haftung

Resumen de: DE102024207724A1

Die Erfindung bezieht sich auf ein Verfahren zur Minimierung von Verzug beim stoffschlüssigen Fügen, insbesondere mittels eines Schmelzschweißverfahrens von ebenen Fügepartnern (50, 52), insbesondere Monopolarplatten (54). Es werden zumindest nachfolgende Verfahrensschritte durchlaufen: Einlegen (72) der Fügepartner (50, 52) zwischen Elektroden (32, 38), die eine einem zu erwartenden Verzug der gefügten Fügepartner (50, 52) entgegenwirkende Geometrie (56, 58) aufweisen. Anschließend erfolgt ein Beaufschlagen der Elektroden (32, 38) mit einer Fügekraft und eine zumindest elastische Verformung (67) der Fügepartner (50, 52) durch Aufbringen einer Biegespannung (64) auf die Fügepartner (50, 52). Danach wird ein Schweißstrom I in die gemäß den vorstehenden Verfahrensschritten konditionierten Fügepartner (50, 52) eingeleitet, es erfolgt ein Erhitzen des Werkstoffs der Fügepartner (50, 52) in zumindest einer Fügezone (66) und einer diese umgebenden Wärmeeinflusszone (68). Anschließend erfolgt ein Auseinanderfahren/Öffnen (76) der Elektroden (32, 38) und ein Abbau der in den stoffschlüssig gefügten Fügepartnern (32, 38) induzierten Biegespannung (64).

Verfahren zum Bearbeiten eines Bearbeitungsguts

NºPublicación:  DE102024123473A1 19/02/2026
Solicitante: 
ELRINGKLINGER AG [DE]
ElringKlinger AG

Resumen de: DE102024123473A1

Verfahren zum Bearbeiten eines Bearbeitungsguts, wobei das Bearbeiten des Bearbeitungsguts zwischen zwei Werkzeugen erfolgt, die um vorzugsweise parallel zueinander verlaufende Werkzeugachsen rotieren, eines der beiden Werkzeuge eine Bearbeitungseinheit aufweist und das andere der beiden Werkzeuge eine Bearbeitungsgegeneinheit aufweist, wobei die Bearbeitungseinheit und die Bearbeitungsgegeneinheit zusammen eine Umformanordnung bilden und das Bearbeiten des Bearbeitungsguts in der Umformanordnung durch eine Umformung des Bearbeitungsguts erfolgt, wobei bei der Umformung am Bearbeitungsgut eine dreidimensionale Struktur oder mehrere dreidimensionale Strukturen, die beispielsweise eine Kanalstruktur und/oder eine Dichtstruktur und/oder eine Stützstruktur aufweisen kann oder können, ausgebildet wird oder ausgebildet werden.

SYSTEM UND VERFAHREN ZUM VORHERSAGEN EINES VERLASSENS EINER SPANNUNGSUNTERDRÜCKUNGSSTEUERUNG IN EINEM BRENNSTOFFZELLEN-ELEKTROFAHRZEUG

NºPublicación:  DE102025131901A1 19/02/2026
Solicitante: 
FORD GLOBAL TECH LLC [US]
Ford Global Technologies, LLC

Resumen de: DE102025131901A1

Ein Fahrzeugsystem für ein Brennstoffzellen-Elektrofahrzeug (FCEV) beinhaltet ein Brennstoffzellensystem, das einen Brennstoffzellenstapel beinhaltet, und eine oder mehrere Steuerungen, die dazu konfiguriert sind, vor der Betätigung eines Fahrpedals als Reaktion auf einen Fahrabsichtsvorgang an einer Fahrzeugkomponente aus einer Vielzahl von Fahrzeugkomponenten Reaktanten in den Brennstoffzellenstapel einzuspritzen, der eine Leistungssparsteuerung des Brennstoffzellensystems verlässt.

Verfahren zum Diagnostizieren einer bevorstehenden Polaritätsumkehrung einer Brennstoffzelle

NºPublicación:  DE102024123127A1 19/02/2026
Solicitante: 
CELLCENTRIC GMBH & CO KG [DE]
cellcentric GmbH & Co. KG

Resumen de: DE102024123127A1

Es wird ein Verfahren zum Diagnostizieren einer Polaritätsumkehrung einer Brennstoffzelle in einem Brennstoffzellensystem (10) offenbart. Das Brennstoffzellensystem weist zumindest einen Brennstoffzellenstapel (11) mit einer Vielzahl von Brennstoffzellen sowie ein Zellspannungsüberwachungssystem (20) auf. Es werden Ruhespannungen einzelner der Brennstoffzellen mittels des Zellspannungsüberwachungssystems (20) während eines Startvorgangs des Brennstoffzellensystems erfasst, insbesondere bei kalten Umgebungstemperaturen und ein Referenzwert auf Basis der erfassten Ruhespannungen bestimmt, insbesondere eine Mittelwert aller Ruhespannungen. Es wird dann festgestellt, ob eine erfasste Ruhespannung zumindest einer der Brennstoffzellen eine Abweichung von dem Referenzwert aufweist, insbesondere ob die Ruhespannung geringer ist als der Mittelwert. Falls eine Abweichung festgestellt wird, wird entsprechend eine bevorstehende Polaritätsumkehrung der zumindest einen Brennstoffzelle diagnostiziert, welche voraussichtlich eintreten würde, wenn eine für den Betrieb vorgesehene elektrische Last an den Brennstoffzellenstapel (20) angelegt wird. Dadurch wird die Möglichkeit geschaffen, das Zuschalten einer elektrischen Last gegebenenfalls zu modifizieren, zu verzögern oder notfalls auch ganz zu unterbinden. Es können dann Abhilfemaßnahmen, wie ein Beheizen des Brennstoffzellenstapels, durchgeführt werden.

燃料電池用水素制御システム

NºPublicación:  JP2026027792A 19/02/2026
Solicitante: 
株式会社フジタ
JP_2026027792_PA

Resumen de: JP2026027792A

【課題】水素供給部を昇温し、燃料電池を安定して作動させる。【解決手段】燃料電池用水素制御システムは、水素と、空気に含まれる酸素を用いて発電する燃料電池と、前記燃料電池に水素を供給する水素供給部と、前記燃料電池に外部から空気を供給する第1空気風路410と、前記燃料電池から排気された空気を前記外部に排出する第2空気風路420と、を有し、前記水素供給部は、前記第2空気風路内に設けられる。そして、上記燃料電池用水素制御システムにおいて、前記燃料電池に供給される前記第1空気風路内の空気は、前記第2空気風路内を流れ、前記水素供給部を通過した空気と熱交換して昇温することを可能とする熱交換部440を備える。【選択図】図2

燃料電池用電極触媒

NºPublicación:  JP2026027848A 19/02/2026
Solicitante: 
株式会社キャタラー
JP_2026027848_PA

Resumen de: JP2026027848A

【課題】高い触媒活性と、高度の耐久性とが両立された、燃料電池用電極触媒を提供すること。【解決手段】導電性担体粒子上にPtSn合金粒子が担持されて成る、燃料電池用電極触媒であって、下記数式(1)で算出される結晶性PtSn合金の割合R(cryst)が、0.40%以下である、燃料電池用電極触媒。R(cryst)=R(Pt3Sn)+R(PtSn)+R(Pt2Sn3)+R(Pt2Sn) (1)(数式(1)中、R(Pt3Sn)、R(PtSn)、R(Pt2Sn3)、及びR(Pt2Sn)は、それぞれ、PtSn合金粒子中の各結晶構造の割合(%)である。)【選択図】図1

燃料電池用撥水層の製造方法

NºPublicación:  JP2026027667A 19/02/2026
Solicitante: 
株式会社豊田中央研究所
JP_2026027667_A

Resumen de: JP2026027667A

【課題】基材に対して高い剥離強度を示す燃料電池用撥水層の製造方法を提供すること。【解決手段】導電性粒子と熱可塑性フッ素樹脂粉末との複合粉末をドライ成膜法により成膜して複合粉末層を形成する成膜工程と、前記複合粉末層を加圧して圧密化する圧密工程と、前記圧密化後の複合粉末層を前記熱可塑性フッ素樹脂の融点以上350℃以下の範囲内の温度で熱処理することにより、前記熱可塑性フッ素樹脂により前記導電性粒子同士が結着している燃料電池用撥水層を形成する撥水層形成工程と、を含み、前記圧密化後の複合粉末層を熱処理する際に、前記熱処理温度における前記熱可塑性フッ素樹脂の溶融粘度が50~50000Pa・sの範囲内となるようにすることを特徴とする燃料電池用撥水層の製造方法。【選択図】なし

燃料電池用シール剤及びそれを用いた燃料電池

NºPublicación:  JP2026027666A 19/02/2026
Solicitante: 
日本化薬株式会社
JP_2026027666_A

Resumen de: JP2026027666A

【課題】本発明は、低汚染性に優れた燃料電池用シール剤および当該シール剤を有してなる燃料電池を提供する。【解決手段】(A)分子内にエチレン性不飽和基を少なくとも1つ有する光重合開始剤と、(B)硬化性化合物とを含有する燃料電池用シール剤。【選択図】なし

Vorrichtung und Verfahren zum Transport und Vereinzeln von Zuschnitten einer Materialbahn

NºPublicación:  DE102024123355A1 19/02/2026
Solicitante: 
OPTIMA LIFE SCIENCE GMBH [DE]
OPTIMA life science GmbH
EP_4696628_PA

Resumen de: DE102024123355A1

Die Erfindung betrifft eine Vorrichtung (100) zum Transport und Vereinzeln von Zuschnitten (1010) einer Materialbahn (1000) mit einem Vakuumzylinder (8) zum Transport der Zuschnitte (1010), einem Vakuumtransportzylinder (7) zum Weitertransport der Zuschnitte (1010) und mit einer Steuereinheit (9). Erfindungsgemäß weist der Vakuumzylinder (8) ein schwenkbares Vakuumsegment (82) auf und es ist ein Schwenkantrieb (85) vorgesehen zum Verschwenken des Vakuumsegments im laufenden Betrieb. So wird ermöglicht, dass der wirksame Vakuumbereich auf einer Mantelfläche des Vakuumzylinders (8) reduzierbar ist.Die Erfindung betrifft auch ein Verfahren zum Transport und Vereinzeln von Zuschnitten einer Materialbahn.Vorrichtung und Verfahren ermöglichen eine schonendere und genauere Übergabe von Zuschnitten von einem Vakuumzylinder auf einen Vakuumtransportzylinder.

FUEL CELL SYSTEM AND VEHICLE HAVING THE FUEL CELL SYSTEM

NºPublicación:  WO2026037796A1 19/02/2026
Solicitante: 
BAYERISCHE MOTOREN WERKE AG [DE]
BAYERISCHE MOTOREN WERKE AKTIENGESELLSCHAFT
WO_2026037796_PA

Resumen de: WO2026037796A1

The invention relates to a fuel cell system (10) comprising: a fuel cell (11) having an anode (12) and a cathode (13); a fuel path (14); an anode inlet path (15); an anode exhaust gas path (16); a recirculation path (17); an injector (28); and an ejector (18) having a mixing region (35) and a motive nozzle (30); wherein: the motive nozzle (30) has an inlet opening (31) for conducting fuel from the injector (28) into the motive nozzle (30) and has an outlet opening (32) for conducting fuel from the motive nozzle (30) into the mixing region (35); fuel from the motive nozzle (30) is mixed, in the mixing region (35), with anode exhaust gas from the recirculation path (17) and is conducted as mixed gas into the anode inlet path (15); the injector (28) is configured to control the fuel pressure of fuel in the motive nozzle (30); and the smallest flow cross-section (33) of the motive nozzle (30) is smaller than the smallest settable flow cross-section (29) of the injector (28). The invention also relates to a vehicle (100) having the fuel cell system (10).

METHODS OF MAKING A FE-CR ELECTROLYTE AND REDOX FLOW BATTERY SYSTEMS USING THE ELECTROLYTE

NºPublicación:  WO2026039360A1 19/02/2026
Solicitante: 
COUGAR CREEK TECH LLC [US]
COUGAR CREEK TECHNOLOGIES, LLC
WO_2026039360_PA

Resumen de: WO2026039360A1

A method of making an Fe-Cr electrolyte includes a) oxidizing a carbon- containing Fe-Cr alloy with Fe2O3 or FeO; and b) treating the oxidized carbon-containing Fe-Cr alloy with FeCl3 or HC1 or any combination thereof to produce a FeCl2-CrCl3 electrolyte. The method may also include treating, under reducing conditions, a starting material, such as chromite ore. with a carbon source to produce the carbon-containing Fe-Cr alloy. Additionally or alternatively, the method may include removing a portion of the FeCl2 from the FeCl2-CrCl3 electrolyte to obtain a selected iron to chromium molar ratio for the Fe-Cr electrolyte.

THC VAPOR FUEL CELL

NºPublicación:  WO2026039238A1 19/02/2026
Solicitante: 
CONSUMER SAFETY TECH LLC [US]
CONSUMER SAFETY TECHNOLOGY, LLC
WO_2026039238_PA

Resumen de: WO2026039238A1

A cannabinoid fuel cell is provided. The cannabinoid fuel cell can include a fuel cell housing, a membrane electrode assembly (MEA) comprising an anode, a cathode, an ion exchange membrane disposed between the anode and the cathode, and an electrolyte, wherein the MEA comprises an anode side and a cathode side; and a buffer flow plate defining a first serpentine channel. The buffer flow plate can be disposed between the anode side of the MEA and the fuel cell housing.

SALINITY GRADIENT POWER GENERATION APPARATUS AND METHOD, AND WATER-ELECTRICITY CO-GENERATION APPARATUS THEREOF

NºPublicación:  WO2026036458A1 19/02/2026
Solicitante: 
ZHONGKE JIAHONG FOSHAN NEW ENERGY TECH CO LTD [CN]
\u4E2D\u79D1\u5609\u9E3F\uFF08\u4F5B\u5C71\u5E02\uFF09\u65B0\u80FD\u6E90\u79D1\u6280\u6709\u9650\u516C\u53F8
WO_2026036458_PA

Resumen de: WO2026036458A1

The present application relates to the technical field of comprehensive utilization of waste heat, and discloses a salinity gradient power generation apparatus and method, and a water-electricity co-generation apparatus thereof. In the salinity gradient power generation apparatus and method provided in the present application, an anode and a cathode respectively undergo hydrogen oxidation and reduction reactions, the anode consumes hydrogen, the cathode generates hydrogen, and the hydrogen circulates between the cathode and the anode by means of pipes without net consumption, thereby efficiently utilizing salinity gradient energy, achieving an environmentally friendly process, and producing no carbon emissions; compared with redox reaction systems using Fe2+/Fe3+ or ferricyanide/ferrocyanide, the system is free from the limitation of concentration polarization; compared with redox systems based on water electrolysis, lower overpotential and higher efficiency are achieved; and a small amount of H2 is used, with no safety risk and no net consumption throughout the system. The water-electricity co-generation apparatus based on the salinity gradient power generation apparatus of the present application can make full use of waste heat to produce fresh water and generate electricity simultaneously, achieving high efficiency and pollution-free operation.

WATER-POWER-HEAT COGENERATION DEVICE AND CONTROL METHOD

NºPublicación:  WO2026036457A1 19/02/2026
Solicitante: 
ZHONGKE JIAHONG FOSHAN NEW ENERGY TECH CO LTD [CN]
\u4E2D\u79D1\u5609\u9E3F\uFF08\u4F5B\u5C71\u5E02\uFF09\u65B0\u80FD\u6E90\u79D1\u6280\u6709\u9650\u516C\u53F8
WO_2026036457_PA

Resumen de: WO2026036457A1

A water-power-heat cogeneration device and a control method, relating to the technical field of fuel cells and comprehensive energy utilization. Waste heat of a fuel cell is used to desalinate seawater, and salinity gradient power between brine generated by seawater desalination and the seawater or fresh water can be directly used for power generation. The cogeneration device mainly consists of a fuel cell module, a thermal seawater desalination module, a salinity gradient power generation module, and a domestic hot water module. The waste heat of the fuel cell is used for power generation by automatic switching between two modes, i.e., generating power while producing the fresh water, and closed-loop salinity gradient power generation. The closed-loop mode eliminates the need for seawater pretreatment, thereby avoiding biofouling on the salinity gradient power generation module, improving power generation efficiency and comprehensive energy utilization efficiency, and reducing maintenance costs.

FUEL CELL MODULE AND MANUFACTURING METHOD THEREFOR

NºPublicación:  WO2026036333A1 19/02/2026
Solicitante: 
TINER TECH CO LTD [CN]
\u5730\u8BFA\u79D1\u6280\u80A1\u4EFD\u6709\u9650\u516C\u53F8
WO_2026036333_PA

Resumen de: WO2026036333A1

A fuel cell module (100), comprising a porous substrate (10), a first electrode layer (20), an electrolyte layer (30), and a second electrode layer (40). The porous substrate (10) is conductive, the porous substrate (10) has a tubular shape, and the porous substrate (10) comprises a tubular body (11); the first electrode layer (20) is located on the tubular body (11) of the porous substrate (10); the electrolyte layer (30) is located on the surface of the side of the first electrode layer (20) distant from the tubular body (11); and the second electrode layer (40) is located on the surface of the side of the electrolyte layer (30) distant from the first electrode layer (20). The fuel cell module (100) has a simple structure, and can achieve the purposes of reducing design complexity and increasing energy density per unit volume.

HYDROGEN CATALYST FOR VEHICLE COOLING

NºPublicación:  US20260049695A1 19/02/2026
Solicitante: 
DAIMLER TRUCK NORTH AMERICA LLC [US]
Daimler Truck North America LLC
US_20260049695_PA

Resumen de: US20260049695A1

A hydrogen catalyst for vehicle cooling is described. A system may include a catalyst positioned in a flow path coupling a hydrogen storage tank to a hydrogen consumer, the catalyst configured to convert hydrogen fuel from a para state to an ortho state via an endothermic reaction. The system may further include a coolant circuit configured to circulate coolant through the hydrogen consumer and a coolant-fed heat exchanger configured to thermally couple the coolant in the coolant circuit to the hydrogen fuel, the coolant-fed heat exchanger arranged upstream of the hydrogen consumer in the flow path.

RUBBER COMPOSITION

NºPublicación:  US20260049170A1 19/02/2026
Solicitante: 
NOK CORP [JP]
NOK CORPORATION
US_20260049170_A1

Resumen de: US20260049170A1

A rubber composition having, based on 100 parts by weight of (A) a copolymer rubber polymer that includes at least one of ethylene-butene-non-conjugated diene terpolymer rubber, ethylene-propylene-non-conjugated diene terpolymer rubber, and ethylene-propylene copolymer rubber, 35 to 55 parts by weight of (B) carbon black having an iodine adsorption of 10 to 25 mg/g and a DBP oil absorption of 30 to 140 ml/100 g, 5 to 23 parts by weight of (C) a linear hydrocarbon-based softener having a kinematic viscosity at 40° C. of 8 to 500 mm2/sec and a pour point of −30° C. or less, and 0.5 to 10 parts by weight of (D) an organic peroxide.

POWER SYSTEMS FOR DATA CENTERS

NºPublicación:  US20260051756A1 19/02/2026
Solicitante: 
DATA VOLT INFORMATION TECH COMPANY [SA]
Data Volt Information Technology Company
US_20260051756_PA

Resumen de: US20260051756A1

Systems and methods are described for powering a load, such as a data center, with renewable energy from a renewable energy source. When the renewable energy is greater than a demand of the load, excess renewable energy is used to power a hydrogen production device or charge a battery depending on whether or not the charge level of the battery satisfies an upper threshold charge level, respectively. When the renewable energy is less than the demand of the load and the charge level of the battery satisfies a lower threshold charge level, the load is powered with energy from the battery. When the renewable energy is less than the demand of the load and the charge level of the battery does not satisfy the lower threshold charge level, the load is powered and the battery is charged with energy generated by the hydrogen-based energy generator.

DEVICE AND METHOD FOR TRANSPORTING AND SEPARATING BLANKS FROM A MATERIAL WEB

NºPublicación:  US20260048957A1 19/02/2026
Solicitante: 
OPTIMA LIFE SCIENCE GMBH [DE]
OPTIMA life science GmbH
US_20260048957_PA

Resumen de: US20260048957A1

The invention relates to a device (100) for transporting and separating blanks (1010) from a material web (1000), comprising a vacuum cylinder (8) for transporting the blanks (1010), a vacuum transport cylinder (7) for further transporting the blanks (1010), and a control unit (9). According to the invention, the vacuum cylinder (8) has a pivotable vacuum segment (82) and a rotary actuator (85) is provided for rotating the vacuum segment during operation. This makes it possible to reduce the effective vacuum region on a surface of the vacuum cylinder (8). The invention also relates to a method for transporting and separating blanks from a material web. A device and method enable a gentler and more accurate transfer of blanks from a vacuum cylinder to a vacuum transport cylinder.

METHOD AND SYSTEM FOR CONTROLLING A FUEL CELL ELECTRIC VEHICLE UNDER A POWER CONSERVATION MODE

NºPublicación:  US20260048685A1 19/02/2026
Solicitante: 
FORD GLOBAL TECH LLC [US]
Ford Global Technologies, LLC
US_20260048685_PA

Resumen de: US20260048685A1

During some operations, a fuel cell system of a FCEV is operated in a voltage suppression mode when the FCEV is in park and power demand is low to reduce wear of the fuel cell system. However, in the voltage suppression mode, liquid water may accumulate in the fuel cell system, because of low flow of reactant gases which typically remove the water. If the FCEV exits the park state and undergoes a high acceleration, the water can inhibit reactant flow.

METHOD FOR RECYCLING AQUEOUS ELECTROLYTE BASED ON QUINONE COMPOUNDS OF A REDOX FLOW BATTERY

NºPublicación:  US20260051523A1 19/02/2026
Solicitante: 
KEMIWATT [FR]
KEMIWATT
US_20260051523_PA

Resumen de: US20260051523A1

The present invention relates to a method for recycling an aqueous electrolyte of a redox flow battery to be recycled, the aqueous electrolyte comprising at least one electroactive compound and an aqueous solvent, the electroactive compound being at least an oxidized or reduced form of a redox couple, the oxidized form of which is a compound comprising a quinone unit, for example a benzoquinone unit, naphthoquinone unit or anthraquinone unit, preferably an anthraquinone unit, characterized in that it comprises a step (300) of precipitating the electroactive compound.

METHODS OF MAKING A FE-CR ELECTROLYTE AND REDOX FLOW BATTERY SYSTEMS USING THE ELECTROLYTE

NºPublicación:  US20260051524A1 19/02/2026
Solicitante: 
COUGAR CREEK TECH LLC [US]
Cougar Creek Technologies, LLC
US_20260051524_PA

Resumen de: US20260051524A1

A method of making an Fe—Cr electrolyte includes a) oxidizing a carbon-containing Fe—Cr alloy with Fe2O3 or FeO; and b) treating the oxidized carbon-containing Fe—Cr alloy with FeCl3 or HCl or any combination thereof to produce a FeCl2—CrCl3 electrolyte. The method may also include treating, under reducing conditions, a starting material, such as chromite ore, with a carbon source to produce the carbon-containing Fe—Cr alloy. Additionally or alternatively, the method may include removing a portion of the FeCl2 from the FeCl2—CrCl3 electrolyte to obtain a selected iron to chromium molar ratio for the Fe—Cr electrolyte.

FUEL CELL SYSTEM INCLUDING SPLIT AIR FLOW STREAMS TO FUEL CELL COLUMN AND ATO AND METHOD OF OPERATING THE SAME

NºPublicación:  US20260051519A1 19/02/2026
Solicitante: 
BLOOM ENERGY CORP [US]
Bloom Energy Corporation
US_20260051519_PA

Resumen de: US20260051519A1

A method of operating a fuel cell system includes providing fuel to a fuel cell column located in a hotbox, providing a column air stream to the fuel cell column and a separate anode tail gas oxidizer (ATO) air stream to an ATO located in the hotbox, where the ATO air stream bypasses the fuel cell column, and providing an anode exhaust from the fuel cell column to the ATO.

FUEL CELL HYDROGEN GAS MITIGATION

NºPublicación:  US20260051520A1 19/02/2026
Solicitante: 
FORD GLOBAL TECH LLC [US]
FORD GLOBAL TECHNOLOGIES, LLC
US_20260051520_PA

Resumen de: US20260051520A1

A fuel cell includes an anode, a cathode, and a membrane separating the anode and the cathode. A controller, responsive to expiration of a predetermined time period that begins with disconnection of the fuel cell from an electrical bus, injects hydrogen gas into the anode and purges the cathode of oxygen.

SYSTEM AND METHOD FOR PREDICTING EXIT FROM A VOLTAGE SUPPRESSION CONTROL IN A FUEL CELL ELECTRIC VEHICLE

NºPublicación:  US20260051522A1 19/02/2026
Solicitante: 
FORD GLOBAL TECH LLC [US]
Ford Global Technologies, LLC
US_20260051522_PA

Resumen de: US20260051522A1

A vehicle system for fuel cell electric vehicle (FCEV) includes a fuel cell system including a fuel cell stack, and one or more controllers configured to inject reactants to the fuel cell stack exiting a power conservation control of the fuel cell system prior to actuation of an accelerator in response to a drive intent operation to a vehicle component from among a plurality of vehicle components.

FUEL CELL SYSTEM

NºPublicación:  US20260051521A1 19/02/2026
Solicitante: 
HYUNDAI MOTOR COMPANY [KR]
KIA CORP [KR]
Hyundai Motor Company,
Kia Corporation
US_20260051521_PA

Resumen de: US20260051521A1

The present disclosure relates to a fuel cell system including a fuel cell stack, a humidifier configured to humidify air, which is to be supplied to the fuel cell stack, by means of moist air discharged from the fuel cell stack, a cleaning water supply line connected to the humidifier and configured to selectively supply cleaning water to the humidifier, and a cleaning water discharge line connected to the humidifier and configured to discharge the cleaning water to the outside of the humidifier, thereby obtaining an advantageous effect of improving durability and stability.

PRESSURIZED FUEL CELL SYSTEM

NºPublicación:  US20260051518A1 19/02/2026
Solicitante: 
JOBY AERO INC [US]
Joby Aero, Inc
US_20260051518_PA

Resumen de: US20260051518A1

An aircraft fuel cell system includes a pressure vessel, a fuel cell stack located in the pressure vessel, a source of compressed air, and a valve to supply compressed air from the source of compressed air into the pressure vessel. Also included in the pressure vessel may be a coolant reservoir for a coolant loop for the fuel cell stack, as well as power electronics for the aircraft. A control system may purge the pressure vessel via a vent coupled to an external environment if an unacceptable level of hydrogen in the pressure vessel is reported by the hydrogen level sensor.

METHOD FOR MANUFACTURING OF ANODE FOR FUEL CELL AND LAYERED STRUCTURE FOR ANODE

NºPublicación:  US20260051515A1 19/02/2026
Solicitante: 
MICO POWER LTD [KR]
MICO POWER LTD
US_20260051515_PA

Resumen de: US20260051515A1

A method of manufacturing an anode for a fuel cell is provided. The method includes preparing a plurality of first green sheets elongated in one direction by shaping a first slurry containing YSZ, nickel, and a pore forming agent, preparing a second green sheet elongated in one direction by shaping a second slurry containing YSZ and nickel, preparing a first intermediate laminate by laminating the plurality of first green sheets alternately such that elongation directions of the first green sheets intersect, and then laminating the second green sheet thereon such that an elongation direction of the second green sheet intersects with that of an uppermost first green sheet, and pressure-sintering the first intermediate laminate.

STEERABLE INTRA-LUMINAL MEDICAL DEVICE

NºPublicación:  EP4696340A2 18/02/2026
Solicitante: 
UNIV TEXAS [US]
The Board Of Regents Of The University Of Texas System
EP_4696340_A2

Resumen de: EP4696340A2

The disclosure provides a flexible, narrow medical device (such as a micro-catheter or a guidewire) that is controllably moved and steered through lumens of a body. The medical device may include an electrically-actuatable bendable portion at a distal end, which may be provided by a polymer electrolyte layer, electrodes distributed about the polymer electrolyte layer, and electrical conduits coupled to the electrodes, such that the polymer electrolyte layer deforms asymmetrically in response to an electrical signal through one or more conduits. The disclosure further includes a controller for moving the device into and out of bodily lumens and for applying the electrical signal for steering the device. The device further includes methods of preparing the polymer electrolyte layer in tubular shape.

COMPUTER SYSTEM AND COMPUTER-IMPLEMENTED METHOD FOR CONTROLLING POWER TRANSFER IN A VEHICLE

NºPublicación:  EP4696539A1 18/02/2026
Solicitante: 
VOLVO TRUCK CORP [SE]
VOLVO TRUCK CORPORATION
EP_4696539_PA

Resumen de: EP4696539A1

Present disclosure relates to a computer system comprising processing circuitry configured to during use of an energy storage system of a vehicle obtain operational data associated with one or more operational properties of the present operation of the energy storage system, determine a present operating region of the energy storage system based on the operational data, estimate one or more energy storage properties of the energy storage system based on the determined present operating region, and control the power transfer to and/or from the energy storage system based on the estimated one or more energy storage properties.

SCALABLE ELECTROLYSIS CELL AND STACK AND METHOD OF HIGH-SPEED MANUFACTURING THE SAME

NºPublicación:  EP4696816A2 18/02/2026
Solicitante: 
EVOLOH INC [US]
Evoloh, Inc
EP_4696816_A2

Resumen de: EP4696816A2

An electrolyzer stack is configured for high-speed manufacturing and assembly of a plurality of scalable electrolysis cells. Each cell comprises a plurality of water windows configured to maintain a pressure loss, temperature rise and/or oxygen outlet volume fraction below predetermined thresholds. Repeating components of the cells are configured based on a desired roll web width for production and a stack compression system is configured to enable a variable quantity and variable area of said repeating cells in a single stack. A high-speed manufacturing system is configured to produce scalable cells and assemble scalable stacks at rates in excess of 1,000 MW-class stacks per year.

TETRAVALENT BORON-CONTAINING PROTON-EXCHANGE SOLID SUPPORTS AND METHODS OF MAKING AND USING TETRAVALENT BORON-CONTAINING PROTON-EXCHANGE SOLID SUPPORTS

NºPublicación:  EP4697419A2 18/02/2026
Solicitante: 
1S1 ENERGY INC [US]
1S1 Energy, Inc
EP_4697419_PA

Resumen de: EP4697419A2

A boron-containing proton-exchange solid support may include a proton-exchange solid support comprising an oxygen atom and a tetravalent boron-based acid group comprising a boron atom covalently bonded to the oxygen atom.

FUEL CELL ELECTROCATALYST AND METHOD OF PREPARING SAME

NºPublicación:  EP4697417A1 18/02/2026
Solicitante: 
THE CARBON STUDIO INC [KR]
The Carbon Studio Inc
EP_4697417_PA

Resumen de: EP4697417A1

Proposed are a fuel cell electrocatalyst including a platinum-based catalyst, wherein the platinum-based catalyst has a triple-layer core-shell structure including a core and a shell layer, the core and the shell layer each independently contain platinum, and an intermediate layer positioned between the core and the shell layer contains a platinum-transition metal alloy, and a method of preparing the same. The fuel cell electrocatalyst is prepared by preparing colloidal platinum particles in a solution phase and alloying a transition metal on the catalyst surface, thereby having the triple-layer core-shell structure. Accordingly, the electrocatalyst exhibits excellent dispersibility and durability.

二次電池、及びこれを含むエネルギー貯蔵装置

NºPublicación:  JP2026505847A 18/02/2026
Solicitante: 
スタンダードエナジーインコーポレイテッド
JP_2026505847_PA

Resumen de: WO2024172544A1

The present invention relates to a secondary battery which is charged and discharged by the oxidation and reduction of metal ions dissolved in an electrolyte, and an energy storage device comprising same. The secondary battery according to an embodiment of the present invention comprises: a plurality of layers in which oxidation-reduction reactions occur; a plurality of monoblocks in each of which the plurality of layers are stacked in the height direction; a plurality of racks in each of which the plurality of monoblocks are accommodated arranged in the height direction; and an enclosure in which the plurality of racks are accommodated.

水素燃料電池用ポリエステルフィルム及び膜電極アセンブリ

NºPublicación:  JP2026505794A 18/02/2026
Solicitante: 
マイクロワークス株式会社
JP_2026505794_PA

Resumen de: CN120642077A

Embodiments provide a polyester film suitable for use in a hydrogen fuel cell by improving long-term durability, a membrane electrode assembly including the same, and the like. The polyester film for a hydrogen fuel cell is a film containing a polyester resin, the polyester resin containing a diol-based repeating unit and a dicarboxylic acid-based repeating unit, the diol-based repeating unit including a repeating unit having a cyclohexane skeleton, and the dicarboxylic acid-based repeating unit including a repeating unit having an isophthalic acid residue, the tensile strength of the film, which is measured after the film is left at 250 DEG C for 30 minutes, may be 7 kgf/mm2 or more. The thin film can provide a thin film, a membrane electrode assembly and the like which have excellent long-term durability, moldability, moisture resistance and the like while being suitable for a polyester-based thin film, and thus have excellent utility as a sub-liner membrane for a fuel cell.

JET EJECTOR PUMP

NºPublicación:  EP4695851A1 18/02/2026
Solicitante: 
MTU AERO ENGINES AG [DE]
MTU Aero Engines AG
DE_102023109097_PA

Resumen de: WO2024213201A1

The invention relates to a jet ejector pump (10) for a recirculation system (1) of a fuel cell system in a fuel cell drive (1a), in particular a fuel cell drive (1a) in the form of an aircraft engine, for moistening and circulating hydrogen in the fuel cell system, having at least one fuel cell (2), comprising a water separator (20) for separating water and forming drop-free gas from a moist exhaust gas of the fuel cell (2), and a gas delivery device (30) which is arranged downstream of, in particular adjacent to, the water separator (20), wherein the water separator (20) has a suction connection (22) for feeding the exhaust gas into the water separator (20), wherein the water separator (20) has a water outflow (25) for removing water separated from the moist exhaust gas, wherein the water separator (20) has a drop-free gas connection (27) which leads into the gas delivery device (30). In order to be better suited to aeronautical applications, it is proposed according to the invention that the water separator (20) is tubular between the suction connection (22) and the gas delivery device (30) and has a curvature about an angle a of at least 60° and at maximum 120°.

SOLID OXIDE STACK STRUCTURE WITH IMPROVED COOLING

NºPublicación:  EP4695848A1 18/02/2026
Solicitante: 
COMMISSARIAT ENERGIE ATOMIQUE [FR]
Commissariat \u00E0 l'Energie Atomique et aux Energies Alternatives
WO_2024213845_PA

Resumen de: WO2024213845A1

The invention relates to a solid oxide stack structure (10) comprising electrochemical cells (12) alternating with interconnection plates (14) in a stacking direction Z, each electrochemical cell (12) being formed of an electrolyte layer (18) and an anode layer (20) and a cathode layer (22), which are arranged on either side of the electrolyte layer (18) in the stacking direction Z, wherein each interconnection plate (14) located between two electrochemical cells (12) is in contact with the anode layer (20) of one electrochemical cell (12) and with the cathode layer (22) of the other electrochemical cell (12), characterised in that at least one interconnection plate (14) comprises at least one internal circuit (32) for the circulation of a fluid for regulating the temperature of the two electrochemical cells (12) that are in contact with the interconnection plate (14).

HETEROGENEOUSLY INTEGRATED LIQUID ELECTROLYTE POWERED PROCESSOR

NºPublicación:  EP4695850A2 18/02/2026
Solicitante: 
MICROSOFT TECHNOLOGY LICENSING LLC [US]
Microsoft Technology Licensing, LLC
CN_120898299_PA

Resumen de: CN120898299A

The processing unit includes a substrate, an electrical load, and a microfluidic volume. An electrical load is supported by the first surface of the substrate, and a microfluidic volume is located in the second surface of the substrate. The processing unit includes a first electrode located in the microfluidic volume and a second electrode located in the microfluidic volume. A first TSV connects the first electrode to an electrical load and a second TSV connects the second electrode to the electrical load. An electrochemical fluid is located in the microfluidic volume to provide electrical power to and receive heat from the electrical load.

SOLID OXIDE CELL SYSTEM WITH THERMALLY TOLERANT CELLS WITH PASSIVE THERMAL MANAGEMENT STRUCTURES

NºPublicación:  EP4695849A1 18/02/2026
Solicitante: 
GEORGIA TECH RES INST [US]
Georgia Tech Research Corporation
WO_2025058674_PA

Resumen de: WO2025058674A1

An exemplary system and method are disclosed that employs a cell component level passive thermal management structure in the interconnect (IC) of solid oxide fuel cells or electrolyzer cells that geometrically alters the interconnect material at regions for the largest temperature gradients. The result is an increased passive flattening of temperature profiles that intrinsically increases thermomechanical reliability, given changing current supply and corresponding heat generation conditions, to make the cells more "thermally tolerant" to variable operation and facilitate reduced balance-of-plant operations.

FUEL CELL HUMIDIFIER

NºPublicación:  EP4697418A1 18/02/2026
Solicitante: 
KOLON INC [KR]
Kolon Industries, Inc
EP_4697418_PA

Resumen de: EP4697418A1

The present invention relates to a fuel cell humidifier comprising: a humidification module which uses wet gas to humidify dry gas to be supplied to a fuel cell stack; a first cap which is coupled to one end of the humidification module; and a second cap which is coupled to the other end of the humidification module, wherein the humidification module comprises: a cartridge which includes a bundle of hollow fiber membranes; a mid-case in which the cartridge is accommodated; and a flow path change unit which is disposed between the inner surface of the mid-case and the outer surface of the cartridge.

ELECTROLYTIC SYSTEMS COMPRISING GAS DIFFUSION ANODES AND METHODS OF OPERATING THEREOF

NºPublicación:  EP4695450A2 18/02/2026
Solicitante: 
AEPNUS TECH INC [US]
Aepnus Technology Inc
KR_20250172672_PA

Resumen de: AU2024250938A1

Described herein are gas diffusion anodes, electrolytic systems comprising such anodes, as well as methods of using such systems. A gas diffusion anode comprises a current collector, an anode porous base, an anode catalyst layer, and an anode-liquid interfacing layer. During the operation, the anode gas chamber receives hydrogen gas, which flows through the current collector into the anode porous base. The anode porous base provides uniform distribution of the hydrogen gas as well as uniform current density. The anode catalyst layer converts the hydrogen gas into protons and returns electrons, through the anode porous base, to the current collector. Protons are transported by the anode-liquid interfacing layer to an anolyte. This layer also blocks the anolyte from contacting the anode catalyst layer. The anode porous base, anode catalyst layer, and anode-liquid interfacing layer help to prevent the migration of the anolyte into an anode gas chamber.

CATALYST PARTICLES, MEMBRANE ELECTRODE ASSEMBLY, AND FUEL CELL

NºPublicación:  EP4697416A1 18/02/2026
Solicitante: 
TOPPAN HOLDINGS INC [JP]
Toppan Holdings Inc
EP_4697416_PA

Resumen de: EP4697416A1

A catalyst particle includes a conductive support and metal particles deposited on the conductive support. the metal particles contain Pt and Sn, the Sn in the metal particles is partially or entirely in form of an oxide, and the metal particles have surfaces at least partially in contact with the ionic liquid.

SENSOR APPARATUS AND METHOD

NºPublicación:  EP4695853A1 18/02/2026
Solicitante: 
NAT RES COUNCIL CANADA [CA]
National Research Council of Canada
WO_2024211996_PA

Resumen de: WO2024211996A1

A contaminant sensor for use in an air flow path of a fuel cell system upstream of a fuel cell, the fuel cell including a cell catalyst layer having a catalyst layer composition. The sensor may include a detection electrode including a sensing element having a composition that is the same as the catalyst layer composition, such that the output of the sensor can correspond to the response of the fuel cell. The output of the sensor may be processed to detect a contamination event without applying a calibration factor to the output. When contaminants are detected or detected at a quantity or rate above a predetermined threshold, an air filter may be replaced or an alert may be generated to warn a user to replace an air filter. The sensor may be manufactured by using a sample of the catalyst, without the composition of the sample being disclosed.

CONJUGATE ACID PROTON EXCHANGE POLYMERS AND METHODS OF MAKING AND USING CONJUGATE ACID PROTON EXCHANGE POLYMERS

NºPublicación:  EP4695322A2 18/02/2026
Solicitante: 
1S1 ENERGY INC [US]
1S1 Energy, Inc
KR_20250174936_PA

Resumen de: AU2024253468A1

A conjugate acid proton exchange polymer molecule includes an acidic aromatic unit in a main chain or a side chain, wherein the acidic aromatic unit is a conjugate acid of a basic aromatic unit, and a non-coordinating counter anion ionically linked with the acidic aromatic unit.

ELECTROCATALYTIC HYDROGEN CARRIER COMPOSITIONS

NºPublicación:  EP4695852A1 18/02/2026
Solicitante: 
AYRTON ENERGY INC [CA]
Ayrton Energy Inc
TW_202511539_A

Resumen de: TW202511539A

The present disclosure provides hydrogen carrier fluid (HCF) compositions, comprising a leanliquid organic hydrogen carrier (lean-LOHC) component comprising at least one cyclohexyl-based compound having at least one unsaturated bond, optionally in combination with one or more C4-12 alkyl alcohol, or a rich-liquid organic hydrogen carrier (rich-LOHC) component comprising at least one cyclohexyl-based compound, optionally in combination with a C4-7 ketone, a C4-6lactone or a mixture thereof; and an electrolyte component. Also provided is the use of these HCF compositions for storage and release of hydrogen, in an electrochemical reactor system.

DEVICE AND METHOD FOR TRANSPORTING AND SEPARATING BLANKS OF A WEB

NºPublicación:  EP4696628A1 18/02/2026
Solicitante: 
OPTIMA LIFE SCIENCE GMBH [DE]
OPTIMA life science GmbH
EP_4696628_PA

Resumen de: EP4696628A1

Die Erfindung betrifft eine Vorrichtung (100) zum Transport und Vereinzeln von Zuschnitten (1010) einer Materialbahn (1000) mit einem Vakuumzylinder (8) zum Transport der Zuschnitte (1010), einem Vakuumtransportzylinder (7) zum Weitertransport der Zuschnitte (1010) und mit einer Steuereinheit (9). Erfindungsgemäß weist der Vakuumzylinder (8) ein schwenkbares Vakuumsegment (82) auf und es ist ein Schwenkantrieb (85) vorgesehen zum Verschwenken des Vakuumsegments im laufenden Betrieb. So wird ermöglicht, dass der wirksame Vakuumbereich auf einer Mantelfläche des Vakuumzylinders (8) reduzierbar ist.Die Erfindung betrifft auch ein Verfahren zum Transport und Vereinzeln von Zuschnitten einer Materialbahn.Vorrichtung und Verfahren ermöglichen eine schonendere und genauere Übergabe von Zuschnitten von einem Vakuumzylinder auf einen Vakuumtransportzylinder.

一种燃料电池堆组及燃料电池系统

NºPublicación:  CN223927369U 17/02/2026
Solicitante: 
华北理工大学
CN_223927369_U

Resumen de: CN223927369U

本实用新型公开了一种燃料电池堆组及燃料电池系统,属于燃料电池技术领域,包括箱体,所述箱体内安装有多个电池主体,且电池主体底部连通有外接管,且电池主体顶部连通有两个接线端子,所述箱体顶部安装有上盖,所述上盖底部连接有多个连接装置,所述连接装置包括固定块,所述固定块底部开设有伸缩槽,且伸缩槽内滑动连接有伸缩块;本实用新型中,通过将上盖与箱体顶部相贴合,通过上盖通过固定块内的伸缩槽带动伸缩块移动,进而使得伸缩块带动底部的接线铜板下移,使得接线铜板底部与两个相邻的两个电池主体顶部的接线端子相接触,从而对两个相邻的电池主体进行连接,从而避免使用外接线连接导致操作烦琐,并且避免手动接线存在触电的危险。

二维介孔硅基纳米片及其制备方法和在燃料电池中的应用

NºPublicación:  CN121546076A 17/02/2026
Solicitante: 
南京大学
CN_121546076_PA

Resumen de: CN121546076A

本发明公开了一种二维介孔硅基纳米片及其制备方法和在燃料电池中的应用。制备方法为:首先以氧化石墨烯为模板,在特定结构导向剂和催化剂作用下,与正硅酸乙酯反应制得氧化石墨烯基介孔二氧化硅片;随后经热解得到介孔二氧化硅片;再将其与稀释剂混合,在保护气氛下进行热还原;经酸刻蚀、洗涤和干燥,获得二维介孔硅纳米片;对纳米片进行改性处理后得到改性二维介孔硅基纳米片材料。本发明所制得的改性二维介孔硅基纳米片具有结构完整、比表面积大、导电性优异等特点,在燃料电池中表现出显著提升的电子传输效率与催化稳定性。

一种用于钒液流电池的汇流嘴

NºPublicación:  CN223927365U 17/02/2026
Solicitante: 
青岛京湖新材料有限公司
CN_223927365_U

Resumen de: CN223927365U

一种用于钒液流电池的汇流嘴,其包括用于使用的电极柱,还包括防回流组件,所述电极柱上安装有防回流组件;所述防回流组件包括圆筒、第一环槽、插接孔和卡接槽,圆筒套接在电极柱上,圆筒的内侧开设有第一环槽,第一环槽的内部安装有第一环形气囊,第一环形气囊的一侧连接有第一充气管,圆筒内位于第一环槽的一侧开设有第二环槽,第二环槽内安装有第二环形气囊,第二环形气囊上连接有第二充气管,圆筒的一端安装有若干个卡柱,卡柱的一端固定有蘑菇头,固定环固定在电极柱上,固定环上开设有若干个插接孔,本实用新型结构新颖,构思巧妙,便于对汇流嘴进行密封,密封性能好,提升了密封结构的使用寿命,无需进行大范围的拆卸操作。

一种兆瓦级氢燃料电池发电系统结构

NºPublicación:  CN223927367U 17/02/2026
Solicitante: 
上海安池科技有限公司
CN_223927367_U

Resumen de: CN223927367U

本实用新型氢燃料电池发电技术领域,具体地说是一种兆瓦级氢燃料电池发电系统结构。包括集装箱、氢燃料电池组模块舱、电气舱,所述集装箱内中间设有防爆墙,所述防爆墙的一侧设有氢燃料电池组模块舱,所诉氢燃料电池组模块舱顶部设有冷却系统,所述氢燃料电池组模块舱底部靠近防爆墙侧设有能量回收系统,所诉氢燃料电池组模块舱内放置氢燃料电池组模块,所诉氢燃料电池组模块结构为抽屉式,抽屉内可放置氢燃料电池,所述防爆墙另一侧设有电气舱,电气舱内设置消防控制系统,集装箱外侧设有氢燃料供给系统,氢燃料供给系统和氢燃料电池组模块舱连通。通过结构优化及控制实现发电装置的功率提升,通过能量回收系统提高整个发电装置的发电效率,实现了零排放、零污染。

一种燃料电池管路系统及燃料电池测试装置

NºPublicación:  CN223927362U 17/02/2026
Solicitante: 
合肥零碳技术有限公司
CN_223927362_U

Resumen de: CN223927362U

本说明书实施例涉及燃料电池测试技术领域,尤其涉及一种燃料电池管路系统及燃料电池测试装置。该燃料电池管路系统包括第一供气管路、第一换热器、第二供气管路、第二换热器和排气管路,第一供气管路与电堆的第一进气口连通,第一供气管路用于往电堆内通入燃料极气体,并且第一供气管路上连通有第一换热器,第二供气管路与电堆的第二进气口连通,第二供气管路用于往电堆内通入空气极气体,并且第二供气管路上连通有第二换热器,排气管路与电堆的排气口连通,排气管路用于排出电堆内的高温尾气,并且排气管路同时与第一换热器和第二换热器连通。本说明书实施例提供的燃料电池管路系统,通过设置换热器,提高了对热量的利用率,降低了成本。

一种包含相对湿度调节装置的燃料电池空气系统

NºPublicación:  CN223927364U 17/02/2026
Solicitante: 
上海氢洋科技有限公司
CN_223927364_U

Resumen de: CN223927364U

本实用新型提供了一种包含相对湿度调节装置的燃料电池空气系统。该燃料电池空气系统具体包括相对湿度调节装置、进气子系统、空气滤清器、空压机、中冷器、第三三通阀、质量流量计、入口温度传感器、压力传感器、电堆、出口温度传感器和背压阀;其中,相对湿度调节装置包括增湿器、第一三通阀、第二三通阀、第一湿度传感器、第二湿度传感器、加热器和分水器。本实用新型的包含相对湿度调节装置的燃料电池空气系统可根据外部环境参数预计电堆的运行情况,对电堆湿度进行调节;通过调节增湿器湿测的水传输量来提供均匀的增湿空气,实现对燃料电池电堆内部湿度进行调节,使电堆性能与寿命得到提升,改善了进入电堆中的干湿空气混合导致的湿度不均。

用于燃料电池设备的空气压缩机和燃料电池设备

NºPublicación:  CN223923396U 17/02/2026
Solicitante: 
罗伯特·博世有限公司
CN_223923396_U

Resumen de: CN223923396U

本实用新型涉及燃料电池的技术领域,具体涉及一种用于燃料电池设备的空气压缩机,包括:适于压缩空气的叶轮;适于驱动叶轮绕旋转轴线转动的电机;和适于冷却电机的冷却装置,冷却装置具有供冷却液流入的进口和供冷却液流出的出口以及连接进口与出口的冷却流道,冷却流道具有:与进口连接的入流段,其允许冷却液绕旋转轴线沿第一回转方向流动;和与出口连接的出流段,其允许冷却液绕旋转轴线沿与第一回转方向相反的第二回转方向流动,其中,入流段和/或出流段构造为绕旋转轴线回转超过360度。还涉及一种燃料电池设备。根据本实用新型,确保了冷却液能够接触到电机周围的更大表面积,增加了热交换效率,降低了系统流动损失,显著改善了冷却效果。

一种水滴型沟槽结构的质子交换膜电极

NºPublicación:  CN223927366U 17/02/2026
Solicitante: 
海南深远海新能源科技有限公司
CN_223927366_U

Resumen de: CN223927366U

本实用新型公开了一种水滴型沟槽结构的质子交换膜电极,属于质子交换膜燃料电池技术领域。该膜电极包括催化层、质子交换膜和气体扩散层,质子交换膜设置在催化层下方,气体扩散层设置在催化层上方,催化层的上表面设有多个均匀排布的水滴型沟槽,所述沟槽自上而下呈流线型收缩结构,其横截面形状为顶部圆弧、底部收口的水滴状结构。该结构在引导反应气体快速渗透催化层的同时,增强了反应生成水的毛细排出能力,改善了膜电极的气体传质效率和水管理性能,提升了燃料电池的整体输出功率与运行稳定性。本实用新型结构设计合理,制备工艺可控,具有良好的推广应用价值。

膨胀水箱、发动机和车辆

NºPublicación:  CN223919105U 17/02/2026
Solicitante: 
北京卡文新能源汽车有限公司
CN_223919105_U

Resumen de: CN223919105U

本实用新型公开了一种膨胀水箱、发动机和车辆,膨胀水箱包括:箱体,所述箱体内设置有多个隔板;电导率传感器,所述电导率传感器包括:两个传感器电极,两个所述传感器电极一一对应地设置于相邻两个所述隔板上,且两个所述传感器电极的大面之间相对设置。通过结构调整,实现在膨胀水箱内部集成传感器电极,这样可以在减小体积占用的同时提高电导率采集精度,并可以减小控制单元复杂度,最终提升整体系统的可靠性。

氢燃料电池用空气滤清器、空气供应系统及车辆

NºPublicación:  CN223927363U 17/02/2026
Solicitante: 
长城汽车股份有限公司
CN_223927363_U

Resumen de: CN223927363U

本实用新型涉及一种氢燃料电池用空气滤清器、空气供应系统及车辆,属于空气过滤技术领域。氢燃料电池用空气滤清器包括壳体以及设于壳体内的空气滤芯和吸附滤芯;壳体上设有进气口和出气口;空气滤芯靠近进气口侧,用以过滤空气中的颗粒物;吸附滤芯与空气滤芯间隔设置,且靠近出气口侧,吸附滤芯包括在空气流动方向上层叠设置的多个气体吸附层,每个气体吸附层包括呈平面阵列排布的多个吸附介质单元,相邻气体吸附层中的吸附介质单元错位排列,吸附介质单元用以吸附空气中的有害气体。通过对吸附滤芯进行优化,提高了吸附介质的储量,提高了吸附效率,降低了工艺要求。

空冷型质子交换膜燃料电池PEMFC水热管理方法

NºPublicación:  CN121546100A 17/02/2026
Solicitante: 
同济大学
CN_121546100_PA

Resumen de: CN121546100A

本发明提出了一种空冷型质子交换膜燃料电池PEMFC水热管理方法,包括步骤:步骤1、构建空冷型PEMFC系统,包括:电堆、温度传感器、湿度传感器、变速风扇冷却模块、电子负载和数据采集设备;雾化加湿模块的雾化频率f、雾化水温度均可调节;步骤2、建立负载电流‑风扇基准转速的映射关系;步骤3、初始化雾化加湿模块并运行空冷型PEMFC系统;运行初始时基于负载电流‑风扇基准转速的映射关系加载风扇转速,基于初始化结果运行雾化加湿模块;步骤4、实时采集堆体温度T、阴极湿度RH、负载电流I,并传输至系统控制器;步骤5、温湿度耦合动态调控。本发明实现了膜水合状态与堆体温度的协同调控。

光伏发电与可逆固体氧化物电池耦合能源系统及多模式协同运行方法

NºPublicación:  CN121546687A 17/02/2026
Solicitante: 
烟台鏊润能源科技有限公司
CN_121546687_PA

Resumen de: CN121546687A

本发明涉及可再生能源存储与转换技术领域,具体提供了光伏发电与可逆固体氧化物电池耦合能源系统及多模式协同运行方法,本发明核心方案是通过阀门控制系统实现单一RSOC电堆在SOEC模式和SOFC模式间的无缝切换:在光伏高峰期,多余电能驱动RSOC电解水生成绿氢存储;在光伏低谷期,存储的氢气用于发电供能。系统集成热量回收单元,实现余热梯级利用,提升效率。有益效果包括降低设备成本、避免启停热循环延长寿命、实现电能削峰填谷的稳定供给,且可扩展至风能等可再生能源场景。本发明通过创新耦合机制,高效解决了可再生能源的存储和波动性问题。

一种船用燃料电池氢气侧排水系统及排水方法

NºPublicación:  CN121546096A 17/02/2026
Solicitante: 
武汉船用电力推进装置研究所(中国船舶集团有限公司第七一二研究所)
CN_121546096_PA

Resumen de: CN121546096A

本发明公开了一种船用燃料电池氢气侧排水系统及排水方法,涉及燃料电池技术领域。其中,船用燃料电池氢气侧排水系统包括电堆模块、收集水箱、供氢管道、尾排管道、吹扫装置及阀门组件;收集水箱通过管路连接电堆模块的出口;供氢管道连接电堆模块的入口;尾排管道连接电堆模块的出口,并通过管路连接收集水箱;吹扫装置通过管路连接供氢管道的入口和尾排管道的出口;阀门组件通过管路连接吹扫装置,用于控制吹扫气流向。基于本发明所公开的技术方案,对燃料电池氢气侧实现充分排水,避免尾排管道内存在大量积水而堵塞气体传质通道,确保燃料电池能够正常起动,降低燃料电池损坏风险,并延长燃料电池使用寿命。

一种抗氧化的复合质子交换膜及其制备方法和应用

NºPublicación:  CN121546088A 17/02/2026
Solicitante: 
佛山仙湖实验室
CN_121546088_PA

Resumen de: CN121546088A

本发明属于质子交换膜技术领域,公开了一种抗氧化的复合质子交换膜及其制备方法和应用。本发明的复合质子交换膜包括质子交换树脂以及分布在质子交换树脂中的复合自由基淬灭剂;复合自由基淬灭剂具有核壳结构,其中内核包括二氧化铈,外壳包括聚多酚。本发明通过将复合自由基淬灭剂分布在质子交换树脂中中以提高树脂成膜后的抗氧化性和稳定性;其中,复合自由基淬灭剂通过核壳结构设计策略使无机CeO2能够在质子交换膜内部严苛的环境下保持结构长期稳定和活性再生能力,又不削弱其自由基淬灭效率,从而提升质子交换膜的化学耐久性;同时聚多酚壳层优化了界面相容性和保持了质子交换膜的电导率。

树枝型流道结构

NºPublicación:  CN121546092A 17/02/2026
Solicitante: 
新疆石油管理局有限公司中国石油天然气集团有限公司
CN_121546092_PA

Resumen de: CN121546092A

本发明涉及燃料电池技术领域,是一种树枝型流道结构,包括壳体、一级隔板、二级隔板和三级隔板,壳体内设有封闭的安装腔,壳体上侧设有与安装腔上部连通的出口,壳体下侧设有与安装腔下部连通的入口。本发明结构合理而紧凑,入口为细小流道,气体流进入口后,随着流动,细小流道逐步进行合并,最终汇成较为较大流道在末端的出口流出。本发明气体从入口进入时,会在压力的作用下,对称流入到流道两端,强制通过多孔气体扩散层,发生反应后进入出气分支流道,随后两股分支合汇聚成更宽的流道流出,该树枝型流道结构可以使气体均匀流过流道,使流道内压力分布均匀,提高燃料电池的电池性能。

一种基于多参数融合风险评估的燃料电池湿度自适应切换控制方法

NºPublicación:  CN121546105A 17/02/2026
Solicitante: 
上海交通大学
CN_121546105_PA

Resumen de: CN121546105A

本发明涉及一种基于多参数融合风险评估的燃料电池湿度自适应切换控制方法,包括:采集燃料电池系统的实时运行参数,预处理后得到多模态数据集;构建不同电流密度下的理想工况基准模型;计算各参数相对于理想工况基准值的单参数偏离度,通过多模态大模型融合多参数协同风险得到多参数融合风险量化指标;根据多参数融合风险量化指标的取值自适应切换湿度控制策略为被动控制、过渡控制或主动控制。与现有技术相比,本发明通过构建多参数融合风险量化指标,精准量化评估多参数协同偏离理想工况的湿度风险,解决了单一参数或简单多参数组合评估中因参数耦合导致的风险误判问题,提升了燃料电池湿度风险评估的准确性与可靠性。

一种横掠进气的管式固体氧化物燃料电池电堆

NºPublicación:  CN121546109A 17/02/2026
Solicitante: 
中海石油气电集团有限责任公司
CN_121546109_PA

Resumen de: CN121546109A

本申请提供了一种横掠进气的管式固体氧化物燃料电池电堆,包括:外壳;多个管式固体氧化物燃料电池;空气进气组件,其设于外壳的第一侧外,并具有沿平行于多个管式固体氧化物燃料电池的电池管的轴向方向设置的多列进气孔,多列进气孔与外壳内连通,用于向多个管式固体氧化物燃料电池的功能区的电池管横向进气;空气出气组件,其设于外壳的第二侧外,空气出气组件具有沿平行于电池管的轴向方向设置的多列出气孔,多列出气孔与外壳内连通,用于使流经外壳内的电池管且与电池管换热降温后的空气排出。本申请采用横掠进气的方式,强化空气与电池管之间的对流换热,各单电池获得空气分布均匀,电池管轴向温度梯度小,压降低。

耦合SOEC-熔融碳酸盐燃料电池电解二氧化碳和水的方法和系统

NºPublicación:  CN121538652A 17/02/2026
Solicitante: 
北京怀柔实验室
CN_121538652_PA

Resumen de: CN121538652A

本发明涉及SOEC制氢与熔融碳酸盐燃料电池发电领域,公开了一种耦合SOEC‑熔融碳酸盐燃料电池电解二氧化碳和水的方法和系统,包括:(1)将富氢气体送入熔融碳酸盐燃料电池的阳极,将贫CO2气体和含氧气体送入熔融碳酸盐燃料电池的阴极,进行直接电化学发电;(2)将熔融碳酸盐燃料电池的阳极尾气进行催化燃烧,得到富CO2混合气;(3)将富CO2混合气送入固体氧化物电解池的氢电极侧,将含氧气体送入固体氧化物电解池的氧电极侧,进行共电解反应;(4)将固体氧化物电解池氢电极侧的产气返回步骤(1)提供至少部分富氢气体。该方法将固体氧化物电解堆与熔融碳酸盐燃料电池进行系统耦合,实现对二氧化碳的捕集以及再利用。

一种具有一体化结构的氢燃料电池气体扩散层

NºPublicación:  CN121546089A 17/02/2026
Solicitante: 
西安交通大学
CN_121546089_PA

Resumen de: CN121546089A

本发明公开了一种具有一体化结构的氢燃料电池气体扩散层,所述气体扩散层在厚度方向上具有梯度变化的孔隙结构,用于实现微孔层的气体扩散调控和水管理功能,还用于实现扩散基底层的机械支撑和气体分配功能。该一体化结构设计消除了微孔层与扩散基底层的层间界面,进而避免由于界面结构突变引发的传质阶跃与不稳定问题;同时可显著减薄气体扩散层厚度,保证传质均匀性的同时提高气‑水传输效率。

一种铂镍催化剂、直接甲酸燃料电池及其制备方法与应用

NºPublicación:  CN121546080A 17/02/2026
Solicitante: 
北京化工大学
CN_121546080_PA

Resumen de: CN121546080A

本发明公开了一种铂镍催化剂、直接甲酸燃料电池及其制备方法与应用,属于燃料电池技术领域。铂镍催化剂的制备方法:(1)将聚乙烯吡咯烷酮、甘氨酸、氯铂酸和氯化镍于水中混合搅拌,超声处理;(2)加入硼氢化钠作为还原剂进行反应,离心,洗涤纯化,即得。直接甲酸燃料电池的制备方法:(1)制备均匀的催化层浆液;制备膜电极;(3)制备直接甲酸燃料电池。本发明铂镍催化剂的催化性能为商业Pt/C催化剂的3倍,且成本较低,将其应用于直接甲酸燃料电池可以大幅度提升直接甲酸燃料电池的性能,且其简单的制备方法理论上大规模生产的可能性以极低的工业成本将是其大规模商业生产的最大优势。

一种燃料电池铂催化剂一氧化碳中毒后的活性恢复方法

NºPublicación:  CN121546097A 17/02/2026
Solicitante: 
香港生产力促进局
CN_121546097_PA

Resumen de: CN121546097A

本发明公开了一种燃料电池铂催化剂一氧化碳中毒后的活性恢复方法,其包括:周期性交替通入氧化性气体和还原性气体并在低温加热的条件下对燃料电池一氧化碳中毒的阳极进行处理,所述氧化性气体为氧气或含氧气体,所述还原性气体为氢气或含氢气气体。本发明方法通过控制氧化性气体和还原性气体的切换时序,在氧化阶段将催化剂表面吸附的CO氧化为CO2并脱附,在还原阶段将形成的Pt‑O物种还原为金属态铂并清除表面残留物,同时诱导铂催化剂表面发生动态重构,修复因毒化产生的晶格缺陷,在80℃条件下可实现90%以上的活性恢复率,且无需外部电源或附加复杂设备,具有操作简便、能耗低、不影响系统运行的优点,适用于质子交换膜燃料电池系统的在线再生与维护。

一种高性能氧还原反应电催化剂Fe2P-NC及其制备方法和应用

NºPublicación:  CN121546078A 17/02/2026
Solicitante: 
大连海事大学
CN_121546078_PA

Resumen de: CN121546078A

本发明公开了一种高性能氧还原反应电催化剂Fe2P‑NC及其制备方法和应用,制备方法包括步骤:称量铁源酞菁铁、磷源次亚磷酸钠、碳基底炭黑、分散助剂为原料,加入溶剂中混匀,经超声、搅拌过夜处理得黑色悬浮液,离心烘干后研磨,进行焦耳热解处理,制得Fe2P‑NC催化剂。本方法基于闪蒸加热技术,实现 Fe2P‑NC催化剂的毫秒级快速合成,500ms 超快加热过程中通过杂原子掺杂精准调控催化活性。所制催化剂平均尺寸约 9.7nm,均匀锚定在 N、P 共掺杂碳框架上,在碱性电解质体系中展现出高半波电位、低塔菲尔斜率的特性,综合催化性能超越商业铂/碳(Pt/C)催化剂。本发明通过杂原子掺杂工程与先进闪蒸加热技术的协同作用,为杂原子掺杂碳基金属催化剂的高效制备提供了新路径。

一种电池参数的测试方法和系统

NºPublicación:  CN121546101A 17/02/2026
Solicitante: 
杭州协能科技股份有限公司
CN_121546101_A

Resumen de: CN121546101A

本发明实施例公开了一种电池参数的测试方法和系统。电池为液流电池,电池参数的测试方法包括:获取电池中电解液的温度、荷电状态和变频器的频率;变频器用于通过泵控制电池的电解液流量;根据电池中电解液的温度、荷电状态和变频器的频率,确定电池中电解液的流量和压力,以根据电解液的流量和压力调节变频器的频率。本发明实施例提供的电池参数的测试方法和系统,能够降低测试成本,提高测试效率。

电堆湿度状态观测方法、状态观测器、燃料电池系统、设备及介质

NºPublicación:  CN121546099A 17/02/2026
Solicitante: 
上海交通大学
CN_121546099_A

Resumen de: CN121546099A

本发明涉及一种电堆湿度状态观测方法、状态观测器、燃料电池系统、设备及介质,该方法包括:构建相似准则模型,引入无量纲系数对燃料电池系统内湿度动态过程进行描述;采集燃料电池的电堆电压,计算电堆电压与电堆电压状态观测估计值的差值得到电压偏差e,根据电压差值e构建滑膜面s;根据滑膜面s以及在线系统辨识得到的无量纲系数估计值,利用定量过程控制算法进行滑模校正并反馈矫正量,更新相似准则模型以及在线系统辨识对湿度和无量纲参数的估计过程。与现有技术相比,本发明具有湿度估计精度高、环境自适应能力强以及计算量小等优点。

一种SOFC无人机电源系统保温外壳的制备方法

NºPublicación:  CN121537218A 17/02/2026
Solicitante: 
山东工业陶瓷研究设计院有限公司
CN_121537218_A

Resumen de: CN121537218A

本发明提供了一种SOFC无人机电源系统保温外壳的制备方法,属于保温材料技术领域;所述制备方法包括制备混合料、制备三明治结构保温外壳、后处理;所述制备三明治结构保温外壳,包括制备内表面致密层、制备中间梯度层和制备外表面强化层;所述制备中间梯度层为,采用多孔模具,将含内表面致密层的混合料进行真空抽滤,真空压力按照P(t)=P0・e^(‑kt) 变化,其中e取 2.718,P0为‑0.095~‑0.1Mpa,k为0.05‑0.08/s,t 为抽滤时间,达到抽滤终点的抽滤时间为30‑60min;采用本发明制得的保温外壳,密度低,强度高,保温性能优异,耐高温性能和抗热震稳定性能佳。

一种具备智能气流管理功能的风冷型氢燃料电池电堆

NºPublicación:  CN121546093A 17/02/2026
Solicitante: 
协氢(上海)新能源科技有限公司协氢(枣庄)氢能科技有限公司
CN_121546093_PA

Resumen de: CN121546093A

本发明涉及氢燃料电池领域,具体是涉及一种具备智能气流管理功能的风冷型氢燃料电池电堆。包括外壳和电池堆,还包括进风风扇,外壳上设有入口框架,所述进风风扇与电池堆之间形成主进风通道,出风风扇,外壳上设有出口框架,所述出风风扇与电池堆之间形成主出风通道,旁通通路,形成于入口框架与出口框架之间的外壳侧壁区域,风口调节组件,包括两个旋转板以及调节驱动器,温度传感器。本发明通过引流板与旋转板配合形成可调旁通回路,由温度传感器反馈控制推板驱动旋转板开合,高温时全开主通道强化散热,低温时开启旁通通路冷却并保留主通道最小间隙,确保阴极持续通风,兼顾散热效率与膜水合稳定。

一种基于卟啉的支化型离聚物及其制备方法和作为粘结剂的应用

NºPublicación:  CN121537617A 17/02/2026
Solicitante: 
中国科学技术大学
CN_121537617_PA

Resumen de: CN121537617A

本发明涉及燃料电池应用技术领域,尤其涉及一种基于卟啉的支化型离聚物及其制备方法和作为粘结剂的应用。所述制备方法包括以下步骤:S1)通过超酸催化聚合反应制备卟啉支化型聚合物主链;所述聚合反应的单体包括卟啉类单体、芳香化合物单体和酮类单体;S2)将上述卟啉支化型聚合物主链依次进行去质子化、季铵化,得到基于卟啉的支化型离聚物。本发明提供了一系列基于卟啉的支化型聚合物,在聚合物主链中引入不同摩尔量的卟啉,该聚合物可作为粘结剂应用在燃料电池中,带卟啉的聚合物的结构有利于物质的传输。并且,利用卟啉与铂之间的相互作用使铂催化剂的更好地分散,提高了催化剂的利用率。

一种甲醇重整燃料电池建模与参数辨识方法及应用

NºPublicación:  CN121546098A 17/02/2026
Solicitante: 
上海空间电源研究所
CN_121546098_PA

Resumen de: CN121546098A

本发明公开了一种甲醇重整燃料电池建模与参数辨识方法及应用,包含以下步骤:以燃烧室温度、重整室进口温度和出口温度为状态变量,定义状态向量,以燃烧室甲醇或尾气进料、空气进料及重整室甲醇进料为输入,定义输入向量,建立离散时域状态空间模型;步骤S2,将所述离散时域状态空间模型拆解为标量方程;步骤S3,采集实验数据,所述实验数据包含燃烧室温度、重整室进出口温度、燃烧室甲醇或尾气进料、空气进料、重整室甲醇进料中的任意一种或多种;步骤S4,构建误差目标函数并采用粒子群优化算法进行参数辨识,得到用于仿真与控制的模型。所述方法能够有效体现预热与发电阶段的动态过程,为系统仿真、控制与运行优化提供支撑。

一种电活性吩嗪类化合物的绿色合成与纯化方法

NºPublicación:  CN121537351A 17/02/2026
Solicitante: 
韩义夫
CN_121537351_PA

Resumen de: CN121537351A

本发明公开了一种电活性吩嗪类化合物的绿色合成与纯化方法,本发明涉及有机合成化学与绿色能源材料技术领域,包括以下步骤:将结构通式(I)所示的菲醌类化合物与结构通式(II)所示的邻苯二胺类化合物,以1:0.9至1:1.1的摩尔比,共同溶解于醋酸溶剂中,在无催化剂条件下,采用超声辐照进行缩合环化反应,反应结束后经后处理得到结构通式(III)所示的吩嗪类化合物,由此制备的特定吩嗪化合物,经结构确认,其分子结构赋予了该物质可逆的电化学还原特性。这一特性使得该类化合物在作为电荷存储材料的活性物质,特别是在构建储能器件的负极组分方面,展现出潜在的应用价值。

微孔层复合粉料及其制备方法、微孔层浆料、气体扩散层、燃料电池和涉电设备

NºPublicación:  CN121546090A 17/02/2026
Solicitante: 
深圳市贝特瑞新能源技术研究院有限公司
CN_121546090_PA

Resumen de: CN121546090A

本申请提供一种微孔层复合粉料及其制备方法、微孔层浆料、气体扩散层、燃料电池及涉电设备,该微孔层复合粉料包括多孔碳和富氧纳米颗粒,富氧纳米颗粒包括硅铝酸盐或硅铝氧化物;其粒径为60nm至100nm;其孔径为0.2nm至0.8nm;其氧元素的质量分数和硅元素的质量分数的比值范围为0.6至1.2,本申请微孔层复合粉料有利于提升微孔层与其相邻层的界面氧气浓度,增强氧气传质过程,从而提升燃料电池的输出性能;同时,也能够提升膜电极的保水能力,缓解空冷燃料电池中因含水量低引起膜干带来的性能下降的问题,从而提升燃料电池的输出性能以及电池的使用寿命。

一种高质子电导率的复合质子交换膜及其制备方法和应用

NºPublicación:  CN121546086A 17/02/2026
Solicitante: 
佛山仙湖实验室
CN_121546086_PA

Resumen de: CN121546086A

本发明属于液流电池技术领域,公开了一种高质子电导率的复合质子交换膜及其制备方法和应用。本发明的复合质子交换膜的制备方法,包括以下步骤:S1、使聚乙烯亚胺与2‑溴乙基膦酸二乙酯进行迈克尔加成反应,反应后的产物经水解,透析和冻干,得到部分磷酸化的聚乙烯亚胺低聚物;S2、将部分磷酸化的聚乙烯亚胺低聚物、含有磺酸基的质子交换树脂和溶剂混合,得到铸膜液;S3、使铸膜液成膜,得到复合质子交换膜。本发明制备得到的复合质子交换膜兼具优异的质子电导率,高离子选择性和低溶胀性。

用于燃料电池的再循环设备

NºPublicación:  CN121548886A 17/02/2026
Solicitante: 
伍德沃德罗润有限责任公司
CN_121548886_PA

Resumen de: WO2025031655A1

The present invention relates to a recirculation device (2) for a fuel cell (3). The recirculation device (2) has a drive (10), a conveying means (20) and a separation means (30). The drive (10) comprises a drive shaft (11). The conveying means (20) is coupled to the drive shaft (11) in such a manner that the conveying means (20) can be driven by the drive (10). The conveying means (20) is designed to recirculate a medium as recirculated material in the fuel cell (3). The separation means (30) is arranged upstream of the conveying means (20) in the flow direction of the recirculated material. The separation means (30) is coupled to the drive shaft (11) in such a manner that the separation means (30) can be driven by the drive (10). The separation means (30) is designed to separate liquid from the recirculated material.

用于实施电化学方法的设备

NºPublicación:  CN121548662A 17/02/2026
Solicitante: 
H2I\u7EFF\u6C22\u6709\u9650\u516C\u53F8
CN_121548662_PA

Resumen de: WO2025010460A1

The invention relates to a device (10) for carrying out an electrochemical method, in particular an electrolysis cell device and/or fuel cell device, comprising at least two electrochemical cells (1) which are arranged one after the other in a stacking direction (S) and at least one bipolar plate (2) between two adjacent electrochemical cells (1), wherein the electrochemical cells (1) are each delimited by at least one cell frame structure (5) in directions transverse to the stacking direction (S), characterised in that the edge region (3) of the bipolar plate (2) - preferably along the entire circumference of the bipolar plate (2) - is embedded in a casing (4), wherein preferably the casing (4) encloses the edge region (3) of the bipolar plate (2) on both sides.

一种燃料电池膜电极电压分布测试方法和系统

NºPublicación:  CN121546103A 17/02/2026
Solicitante: 
大连景宇科技有限公司
CN_121546103_PA

Resumen de: CN121546103A

本发明涉及燃料电池膜电极电压分布测试技术领域,具体是一种燃料电池膜电极电压分布测试方法和系统,该方法通过布设电位传感器阵列,在燃料电池加载运行过程中,通过电位传感器阵列同步采集原始电压向量;在非反应区布设参考电极,向参考电极施加稳定参考信号,并在延迟预设稳定时间后采集参考电极的反馈信号;将反馈信号和稳定参考信号通过差值计算得到系统测量漂移量;根据系统测量漂移量和膜电极电压分布的空间连续性约束,对原始电压向量进行联合校准,得到燃料电池膜电极的电压分布向量。通过持续补偿测量精度的漂移,保证燃料电池长周期测试过程中电压分布数据的真实性与可靠性。

一种固体氧化物燃料电池连接板的制造方法

NºPublicación:  CN121546085A 17/02/2026
Solicitante: 
东睦新材料集团股份有限公司
CN_121546085_PA

Resumen de: CN121546085A

本发明涉及一种固体氧化物燃料电池连接板的制造方法,步骤为:采用粉末冶金法制备耐热合金板,所述耐热合金板为铬基合金板、不锈钢板或镍基合金板,所述耐热合金板的厚度为1~3mm,孔隙率为5~20%,通过浸渗封孔剂的方式将耐热合金板浸泡到含有封孔剂的溶液中,抽真空并保持10min后,将耐热合金板取出、烘干,即制得固体氧化物燃料电池连接板,其中,封孔剂为硅酸盐基、磷酸盐基、无机陶瓷基或金属‑陶瓷复合基,所述固体氧化物燃料电池连接板的尺寸为:100~250cm2。本发明制备的大尺寸固体氧化物燃料电池连接板孔隙少,气密性良好。同时,封孔剂阻碍了氧化性气氛的向内扩散,大幅提高连接板的抗氧化性。

氢燃料电池冷却系统冷却流量监测方法

NºPublicación:  CN121546102A 17/02/2026
Solicitante: 
太原重工股份有限公司
CN_121546102_PA

Resumen de: CN121546102A

本发明公开了一种氢燃料电池冷却系统冷却流量监测方法,属于氢燃料电池技术领域,包括:对氢燃料电池冷却系统中的电加热器设定加热功率;检测电加热器进液温度和出液温度,得到进液温度和出液温度的温度差;根据温度差,采用热功率公式计算出流经电加热器的冷却液流量;根据流经电加热器的冷却液流量和当前流量控制阀开度,查询冷却系统流量控制阀开度—冷却系统各支路的流量比例关系表,确定冷却系统各支路的流量,根据所确定的流量进行氢燃料电池冷却系统中的水泵转速和流量控制阀阀门开度的反馈调节,以及根据流经电加热器的冷却液流量和当前工况下的理论流量,进行氢燃料电池冷却系统故障诊断。本发明能够实时监控冷却液流量,成本低。

三组分铂铋稀土合金催化剂及其制备方法和应用

NºPublicación:  CN121546081A 17/02/2026
Solicitante: 
厦门大学
CN_121546081_PA

Resumen de: CN121546081A

本发明属于多组分铂基纳米催化剂合成及燃料电池器件应用研究领域,尤其涉及一种三组分铂铋稀土合金催化剂及其制备方法以及其在甲酸催化反应中的应用。所述三组分铂铋稀土合金催化剂的制备方法包括将铂前驱体、铋前驱体、稀土元素前驱体以及碳载体于溶剂中超声分散均匀并加热搅拌至蒸干后研磨,之后将所得研磨物在含氢气体中煅烧。采用该方法所得三组分铂铋稀土合金催化剂在直接甲酸燃料电池中的甲酸氧化反应和膜电极两种催化条件下均具有高效催化作用,且远高于商业铂碳催化剂,特别是稀土元素为铽的催化剂,在直接甲酸燃料电池的甲酸氧化反应和膜电极中均表现出优异的催化活性和稳定性,具有广阔的应用前景。

一种氢燃料电池箱体内部三轴向吹扫排水布置结构

NºPublicación:  CN121546110A 17/02/2026
Solicitante: 
武汉雄韬氢雄燃料电池科技有限公司
CN_121546110_PA

Resumen de: CN121546110A

本发明公开了一种氢燃料电池箱体内部三轴向吹扫排水布置结构,旨在解决现有氢燃料电池箱体存在的氢气吹扫不净及液态水导致绝缘故障的问题。该结构包括箱体、截止阀、三轴接头组件、增压扩散吹扫竹节接头、小型轴流风机、排水竹节接头及导流结构;前侧板设截止阀作为吹扫入口,箱体内设多组三轴接头组件实现XYZ三轴向吹扫,后侧板设与三轴接头组件对角布置的轴流风机;底板设土坡式凸弧形导流结构、斜坡导流沟渠及排水槽,三组三轴接头组件对应沟渠布置,配合吹扫力与重力实现液态水导流排出。本发明通过一吹一吸的对角布置实现氢气无死角吹扫,结合多级导流结构彻底排出液态水,有效规避氢安全风险与绝缘故障,实用性强。

具有气-水分离内腔流道的双极板及燃料电池

NºPublicación:  CN121546091A 17/02/2026
Solicitante: 
北京怀柔实验室清华大学上海神力科技有限公司清研华科新能源研究院(南京)有限公司
CN_121546091_PA

Resumen de: CN121546091A

本申请公开了具有气‑水分离内腔流道的双极板及燃料电池,该双极板包括连接侧面,朝向气体扩散层设置并包括凹陷设置的多组流道,以及分隔相邻两个流道的脊部;单个流道包括底壁和设置于底壁相对两侧的第一侧壁和第二侧壁;脊部和底壁均改性处理为亲水表面,第一侧壁上的至少部分区域改性为亲水区域,且第一侧壁上的亲水区域连通底壁和一个脊部;流道的其他区域为疏水性表面。本申请公开的双极板,通过脊部的亲水改性将气体扩散层产生的液态水吸引储存,通过第一侧壁上的亲水区域将脊部上的液态水输运至底壁,底壁的亲水表面锁水并在气流作用下实现排水,第二侧壁的疏水性表面则降低液态水侵入风险,而为气体的通过提供了畅通的通道结构。

一种内置级联催化剂的固体氧化氨燃料电池及其工作方法

NºPublicación:  CN121546107A 17/02/2026
Solicitante: 
福州大学
CN_121546107_PA

Resumen de: CN121546107A

本发明涉及一种内置级联催化剂的固体氧化氨燃料电池及其工作方法,包括电池内腔,该电池内腔自内朝外依次设置有氨气管道、电池气体流道、多孔支撑阳极、电解质、多孔阴极、空气流道以及外壁,所述氨气管道底部与电池气体流道相通且氨气管道内自顶部至底部依次设置有低活性氨分解催化剂、中等活性氨分解催化剂与高活性氨分解催化剂,该内置级联催化剂的固体氧化氨燃料电池通过不同氨分解活性催化剂的合理排布,调控氨分解反应和电化学反应的空间分布,不仅结构合理,而且稳定耐用。

一种柔性石墨极板分区温度热压及抗回弹整平方法

NºPublicación:  CN121536029A 17/02/2026
Solicitante: 
博远(山东)新能源科技发展有限公司
CN_121536029_PA

Resumen de: CN121536029A

本发明涉及极板热压技术领域,公开了一种柔性石墨极板分区温度热压及抗回弹整平方法,通过极板不同温度分区热压与四个阶段连续整平相结合的方法。该方法改善了传统热压导致的极板边缘开裂以及压力卸载之后极板回弹变形的问题。降低了极板边缘开裂率,改善了极板平整度,缩短了极板整平时间,提高了产品良率,节约了生产成本。该方法中四个阶段可以分区控制温度和压力,可以有效改善极板翘曲变形和边缘开裂隐裂问题。

燃料电池箱体、燃料电池及其组装方法

NºPublicación:  CN121546111A 17/02/2026
Solicitante: 
北汽福田汽车股份有限公司
CN_121546111_PA

Resumen de: CN121546111A

本公开涉及一种燃料电池箱体、燃料电池及其组装方法,该燃料电池箱体包括箱体框架、第一端板以及第二端板,箱体框架在电堆芯体插入的第一方向上包括相对的第一端面和第二端面,第一端面上设置有第一开口,第二端面上设置有第二开口,第一开口的面积小于第二开口的面积;第一端板连接于箱体框架并对第一开口封堵,第二端板连接于箱体框架并对第二开口封堵。该燃料电池箱体可以利用箱体框架在第一方向的两侧的不同面积的第一开口和第二开口,对电堆芯体进行封装,封装方式更加灵活且便于进行装配。另外,电堆芯体均可以堆叠于一个第二端板上,无需采用与电堆芯体对应的多个封装板,有效地提升封装的效率且集成度高。

一种多元气体吸附剂及其制备方法和应用

NºPublicación:  CN121534677A 17/02/2026
Solicitante: 
长春汽车滤清器有限责任公司
CN_121534677_A

Resumen de: CN121534677A

本发明涉及吸附剂技术领域,具体是一种多元气体吸附剂及其制备方法和应用。本发明提供的多元气体吸附剂制备方法简单、经济且环境友好,适合工业化大规模生产。且制备的吸附剂形貌规则,富含多种活性位点,有利于能有效吸附空气中的二氧化硫、二氧化氮和氨气。和现有技术相比,本发明制备的CHO‑SBA‑PEI多元气体吸附剂结合了SBA‑15的介孔结构(高比表面积、规则孔道)、PEI的胺基活性位点和SBA‑15的孔道内修饰的醛基,不仅实现了对SO2、NO2和NH3的多元吸收,而且具有高吸附容量,可有效净化进入氢能燃料电池的气体。制备工艺简单可控,无需特殊设备,易于规模化生产,适合氢能燃料电池空气滤清器的产业化应用。

燃料电池空气系统、控制方法及车辆

NºPublicación:  CN121546104A 17/02/2026
Solicitante: 
蜂巢蔚领动力科技(江苏)有限公司
CN_121546104_PA

Resumen de: CN121546104A

本发明提出了一种燃料电池空气系统、燃料电池空气系统的控制方法及车辆,涉及车辆制造技术领域,包括:压气机、电池电堆、膨胀机和出气管路,压气机适于选择性地连通于膨胀机的入口端或经过电池电堆后连通于膨胀机的入口端,且压气机适于选择性地连通于出气管路的入口端或经过电池电堆后连通于出气管路的入口端,膨胀机的出口端与出气管路的入口端选择性地连通,膨胀机设有涡轮壳,涡轮壳的底部设有排水孔。本发明实施例的燃料电池空气系统,通过将压气机选择性地连通于多个管路中,且在涡轮壳的底部设有排水孔,保证膨胀机运行可靠性,延长膨胀机使用寿命,且保证压气机运行可靠性,延长压气机使用寿命,进而可保证燃料电池空气系统运行稳定性。

一种基于柴油重整的燃料电池辅助动力装置

NºPublicación:  CN121546094A 17/02/2026
Solicitante: 
武汉船用电力推进装置研究所(中国船舶集团有限公司第七一二研究所)
CN_121546094_PA

Resumen de: CN121546094A

本发明提供一种基于柴油重整的燃料电池辅助动力装置,包括空气供给单元、水供给单元、柴油供给单元、柴油重整单元、发电单元,空气供给单元与发电单元以及柴油重整单元连接,用于向发电单元以及柴油重整单元供应气体,水供给单元与柴油重整单元连接,用于向柴油重整单元供应水,柴油供给单元与柴油重整单元连接,用于向柴油重整单元供应柴油,柴油重整单元与发电单元连接,用于对柴油进行重整并供应给发电单元,发电单元接收重整后的柴油以及空气供给单元供应的空气并进行发电。本发明通过取用汽车自带的柴油,经过重整后,直接将柴油的化学能转化成电能,供车辆进行使用,能够利用车辆携带的能源满足长时间停止或驻车工况对能量的需求。

一种锂空气电池、电池系统及使用方法

NºPublicación:  CN121546095A 17/02/2026
Solicitante: 
华电电力科学研究院有限公司西安交通大学
CN_121546095_PA

Resumen de: CN121546095A

本发明涉及锂空气电池技术领域,具体涉及一种锂空气电池、电池系统及使用方法。一种锂空气电池,包括:电池壳体,所述电池壳体具有正极腔室;压缩供气组件,所述压缩供气组件设于所述电池壳体外部,所述压缩供气组件与所述正极腔室管路连通。本发明提供了一种锂空气电池、电池系统及使用方法,以解决现有的空气压缩机,往往存在着内部结构复杂的问题。

一种能量梯级应用的液体燃料发电系统

NºPublicación:  CN121546106A 17/02/2026
Solicitante: 
天府永兴实验室
CN_121546106_PA

Resumen de: CN121546106A

本发明提供了一种能量梯级应用的液体燃料发电系统,涉及燃料电池能量管理技术领域,包括重整反应室、燃烧反应室、换热器组件、水气变换组件和高温质子交换膜燃料电池;重整反应室和燃烧反应室耦合为一体式反应器,燃烧反应室使用外部燃料和来自高温质子交换膜燃料电池的尾气进行催化燃烧,为重整反应室内的蒸汽重整反应提供热量;能量梯级应用的液体燃料发电系统被配置为外部燃料与水蒸气在重整反应室中发生重整反应产生氢气,氢气经过水气变换组件处理后通入高温质子交换膜燃料电池进行发电;换热器组件被配置为回收重整反应产物和燃烧尾气的热量,对水进行加热以产生重整反应所需的水蒸气。本发明能够有效地提升液体燃料发电系统的整体热效率。

一种植入式生物化学能电池阵列、芯片和应用

NºPublicación:  CN121546108A 17/02/2026
Solicitante: 
西安交通大学
CN_121546108_PA

Resumen de: CN121546108A

本发明属于生物化学能电池技术领域,公开了一种植入式生物化学能电池阵列、芯片和应用。包括多个生物化学能发电单元,并通过微流控通道相互连接成生物化学能发电阵列,发电阵列通过串并联形成电池阵列,微流控通道中流过葡萄糖流体。发电单元包括正极、生化分解室和负极,其中生化分解室内固定了己糖激酶HK、6‑磷酸葡萄糖脱氢酶G6PD、6‑磷酸葡萄糖酸内酯酶PGLS和6‑磷酸葡萄糖酸脱氢酶6PGDH的载体材料,负极上包被有装配NADPH转氢酶和线粒体呼吸链复合物蛋白的人工膜。本发明利用葡萄糖作为电池的燃料持续发电,能够提供一种微型化、高负载、长续航、可赋形、高能量密度的柔性阵列生物化学能电池。

一种复合质子交换膜及其制备方法和应用

NºPublicación:  CN121546087A 17/02/2026
Solicitante: 
佛山仙湖实验室
CN_121546087_A

Resumen de: CN121546087A

本发明属于质子交换膜技术领域,公开了一种复合质子交换膜及其制备方法和应用。本发明的复合质子交换膜包括全氟磺酸树脂和富M酸型纳米粒子,富M酸型纳米粒子分布在全氟磺酸树脂中,富M酸型纳米粒子由金属M氧化物经酸活化制备而成,富M酸型纳米粒子的表面含有金属M‑羟基官能团,金属M包括铌、钽、铪、锡、铈、钨、钇、镧中的至少一种。本发明提供的复合质子交换膜不仅能够显著抑制钒离子的交叉渗透,还能同步提高质子传导率,从根本上解决质子传导率‑选择性权衡难题。

一种可调压紧力式质子交换膜氢燃料电池堆

Nº publicación: CN223927368U 17/02/2026

Solicitante:

江苏三氢科技有限公司

CN_223927368_U

Resumen de: CN223927368U

本实用新型涉及燃料电池领域,尤其涉及一种可调压紧力式质子交换膜氢燃料电池堆;包括:前端板、调压组件、后端板以及堆芯;其中,调压组件包括:若干上端调压绑带、若干上端螺栓、若干下端调压绑带、若干下端螺栓、调节件、以及驱动件;本实用新型通过不同旋向的螺纹配合使得调节件转动时能带动上端螺栓以及下端螺栓相向移动或反向移动,进而带动上端调压绑带以及下端调压绑带相向移动或反向移动,实现对电池堆的压紧力;调整驱动件的旋转方向即可根据具体需求调整对电池堆的压紧力,且本实用新型的调压组件更换方便,无需对整个电池堆进行拆卸,单独更换调压组件中的部件即可。

traducir