Ministerio de Industria, Turismo y Comercio LogoMinisterior
 

Energía eólica

Resultados 568 resultados
LastUpdate Última actualización 04/04/2026 [07:17:00]
pdfxls
Solicitudes publicadas en los últimos 15 días / Applications published in the last 15 days
previousPage Resultados 325 a 350 de 568 nextPage  

ARRANGEMENT AND METHODS FOR INSTALLATION, CONSTRUCTION, REPLACEMENT OF PARTS, OR MAINTENANCE OF A WIND TURBINE

NºPublicación:  US20260085659A1 26/03/2026
Solicitante: 
WIND SPIDER AS [NO]
WIND SPIDER AS
US_20260085659_A1

Resumen de: US20260085659A1

An arrangement is for use in any of installing or replacing a part, maintaining, and constructing a wind turbine, the arrangement having a longitudinal structure at least partially supported on a wind turbine tower, a guide track connected to the longitudinal structure and a dolly arranged to follow the guide track along the longitudinal structure.

WIND TURBINE SYSTEM FOR POWER GENERATION

NºPublicación:  US20260085657A1 26/03/2026
Solicitante: 
PURUS POWER CORP [CA]
PURUS POWER CORPORATION
US_20260085657_A1

Resumen de: US20260085657A1

A flow driven turbine system is disclosed. The flow driven turbine system includes a flow consolidating conduit and a flow driven rotor assembly. The flow consolidating conduit is close sided and extends from a consolidating conduit upstream end to a consolidating conduit downstream end. The flow consolidating conduit includes a flow capture inlet at the consolidating conduit upstream end, and a plurality of flow partitions that subdivide a cross-sectional area of the flow consolidating conduit into three or more flow paths. Each flow partition and each flow path extend between the consolidating conduit upstream end and the consolidating conduit downstream end. Each flow partition has a partition downstream end located upstream of the consolidating conduit downstream end. At each partition downstream end, adjacent flow paths merge into a merged flow path. The three or more flow paths gradually merge into a single flow path at the consolidating conduit downstream end.

METHOD FOR OPERATING A WIND TURBINE, CONTROL SYSTEM AND WIND TURBINE

NºPublicación:  US20260085655A1 26/03/2026
Solicitante: 
NORDEX ENERGY SE & CO KG [DE]
Nordex Energy SE & Co. KG
US_20260085655_A1

Resumen de: US20260085655A1

The method is for operating a wind turbine having a rotor with at least one rotor blade, a tower and a pitch setting system. First information is provided which is representative for a bending moment of the rotor blade. Second information is provided which is representative for the wind turbulence intensity at the rotor. Third information is provided which is representative for a predetermined maximum allowed bending moment of the rotor blade. The maximum allowed bending moment depends on the wind turbulence intensity at the rotor. Fourth information is determined depending on the first, second and third information and is representative for whether the bending moment exceeds the maximum allowed bending moment. If so, an output signal is generated and configured to cause the pitch setting system to change the pitch angle of the rotor blade to reduce deflection of the rotor blade towards the tower when passing the tower.

SYNTHETIC INERTIA CONTROL METHOD AND SYSTEM OF A WIND TURBINE GENERATOR

NºPublicación:  US20260085656A1 26/03/2026
Solicitante: 
KOREA RENEWABLE ENERGY INST INC [KR]
Korea Renewable Energy Institute Inc
US_20260085656_A1

Resumen de: US20260085656A1

The present invention relates to a synthetic inertia control method that includes performing maximum power point tracking control, detecting a frequency deviation in a power system, and switching, when the frequency deviation is greater than a predetermined value, the maximum power point tracking control to temporary frequency support control, wherein the temporary frequency support control includes a first stage of calculating and controlling, for a predetermined first time period from a time point (conversion time point) at which the maximum power point tracking control is converted to the temporary frequency support control, an active power reference value that is increased from an original reference value according to the maximum power point tracking control at the conversion time point, and the increased active power reference value according to the temporary frequency support control is calculated as a function of the frequency deviation and a rotor speed of the wind turbine generator.

VERTICAL AXIS WIND TURBINE GUIDE AND ASSOCIATED SYSTEM AND METHOD

NºPublicación:  US20260085654A1 26/03/2026
Solicitante: 
YOUNGSTOWN STATE UNIV [US]
Youngstown State University
US_20260085654_A1

Resumen de: US20260085654A1

A system for utilizing wind generated by vehicles includes a vertical axis wind turbine and a plurality of guides configured to guide wind to the vertical axis wind turbine. The plurality of wind guides are aligned along a vehicle trajectory to capture more of the generated winds even after the vehicle has passed the turbine.

METHOD AND SYSTEM FOR DRIVETRAIN LOAD MITIGATION OF GRID-FORMING DOUBLY-FED INDUCTION GENERATOR-BASED WIND TURBINE GENERATORS BASED ON PHASE ANGLE FEEDFORWARD

NºPublicación:  US20260088626A1 26/03/2026
Solicitante: 
SHANDONG UNIV [CN]
SHANDONG UNIVERSITY
US_20260088626_A1

Resumen de: US20260088626A1

A method for drivetrain load mitigation of grid-forming (GFM) doubly-fed induction generator (DFIG)-based wind turbine generator (WTG) based on phase angle feedforward, wherein: acquiring active power of a GFM DFIG-based WTG; calculating difference value between acquired active power of GFM DFIG-based WTG and active power reference value; inputting difference value into GFM control to obtain output signal; adding output signal and reference frequency value of virtual synchronous coordinate system to obtain frequency of virtual synchronous coordinate system; integrating the frequency to obtain output value; multiplying additional damping active power reference value of GFM DFIG-based WTG by control gain of phase angle feedforward control to obtain product result; adding product result and output value to obtain angle of virtual synchronous coordinate system, and based on the angle, obtaining control quantity for generator output voltage phase; based on control quantity, adjusting phase of actual output voltage of GFM DFIG-based WTG by controlling rotor excitation current.

METHOD AND SYSTEM FOR UTILIZING WIND ENERGY IN MARICULTURE

NºPublicación:  US20260088619A1 26/03/2026
Solicitante: 
UNIV GUANGDONG OCEAN [CN]
GUANGDONG OCEAN UNIVERSITY
US_20260088619_A1

Resumen de: US20260088619A1

Disclosed are a method and system for utilizing wind energy in mariculture. The method includes performing fitting on a wind energy power time series and a historical actual wind energy power time series, obtaining a historical fitted wind energy power time series, inputting the historical fitted wind energy power time series into a wind energy power prediction model, and outputting a future wind energy power time series; inputting an obtained historical electricity consumption time series into an electricity consumption prediction model, and outputting a future electricity consumption time series; determining a future wind energy power shortage time series; and sequencing all electric devices in an offshore aquaculture platform based on priorities, obtaining an electric device sequence, and generating an electric device electricity consumption distribution strategy based on the future wind energy power shortage time series and the electric device sequence.

SYSTEM FOR SECURING CLIMBING STRUCTURES TO VERTICAL BODIES

NºPublicación:  US20260085660A1 26/03/2026
Solicitante: 
LEUNAMME TECH S L [ES]
LEUNAMME TECHNOLOGY S.L
US_20260085660_A1

Resumen de: US20260085660A1

A system for fastening climbing structures to vertical bodies, comprising fastening structures that allow a climbing structure to be moved in steps along a vertical body, such as a wind turbine tower, each fastening structure comprising a clamp jaw (1) with which it is pre-adjusted to the vertical body by a set of callipers (1.1), and a clamp (2) with which it is clamped to the vertical body by pads (4) which are joined to a hinged arm (6) and which are pressed by a webbing (7) against the surface of the vertical body.

Wind turbine blade, ladder support assembly, wind turbine and method for providing access to the interior of a hollow blade of a wind turbine

NºPublicación:  AU2026201701A1 26/03/2026
Solicitante: 
SIEMENS GAMESA RENEWABLE ENERGY AS
Siemens Gamesa Renewable Energy A/S
AU_2026201701_A1

Resumen de: AU2026201701A1

Abstract Wind turbine blade, ladder support assembly, wind turbine and method for providing access to the interior of a hollow blade of a wind turbine Wind turbine blade, comprising a hollow blade body with a blade root and a base plate arranged at a root-side end section of the blade, which base plate comprises a manhole through which the interior of the blade is accessible, wherein the base plate is provided with mounting means arranged at the or adjacent to the manhole and adapted to directly or indirectly mount at least one ladder to the base plate. wind turbine ar a r w i n d t u r b i n e

WIND TURBINE

NºPublicación:  AU2024352313A1 26/03/2026
Solicitante: 
GABRICI LEONELLO
GABRICI, Leonello
AU_2024352313_PA

Resumen de: AU2024352313A1

The present invention concerns a wind turbine (1 ) with a horizontal axis (X) which comprises a first rotor (13) having a center of rotation (130) and configured to rotate around a support rod (11 ) in a first direction of rotation arranged along an axis of rotation parallel to said horizontal axis (X), a second rotor (14) operatively coupled to said first rotor (13) and configured to rotate around said axis of rotation in said first direction of rotation, at least one further rotating member (15) operatively coupled to said support rod (11 ), a structure (3) having a first (33) and a second (34) vertical pillar sized to contain said first and second rotors, said at least one further rotating member (15) and said rod (11 ), a counter-rotation mechanism (12) arranged between said at least one further rotating member (15) and at least one of said first or second rotor, to invert the direction of rotation of said at least one further rotating member (15) with respect to said first and second rotors, said first rotor comprising a first plurality of blades (131 ), and said second rotor comprising a second plurality of blades (141 ), wherein said structure (3) comprises a conveyor (32) configured to convey the wind between a first blade (1ST, 14T) and a second blade (131", 141") of each of said plurality of blades, to modulate a rotation speed of at least one of said first and second rotor with respect to said at least one further rotating member (15).

A DEVICE FOR INSTALLING A BLADE ASSEMBLY, A ROTOR UNIT, A WIND-POWER PLANT, A METHOD FOR INSTALLING A BLADE ASSEMBLY, AND USE OF SUCH A DEVICE, ROTOR UNIT AND WIND-POWER PLANT

NºPublicación:  AU2024320285A1 26/03/2026
Solicitante: 
WORLD WIDE WIND TECH AS
WORLD WIDE WIND TECH AS
AU_2024320285_PA

Resumen de: AU2024320285A1

A device (10) for installing a blade assembly (12) at a rotor receiver unit (14) of a vertical axis wind turbine (3). The turbine is configured to be arranged at an elongated support pillar (5). The blade assembly comprises a blade (20) and a strut (22). The device comprises a first installation pivot (30) a second installation pivot (32), a third installation pivot (34) and a displacement arrangement (40) configured to hold and guide a displacement of one of the second installation pivot and the third installation pivot between a first position and a second position. The displacement of the second installation pivot or the third installation pivot is such that, in the first position, the second installation pivot or the third installation pivot is located further away from the first installation pivot than when the second installation pivot or third installation pivot is located in the second position.

Getriebeanordnung und Windkraftanlage

NºPublicación:  DE102024209146A1 26/03/2026
Solicitante: 
ZAHNRADFABRIK FRIEDRICHSHAFEN [DE]
ZF WIND POWER ANTWERPEN NV [BE]
ZF Friedrichshafen AG,
ZF Wind Power Antwerpen N.V

Resumen de: DE102024209146A1

Die Erfindung betrifft eine Getriebeanordnung für eine Windkraftanlage (10) mit einem Getriebe (22) und einer Rotorwellenanordnung. Das Getriebe (22) weist ein Getriebegehäuse (36) und einen in einem Innenraum des Getriebegehäuses (36) angeordneten Radsatz auf. Ein Drehelement (38) des Radsatzes bildet einen Antrieb des Getriebes (22) aus. Das Drehelement (38) ist mit einer Rotorwelle (16) der Rotorwellenanordnung permanent drehfest verbunden. Das Getriebegehäuse (36) und ein Rotorwellengehäuse (70) sind aneinander fixiert. Die Getriebeanordnung weist ein Dichtelement (72) auf. Das Dichtelement (72) ist dazu ausgebildet, das Getriebegehäuse (36) gegen ein Eindringen von Fremdstoffen aus dem Rotorwellengehäuse (70) abzudichten. Weiterhin ist das Dichtelement (72) dazu ausgebildet ist, eine Lageabweichung des Drehelements (38) relativ zu dem Getriebegehäuse (36) bei dem Abdichten zu kompensieren. Zudem bezieht sich die Erfindung auf eine Windkraftanlage (10).

Basis-Station

NºPublicación:  DE102025138557A1 26/03/2026
Solicitante: 
ENERKITE GMBH [DE]
EnerKite GmbH

Resumen de: DE102025138557A1

Eine Basis-Station (1) für eine Windkraftanlage (2) weist einen modularen Aufbau auf.

Werkzeug, System und Verfahren zum Bewegen einer Komponente in einer Gondel einer Windenergieanlage

NºPublicación:  DE102024127779A1 26/03/2026
Solicitante: 
NORDEX ENERGY SE & CO KG [DE]
Nordex Energy SE & Co. KG

Resumen de: DE102024127779A1

Ein Werkzeug zum Bewegen einer Komponente (113) in einer Gondel (106) einer Windenergieanlage (100), weist auf:- einen ersten Hebel (210) mit einem ersten Ende (211) und einem zweiten Ende (212),- einen zweiten Hebel (220) mit einem dritten Ende (221) und einem vierten Ende (222),- einen dritten Hebel (230) mit einem einem Mittelbereich (233),- wobei der erste Hebel (210) verschwenkbar mit dem dritten Hebel (230) verbunden ist und der zweite Hebel (220) verschwenkbar mit dem drittel Hebel (230) verbunden ist,- wobei das erste Ende (211) ortsfest relativ zu der Gondel (106) befestigbar ist und das dritte Ende (221) ortsfest relativ zu der Gondel (106) befestigbar ist beabstandet zu der ersten Halterung (201), sodass der Mittelbereich (233) sich entlang der ersten Richtung (121) bewegt, wenn sich der erste Hebel (210) und der zweite Hebel (220) verschwenken.

Triebflügel für eine Windkraftanlage und Windkraftanlage mit einem solchen Triebflügel

NºPublicación:  DE102024127416A1 26/03/2026
Solicitante: 
COLLING CLAUS [DE]
Colling, Claus

Resumen de: DE102024127416A1

Es ist ein Triebflügel (10) für eine Windkraftanlage offenbart, bei dem gegenüberliegende Breitseitenflächen (32, 34) über mindestens zwei in den Triebflügel (10) eingebrachte Öffnungen strömungstechnisch miteinander in Verbindung stehen, wobei den Öffnungen Funktionselemente (12) zugeordnet sind, die zur Strömungsbeeinflussung aus der jeweiligen Breitseitenfläche (32) heraus bewegbar sind, so dass die Funktionselemente (12) hierbei zunächst in eine jeweilige definierte Störposition gelangen, bei der die jeweilige Öffnung (36) verschlossen ist und wobei die Funktionselemente (12) bei weiterer Bewegung aus der jeweiligen Breitseitenfläche (32) heraus eine definierte Druckausgleichsposition erreichen, bei der eine jeweilige Öffnung (36) freigegeben ist.

SYSTEM AND METHOD FOR CONTINUOUS YAWING OF A WIND TURBINE WITHIN A CONSTRAINED YAW ANGLE SWEEP UPON DETECTION OF BLADE VIBRATIONS

NºPublicación:  WO2026063916A1 26/03/2026
Solicitante: 
GE INFRASTRUCTURE TECH LLC [US]
GE INFRASTRUCTURE TECHNOLOGY LLC
WO_2026063916_A1

Resumen de: WO2026063916A1

A system and method reduce vibrations in a blade mounted on a hub of a wind turbine rotor when the rotor is in a limited yaw capacity state with a defined allowable yaw sweep. An allowable yaw sweep is defined for the limited yaw capacity state. A sensor in communication with a controller monitors for vibrations in the blade with the rotor at an initial yaw position. Upon detection of vibrations, the controller determines a yaw sweep sector that is within and less than the allowable yaw sweep and issues a command to a yaw system to yaw the rotor in a continuous back and forth manner in the yaw sweep sector. The controller continues to monitor for vibrations in the blade during or after the continuous yawing of the rotor and stops the continuous yawing of the rotor when the blade vibrations reduce to below the threshold level.

Adapterstück zur Verbindung eines unteren, ringförmigen Betonturmabschnitts mit einem oberen, ringförmigen Stahlturmabschnitt sowie Turm mit einem Adapterstück

NºPublicación:  DE102024127388A1 26/03/2026
Solicitante: 
MAX BOEGL WIND AG [DE]
Max B\u00F6gl Wind AG
EP_4715142_PA

Resumen de: DE102024127388A1

Ein Adapterstück (1) zur Verbindung eines unteren, ringförmigen Betonturmabschnitts (2) mit einem oberen, ringförmigen Stahlturmabschnitt (3), insbesondere eines Windkraftturms (4) ist als Beton-Stahl-Verbundteil mit einem ringförmigen Stahlelement (5) und einem ringförmigen Betonelement (6) ausgebildet. Das ringförmige Stahlelement (5) umfasst einen oberen, insbesondere L-förmigen, Befestigungsflansch (7) zum Verbinden mit dem Stahlturmabschnitt (3). Das Adapterstück (1) umfasst eine Anlagefläche (8), mit der das Adapterstück (1) auf dem Betonturmabschnitt (2) anordenbar ist. Dabei weist das Betonelement (6) die Anlagefläche (8) auf und das ringförmige Stahlelement (5) weist einen unteren, insbesondere T-förmigen, Flansch (9) auf, welcher eine Oberseite (10) des Betonelements (6) bedeckt. Ein Turm mit einem unteren, ringförmigen Betonturmabschnitt (2) und einem oberen, ringförmigen Stahlturmabschnitt (3) weist ein solches Adapterstück (1) auf.

LOW SOLIDITY WIND TURBINE AMIABLE

NºPublicación:  WO2026063770A2 26/03/2026
Solicitante: 
CORTENERGY BV [NL]
CORTENERGY BV
WO_2026063770_A2

Resumen de: WO2026063770A2

A horizontal axis wind turbine, HAT wind turbine (151), for a bulk production of electricity from wind, comprising a tower (5), a nacelle (6), a generator, a rotor (152), and a blade (154), the rotor being rotatable about a rotor axis by the wind and having at least two blades, the rotor having a rotor solidity SOLrotor of maximally 0.05, the rotor configured to have a design tip speed ratio λdesign of at least 4, and an electric power coefficient CPE of at least 0.30, the rotor having a radius R and a diameter D which is at least 50m, the rotor further having an average radial solidity avgsol.25R in the radial range from 0.2R to 0.3R, and an average radial solidity avgsol.75R in the radial range from 0.7R to 0.8R, wherein the ratio between the average radial solidities avgsol.25R /avgsol.75R is one of: less than 2.00; less than 1.75; less than 1.50; less than 1.25; less than 1.00; less than 0.90; less than 0.75; less than 0.50; and less than 0.25.

WINCH APPARATUS

NºPublicación:  WO2026062275A1 26/03/2026
Solicitante: 
ENERKITE GMBH [DE]
ENERKITE GMBH
WO_2026062275_A1

Resumen de: WO2026062275A1

A winch apparatus (5) for a wind turbine (2) has a supporting structure (33) having a first supporting structure element with a receiving device for receiving a flying-vehicle starting device (6) extending along a longitudinal direction, a first drum for winding up a traction means which is connected to a flying vehicle, the first drum being mounted rotatably about a first axis of rotation, and a second drum for winding up a traction means which is connected to a flying vehicle, the second drum being mounted rotatably about a second axis of rotation, the axes of rotation of the drums being arranged in a fixed position relative to the receiving device (8).

METHOD AND ASSEMBLY FOR LOCATING AN ANOMALY IN A ROTOR BLADE OF A WIND TURBINE

NºPublicación:  WO2026061786A1 26/03/2026
Solicitante: 
WEIDMUELLER MONITORING SYSTEMS GMBH [DE]
WEIDM\u00DCLLER MONITORING SYSTEMS GMBH
WO_2026061786_A1

Resumen de: WO2026061786A1

The invention relates to a method for locating an anomaly in a rotor blade (6) of a wind turbine (1), said method having the following steps: - detecting airborne noise using at least one airborne noise sensor (11, 21, 31) arranged within the rotor blade (6); - detecting structure-borne noise using at least one structure-borne noise sensor (12, 22, 32) arranged in or on the rotor blade (6); - ascertaining times (tK, tL) at which an event during which airborne noise and structure-borne noise are emitted at an unknown source position in or on the rotor blade (6) is reflected in the detected airborne noise and in the detected structure-borne noise; - determining a time difference (Δt) between the times (tK, tL); and - ascertaining the source position on the basis of the time difference (Δt) and the positions of the airborne noise sensor (11, 21, 31) and the structure-borne noise sensor (12, 22, 32). The invention further relates to an assembly suitable for carrying out the method for locating an anomaly in a rotor blade (6) of a wind turbine (1).

BASE STATION

NºPublicación:  WO2026062276A1 26/03/2026
Solicitante: 
ENERKITE GMBH [DE]
ENERKITE GMBH
WO_2026062276_A1

Resumen de: WO2026062276A1

A base station (1) for a wind turbine (2) has a modular design.

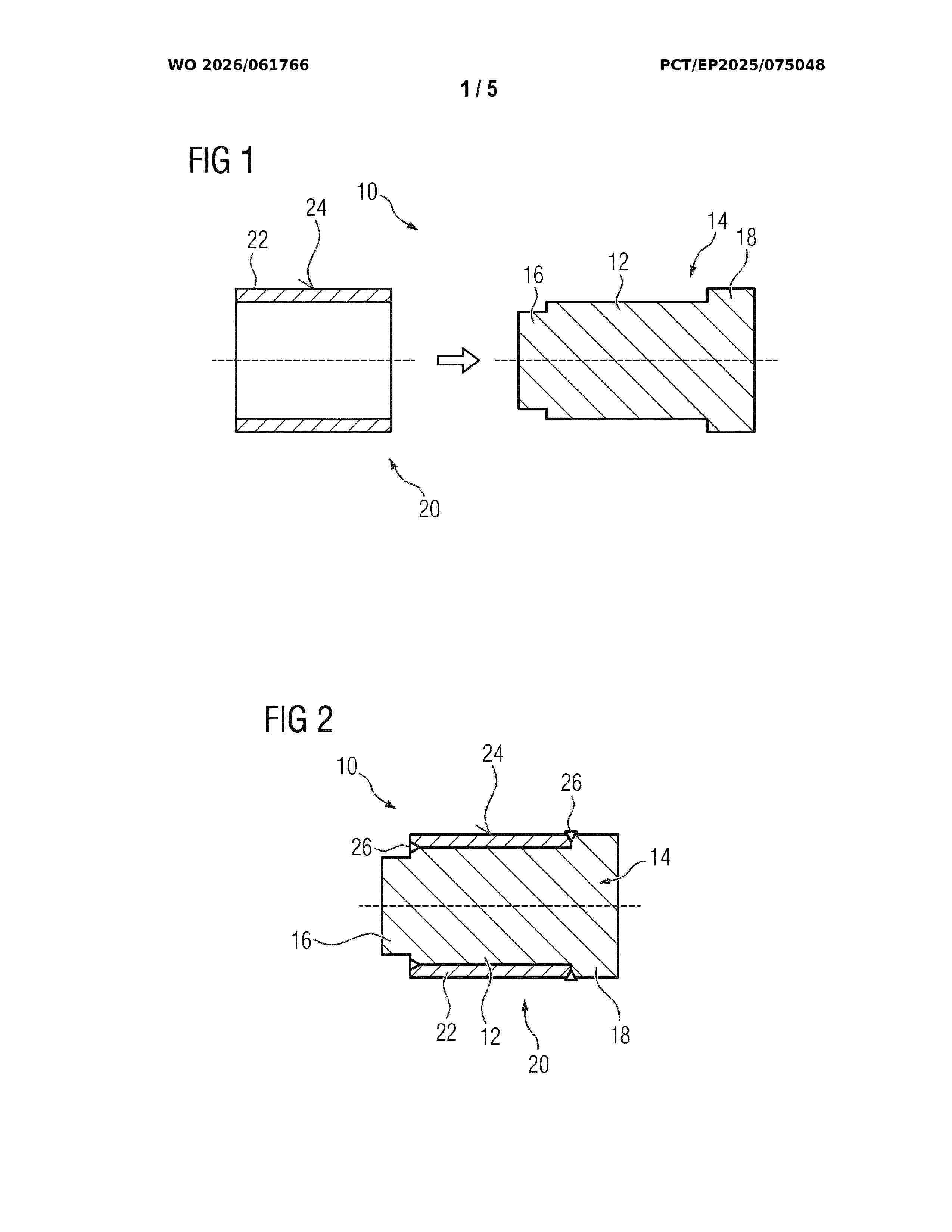
WIND GEARBOX FOR A WIND TURBINE

NºPublicación:  WO2026061766A1 26/03/2026
Solicitante: 
FLENDER GMBH [DE]
FLENDER GMBH
WO_2026061766_A1

Resumen de: WO2026061766A1

The invention relates to a wind gearbox (118) for a wind turbine (110), having at least one planetary gearbox for transmitting and converting power generated by wind energy, wherein: the planetary gearbox has a plain bearing arrangement (10) for supporting a gearbox component; the plain bearing arrangement (10) has a workpiece produced from a weldable material and comprising, at least in a portion, a cylindrical bolt (12) and/or a hollow cylindrical hub, and has a plain bearing sleeve (20) fitted onto the bolt (12) or inserted into the hub; the plain bearing sleeve (20) has a plain bearing surface (24) facing away from the workpiece and has a weldable holding body (22) abutting the workpiece; the holding body (22) is welded to the workpiece along at least one fastening line extending in the circumferential direction; and a continuous weld seam (26), or a plurality of weld spots arranged in succession in the circumferential direction, is or are formed along the fastening line. By virtue of the plain bearing sleeve (20) being welded to the workpiece, a mechanically highly loadable plain bearing can be provided cost-effectively, making it possible to provide a cost-effective and highly loadable plain bearing arrangement (10) for use in industrial wind turbines (110).

ROTOR AZIMUTH ESTIMATOR

NºPublicación:  WO2026061733A1 26/03/2026
Solicitante: 
SIEMENS GAMESA RENEWABLE ENERGY AS [DK]
SIEMENS GAMESA RENEWABLE ENERGY A/S
WO_2026061733_A1

Resumen de: WO2026061733A1

The invention describes an azimuth estimator (1) for computing an estimate (αe) of the azimuth angle (20α) of the aerodynamic rotor (20) of a wind turbine (2), which azimuth estimator (1) comprises an input for receiving measurement values (270) of the rotational speed (20ω) of the aerodynamic rotor (20); an azimuth change computation module (10) for computing an azimuth angle change (100) on the basis of the measured rotor speed (270); and a summation unit (11, 13) configured to add at least the azimuth angle change (100) and a previously determined azimuth estimate (αeprev) to obtain an azimuth estimate (αe). The invention further describes a method of computing an estimate (αe) of the azimuth angle (20α) of the aerodynamic rotor (20) of a wind turbine (2).

Verfahren und Anordnung zur Lokalisierung einer Anomalie bei einem Rotorblatt einer Windenergieanlage

NºPublicación:  DE102024127164A1 26/03/2026
Solicitante: 
WEIDMUELLER MONITORING SYSTEMS GMBH [DE]
Weidm\u00FCller Monitoring Systems GmbH

Resumen de: DE102024127164A1

Die Erfindung betrifft ein Verfahren zur Lokalisierung einer Anomalie in einem Rotorblatt (6) einer Windenergieanlage (1), mit den folgenden Schritten:- Erfassen von Luftschall mittels mindestens einem innerhalb des Rotorblatts (6) angeordneten Luftschallsensor (11, 21, 31);- Erfassen von Körperschall mittels mindestens einem in oder an dem Rotorblatt (6) angeordneten Körperschallsensor (12, 22, 32);- Ermitteln von Zeitpunkten (tK, tL), zu denen sich ein Ereignis, bei dem Luftschall und Körperschall an einer unbekannten Ursprungsposition in oder an dem Rotorblatt (6) emittiert werden, in dem erfassten Luftschall und in dem erfassten Körperschall widerspiegelt;- Bestimmen einer Zeitdifferenz (Δt) zwischen den Zeitpunkten (tK, tL); und- Ermitteln der Ursprungsposition anhand der Zeitdifferenz (Δt) und den Positionen des Luftschallsensors (11, 21, 31) und des Körperschallsensors (12, 22, 32).Die Erfindung betrifft weiterhin eine zur Durchführung des Verfahrens geeignete Anordnung zur Lokalisierung einer Anomalie in einem Rotorblatt (6) einer Windenergieanlage (1).

Hohlrad mit Rotornabe

Nº publicación: DE102024209144A1 26/03/2026

Solicitante:

ZAHNRADFABRIK FRIEDRICHSHAFEN [DE]
ZF WIND POWER ANTWERPEN NV [BE]
ZF Friedrichshafen AG,
ZF Wind Power Antwerpen N.V

Resumen de: DE102024209144A1

Die Erfindung betrifft ein Windkraftgetriebe (101, 201) mit einem drehbar gelagerten Hohlrad (111). Das Hohlrad (111) ist ausgebildet, direkt mit einer Rotornabe (103) gefügt zu werden.

traducir