Resumen de: WO2024236185A1
The invention relates to a device (10) for producing hybrid electrical power, the device comprising photovoltaic panels (12) and at least one rotary machine generator (11) that is isochronous in response to an electrical load to be supplied, each generator comprising an alternator. The device further comprises: - a memory storing a limit value for the minimum electrical power to be supplied by each rotary machine generator; - a controller (15) configured to limit the electrical power supplied by the photovoltaic panels according to the electrical load to be supplied and to the stored limit value for the minimum electrical power to be supplied by the generators; and - a means for electrically coupling the alternator of each generator in operation. In certain embodiments, the device further comprises at least one electric battery (13) and the controller (15) is configured to limit the electrical power supplied by the photovoltaic panels (12) according to the electrical load to be supplied, the level of charge of each battery, the maximum charging current for each battery and the stored limit value for the minimum electrical power to be supplied by each generator (11).
Resumen de: WO2024236321A1
A method of transporting portable cabins (1) having a flat roof (2) with a flat layer of lightweight or flexible solar material (10). The method comprises releasably attaching a protective layer (16) to cover the solar material (10) and transporting the cabin (1) with the covered solar material (10) in place. A portable cabin (1) with a flat layer of lightweight or flexible solar material (10) attached to the roof (2) is also disclosed.
Resumen de: US2024387762A1
Methods of fabricating solar cell emitter regions with differentiated P-type and N-type layouts and incorporating dotted diffusion, and resulting solar cells, are described. In an example, a solar cell includes a substrate having a light-receiving surface and a back surface. A first polycrystalline silicon emitter region of a first conductivity type is on a first thin dielectric layer on the back surface of the substrate. A second polycrystalline silicon emitter region of a second, different, conductivity type is on a second thin dielectric layer on the back surface of the substrate. The second polycrystalline silicon emitter region has a vertical thickness less than a vertical thickness of the first polycrystalline silicon emitter region.
Resumen de: EP4714945A1
The present invention provides a novel compound that can improve the luminous efficiency, stability, and lifespan of the element, a composition comprising the same and an organic electronic element using the same, and an electronic device thereof.
Resumen de: EP4716431A1
The present application provides a solar cell, a preparation method thereof, and an electric apparatus. The solar cell includes a substrate, a conductive layer, a grid line layer, a perovskite functional layer, and an electrode layer, where the conductive layer includes conductive portions with a first gap between the conductive portions, the grid line layer includes a plurality of grid lines, the perovskite functional layer includes functional portions with a second gap between the functional portions, each grid line is located between the first gap and the second gap that are adjacent to each other, the electrode layer includes a plurality of electrodes, and the electrodes are electrically connected to the grid lines.
Resumen de: EP4716430A1
A perovskite film and a preparation method thereof, a perovskite battery, and an electric apparatus are provided. The perovskite film includes: a perovskite matrix layer; and a plurality of spaced-apart nano-protrusions disposed on at least one surface of the perovskite matrix layer.
Resumen de: EP4714959A1
A light emitting element including a first electrode, a second electrode disposed on the first electrode, and an emission layer disposed between the first electrode and the second electrode is provided. The emission layer contains a first compound represented by Formula 1.
Resumen de: EP4715878A1
The present application discloses an insulating layer, a preparation method, a back-contact conductive integrated back sheet, and a photovoltaic module. The insulating layer includes a support layer, a first bonding layer, and a second bonding layer. The support layer includes a first surface and a second surface that are opposite. The first bonding layer is adhered to the first surface. The second bonding layer is adhered to the second surface. The first bonding layer and/or the second bonding layer includes a plurality of polyolefin films. At least one of the polyolefin films in contact with a bonded material includes 1 to 2 parts by weight of other polyolefin materials and 0.1 to 1 parts by weight of a polypropylene material. The other polyolefin materials are one or more of polyethylene, ethylene-propylene copolymer, ethylene-butene copolymer, ethylene-octene copolymer, ethylene-vinyl acetate copolymer, polyvinyl chloride, and vinyl chloride. In this way, the water vapor barrier effect is higher, the creep resistance is better, and the melting point temperature is higher, so that the probability of a connection failure can be reduced, and the stability and reliability of the insulating layer can be improved.
Resumen de: CN121241685A
Aspects of the invention include: a solar panel having (a) a photovoltaic (PV) cell array, and (b) an encapsulation encapsulating the PV cell array, and wherein top and bottom sections of the encapsulation are bonded together at a bonding perimeter of the encapsulation to form a hermetic seal around the PV cell array; wherein (i) the top section of the package comprises a glass composition or a glass ceramic composition; and (ii) the bottom section of the package comprises a glass composition, a glass ceramic composition, or a metal.
Resumen de: AU2024277835A1
A power generator comprises (I) at least one reaction cell for reactions involving atomic hydrogen products identifiable by unique analytical and spectroscopic signatures, (ii) a molten metal injection system comprising an electromagnetic pump that provides a molten metal stream to the reaction cell and at least one reservoir that receives the molten metal stream, and (iii) an ignition system comprising an electrical power source that provides low-voltage, high-current electrical energy to the at least one steam of molten metal to ignite a plasma. In some embodiments, the power generator may comprise: (v) a source of H2 and 02 supplied to the plasma, (vi) a molten metal recovery system, and (vii) a power converter capable of (a) converting the high-power light output from a blackbody radiator of the cell into electricity using concentrator thermophotovoltaic cells with plasma light recycling or (b) converting the energetic plasma into electricity using a magnetohydrodynamic converter.
Resumen de: EP4716438A1
A substrate (1110), a solar cell (1100), a photovoltaic system, and an electric device are provided. The substrate (1110) includes a first film layer (100), where at least one through-hole (110) is provided on the first film layer (100). When the substrate (1110) undergoes bending, the first film layer (100) bends and deforms accordingly. Since the through-hole (110) is provided on the first film layer (100), the through-hole (110) can reduce stress experienced by the first film layer (100) surrounding the through-hole due to bending, thereby improving bending resistance of the first film layer (100), and further improving bending resistance of the substrate (1110). This reduces a risk that the substrate (1110) develops bending marks, fractures, or breaks during repeated bending.
Resumen de: EP4716435A1
The present application provides a perovskite cell and a photovoltaic module, and the perovskite cell comprises a first electrode, a second electrode, a light absorbing layer, a hole transport layer and an electron transport layer. The light absorbing layer is located between the first electrode and the second electrode, the hole transport layer is located between the first electrode and the light absorbing layer, and the electron transport layer is located between the second electrode and the light absorbing layer. The perovskite cell further comprises a passivation layer; the passivation layer is located between the hole transport layer and the light absorbing layer, and/or the passivation layer is located between the electron transport layer and the light absorbing layer; and the passivation layer comprises at least two of an organic molecular passivation material, a metal oxide semiconductor material and a metal halide.
Resumen de: EP4716096A1
A power control apparatus (10) controls power input from a solar cell panel (2) and determines occurrence of an anomaly based on current, voltage, or power supplied from the solar cell panel (2). The solar cell panel (2) has a structure in which multiple solar cell layers (3), each absorbing light of a different wavelength, are stacked on each other. The power control apparatus (10) includes a power conversion section (30) which converts and outputs voltages or currents input from the solar cell layers (3), and an anomaly determination section (29) which determines occurrence of an anomaly. The anomaly determination section (29) determines occurrence of an anomaly based on current, voltage, or power supplied from each of the solar cell layers (3).
Resumen de: EP4715868A1
A semiconductor thermal processing apparatus and a method for transferring workpieces by a carrier device are disclosed. The apparatus includes process chambers assigned into one or more chamber groups; one or more carrier devices associated one-to-one to one of the chamber groups; one or more transfer actuators, each of the transfer actuators being connected to one carrier device in a one-to-one correspondence and configured to drive the connected carrier device to perform a transfer-in or transfer-out action; a controller, communicatively connected to the transfer actuators, receives a transfer-in or transfer-out instruction to a designated process chamber, and, according to the transfer-in or transfer-out instruction, to control the transfer actuator associated to the chamber group assigned to the designated process chamber to perform the transfer-in or transfer-out action; and a host computer, communicatively connected to the controller, transmits the transfer-in or transfer-out instruction to the controller using a preset scheduling method.
Resumen de: EP4716095A1
The present disclosure provides a photovoltaic (PV) equipment safety detection method and a PV equipment safety detection system. The method includes: performing status detection on a PV power station; determining whether there is an abnormality according to detection information, outputting an abnormality instruction if there is an abnormality, and parsing and processing the abnormality instruction to generate an inquiry instruction; displaying the inquiry instruction to a user, and providing, by the user, reply information; determining, according to the reply information, whether to send a further inquiry instruction to the user for an inquiry, or to send an execution instruction to the PV power station, such that according to the execution instruction, the PV power station performs an action to resolve the abnormality or conducts self-inspection and reports the abnormality; and feeding the execution instruction back to a preprocessing port, and performing model switching or model self-learning according to the execution instruction, thereby performing iterative upgrading to obtain an accurate detection result. Through effective iterative interactions with the user, a false alarm caused by the environmental condition is avoided, thereby improving the abnormality handling efficiency, saving human and material resources, reducing operation and maintenance costs, and effectively enhancing user experience.
Resumen de: EP4715705A1
The present disclosure provides a Time-of-Use (TOU) revenue calculation unit and an intelligent management system for a photovoltaic (PV) TOU mode, which are applied in the PV field. A PV power station is subject to TOU control according to configured TOU configuration information data. The TOU revenue calculation unit includes a PV energy storage system model and a revenue management module. The PV energy storage system model is formed based on a structural digital twin of the PV power station. The PV energy storage system model simulates operation of the PV power station under a TOU operation mode, and the revenue management module calculates TOU revenue of the PV power station under the TOU operation mode. The intelligent management system for a PV TOU mode, equipped with the TOU revenue calculation unit, performs corresponding TOU revenue calculation synchronously with the adjustment of TOU configuration information data, which can better meets user demands for autonomous TOU configuration. The process of TOU setting adjustment is simple and efficient, which can lower the technical threshold for operators in PV energy management, thereby improving user experience and realizing better management of PV power stations.
Resumen de: EP4715704A1
Provided are an autonomous management method for a photovoltaic (PV) Time-of-Use (TOU) mode, a computing device, and a readable storage medium. The method includes the following processing steps: presetting a TOU data template and a plurality of configuration modes in an interaction terminal; inputting a mode selection instruction at the interaction terminal, and selecting a specific configuration mode according to the mode selection instruction; inputting a parameter configuration instruction that meets requirements of the selected configuration mode at the interaction terminal, analyzing and processing the parameter configuration instruction, and performing feature extraction on keywords in the parameter configuration instruction to form valid feature data; filling or modifying the TOU data template according to the valid feature data to form TOU configuration information data; and completing TOU configuration by issuing: sending the TOU configuration information data to a PV power station for TOU control. This application can reduce the technical threshold for operators in PV energy management, which not only improves user experience but also enables better management of PV power stations.
Resumen de: FR3166275A1
Procédé de pollinisation en agriculture Procédé de pollinisation de végétaux (A), notamment d’arbres fruitiers, situés sous des capteurs photovoltaïques orientables (C), l’ombre projetée sur les végétaux étant modifiée par le changement d’orientation des capteurs, procédé dans lequel on agit automatiquement sur l’orientation des capteurs en fonction de l’état de floraison de manière à augmenter l’ensoleillement et/ou l’exposition au vent, par rapport à une référence de pilotage des capteurs appliquée lorsque la floraison est non mature ou non démarrée, pour encourager l’activité des pollinisateurs et/ou favoriser l’action du vent sur la pollinisation. Figure pour l’abrégé : Fig. 2
Resumen de: FR3166394A1
Dispositif de connexion (100) de l’extrémité d’un hauban (201, 202) à un ancrage, le dispositif (100) comprenant une première bride (10) munie d’un élément de connexion pour fixer ladite première bride (10) à l’extrémité du hauban (201, 202), une deuxième bride (20) munie d’un élément de connexion pour fixer la deuxième bride (20) à une ancre, une première et une deuxième tige de connexion (301, 302) pour relier la première bride (10) à la deuxième bride (20), lesdites première bride (10) et deuxième bride (20) comprenant respectivement un premier et un deuxième moyen de connexion pour fixer les extrémités respectives de la première et de la deuxième tige de connexion (301, 302), le premier et le deuxième moyen de connexion de la deuxième bride (20) étant pourvus d’une liaison rotule. Figure de l’abrégé : Figure 3
Resumen de: FR3166276A1
Procédé de coloration en agriculture Procédé de coloration de fruits (F) de végétaux (A), notamment d’arbres fruitiers, situés sous des capteurs photovoltaïques orientables (C), l’ombre projetée sur les végétaux étant modifiée par le changement d’orientation des capteurs (C), procédé dans lequel on agit automatiquement sur l’orientation des capteurs en fonction de l’état de coloration des fruits (F) de manière à augmenter l’ensoleillement par rapport à une référence de pilotage des capteurs appliquée lorsque la coloration souhaitée est atteinte ou lorsque les fruits sont non encore colorés, pour favoriser l’action du soleil sur la coloration. Figure pour l’abrégé : Fig. 2
Resumen de: WO2026056170A1
The present invention provides a building-applicable paper with flexible perovskite attached thereon, and a device having a power conversion mechanism. The building-applicable paper with the flexible perovskite attached thereon can realize power generation by means of the flexible perovskite, and the flexible building-applicable paper can be directly adhered to architectural glass or building exterior walls. The building-applicable paper comprises a flexible substrate and a perovskite photovoltaic functional layer formed on one side surface of the flexible substrate. The other side surface of the flexible substrate can be adhered to a surface of architectural glass or a building exterior wall. The building-applicable paper with the flexible perovskite attached thereon can be adhered to the surface of the architectural glass or building exterior wall, depending on scenario requirements, to form photovoltaic glass or a photovoltaic exterior wall having a photovoltaic power generation function. This solution provides the possibility of assembling a photovoltaic power generation device to architectural glass and building exterior walls, facilitates reducing the quality costs during manufacturing and the maintenance costs during use, and also provides a readily acceptable and broadly applicable photovoltaic renovation solution on existing architectural glass and building exterior walls.
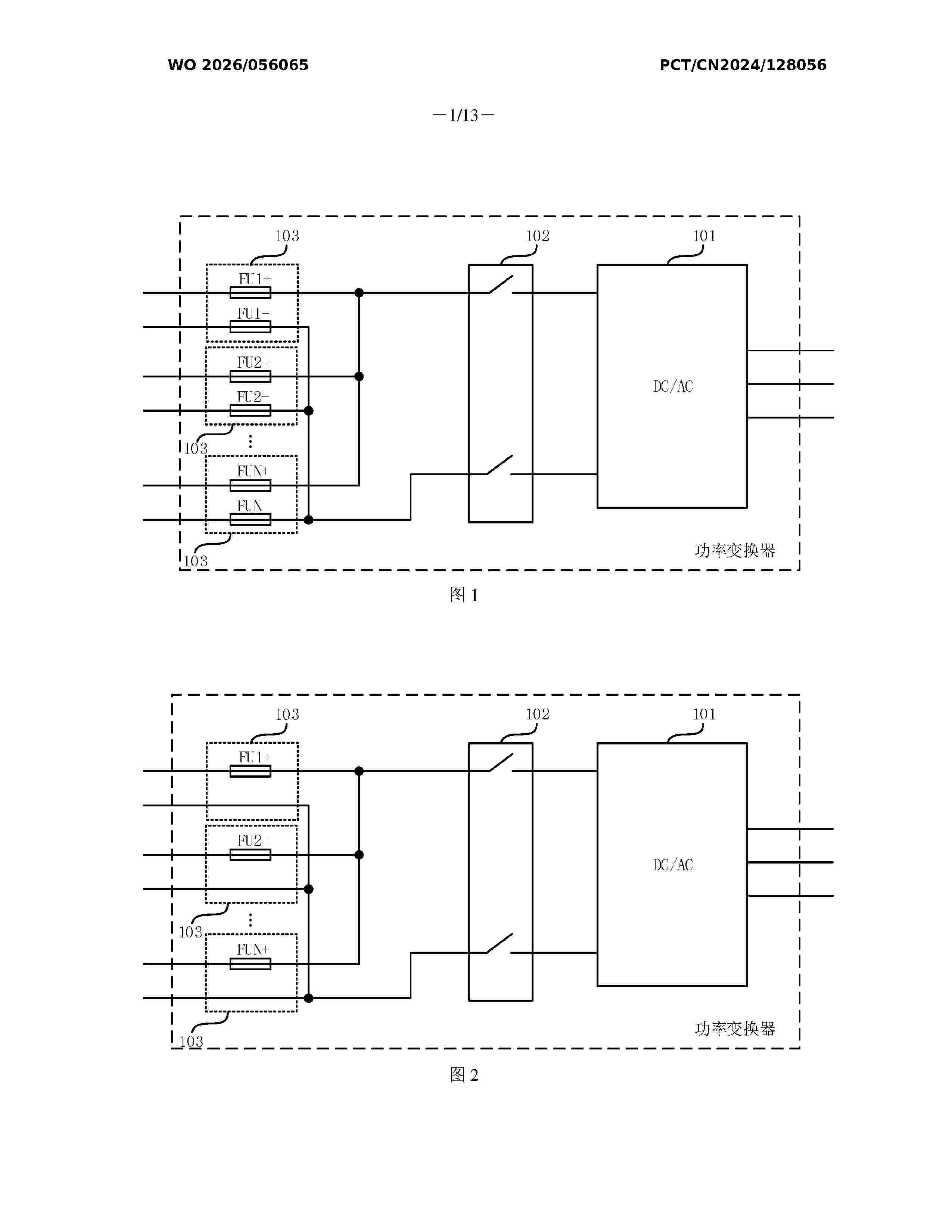
Resumen de: WO2026056065A1
The present application relates to the technical field of power electronics, and discloses a control device, a computer-readable storage medium, a power supply system, and a power converter and a protection method therefor. In the power converter, an excitation fuse is arranged in a power supply side transmission branch of a main circuit of the power converter. When a current flowing through the excitation fuse exceeds an allowable range thereof, the excitation fuse enters a breaking state, thereby interrupting the fault current and achieving overcurrent protection. The process does not require conventional fuses to wait for electrical energy to be converted into heat and for the temperature to rise to a melting point, avoiding the problem of long breaking time of conventional fuses, thereby improving the timeliness of overcurrent protection. In addition, breaking can be implemented by means of self-excitation of the excitation fuse or by means of triggering via an external excitation source; and arcing caused by low-multiple breaking of ordinary fuses and failure of power semiconductor devices caused by closing direct current switches can be avoided.
Resumen de: WO2026055794A1
The invention proposes a system for increasing the performance of photovoltaic plants by means of alternating strips of water-insoluble paintable biocement and strips of vegetation. The biocement surfaces, level or with optical inclination, reflect radiation towards the panels and reduce the soil temperature. They also act as a barrier against weeds and dust. The interposed vegetation preserves biodiversity and provides evaporative cooling. The design includes water management: microslopes and channels that carry run-off towards the strips of vegetation and evacuate surplus, reducing erosion and flooding. The biocement is removable and, at the end of the useful life thereof, is reincorporated as inert soil conditioner, restoring the land for agricultural or ecological use. The system improves bifacial capture, stabilises the site and reduces maintenance, combining energy efficiency and environmental sustainability by means of a low-impact modular solution for solar parks.
Resumen de: US20260076314A1
A method for pollinating plants (A), notably fruit trees, located underneath orientable photovoltaic collectors (C) is provided. The shade cast on the plants is modified by changing the orientation of the collectors. The orientation of the collectors is automatically acted on depending on the state of flowering such that the sunlight and/or exposure to the wind is increased in relation to a collectors control reference applied when the flowering is not mature or has not commenced, to encourage the activity of pollinators and/or promote the effect of the wind on the pollination.
Nº publicación: US20260077660A1 19/03/2026
Solicitante:
LIGHTYEAR IPCO B V [NL]
Lightyear IPCo B.V
Resumen de: US20260077660A1
An isolated active bridge DC-DC power converter comprising a primary side, a secondary side, and a control unit. The primary side comprises one or more input power ports, a low voltage port, two primary-side switching elements for each of the one or more input power ports, a primary-side converter inductance for each of the one or more input power ports, and a primary-side transformer winding for each of the one or more input power ports. Each pair of primary-side switching elements and a respective primary-side converter inductance is arranged to form a half-bridge arrangement for bidirectionally converting power between a respective input power port and the low voltage port. The secondary side comprises a high voltage port, two secondary-side switching elements, and a secondary-side transformer winding magnetically coupled to the primary-side transformer winding. The control unit is configured to control the two primary-side switching elements and the two secondary-side switching elements for converting power between the primary-side ports and the secondary-side port.