Ministerio de Industria, Turismo y Comercio LogoMinisterior
 

Logística: sistemas de gestión

Resultados 490 resultados
LastUpdate Última actualización 05/04/2026 [06:55:00]
pdfxls
Solicitudes publicadas en los últimos 15 días / Applications published in the last 15 days
previousPage Resultados 75 a 100 de 490 nextPage  

一种基于人工智能的全自动配药设备及方法

NºPublicación:  CN121789942A 03/04/2026
Solicitante: 
深圳市大算度人工智能科技有限公司
CN_121789942_PA

Resumen de: CN121789942A

本申请涉及医疗器械自动化技术领域,公开了一种基于人工智能的全自动配药设备及方法。方法应用于全自动配药设备,通过解析待配药的处方信息,生成配药任务,规划机械臂抓取目标药瓶的最优路径;控制机械臂按照规划的路径移动至目标储存窗,并将目标药瓶倒置放置于全自动配药设备的第一配药模块的指定放药槽内,使目标药瓶的瓶口向下;利用视觉识别技术获取目标药瓶在放药槽内的位置信息,并与全自动配药设备的第二配药模块中对应料杯容纳槽内的料杯位置进行校准;根据配药任务中的剂量要求,使目标药瓶内的药品在重力作用下定量落入下方的料杯中;配药完成后,更新对应药品的库存信息,并生成配药流程追溯记录。

一种企业用销售管理系统及管理方法

NºPublicación:  CN121788201A 03/04/2026
Solicitante: 
谢春村
CN_121788201_PA

Resumen de: CN121788201A

本发明提供一种企业用销售管理系统及管理方法,涉及销售管理系统领域。该基于一种企业用销售管理系统及管理方法,包括,客户信息系统、货物管理系统、合同管理系统与发票管理系统,所述货物管理系统包括发货、退货管理,所述合同管理系统包括投标合同、销售合同与投标/销售合同浏览,所述发票管理系统包括销售发票、销售红字发票。通过设计白名单将财务与销售区别于其他部分,避免其他人会泄露价格,并且会根据价格的有效性展示有效的价格,避免造成谈判的失败,通过设计图号,便于对相同产品的产品进行追踪以及交货情况,并可以完成交货前的检查,避免产生交货的差错。

一种报表管理系统及管理方法

NºPublicación:  CN121788040A 03/04/2026
Solicitante: 
谢春村
CN_121788040_A

Resumen de: CN121788040A

本发明提供一种报表管理系统及管理方法,涉及信息系统领域。该报表管理系统及管理方法,包括数据处理系统、数据存储模块、数据输入输出终端、数据关键词提取模块和云存储模块;所述数据处理系统预设报表项目索引目录,所述报表项目索引目录链接的报表项目,所述报表项目包括销售合同查询报表、发货管理查询报表、生产计划查询报表、派工计划查询报表、收款核销单查询报表、成本结算查询报表、投标合同查询报表。通过预设报表项目索引目录,在对输入的内容进行关键字提取后,与报表项目索引目录进行对比后自动链接到对应的报表项目,非常方便。

基于工业物联网的原材料自动监管的方法、装置及设备

NºPublicación:  CN121788025A 03/04/2026
Solicitante: 
常州机电职业技术学院常州纳尔森机电有限公司
CN_121788025_PA

Resumen de: CN121788025A

本发明涉及原材料自动监管技术领域,本发明提供了基于工业物联网的原材料自动监管的方法、装置及设备,所述方法包括:获取各原材料的种类及每个原材料种类对应的采购信息;计算每个原材料种类对应的成本占比及临界储备量关联因子;获取每个原材料种类对应的第一临界储备量,根据临界储备量关联因子和第一临界储备量计算每个原材料种类对应的第二临界储备量;获取每个原材料种类对应的实时储备量,根据实时储备量和第二临界储备量判断相应的原材料种类是否出现供应不足,若供应不足则生成提示信息发送并至原材料采购管理平台。本发明能够有效地避免出现原材料供应不足或者储备过多的情况,进而避免对公司收益造成影响。

一种生产管理系统及管理方法

NºPublicación:  CN121787750A 03/04/2026
Solicitante: 
谢春村
CN_121787750_PA

Resumen de: CN121787750A

本发明提供一种生产管理系统及管理方法,涉及生产管理领域。该基于一种生产管理系统及管理方法,包括,工单管理模块、计划模块、生产入库模块与质量管理模块,所述工单管理模块包括生产制令工单、工单材料变更、工单展料信息修改与工单工序维护,所述计划模块包括生产计划、派工计划,所述生产入库模块包括生产领料、委派领料通知单与委外请购申请单。通过将每一个工序进行单独的模块化,并进行标号,便于在生产时,调整工序的顺序,并进行追踪,便于详细了解派工计划为生产计划的执行结果,依据对产品的分类再进行检测即可了解生产过程中不同的因素,对产品的影响,便于对生产计划的修改与优化,进而节约原料。

基于大数据的3pl仓储计费预扣费和财务管控系统

NºPublicación:  CN121788127A 03/04/2026
Solicitante: 
武汉翼仓宝网络科技有限公司
CN_121788127_PA

Resumen de: CN121788127A

本发明属于仓储管理技术领域,具体为基于大数据的3pl仓储计费预扣费和财务管控系统,包括数据采集模块用于采集仓储运营全链路数据;数据处理模块用于对仓储运营全链路数据进行预处理;动态数据生成模块用于处理标准仓储数据;智能计费引擎用于输出动态预扣费方案;预扣费管理模块用于建立三级预警机制;配置自动划扣策略;风控决策中心用于构建客户商业生态风险评估模型,并通过多维度风险指标加权计算,输出客户风险等级及预扣费调整策略;财务执行层用于执行实际资金划扣操作;本发明中通过动态费率模型与预测式计费逻辑实现个性化预扣费方案精准生成,结合三级预警机制保障预扣费执行可控,实现客户风险精准研判及差异化扣费策略调整。

一种货物配送路径优化方法、装置、计算机设备及介质

NºPublicación:  CN121787997A 03/04/2026
Solicitante: 
华南理工大学
CN_121787997_PA

Resumen de: CN121787997A

本发明提供了一种货物配送路径优化方法、装置、计算机设备及介质,属于路径优化领域,该方法包括:构建以最小化总配送成本为目标的车辆路径优化模型;采用遗传算法对所述车辆路径优化模型进行迭代求解,在所述遗传算法迭代过程中,根据当代种群的适应度分布,动态计算并应用交叉概率与变异概率,并通过引入移民算子,周期性在种群间交换精英个体;在迭代次数达到预设次数的情况下,所述遗传算法停止迭代,输出最优路径。这样,本发明在进行路径优化时能根据搜索进程自动调整搜索策略,并增加种群多样性,进一步拓展搜索空间,增强算法稳定性,在合理时间内稳定获得高质量生鲜物流配送方案。

一种基于深度强化学习的仓储货位智能分配方法

NºPublicación:  CN121788030A 03/04/2026
Solicitante: 
山东广晟进出口有限公司
CN_121788030_PA

Resumen de: CN121788030A

本发明公开了一种基于深度强化学习的仓储货位智能分配方法,包括如下步骤:获取并预处理仓储系统的多源业务数据与空间资源数据;构建仓储货位分配环境的状态要素集合;对状态要素集合进行统一编码,生成状态表示向量;构建仓储货位分配的动作集合并进行动态筛选,生成动态可执行动作集;构建复合奖励函数,并结合状态表示向量与动态可执行动作集生成训练环境交互数据集;训练价值网络与策略网络,生成货位分配策略模型;基于货位分配策略模型进行策略推理,生成目标货位分配决策并转换为仓储执行指令集。本发明采用深度强化学习方法构建动态货位分配模型,实现仓储货位智能决策与执行,具备自适应性强、资源利用率高和作业效率优的优点。

一种基于水陆两栖飞机的物料资源平衡设计方法

NºPublicación:  CN121787763A 03/04/2026
Solicitante: 
中航通飞华南飞机工业有限公司
CN_121787763_PA

Resumen de: CN121787763A

本发明涉及飞机智能制造信息化领域,涉及一种基于水陆两栖飞机的物料资源平衡设计方法。包括初始化待运算数据,获取用户配置的资源平衡策略,修正可用资源数量;根据用户设定的资源平衡策略,执行平衡运算等方式,通过灵活配置资源平衡策略,有效进行资源集中平衡和统筹分配,解决了现有技术中采用手工模式分配管理的难题,解决了现有技术中管理软件相对单一的问题,使得采购计划更具准确性和可行性,并支持大规模的企业级应用。

一种基于物联网的智慧社区管理设备

NºPublicación:  CN121788121A 03/04/2026
Solicitante: 
安居智联(深圳)技术有限公司
CN_121788121_PA

Resumen de: CN121788121A

本发明涉及物联网技术领域,尤其涉及一种基于物联网的智慧社区管理设备,包括集合柜体、固定连接于集成柜体内侧的控制装置、固定连接于集成柜体内侧的回收箱、固定连接于集成柜体内侧的活动座椅、固定连接于集成柜体内侧的固定箱,所述集成柜体包括有柜体、开设于柜体正面右侧的收纳槽、固定连接于收纳槽正面的观察窗、开设于柜体正面的固定槽。本发明通过控制装置作为基础,通过数据处理模块分析激光测距仪、压力传感器等采集的数据,当回收箱或伞柜存量不足时通过控制装置箱社区服务终端发送信息提醒补货提,通过社区内设置的摄像头与控制装置无线信号连接传输停车场的停放数据并储存于数据储存装置内再通过数据处理模块进行信息处理。

一种高校仪器设备全生命周期信息化管理系统

NºPublicación:  CN121788042A 03/04/2026
Solicitante: 
遵义师范学院
CN_121788042_PA

Resumen de: CN121788042A

本发明涉及设备管理技术领域,具体涉及了一种高校仪器设备全生命周期信息化管理系统。账户管理模块,用于根据账户登录信息,确定登录账户的职能部门身份,并对不同身份职能部门分配不同权限;论证管理模块,用于接收二级学院提交关于仪器设备申购请求,以及申购请求的购置论证,对购置论证进行审核;采购管理模块,用于对购置论证审核通过的申购请求,生成采购计划,将采购计划发送给招标职能部门,获取招标职能部门对采购计划的执行情况,将执行情况发送给财务职能部门;设备管理模块,用于对已采购的仪器设备的仪器设备数据进行录入,获取各二级学院提交的设备上报,根据设备上报对仪器设备生命周期内的所产生的生命周期数据进行记录。

智能仓储机器人搬运任务的最优目的地选择方法

NºPublicación:  CN121787854A 03/04/2026
Solicitante: 
湖南工程学院
CN_121787854_PA

Resumen de: CN121787854A

本发明公开了一种智能仓储机器人搬运任务的最优目的地选择方法,包括以下步骤:以机器人的行驶时间范围来表示灵活度,计算每个机器人的灵活度;按灵活度降序排序机器人;初始化目的地的就绪时间;按照降序排序后的机器人,逐个分配机器人到目的地;计算最终每个目的地完成所有交付任务的时间最大值,即得到初始解;使用启发式搜索优化算法进一步优化初始解,得到最优解。本发明通过最优目的地选择的优化算法,减少了所有工作站的总交付时间,大幅提升了整个仓储系统的总体运营效率。

一种货物集装方法及装置

NºPublicación:  CN121788001A 03/04/2026
Solicitante: 
军事科学院系统工程研究院后勤科学与技术研究所
CN_121788001_PA

Resumen de: CN121788001A

本发明公开了一种货物集装方法及装置,该方法包括获取货物集装信息,货物集装信息包括集装箱信息和待装箱货物信息;集装箱信息包括集装箱长度信息、集装箱宽度信息和集装箱高度信息;待装箱货物信息包括货物重量、体积、形状、材质、抗压强度、易碎等级、运输优先级、目的地、存储环境要求;对集装箱信息和所述待装箱货物信息进行处理,得到货物装箱方案。本发明引入HMM模型实现货物摆放序列的全局最优推断,避免了传统算法局部最优陷阱,减少方案迭代调整的次数;通过货物列表与装箱列表的规范化构建,实现了货物信息与集装箱信息的高效匹配,相比人工规划或传统算法,装箱方案的生成效率显著提升,实现全流程智能化管理。

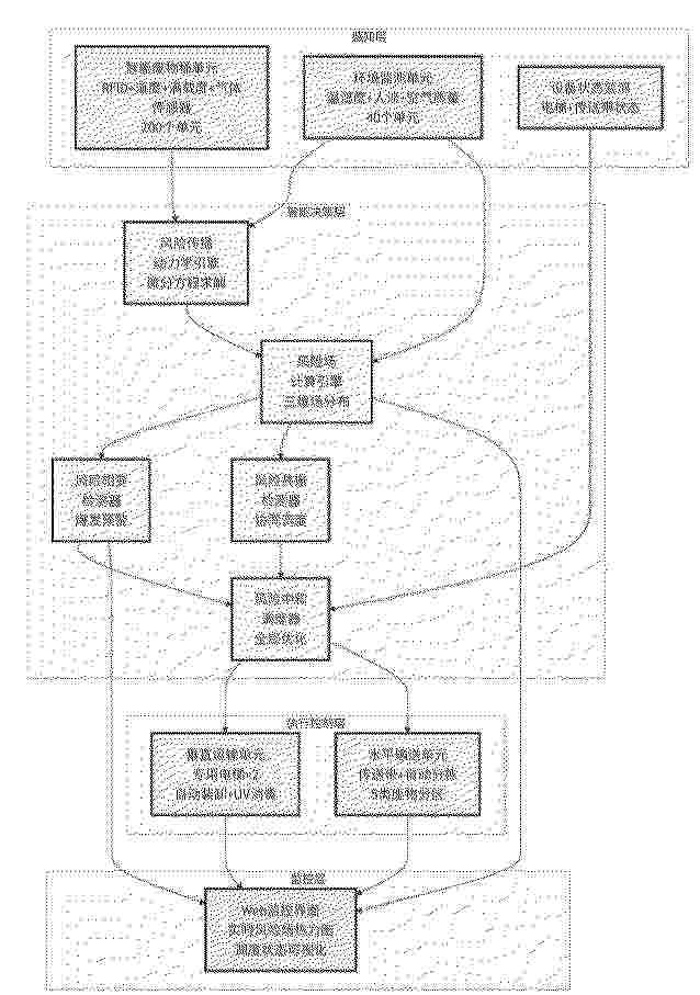
一种基于风险传播动力学的桶式医疗废物智能调配系统及方法

NºPublicación:  CN121787996A 03/04/2026
Solicitante: 
艾信智慧科技发展(苏州)股份有限公司
CN_121787996_PA

Resumen de: CN121787996A

本发明公开了一种基于风险传播动力学的桶式医疗废物智能调配系统及方法,属于自动化控制技术领域。该系统通过智能传感器网络实时采集废物桶状态与环境参数、风险传播动力学引擎基于微分方程模型计算废物桶的动态风险演化、风险场计算引擎构建医院三维空间的风险分布图、风险相变检测器对整体风险状态进行监测并提前预警潜在风险爆发、风险中和调度器则结合风险分布和资源约束生成最优调度序列并驱动相关运输单元执行,实现了医疗废物全流程的动态化、智能化管控。

一种基于多模通信自适应决策的智能药柜信息交互方法及系统

NºPublicación:  CN121788028A 03/04/2026
Solicitante: 
南京天奥智能医疗科技有限公司
CN_121788028_PA

Resumen de: CN121788028A

本发明公开了一种基于多模通信自适应决策的智能药柜信息交互方法及系统,涉及智慧医疗领域,包括:采集模块,用于采集智能药柜出药过程中输出药品关联信息;提取模块,用于遍历药品关联信息,与药品关联信息中提取药品特征信息;交互模块,用于与智能药柜交互,获取智能药柜当前执行配药任务的药品属性及参数;本发明通过多维度信息采集与精准核验,结合动态调整的可信度判定标准,大幅降低出药错误率,有效规避用药风险,保障取药用户用药安全,针对不同风险等级药品灵活适配管控要求。

一种用于电梯部件生产物流的周转车定位管理方法及系统

NºPublicación:  CN121788009A 03/04/2026
Solicitante: 
天津盛驰精工有限公司
CN_121788009_PA

Resumen de: CN121788009A

本发明提供了一种用于电梯部件生产物流的周转车定位管理方法及系统,包括以下步骤:在周转车上设置车辆识别码和定位装置;使用扫描设备扫描车辆识别码采集周转车的身份信息,将物料信息与周转车的身份信息关联并上传至服务器;定位装置以固定间隔时间将位置信息发送至服务器;生产执行系统与服务器连接,实时更新物料信息和位置信息;通过物料信息和位置信息形成物流热力图和流转路径。本发明有益效果:通过定位装置实时发送位置信息,能够精准地追踪周转车的实时位置和所承载的物料信息,解决了传统方法中物料信息更新滞后和难以追踪的问题,通过二维码扫描设备自动采集周转车和物料信息,避免了人工录入错误,提高了数据的准确性和一致性。

基于强化学习的港口多资源低碳协同调度优化方法

NºPublicación:  CN121787994A 03/04/2026
Solicitante: 
杭州电子科技大学
CN_121787994_PA

Resumen de: CN121787994A

本发明公开了基于强化学习的港口多资源低碳协同调度优化方法,包括构建包含泊位、岸桥、堆场及移动岸电调度的混合整数非线性规划模型,确定目标函数与约束;依据输入数据生成多样化初始解并初始化算法参数;在主迭代循环中,通过Q‑learning智能体选择破坏/修复算子对并执行ALNS破坏‑修复操作生成候选解;根据目标函数与模拟退火接受准则确定是否接受候选解,计算并反馈奖励给Q‑learning模块以更新Q表与算子权重;逐步冷却温度并判断终止条件,输出最优调度方案与相关性能指标。本发明能够实现船舶、泊位、岸桥、移动岸电与堆场等多资源的协同优化,具有算法自适应性强、求解效率高、碳排放控制效果显著等特点,适用于复杂港口。

一种农产品的仓储溯源跟踪方法及系统

NºPublicación:  CN121788000A 03/04/2026
Solicitante: 
四川信特农牧科技有限公司
CN_121788000_PA

Resumen de: CN121788000A

本发明涉及仓储数字化技术领域,具体而言,涉及一种农产品的仓储溯源跟踪方法及系统,采用本发明所提供的方法,主要包括了基于图像识别模型对图像数据进行识别,输出当前是否有损坏的结果;若有,则发送告警至接收终端,若无,则等待接收终端发送被储存产品损坏的反馈信号,获取每个节点的输入数据,建立预测问题节点模型。通过上述方法,对每个节点进行了综合评估,并给出了问题评价指数的排序,客服终端可以根据排序的结果做维护辅助引导,去得到进行排除问题的顺序,在核查出节点有问题时,则可以进行相关的整改工作,而不浪费问题排除的时间。

一种机器人货架巡检方法、装置、设备和系统

NºPublicación:  CN121788035A 03/04/2026
Solicitante: 
苏州万店掌网络科技有限公司
CN_121788035_PA

Resumen de: CN121788035A

本申请涉及货架巡检领域,特别是涉及一种机器人货架巡检方法、装置、设备和系统,方法包括:获取针对第一目标货架的巡检任务;依据目标门店的门店地图,按照巡检任务控制机器人对第一目标货架进行商品缺货巡检并得到单点位检测结果,确定缺货位置;基于单点位检测结果,结合第一目标货架的货架标准信息和历史检测数据,能够精准确定第一目标货架缺失的商品信息,其中,货架标准信息提供了每个位置应有的商品信息,历史检测数据则能反映出该货架过去的情况,二者相互补充,使得对缺失商品信息的判断更加准确可靠,从而有效提高了货架巡检的效率和准确性,及时发现缺货情况,保障了门店商品的正常供应。

基于深度学习与鸟瞰视觉的仓储货位状态监测方法及系统

NºPublicación:  CN121788032A 03/04/2026
Solicitante: 
合肥市极点智库智能装备有限公司
CN_121788032_PA

Resumen de: CN121788032A

本发明型涉及智慧仓储领域,具体公开了基于深度学习与鸟瞰视觉的仓储货位状态监测方法及系统,该方法包括:通过单摄像头采集仓储区域图像,利用预先标定的参数进行去畸变和鸟瞰变换,生成鸟瞰图像;采用预先训练的深度学习目标检测模型识别出图像中的货位状态;将识别出的货位状态与虚拟货位网格空间位置匹配,根据匹配结果确定或更新各虚拟货位的状态信息,系统包括图像采集模块、边缘计算单元和配置存储模块;本发明显著降低了模型训练难度,提高了系统鲁棒性;通过虚拟网格配置实现软件定义货位布局,大幅提升了系统灵活性和可扩展性;以低成本视觉方案替代高成本传感器阵列,实现了对大规模仓储区域货位状态的实时、准确、自动化监测。

一种物流仓储库存动态优化方法、设备、介质及产品

NºPublicación:  CN121788010A 03/04/2026
Solicitante: 
江苏联恒物宇科技有限公司
CN_121788010_PA

Resumen de: CN121788010A

一种物流仓储库存动态优化方法、设备、介质及产品。在该方法中,获取与货物关联的RFID的相位信号,以及多普勒频移;根据相位信号和多普勒频移,通过融合算法,得到货物的三维空间坐标;根据货物的尺寸与存取频率,生成第一特征子向量;根据货物的保质期与当前系统时间计算出剩余有效期,并对剩余有效期进行归一化处理,生成第二特征子向量;将第一特征子向量与第二特征子向量进行拼接,构成货物的节点特征向量;将节点特征向量与三维空间坐标,输入货位动态拓扑模型,得到实时关联权重;获取实时销售数据与供应链风险因子,并结合实时关联权重,通过补货决策逻辑生成补货计划。实施本方案,实现了库存水平的动态平衡与风险前瞻性管控。

退款请求的处理方法及装置、设备

NºPublicación:  CN121788138A 03/04/2026
Solicitante: 
北京百度网讯科技有限公司
CN_121788138_PA

Resumen de: CN121788138A

本公开提供了一种退款请求的处理方法及装置、设备和介质,涉及计算机技术领域,尤其涉及电子商务平台技术领域。实现方案为:响应于接收到用户针对已发货的目标订单提交的退款请求,从订单数据库中查询目标订单的物流商的信息、商品类目和订单金额;通过调用物流商的信息查询接口,查询目标订单的物流状态;基于目标订单的物流状态和目标订单的详情信息进行校验;响应于目标订单满足校验通过条件,调用物流商的通信接口下发拦截指令;监听物流商的通信接口;以及响应于监听到拦截成功的反馈信号,执行针对目标订单的退款操作。

一种煤矿柴油机尾气隔爆栅栏清洗作业管理方法及系统

NºPublicación:  CN121787805A 03/04/2026
Solicitante: 
鄂尔多斯市营盘壕煤炭有限公司
CN_121787805_PA

Resumen de: CN121787805A

本申请涉及煤矿安全生产管理领域,公开了一种煤矿柴油机尾气隔爆栅栏清洗作业管理方法及系统,其方法包括:获取隔爆栅栏的清洗历史数据、柴油机尾气的实时排气压力、柴油机累计运行时间以及隔爆栅栏所在区域的井下环境参数;评估隔爆栅栏的结垢风险,并根据结垢风险分配清洗任务的优先级,根据结垢风险以及清洗任务的优先级,计算清洗剂的预估消耗量;汇总未来预设时间段内优先级高于预设等级的清洗任务的预估消耗量形成汇总消耗量,将汇总消耗量与当前清洗剂库存量进行对比,触发补货预警,根据补货预警,并结合清洗剂运输周期,发出补货指令或区域间调配建议。本申请有效解决了现有技术中清洗剂消耗模式变化导致库存管理失效的问题。

一种基于多模型协同的物流单据智能录入方法及系统

NºPublicación:  CN121787993A 03/04/2026
Solicitante: 
中化能源科技有限公司
CN_121787993_PA

Resumen de: CN121094666A

The invention relates to a logistics receipt intelligent input method and system based on multi-model collaboration, and the method comprises the steps: obtaining a logistics receipt image through an image collection device, and carrying out the preprocessing of the logistics receipt image; identifying the preprocessed logistics document image by using a multi-modal identification model, and starting an independent thread for synchronous processing to obtain an identification result; the inference model classifies the identification results based on a business rule base to obtain business keywords, and ledger information is generated based on a ledger template and the business keywords; monitoring arrangement and scheduling conditions of the multi-modal recognition model and the reasoning model, adjusting an execution sequence based on the arrangement and scheduling conditions, and optimizing a distribution path; and encrypting the generated standing book, and connecting the encrypted standing book to a service system through an interface to complete input. Through cooperative operation of a multi-modal identification model and an inference model and an innovative interaction mode, end-to-end automation of logistics document data from acquisition to input is realized.

智能仓库存储转运调度系统及其应用方法

Nº publicación: CN121788024A 03/04/2026

Solicitante:

苏州信泰中运物流有限公司

CN_121788024_PA

Resumen de: CN121788024A

本发明公开了智能仓库存储转运调度系统及其应用方法,涉及智能仓储物流技术领域,该系统包括服务器模块、手持终端模块和快递存取模块:服务器模块基于实时需求和历史使用数据,通过机器学习时序预测模型动态分配存储位数量;手持终端模块通过颜色编码地图直观显示存取箱实时可用空间,并自动生成最优投递路径;快递存取模块通过虚拟资源单元为合作快递公司创建独立虚拟存储空间,应用方法包括实时数据采集、需求峰值预测、虚拟配额调整、可视化导引界面生成及改道建议触发,实现了存储位资源的智能动态调度、公平弹性分配、操作便捷导引及拥堵预警优化,显著提升了仓储转运效率和系统适应性。

traducir