Ministerio de Industria, Turismo y Comercio LogoMinisterior
 

Energía eólica

Resultados 524 resultados
LastUpdate Última actualización 02/04/2026 [07:13:00]
pdfxls
Solicitudes publicadas en los últimos 15 días / Applications published in the last 15 days
previousPage Resultados 100 a 125 de 524 nextPage  

一种风力发电机组变桨电机更换工装

NºPublicación:  CN224049331U 27/03/2026
Solicitante: 
大唐重庆市南川区新能源有限公司
CN_224049331_U

Resumen de: CN224049331U

本实用新型公开了风力发电技术领域的一种风力发电机组变桨电机更换工装,包括安装板、移动部和转动部,所述安装板包括板体,所述板体表面开设有安装孔,所述板体靠近两端的位置安装有安装座和中空限位部,所述移动部包括柱体,所述柱体水平插设于中空限位部中,所述柱体远离安装座的一端连接有端头,且端头的端部设置有胶垫,所述转动部包括弯折部,所述弯折部的下端与安装座转动连接,所述弯折部的下部与柱体靠近安装座的一端通过连接件传动连接,所述弯折部的上端安装有把手。本实用新型提供的风力发电机组变桨电机更换工装不受轮毂空间狭小等环境因素的制约,高强度材质确保承重可靠,降低了变桨电机更换的难度,降低了人力成本和时间成本。

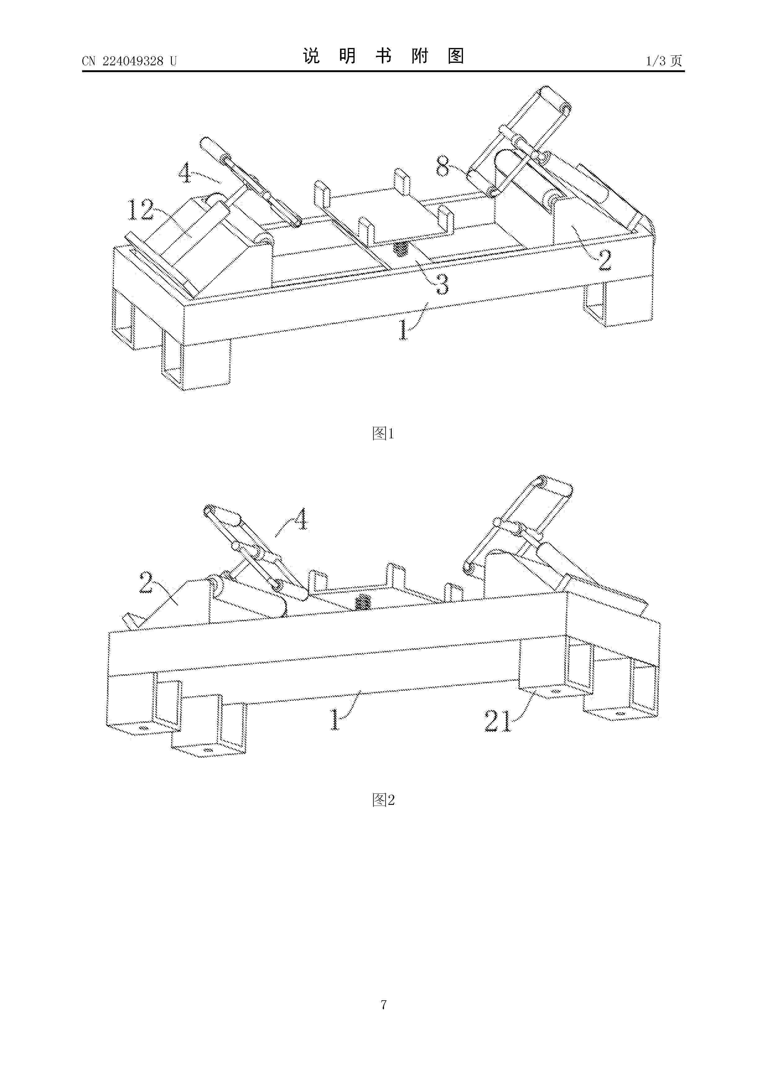
一种风电叶片通用型支撑装置

NºPublicación:  CN224049328U 27/03/2026
Solicitante: 
明阳新能源材料科技(包头)有限公司
CN_224049328_U

Resumen de: CN224049328U

本实用新型公开的一种风电叶片通用型支撑装置,还包括两限位块、承载板和拓展防护组件,对称的所述限位块滑动设于底座内,所述底座内底壁设有驱动组件,用于驱动对称的限位块沿底座的长度方向相向移动,所述承载板固定连接于底座的相对内侧壁中间处,用于支撑风电叶片底部,所述承载板内上下滑动设有弹性支撑组件,所述拓展防护组件固定连接于限位块上部,且随限位块同步移动,用于风电叶片两侧的高度方向拓展支撑。本实用新型属于支撑设备技术领域,具体是一种用于解决现有支撑装置尺寸固定,运输时支撑转动角度有限,以及运输过程中减震不足导致叶片受损的问题。

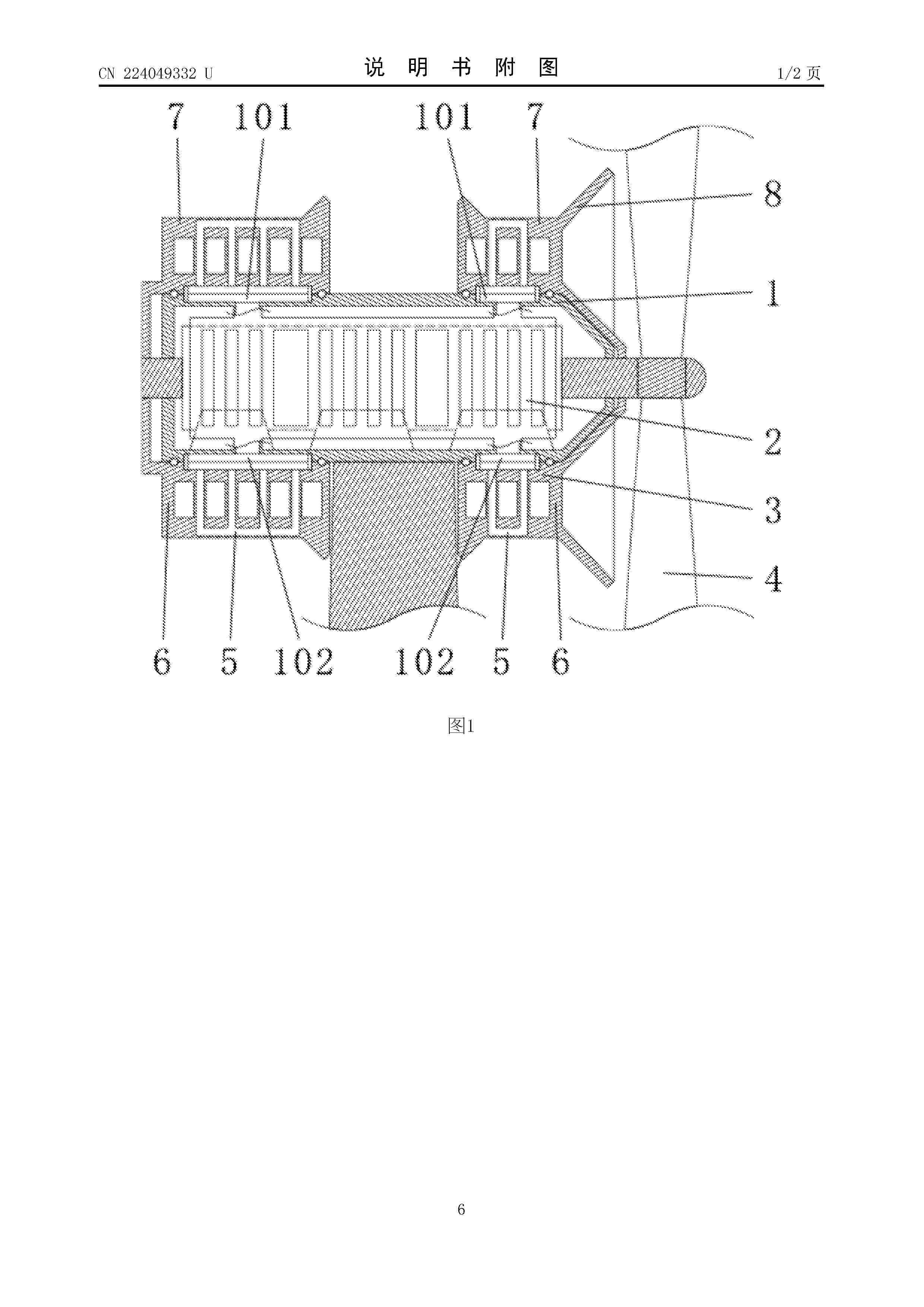
一种用于风力发电机的散热装置

NºPublicación:  CN224049332U 27/03/2026
Solicitante: 
甘肃晟联科技有限公司
CN_224049332_U

Resumen de: CN224049332U

本实用新型涉及一种用于风力发电机的散热装置,包括设置在风力发电机的机体内的导热管;机体的上下两侧分别开设有和导热管相连通的进液口和出液口;机体上同轴转设有套环,套环套设在进液口和出液口上,且套环和风力发电机的叶轮相固接;套环上开设有若干通孔,通孔的运动轨迹分别相交进液口和出液口,且套环上固设有若干和通孔相连通的散热管;本实用新型通过叶轮带动套环和散热管在风力发电机的机体转动,通过导热管内的液体吸收热量,通过机体下侧的出液口将导热管内的液体输送到散热管内进行散热,并通过机体上侧的进液口将散热管内完成散热的液体会受到导热管内,从而完成风力发电机的自动散热,简单高效、安全可靠。

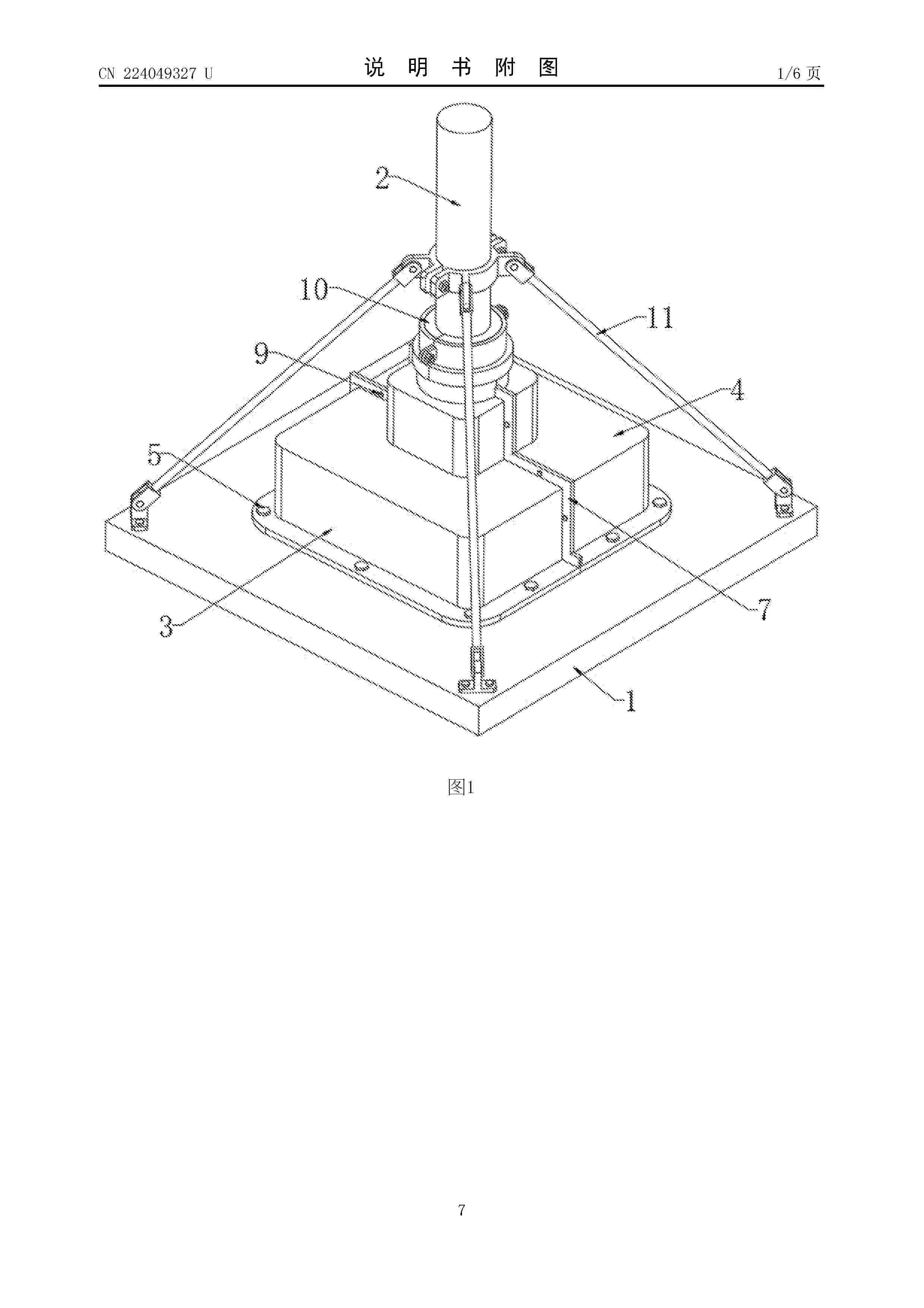
一种防腐风力发电基座

NºPublicación:  CN224049327U 27/03/2026
Solicitante: 
内蒙古华电辉腾锡勒风力发电有限公司
CN_224049327_U

Resumen de: CN224049327U

本实用新型提供了一种防腐风力发电基座,属于风力发电技术领域,包括基座体,所述基座体的上端面安装有机桩,所述机桩的外侧设有第一卡套,所述第一卡套的内侧设有第二卡套,所述第一卡套和第二卡套分别通过第一固定栓与基座体固定连接,所述第一卡套和第二卡套的顶端均固定连接有第一密封圈,所述第一卡套上固定连接有对接套。本实用新型通过设置的第一卡套、第二卡套、第一固定栓、第一密封圈、对接套、对接条、第一螺栓组件和密封机构,实现了对机桩进行组合密封保护,有效的避免雨水浸入而造成的腐蚀,方便进行装配,便于后期的维护更换,同时具有双重密封提高防护的效果,实用性更强,解决了现有技术中不便进行装配和后期维护的问题。

一种风力发电机

NºPublicación:  CN224049325U 27/03/2026
Solicitante: 
深圳市瑞能时代科技有限公司
CN_224049325_U

Resumen de: CN224049325U

本实用新型提供的一种风力发电机,包括旋转组件、叶片组件和发电组件;所述发电组件与所述旋转组件相连接,所述叶片组件与所述旋转组件可拆卸地连接;所述风力发电机还包括可伸缩连杆;所述叶片组件由多个叶片组成,任一所述叶片通过所述可伸缩连杆与所述旋转组件连接;所述可伸缩连杆包括内杆、外杆和锁定单元,所述内杆和所述外杆中的一者连接所述叶片,另一者连接所述旋转组件,所述内杆可滑动设置在所述外杆内,所述锁定单元可将内杆和外杆锁定在不同的相对位置,在不使用时能够将叶片组件向旋转组件靠近,减小整机体积,降低了运输成本和存储场地要求,在需要使用发电的场合,可伸缩连杆能够将叶片组件最大程度地展开,提高发电效率。

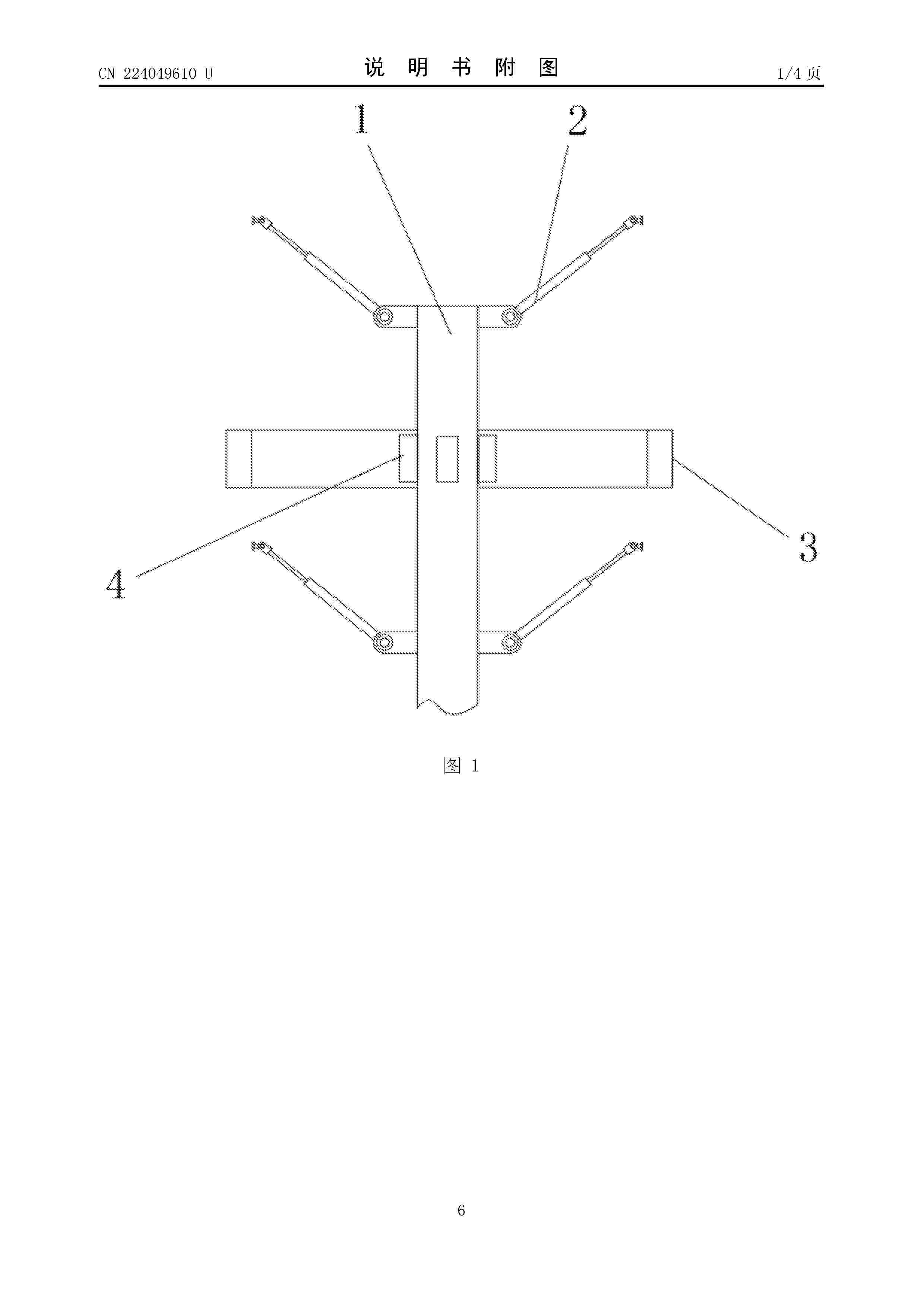
一种风力发电塔筒阻尼结构

NºPublicación:  CN224049610U 27/03/2026
Solicitante: 
江苏航宸重工科技有限公司
CN_224049610_U

Resumen de: CN224049610U

本实用新型公开了一种风力发电塔筒阻尼结构,包括混凝土立柱,所述混凝土立柱的下端与地面基础固定连接,所述混凝土立柱的外壁与外界风力发电塔筒体的内壁之间连接有机械阻尼结构,所述机械阻尼结构包括第一支撑架、第二支撑架、伸缩阻尼杆、第一连接轴、第二连接轴、第一连接头与第二连接头,且所述混凝土立柱的外壁固定安装有至少一组的电磁铁,且设置有固定于外界风力发电塔筒体内壁的环形导磁体。本实用新型所述的一种风力发电塔筒阻尼结构,结构简单,便于生产制造与组装,结构简单,减少维护的成本,通过机械阻尼结构(低频)和磁力(高频)复合阻尼,提高阻尼的效率与效果。

一种主动式同步偏航系统的双机组漂浮式风力发电系统

NºPublicación:  CN224049326U 27/03/2026
Solicitante: 
宁波大学
CN_224049326_U

Resumen de: CN224049326U

本实用新型提供一种主动式同步偏航系统的双机组漂浮式风力发电系统,涉及风力发电技术领域,以解决现有技术中的漂浮式双风电机组系统采用单点系泊系统进行定位,风能捕获效率低、寿命短、风险集中且事故后果严重的技术问题;两个风力发电系统同时收集风能,并转换成电能通过海底电缆输送至岸上的变电场,由两个风电机组各自的风速传感器分别检测两个风电机组处的风速大小,两个风速的差值就是风力推力差值,然后转化成风速线,风速线对应的电信号传输到主控制器中,由主控制器控制驱动组件驱动外壳转动从而带动两个风力发电系统同步转动,直到风电机组正对来流,可以最大效率的采集风能,提高风能的捕获效率。

一种用于风力发电安装的安全防护装置

NºPublicación:  CN224049329U 27/03/2026
Solicitante: 
广西刁江电力工程有限公司
CN_224049329_U

Resumen de: CN224049329U

本实用新型涉及风力发电安装技术领域,公开了一种用于风力发电安装的安全防护装置,包括固定板,固定板一侧开设有收纳槽,收纳槽内部对称滑动两个滑板,两个滑板远离收纳槽一侧表面均固定连接有卡板,两个卡板之间设置有同一爬梯,两个卡板靠近爬梯一侧表面均转动连接有多个滑轮,收纳槽内部设有用于调节卡板的调节机构,固定板远离爬梯一侧表面固定连接有四个支撑板,四个支撑板呈两两一组进行设置,两组支撑板一侧均转动连接有转轴,两组转轴表面均套设有挂钩,且挂钩与爬梯相互配合设置,两个转轴远离卡板一侧表面均设有用于转动挂钩的转动机构。本实用新型通过滑轮的设置,可以确保装置在使用的过程中不需要拆卸。

一种风机防沙除尘装置

NºPublicación:  CN224040353U 27/03/2026
Solicitante: 
中国葛洲坝集团装备工业有限公司
CN_224040353_U

Resumen de: CN224040353U

本实用新型公开了一种风机防沙除尘装置,属于风机防沙除尘装置技术领域,解决现有技术中的沙尘会附着在进风口的防尘网上无法自动清理,从而易造成进风量不足,大大降低散热效率,导致设备过热,影响风力发电机作业或会增加维护成本等问题。本实用新型包括进风管,设置在进风管上对吸风机抽入的进风进行防尘的防尘结构,利用吸风机抽入的进风对防尘结构上吸附的沙尘进行自动清理的清理结构和对清理结构清理的沙尘进行回收的回收结构。本实用新型用于风机防沙除尘。

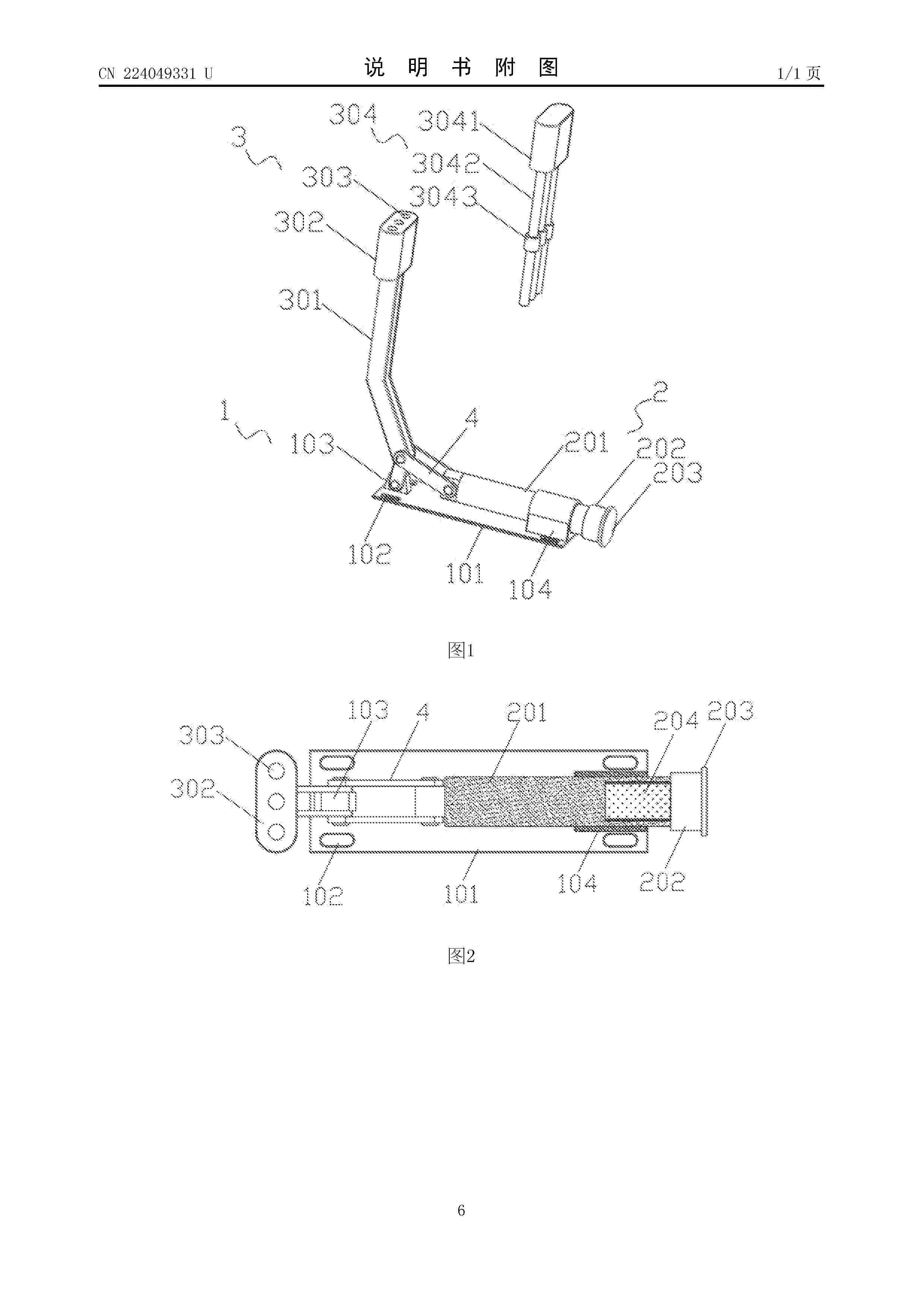
一种风机叶片维护装置

NºPublicación:  CN224049330U 27/03/2026
Solicitante: 
内蒙古华电辉腾锡勒风力发电有限公司
CN_224049330_U

Resumen de: CN224049330U

本实用新型公开了一种风机叶片维护装置,涉及风机维护技术领域,包括底座、固定环以及顶圈;底座与固定环之间通过第一连接杆固定连接,固定环与顶圈之间通过第二连接杆固定连接;第二连接杆的外侧上下移动设置有升降圈,升降圈的内侧转动设置有转动环,转动环上固定安装有工具箱;底座与固定环之间限位转动安装有围挡门。本实用新型通过拨杆带动转动环在环形槽内旋转,使工具箱可度定位,可旋转调节的工具箱设计让工作人员无需移动位置即可快速取用工具,减少了高空作业时的移动风险,同时高度可调功能确保工具始终处于最舒适的操作高度。各结构协同作用实现了工具取用的便利性,提升了维护作业效率。

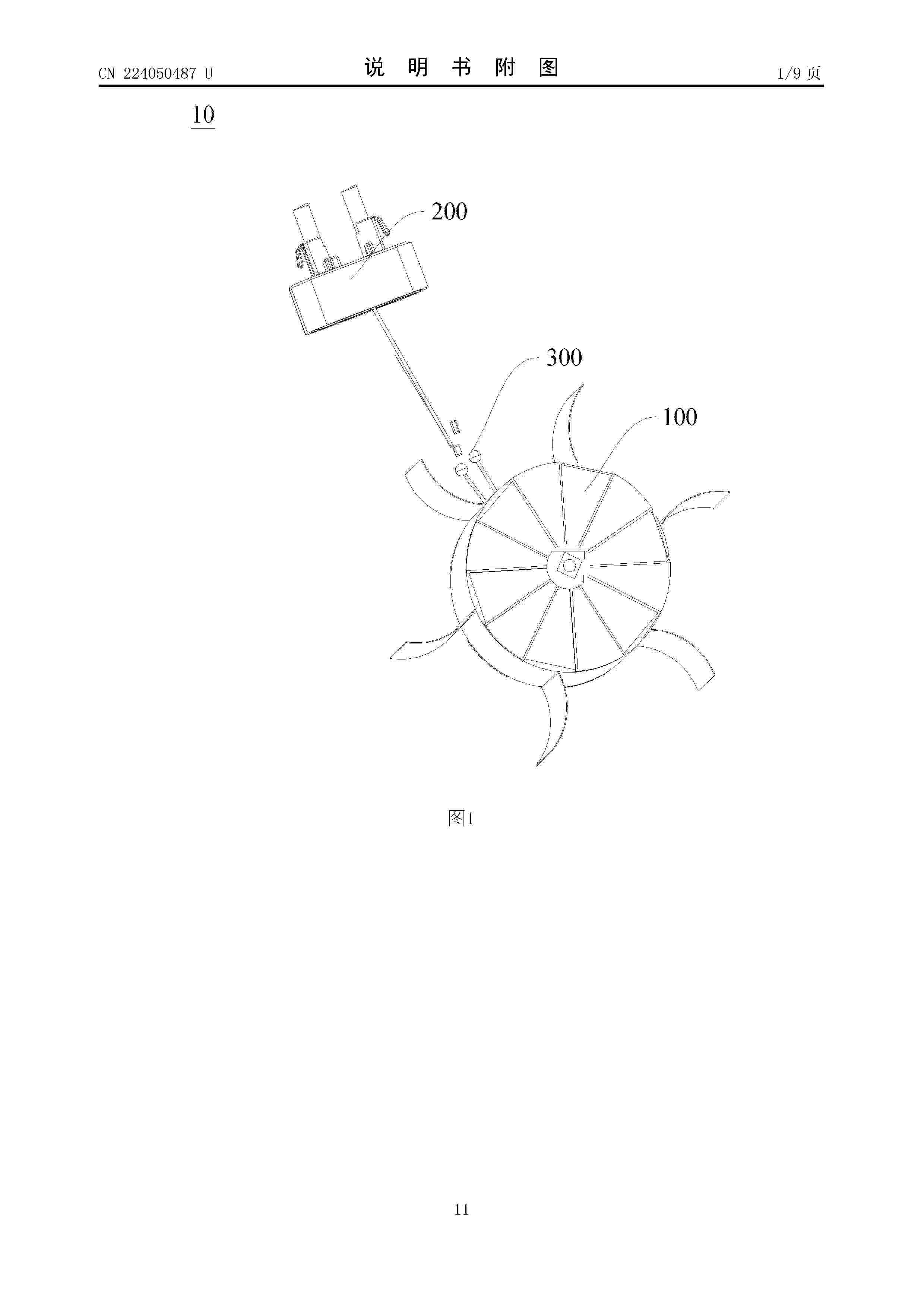
风力发电杀菌组件及具有其的空调器

NºPublicación:  CN224050487U 27/03/2026
Solicitante: 
海信(浙江)空调有限公司
CN_224050487_U

Resumen de: CN224050487U

本实用新型公开了一种风力发电杀菌组件及具有其的空调器,风力发电杀菌组件包括发电件和杀菌件,发电件构造成在风力驱动下发电;发电件包括:驱动件和摩擦件,驱动件构造成在风力驱动下进行转动;驱动件与摩擦件连接,驱动件用于驱动摩擦件进行转动摩擦发电;其中,摩擦件包括:第一摩擦部和第二摩擦部,第二摩擦部与第一摩擦部相对设置,第二摩擦部与驱动件连接,以驱动第二摩擦部可相对第一摩擦部摩擦运动以进行摩擦发电。通过驱动气流在流通过程中经过发电件,以让发电件能够进行风力发电,并将电量通入到杀菌件上以驱动杀菌件进行杀菌处理,以让作用到室内环境中的气流具有更高纯净度以让室内环境质量得到更好地改善。

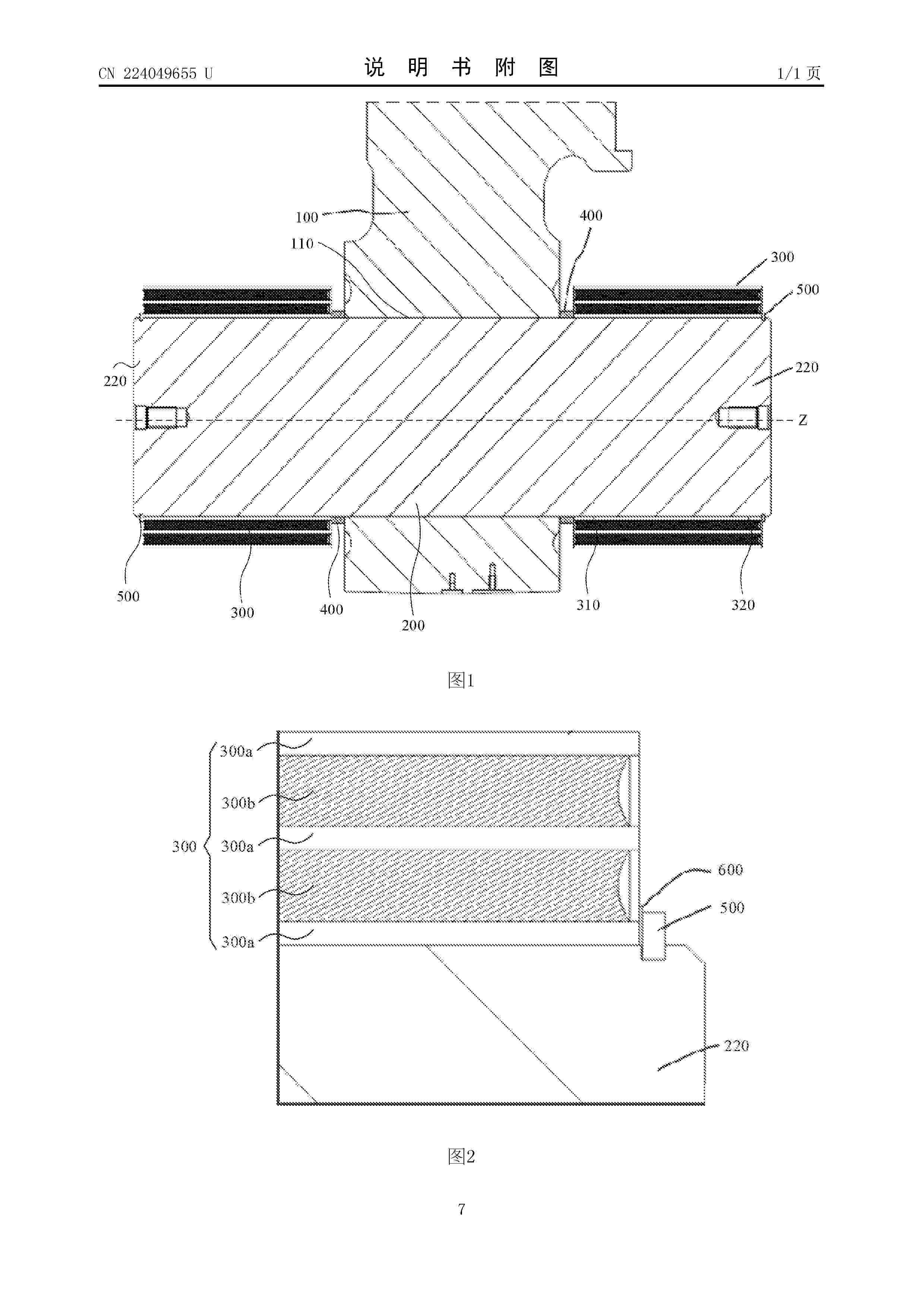
风电齿轮箱和风力发电机组

NºPublicación:  CN224049655U 27/03/2026
Solicitante: 
采埃孚(天津)风电有限公司
CN_224049655_U

Resumen de: CN224049655U

本实用新型涉及风电技术领域,提供风电齿轮箱和风力发电机组。风电齿轮箱的箱体设置有带轴孔的扭矩臂,轴孔中穿设销轴,销轴的两端伸出轴孔形成伸出部;每个伸出部设置有:衬套,套设在伸出部;限位环,套设在伸出部,位于衬套的靠近扭矩臂的一侧;卡簧,套设在伸出部,位于衬套的另一侧;其中,扭矩臂、限位环、衬套及卡簧形成轴向约束配合。本实用新型通过套设在销轴的伸出部的卡簧、衬套及限位环与扭矩臂的轴向约束配合,利用机械限位与间隙控制的双重机制,有效抑制销轴的轴向位移,提升风电齿轮箱及风力发电机组的稳定性。

一种风电-光热-光伏一体化能源系统

NºPublicación:  CN224054138U 27/03/2026
Solicitante: 
中国华电科工集团有限公司华电中光新能源技术有限公司
CN_224054138_U

Resumen de: CN224054138U

本实用新型涉及太阳能发电技术领域,尤其是涉及一种风电‑光热‑光伏一体化能源系统。包括风力发电机构,风力发电机构包括塔筒,塔筒顶部设有发电机舱和风电叶片;光热发电机构包括安装在塔筒中部的集热器,塔筒四周的地面上设有多个反射镜,集热器接收反射镜聚焦的太阳光,并加热导热流体;光伏发电机构包括位于塔筒外周壁上的第一光伏电池组件及位于反射镜背面的第二光伏电池组件;风力发电机构、光热发电机构和光伏发电机构均与能源管理系统连接。本实用新型充分将风电、光热与光伏结合,提高了能源利用效率,减少功率波动,增强了系统的稳定性与适应性。

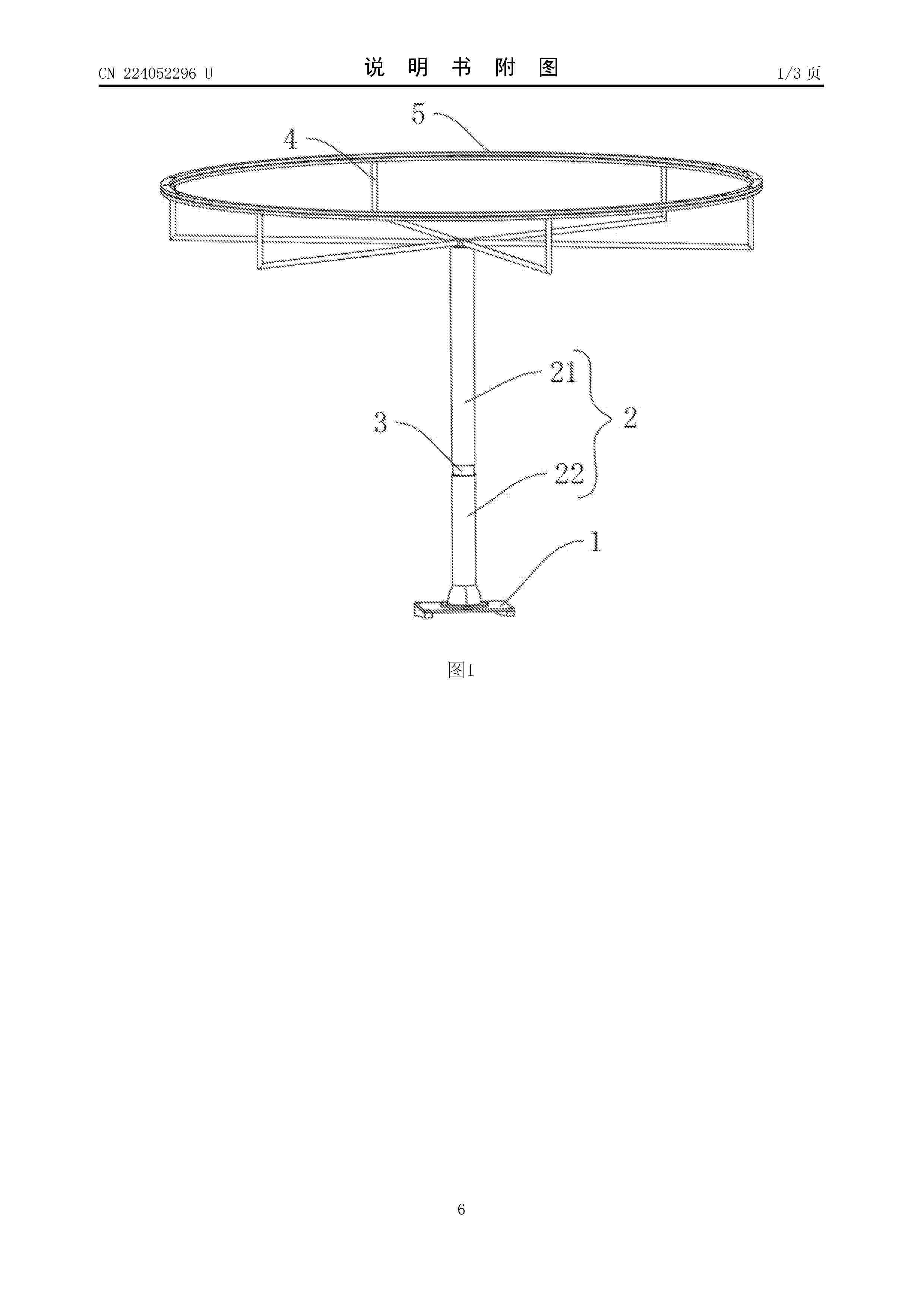
一种无人机风机叶片导通电阻测量设备

NºPublicación:  CN224052296U 27/03/2026
Solicitante: 
安徽金力防雷工程技术有限公司
CN_224052296_U

Resumen de: CN224052296U

本实用新型涉及风电设备检测和维护领域,具体为一种无人机风机叶片导通电阻测量设备,包括无人机连接板,所述无人机连接板的顶部安装有连接杆,连接杆上安装有减震组件,连接杆的顶部开设有螺纹槽,连接杆的顶部通过螺栓固定连接有铜网支架,铜网支架的顶部开设有与螺栓相适配的螺纹孔,铜网支架的顶部安装有铜网夹板,铜网夹板为两个环形板,环形板和铜网支架的顶部均开设有多个螺纹孔,环形板与铜网支架之间通过螺栓固定连接,所述连接杆包括与铜网支架的底部固定连接的连接上杆,螺纹槽开设在连接上杆的顶部。解决了现有的无人机测量风机叶片的电阻时对无人机的操控难度和动力性能要求都较高的问题。

一种风电机组叶片损伤定位系统

NºPublicación:  CN121738833A 27/03/2026
Solicitante: 
中国长江三峡集团有限公司
CN_121738833_PA

Resumen de: CN121738833A

本申请实施例提供了一种风电机组叶片损伤定位系统,风电机组叶片包括风电机组叶片本体和主承力结构,风电机组叶片本体的一端连接于主承力结构,风电机组叶片具有对应的数字孪生模型,系统包括:读写器,设置于主承力结构,用于发射射频信号,以及,接收后向散射信号;无源阻抗型传感组件,设置于风电机组叶片本体,用于在检测到风电机组叶片本体的应变信号时,将射频信号调制形成后向散射信号;处理器,与读写器电连接,用于提取后向散射信号的信号特征,根据信号特征确定无源阻抗型传感组件的当前空间坐标,确定当前空间坐标与预设的基准空间坐标之间的空间坐标偏移量,以及,基于空间坐标偏移量在数字孪生模型中确定风电机组叶片精确损伤位置。

一种采用可展式叶片的城市景观垂直轴风力机

NºPublicación:  CN121738811A 27/03/2026
Solicitante: 
大连理工大学
CN_121738811_PA

Resumen de: CN121738811A

本发明公开一种采用可展式叶片的城市景观垂直轴风力发电机,涉及风力发电技术领域。该发电机的垂直主轴顶端固接轮毂,若干支撑臂周向均布;各臂末端经限位装置安装可展式活动叶片,可根据迎风角度自适应调整叶片张开角度,当叶片正迎风时呈最大张开角,在正背风角度时呈最小张开角,循环切换,持续输出净正扭矩。限位装置集成限位器、铰链与扭簧,预设张合角度,适应城市低风速、高湍流环境。叶片翼型轮廓仿蝴蝶翅膀,翼型截面采用层流翼型。本发明采用四臂周向对称布置方式,消除力矩死区,实现低风速起动、宽风速高效运行,并将发电功能融入城市景观,适用于分布式绿色能源与美化建设。

半潜式漂浮风机平台及风力发电设备

NºPublicación:  CN121734601A 27/03/2026
Solicitante: 
惠生清洁能源科技集团股份有限公司
CN_121734601_PA

Resumen de: CN121734601A

本申请涉及一种半潜式漂浮风机平台及风力发电设备,一种半潜式漂浮风机平台包括:中心立柱;中心垂荡箱,设于中心立柱的底部;至少三个边立柱,围设于中心立柱的外周,且各边立柱通过支撑组件连接中心立柱及中心垂荡箱;边垂荡箱,设于边立柱的底部;其中,任一边立柱对应设有至少一个边垂荡箱,且边垂荡箱至少部分围设于边立柱的底部外侧。一种风力发电设备包括上述的半潜式漂浮风机平台。上述的半潜式漂浮风机平台及风力发电设备,能够更有效地分散和抵抗来自各个方向的载荷,利于提高平台整体的稳性和承载能力,不仅为支撑风机塔筒提供了所需浮力,还能够增加平台垂荡阻尼,进一步增强了平台整体的稳性和承载能力。

锚装置、锚系统以及锚系统的设置方法

NºPublicación:  CN121752489A 27/03/2026
Solicitante: 
国立大学法人东京海洋大学
CN_121752489_PA

Resumen de: WO2025005302A1

This anchor device (20) comprises a shaft member (22) which extends along a central axis (A) and which has a tension member (85) attached thereto, and a first plate member (30) and a second plate member (40) that are configured to be capable of rotating relative to one other about the central axis (A), wherein: the first plate member (30) has a first rear end portion (31) that is farthest from the center axis (A) in a direction in which the first plate member (30) extends and in a direction orthogonal to the center axis (A); the second plate member (40) has a second rear end portion (41) that is farthest from the central axis (A) in a direction in which the second plate member (40) extends and in a direction orthogonal to the central axis (A); and the anchor device (20) is configured to be capable of changing from a folded state in which the first rear end portion (31) and the second rear end portion (41) are close to each other to an unfolded state in which the first rear end portion (31) and the second rear end portion (41) are separated from each other.

一种水平全向自适应惯容减震系统及仿生风电塔筒

NºPublicación:  CN121739053A 27/03/2026
Solicitante: 
江苏科技大学
CN_121739053_PA

Resumen de: CN121739053A

本发明公开了一种水平全向自适应惯容减震系统及仿生风电塔筒,所述减震系统包括若干质量块,所述质量块下方固定有套筒,套筒两端成对设置与套筒相对滑动的导杆,两导杆外端部滑动设在风电塔筒内壁的第一圆形滑轨上,位于套筒外侧套设碟形弹簧,位于套筒内的一端通过第一齿轮传动单元联动,第一齿轮传动单元与设在套筒内的第一惯容飞轮连接;所述质量块上方设置与导杆垂直的第二齿轮齿条传动单元,套筒下方设有与导杆垂直的托架,所述托架滑动设在风电塔筒内壁的第二圆形滑轨上,套筒滑动设在托架上,第二齿轮齿条传动单元和设在托架上的第二惯容飞轮连接。本发明能够提高高柔风电塔筒对复杂多向风致及地震振动的适应性与减振效能。

一种隧道检测装置

NºPublicación:  CN121749420A 27/03/2026
Solicitante: 
华侨大学
CN_121749420_PA

Resumen de: CN121749420A

本发明公开了一种隧道检测装置,包括检测设备和行走轨道。检测设备设于沿隧道纵向延伸的行走轨道上。检测设备包含框体、电源模块及控制模块。电源模块包括蓄电池及风力发电器。控制模块内置环境模型及路径规划算法。环境模型内置有基于包括射流风机布置以及活塞风分布在内的环境数据所构建的充电效率分布模型,并对隧道沿线充电效率进行分级。路径规划算法根据巡检任务、充电效率等级等因素智能规划巡检路径,还根据充电效率等级、行程距离、供电稳定性和实时电量确定检测设备在任务执行阶段和待命阶段的充电时机和最佳充电点,实现环境能源的高效捕捉与巡检任务的连续执行。

一种海上风电换流平台布局优化方法

NºPublicación:  CN121744410A 27/03/2026
Solicitante: 
华能(浙江)能源开发有限公司清洁能源分公司中国华能集团清洁能源技术研究院有限公司
CN_121744410_PA

Resumen de: CN121744410A

本发明属于海上风电布局技术领域,具体公开了一种海上风电换流平台布局优化方法。方法包括:根据设计图划分若干区域模块;根据各区域模块的参数设置自变量取值范围;设置遗传算法参数,针对每个个体生成一个有效布局;引入随机扰动,扩充若干有效布局的数量;根据适应度函数计算每个有效布局的适应度;选择适应度最高的两个有效布局作为父代进行交叉、变异生成子代;计算新种群中每个有效布局的适应度;开始迭代直至迭代次数达到最大迭代次数,得到若干最佳适应度和若干最佳布局;选择最优布局,并输出最优布局的三维图形。解决了现有海上风电换流平台占地面积大的技术问题。

一种柔性直流海上平台模块化优化布置方法及系统

NºPublicación:  CN121744409A 27/03/2026
Solicitante: 
华能(浙江)能源开发有限公司清洁能源分公司中国华能集团清洁能源技术研究院有限公司
CN_121744409_PA

Resumen de: CN121744409A

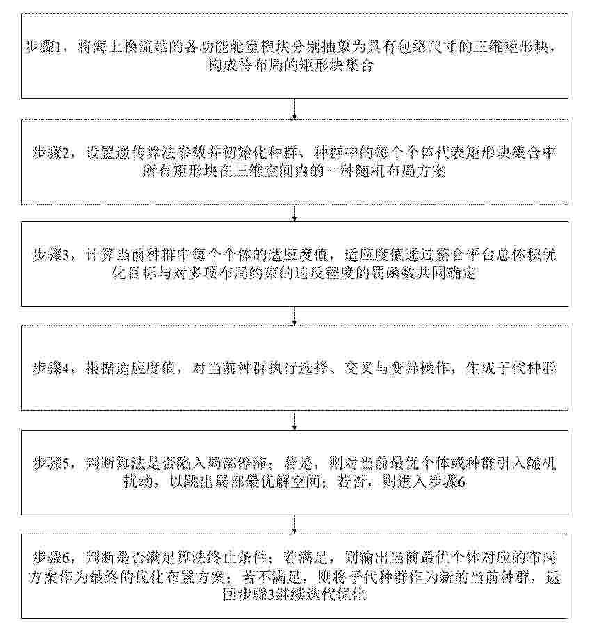
本发明属于电力系统工程领域,具体涉及一种柔性直流海上平台模块化优化布置方法及系统。方法首先将海上换流站各功能舱室模块抽象为具有包络尺寸的三维矩形块,构建待布局集合;随后,采用改进的遗传算法进行自动化全局优化:通过编码生成随机布局方案种群,以适应度函数评价方案的紧凑性(总体积最小化)与对空间、位置、姿态、接触等多重工程约束的满足程度;算法在执行选择、交叉、变异操作的同时,引入防局部停滞的随机扰动机制;最终输出满足终止条件的最优三维布局方案。该方法实现了从依赖经验的手工设计向数字化、自动化优化的转变,能高效生成全局更优的紧凑型布置方案,提升了设计效率、经济性与工程可行性。

一种风力发电机塔筒爬升装置

NºPublicación:  CN121735179A 27/03/2026
Solicitante: 
湖南大唐先一科技有限公司
CN_121735179_PA

Resumen de: CN121735179A

本发明涉及发电机塔筒爬升技术领域,公开了一种风力发电机塔筒爬升装置,包括隔板,所述隔板的顶部开设有槽口,隔板的顶部设置有盖板,槽口的内部设置有支架,支架的正面设置有爬升组件,支架的内部对应盖板设置有开合驱动组件。本发明通过牵引组件将爬升组件牵引至预定位置上后,推拉组件可以对双向驱动组件进行驱动,从而使得开合驱动组件在双向驱动组件的驱动下将盖板打开,当牵引组件通过槽口移动到隔板的上侧后,推拉组件通过双向驱动组件对开合驱动组件反向驱动,从而使得盖板关闭;上述设置中,当爬升组件移动到预定的位置上后,盖板可以自动进行开启和关闭,整个过程操作人员无需手动干预,从而使得爬升装置整体的安全性可以得到保证。

用于基于估计的转子方位角控制风力涡轮的系统和方法

NºPublicación:  CN121738815A 27/03/2026
Solicitante: 
通用电气维诺瓦基础设施技术有限责任公司
CN_121738815_PA

Resumen de: CN121738815A

本发明涉及用于基于估计的转子方位角控制风力涡轮的系统和方法,具体而言,提供了一种用于控制风力涡轮的方法。该方法包括:经由控制系统,从第一传感器接收风力涡轮的传动系的至少一个速度状况。该方法还包括:经由控制系统,接收来自安装在风力涡轮的机舱内的第二传感器的脉冲,该脉冲是在传动系转换到已知角度时产生的。该方法还包括:经由控制系统,基于传动系的至少一个速度状况和该脉冲的组合,估计指定转子叶片的方位角。该方法还包括:经由控制系统,基于估计的方位角对风力涡轮实施控制动作。

用于检测风力涡轮转子叶片上的异常的系统及方法

Nº publicación: CN121740861A 27/03/2026

Solicitante:

通用电气维诺瓦可再生能源西班牙有限公司

CN_121740861_PA

Resumen de: CN121740861A

一种用于改进风力涡轮的转子叶片的质量的方法包括经由控制器的数据采集模块接收关于转子叶片的图像数据。图像数据在转子叶片的制造期间或之后,在转子叶片在风力涡轮上投入操作之前收集。方法包括经由控制器的处理器使用关于转子叶片的图像数据识别转子叶片上的异常。方法还包括经由处理器使用以下中的至少两个的组合确定转子叶片的异常的位置:收集图像数据时成像装置的估计位置、如由描述像素和异常在投影到球壳上时在图像数据内的位置的多个角度代表的像素的已知位置、收集图像数据时的时间和位置处的转子叶片的横截面的光检测和测距(LIDAR)数据、收集图像数据时成像装置所处的特定内部腔,或转子叶片的计算机辅助设计(CAD)模型。

traducir